Бетонные работы
Раздел 1. Исходные данные для проектирования
Длина здания: 60 м
Ширина здания: 54 м
Размер пролета: 18 м
Сечение колонны: 400×400 мм
Марка фундамента: ФА 4-3
Расход бетона на 1 фундамент: 3 м3
Вид грунта: супесь
Дальность транспортирования: 5 км
Тип дорог: асфальт
Место строительства: г. Кемерово
Раздел 2. Схема проектируемого объекта
Раздел 3. Вид фундамента
В проектируемом здании используются фундаменты марки ФА 4-3
Раздел 4. Определение состава и объема опалубочных работ
.1 Опалубочные работы
Для обеспечения заданных геометрических размеров и очертания бетонного
элемента необходима временная вспомогательная конструкция-опалубка. Принимаем
разборно-переставную деревометаллическую опалубку типа «Монолит-76» и
«Монолит-77».
Из щитов собираются панели. При необходимости собранные панели
усиливаются схватками. Для удержания панелей в проектном положении применяются
подкосы.
Схема раскладки шиитов опалубки
Номенклатура щитов
|
ЩК
|
0,9×0,45
|
10 шт
|
|
ЩК
|
1,2×0,3
|
4 шт
|
|
ЩК
|
1,8x0,3
|
4 шт
|
|
ЩК
|
1,8×0,6
|
4 шт
|
Площадь опалубки одного фундамента:
Sоп=(2,1*0,3*2)+(1,8*0,3*2)+(0,9*0,3*2)+(1,5*0,3*2)+(1,8*0,9*4)+(
)*4+(0,5*0,5)=
1,26+1,08+0,54+0.9+6,48+1,88+0,25=12,39 м2
Площадь опалубочных работ 44 фундаментов:
Sоп44=12,39*44=545,16
м2
4.2 Арматурные работы
Для армирования фундамента используем плоские сетки, изготавливаемые из горячекатаной
арматуры класса А-2 периодического профиля.
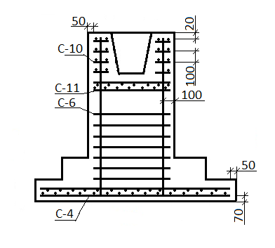
Схема армирования
С-4
Масса одной сетки:
МС-4=(
кг
В фундаменте устанавливается две сетки С-4. Масса двух сеток:
МС-4=2*145,02=290,04 кг
С-6
В фундаменте устанавливается две сетки С-6 и связываются вязальной
проволокой со стержнями для образования пространственного каркаса.
Масса двух сеток:
МС-6=
34,25 кг
Масса арматуры соединяющей сетки С-6
М=0,8*11*0,617=5.43 кг
МС-6+М=(2*34.25)+5,43=73,93 кг
С-11
Масса одной сетки:
МС-11=
кг
В подколонник устанавливается две сетки С-11. Масса двух сеток:
*МС-11=2*10,86=21,72 кг
С-10
Масса одной сетки:
МС-10=
кг
В подколонник устанавливается 9 сеток С-10 с шагом 100 мм. Масса девяти
сеток:
*МС-10=9*5,7=51.3 кг
Таким образом объем арматурных работ одного фундамента равен сумме масс
всех сеток. Устанавливаемых в фундамент:
МС-4+2МС-6+9МС-10+2МС-11=290,04+73,93+51.3+21,72=436,99 кг
Объем арматурных работ 44 фундаментов:
М44=44*436,99=19227,56 кг=19,23 т
4.3 Бетонные работы
Объем бетонных работ равен объему всех фундаментов здания. Объем бетона
на один фундамент считается по объему бетона в плотном теле.
V1ф=(2,1×1,8×0,3)+(1,5×0,9×0,3)+(0,9×0,9×1,8)-0,25=2,75 м3
V44ф=V1ф×44=2,75×44=121 м3
Таким образом объем бетонных работ равен 121 м3
Раздел 5. Выбор ведущей машины
Ведущим процессом при возведении монолитных железобетонных конструкций
является бетонирование. Намечено два варианта производства бетонных работ.
Отличающихся типом применяемой ведущей машины (бетоноукладчик, кран-бадья) из
которых требуется выбрать более рациональный вариант на основании технико-экономического
анализа.
.1 Кран-бадья
Принимаем поворотную бадью согласно справочнику строителя В. Д. Топчия
«Бетонные и железобетонные работы» с обьемом 1 м3.
Принимаем двухветвевой строп массой 46 кг, высотой 5 м и грузоподъемностью
5 т.
Так как глубина выемки составляет 2,4 м, то согласно СниП 12-03-01
«Техника безопасности» для супеси призма обрушения составляет 3,6 м. Уклон
откоса 1:0,67.
Определяем вылет стрелы:
Lстр=0,9+0,7+3,6+1,1=6,3
м
Определяем грузоподъемность крана:
Q=mбадьи+mбес. смеси+mстроп=2,5+0,49+0,046=3,036
т
Определяем высоту крюка:
Hкр=0,5+3.612+5=9,112
м
По справочнику выбираем кран К-124
Lстр=10
м
Q=6т
L=6,5
м
Hкр=10
м
Принимаем вид земляного сооружения траншея.
.2 Бетоноукладчик
Принимаем бетоноукладчик БУМ-1.
Производительность - 9 м3/ч
Базовая машина - погрузчик Т-107
Длина стрелы ленточного конвейера - 10 м
Вылет стрелы - 10 м
Угол поворота стрелы - 20 град
Угол подъема стрелы - 10 град
Высота подачи бетонной смеси - 2,8 м
Вместимость приемного бункера - 1,6 м3
Обслуживающие рабочие - 3 чел.
Раздел 6. Сравнение вариантов
Калькуляция трудовых затрат и заработной платы
|
Шифр работ
|
Наименование работ
|
Ед. измерения
|
Нормы времени на единицу
|
Объем работ
|
Трудоемкость
|
Расценка, р.
|
Сумма заработной платы, р
|
Состав звена
|
|
|
|
|
|
|
|
|
профессия
|
разряд
|
Кол-во.
|
|
|
|
|
|
Чел.-ч
|
Маш.-ч
|
|
|
|
|
|
|
|
|
Чел.-ч
|
Маш.-ч
|
|
|
|
|
|
|
|
|
|
Кран, оборудованный бадьей.
|
|
Е4-1-54, п 19
|
Прием бетонной смеси из кузова автомобиля-самосвала в бадью
|
100 м3
|
8.2
|
-
|
0,121
|
0,992
|
-
|
5,25
|
0,63
|
бетонщик
|
2
|
1
|
|
Е1-6 П 16
|
Подача бетонной смеси стреловым краном, грузоподъемностью
до
|
1 м3
|
0,29+0,026 8,5=0,511
|
0,145+0,013 8,5=0,255
|
121
|
61,83
|
30,85
|
0,186+0.017*8,5=0,33
|
39,93
|
Машинист такелажник
|
52
|
1 2
|
|
Е4-1-49 А, №1
|
Укладка бетонной смеси в бадью объемом до 3 м3
|
1 м3
|
0,42
|
-
|
121
|
50,82
|
-
|
0,3
|
36.3
|
Бетонщик бетонщик
|
4 2
|
1 1
|
|
Итого
|
|
|
|
|
113,64
|
30,85
|
|
76,86
|
|
|
|
|
Подача и укладка бетонной смеси с помощью бетоноукладчика
|
|
Е4-1-54 П.19
|
Прием бетонной смеси из кузова автомобиля в бункер
|
100 м3
|
8,2
|
-
|
0,121
|
0,992
|
-
|
5,25
|
0,63
|
бетонщик
|
2
|
1
|
|
Е1-18 т.2
|
Перемещение бетонной смеси ленточными транспортерами
|
100 м3
|
17
|
8,5
|
0,121
|
2,06
|
1,03
|
15,47
|
1,87
|
Подсобный рабочий транспортерщик
|
1 2
|
2 1
|
|
Е4-1-49
|
Укладка бетонной смеси в конструкцию объемом 2,75 м3
|
1 м3
|
0,33
|
-
|
121
|
39,93
|
-
|
0,236
|
28,56
|
Бетонщик бетонщик
|
4 2
|
1 1
|
|
Итого
|
|
|
|
|
42,982
|
1,03
|
|
31,06
|
|
|
|
|
|
|
|
|
|
|
|
|
|
|
|
|
|
|
|
|
|
|
Стоимость механизированных затрат определяется:
Со = К1(Ео + Смаш.-ч ·Тмаш.-ч ) + К2 ·Сз/п
К1 и К2 - коэффициенты накладных расходов (К1 = 1,08, К2 = 1,5);
Ео - единовременные затраты на доставку и монтаж строительных машин, р.;
Смаш.-ч - стоимость машино-часа работы машины;
Тмаш.-ч - трудоемкость или затрать рабочего времени на производство
работ;
Сз/п - заработная плата всех рабочих строительных специальностей;
) Кран-бадья К-124
E0=34,10
руб.
Смаш-ч=4,04 руб.
Тмаш-ч=30,85
Сз/п=76,86
С0=1,08(34,1+4,04·30,85)+1,5·76,86=276,72 руб.
) Бетоноукладчик БУМ-1
Е0=231 руб.
Смаш-ч=1,28 руб.
Тмаш-ч=1,03
Сз/п=93,43
С0=1,08(231+1,28·1,03)+1,5·93,43=391,05 руб.
Принимаем кран-бадью К-124
|
Шифр работ
|
Наименование работ
|
Ед. измерения
|
Нормы времени на единицу
|
Объем работ
|
Трудо-емкость
|
Расценка, р.
|
Сумма заработной платы, р
|
Состав звена
|
|
|
|
|
|
|
|
|
профессия
|
разряд
|
Кол-во.
|
|
|
|
|
|
Чел.-ч
|
Маш.-ч
|
|
|
|
|
|
|
|
|
Чел.-ч
|
Маш.-ч
|
|
|
|
|
|
|
|
|
|
Е4-1-34, А
|
Установка опалубки
|
1 м2
|
0,45
|
-
|
545,16
|
245,32
|
-
|
0-32,2
|
175,54
|
плотник
|
4 2
|
1 1
|
|
Е4-1-44
|
Установка арматурных сеток горизонтального положения краном
(С-4)
|
1 сетка
|
0,42
|
-
|
88
|
36,96
|
-
|
0-28,5
|
25,08
|
Арматурщик
|
42
|
1 3
|
|
Вручную: M<50
кг (С-11) M<100 кг (С-6) M<100 кг (С-10)
|
|
0,24
|
-
|
88
|
21,12
|
-
|
0-15,8
|
13,9
|
арматурщик
|
3 2
|
1 2
|
|
|
|
0,36
|
-
|
88
|
31,68
|
-
|
0-23,8
|
20,94
|
|
|
|
|
|
|
0,36
|
-
|
396
|
142,56
|
-
|
0-23.8
|
92,25
|
|
|
|
|
Е4-1-46
|
Вязка арматуры отдельными стержнями
|
1 т
|
8
|
-
|
19,23
|
153.84
|
-
|
5-72
|
110
|
арматурщик
|
4 2
|
1 1
|
|
Е4-1-54, п.19
|
Прием бетонной смеси из кузова автомобиля-самосвала
|
100 м3
|
8,2
|
-
|
0,121
|
0,992
|
-
|
5-25
|
0,63
|
Бетонщик
|
2
|
1
|
|
Е1-18 №10 а, б
|
Подача бетонной смеси краном бадья
|
100 м3
|
0,435
|
0,435
|
0,121
|
0,053
|
0,053
|
0,34
|
0,018
|
Машинист такелажник
|
4 2
|
1 2
|
|
Е4-1-49
|
Укладка бетонной смеси в конструкцию объемом до 3 м3
|
1 м3
|
0,42
|
-
|
121
|
50,82
|
0-3
|
36,3
|
бетонщик
|
4 2
|
1 1
|
|
Е4-1-54, №9
|
Поливка бетонной смеси водой за 1 раз из брандспойта
|
100 м2
|
0,14х6=0,84
|
-
|
76,32
|
64,11
|
-
|
0-09
|
6,87
|
бетонщик
|
2
|
1
|
|
Е4-1-54
|
Покрытие бетонной поверхности опилками
|
1 м3
|
0,27
|
-
|
3
|
0,81
|
-
|
0-19,3
|
0,58
|
бетонщик
|
2
|
1
|
|
Е4-1-34
|
Разборка опалубки
|
1 м2
|
0,26
|
-
|
545,16
|
141,74
|
-
|
0-17,4
|
94,86
|
плотник
|
3 2
|
1 1
|
|
итого
|
|
|
|
|
|
890.005
|
0,053
|
|
1153,94
|
|
|
|
Раздел 7. Технология и организация работ
.1 Технология опалубочных работ
Опалубка - это форма, предназначенная для бетонирования бетонных и
железобетонных конструкций. Её внутренние контуры должны соответствовать
проектным очертаниям бетонной конструкции, а прочность и жесткость быть
достаточными для обеспечения неизменяемости размеров и восприятия постоянных и
временных нагрузок (боковое давление свежеуложенной бетонной смеси, вес
опалубки, арматуры и бетона, ветровые нагрузки, нагрузка от механизмов и
т.д.).Комплект опалубки состоит из:
опалубочных щитов (форм), обеспечивающих форму,
размеры и качество поверхности конструкции; крепежных устройств, обеспечивающих
проектное и неизменное положение опалубочных щитов друг относительно друга;
опорных и поддерживающих устройств, обеспечивающих
проектное положение опалубочных щитов в пространстве.
В объемы, образованные установленными в проектное
положение опалубочными щитами, укладывают бетонную смесь, где она твердеет,
превращаясь в бетон заданной прочности. После того как бетон достиг требуемой
прочности, опалубку удаляют, т. е. производят распалубливание.
Опалубка должна отвечать следующим требованиям: быть
прочной, устойчивой, не изменять формы под воздействием нагрузок, возникающих в
процессе производства работ; палуба (обшивка) опалубочного щита должна быть
достаточно плотной, в ней не должно быть щелей, через которые может просочиться
цементный раствор; обеспечивать высокое качество поверхностей, исключающее
появление наплывов, раковин, искривлений и т. п.; быть технологичной, т. е.
должна устанавливаться и разбираться, не создавать затруднений при монтаже
арматуры, а также при укладке и уплотнении бетонной смеси; обладать
оборачиваемостью, т.е. многократно использоваться; чем выше оборачиваемость
опалубки, тем ниже ее стоимость, отнесенная к единице объема готовой
конструкции.
Принятая опалубка типа «Монолит-76» и «Монолит-77»
является унифицированной, состоит из отдельных щитов и поддерживающих их
частей; ребер, схваток, стяжек и т.д. На высоте опалубочные щиты поддерживают
стойки (одиночные или комплексные) с раскосами и связями.
Технологический процесс устройства опалубки состоит в следующем. Перед
установкой опалубки положение проволочной оси, натянутой над траншеей, при
помощи отвеса переносится на грунт. Сборку опалубочных форм производят в
следующем порядке. Устанавливают и закрепляют с помощью монтажных уголков щиты
углов нижних коробов опалубки. Пружинными скобами или крюками к смонтированным
щитам крепят остальные щиты нижнего короба. Затем к панелям короба опалубки
нижней ступени с помощью натяжных крюков крепят схватки. Одновременно схватки
нижней ступени соединяют «в мельницу». Собранный короб рихтуют строго по осям.
Панели короба соединяют стяжками по две на каждую пару панелей. Стяжки
закрепляют клиновыми зажимами. В основание фундамента забивают деревянные
якоря, удерживающие нижний короб. На ребра щитов нижнего короба наносят риски,
фиксирующие положение щитов второй ступени, затем, отступив от рисок на
расстояние, равное толщине щита, устанавливают инвентарные поддерживающие
балки, которые закрепляют на нижнем коробе с помощью струбцин. На
поддерживающие балки устанавливают схватки и соединяют их друг с другом «в
мельницу». На схватки навешивают щиты второй ступени и скрепляют их натяжными
крюками. Затем к деревянным бобышкам схваток крепят доборы по месту. Также
устанавливают щиты третей ступени. Собранный верхний короб рихтуют по осям.
Противоположные панели верхнего короба соединяют стяжками. На нижний короб
устанавливают временные рабочие настилы, с которых собирают опалубку следующей
ступени, подколонника и стакана.
Щиты опалубки устанавливают вручную и закрепляют в проектном
положении. После бетонирования и достижения бетоном 70% проектной прочности,
допускающей распалубливание, опалубочные и поддерживающие устройства снимают.
Для снижения сцепления бетона с опалубкой применяют
смазки. Наиболее распространены гидрофобизирующие смазки на основе минеральных
масел или солей жирных кислот. В процессе нанесения смазки занято двое рабочих.
.2. Технология арматурных работ
Арматурой называют стальные круглые стержни, прокатные
профили и проволоку, а также изделия из них, расположенные в бетоне для
восприятия изгибаемыми частями железобетонной конструкции растягивающих и
знакопеременных усилий. В современном строительстве ненапрягаемые конструкции
армируют укрупненными монтажными элементами в виде сварных сеток.
Сетка представляет собой взаимно перекрещивающиеся
стержни, соединенные в местах пересечения преимущественно сваркой.
Армирование ненапрягаемых железобетонных конструкций
состоит из: заготовки арматурных элементов; транспортирования арматурных сеток
на объект строительства, сортировки, и складирования; установки (монтажа)
арматурных сеток; соединения монтажных единиц в проектном положении в единую
армоконструкцию.
Транспортировка используемых арматурных сеток
осуществляется с завода металлоизделий в виде плоских унифицированных сварных
сеток изготовленных из стержней рабочей арматуры периодического профиля
диаметром 10, 12, 16мм
Монтаж арматурных сеток. Монтаж ведут, как правило, с
использованием механизмов и приспособлений, применяемых для других видов работ
(опалубочных, бетонных и др.) и предусмотренных проектом производства работ.
Ручная укладка допускается только при массе арматурных элементов не более 100
кг.
Монтаж арматуры начинают после проверки опалубки
первой ступени фундамента (её прочности, устойчивости, проектных размеров).
До начала работ необходимо:
разметить оси будущего фундамента, сделать бетонное
основание под фундамент и отметить на нём рисками контур фундамента;
завезти и складировать арматурные сетки;
очистить арматуру от окалин, ржавчины, масла и грязи;
выпрямить деформированные при транспортировке
арматурные элементы до их установки;
проверить наличие и исправность всех грузозахватных
приспособлений, инструментов.
Соединяют арматурные элементы в единую армоконструкцию
электродуговой сваркой с использованием сварочных аппаратов переменного тока
или агрегатов постоянного тока.
При монтаже арматуры необходимо элементы устанавливать
в проектное положение, а также обеспечить защитный слой бетона заданной
толщины, т. е. расстояние между внешними поверхностями арматуры и бетона.
Правильно устроенный защитный слой надежно предохраняет арматуру от
коррозирующего воздействия внешней среды. Для этого в конструкциях арматурных
элементов предусматривают специальные упоры или удлиненные поперечные стержни.
Этот метод применяют в том случае, если конструкция работает в сухих условиях.
Обеспечить проектные размеры защитного слоя бетона можно также с помощью
бетонных, пластмассовых и металлических фиксаторов, которые привязывают или
надевают на арматурные стержни. Пластмассовые фиксаторы характеризуются
высокими технологическими свойствами. Во время установки на арматуру
пластмассовое кольцо за счет присущей ему упругости немного раздвигается и
плотно охватывает стержень.
Смонтированную арматуру принимают с оформлением акта, оценивая при этом
качество выполненных работ. Кроме проверки ее проектных размеров по чертежу
проверяют наличие и место расположения фиксаторов и прочность сборки
армоконструкции, которая должна обеспечить неизменяемость формы при
бетонировании.
.3 Технология бетонных работ
Прежде чем дать разрешение на начало работ по бетонированию, надо
проверить и оформить актами скрытые работы, т. е. качество и соответствие
проекту тех элементов конструкции, которые в процессе бетонирования будут
закрыты - останутся в теле бетона. Проверяется подготовка к бетонированию
естественного основания, выполнение гидроизоляционных работ, правильность
установки арматуры. Акты на скрытые работы должны быть подписаны ответственными
лицами и служить отчетными документами при сдаче готового сооружения. Затем
геодезическими инструментами выверяют точность установки опалубки. При проверке
лесов и подмостей составляют акт, фиксирующий соблюдение требований техники
безопасности. Непосредственно перед бетонированием опалубку очищают струей
сжатого воздуха от мусора и грязи. Поверхности деревянной опалубки смазывают
маслами. Щели в деревянной опалубке шириной более 3 мм заделывают для
предотвращения вытекания цементного молока. Арматуру очищают от грязи и
ржавчины. Одновременно выполняют работы по наладке механизмов, машин и
приспособлений, используемых во всех взаимосвязанных операциях по
бетонированию. Прием, распределение и уплотнение бетонной смеси надо вести в
непрерывной последовательности. В журнале бетонных работ каждую смену записывают
дату выполнения работ, их объемы, свойства бетонной смеси, дату изготовления
бетонных контрольных образцов, их количество, температуру наружного воздуха и
бетонной смеси, тип опалубки и дату распалубливания конструкции. Во время
укладки и распределения бетонной смеси следят за состоянием лесов и опалубки.
При обнаружении смещений или деформаций опалубки бетонирование прекращают и
принимают меры к исправлению дефектов. Бетонную смесь укладывают слоями
толщиной 30 см и уплотняют глубинными вибраторами с гибким валом. В углах и у
стен опалубки смесь подвергается штыкованию.
.4 Уплотнение бетонной смеси
Укладка бетонной смеси в опалубку осуществляется при помощи крана бадья.
Бетонную смесь укладывают слоями толщиной 30 см. и уплотняют глубинными вибраторами
с гибким валом. В углах и у стен опалубки смесь подвергается штыкованию. Задача
процесса уплотнения бетонной смеси состоит в предельной упаковке различных по
форме и величине частиц, составляющих бетонную смесь. Продолжительность
вибрирования 15-20 с. После того как оседание бетонной смеси прекращается, и на
поверхности уплотняемого бетона появляются цементное молоко, и пузырьки воздуха
процесс следует прекратить. Дальнейшее вибрирование может привести к расслоению
смеси. Штыкование осуществляют шуровками из арматурной стали.
.5 Уход за уложенным бетоном
В процессе твердения в бетоне протекают реакции гидратации, в ходе
которых минералы цемента, взаимодействуя с водой, образуют новые соединения.
Обезвоживание бетона в ранние сроки в результате испарения может замедлить или
прекратить процесс твердения и привести к недобору прочности, а также вызвать
большие его усадки и растрескивание.
Под уходом за бетоном понимают обеспечение нормальных
температурно-влажностных условий для его твердения.
Твердение бетона всегда сопровождается изменением его объема. В
результате усадки, которая увеличивается при быстром высыхании бетона, на его
поверхности появляются мелкие трещины. В массивных конструкциях образование
трещин может быть вызвано также неравномерным разогревом в результате
экзотермического тепловыделения. При обильном увлажнении бетона во время ухода
снижается вероятность появления температурно-усадочных трещин. Открытые
поверхности свежеуложенного бетона укрывают слоем опилок толщиной 15 см и
начинают увлажнять не позже чем через 10-12 ч, а в жаркую и ветреную погоду -
через 2-3 ч после завершения бетонирования. Поливка бетона производится 3 дня
по 6-7 раз и 7 дней по 3 раза. Недопустимо размывать свежеуложенный бетон
сильной струей воды. В жаркую, ветреную погоду поливать бетон водой надо не
реже чем через 1,5-2 ч, в пасмурную - через 3 ч и не менее двух-трех раз за
ночь. Меньше требуется увлажнять бетонные поверхности, находящиеся в опалубке.
При снятии опалубки поливают также и распалубленные поверхности бетонных
конструкций.
Особо тщательно следует увлажнять узлы и грани конструкций: они быстрее
теряют влагу, что приводит к появлению трещин и даже выколам.
При температуре ниже +5° бетон не поливают. Помимо увлажнения
свежеуложенный бетон следует защитить от размыва дождем, выветривания, а также
от сотрясений и деформаций, от размыва грунтовыми водами.
Хождение людей по забетонированным конструкциям, а также установка на них
лесов и опалубки разрешается не раньше того времени, когда бетон наберет
прочность 15 кгс/см2.Мероприятия по уходу за бетоном, их продолжительность и
периодичность отмечают в журнале бетонных работ.
армирование
бетон вибратор опалубочный
Раздел 8. Расчет состава комплексной бригады
|
профессия
|
Вид работ
|
трудоемкость
|
В том числе и по разрядам
|
|
|
|
1
|
2
|
3
|
4
|
|
машинист такелажник
|
Подача бетонной смеси краном бадья
|
0,007
|
-
|
0,0023
|
-
|
0,0046
|
|
итого
|
0,007
|
-
|
0,0023
|
-
|
0,0046
|
|
плотник
|
Установка опалубки
|
30,66
|
-
|
15,33
|
-
|
15,33
|
|
Снятие опалубки
|
17,72
|
-
|
8,86
|
8,86
|
-
|
|
итого
|
48,38
|
-
|
24,19
|
8,86
|
15,33
|
|
арматурщик
|
Установка краном
|
4,62
|
-
|
3,08
|
-
|
1,54
|
|
Установка вручную
|
24,42
|
-
|
16,28
|
8,14
|
-
|
|
итого
|
29,04
|
-
|
19,36
|
8,14
|
1,54
|
|
бетонщик
|
Прием бетонной смеси
|
0,124
|
-
|
0,124
|
-
|
-
|
|
Укладка бетоном
|
6,35
|
-
|
3,17
|
-
|
3,17
|
|
Уход за бетонной смесью
|
1,44
|
-
|
1,44
|
-
|
-
|
|
И итого
|
7,91
|
-
|
4,73
|
-
|
3,17
|
где Птр - плановая трудоемкость работ, чел-дн, Т - продолжительность
работ, дн.
- арматурщиков
- бетонщиков
- плотников
арматурщик - 7 чел. плотник - 7 чел. бетонщик - 3 чел.
Состав звена
|
Профессия рабочих
|
всего
|
В том числе по разрядам
|
|
|
1
|
2
|
3
|
4
|
|
Плотник-арматурщик
|
4
|
-
|
1
|
1
|
2
|
|
Бетонщик-арматурщик
|
3
|
-
|
1
|
1
|
1
|
|
Плотник
|
3
|
-
|
1
|
1
|
1
|
|
итого
|
10
|
-
|
3
|
3
|
4
|
Раздел 9. Подбор транспортного средства для доставки бетонной смеси и
расчет их количества
В зависимости от расстояния транспортирования бетонной смеси и вида
дорожного покрытия выбираем специализированный автомобиль для доставки бетонной
смеси - автобетоновоз. Исходя из того, что вместимость приемного бункера крана
бадья равна 1 м3 , выбираем автобетоновоз СБ -124 с вместимостью кузова 4 м3 и
габаритными размерами 6790×2880×2880 мм, а так как тип дорожного покрытия
асфальтное , то Vср =30 км/ч
Количество транспортных средств рассчитывают по формуле
)
где П - поток бетона или его количество для устройства фундаментов в
смену, м3/смен; Q - общий объем
укладываемой бетонной смеси, м3; S -
количество смен бетонирования; q -
вместимость кузова, м3; tсм -
продолжительность смены, ч: 8 часов; tп - время погрузки, ч: 10 мин.= 0,16 ч; tр - время разгрузки, ч: 1 мин. = 0,016 ч; tм - время маневрирования до
разгрузки; ч: 5 мин.= 0,08 ч; L -
расстояние перевозок, км; Vср -
средняя скорость движения, км/ч.
В результате расчета для доставки бетонной смеси принимаем 1
автобетоновоз СБ-124.
Раздел 10. Расчет количества вибраторов для уплотнения бетонной смеси
Принимаем глубинный вибратор с гибким валом ИВ-17. Технические
характеристики приведены в таблице
|
показатели
|
Ед. изм.
|
Значение показателей
|
|
Виброконечник. Наружный диаметр корпуса
|
мм
|
36
|
|
Чистота колебаний
|
Кол/мин
|
20000
|
|
Возмущающая сила
|
кН
|
13,5
|
|
Длина рабочей части, гибкий вал
|
мм
|
350
|
|
длина
|
мм
|
3300
|
|
Диаметр сердечника
|
мм
|
13
|
|
Допускаемый радиус изгиба (не менее)
|
мм
|
300
|
|
Общая масса вибратора
|
кг
|
25,8
|
|
Радиус действия
|
мм
|
200-250
|
Схема вибрирования
Для определения количества вибраторов воспользуемся формулой
где П - поток бетона в час, м3/ч; Пт.в. - техническая производительность
вибратора, м3/ч:
м3/ч
где Квиб. - коэффициент использования вибратора (0,8-0,9); Rвиб. - радиус действия вибратора, м; hвиб. - толщина прорабатываемого слоя
бетонной смеси, м.
=0,35-0,15=0,2 м
где lвиб. - длина рабочей части вибратора,
м; (0,05
0,15) - глубина проникновения
вибратора в предыдущий слой при уплотнении очередного слоя бетонирования, м; tв - продолжительность вибрирования,
15-20 с; tпер. -время перемещения вибратора с
одной позиции на другую, 5-15 с.
В результате расчета для уплотнения бетонной смеси принимаем 3 вибратора
ИВ-17.
Раздел 11. Разработка мероприятий по охране труда и технике безопасности
. Подготовительные мероприятия должны быть закончены до начала
производства работ. Соответствие требованиям охраны и безопасности труда
производственных территорий, зданий и сооружений, участков работ и рабочих
мест, вновь построенных или реконструируемых промышленных объектов определяется
при приемке их в эксплуатацию.
. Окончание подготовительных работ на строительной площадке должно быть
принято по акту о выполнении мероприятий по безопасности труда.
. Производственное оборудование, приспособления и инструмент, применяемые
для организации рабочего места, должны отвечать требованиям безопасности труда.
. Производственные территории, участки работ и рабочие места должны быть
обеспечены необходимыми средствами коллективной или индивидуальной защиты
работающих, первичными средствами пожаротушения, а также средствами связи,
сигнализации и другими техническими средствами обеспечения безопасных условий
труда, в соответствии с требованиями действующих нормативных документов и
условиями соглашений.
. При размещении мобильных машин на производственной территории
руководитель работ должен до начала работы определить рабочую зону машины и
границы создаваемой ею опасной зоны. При этом должна быть обеспечена обзорность
рабочей зоны, а также рабочих зон с рабочего места машиниста. В случаях, когда
машинист, управляющий машиной, не имеет достаточного обзора, ему должен быть
выделен сигнальщик.
. Машины, транспортные средства, производственное оборудование и другие
средства механизации должны использоваться по назначению и применяться в
условиях, установленных заводом-изготовителем
. Для работающих на открытом воздухе должны быть предусмотрены навесы для
укрытия от атмосферных осадков.
. Колодцы, шурфы и другие выемки должны быть закрыты крышками, щитами или
ограждены. В темное время суток указанные ограждения должны быть освещены
электрическими сигнальными лампочками напряжением не выше 42 В.
. Заготовка и обработка арматуры должны выполняться в специально
предназначенных для этого и соответственно оборудованных местах. Складывать
заготовленную арматуру в специально отведенные для этого места; закрывать
щитами торцевые части стержней арматуры в местах общих проходов, имеющих ширину
менее 1 м.
10. Элементы
каркасов арматуры необходимо пакетировать с учетом условий их подъема,
складирования и транспортирования к месту монтажа.
. Складирование материалов, прокладка транспортных путей, установка опор
воздушных линий электропередачи и связи должны производиться за пределами
призмы обрушения грунта незакрепленных выемок (котлованов, траншей).
. Материалы (конструкции) следует размещать в соответствии с требованиями
настоящих норм и правил и межотраслевых правил по охране труда на выровненных
площадках, принимая меры против самопроизвольного смещения, просадки, осыпания
и раскатывания складируемых материалов.
. Складские площадки должны быть защищены от поверхностных вод.
Запрещается осуществлять складирование материалов, изделий на насыпных
неуплотненных грунтах.
. Материалы, изделия, конструкции и оборудование при складировании на
строительной площадке и рабочих местах должны укладываться следующим образом:
мелкосортный металл - в стеллаж высотой не более 1,5 м;
. Между штабелями (стеллажами) на складах должны быть предусмотрены
проходы шириной не менее 1 м и проезды, ширина которых зависит от габаритов
транспортных средств и погрузочно-разгрузочных механизмов, обслуживающих склад.
. Прислонять (опирать) материалы и изделия к заборам, деревьям и
элементам временных и капитальных сооружений не допускается.
17. Опалубку,
применяемую для возведения монолитных железобетонных конструкций, необходимо
изготовлять и применять в соответствии с проектом производства работ,
утвержденным в установленном порядке.
18. При установке
элементов опалубки в несколько ярусов каждый последующий ярус следует
устанавливать только после закрепления нижнего яруса.
19.