Обеспечение эксплуатационной надёжности автомобилей в современном СТО
Курсовая работа
Обеспечение эксплуатационной
надёжности автомобилей в современном СТО
Содержание
Введение
. Маркетинговое исследование сферы оказываемых услуг
.2 Обеспечение эксплуатационной надёжности автомобилей в
современном СТО
.3 Технологический процесс ТО и ремонта автомобилей в
проектируемом СТО
.4 Виды услуг, оказываемых проектируемой СТОА
.5 Обоснование функциональной схемы проектируемого СТОА
.Технологический расчет предприятия автосервиса
.1 Обоснование исходных данных
.2 Расчет годовой программы СТОА
.3 Расчет необходимого количества постов на СТОА
.4 Расчет числа производственных рабочих
.5 Определение площадей помещений
.6 Организация и технология работы участка диагностики
.7 Организация и управление технологическим процессом
. Планировка здания предприятия автосервиса
. Генеральный план предприятия
. Проектирование коммуникаций
.1 Проектирование системы освещения
.2 Проектирование системы электроснабжения
.3 Проектирование системы теплоснабжения
.4 Проектирование системы вентиляции
.5 Проектирование системы водоснабжения и канализации
. Технологическая часть
.1 Характеристика методов восстановления крестовин и выбор
наиболее перспективного метода
.2 Общая характеристика способа электроконтактной приварки,
достоинства и недостатки
.3 Восстановление карданных подшипниковых узлов при помощи
электроконтактной приварки стальной ленты
. Специальная часть
.1 Выбор метода организации производства ТО и ТР в СТО
.2 Выбор метода организации технологического процесса
производства ТО и ТР в СТО
.3 Технологический процесс объекта проектирования
. Организационно-экономический раздел
. Безопасность жизнедеятельности
Заключение
Список литературы
ремонт техническое обслуживание автосервис
автомобиль
Введение
В независимости от форм собственности для обеспечения постоянной
работоспособности автомобилей, дорожной и экологической безопасности, а так же
экономичности использования владельцы автотранспортных средств должны регулярно
и качественно проводить регламентные работы по техническому обслуживанию (ТО),
и, при необходимости, своевременно выполнять текущий ремонт.
Существующая сеть производственно-технических баз (ПТБ), в частности в
городах Татарстана и их районах характеризуется большим износом
технологического оборудования (45…65%) и недостаточной обеспеченностью
производственными площадями, постами и средствами механизации, что отрицательно
сказывается на работоспособности подвижного состава и эффективности его
использования.
Владельцы небольших автотранспортних предприятий (АТП) и, в особенности,
физические лица, зачастую лишены возможности проведения своевременного и
качественного технического обслуживания и ремонта принадлежащих им автомобилей,
также из-за отсутствия необходимой ПТБ.
Исходя из вышеизложенного тема дипломного проекта - «Станция технического
обслуживания автомобилей с расчетом агрегатного участка» является актуальной.
Целью работы является разработка современного проекта станции (на шесть
постов) технического обслуживания легковых автомобилей отечественного
производства, принадлежащих небольшим фирмам, предприятиям и частным лицам,
выполняющей на договорной основе регламентные работы технического обслуживания
и текущий ремонт автомобилей.
В проекте ставились следующие задачи:
) в технологической части по принятым эксплуатационным показателям
обслуживаемых автомобилей рассчитать производственную программу по техническому
обслуживанию и ремонту подвижного состава; определить численность
производственных рабочих по сменам и профессиям, подобрать современное
технологическое оборудование; рассчитать необходимые производственные площади;
разработать планировки производственного корпуса, генерального плана
предприятия и участка диагностики;
) в конструкторской части разработать конструкцию стенд для
разборки/сборки узла.
) в разделе «Технология ремонта» разработать технологию изготовления или
восстановления детали, замены или ремонта узла.
) в организационно-экономической части выполнить анализ затрат (основные
и оборотные средства) на функционирование станции технического обслуживания
автомобилей и (СТОА); рассчитать ожидаемые прибыль, рентабельность, срок
окупаемости, экономическую эффективность с выводом о целесообразности вложения
средств в строительство предприятия;
) в разделе «Безопасность и экологичность проектных решений» проанализировать
опасные и вредные производственные факторы, действующие на СТОА и разработать
комплекс мероприятий по созданию для персонала безопасных условий труда и
снижению уровня негативного воздействия предприятия на окружающую среду.
1. Маркетинговое исследование сферы
оказываемых услуг
Актуальность темы дипломного проекта обуславливается тем, что, по итогам
проведённого анализа, рынок сервисного обслуживания автомобилей не
удовлетворяет возросшие потребности населения в оказании услуг, связанных с поддержанием и восстановлением потребительских свойств автомобильного
транспорта.
Многократный рост автомобильного транспорта в стране, и в первую очередь
легкового, обусловил быстрый рост обслуживающих предприятий.
Автосервисные услуги в Татарстане демонстрируют быстрый рост: их доля в
бытовых услугах с 1994 года по 2003 год возросла с 6,6% до 20,2%, то есть
более, чем в 3 раза. Только в Казани функционирует 1756 предприятий
технического автосервиса, из них лишь каждое десятое отвечает современным
требованиям и имеет необходимое контрольно-диагностическое оборудование.
Предприятиям этой сети необходим высокий уровень организации, специализации и
кооперации, отшлифованный жесткой конкурентной борьбой за выживаемость. Причем,
меры по повышению технического уровня транспорта должны быть дополнены, по
мнению автора, мероприятиями организационного, экономического и
институционального характера, позволяющими улучшить управление развитием и
функционированием рынка сервисного обслуживания транспортных средств.
В сложившихся социально-экономических условиях назрела необходимость в
решении задач по оценке потенциала развития рынка сервисного обслуживания
автомобилей, определению основных направлений развития российского рынка
сервисного обслуживания автомобилей, выявлению институциональных предпосылок
формирования современного рынка сервисных услуг, разработке управленческих
механизмов и технологий развития рынка услуг.
От рациональности и научной организации рынка сервисных услуг зависит
эксплуатационная надежность, безопасность и экологичность, уровень качества
услуг по техническому обслуживанию автомобилей, что и предопределяет
актуальность и значимость проблемы и тема «станция технического обслуживания
автомобилей с расчетом агрегатного участка» является актуальной.
1.2 Обеспечение
эксплуатационной надёжности автомобилей в современном СТО
Обеспечение эксплуатационной надежности автомобилей путём исключения
преждевременных отказов и неисправностей, осуществляется
планово-предупредительной системой обслуживания и ремонта.
Принципиальными положениями планово-предупредительной системы являются:
) обязательное выполнение постоянного объёма работ по техническому
обслуживанию через установленный период (в километрах пробега);
) выполнение ремонта автомобилей по потребности, которая определяется
техническим осмотром после установленного межремонтного пробега или выявляется
в процессе ТО.
Принятая система ТО и ремонта базируется на Положении [22], в котором
предусматриваются следующие виды воздействий: ежедневное техническое обслуживание
(ЕТО), первое техническое обслуживание (ТО-1), второе техническое обслуживание
(ТО-2), сезонное обслуживание (СО). Перечисленные виды обслуживания отличаются
между собой периодичностью, перечнем и трудоёмкостью выполняемых работ.
ЕО выполняется ежедневно перед использованием автомобиля и включает
контрольно-осмотровые работы по механизмам управления, приборам освещения,
кузову, уборочно-моечные и обтирочные операции или сушку, а также заправку
топливом, маслом, охлаждающей жидкостью и сжатым воздухом (подкачка ниш). Мойка
автомобилей производиться по потребности в зависимости от погодных и
климатических условий, а также от эстетических требований.
ТО-1 заключается в наружном техническом осмотре автомобиля и выполнении в
установленном объёме контрольно-диагностических, крепёжных, регулировочных,
смазочных, электротехнических работ, проверке работы двигателя, рулевого
управления, тормозов и др. механизмов, проведении заправочных работ.
ТО-2 включает углублённую диагностику технического состояния всех
агрегатов, механизмов и приборов автомобиля, выполнение в установленном объёме
крепёжных, регулировочных, смазочных и др. работ, а также проверку действия
агрегатов, механизмов и приборов в работе.
СО предусматривает подготовку автомобиля к эксплуатации в холодное и
тёплое время года; проводится два раза в год и обычно совмещается с ТО-1 или
ТО-2.
При текущем ремонте (ТР) устраняются отказы и неисправности, возникающие
в процессе эксплуатации или выявленные в процессе ТО автомобиля. Особое место в
системе ТО и ремонта автомобилей занимает диагностика, предназначенная для
повышения объективности оценки технического состояния автомобилей, проходящих
ТО и ремонт и улучшения процесса управления ими. Диагностирование автомобиля
является составной частью процесса ТО и ремонта и элементом
планово-предупредительной системы, предусмотренной Положением [22].
1.3 Технологический
процесс ТО и ремонта автомобилей в проектируемом СТО
Схема технологического процесса ТО и ремонта автомобилей представлена на
рис. 1.1.
Рисунок 1.1 - Схема технологического процесса технического обслуживания и
ремонта автомобилей на СТО
На участке приёмки-выдачи осуществляется технический приём автомобилей и
оформляется принятая на СТО документация (заказ наряд, карточка слесаря). Затем
все автомобили проходят моечно-уборочное обслуживание и направляются в зону
диагностики. Как правило, пропускная способность зон ТО и ТР не позволяет
принять на обслуживание все автомобили непосредственно при поступлении на СТО.
Поэтому часть автомобилей обычно ожидает ТО и ремонта. Для них предполагается
выделить отдельную зону в отапливаемом помещении и площадку на территории СТО.
Ожидающие автомобили поступают на посты ТО и ремонта по мере их освобождения.
Если в процессе диагностирования будут выявлены неисправности автомобилей,
угрожающие безопасности движения, то они подлежат устранению станцией по
согласованию с владельцами автомобилей.
В случае невозможности выполнения этих работ (по техническим причинам или
при отказе владельца) проводиться отметка в заказ-наряде -«Автомобиль
неисправен - эксплуатации не подлежит».
После приёмки автомобиль направляется на соответствующий производственный
участок. При этом работы текущего ремонта предшествуют работам технического обслуживания.
В случае занятости рабочих постов, на которых должны выполняться работы
согласно заказ-наряд, автомобиль поступает в зону ожидания, а оттуда по мере
освобождения постов направляется на тот или иной производственный участок.
После завершения работ автомобиль поступает на участок выдачи.
Перед выдачей владельцу автомобиль должен быть принят техническим
контролером. В случае некачественного выполнения технического обслуживания и
ремонта владелец может предъявить станции рекламацию. Срок гарантии на работы
ТО и ТР определены (что наступит раньше): по ТО - 10 дней; по ТР - 30 дней;
пробег - 1000 км.
1.4 Виды услуг,
оказываемых проектируемой СТОА
Предполагается, что проектируемая СТОА будет оказывать следующие виды
услуг (табл. 1.1).
Таблица 1.1 - Виды услуг, оказываемых СТОА
|
Наименование работ
|
Примечание
|
|
1
|
2
|
|
Моечные и уборочные работы
|
+
|
|
Диагностирование в объеме Д-1
|
+
|
|
Углубленное диагностирование Д-2
|
+
|
|
ТО в полном объеме
|
+
|
|
Смазочные работы
|
+
|
|
Регулировочные (по установке углов передних колес)
|
+
|
|
Ремонт и регулировка тормозов
|
+
|
|
Электротехнические работы
|
+
|
|
Работы по приборам системы питания
|
+
|
|
Аккумуляторные работы
|
+
|
|
Шиномонтажные работы
|
+
|
|
Ремонт узлов, систем и агрегатов
|
+
|
|
Слесарно-механические работы
|
+
|
1.5 Обоснование
функциональной схемы проектируемого СТОА
В соответствии с требованиями принятых в Татарстане нельзя организовывать
автосервис рядом с жилыми домами (расстояние должно быть не менее 50 м) и около
водоемов.
Выбранное помещение должно иметь централизованную подводку воды и канализацию,
поэтому при строительстве станций технического обслуживания возникают некоторые
трудности.
Построение функциональной схемы станции технического обслуживания
автомобилей является основной организации работ по текущему обслуживанию и
техническому ремонту автомобилей, методов и способов ремонта автомобиля.
В данном дипломном проекте предлагается функциональная схема СТО
автомобилей, представленная на рис. 1.2.
Автомобили, пребывающие на станцию для ремонта, проходят мойку и
поступают на участок диагностики для определения технического состояния,
необходимого объема и стоимости работ.
Рисунок 1.2 - Функциональная схема СТОА
С точки зрения организации производственного процесса на станции участок
диагностики является основным. Рациональная организация работ на нем позволяет
определить необходимый объем работ на СТОА, быстро оформить наряд-заказ и
направить автомобиль на соответствующий производственный участок. Это дает
возможность исключить потери времени на выявление неисправностей на рабочих
постах и тем самым повысить эффективность работы СТОА.
После этого автомобиль перегоняют сначала на участок текущего ремонта,
где проводятся необходимые ремонтные работы. Либо на участок технического
обслуживания или специализированный участок (по ремонту электрооборудования,
приборов топливной системы, на участок ремонта аккумуляторных батарей,
агрегатно-механический участок или на стенд развала-схождения колёс). Перед
выдачей автомобиля владельцу проводится проверка объема и качества выполненных
работ.
2.Технологический расчет предприятия
автосервиса
2.1 Обоснование исходных данных
Одним из главнейших факторов, определяющих мощность, размер и тип СТО
(специализированная, универсальная), является число заездов на СТО, которое
зависит от большого количества случайных факторов и носит вероятностный
характер. На формирование количества заездов и объема работ на городских
станциях влияют: количество автомобилей в городе, годовые пробеги и состояние
парка автомобилей, условия эксплуатации, количество и суммарная мощность СТОА,
расположение в городе и многое другое.
При определении обслуживаемого СТО парка автомобилей необходимо учитывать
следующие особенности:
1. Входящий поток требований (автомобиле-заездов) на СТО характеризуется
различной частотой спроса на те или иные виды работ и трудоемкостью их
выполнения. При этом на величину трудовых затрат, как известно, влияет
«возраст» автомобиля, который имеет значительный разброс.
2. Легковые автомобили могут обслуживаться на различных предприятиях
автосервиса, т.е. они, как правило, не закреплены за определенными СТО, и
заезды их на станцию носят случайный характер.
Часть владельцев автомобилей выполняют ТО и ТР собственными силами или
привлечением других лиц и т.д., т.е. не все автомобили, которым необходимо ТО и
ТР, заезжают на СТО, а только часть из них.
С учетом приведенных выше особенностей технологический расчет принято
выполнять для парка условно обслуживаемых на СТО автомобилей:
NСТО = N*K = 17000*0.5 = 85000
Где N- парк автомобилей региона;коэффициент обращаемости, учитывающий
число владельцев автомобилей, пользующимися услугами СТО.
По оценке экспертов, для отечественных автомобилей: К= 0.45…0.5, для
автомобилей иностранного производства K= 0.75…0.85.
При этом под условным автомобилем парка понимается автомобиль, комплексно
обслуживаемый на СТО в течение года, на котором выполняется полный комплекс
работ по ТО и ремонту, обеспечивающий его исправное состояние. Расчетно
принимаем, что условный автомобиль парка должен сделать в течение года в
среднем 2 автомобиле-заезда на СТО.
Задачей технологического расчета является определение необходимых данных
(численности рабочих постов, автомобиле-мест, площадей и др.) для разработки
обьемно-планировочного решения СТО и организации технологического процесса
обслуживания и ремонта автомобилей.
Структура технологического расчета зависит от конкретных задач,
поставленных в задании на проектирование СТО.
2.2 Расчет годовой программы СТОА
Годовой объем работ городских станций обслуживания включает ТО, ТР,
уборочно-моечные работы, предпродажную подготовку автомобилей и т.д.
Годовой объем работ по техническому обслуживанию и текущему ремонту (в
человеко-часах):
Где Nсто- число автомобилей, обслуживаемых проектируемой СТО в
год;r- среднегодовой пробег автомобиля, км;удельная трудоемкость
работ по ТО и ТР, чел. ч/1000км.
В соответствии с ОНТП удельная трудоемкость ТО и ТР, выполняемых на
городских СТО, установлена в зависимости от класса автомобилей. Указанная
трудоемкость может быть скорректирована при соответствующем обосновании в
зависимости от размера СТО (числа рабочих постов) и климатических условий
района.
Исходя из задания, выразим в процентных отношениях виды работ.
Мойка автомобиля составляет примерно 20-40 минут, в зависимости от
качества и количества элементов.
Где Краб- процентное соотношение данного вида работ в общем
объеме ТО и ТР.
2.3 Расчет необходимого количества
постов на СТОА
Где Т- трудоемкость;
- коэффициент неравномерной нагрузки (1…1,15. Большее число
принимают для станций с меньшим количеством постов);
Драб= количество рабочих дней в году;
Тсм- время смены в часах;
С- количество смен;n- среднее число рабочих, одновременно
работающих на посту (0,9…1,1); n- коэффициент использования рабочего
времени поста (0,85…0,9);
2.4 Расчет числа производственных
рабочих
Расчет потребности производственных рабочих основывается на планируемом
годовом объеме работ по техническому обслуживанию и текущему ремонту и на
нормативном годовом фонде времени рабочего в соответствии с его специальностью.
При расчете различают технологически необходимое (явочное) и штатное количество
производственных рабочих.
Технологически необходимое количество рабочих для выполнения работ на
постах и участках рассчитывается по формуле:
где Тг- годовой объем работ на посту или участке, чел.ч;
Фт- годовой фонд времени рабочего места, ч.
Штатное количество производственных рабочих:
Где Фш- годовой фонд времени штатного рабочего, ч.
Годовой фонд времени штатного рабочего меньше фонда времени
технологически необходимого рабочего за счет предоставления отпусков и
невыходов по уважительным причинам. Фт=(350*8ч)=2800 ч.
Из вышеперечисленных выражений определяем количество персонала
Таблица 1. Численность производственных рабочих
|
Виды технологического воздействия и работ
|
Годовой объем работ, Тг (ч.)
|
Рт (чел)
|
Рш (чел)
|
|
|
Расчетное
|
Принятое
|
Расчетное
|
Принятое
|
|
Мойка
|
31500
|
11,3
|
11
|
14,1
|
14
|
|
Шиномонтажный
|
19159
|
6,8
|
7
|
8,5
|
9
|
|
Агрегатный
|
43792
|
15,6
|
16
|
19,5
|
20
|
|
Кузовной
|
32844
|
11,7
|
12
|
14,6
|
15
|
|
Малярный
|
30107
|
10,7
|
11
|
13,4
|
13
|
|
Итого
|
57
|
|
71
|
Кроме производственного персонала также необходимы и другие специалисты,
которые будут контролировать, и взаимодействовать со структурами других
ведомств.
Таблица 2. Общее количество персонала
|
Кол. человек
|
|
Директор
|
1
|
|
Бухгалтер кассир
|
1
|
|
Мастер-приемщик (гл. инженер)
|
1
|
|
Охрана - сигнализация
|
6
|
|
Пост мойки
|
14
|
|
Шиномонтажный
|
8
|
|
Агрегатный
|
20
|
|
Кузовной
|
14
|
|
Малярный
|
12
|
|
Итого
|
77
|
2.5 Определение площадей помещений
Площади производственных участков рассчитываются по площади помещения, занимаемой
оборудованием в плане, и коэффициенту плотности его расстановки, т.е.:
где:
∑Fоб- суммарная площадь оборудования;
∑Fавт- суммарная площадь по габаритным размерам проекции
автомобиля; n- количество машин; Kn- коэффициент плотности
оборудования.
Таблица 3. Рекомендуемые коэффициенты плотности оборудования
|
№ п/п
|
Производственные зоны, цеха, участки
|
Коэффициент плотности
|
|
1
|
Слесарно-механический, медницкий, аккумуляторный,
электротехнический, ремонта приборов системы питания, обойный, малярный.
|
3…4
|
|
2
|
Агрегатный, шиномонтажный, ремонта оборудования и
инструмента
|
3,5…4,5
|
|
3
|
Сварочный, жестяницкий, арматурный, зона ТО и ТР
|
4…5
|
|
4
|
Кузнечно-рессорный
|
4,5…5,5
|
|
5
|
Складские помещения
|
2,5
|
Рассчитанная величина площади уточняется по фактической расстановке
оборудования в плане с учетом рекомендуемых расстояний.
Мойка будет использоваться не только для машин, заезжающих на ремонт.
Таблица 4. Перечень основного производственного оборудования.
|
№
|
Наименование и тип оборудования
|
Количество, шт.
|
Стоимость, руб.
|
|
1
|
Очистные сооружения для автомоек АРОС - 2км (пять-шесть
постов), производительность Зм3/ч, 1,5квт, (2,5 х 0,85 х 1,3 ) 3000 л воды в
час, на 4-5 постов мойки л/а
|
1
|
135 000
|
|
2
|
Накопительная ёмкость на 3000 литров
|
4
|
120 000
|
|
3
|
Насосная станция для УКО-1, УКО-2
|
4
|
34000
|
|
4
|
Приямок для УКО-2, объём 5000 л. Рекомендуемые размеры под
приямок: (5 x 0,8 x 1,2)
|
4
|
300000
|
|
5
|
Пылесос HONDA 623 (0,5 x 0,5 x 0,6) Технические данные
Поток воздуха, м3/час430 Емкость бака, л78 Тип уборкисухая + влажная Вес, кг
24
|
4
|
84400
|
|
6
|
Пеногенератор IDROSYSTEM LTs 24
|
4
|
46800
|
|
7
|
Установка для мойки автомобилей ROYAL PRESS DSPL 2880 T (
0.77 х 0.51 x 0. 87 ) Технические данные Поток воды, л/час650-1300 Емкость
бака для химии, л 5 Длина шланга высокого давления, м8 Рабочее давление,
Бар30-170 Длина электрического кабеля, м 6 вес 61 кг
|
4
|
105500
|
|
4
|
Пистолет стандартный моющий 61 АС Технические данныеРабочее
давление, Атм2-6 Шланг для подключения подачи воды, дюйм½
Соединениебыстросъем
|
4
|
5600
|
|
5
|
Пистолет для продувки замков AQUARITAPAS 5
|
|
6000
|
Пост шиномонтажный
|
№
|
Наименование и тип оборудования
|
Количество, шт.
|
Стоимость, руб.
|
1 Полуавтоматический шиномонтажный стенд 21
Сорокин 15.1
<#"802792.files/image012.gif">
Минимальная площадь для бытовых помещений выбирается исходя из санитарных
норм и правил (СНиП 11-92-76) примерно 4,5 м2 на 1 человека.
1) Площадь кабинета директора:
2) Площадь кабинета бухгалтера:
Т.к. необходимо вести наблюдение за работой и безопасностью, необходим
максимальный обзор. Следовательно расположить кабинет на высоте более 2 метров.
3) Площадь кабинета мастера-приемщика (главный инженер):
5) Туалет, душевая, раздевалка:
Туалет 2*2,5 м2, душевая 6м2, раздевалка 12 м2
по СНиП 11-92-76, увеличиваем до 25 м2.
6) Зона ожидания клиентов 15 м2.
Находим общую площадь здания, учитывая внутренние проезды и проходы:
Где Fп- сумма площадей производственных зон; Fадм-
сумма площадей административно-бытовых, клиентских и складских помещений; Кпр-
коэффициент, учитывающий внутренние проезды и проходы СТОА.
2.6 Организация и технология
работы участка диагностики
На участке выполняется общее диагностирование автомобиля,
предназначенное, главным образом, для определения технического состояния узлов
и агрегатов, обеспечивающих безопасность движения и углублённое
диагностирование по всем механизмам и агрегатам.
Диагностирование является составной частью процесса ТО и ремонта
автомобилей и элементом планово-предупредительной системы, предусмотренной
Положением [20].
Участок диагностики работает 354 дней в году в две смены по 8 часов.
2.7 Организация и
управление технологическим процессом
Организация диагностирования на СТО осуществляется в соответствии с
«Положением о техническом обслуживании и ремонте автотранспортных средств» [22]. Диагностика обеспечивает: выявление автомобилей, которые не
соответствуют требованиям безопасности движения, определение неисправностей
автомобилей перед ТО, уточнение причин отказов и неисправностей, осуществление
контроля качества ТО и ремонта, прогнозирование безотказной работы автомобилей,
получение необходимой информации для управления производством.
Автомобили, заезжающие на СТО, после прохождения участков мойки и приёмки
и прямо или через зону ожидания направляются на пост диагностики. По
результатам диагностирования исправные автомобили непосредственно или через
зону ожидания направляются на посты ТО для выполнения регламентных работ.
Неисправные автомобили, прибывшие для прохождения ТО, по указанию
диспетчера производства направляются на посты ТР, а после устранения
неисправностей - на посты ТО. Неисправные автомобили могут направляться в зону
ТО сразу, но только в том случае, когда обслуживание их не приводит к
нарушениям ритмичности работы зоны. При невозможности установления характера
неисправности при общей диагностике, автомобили подвергаются углублённому
диагностированию.
Автомобили направляются (выборочно) на пост диагностики также после
прохождения ТО и ТР с целью проверки качества выполненных работ и
дополнительных регулировок по тормозной системе и переднему мосту.
Диагностические работы выполняются механиками (ИТР), а регулировочные
ремонтными рабочими.
Результаты диагностирования заносятся в специальные диагностические карты
учёта, которые затем поступают к диспетчеру производства и служат основанием
для организации выполнения ТО и ремонта автомобилей.
Пост диагностики оснащён соответствующим оборудованием и приборами,
обеспечивающими выполнение всех операций по принятой в СТО технологии
диагностирования автомобилей. Кроме того, пост обеспечивается необходимой
технологической документацией (постовыми и технологическими картами,
содержащими сведения по выполняемым операциям, применяемому оборудованию и
оснастке, значениям контролируемых параметров, трудоёмкости.
Как указывалось, контрольные операции при диагностировании автомобилей
выполняют механики (ИТР), а регулировочно-ремонтные - рабочие. Труд механиков
оплачивается по установленным должностным окладам, а ремонтных рабочих - в
соответствии с их квалификацией (квалификационному разряду).
Система оплаты труда - повременно-премиальная. По результатам
производственной деятельности СТО работникам выплачиваются премиальные.
Пост диагностики размещён (см. лист «Производственный корпус» вначале
производственного процесса ТО и ремонта автомобилей. После прохождения
диагностики автомобили могут попасть на участок ТО и ТР, а также на
специализированные участки (см. лист «Функциональная схема СТО»). Пост оснащён
необходимым оборудованием позволяющим проверить все основные системы
автомобиля, обеспечивающие безопасность движения.
3. Планировка здания предприятия
автосервиса
План здания выполняется отдельно для каждого здания предприятия. На плане
указывается расположение производственных участков, складских помещений,
вспомогательных (бытовых и административных) помещений, вентиляционных камер,
трансформаторных подстанций, тепловых пунктов, водомерных узлов. На плане
указывают габаритные размеры здания с маркировкой разбивочных осей, сетку
колонн пролетов, наружные и внутренние стены, перегородки, антресоли с
отметками пола, подъемно-транспортное оборудование, лифты. Расстановка
технологического оборудования на архитектурном плане не указывается.
При разработке плана должны учитываться противопожарные и санитарные
требования, связанные с размещением взрыво- и пожароопасных производств.
Разработка плана должна выполняться с учетом основных положений унификации
объемно-планировочных решений промышленных зданий, а именно: конфигурация
здания в плане, выбор сеток колонн и направлений пролетов, расположения
внутренних стен и перегородок.
Разработка архитектурно-строительного плана (рис. 4) производственного
корпуса выполняется в такой последовательности:
определяется состав производственных участков и складов, размещаемых в
данном здании (на основании принятой схемы организации технологического
процесса, обуславливаемых земельным участком);
определяется общая площадь здания (на основании данных расчета площадей)
и с учетом требования унификации объемно - планировочных решений выбирается
сетка колонн и принимаются габаритные размеры здания;
на принятой строительной схеме прорабатываются компоновочные решения с
учетом выполнения технологических, противопожарных и санитарных требований, а
так же размещения вентиляционных камер, электрощитовых, тепловых узлов,
водомерных узлов, бытовых помещений (санитарных узлов).
При размещении предприятия в нескольких зданиях желательно принять одну
сетку колонн и одинаковую конструктивную схему для всех проектируемых зданий.
Это позволит сократить количество типоразмеров строительных конструкций и тем
самым обеспечить лучшие условия для строительства предприятия.
У зданий, имеющих в плане прямоугольную форму, целесообразно выдерживать
соотношение длины и ширины здания в соотношении 1,5-2.
На свободном поле листа справа размещается экспликация помещений с их
наименованием и площадью (табл. 7). План выполняется в масштабе 1:100 или 1:200
в зависимости от размеров здания.
Разрез здания в архитектурной части выполняется поперечный или продольный
разрезы с указанием отметок пола, потолка, отметки окон, дверей, отметка кровли
и парапета. Также в архитектурной части прорабатывается отделка фасадов здания
и внутренняя отделка помещений, конструкция полов, кровли, конфигурация
лестниц, месторасположение лифтов и подъемно-транспортного оборудования,
подсчет материалов для устройства полов, кровли, отделки. Разрабатывается
конструкция наружных и внутренних стен и перегородок, оконные и дверные
конструкции. Архитектурное проектирование начинается после разработки основных
технологических требований и далее в интересах правильного окончательного
размещения участков станции необходимо вести эти два вида специального
проектирования параллельно, в тесном сотрудничестве. Большое влияние на
планировку оказывают технологическое оборудование и потребности.
В пояснительную записку данного раздела входят: краткое описание основных
объемно-планировочных показателей, принятых в проекте раздельно по
производственно-складским и вспомогательным (административно-бытовым) зданиям и
сооружениям; габариты в плане, высота этажей, типы полов, внутренняя отделка помещений,
отделка фасадов; краткое описание мероприятий и расчеты, подтверждающие
принятые в проекте решения по освещенности помещений, снижению производственных
шумов, противопожарной безопасности; определение состава вспомогательных
помещений и расчеты этих помещений.
В графическую часть данного раздела входят: планы этажей, разрезы здания,
план кровли и конструкция покрытия, фасады, ведомости отделки, ведомость
применяемых полов и их конструкция, спецификации дверных и оконных блоков.
Конструктивные решения: в данном разделе проекта разрабатываются несущие
элементы здания: типы фундаментов в соответствии с геологическим обследованием
площадки под строительство и типом применяемых конструкций, сечение и высоту
колонн, несущие элементы перекрытия здания (балки, фермы).
Принципы выбора несущей системы зависят от величины станции обслуживания,
технологии, имеющихся материалов, возможностей подрядчика и экономических
факторов для строительства. Выбор той или иной системы прежде всего
определяется возможностями размещения вертикальных конструкций. Чаще всего для
СТО применяются каркасные системы.
Система несущих конструкций здания и порядок их размещения должны
соответствовать технологическим требованиям, предъявляемым к станции. Сочетание
конструкции и технологии относительно просто размещается на малых станциях, где
максимальная технологически необходимая величина пролетов не превышает 3-6 м.
Поэтому, для функционально различных частей здания применяется единая
конструкционная система.
Несущие и ограждающие конструкции здания по своей конструкции и
материалам могут быть разнообразными: сборные железобетонные элементы,
монолитный железобетон, металлоконструкции.
Сетку колонн производственной зоны СТО выбирают в соответствии с табл. 7.
Таблица 7 Сетка колонн производственной зоны СТО
|
Сетка колонн, м
|
Автомобили класса
|
Итого
|
|
большого и среднего
|
малого и особо малого
|
|
|
ВП
|
РП
|
ПЧ
|
итого
|
ВП
|
РП
|
ПЧ
|
итого
|
+ + + + + + + + + +
|
+ + - - + - + + + +
|
+ + - + + + + + - +
|
+ + - - + - + + - +
|
+ + + + + + + + + +
|
- - - - + - + + + +
|
+ - + + + - + + + +
|
- - - - + - + + + +
|
- - - - + - + + + +
|
Примечание. ВП - вспомогательный пост; РП - рабочий пост; ПЧ - проезжая
часть; знак «+» соответствует удовлетворительным условиям для обслуживания,
знак «-» - неудовлетворительным.
В пояснительную записку данного раздела входит: основные данные,
характеризующие принятые фундаменты здания, каркас, сетку колонн и других
несущих элементов здания; принятые расчетные нагрузки несущих элементов,
описание несущих ограждающих конструкций.
В графическую часть данного раздела входят: планы фундаментов, колонн,
перекрытия, балок или ферм покрытия; конструктивные узлы и детали; спецификации
на расход бетона, металла, сборных железобетонных покрытий и т.д.
В одном помещении вместе с зоной ТО и ТР допускается располагать
моторный, агрегатный, механический, электротехнический участки, участок ремонта
приборов питания, а также мойки автомобилей (если мойка выполняется в камерах).
При проектировании участка малярных работ предусматривают два помещения -
для приготовления красок и для окрасочных работ.
Таблица 8 Экспликация помещений
|
№ помещ.
|
Наименование
|
Площадь кв. м2
|
№ помещ.
|
Наименование
|
Площадь кв. м2
|
|
1
|
Клиентская
|
55,3
|
11
|
Посты ТО и ТР
|
52,0
|
|
2
|
Комната оформления документов
|
10,9
|
12
|
Посты ожидания ТО и ТР
|
72,0
|
|
3
|
Агрегатное, механическое, шиномонтажное и
электрокарбюраторное отделения
|
100,8
|
13
|
Участок диагностики
|
70,0
|
|
4
|
Отделение мойки агрегатов и узлов
|
26,0
|
14
|
Краскоприготовительная
|
21,5
|
|
5
|
Аккумуляторное отделение
|
10,9
|
15
|
Окрасочный участок
|
214,3
|
|
6
|
Обойное отделение
|
20,2
|
16
|
Кузовной участок
|
167,2
|
|
7
|
Тепловой узел
|
12,7
|
17
|
Масло-хозяйство
|
35,2
|
|
8
|
Сан. узлы
|
19,4
|
|
|
|
|
9
|
Склад запчастей и агрегатов
|
79,0
|
|
|
|
|
10
|
Пост мойки
|
22,0
|
|
|
|
4. Генеральный план предприятия
Генеральный план является одним из основных элементов проекта,
представляющий комплексное технологическое и архитектурно - строительное
решения предприятия, определяющее рациональное взаиморасположение зданий и
сооружений, обуславливаемое характером и схемой производства, а также
спецификой местных условий (рельеф и конфигурация площадки, ее ориентация по
сторонам света, примыкание к основным транспортным магистралям). Перед
разработкой генерального плана необходимо уточнить перечень основных зданий и
сооружений, размещаемых на территории СТО, их габаритные размеры в плане и
площади их застройки.
Площадь застройки здания определяется как площадь горизонтального сечения по
внешнему обводу здания на уровне цоколя, включая выступающие части. Площадь под
зданием, расположенным на столбах, а также проезды под зданием включаются в
площадь застройки. При проектировании генерального плана предприятия по
обслуживанию автомобилей должны соблюдаться требования ВСН 01-89 («Предприятия
по обслуживанию автомобилей) и СНиП 2.07.01-89 («Градостроительство. Планировка
и застройка городских и сельских поселений»). Территория СТО должна иметь
ограждение. В ограждении территории станции, которая имеет 10 и более постов ТО
и ТР следует предусматривать не менее двух въездов (выездов). Для предприятий с
меньшим количеством постов допускается устройство одного въезда на территорию.
Проем ворот в ограде должен быть не менее 4,5 х 4,5 м. (по ВСН 01-89). При
расположении территории предприятия на земельном участке, ограниченном двумя
проездами общего пользования, ворота основного въезда следует размещать со
стороны проезда с наименьшей интенсивностью движения автотранспорта Въезд на
территорию станции должен предшествовать выезду, считая по направлению движения
по проезду общего пользования. (по ВСН 01-89)
На территории СТО с количеством постов 10 и более следует предусматривать
движение транспорта в одном направлении без встречных и пересекающихся потоков
(по ВСН 01-89). Станции технического обслуживания автомобилей (по СНиП 2.07.01-89)
следует проектировать из расчета один пост на 200 легковых автомобилей,
принимая размеры их земельных участков, га, для станций:
на 10 постов - 1,0;
на 15 постов - 1,5;
на 25 постов - 2,0;
на 40 постов - 3,5.
Расстояния (по СНиП 2.07.01-89) от СТО до жилых домов, общественных
зданий, школ, детских дошкольных учреждений, лечебных учреждений принимаются по
табл. 9.
Таблица 9 Определение земельных участков для СТО
|
Здания до которых определяется расстояние
|
Расстояние от СТО при числе постов, м
|
|
10 и менее
|
11-30
|
Свыше 30
|
|
Жилые дома, в том числе торцы жилых домов без окон
Общественные здания Общеобразовательные школы и ДДУ Лечебные учреждения
|
15 15 15 50 *
|
25 25 20 * *
|
50 50 20 * *
|
*Определяется по согласованию с органами Государственного санитарного надзора.
Санитарно-защитные зоны предприятий определены в СанПиН
2.2.1/2.1.1.1031-01:
для предприятий по обслуживанию автомобилей с количеством постов до 5
(без малярно-кузовных работ) - 50 м;
для предприятий по обслуживанию автомобилей с количеством постов не более
10-100 м;
для предприятий по обслуживанию автомобилей с количеством постов более
10-300 м.
На территории СТО предусматривают стоянку для автомобилей, принадлежащих
работникам станции. Площадь стоянки следует принимать из следующих нормативов:
1 машино-место на 10 работающих в двух смежных сменах. Удельная площадь на один
легковой автомобиль - 25 м2.
Проезды с двусторонним движением должны иметь ширину проезжей части - 6
м, с односторонним движением - 5 м.
Минимальные расстояния от края проезжей части до зданий и сооружений
следует принимать:
от наружной стены здания при отсутствии въезда в здание и его длине не
более 20 м - 1,5 м;
то же, при длине здания более 20 м - 3 м;
при въезде в здание электротележек, погрузчиков и двухосных автомобилей -
8 м;
от ограждения территории СТО и открытых площадок - 1,5 м.
При разработке генерального плана следует учитывать:
здания и сооружения с производственными процессами, выделяющими в
атмосферу газ, дым и пыль, а также с взрывоопасными и пожароопасными процессами
следует располагать по отношению к другим зданиям и сооружениям с наветренной
стороны;
при размещении зданий необходимо учитывать рельеф местности и
геологические условия на площадке строительства;
рациональное расположение зданий должно обеспечивать выполнение
минимального объема земляных работ при планировке площадки;
здания прямоугольной формы в плане, как правило, должны размещаться таким
образом, чтобы длинная сторона зданий была расположена перпендикулярно к
направлению уклона территории площадки.
При разработке генерального плана предусматривается благоустройство
территории предприятия, которое включает в себя устройство:
тротуаров;
площадок для отдыха трудящихся;
спортивных площадок;
стоянок для автомобилей;
озеленения территории СТО.
Площадь озеленения должна составлять не менее 15% площади предприятия при
плотности застройки менее 50% и не менее 10% при плотности застройки более 50%.
В пояснительной записке этого раздела проекта рассматриваются:
краткая характеристика площадки для строительства СТО, обоснование
принятой схемы генерального плана, основные решения по благоустройству и
озеленению участка, основные решения по вертикальной планировке;
основные данные по инженерно - геологической характеристике участка.
В графическую часть этого раздела входят: ситуационный план, генеральный
план, план благоустройства, план организации рельефа и дорожных покрытий.
Генеральные планы выполняются на топографической съемке в масштабе 1:500.
На листе генерального плана должны размещаться: экспликация проектируемых
зданий и сооружений и планировочные показатели.
Для проектирования СТО необходимо несколько показателей, минимум из
которых составляют: численность населения района города, класс автомобиля,
среднегодовой пробег автомобилей, число рабочих дней в году, продолжительность
смены. По этим немногочисленным данным можно определить: годовую трудоемкость
(годовой объем работ), число рабочих постов, численность персонала, площади
отдельных участков и СТО в целом, подобрать необходимое оборудование и т. д. Сложно
судить об объективности расчетов, ибо спрос на услуги СТО варьируется и зависит
от множества независимых от человека факторов, но тем не менее они необходимы,
как и необходимы сами СТО.
Обоснование выбора территории направлено на оценку целесообразности
создания в определенном районе города СТО, ее конкурентоспособность на рынке
данных услуг, а следовательно и экономической выгоды от ее создания.
Для проектируемой СТО выбрана территория по Октябрьскому проспекту, около
гипермаркета «Макси». В этом районе большая пропускная способность, близи
располагается АЗС.
СТО планируется оснастить всеми современными средствами и оборудованием,
выбор которых основывался на универсальности, надежности, высокой
производительности, малой трудоемкости и т. д.
На проектируемой СТО планируется проводить целый комплекс работ: ТО и ТР
автомобилей, уборочно-моечные работы, диагностирование узлов, агрегатов,
шиномонтаж, кузовные работы, покраска автомобилей, противокоррозионные работы,
продажа запасных частей, эксплуатационных материалов и автопринадлежностей.
Помимо всего перечисленного для удобства клиентов на территории СТО будет
располагаться автомобильная стоянка, в самом здании - комната для клиентов,
буфет и магазин автозапчастей.
5. Проектирование коммуникаций
5.1 Проектирование системы освещения
При проектировании освещения основным нормативным документом является
СНиП 23-05-95 «Естественное и искусственное освещение», устанавливающие нормы
естественного, искусственного освещения зданий и сооружений.
Минимально рекомендуемые значения освещенности для отдельных участков
СТОА:
|
Выставочные помещения
|
От 300 до 500 лк
|
|
Офисы
|
500 лк
|
|
Мастерские
|
400 лк
|
|
Склад запчастей
|
300 лк
|
Нормирование естественного и искусственного освещения осуществляется в
зависимости от характеристики зрительной работы и минимального размера объекта
различения.
Задачей расчета является определение потребного количества светильников
для общего освещения помещения.
Расчет искусственного освещения.
Расчет проводится методом светового потока. При расчете учитывается как
прямой, так и отраженный от потолка и стен свет.
Исходными данными для расчета искусственного освещения являются:
минимальная освещенность Emin, лк;
высота рабочей поверхности hp, м;
коэффициенты отражения от потолка pn и стен pc;
размеры помещения;
тип лампы и светильника.
Методика расчета заключается в следующем:
1. Определяется высота подвеса светильника:
h=H-hp, м
где H- высота помещения, м.
2. Определяется индекс помещения i:
Где S- площадь помещения, м;и b- соответственно длина и ширина помещения.
3. По СНиП 23-05-95 с учетом индекса помещения, коэффициента отражения от
потолка и стен, типа выбранного светильника и группы светильника определяется
коэффициент светового потока n (ню) и световой поток принятой лампы Фл.
4. Определяется потребное количество светильников:
Где Кз- коэффициент запаса, учитывающий запыление светильников
и износ источников света в процессе эксплуатации.поправочный коэффициент,
учитывающий неравномерность освещения.
ni- количество ламп в одном светильнике (шт.)
Округляя значение Ne до ближайшего большего целого числа,
определяется необходимое количество светильников. Выбирается марка светильника.
Расчет естественного освещения.
Расчет естественного освещения заключается в определении площади световых
проемов, и их расположении, которые обеспечивают удовлетворительные условия при
освещенности на рабочих местах. В соответствии с СНиП 23-05-95 площадь световых
проемов определяется по формуле:
Где en- нормируемое значение коэффициента естественного
освещения;0- световая характеристика окна;
Кзд- коэффициент, учитывающий затенение окон помещения;
Кзап- коэффициент запаса, учитывающий снижение коэффициента
естественного освещения и освещенности в процессе эксплуатации из-за
загрязнения и старения, сопровождающего материала, а так же снижения отражающих
свойств поверхности помещения.
τ0= τ1* τ2* τ3* τ4
τ1- коэффициент светопропускаемости материала;
τ2- коэффициент, учитывающий потери света в переплетах
светопроема;
τ3- коэффициент, учитывающий потери света в несущих
конструкциях;
τ4- коэффициент, учитывающий потери света в
солнцезащитных устройствах;1- коэффициент, учитывающий повышение
коэффициента естественной освещенности при боковом освещении за счет света,
отраженного от поверхности помещения и подстилающего слоя прилегающего к
зданию.
τ0=0,81 - общий коэф-т светопропускаемости1=1,2-учитывает
повышение КЕО при боковом освещении от поверхностей помещения и подстилающего
слоя
1. Тех. зона:
Естественное освещение
Искусственное освещение
Исходные данные: Emin=400 лк, hp=0.8, рп=50%,
рс=30%, S=355 м2, Н=6 м, тип ламп
ДРЛ-400, тип светильника подвесной РСП 05-400-012.
1)
2)
3)
4) Ƞ=65%
) Фл=24000 лм, N=400 Вт;
6)
2. Мойка.
Естественное освещение
Искусственное освещение
Исходные данные: : Emin=400 лк, hp=0, рп=50%,
рс=30%, S=150 м2, Н=5 м, тип ламп
ДРЛ-400, тип светильника подвесной РСП 05-400-012.
1)
2)
3)
4) Ƞ=65%
) Фл=24000 лм, N=400 Вт;
6)
3. Шиномонтажная.
Естественное освещение
Искусственное освещение
Исходные данные: : Emin=400 лк, hp=0,8, рп=50%,
рс=30%, S=40 м2, Н=3 м, тип ламп ЛД30-4 тип светильника
ЛСОО2-2•30.
1)
2)
3)
4) Ƞ=48%
5) Фл=1750 лм, N=30 Вт;
6)
4. Офис.
Естественное освещение
Искусственное освещение
Исходные данные: : Emin=500 лк, hp=0,8, рп=50%,
рс=30%, S=30 м2, Н=3 м, тип ламп ЛД30-4 тип светильника
ЛСОО2-2•30.
1)
2)
3)
4) Ƞ=48%
) Фл=1750 лм, N=30 Вт;
6)
5. Раздевалка.
Естественное освещение
Искусственное освещение
Исходные данные: : Emin=300 лк, hp=0, рп=50%,
рс=30%, S=12 м2, Н=3 м, тип ламп ЛД30-4 тип светильника
ЛСОО2-2•30.
1)
2)
3)
4) Ƞ=48%
) Фл=1560 лм, N=30 Вт;
6)
6. Туалет, душ и т.п.:
Исходя из вышеперечисленных расчетов, можно заранее определить количество
и мощность ламп в душе, туалете и в проходе между тех.зоной и мойкой: Душевая-
2*50 Вт, Туалет- 2*35 Вт, над умывальником 1*60 Вт. Все перечисленные лампы
должны иметь влагозащитный корпус.R1-100-E27 - 5 шт.
Для определения суммарной мощности всего установленного на предприятии
электроосвещения необходимо составить ведомость в следующем виде:
Таблица 5. Осветительные приборы
|
№
|
Помещение
|
Марка ламп
|
Количество ламп
|
Мощность N (Вт)
|
Суммарная мощность (Вт)
|
|
1
|
Тех. зона
|
РСП 05-400-012
|
13
|
400
|
5200
|
|
2
|
Мойка
|
РСП 05-400-012
|
5
|
400
|
2000
|
|
3
|
Шиномонтажная
|
ЛСОО2-2•30
|
40
|
30
|
1200
|
|
4
|
Офис
|
ЛСОО2-2•30
|
6
|
30
|
180
|
|
5
|
Раздевалка
|
ЛСОО2-2•30
|
2
|
30
|
60
|
|
6
|
Санузел
|
NBL-R1-100-E27
|
5
|
60
|
300
|
|
Итоговая мощность всех осветительных приборов
|
7740
|
5.2 Проектирование системы
электроснабжения
Нормирование электротехнических устройств осуществляется в соответствии с
СНиП 3.05.06-85 «Электрические устройства».
Целью проектирования системы электроснабжения является определение
итоговой мощности всего установленного на предприятии оборудования и
осветительных приборов, для чего необходимо составить ведомость применяемого
оборудования в табличном виде:
Таблица 6. Мощность всего оборудования.
|
№
|
Наименование оборудования
|
Количество
|
Мощность N (кВт)
|
Напряжение U (В)
|
Суммарная Мощность N∑ (кВт)
|
|
1
|
Очистное сооружение
|
1
|
2,8
|
380
|
2,8
|
|
2
|
Моечное оборудование
|
4
|
1,8
|
220
|
7,2
|
|
3
|
Пылесос
|
4
|
1,9
|
220
|
7,6
|
|
4
|
Компрессор
|
4
|
4
|
380
|
16,0
|
|
5
|
Балансировочный стенд
|
3
|
0,35
|
220
|
1,05
|
|
6
|
Компрессор РЕМЕЗА
|
3
|
2,2
|
380
|
6,6
|
|
7
|
Вулканизатор настольный
|
3
|
1
|
220
|
3
|
|
8
|
Торм. стенд
|
1
|
8
|
330
|
8,0
|
|
9
|
Пост подготовки к окраске
|
4
|
6,7
|
380
|
26,8
|
|
10
|
Машина швейная
|
1
|
1,8
|
220
|
1,8
|
|
11
|
Оверлок
|
1
|
220
|
0,15
|
|
12
|
Утюг
|
1
|
1,6
|
220
|
1,6
|
|
13
|
Гайковерт пневматический
|
3
|
2,2
|
220
|
6,6
|
|
14
|
З/у для АКБ
|
1
|
1,7
|
220
|
1,7
|
|
15
|
Газоанализатор
|
2
|
1,5
|
220
|
3,0
|
|
16
|
Осветительные приборы
|
|
10,79
|
220
|
10,79
|
|
17
|
Оргтехника
|
|
1,2
|
220
|
1,2
|
|
Итоговая мощность всего оборудования
|
105,89
|
Итоговая мощность всего установленного на предприятии оборудования и
осветительных приборов определяется как:
5.3 Проектирование системы
теплоснабжения
Проектирование системы отопления выполняется на основании
архитектурно-строительных, санитарно-технических чертежей в соответствии с СНиП
2.04.05-91 «Отопление, вентиляция и кондиционирование». Выбор системы
отопления, вида и параметров теплоносителя определяется тепловой инерцией
ограждающих конструкций, характером и назначением помещения.
Целью расчета системы отопления является нахождение потребного количества
тепла для поддержания в холодный период года во всех помещениях здания
оптимальных температур в соответствии с требованиями по охране труда. При
расчете теплообеспечения станций технического обслуживания следует учитывать
дополнительные потребности тепла, связанные с частым открыванием ворот,
нагреванием автомобилей и воздухообменом, и прочее.
Исходными данными для расчета являются метеорологические условия района
застройки.
Расчет теплоснабжения производственной зоны.
1. Определяется коэффициент теплопередачи:
,
где
=8,7- коэффициент теплоотдачи внутренней поверхности,
;
-
толщина слоя пенополистерола (
=0,25 м);
-
теплопроводность пенополистерола (
=0,055Вт/м
С);
-
толщина слоя стального листа (
=0,0015м);
-
теплопроводность стали (
=43,5 Вт/м
С).
=23-
коэффициент теплоотдачи наружной поверхности,
.
.
Вычисляется стандартный температурный напор:
, 0С
где
- температура воздуха внутри помещения;
-
температура наиболее холодной пятидневки года.
3. Определяются потери теплоты через отдельные наружные элементы:
, Вт
где
- площадь ограждения, м2;
-
коэффициент, учитывающий разность температур.
Используя
таблицу «потери окон различной конструкции» определяем потери через оконные
проемы:
Где Qуд- потери тепла через 1 м2 оконного проема.
4.
Учитывая добавочные теплопотери
для
каждого элемента помещения согласно рекомендациям СНиП 2.04.05-91 вычисляются
общие потери тепла через ограждения:
, Вт
.
Находятся суммарные теплопотери для всех помещений:
, Вт
где
- общие потери тепла через ограждения;
-
теплопотери на инфильтрацию врывающегося воздуха;
-
поступление холодного воздуха в помещение;
=2 -
поправочный коэффициент;
=8,5 -
объемный расход воздуха через 1 м щели или притвора, м3/с;
- длина
щели или притвора, м;
=1,005 -
удельная теплоемкость воздуха,
;
-
стандартный температурный напор, 0С;
=0,8 -
коэффициент, учитывающий влияние встречного потока.
Для
производственных помещений теплопотери на инфильтрацию врывающегося воздуха
допускается принимать равными 30% от остальных потерь через ограждения.
Исходя
из вышесказанного принимаем
Вт
, Вт
6. Определяются теплопоступления для каждого помещения:
, Вт
Где:
-теплопоступления
от одного человека, находящегося в помещении;
Вт -
теплопоступления от работающего электрооборудования;
=1,07 -
коэффициент, учитывающий интенсивность работы;
=0,7 -
коэффициент, учитывающий теплозащитные свойства одежды;
=0,16 -
скорость воздуха в помещении, м/с;
=19 -
температура воздуха внутри помещения;
-
поправочный коэффициент;
-
итоговая мощность всех источников электропотребления установленных на
предприятии.
.
Определяется потребное количество теплоты:
, Вт
8. Вычисляется расчетная площадь отопительных приборов:
, м2
где
=640 Вт/м2- номинальная плотность теплового
потока, Вт/м2 для конвекторов типа «Универсал ТБ» КСК-20М-0,655к.
-
коэффициент, учитывающий понижение температуры нагревательного элемента;
-
коэффициент, учитывающий количество секций (труб регистров);
-
коэффициент, учитывающий способ подвода теплоносителя;
-
коэффициент, учитывающий способ установки нагревательного элемента.
9. Определяется необходимое число отопительных приборов:
,принимаем
10 шт.
где
- число труб в отопительном приборе;
-
наружная площадь одной секции (трубы регистра).
Расчет теплоснабжения мойки.
.Определяется коэффициент теплопередачи:
,
2. Вычисляется стандартный температурный напор:
, 0С
.
Определяются потери теплоты через отдельные наружные элементы:
, Вт
Используя
таблицу «потери окон различной конструкции» определяем потери через оконные
проемы:
.
Учитывая добавочные теплопотери
для
каждого элемента помещения согласно рекомендациям СНиП 2.04.05-91 вычисляются
общие потери тепла через ограждения:
, Вт
5.
Находятся суммарные теплопотери для всех помещений:
Вт
, Вт
6.
Определяются теплопоступления для каждого помещения:
, Вт
Вт -
теплопоступления от работающего электрооборудования;
7.
Определяется потребное количество теплоты:
, Вт
8.
Вычисляется расчетная площадь отопительных приборов:
, м2
9.
Определяется необходимое число отопительных приборов:
,принимаем
6 шт.
Расчет
теплоснабжения шиномонтажной.
.Определяется
коэффициент теплопередачи:
,
2. Вычисляется стандартный температурный напор:
, 0С
.
Определяются потери теплоты через отдельные наружные элементы:
, Вт
Используя
таблицу «потери окон различной конструкции» определяем потери через оконные
проемы:
4.
Учитывая добавочные теплопотери
для
каждого элемента помещения согласно рекомендациям СНиП 2.04.05-91 вычисляются
общие потери тепла через ограждения:
, Вт
.
Находятся суммарные теплопотери для всех помещений:
Вт
, Вт
6. Определяются теплопоступления для каждого помещения:
Вт
Вт -
теплопоступления от работающего электрооборудования;
7. Определяется потребное количество теплоты:
, Вт
.
Вычисляется расчетная площадь отопительных приборов:
, м2
9.
Определяется необходимое число отопительных приборов:
,принимаем
2 шт.
Расчет
теплоснабжения офиса.
.Определяется
коэффициент теплопередачи:
,
2. Вычисляется стандартный температурный напор:
, 0С
3.
Определяются потери теплоты через отдельные наружные элементы:
, Вт
Используя
таблицу «потери окон различной конструкции» определяем потери через оконные
проемы:
4.
Учитывая добавочные теплопотери
для
каждого элемента помещения согласно рекомендациям СНиП 2.04.05-91 вычисляются
общие потери тепла через ограждения:
, Вт
5. Находятся суммарные теплопотери для всех помещений:
Вт
, Вт
6. Определяются теплопоступления для каждого помещения:
, Вт
Вт -
теплопоступления от работающего электрооборудования;
.
Определяется потребное количество теплоты:
, Вт
.
Вычисляется расчетная площадь отопительных приборов:
, м2
9. Определяется необходимое число отопительных приборов:
,принимаем
0 шт.
5.4 Проектирование системы вентиляции
Расчет вытяжной вентиляции включает в себя: определение необходимых
расходов вытягиваемого воздуха, подбор вентиляционного оборудования.
I) В соответствии с нормами СНиП 2.04.05 - 91 и ВСН 01 - 81 определим
необходимые расходы воздуха для участков вентиляционной сети:
Вредные газы, находящиеся в производственном помещении удаляются системой
вентиляции из верхней части помещения разнесенными воздухоприемниками,
вмонтированными в подвесной потолок. Расход воздуха также определим методом
нормированной кратности воздухообмена. Согласно нормам в помещениях где
осуществляются работы с подъемно-транспортным оборудованием удаление воздуха
должно происходить с нормой кратности воздухообмена кратностью К = 10
.
К - норма кратности воздухообмена,
;
При проектирование системы вентиляции нормативным документом является
СНиП 2.04.05-91.
Важнейшим требованием, предъявляемым к вентиляционному оборудованию
станции технического обслуживания автомобилей, является предотвращение
образование в воздушном пространстве концентрации газов, паров и пыли,
превышающих величину, установленных общей инструкцией и правилами пожарной
безопасности.
Методика расчета :
1. Определяется необходимая производительность систем вентиляции для
удаления выхлопа газов одного автомобиля (расходов воздуха, удаляемый из
рабочей зоны помещения):
2.
где
Vл - объем двигателя, л;N - номинальная частота вращения
коленчатого вала двигателя, об/мин;зап - коэффициент запаса;
3. Определяется воздухообмен общей вентиляции:
а) удаление явной теплоты:
где
явные тепловыделения в помещении;
С - удельная теплоемкость воздуха, Дж/кг ∙Кp
= tB + 4 - температура воздуха удаляемого из обслуживаемой
зоны, 0C;
tпр
- температура приточного воздуха ( согласно с СНиП 2.04.05-91);’ч -
теплота, выделяющаяся одним человеком, Вт;‘авт= Mавт ∙
Cавт ∙(tавт - tр) ∙ I - теплота от
нагрева автомобиля, Вт;
Мавт
- масса автомобиля, кг;
С
авт- средняя удельная теплоемкость автомобиля, Дж/кг∙Кавт-
средняя температура автомобиля, 0С;- количество автомобилей,
въезжающих в течение одного часа;
- теплота от одного работающего двигателя;час - часовой расход
топлива, кг/ч;
Ни - низшая теплота сгорания, Дж/кг;
1 - коэффициент выделения теплоты;
2 - коэффициент, учитывающий время работы двигателя;
3
- коэффициент, учитывающий
одновременную работу двигателей;
-
теплота от электрооборудования, Вт;’эл - теплопоступления от
работающего электрооборудования, Вт;
1 - коэффициент использования установленной мощности;
2 - коэффициент загрузки;
3
- коэффициент одновременной
работы электрооборудования;
4
- коэффициент перехода
электрической энергии в тепловую;
тепловой
поток, поступающий от солнечной радиации через остекления, Вт;ост -
площадь поверхности остекления, м2;ост - теплопоступление
от солнечной радиации через 1м2 остекления;
аост
- коэффициент, зависящий от характера остекления;
б) удаление вредных примесей:
где mпр - масса вредных веществ поступающих в помещение
(согласно с СНиП 2.04.05-91);
кр - концентрация вредного вещества, удаляемого из рабочей
зоны;
кпр - концентрация вредного вещества в воздухе.
. Определяется распределение кратности воздухообмена:
где S - площадь помещения, м2;
Н - высота помещения, м.
В административных помещениях для обеспечения санитарно-гигиенических
норм на каждого рабочего расход воздуха составляет L1 = 25 м3/ч.
Поэтому необходимый воздухообмен для административных помещений рассчитывается
по формуле:
где n - число людей находящихся в помещении.
5. Определяется естественное расчетное давление в воздуховоде общеобменой
вентиляции:
101325+0,2352=101325,2352,
Па;
где Pатм - атмосферное давление , Па;
1,6
9,8
(1,22-1,205)=0,2352 перепад давления в воздуховоде, Па;i -
вертикальное расстояние от центра оконного проёма до устья вытяжной шахты, м;
ρн -
плотность наружного воздуха, кг/м3;
6. Вычисляется эквивалентный диаметр для каждого участка воздуховода
прямоугольного сечения:
(2
0,8
0,7)/(0,8+0,7)=0,75, м
где a и b - соответственно длина и ширина, м.
7. Определяется площадь сечения трубы для каждого участка по заданному
эквивалентному диаметру:
, м2
8. Скорость течения воздуха в воздуховоде для участка будет равна:
, м/
9. Гидравлические потери характеризуется числом Рейнольдса:
где v - кинематический коэффициент вязкости, м/с2.
На заданную подачу вентиляторной установки принимается запас в пределах
10% на возможные дополнительные потери.
10. Определяется полная мощность вентилятора:
, Вт.
где L - производительность вентилятора;
Р - давление создаваемое вентилятором;
- КПД
вентилятора;
- КПД
привода.
Данный
расчет был произведен на 1 автомобиль, т.к. на посту мойки 3 места и при въезде
- выезде автомобилей открываются ворота, принимаем мощность вентилятора 250 Вт.
Подбирается
Марка вентилятора и электродвигателя.
5.5 Проектирование системы
водоснабжения и канализации
Проектирование систем водоснабжения и канализации выполняется на
основании СНиП 2.04.01-85 «Внутренний водопровод и канализация».
Внутренним водопроводом называется система трубопроводов и устройств,
обеспечивающая подачу воды к санитарно-техническим приборам, технологическому
оборудованию, обслуживающая одно здание или группу зданий и имеющая общее
водоизмерительное устройство от сети водопровода населенного пункта или
промышленного предприятия.
Внутренние сети водопровода проектируются в соответствие с ГОСТ 3262-75.
Ввод водопровода заканчивается водомерным узлом, который служит для учёта
количества воды, расходуемой в здании.
Водомер подбирается по максимальному суточному расходу воды:
, м³/сут,
где
- норма максимального водопотребления на 1 чел;
-
расчётное число людей в здании;
-
коэффициент, суточной неравномерности;
- норма
максимального водопотребления на 1 автомобиль.
м³/сут.
По таблице СНиП П-Г-2.1-7 принимаю счетчик для воды антимагнитный «Бетар»
СВГ 15 (Россия).
Внутренняя канализация - система трубопроводов и устройств,
обеспечивающая отведение сточных вод от санитарно-технических приборов, а также
дождевых и талых вод в сеть канализации соответствующего назначения населенного
пункта или промышленного предприятия.
Элементами внутренней канализации являются:
приёмники сточных вод,
отводные линии от приёмников сточных вод к стоякам,
стояки с ревизиями и вытяжной частью,
выпуск в дворовую канализацию с прочистками.
Чтобы загрязнённый воздух из канализационной сети не попадал в помещение,
все приёмники сточных вод снабжаются гидравлическими затворами - сифонами.
6. Технологическая
часть
6.1 Характеристика
методов восстановления крестовин и выбор наиболее перспективного метода
К традиционным методам увеличения ресурса деталей относятся: создание
новых материалов с повышенными свойствами; улучшение конструкции деталей,
качества и технологии их обработки; повышение интенсивности охлаждения [5, 22].
Быстроизнашивающиеся детали, изготовленные целиком из легированных сталей
с применением объемной либо поверхностной термообработки, обладают высокой
износостойкостью, но способ их получения экономически нецелесообразен. Поэтому
детали изготавливают из дешевых углеродистых сталей или чугунов с упрочнением
лишь их рабочих поверхностей нанесенным слоем покрытия с необходимыми рабочими
характеристиками.
Методы химико-термической поверхностной обработки стальных деталей
(цементация, азотирование, борирование и другие) применяют лишь для новых
деталей. Это позволяет добиться небольшой толщины упрочненного слоя.
Широко распространена в ремонтном производстве, а также при создании
новых деталей в машиностроении износостойкая наплавка.
В практике ремонта и упрочнения различных деталей находят применение
новые эффективные методы плазменной наплавки и напыления, диффузионной сварки,
лазерного и электромеханического упрочнения и электроконтактной приварки.
Последняя при использовании порошковых материалов позволяет создать в материале
наносимого слоя гетерогенную структуру.
Материалы с гетерогенной, а еще лучше с неравновесной структурой обладают
очень высокой изоносостойкостью в условиях абразивного и других видов
изнашивания. Это обусловлено тем, что частицы твердых включений прочно связаны
упругопластичной, достаточно износостойкой металлической основой. При высоких
контактных давлениях твердые включения ограничивают область микро- и макро-
схватывания поверхностей.
Композиционный материал трудно получить методами наплавки, так как в
результате высокотемпературного нагрева происходит потеря первоначальных
свойств твердого компонента порошковой шихты. Даже при индукционной наплавке,
позволяющей регулировать температуру и размеры зоны разогрева, расплавляется
20...70% и более частиц феррохрома, вводимых в наплавочную порошковую смесь.
Для того чтобы избежать расплавления частиц порошковых материалов
применяют нанесение покрытий с помощью электроконтактных машин, которые
позволяют легко изменять термомеханические условия приварки (наварки)
порошковых слоев на различные детали.
Малая длительность процесса электроконтактного спекания и приварки
позволяет его проводить на воздухе без дополнительной защиты даже для активных
металлов.
Для наварки используют как однокомпонентные порошки металлов и
легированных сплавов, так и различные порошковые смеси. Последние могут
содержать в качестве твердого упрочняющего компонента одно или несколько
соединений типа карбидов, боридов, сицилидов, нитридов и оксидов. В этом случае
возможно частично или полностью сохранять свойства таких соединений и получать
материалы как с равновесной, так и неравновесной структурой.
В качестве материалов применяют дешевые и недефицитные порошки железа,
меди, ферросплавы, порошки из сплавов для наплавки по ГОСТ 21448-75, порошки
электрокорунда, карборунда, смеси порошков, пасты, ленты и проволоку.
Метод электроконтактной приварки (наварки) при восстановлении и
упрочнении различных деталей машин и сельскохозяйственной техники можно
применять для размерного восстановления изношенных и изготовления
биметаллических деталей с поверхностным слоем, имеющим повышенные свойства
твердости, износостойкости, коррозионной стойкости и так далее, а также для
повышения срока службы деталей, что будет снижать расходование запасных частей,
материалов, затраты труда.
Производственный опыт подтверждает приемлемость этого способа для
восстановления широкой номенклатуры деталей с наибольшими и средними износами,
с малой поверхностью восстановления.
Экономические расчеты, проведенные для способа электроконтактной наварки
материалов с целью восстановления и упрочнения различных деталей, показывают их
высокую эффективность.
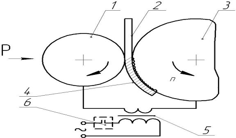
6.2 Общая
характеристика способа электроконтактной приварки, достоинства и недостатки
Электроконтактная приварка (наплавка) обладает высокой
производительностью (до 100 см2/мин), минимальными потерями
присадочного материала (до 5%) и припуском на последующую механическую
обработку за счет возможности регулирования толщины наваренного слоя (0,2...1,5
мм) припуск на механическую обработку 0,2…0,5 мм. Минимальное термическое
влияние на деталь (до 0,3 мм) позволяет восстанавливать как наружные, так и
внутренние поверхности деталей из различных марок сталей, чугунов, цветных
металлов и сплавов.
Сущность процесса заключается в совместном деформировании навариваемого
металла и поверхности основы, нагреваемых электрическим током до пластического
состояния.
Навариваемая лента 2 (рис. 6.1) прижимается к детали 3 роликом 1. Между
деталью и роликом пропускается электрический ток большой плотности от
понижающего трансформатора 5. Амплитуда и продолжительность импульсов тока
измеряются регулятором 6.
Рисунок 6.1 - Схема электроконтактной приварки: 1 - ролик;
2 - навариваемая лента; 3 - деталь; 4 - наваренный слой; 5 - трансформатор; 6 -
регулятор цикла сварки
В качестве навариваемого материала применяют ленты, проволоки, а также
порошки различного состава (процесс напекания). Чтобы интенсифицировать
процесс, на деталь следует подавать охлаждающую жидкость.
От материала ленты зависит твердость наваренного слоя.
Высокая износостойкость может быть получена за счет порошков сложного
состава.
После напекания слой состоит из вязкой железохромоникелевой матрицы,
армированной высокотвердыми частицами карбидов, боридов, нитридов хрома,
титана, вольфрама и других металлов.
Оборудование для электроконтактной наплавки состоит из вращателя и
сварочной головки, которая определяется видом проводимого процесса. Питание
процесса от трансформатора при токе I = 10...20 кА.
Режимы приварки (напекания) зависят от удельного сопротивления, удельной
массы, температуры плавления и теплопроводности присадочного материала (табл.
6.1).
Таблица 6.1 - Режимы приварки ленты и напекания порошка на детали типа
«вал»
|
Показатель
|
Материал
|
|
лента из стали 40
|
порошок УС25+феррохром
|
|
Сила сварочного тока, кА
|
16,1 … 18,1
|
14,0 … 15,0
|
|
Длительность, с:
|
|
|
|
импульсов
|
0,04 … 0,08
|
0,08
|
|
пауз
|
0,1 … 0,12
|
0,12
|
|
Усилие сжатия электродов, кН
|
1,3 … 1,6
|
5,0 … 6,0
|
|
Скорость приварки, м/ч
|
42 … 72
|
30
|
|
Подача электродов, мм/об
|
3 … 4
|
_
|
|
Ширина рабочей части электродов, мм
|
4
|
15
|
|
Расход охлаждающей жидкости, л/ч
|
90 … 180
|
200
|
|
Твердость слоя, НRC
|
40 … 45
|
58 … 62
|
Количество теплоты (Q, Дж), необходимой для сплавления ленты или
припекания порошка к детали, определяют в соответствии с законом
Джоуля-Ленца:
,
где Q - количество теплоты;
I -
сила тока, А; - сопротивление цепи, Ом;
t -
продолжительность цикла, с.
Основные параметры процесса - частота вращения детали, подача
присадочного материала, шаг приварки и частота импульсов должны обеспечивать
перекрытие сварочных точек на 25...35%.
Подготовка деталей к электроконтактной приварке заключается в шлифовке
поверхности деталей до устранения изношенного и наклепанного слоя и
обезжиривания.
После нее проводят размерную обработку деталей, как правило, шлифовкой.
Припуск на механическую обработку 0,2…0,5 мм.
Зачастую детали, требующие восстановления имеют твердость 32…38 единиц
HRC и значительные линейные и угловые деформации.
Учитывая данное техническое состояние необходимо предусматривать
применение рациональных и ресурсосберегающих технологических процессов
восстановления. В этой связи способы электроконтактной приварки (наварки,
напекания) являются наиболее востребованными.
Основное достоинство электроконтактной наварка, имеет ряд преимуществ по
сравнению с другими способами:
) благодаря малому нагреву детали уменьшаются внутренние напряжения и
деформации детали;
) наносится покрытия заданной толщины;
) потери металла и выгорание легирующих элементов при нанесении покрытий
почти отсутствуют, что позволяет характеризовать эту технологию как
малоотходную;
) применяются многие виды присадочных материалов: стальная лента,
проволока различного состава, порошки металлов и сплавов и т. д., а также такие
доступные и дешевые порошки, как сормайт и другие, цена которых в 10…30 раз
ниже, чем самофлюсующих при равной износостойкости и хорошей обрабатываемости
шлифованием (отсутствует «засаливание» кругов);
) в отличие от дуговых, плазменных, гальванических способов процесс
экологически чистый;
) в процессе наварки происходит закалка поверхностных слоев;
) высокая прочность сцепления покрытий (100...250 МПа);
) широкое внедрение процесса показало, что его могут выполнять рабочие
после 2…3-дневного обучения;
) контактная наварка позволяет в 5…10 раз увеличить износостойкость
деталей путем нанесения композиционных покрытий, содержащих различные твердые
сплавы.
Недостатки процесса контактной наварки:
) малая автоматизация процесса;
) трудность обработки покрытий резанием и нанесения покрытий на детали
сложной формы;
) неправильный выбор режимов наварки приводит к несплавлению в отдельных
местах ленты и проволоки с основным металлом;
) при наварке порошковых материалов получаемый металлический слой имеет
участки расплавленного и спеченного порошка, различную твердость, что
затрудняет механическую обработку.
6.3 Восстановление
карданных подшипниковых узлов при помощи электроконтактной приварки стальной
ленты
Частота вращения детали, продольная подача сварочных клещей и частота
следования импульсов является важными параметрами процесса, определяющими его
производительность. Соотношение этих величин должно быть 6..7 сварочных точек
на 1 см длины сварочного шва.
Рекомендуется следующий режим приварки ленты толщиной до1 мм: сила
сварочного тока - 12 кА; длительность сварочного цикла -0,6 с; длительность
паузы - 0,1 с; подача сварочных клещей - 3 мм/об.; усилие сжатия электродов -
1,5 кН; ширина рабочей части сварочных роликов - 4 мм; скорость наплавки - 1,2
м/мин.
Частоту
вращения детали
(мин-1) определяем по формуле:
, мин-1.
Скорость
подачи ленты определяем
(м/ч) по формуле:
,
где
- плотность электродной ленты для наплавки, г/см3;
-
коэффициент наплавки, г/Ач.
.
Шаг наплавки S (мм/об) рассчитываем по формуле:
,
мм/об.
Вылет
электрода
(мм) определяем по формуле:
,
мм.
Смещение электрода от зенита е (мм) определяем по формуле:
,
мм.
Толщину слоя h (мм), наносимого на наружную цилиндрическую
поверхность, определяем по формуле:
мм.
где И - износ детали, мм;1 - припуск на обработку перед
покрытием на сторону, мм.2 - припуск на механическую обработку после
наплавки на сторону, мм.
7. Специальная часть
Цель этого раздела проекта - разработка вопросов по организации работы
объекта проектирования. В данной части курсового проекта стоит решить
нижеперечисленные задачи:
· выбор способа организации для производства в ТО и ТР в СТО;
· постановка организации технологического процесса производства
на объекте;
· схема технологического процесса производства на объекте
проектирования;
· обозначение режима работы для производственных подразделений
СТО;
· расчет необходимого количества постов для зон ТО и ТР и
постов диагностики (ежели это предусмотрено заданием);
· расчет необходимого количества линий для ТО (если это
предусмотрено заданием);
· распределение по специальностям и квалификации исполнителей
работ;
· подбор оборудования, технологической или организационной
оснастки;
· расчеты производственной площади объекта.
7.1 Выбор метода организации
производства ТО и ТР в СТО
Данный параграф предусматривает следующие действия:
· обоснование выбранного метода производственной организации ТО и ТР в СТО;
· описание его организационных принципов;
· приведение схем управления производством ТО,ТР и объекта
проектирования.
Помимо прочих методов организации производства ремонта и ТО автомобилей
в настоящее время самым прогрессивным есть метод, который основан на
формировании ремонтных подразделений на основе технологического принципа (метод
технологических комплексов) с применением централизованного управления
производством (ЦУП).
Главные организационные принципы данного метода основаны на следующем:
1. управление процессом ТО и ремонта подвижного состава в СТО происходит
отделом либо центром управления данным производством.
2. организация ТО и ремонта в СТО базируется на технологическом
принципе формирования производственных комплексов. При этом каждый тип
технического воздействия (ЕО, ТО-1, ТО-2, Д-1, Д_2, ТР) выполняют
специализированные подразделения.
. остальные подразделения (бригады, исполнители, участки), которые
выполняют однородные виды технических действий, для удобства управления следует
объединить в производственные комплексы:
--- комплекс технического обслуживания и диагностики (ТОД);
-- …текущего ремонта (ТР);
-- …ремонтных участков (РУ).
. подготовка производства (комплектование оборотного фонда, доставка
агрегатов, узлов и деталей на рабочие места и с рабочих мест, обеспечение
рабочим инструментом, перегон автомобилей в зонах ожидания ТО и ремонта и т.д.)
осуществляется централизованно комплексом подготовки производства (КПП).
5. информационный обмен между центральным отделом и всеми подразделениями
базируется на двусторонней диспетчерской связи и средствах
автоматики(телемеханики).
7.2 Выбор метода организации
технологического процесса производства ТО и ТР в СТО
Увеличение масштабов и появление новых типов СТО привели к необходимости
разрабатывать и внедрять новые формы организации и управления производством
работ по ТО и ремонту подвижного состава на СТО.
Техническая служба СТО представлен из производственных подразделений,
выполняющих:
- постовые работы ТО и ТР непосредственно на автомобиле:
- работы по восстановлению агрегатов, узлов и деталей, не
связанные с выполнением их на автомобиле;
работы по подготовке производства;
работы, связанные с содержанием производственно-технической базы
предприятия.
Организационная структура технической службы СТО определяет кол-во,
назначение и взаимосвязи производственных подразделений. Она есть основной для
разработки методов управления производством.
На организационную структуру технической службы СТО влияют как условия
внешней кооперации, определяющие перечень выполняемых производственных основных
и вспомогательных функций, так и ряд внутренних факторов, отражающих условия
выполнения этих функций и включающих структуру подвижного состава с учётом
технологической совместимости при производстве работ по ТО и ремонту, а также
режим использования подвижного состава.
Внешнее кооперирование производства ТО и ремонта существенным образом
влияет на номенклатуру и объемы работ, выполняемых технической службой СТО.
Для СТО необходимо определить рациональные формы централизации работ.
Предметом централизации в первую очередь являются сложные виды работ, требующие
единого процесса производства, имеющие тесные материальные и технологические
связи.
С учётом принятой специализации и кооперации производства работ по ТО и
ремонту составляют схему организации технологического процесса производства,
которая определяет последовательность выполнения работ по ТО и ремонту
подвижного состава, отражает порядок производства обслуживания и ремонта
прицепного состава при его наличии на СТО.
При выборе эффективного метода организации технологического процесса
производства, определяющим критерием есть суточная (сменная) программа по ЕО,
ТО-1 и ТО-2. Зависимо от ее величины возможно принятие метода универсальных
постов или специализированных (проездного / тупикового типа).
Согласно рекомендации НИИАТ, целесообразно организовать техническое
обслуживание на специализированных постах и поточным методом (также с
внедрением в процесс конвейеров для передвижения машин с поста на другой пост:
для ЕО - непрерывного действия, для ТО - периодического), в случае если сменная
программа составляет не меньше:
-- для ЕО - 50 и более обслуживаний;
-- для ТО-1 - 12-15 и более обслуживаний;
-- для ТО-2 - 5-7 и более обслуживаний.
При остальных случаях должен быть следует применять метод тупиковых
специализированных постов или универсальных постов.
В выборе метода следует руководствоваться тем, что самым прогрессивным
методом есть поточный, т.к. обеспечивает повышение производительности труда как
следствие специализации рабочих мест и исполнителей на них, создает возможность
для широкой механизации работ, способствует трудовой и технологической
дисциплине, обеспечивает ритмичность производства, повышает качество
обслуживания и снижает себестоимость, улучшает условия труда и способствует
сокращению производственных площадей.
Все большее распространение на СТО завоевывает метод специализированных
постов, ведь позволяет по максимуму механизировать трудоемкие процессы, снизить
необходимость в однотипном оборудовании, улучшить трудовые условия исполнителей
работ и использовать менее квалифицированных, улучшить качество ремонта ,
производительность труда.
Технологический процесс для диагностики организуется исключительно
методом универсальных или тупиковых постов.
7.3 Технологический процесс объекта
проектирования
Данный параграф раскрывает краткое содержание технологического процесса
производства на объекте (здесь следует подать дать его описание). Для
отображения содержания технологического процесса производства на данном
объекте, стоит указать виды работ и их последовательность. Порядок видов работ
/операций технологического процесса производства по завершении их описания,
необходимо представить как схему.
Для данного СТО назначается схема комплексного типа с организацией
производства по методу специализированных бригад и с централизованным
управлением производства работ по ТО ремонту.
8. Организационно-экономический
раздел
Главными из задач, стоящими перед проектированием являются: снижение
себестоимости перевозок, экономия топливо-энергтических ресурсов, сокращение
трудовых затрат и сокращение производственных площадей , повышение качества
выполняемых работ и др.,.
Необходимо принять во внимание перспективы дальнейшего развития и
расширение АТП, т.е. в результате проектирования или выбора типовых проектов
может оказаться несколько вариантов проекта. Для сравнения этих вариантов, а
также анализа результатов расчета принимается методика сопоставления удельных
показателей конкретного проекта с эталонным.
В качестве таких показателей используют:
число производственных рабочих на 1млн.км пробега парка;
число постов на 1млн.км пробега парка;
площадь производственно-складских помещений на 1 автомобиль;
площадь вспомогательных помещений на 1 автомобиль;
площадь территории на 1 автомобиль.
Значения нормативные эталонные перечисленных показателей берутся из [2,
табл.5.1]. Эти показатели сводим в таблицу 8.1.
Числовые значения удельных показателей для эталонных условий
корректируются следующими коэффициентами, учитывающими:
К1-списочное число автомобилей;
К2-тип подвижного состава;
К3-наличие прицепов;
К4-среднесуточный пробег;
К5-способ хранения;
К6-категорию условий эксплуатации;
К7-климатический район;
Таблица 8.1 Числовые значения удельных показателей для эталонных условий.
|
Наименование показателя
|
Показатели
|
|
Численность производственных рабочих, чел. на 1 млн км
пробега, 5.5
|
|
|
Количество рабочих постов на 1 млн км пробега, 1.15
|
|
|
Площадь производственно-складских помещений, м2
на единицу ПС, 27
|
|
|
Площадь вспомогательных (административно-бытовых)
помещений, м2 на единицу ПС, 9.5
|
|
|
Площадь территории предприятия, м2 на единицу
ПС, 160
|
|
|
Площадь стоянки на одно автомобиле -место хранения 53
|
|
Коэффициенты приведены в таблицах. Сведем эти коэффициенты в одну
таблицу.
Таблица 8.2- Значения корректирующих коэффициентов
|
Коэффициенты
|
Значения коэффициентов для определения
|
|
Численность производственных рабочих
|
Число рабочих постов
|
Площади
|
|
|
|
Производственно-складские помещения
|
Вспомогательные помещения
|
Территория
|
|
К1
|
1,025
|
1,07
|
1,05
|
1,07
|
1,045
|
|
К2
|
1,0
|
1,0
|
1,0
|
1,0
|
1,0
|
|
К3
|
-
|
-
|
-
|
-
|
-
|
|
К4
|
1,0
|
1,0
|
1,0
|
1,0
|
1,0
|
|
К5
|
-
|
-
|
-
|
-
|
1,17
|
|
К6
|
1,18
|
1,15
|
1,15
|
1,08
|
1,07
|
|
К7
|
1
|
1
|
1
|
1
|
1
|
|
|
|
|
|
|
|
|
;(5.1)
;(5.2)
;(5.3)
;(5.4)
. (5.5)
Подставляя значения коэффициентов в вышеперечисленные формулы, получаем:
;
;
;
;
.
Значения удельных технико-экономических показателей, приведенных к
условиям работы проектируемого предприятия, определяются из выражений:
рП = РП·LГ/Аи (5.6)
хП = ХП·LГ/Аи (5.7)
FпрП = fпрП /Аи (5.8)всП
= fвсП/Аи (5.9)
FтП = fтП/Аи (5.10)
Определяем удельные значения технико-экономических показателей:
рП = 114∙23,2/250 = 9,03 чел
хП = 16∙23,2/250 =1,48 постов
fпрП = 5130/250 =23,4 м2всП
= 1460/250 = 7,26 м2тП = 50000/250 = 200м2
Полученные
значения при проектировании численности производственных рабочих РП
=114 , числа рабочих постов ХП = 16, площади производственных
помещений
5130 м2, площади вспомогательных помещений
1460 м2, площади территории
50000м2.
Сравнивая
полученные при проектировании значения с эталонными можно сделать вывод, что
удельные показатели площади вспомогательных помещений выше и площади
производственных помещений ниже соответствующих эталонных, а численность
производственных рабочих выше эталонного показателя. Численность рабочих постов
и площадь территории незначительно отличаются от соответствующих эталонных.
Показатели не соответствуют эталонным вследствие того, что данная методика
расчета не учитывает пробег автомобиля с начала эксплуатации.
Таблица 8.3- Результаты технико-экономической оценки проекта
|
удельный показатель
|
эталонный
|
приведенный к АТП
|
% отклонения
|
|
р
|
6,65
|
9,03
|
28
|
|
х
|
1,41
|
1,48
|
3,2
|
|
fпр
|
32,6
|
23,4
|
24
|
|
fвс
|
10,97
|
7,26
|
33
|
|
fт
|
209,31
|
200
|
3,8
|
9. Безопасность
жизнедеятельности
В технологической части дипломного проекта указано, что с целью
наилучшего использования высокопроизводительного моечного оборудования мойка
проектируется как автономный вид обслуживания. Поэтому в качестве объекта
анализа принимается участок мойки автомобилей проектируемой СТОА.
Содержание автомобилей в чистом и опрятном состоянии - одно из
обязательных условий соблюдения санитарных правил при пассажирских перевозках и
транспортировании различных грузов, особенно продуктов питания. Кроме того,
своевременная мойка автомобилей способствует сохранению лакокрасочных покрытий,
а также позволяет обнаружить при осмотрах появившиеся неисправности
В большинстве случаев небрежность и халатность становятся причинами
повреждения собственности и несчастных случаев. Однако есть ряд правил,
соблюдение которых поможет избежать многих проблем, а во многом и свести к нулю
все инциденты. Стандартные инструкции помогут грамотно и без каких-либо
последствий справиться с любыми возникшими ситуациями.
При анализе потенциальной опасности объекта для персонала и окружающей
среды рассматриваются следующие вопросы:
) опасные и вредные производственные факторы;
) воздействие объекта на окружающую среду;
) возможность возникновения чрезвычайных ситуаций.
ГОСТ 12.0.002-80 подразделяет опасные и вредные производственные факторы
по природе действия на физические, химические, биологические и
психофизиологические.
Для участка мойки наиболее характерны физические факторы (шероховатости
на поверхностях инструментов и оборудования, повышенный уровень шума, вибрации)
и химические (химические вещества, которые по характеру воздействия на организм
человека подразделяются на: токсические, раздражающие, сенсибилизирующие,
канцерогенные, мутагенные, влияющие на репродуктивную функцию; по путям
проникновения в организм человека они делятся на: проникающие через органы
дыхания, желудочно-кишечный тракт, кожные покровы и слизистые оболочки) [13, 26].
Законодательную и правовую основу охраны труда станции технического
обслуживания составляют следующие законы и постановления:
. Конституция РФ.
. Кодекс законов о труде, устанавливающий основные правовые гарантии в
области охраны труда.
. Федеральный закон «О промышленной безопасности производственных
объектов» от 20.06.1997.
. Закон «Об охране окружающей природной среды» от 3.02.1992
Предприятие спроектировано согласно СанПиН 245-71 «Санитарные нормы
проектирования промышленных предприятий» и с учетом всех требований по
компоновке оборудования согласно требования по ГОСТ 12.2.00-84 «Оборудование и
производство» и ГОСТ 12.3.017-89 «Ремонт и техническое обслуживание
автомобилей» [14, 34].
Работа
с электрооборудованием <#"802792.files/image194.gif">, Дц.
Дц.
Величина коэффициента К, определяющего эффективность экрана [3]:
.
Эффективность
экрана
Дц [3].
Уровень
звукового давления на рабочем месте слесаря после установки экрана:
.
Дц.
Мероприятия и средства по защите окружающей среды
Рациональная организация мойки автомобилей предусматривает максимальную
механизацию процесса при экономном расходе воды за счет повторного ее
использования. Все это непосредственно связано с решением важных экологических
задач - бережным отношением к природным ресурсам, охране окружающей среды
В данном случае необходимо быстрее решать задачи прекращения сброса
сточных вод без очистки или при их недостаточной очистке после мойки
автотранспортных средств, ибо это представляет серьезную угрозу чистоте
водоемов, а также подземных вод, почве и растительности.
Все водопользователи обязаны принимать меры к сокращению расхода воды и
прекращению сброса неочищенных сточных вод на основе применения оборотного
водоснабжения и других технических приемов Задача заключается в том, что
следует быстрее решать проблемы рационального использования водных ресурсов,
совершенствования техники очистки сточных вод, создания наиболее совершенных
систем оборотного водоснабжения. В связи с этим всем автотранспортным
предприятиям уже в самое ближайшее время и в короткие сроки предстоит
осуществить реконструкцию постов мойки автомобилей с обязательным возведением
очистных сооружений и системы оборотного (повторного) использования воды, с
учетом применения синтетических моющих средств. Это позволит в 2…3 раза
сократить расход воды, а в пересчете на чистую воду, забираемую из источников
водоснабжения общего пользования, расход воды для мойки автомобилей уменьшится
в 4…5 раз.
Очистка производственных сточных вод
Самой главной задачей по защите окружающей среды при мойке автомобилей
является обеспечение экологической безопасности сточных вод. Основные
загрязнители сточных вод - это механические примеси и нефтепродукты. Для этого
необходимо регулировать сброс загрязняющих веществ, применяя современные методы
очистки воды.
Водоочистительный комплекс «Укос-Авто», предназначен для очистки сточных
вод, образующихся при мойке автотранспорта. Очистка сточных вод обеспечивается
применением комбинированной технологии, включающей механическую,
электрохимическую и физико-химическую очистку. Качество очищенной воды
позволяет использовать ее в системе оборотного водоснабжения мойки или
сбрасывать в канализацию. После дополнительной глубокой доочистки вода может
отводится в водоем.
Необходимая степень очистки сточных вод
Состав сточных вод и их свойства зависят от времени года, состояния
дорог, технического состояния автомобиля, а также качества и продолжительности
мойки. Состав стоков может значительно колебаться по взвешенным веществам,
эфирорастворимым, цветности и жесткости.
Учитывая данное положение, система очистки должна обладать большими
резервами для достижения необходимого качества при экстремальных значениях
загрязнения стоков. Нормативные требования к качеству воды, используемой для
мытья легковых автомобилей в системе автотранспортных предприятий по
«Укрупненным нормам водопотребления и водоотведения для различных отраслей промышленности»
указаны в табл. 9.4.
Таблица 9.4 - Нормативные требования к качеству воды
|
Показатели
|
Ед. изм.
|
Вода для мойки
|
|
1
|
2
|
3
|
|
Температура
|
°C
|
не нормируется
|
|
Взвешенные вещества
|
мг/л
|
40
|
|
Эфирорастворимые
|
мг/л
|
15
|
|
Запах
|
балл
|
до 3
|
|
pH
|
-
|
7,2…8,5
|
|
Жесткость карбонатная
|
мгэкв/л
|
-
|
|
Щелочность общая
|
мгэкв/л
|
до 10
|
|
Сухой остаток
|
мг/л
|
до 2000
|
|
Хлориды
|
мг/л
|
до 350
|
|
Сульфаты
|
мг/л
|
до 500
|
|
Fe общ.
|
мг/л
|
до 4
|
|
Окисляемость перманганатная
|
мг О/л
|
до 15
|
|
БПК полн.
|
мг О2/л
|
до 20
|
|
Биогенные элементы
|
мг/л
|
не нормируется
|
|
Мешающие, токсичные, возгораемые вещества, выделяющиеся при
нагревании с образованием огня и взрывоопасных смесей
|
|
не допускаются
|
Необходимая степень очистки: взвешенные вещества не более 40 мг/л;
нефтепродукты не более 15 мг/л. Вода не должна иметь на поверхности пленку
нефтепродуктов и масел, оставлять солевых пятен на поверхности автомобиля и
содержать абразивных веществ, вызывающих повреждение лакокрасочного покрытия
автомобиля и стекол.
Очистные сооружения с безнапорными гидроциклонами
На СТО в последнее время начинают успешно действовать очистные сооружения
с безнапорными гидроциклонами по методу механической очистки загрязненной воды
после мойки автомобилей.
В результате поиска рационального технического решения технологии очистки
сточных вод в комплексе с системой оборотного водоснабжения разработан проект
очистных сооружений и системы оборотного водоснабжения на основе применения
безнапорного гидроциклона (рис. 5.1).
Рисунок 9.1 - Схема работы очистных сооружений с безнапорными
гидроциклонами для систем оборотного водоснабжения мойки автомобилей со
следующими трубопроводами: 1 - песколовка; 2 - приёмный резервуар сточных вод;
3 - насос подачи воды в безнапорный гидроциклон; 4 - безнапорный гидроциклон; 5
- вентиль; 6 - напорный фильтр; 7 - трубопровод; 8 - насос подачи воды на
мойку; 9, 16 - фильтры на всасывающем трубопроводе; 10 - приёмный резервуар
чистой воды; 11 - насос подачи воды в напорный фильтр; 12 - резервуар; 13 -
резервуар для сброса нефтепродуктов; 14 - плавающая воронка для сбора
нефтепродуктов; 15 - накопитель осадка
Гидроциклон представляет собой цилиндрический резервуар с конусным
днищем, он обеспечивает отделение в загрязненной водной среде взвешенных
частиц, отбрасываемых к стенкам центробежными силами, а затем падающих в
конусную часть безнапорного гидроциклона.
Данное проектное решение обеспечивают требуемую степень очистки как по
взвешенным веществам, так и по нефтепродуктам для повторного использования
сточных вод в системе оборотного водоснабжения.
Технологический процесс очистки сточных вод
Сточные воды с установки для мойки автомобилей поступают самотеком в
песколовку очистных сооружений с безнапорными гидроциклонами, где происходит
осаждение наиболее крупных взвешенных веществ, которые накапливаются в
устанавливаемых в песколовке контейнерах для осадка (шлама). Далее сточные воды
поступают в приемный резервуар, откуда забираются насосами и подаются на
безнапорный гидроциклон. После безнапорного гидроциклона сточные воды насосами
подаются для доочистки на напорные песчаные фильтры с фильтрацией снизу вверх.
Профильтрованные в такой последовательности на требуемом уровне очистки сточные
воды собираются в резервуар очищенной воды, откуда насосами подаются на мойку
автомобилей. При этом следует иметь в виду, что легковые автомобили после
обмыва оборотной водой должны домываться водой из сети хозяйственно-питьевого
водопровода
Пополнение системы оборотного водоснабжения должно производиться для
восполнения потерь воды, уносимой с обмываемыми автомобилями в количестве до
10%, и может осуществляться от сети хозяйственно питьевого или технического
водопровода. Вода на пополнение должна поступать непосредственно в резервуар
очищенной воды через электромагнитный вентиль, открываемый и закрываемый в зависимости
от заданных уровней в этом резервуаре. Кроме того, при домывке легковых
автомобилей вода, забираемая для этих целей из сети хозяйственно-питьевого
водопровода, должна также использоваться для пополнения оборотной системы.
Осадок (шлам) из безнапорных гидроциклонов под гидростатическим давлением
выпускается в передвижной контейнер. Всплывающие нефтепродукты в безнапорных
гидроциклонах отводятся через плавающую воронку в бак для сбора нефтепродуктов.
В целях обеспечения нормального обслуживания безнапорных гидроциклонов
необходимо предусмотреть площадку на отметке 4,3...4,5 м, а для сбора случайных
вод в полу должны быть сделаны приемные трапы с подключением к приемному
резервуару.
Расчёт очистных сооружений
В основу расчета очистных сооружений и системы оборотного водоснабжения с
безнапорными гидроциклонами прежде всего принимается расход воды на мойку
автомобилей, исходя из норм расхода на мойку одного автомобиля и количества
автомобилей, подлежащих мойке в течение суток.
Часовой максимальный расход сточных вод от мойки автомобилей Q
может быть определен по формуле:
, м3/час,
где qуд - средний расход воды по норме на мойку одного
автомобиля, м3,
N - максимально возможное число автомобилей, проходящих мойку в течение 1 ч.
Расчет песколовки с контейнерами для сбора осадка (шлама) предусматривает
скорость (Vп) протекания сточных вод 0,15 м/с.
Площадь живого сечения потока
, м2,
где qc - секундный расход сточных вод, м3/с;
Vп -
скорость протекания воды, м/с (0,15 м/с).
Ширина песколовки В обычно принимается равной 1,0 м, при этом
длина ее L составит:
, м,
где К - коэффициент, принимается равным 1,3,
Нр - расчетная глубина проточного слоя песколовки (м),
находится по формуле Нр = Fжс / В;
Uо
- гидравлическая крупность взвешенных частиц, в основном песка, мм/с
(принимается Uо = 18 мм/с).
Гидравлическая крупность взвешенных частиц характеризует их размер,
форму, плотность, от которых зависит скорость падения (оседания) частиц в
водной среде, поэтому и изменяется в миллиметрах в секунду.
Общая глубина песколовки
, м,
где Нпер - глубина от пола до уровня воды в песколовке,
переменная величина, зависящая от удаленности песколовки от моечной канавы и
отметки лотка подводящего трубопровода, м;
Нр - расчетная глубина проточного слоя песколовки, м;
Нос - глубина осадочной части песколовки, принимается равной 1,0
м.
В зоне осадочной части устанавливаются контейнеры для осадка шлама с
таким расчетом, чтобы над верхней кромкой контейнера был обеспечен слой воды,
равный расчетной глубине проточного слоя.
Принимая во внимание особенности конструктивного выполнения песколовки,
следует ее длину принимать кратной длине контейнера, помещенного в песколовке
для сборки осадка.
Объем приемного резервуара сточных вод рассчитывается исходя из
15-минутного (0,25 ч) пребывания в нем сточных вод:
, м3,
где Qч - часовой расход сточных вод, м3/ч,
t
- время нахождения сточных вод в приемном резервуаре, ч (0,25 ч).
Исходя из данного расчета, объем приемного резервуара сточных вод,
обеспечивающего бесперебойную работу насосов и откачивающего сточные воды на
безнапорный гидроциклон, должен составлять не менее объема 10-минутного отбора
воды насосами. По форме конструкции объем приемного резервуара определяется в
зависимости от имеющихся площадей для строительства очистных сооружений, а
также от уровня грунтовых вод.
Насосная станция первого подъема, предназначенная для подачи сточных вод
из приемного резервуара на безнапорный гидроциклон, укомплектовывается
насосами, производительность которых должна определяться по часовому притоку
сточных вод.
Для перекачки сточных вод от мойки легковых автомобилей следует применять
насосы марок «К», «Гном», «НЦС». На всасывающих линиях насосов должны
предусматриваться приемные обратные клапаны.
Гидравлическая нагрузка определяется по формуле:
, м3/м2час,
где 3,6 - переводной коэффициент согласно СНиПу;
К
- коэффициент для гидроциклона с диафрагмой и цилиндрической перегородкой,
равный 1,98;
Uo
- гидравлическая крупность взвешенных частиц, мм/с.
По опытным данным принимается Uo = 1 мм/с. При этих данных в
безнапорных гидроциклонах будут задерживаться взвешенные частицы крупностью
0,035 мм.
В этом случае гидравлическая нагрузка будет составлять:
Мгц=3,6·1,98·1=7,1, м3/м2час.
При этом площадь водного зеркала безнапорного гидроциклона определяется
по формуле:
, м2,
где Qч - часовой расход сточных вод, подаваемых
насосами на безнапорный гидроциклон, м3/ч.
Если принять диаметр безнапорного гидроциклона 2,2 м, то:
, м2.
м2.
Часовой расход сточных вод, подаваемых насосами на безнапорный
гидроциклон при принятом диаметре определяется по формуле:
, м3/час.
, м3/час.
На основе полученных расчетным путем показателей объем приемного
резервуара сточных вод равен:
, м3.
Производительность одного аппарата определяют по формуле:
.
, м3/час.
Зная часовой расход сточных вод, подаваемых насосами на безнапорный
гидроциклон, и его производительность, мы можем определить количество
необходимых безнапорных гидроциклонов (n) для каждого предприятия:
.
где
- часовой расход сточных вод, подаваемых насосами на
безнапорный гидроциклон;
-
производительность одного аппарата.
, шт.
Для более надежной работы очистных сооружений рекомендуется
предусмотреть, кроме расчетного количества, еще резервный безнапорный
гидроциклон.
Насосная станция второго подъема, предназначенная для подачи осветленной
воды из безнапорных гидроциклонов на напорные фильтры для доочистки, должна
укомплектовываться насосами той же производительности, что и насосы первого
подъема. Напор должен определяться с учетом его потерь в фильтрах, которые
ориентировочно могут быть равны 10 м.
Фильтры напорные применяются типовые. Их назначение - доочистка сточных
вод от взвешенных веществ и нефтепродуктов после прохождения ими безнапорных
гидроциклонов Выбор фильтров производится в соответствии с СНиП П-32-74, пп.
7.162 и 7.163, а также СНиП П-31-74, пп 6.105...6.129. Скорость фильтрования
принимается 10 м/ч для двухслойных фильтров (СНиП П-32-74).
Площадь напорных фильтров (Fф) может быть определена по
формуле:
, м2,
где
- часовой расход сточных вод, подаваемых насосами на
безнапорный гидроциклон;
Vф - скорость фильтрования, м/ч.
По результатам расчета принимаются напорные фильтры с двухслойной
загрузкой: первый слой - кварцевый песок, высота слоя 600…700 мм, минимальный
размер зерен 0,5 мм, максимальный - 1,25 мм, эквивалентный диаметр зерен 0,8
мм, коэффициент неоднородности 2; второй слой - антрацит, высота слоя 400…500
мм, минимальный размер зерен 0,8 мм, максимальный - 1,8 мм, эквивалентный
диаметр зерен 1,1 мм, коэффициент неоднородности 2.
Фильтры напорные целесообразно применять промышленного производства, при
этом предоставляется широкий диапазон их выбора по производительности.
Резервуар очищенной воды, предназначенный для сбора сточных вод,
поступающих в него из напорных фильтров, также является водозаборной камерой
для насосов, подающих очищенную воду на установку для мойки автомобилей, тем
самым обеспечивая повторное использование воды по замкнутому циклу.
Объем резервуара очищенной воды может быть определен из расчета
обеспечения 30-минутного запаса воды для мойки автомобилей. В этом же
резервуаре хранится запас воды, необходимый на промывку напорных фильтров.
Резервуар очищенной воды должен изготавливаться из железобетона и, как
исключение, из металла, наземным. Ориентировочные размеры этого резервуара 3,0
на 4,5 на 3,0 м с учетом необходимости обеспечения 30-минутного запаса воды для
мойки автомобилей. К резервуару очищенной воды должен быть предусмотрен подвод воды
из сети хозяйственно-питьевою водопровода для пополнения системы оборотного
водоснабжения в количестве 10% от расхода воды на мойку автомобилей. На
подводящем трубопроводе необходимо устанавливать электромагнитный вентиль для
обеспечения бесперебойной автоматической подпитки в зависимости от
максимального (верхнего) и минимального (нижнего) уровней воды в резервуаре.
Насосная станция оборотного водоснабжения, предназначенная для подачи
очищенной воды на мойку автомобилей, может быть спроектирована в двух вариантах
в зависимости от оснащенности моечных установок:
Для перекачки очищенной воды могут быть использованы насосы, входящие в
состав механизированных моечных установок. Для подачи воды, необходимой для
споласкивания автомобилей, должны быть установлены самостоятельные насосы, если
в моечных установках для этих целей не предусмотрены насосы, а указывается
подвод воды от сети водопровода
Давление насосов должно быть предусмотрено. При мойке легковых
автомобилей (достаточное для качественной мойки) 0,3…0,4 МПа.
В любом из этих вариантов следует учесть необходимость устройства рамки
споласкивания легковых автомобилей от сети хозяйственно питьевого водопровода и
блокировку работы устанавливаемых насосов с работой меха визированных моечных
установок.
Бак для сбора нефтепродуктов обеспечивает накопление всплывающих в
безнапорных гидроциклонах нефтепродуктов, которые через плавающие воронки по
отводной трубе сливаются в бак. В поступающей в бак жидкости содержится
значительное количество воды. В баке происходит отделение воды от
нефтепродуктов - в основном минеральных масел. По водомерному стеклу
контролируется уровень масла и воды. Вода сливается в приемный резервуар, а
масло - в металлические бочки, удобные для транспортировки.
Бак для сбора нефтепродуктов металлический, сварной конструкции.
Контейнеры для осадка (шлама) комплектуются в паре - один контейнер для
осадка предназначен для приема и накопления крупных взвешенных веществ,
выпадающих в песколовке. Этот контейнер должен быть металлическим. При установке
данного контейнера в песколовку необходимо, чтобы над его верхней кромкой был
слой воды не менее расчетного проточного слоя в песколовке. Контейнер должен
быть снабжен специальными приспособлениями, обеспечивающими его быстрый и
надежный захват грузоподъемными устройствами для погрузки в кузов автомобиля.
Таких контейнеров может быть установлено несколько в зависимости от размеров
самого контейнера и песколовки. Другой контейнер - передвижной, предназначен
для приема осадка, вы пускаемого из безнапорных гидроциклонов под
гидростатическим напором. Контейнер выполняется из металла и должен быть
смонтирован на раме, опирающейся на самоуправляющиеся колеса, а также должен
иметь приспособления для захвата его грузоподъемным устройством с последующей
погрузкой в кузов автомобиля
Высота этого контейнера должна выполняться с учетом того, что он должен
подкатываться под безнапорный гидроциклон. Объем контейнера определяется с
учетом возможности поднятия его доступными грузоподъемными средствами, а также
с учетом транспортировки осадка автомобилями малой грузоподъемности. Число
контейнеров определяется по суточному объему удаляемого осадка и объему одного
контейнера. На предприятии должна быть предусмотрена площадка для складирования
порожних контейнеров.
Насосы промывки напорных фильтров предназначены для подачи воды под
давлением для промывки напорных фильтров в восходящем потоке воды с целью
восстановления их фильтрующей способности. Интенсивность промывки согласно
техническим условиям (СНиП П-231-74) должна быть для скорых напорных фильтров с
двухслойной загрузкой 14 л/(см2) продолжительностью 6 мин. Стоки
после промывки фильтров сбрасываются в приемный резервуар.
Процесс промывки напорных фильтров осуществляется с автоматическим
управлением. Вывод на промывку выполняется с учетом потерь напора в загрузке
фильтра или по заданному положению задвижки фильтрованной воды. Для определения
потерь давления в фильтрах устанавливаются манометры на трубопроводе, подающем
воду на фильтры, и на трубопровод, отводящий фильтрованную воду. При нормальной
работе напорного фильтра потери давления составляют не более 0,1 МПа. При
превышении этого значения необходима промывка напорного фильтра.
Заключение
Спроектирована универсальна городская станция технического обслуживания
автомобилей на 6 постов для обслуживания отечественных легковых автомобилей со
следующими показателями:
) количество постов - 6, из них: мойка - 1, диагностика, регулировка
тормозов - 1, пост ТО и смазки - 2; пост ТР - 1; пост ремонта систем питания и
электрооборудования - 1;
) штатное число рабочих - 41 человек;
) площадь здания СТО - 620 м2;
) площадь постов - 240 м2;
) площадь производственных и вспомогательных участков - 308,7 м2;
) число заездов на ТО и ТР в год - 15170;
) число заездов на уборочно-моечные работы - 84952.
На территории СТО расположен контрольно-пропускной пункт, парковка для
клиентов и служебных автомобилей, зона ожидания и выдачи автомобилей,
производственный корпус, автоматическая мойка и очистные сооружения.
В конструкторской части разработано приспособление для выпрессовки
крестовин карданных шарниров, использование которого позволит повысить
производительность труда и качество выполняемых услуг.
В разделе технология ремонта разработан технологический процесс ремонта и
восстановления карданных подшипниковых узлов при помощи электроконтактной
приварки стальной ленты. Результаты расчетов параметров наплавки оформлены в
виде маршрутной документации в приложении 1.
В ходе выполнения раздела по безопасности и экологичности проектных
решений были проанализированы все опасные объекты для персонала станции
технического обслуживания автомобилей и окружающей среды. Выбраны мероприятия и
средства по безопасности труда, а также мероприятия и средства по охране
окружающей среды. В результате поиска рационального технического решения
предложена технология очистки сточных вод в комплексе с системой оборотного
водоснабжения на основе применения безнапорного гидроциклона, который
обеспечивают требуемую степень очистки по взвешенным веществам, и нефтепродуктам
для повторного использования сточных вод в системе оборотного водоснабжения,
рассчитан нефтеуловитель. Данные мероприятия обеспечивают экологичность и
безопасность деятельности станции.
Анализ затрат на проектирование, строительство и ожидаемые показатели
(прибыль, остающаяся в распоряжении предприятия -2874,9 тыс. руб.; общая
рентабельность - 41,61%; срок окупаемости капитальных вложений - 2,4 года и
положительный чистый дисконтированный доход ) позволяют оценить проект как
перспективный.
Список литературы
1. Автомобили. Ремонт и
эксплуатация. Трансмиссия. [Электронный ресурс] / - Режим доступа: <http://autodoki.com/node/2299>.
. Афанасьев, Л.Л. Гаражи и
станции технического обслуживания. Альбом чертежей [Текст] / Л.Л. Афанасьев, Б.С. Колясинский, А.А. Маслов.- М.:
Транспорт, 1980. - 216 с.
. Бейлин, В.И. Проектирование
предприятий автомобильного транспорта (Безопасность и экологичность проектных
решений) [Текст] : методические указания по дипломному проектированию для студ.
спец. «Автомобили и автомобильное хозяйство» / В.И. Бейлин, М.Л. Быховский,
Ю.Б. Лахтин. - М.:изд-во МГОУ, 2004. - 76 с.
. Ведомственные строительные
нормы. Предприятия по обслуживанию автомобилей: ВСН 01-89 [Текст] / Минавтотранс РСФСР. - М.: ЦБНТИ Минавтотранса
РСФСР, 1990. - 52 с.
. Восстановление
автомобильных деталей: Технология и оборудование: учеб. для вузов [Текст] /В. Е. Канарчук, А. Д. Чигринец, О. Л. Голяк, П. М.
Шоцкий. - М.: Транспорт, 1995. - 303 с. - ISBN 5-277-01574-4.
. Дюмин, И. Е. Ремонт
автомобилей [Текст] / И.Е. Дюмин, Г.Г. Трегуб; под
ред. И.Е. Дюмина. - М.: Транспорт, 1999. - 280 с. - 5-277-01939-1.
. Епифанов, Л.И. Техническое
обслуживание и ремонт автомобилей [Текст] / Л.И. Епифанов, Е.А. Епифанова. - М.: ФОРУМ: ИНФРА-М, 2004. - 280 с.
. Каталог ГАРО-2000, 60 лет
на рынке оборудования и инструмента для автосервиса. М.: ОАО ГАРО, 2000.
. Кириченко, В.В.
Методические указания по проектированию станций технического обслуживания
автомобилей (организационно-экономическая часть дипломного проекта) [Текст] / Виталий Витальевич Кириченко, под.ред. А.И.
Гарбовицкого. - Губкин: Губкинский институт (филиал) МГОУ. - 2005. - 16 c.
. Крамаренко, Г.В.
Техническое обслуживание автомобилей [Текст] / Г.В. Крамаренко, И.В. Барашков. - М.: Транспорт, 1982. - 368 с.
. Кузнецов, Е.С. Техническая
эксплуатация автомобилей [Текст] / Е.С. Кузнецов; учебник для
вузов. 4-е изд., перераб. и доп. - М: Наука, 2001 - 535 с.
. Марков, О.Д. Станции
технического обслуживания автомобилей [Текст] / Олег Давидович Марков. - К.: Кондор, 2008. - 553 с. - ISBN
978-966-8251-99-3.
. Межотраслевые правила по
охране труда на автомобильном транспорте ПОТ РМ-027-2003 [Текст]. - М.: Минтруда РФ, 2003. - 77 с.
. Напольский, Г.М.
Обоснование спроса на услуги автосервиса и технологический расчет станций
технического обслуживания легковых автомобилей [Текст] / Г.М. Напольский, В.А. Зенченко. - М.: МАДИ, 2000. - 82 с.
. Напольский, Г.М.
Технологическое проектирование автотранспортных предприятий и станций
технического обслуживания: уч. для студентов вузов, обучающихся по спец.
«Автомобили и автомобильное хозяйство» [Текст] /- 2-е изд., перераб. и доп. - М.: Транспорт, 1993. - 271 с. - ISBN
5-277-01256-7.
. Общесоюзные нормы
технологического проектирования авторемонтных предприятий: ОНТП-01-91 [Текст] / Росавтотранс. - М.: Гипроавтотранс, 1991. - 184 с.
. Отраслевые нормы
технологического проектирования предприятий автомобильного транспорта:
ОНТП-01-91 [Текст] / Росавтотранс. - М.:
Гипроавтотранс, 1991. - 184 с.
Перечень категорий помещений
и сооружений автотранспортных и авторемонтных предприятий по взрывопожарной и
пожарной опасности и классов взрывоопасных и пожароопасных зон по правилам
устройства электроустановок [Текст] /Минавтотранс РСФСР. - М.: ЦБНТИ Минавтотранса РСФСР, 1989. - 37 с.
. Положение о техническом обслуживании
и ремонте автотранспортных средств, принадлежащих гражданам (легковые и
грузовые автомобили, автобусы, минитракторы). РД 37.009.026-92. [Текст] / Минпром РФ, Департамент автомобильной
промышленности. - М.:, 1992. - 53 с.
. Положение о техническом
обслуживании и ремонте подвижного состава автомобильного транспорта [Текст]. - М.: Транспорт, 1988 г.
. Ремонт, обслуживание,
эксплуатация ВАЗ (Жигули). Полные технические характеристики, диагностика.
Карданная передача [Электронный ресурс] / - Режим доступа:
http://www.autoprospect.ru/vaz/2105-zhiguli/5-3-6-sborka.html.
. Руководство по ремонту
ВАЗ-2105 и ВАЗ-2104. Снятие с автомобиля, диагностика, разборка и ремонт
карданных валов [Электронный ресурс]/ - Режим доступа:
http://vazik.ru/plugins/content/content.php?content.65.
. Силуянов, В. П.
Прогрессивные способы восстановления деталей машин [Текст] / В.П. Силуянов, В.А. Падольский, П.И. Лужков. -
Минск: Ураджай, 1988. - 120 с. - ISBN 5-7860-0042-7.
. Табель технологического
оборудования и специнструмента для СТО легковых автомобилей, принадлежащих
гражданам. [Текст] - М.: НАМИ.; 1988. - 197 с.
. Техническое обслуживание и
ремонт автомобилей [Текст] / В.М. Власов, С.В. Жанказиев,
С.М. Круглов, В.А. Васильев, В.А. Зенченко, В.В. Майер, Н.С. Захаров, С.В.
Елесин; под ред. В.М. Власова. - 4-е изд., стер. - М.: Издательский центр
«Академия», 2007. - 480 с. - ISBN 978-5-7695-3923-7/
. Туревский, И.С.
<http://www.spbsseu.ru:8000/cgi-bin/cgiirbis_64.exe?Z21ID=&I21DBN=GUSE&P21DBN=GUSE&S21STN=1&S21REF=&S21FMT=fullwebr&C21COM=S&S21CNR=&S21P01=0&S21P02=1&S21P03=A=&S21STR=%D0%A2%D1%83%D1%80%D0%B5%D0%B2%D1%81%D0%BA%D0%B8%D0%B9,%20%D0%98.%20%D0%A1.>
<http://www.spbsseu.ru:8000/cgi-bin/cgiirbis_64.exe?Z21ID=&I21DBN=GUSE&P21DBN=GUSE&S21STN=1&S21REF=&S21FMT=fullwebr&C21COM=S&S21CNR=&S21P01=0&S21P02=0&S21P03=M=&S21STR=>Охрана
труда на автомобильном транспорте [Текст] / И.С. Туревский. - М.: Инфра-М, 2009. - 240 с. - ISBN
978-5-8199-0344-5.