Основы построения телекоммуникационных систем и сетей

  • Вид работы:
    Контрольная работа
  • Предмет:
    Информатика, ВТ, телекоммуникации
  • Язык:
    Русский
    ,
    Формат файла:
    MS Word
    272,82 Кб
  • Опубликовано:
    2014-10-27
Вы можете узнать стоимость помощи в написании студенческой работы.
Помощь в написании работы, которую точно примут!

Основы построения телекоммуникационных систем и сетей

Федеральное агентство по образованию

ГОУ ВПО Уфимский государственный авиационный технический университет

Кафедра многоканальной электрической связи






Контрольная работа

по курсу «Основы построения телекоммуникационных

систем и сетей»

Вариант 06









УФА - 2015

Задание №1

. Рассчитать и построить внешнюю диаграмму измерительных уровней канала передачи, структурная схема которого приведена на рисунке 1.




S1


S2


S3




Вход канала

Оконечное оборудование Передачи


Ус1

Ус2

Ус3

Оконечное оборудование приема

Выход канала



А1


А2


А3


А4

























Рквх = 0 дБм

Р, дБм







Рквых























Рвых пер








L



































Рис.1. Структурная схема канала передачи

2.   Определить мощность, напряжение и абсолютный уровень напряжения и мощность измерительного сигнала на входе первого промежуточного усилителя , если его входное сопротивление равно . Определить, во сколько раз мощность сигнала на входе первого промежуточного усилителя  меньше мощности сигнала на выходе оконечного оборудования передачи.

.     Рассчитать остаточное затухание канала, если измерительный уровень на его выходе составляет , сравните вычисленное значение с номинальным.

Исходные данные

Усиление промежуточного усилителя 1

38 дБ


Усиление промежуточного усилителя 2

39 дБ


Усиление промежуточного усилителя 3

29 дБ


Измерительный уровень на выходе канала

-7,0 дБм


Входное сопротивление промежуточного усилителя

170 Ом


Затухание участка цепи 1

34 дБ


Затухание участка цепи 2

35 дБ


Затухание участка цепи 3

31 дБ


Затухание участка цепи 4

30 дБ


Измерительный уровень на выходе оборудования

-11 дБм


измерительный канал сигнал усилитель

Ход работы

На диаграмме (рис. 2) отмечены характерные точки тракта: точки (д) - выходы оконечного усилителя передающей станции и промежуточных усилителей (определяются усилением усилителей); точки (м) - входы промежуточных и приемного усилителей ( зависят от затухания участков линии).

0

1

3

3

5

5

7

7

9

9

10

0

-11

-45

-42

-3

-34

-5

-35

-7

-7


Рис. 2 Диаграмма измерительных уровней канала передачи

Параметры измерительного сигнала на входе первого промежуточного усилителя :

Сопротивление линии

=600 Ом

Мощность сигнала

=-= (-11) - 34 = -45 дБм

Мощность сигнала на входе первого усилителя

 Вт

Напряжение эквивалентного источника ЭДС:

В

Напряжение измерительного сигнала на входе первого усилителя:

 В

Мощность измерительного сигнала на входе первого усилителя

 Вт

Мощность измерительного сигнала на входе первого усилителя

 дБм

Мощность сигнала на входе первого промежуточного усилителя  меньше мощности сигнала на выходе оконечного оборудования передачи, в  

Остаточное затухание

Вопрос №6. Что такое пик-фактор сигнала и чему он равен для гармонического колебания?

Ответ: Коэффициентом амплитуды или пик-фактором называется отношение амплитуды колебания к его действующему значению. Для гармонического колебания (синусоидального напряжения или тока) коэффициент амплитуды равен  

Задание №2

. Мощность несущей частоты на выходе амплитудного модулятора равна W0, мВт, глубина модуляции равна m. Определить мощность боковой полосы частот и показать во сколько раз мощность боковой полосы частот меньше мощности несущей частоты.

. Рассчитать и изобразить на оси частот спектральную диаграмму сигнала на выходе схемы, приведенной на рис. 3, где приняты следующие обозначения: АМ - амплитудные модуляторы; ПФ- полосовые фильтры, выделяющие соответствующие боковые полосы частот, F1 и F2 - граничные частоты первичного модулирующего сигнала.



























F1 =0,3

F2 =3,4

кГц

АМ1

ПФ1




АМ2

ПФ2





















f01






f02




Рис. 3. К построению спектральной диаграммы амплитудно-модулированного сигнала

3. На вход демодулятора поступает амплитудно-модулированный сигнал с одной боковой полосой (AM ОБП), частотный спектр которого сосредоточен в полосе частот от f1 до f2 (рис. 4, где ДМ- демодулятор, ПФ - полосовой фильтр). Определить номинал несущей частоты fк, которая должна быть подана на демодулятор (ДМ) для того чтобы на его выходе получился сигнал, занимающий тональный диапазон частот 0,3...3,4 кГц.


 f2

а)






б)



f1




0,3

3,4 кГц

f1

f2



0,3

3,4 кГц



ДМ

ПФ






ДМ

ПФ





















fи = ?







fи = ?




Рис. 4. К определению номинала несущих частот

. Рассчитать и построить спектральную диаграмму группового сигнала N-канальной СП с ЧРК и AM ОБП при полосе эффективно-передаваемых частот в каждом канале 0,3…3,4 кГц. Для передачи используется нижняя боковая полоса частот.

Исходные данные

Наименование

Обозначение

Значение

Мощность несущей на выходе амплитудного модулятора,

W0

50 мВт

Несущая частота первого преобразования

76 кГц

Нижняя


Границы полосы частот однополосного сигнала

 кГц


Номинал несущей частоты для нижнего по частоте канала N-канальной СП с ЧРК

22 кГц


Количество каналов СП с ЧРК

3


Глубина амплитудной модуляции

0,10


Несущая частота второго преобразования

420 кГц


Боковая полоса выделенная полосовым фильтром ПФ2:

Нижняя


Вариант схемы на рисунке 4

а



Ход работы

1)  Отношение мощности боковой полосы к мощности несущей


Мощности боковой полосы частот

 мВт

2)  Граничные частоты после первого модулятора и фильтра ПФ1:

 кГц

 кГц

Граничные частоты после второго модулятора и фильтра ПФ2:

 кГц

 кГц

Спектральная диаграмма сигнала приводится на рисунке 5

Рис.5 - Спектральная диаграмма сигнала

) Так как границы полосы частот однополосного сигнала

 кГц

кГц

То номинал несущей частоты, которая подается на демодулятор

 кГц

) Частота несущей первого канала

 кГц

Разделение каналов

кГц

Канал 1:

Нижняя частота сигнала

 кГц

Верхняя частота сигнала

 кГц

Канал 2:

Нижняя частота сигнала

 кГц

Верхняя частота сигнала

 кГц

Канал 3:

Нижняя частота сигнала

 кГц

Верхняя частота сигнала

 кГц

Рис.6 Спектральная диаграмма группового сигнала

Вопрос №6. Передача AM сигнала с одной боковой полосой без несущей AM ОБП. Структурная схема. Основные проблемы при формировании сигнала AM ОБП и его демодуляции. Достоинства, недостатки и область применения.

Ответ:

Из всех методов АМ метод передачи одной боковой полосы частот (ОБП) дает возможность наиболее экономично использовать линейный спектр частот, так как ширина спектра канального сигнала при ОБП минимальна и равна ширине спектра канального сигнала . Кроме того, при ОБП отсутствуют квадратурные искажения. Положительным является так же то, что отсутствие несущего колебания в спектре ОБП дает возможность значительно повысить мощность боковой полосы частот при той же мощности канального сигнала и тем самым обеспечить наибольшую помехоустойчивость ОБП по сравнению с другими методами АМ. В качестве недостатка следует отметить, что для восстановления сигнала на приеме необходимо иметь местный генератор несущей частоты. Для восстановления сигнала без искажений необходимо, чтобы частоты несущих колебаний передачи и приема совпадали, в противном случае спектр восстановленного сигнала окажется смещенным на величину расхождения несущих частот передачи и приема . Это явление носит название сдвига частоты в канале. Смещение всех составляющих спектра сигнала при передачи речи и музыки приводит к искажениям, снижающим качество передачи. Для каналов тональной частоты допускается сдвиг частоты в канале  Гц. Для обеспечения таких требований нужны высокостабильные генераторы.

Рисунок - Схема передачи с одной боковой полосой

Рисунок - Влияние расхождения несущих частот на передаче и приеме при ОБП

Расхождение частот генераторов несущих передачи и приема при недостаточном подавлении второй боковой полосы частот приводит к нежелательному дополнительному явлению - колебанию остаточного затухания канала .величину колебания остаточного затухания канала определим как


Применяя разложение в степенной ряд выражения и ограничиваясь одним членом разложения при kб1, получаем


где  - затухание подавления, показывающее, на сколько децибел уровень ненужной боковой ниже уровня полезной боковой. Из формулы (5.40) можно определить необходимое затухание подавления ненужной боковой при допустимой величине колебаний остаточного затухания:


Например, при передаче телефонных сигналов допускается дБ. При этом требуется дБ. Достоинства метода ОБП, такие, как экономное использование спектра частот и высокая помехоустойчивость, сделали его основным методом формирования канальных сигналов для подавляющего большинства многоканальных систем с ЧРК. При передаче с одной боковой полосой важнейшей задачей является формирование однополосного сигнала при необходимой степени подавления ненужной боковой.

Задание №3

С помощью спектральной диаграммы докажите, что искажения дискретизации при демодуляции АИМ сигнала могут быть сделаны сколь угодно малыми.

. Выполнить операции равномерного квантования с шагом δ и кодирования в восьмиразрядном симметричном коде двух отсчетов аналогового сигнала с амплитудами U1 и U2. Определить величины ошибок (шумов) квантования. Изобразить полученные в результате кодирования кодовые слова (кодовые комбинации) в виде последовательности токовых и бестоковых посылок, считая, что двоичной единице соответствует токовая посылка, а нулю - бестоковая.

. Определить минимальное количество разрядов в кодовом слове m , при котором обеспечивается заданная защищенность от шумов квантования Акэ гармонического сигнала максимально допустимой амплитуды при равномерном квантовании. На сколько децибел изменится величина защищенности при уменьшении вдвое амплитуды кодируемого сигнала?

. Рассчитать тактовую частоту fτ двоичного группового ИКМ сигнала и ширину его частотного спектра ΔFикм. Сравнить ширину спектра частот группового сигнала в ДСП на основе ИКМ с ВРК и СП с ЧРК на основе AM ОБП. Учесть, что обе системы передачи предназначены для организации одного и того же количества каналов N с полосой эффективно-передаваемых частот 0,3…3,4 кГц.

Исходные данные

Наименование

Обозн.

Значение

Число типовых каналов ТЧ

24


Нижняя граничная частота спектра первичного сигнала

0,05 кГц


Верхняя граничная частота спектра первичного сигнала

6000 кГц


Амплитуда отсчета аналогового сигнала

12,9 В


Шаг квантования

0,40 В


Амплитуда отсчета аналогового второго сигнала

-11,3 В


Защищенность от шума квантования

37 дБ



Ход работы

Частота дискретизации вычисляется по теореме Котельникова fд ≥2Fmax, т.е. минимальная частота дискретизации должна быть равна удвоенной верхней частоте модулирующего сигнала.

Наименьшая допустимая частота дискретизации первичного сигнала

 кГц

Выбираем частоту дискретизации больше (в 1,2 раза), нежели минимально возможная по теореме Котельникова.

 кГц

Канал 1:

Частота несущей низкочастотного канала

 кГц

Нижняя частота нижней боковой полосы

 кГц

Верхняя частота нижней боковой полосы

 кГц

Нижняя частота верхней боковой полосы

 кГц

Верхняя частота верхней боковой полосы

 кГц

Канал 2:

Частота несущей низкочастотного канала

 кГц

Нижняя частота нижней боковой полосы

 кГц

Верхняя частота нижней боковой полосы

 кГц

Нижняя частота верхней боковой полосы

 кГц

Верхняя частота верхней боковой полосы

 кГц

Канал 3:

Частота несущей низкочастотного канала

 кГц

Нижняя частота нижней боковой полосы

 кГц

Верхняя частота нижней боковой полосы

 кГц

Нижняя частота верхней боковой полосы

 кГц

Верхняя частота верхней боковой полосы

 кГц


Равномерное квантование в восьмиразрядном симметричном коде

Число отсчётов аналогового сигнала 1


Число отсчётов аналогового сигнала 2

Симметричный двоичный код для положительных чисел представляет собой двоичный код этого числа с приписанной в старшем разряде (слева) единицей. Симметричный двоичный код для отрицательных чисел представляет собой двоичный код модуля этого числа с приписанным в старшем разряде (слева) нулем. Также введено число «0», чтобы сделать код симметричным относительно нуля. Поскольку код восьмиразрядный, то двоичное число должно быть записано в 7 знаков (с добавлением слева нулей при необходимости, восьмой знак - знак числа)

Кодовая комбинация аналогового сигнала 1: j1=100001=10100001

Кодовая комбинация аналогового сигнала 2: j2=11101=00011101


 В

Величина ошибки квантования сигнала 2

 В

Кодовые комбинации показаны на рисунках

 

а)                    б)

Рис. 7 Кодовые комбинации сигнала 1 (а) и сигнала 2 (б)

3)  Минимальное количество разрядов в кодовом слове


При уменьшении амплитуды вдвое величина защищённости изменится на 6 дБ.

) Тактовая частота двоичного группового ИКМ сигнала

 кГц

Ширина его частотного спектра двоичного группового ИКМ сигнала

 кГц

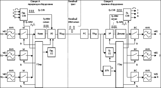
Вопрос №6. Обобщенная структурная схема ЦСП на основе ИКМ с ВРК: тракт передачи.

Ответ:

Обобщенная структурная схема ЦСП на основе ИКМ с ВРК приведена ниже.


Сообщения u1(t), u2(t), …, un(t) от 1, 2, ..., n абонентов через ФНЧ поступают на канальные амплитудно-импульсные модуляторы М, функцию которых выполняют электронные ключи. С помощью мо­дуляторов осуществляется дискретизация передаваемых сигналов во времени. Сигналы с выходов модуляторов объединяются в груп­повой АИМ сигнал (Гр. АИМ). Управляют работой модулято­ров канальные импульсы KИ1-КИn, поступающие от генератор­ного оборудования передачи ГОпер. Указанные импульсы подаются на модуляторы каналов поочередно (первый, второй и т. д.), что и обеспечивает правильное формирование группового АИМ сигнала. Длительность каждого КИ составляет примерно 125/2n мкс, что и определяет длительность одного отсчета АИМ импульса канала; период следования КИ 125 мкс. Групповой АИМ сигнал поступа­ет на кодирующее устройство - кодер, который одновременно осуществляет операции квантования по уровню и кодирования.

Сигналы управления и взаимодействия (СУВ), передаваемые по телефонным каналам для управления приборами АТС, посту­пают в передатчик Пер. СУВ, где они дискретизируются импульс­ными последовательностями, следующими от ГОпер, и объединя­ются. В результате формируется групповой сигнал передачи Гр. СУВ.

В устройстве объединения УО кодовые группы каналов с вы­хода кодера, кодированные сигналы СУВ и кодовая группа син­хросигнала от передатчика синхросигнала Пер. СС объединяются, образуя циклы и сверхциклы. Соответствующими управляющими импульсами от ГОпер в УО обеспечивается правильный порядок следования циклов в сверхцикле и кодовых групп в цикле передачи.

Сформированный ИКМ сигнал представляет собой набор однополярных двоичных символов, импульсы которых всегда имеют только одну, например положительную, полярность. При передаче по линии такой сигнал подвержен значительным искажениям и за­туханию. Поэтому перед передачей в линию однополярной ИКМ сигнал преобразуется в биполярный сигнал, удобный для передачи по линейному тракту. Это происходит в преобразователе кода передачи ПКпер.

Список использованной литературы

Гордиенко В.Н. Тверецкий В.П. «Многоканальные телекоммуникационные системы» Москва, 2005

Крухмалев В.В., В.Н. Гордиенко «Основы построения телекоммуникационных систем и сетей» Москва, 2004

Винокуров В.М. «Цифровые системы передачи»: уч. пособие, Томск, 2012

Похожие работы на - Основы построения телекоммуникационных систем и сетей

 

Не нашли материал для своей работы?
Поможем написать уникальную работу
Без плагиата!
Без нейросетей!