Методика повірки електроенцефалографа Нейровізор БММ-52

  • Вид работы:
    Курсовая работа (т)
  • Предмет:
    Информатика, ВТ, телекоммуникации
  • Язык:
    Украинский
    ,
    Формат файла:
    MS Word
    189,75 Кб
  • Опубликовано:
    2014-07-17
Вы можете узнать стоимость помощи в написании студенческой работы.
Помощь в написании работы, которую точно примут!

Методика повірки електроенцефалографа Нейровізор БММ-52

Міністерство освіти і науки України

Національний авіаційний університет

Інститут інформаційно-діагностичних систем

Кафедра біокібернетики та аерокосмічної медицини









ДОМАШНЯ РОБОТА

Тема: «Методика повірки електроенцефалографа Нейровізор БММ - 52 »

з дисципліни

«Метрологія біомедичної апаратури»

Виконав:

студент групи БМ-562

Ніжнік О.В.

Перевірив:

професор Кошова Л.О.



Київ 2014

Кафедра біокібернетики та аерокосмічної медицини








ЗАВДАННЯ

на курсову роботу з дисципліни

«Метрологія біомедичної апаратури»

Група 512 Студент Ніжнік Олександр

Дата видання_________________

Дата виконання______________

Тема курсової роботи: «Методика повірки електроенцефалографа Нейровізор БММ - 52»

Вихідні дані: методи випробувань портативного апарату Нейровізор БММ-52, принцип і пристрій роботи.

Необхідні креслення: структурна схема БМА, що повіряється, структурна схема повірки.

Зміст курсової роботи: завдання, вступ, опис БМА, що підлягає повірці; огляд НТД, методика повірки, висновки, список літератури

Завдання отримав _____________________

Дата, підпис

Керівник курсової роботи__________________

Підпис

Зміст

Вступ

. Опис електроенцефалографа

2. Структурна схема та принцип дії електроенцефалографа

2.1 Характеристика електродів електроенцефалографу

.2 Характеристика блоку комутації та блоку підсилення ЕЕГ

.3 Характеристика блоків фільтрації, калібрування, реєстрації

.4 Характеристика блоку стимуляції

.5 Характеристикаблоку АЦП

3. Комплектація та технічні дані ЕЕГ

4. Класифікація приладу Нейровізор БММ-52

. Методика повірки електроенцефалографа Нейровізор БММ-52

.1 Операції повірки

.2 Засоби повірки приладу

.3 Вимоги безпеки та до кваліфікації повірників

.4 Умови проведення повірки

6. Проведення повірки

6.1 Зовнішній огляд

.2 Опробування

.2.1 Перевірка дії органів управління та індикації

.2.2 Перевірка працездатності вимірювальних каналів і приводу носія запису

.2.3 Перевірка можливості калібрування ЕЕ - приладу по вбудованому калібратору

.2.4 Перевірка працездатності пристрою контролю електродів

.2.5 Перевірка функціонування та підтвердження відповідності програмного забезпечення

.2.6 Перевірка функціонування ЕЕА в режимі реєстрації та аналізу сигналів

.3 Визначення метрологічних характеристик

.3.1 Визначення метрологічних характеристик в режимі ЕЕГ - досліджень

.3.2 Визначення відносної похибки калібратора амплітуди реєструючих ЕЕ- приладів

.3.3 Визначення відносної похибки калібратора міток часу ЕЕ - приладів

.3.4 Визначення відносної похибки реєстрації калібрувального сигналу ЕЕА

.3.5 Визначення ідентичності форм ЕЕГ- сигналів. Визначення діапазону і відносної похибки вимірювання амплітудних і часових параметрів сигналів ЕЕГ

.3.6 Визначення рівня внутрішніх шумів , наведеного до входу

.4 Оформлення результатів повірки

Висновок

Використана література

Вступ

Важливе місце в дослідженні діяльності головного мозку здобуває вивчення його електричних потенціалів. Ще в 70-х роках дев'ятнадцятого століття відомий харківський фізіолог В.Я. Данилевський описав зміну електричних потенціалів задніх відділів кори головного мозку при слуховому роздратуванні, а передніх її відділів - при роздратуванні шкіри. Так, уперше електрофізіологічне дослідження одержали значення у виробленні представлень про локалізацію функцій. Надалі цей напрямок знайшов розвиток у роботах В.М. Бехтерева і його співробітників. В.Я. Данилевський також указав, що в корі мозку відзначаються коливання електричних потенціалів і без нанесення роздратування на рецептори чи аферентні нерви.

Це положення в 1882 р. було більш детально розроблене І.М. Сєченовим, що відкрив ритмічні електричні коливання в довгастому мозку жаби, що не тільки виникали без роздратування рецепторів, але навіть гнітилися при нанесенні сильного роздратування.

Важливим моментом у дослідженнях електричних явищ у великих півкулях головного мозку з'явилося застосування для їхнього вивчення В.В. Правдич-Неминським (1925) малоінертного струнного гальванометра замість інертних дзеркальних гальванометрів колишніх дослідників. Відводячи до струнного гальванометра біоструми від кори мозку ссавців, Правдич-Неминський точно описав (за назвою хвиль I і II порядку) ті електричні коливання в корі, що тепер звичайно позначаються як альфа- і бета - ритми. Пізніше, у 1929 р., німецький психіатр Г. Бергер почав дослідження електричної активності кори мозку в людини, відводячи біоструми мозку в малоінертний гальванометр через підсилювач.

Реєстрація електричних явищ кори мозку в людини, здійснювана через покриви черепа і шкіру, дозволила широко розвити вивчення електричних явищ у вищому відділі центральної нервової системи. В даний час запис електричних явищ мозку - електроенцефалографія придбала в клініці поразок головного мозку приблизно таке ж значення, яке електрокардіографія одержала в клініці поразок серця.

Електроенцефалограма здорової дорослої людини в стані спокою характеризується визначеними рисами: від всіх областей приділяються коливання потенціалу з частотою 8-10 Гц з амплітудою 50-100 мкв - названі альфа-ритмом. Крім альфа-ритму на ЕЕГ здорової дорослої людини реєструються коливання більш високої частоти - бета-ритми - 13-30 Гц, так і більш низької частоти 0,5 -3 Гц - дельта - ритми і 4 - 7 Гц тета - ритми. У спокійному стані на тлі вираженої альфа-активності ці коливання практично не помітні, тому що в нормі амплітуда їх набагато нижче чим альфа: досягає лише 10-20 мкв. При зміні стану, наприклад, при роздратуваннях, коли альфа-ритм депресирується, вони стають чітко видними і можуть збільшуватися по амплітуді. При гальмових станах (дрімота, сон) із гнобленням альфа - ритму наростає амплітуда низькочастотних складових - дельта і тета.

Електроенцефалографія вважається одним із класичних методів психофізіологічних досліджень. Хоча і визнається, що, незважаючи на перспективність цього методу, він залишається для психофізіолога поки ще й одним з найменш зрозумілих джерел даних, а інформативність одержуваних результатів багато в чому залежить від досвіду дослідника.

Використовують велику кількість приладів, які відрізняються між собою кількістю каналів. Аналізатор - монітор біопотенціалів головного мозку Нейровізор БММ- 52 призначений для реєстрації біоелектричних потенціалів активності мозку та аналізу їх залежності від часу з метою діагностики. Синхронно з ЕЕГ можлива реєстрація та аналіз до 4 біомедичних сигналів з поліграфічних датчиків.

. Опис електроенцефалографа

Аналізатор - монітор біопотенціалів головного мозку Нейровізор БММ- 52 містить 48 каналів і призначений для реєстрації біоелектричних потенціалів активності мозку та аналізу їх залежності від часу з метою діагностики . Синхронно з ЕЕГ можлива реєстрація та аналіз до 4 біомедичних сигналів з поліграфічних датчиків.

Аналізатор призначений для застосування в кабінетах функціональної діагностики , прийомних і лікувальних відділеннях багатопрофільних і неврологічних стаціонарів , оздоровчих пунктів , поліклінік , клінік , науково дослідних інститутах. Проведення ЕЕГ має вирішальну роль у діагностиці захворювань, що проявляються втратою свідомості, судомами, запамороченнями, непритомностями, вегетативними кризами. ЕЕГ інформативна при головних болях, епілепсії, панічних атаках, істерії.

Покази для проведення ЕЕГ:

-        Обмороки;

         Будь-які приступоподібні чи періодичні патологічні стани мозкового походження;

         Приступоподібні розлади під час сну;

         Переважна більшість неврологічних порушень;

         Черепно-мозкові травми та їх наслідки;

         Мозкові інсульти та їх наслідки;

         Поведінкові та емоційні розлади;

         Невротичні та неврозоподібні прояви;

         Розлади мови, поведінки та адаптації в дітей і підлітків;

         Затримки психічного та психомоторного розвитку;

         Розлади особистості в дорослих;

         Всі види епілептичних приступів;

. Структурна схема та принцип дії електроенцефалографа

Цифровий ЕЕГ Нейровізор БММ-52 складається з: датчиків, блоку комутації, підсилення, АЦП, вводу даних, комп’ютера, стимуляції, генератору каліброваних сигналів (Рис. 1).

Рис. 1 Структурна схема ЕЕГ

.1 Характеристика електродів електроенцефалографу

Найпершим елементом блок-схеми електроенцефалографа є електроди, що знімають потенціал з кори головного мозку. У ЕЕГ використовуються цільнопресовані електроди (Ag / AgCl), які широко застосовується на практиці і можуть бути легко виготовлені в лабораторних умовах. За своїми характеристиками вони наближаються до абсолютно неполяризованого електрода.

Структура електрода зображена на рис. 2. Основою електрода служить металеве срібло з припаяним і ізольованим з’єднувальним проводом. Зовні срібло покрито сіллю AgCl. Ця сіль не розчинна у воді, тому електрод не руйнується з часом.

Рис. 2. AgCl електрод

Як правило, срібні електроди дають неспотворену реєстрацію ЕЕГ. У випадках виникнення явищ поляризації срібні.

.2 Характеристика блоку комутації та блоку підсилення ЕЕГ

Для того, щоб багато електродів могли паралельно в часі реєструвати біопотенціали КГМ необхідна їх комутація. Перш за все для кожного підсилювального блоку є багатоконтактний комутатор відведень ЕЕГ, що дозволяє по кожному каналу комутувати електроди, які знаходяться на голові випробовуваного в потрібній комбінації. У комутаторі вхідним клемам підсилювача, позитивної і негативної, відповідають ступінчасті перемикачі, які можуть займати одне з положень згідно нумерації контактних гнізд на вхідній коробці електроенцефалографа.

Окрім комутації по окремих каналах, електроенцефалограф дозволяє за допомогою спеціальних перемикачів на заздалегідь змонтованій схемі комутувати в певних комбінаціях електроди відразу по всіх каналах відведення. Звичайно передбачається 4-5 таких схем. Дана система комутації володіє тією перевагою, що позбавляє від необхідності комутувати відведення окремо на кожному з каналів посилення. У цифровому електроенцефалографі всі регулювання чутливості і комутації електродів здійснюються програмно з клавіатури комп’ютера. Регулювання чутливості дозволяють підібрати посилення так, щоб одержати оптимальний режим реєстрації залежно від амплітуди вхідного сигналу. Можливість регулювання коефіцієнта посилення приладу в широких межах дозволяє використовувати електроенцефалограф для запису не тільки ЕЕГ, але і інших біологічних сигналів, таких як ЕМГ, ЕКГ, а також сигналів від різного роду датчиків - перетворювачів дихання, опору, механічних коливань і ін.

Після відведення електричні потенціали подаються на входи підсилюючих пристроїв. Вхідна коробка електроенцефалографа містить 52 пронумерованих контактних гнізд, за допомогою яких до електроенцефалографа може бути приєднано відповідну кількість електродів. Крім цього, на коробці є гніздо нейтрального електроду, сполученого з приладовою землею підсилювача і тому заземлення, що позначається знаком, або відповідним буквеним символом, наприклад “Gnd” або “N”. Відповідно електрод, встановлений на тілі обстежуваного і під’єднуваний до цього гнізда, називається електродом заземлення. Він служить для вирівнювання потенціалів тіла пацієнта і підсилювача.

Рис.3. ЕЕГ Нейровізор БММ-52.

Підсилюючі пристрої вмонтовуються з двох окремих блоків, зв’язаних в свою чергу сполучним кабелем, - блоку попереднього посилення і блоку власне реєстрації. Блок попереднього посилення складається з набору ідентичних попередніх підсилювачів відповідно числу каналів реєстрації (звичайно включений в єдиний блок з фільтрами). Кожний з каналів посилення має ручки управління, виведені на передню панель блоку попереднього посилення. Коефіцієнт посилення їх варіює від 20000 до 100000.

.3 Характеристика блоків фільтрації, калібрування, реєстрації

Для завдання смуги пропускання підсилювача на кожному з каналів є регулятори фільтрів високої і низької частоти. Фільтр низької частоти визначає верхню межу частот, які без спотворення пропускатимуться підсилювачем. Нейровізор БММ-52 дозволяє регулювати цю межу в межах від 0 до 100 Гц. Фільтри низької частоти використовують звичайно в тих випадках, коли в записі присутні високочастотні перешкоди, які не можуть бути виключені іншим способом.

Регулювання нижньої смуги пропускання електроенцефалографа досягають фільтрами високих частот (вибирається з ряду 5000 , 3000 , 2000 , 1000 , 500 , 400 , 300 , 200 , 100 , 90 , 80 , 70 , 60 , 50 , 40 , 30 , 20 , 10 , 5 , 2 , 1 Гц) шляхом зміни постійної часу підсилювача. Обмеження нижньої смуги пропускання приладу необхідне для виключення із запису артефактів повільних змін потенціалу шкіри, змін потенціалу, пов’язаних з незначними зсувами електродів і змінами у області контакту між шкірою і електродом.

Для стандартизації режиму роботи електроенцефалографа застосовують калібрувальний пристрій. Цей пристрій подає одночасно на входи всіх підсилювачів прямокутний сигнал поперемінно позитивній і негативній полярності, амплітуда якого може бути різною залежно від вибраного масштабу посилення. Для запису ЕЕГ використовують стандартний калібрувальний сигнал, меандр U= 200 мкВ (± 1 %) , частотою 1 Гц;

Для перевірки якості установки електродів є також омметр, що дозволяє визначити опір у області контакту електроду з досліджуваним об’єктом.

Після посилення сигнал подається в блок реєстрації електроенцефалографа.

Таким чином блок фільтрації має забезпечувати фільтрацію сигналу в смузі f = 0 - 1500 Гц без спотворення сигналу в основній його смузі. Через певні особливості, вказані вище, цей діапазон знижено до 0-100 Гц.

.4 Характеристика блоку стимуляції

Щоб проводити дослідження ВП в ЕЕГ існує блоку стимуляції. Він має забезпечувати можливість світлової та звукової стимуляції, та синхронно працювати з ЕОМ.

Для стимуляції світлом і звуком використовують фото стимулятор FSS4.

Для фотостимуляції зазвичай використовують короткі (порядку 150 мкс) спалахи світла, близького по спектру до білого, досить високої інтенсивності. Деякі системи фотостимуляторів дозволяють змінювати інтенсивність спалахів світла, що, природно, є додатковою зручністю.

Рис.4. Фотостимулятор FSS4.

Крім одиночних спалахів світла, фотостимулятори дозволяють проводити серії однакових спалахів бажаної частоти і тривалості.

2.5 Характеристика блоку АЦП

Після блоку підсилення сигнал ЕЕГ необхідно перетворити в цифрову форму, для подальшої його обробки на ПК.

У ЕЕГ Нейровізор БММ-52 сигнал записується на диск комп’ютера з одночасним висновком зображення на екран. Після закінчення реєстрації потрібні сторінки запису можуть бути виведені у вигляді паперової копії за допомогою принтера. При достатній швидкодії комп’ютера і каналу введення даних фільтрація сигналів може вироблятися програмно, що спрощує побудову аналогових фільтрів, забезпечує стабільність характеристик тракту обробки сигналів, дає можливість оперативного регулювання частотної характеристики..

Динамічний діапазон АЦП визначається як відношення максимально можливого сигналу до мінімального сигналу, який може бути помітний на рівні шуму квантування. Ця величина приблизно дорівнює числу квантів АЦП. Прилад Нейровізор БММ-52 використовує аналогово-цифровий перетворювач розрядністю 24 біт з дельта- сигма модуляцією 6 - го порядку.

. Комплектація та технічні дані ЕЕГ

Комплектація електроенцефалографа Нейровізор БММ-52.

До комплекту приладу входить:

         Комп'ютерний підсилювач ЕЕГ на стійці з USB - кабелем;

         Фотостимулятор світлодіодний на стійці з USB - кабелем і кабелем синхронізації ;

         Комплект ЕЕГ електродів з шоломами ;

         Кабель та електроди для ЕКГ каналу ;

         CD диск з програмним забезпеченням;

         Експлуатаційна документація ;

         Текстильний шолом для знімних електродів (розмір 48-54 см ) ;

         Текстильний шолом для знімних електродів (розмір 54-64 см ) ;

         Електропровідний гель і шприц для гелю з тупою голкою ;

         Шолом ЕЕГ зі знімними електродами.

Нейровізор БММ- 52 поставляється в комплекті з MCScap - 52 , що складається з 2 -х шоломів зі знімними електродами.

Шолом ЕЕГ зі знімними електродами MCScap поєднує переваги текстильних ЕЕГ шапочок з можливістю простого відключення або заміни електродів. Ag / AgCl sintered (цільна ) технологія сенсорів гарантує мінімальну поляризацію і довготривалу стабільність.

Шолом виготовлений з еластичного матеріалу, що забезпечує найкраще комфортне прилягання електродів без додаткового регулювання . Численні отвори призначені для вентиляції та контролю . Вісім розмірів шолома покривають весь можливий діапазон обхватів голови. Кріплення шоломів виконується підборідним ременем або нагрудним поясом. Для вушних електродів розроблені спеціальні кріпильні адаптери.

Таблиця 1- Технічні характеристики ЕЕГ.

Найменування

Норма

Число синхронно реєстрованих каналів ЕЕГ

48 ( 47 при підключенні каналу ЕКГ)

Число синхронно реєстрованих каналів біполярних датчиків , гальванічно ізольованих від каналів ЕЕГ

4

Вхідний динамічний діапазон для каналів ЕЕГ

не менше ± 400 мВ

Вхідний опір ( на постійному струмі ) для каналів ЕЕГ

більше 100 Мом

Власний шум каналів в смузі частот 0,1-30 Гц для каналів ЕЕГ

не більше 0,9 мкВ пік - пік ( 0.15 RMS)

Діапазон вимірювання міжелектродного імпедансу на частоті 30 Гц

1 - 120 кОм (± 10 %)

Тестовий сигнал для каналів ЕЕГ Вхідний динамічний діапазон біполярного сигналу для каналів датчиків

меандр 200 мкв (± 1 %) , 1 Гц0 - 4 Вт

Вхідний опір ( на постійному струмі ) для каналів датчиків

більше 20 Мом

Власний шум каналів в смузі частот 0,1-30 Гц для каналів датчиків

не більше 15 мкВ пік - пік

Живлення датчиків

5 В ( ± 5 %). Струм до 15 мА на один датчик з електронним обмеженням

Аналого- цифрове перетворення

24 біт , дельта- сигма модуляція 6 - го порядку з 64 кратною переоцифровкой

Частота відліків цифрового сигналу

125 , 250 , 500 , 1000 , 2000 для всіх каналів , 5000 Гц до 24 -х каналів , 10000 Гц для 16 -ти каналів , 50000 Гц для 4 -х каналів

Нижня частота пропускання (за рівнем - 3дБ )

вибирається з ряду 0 (постійний струм) , 0,01 , 0,05 , 0,1 , 0,5 , 1 , 2 , 5 , 10 , 15 , 30 , 70 , 100 Гц

Верхня частота пропускання (за рівнем - 3дБ )

вибирається з ряду 5000 , 3000 , 2000 , 1000 , 500 , 400 , 300 , 200 , 100 , 90 , 80 , 70 , 60 , 50 , 40 , 30 , 20 , 10 , 5 , 2 , 1 Гц

Режекторний фільтр мережевої перешкоди 50 Гц

Присутній

Швидкість розгортки на екрані

5 , 10 , 15 , 30 , 60 , 120 , 240 , 500 , 1000 , 5000 мм / сек , а також багатохвилинної показ - 2 , 3 , 5 , 10 хв

Масштабування сигналу на екрані

1 , 2 , 5 , 7 , 10 , 20 , 50 , 70 , 100 , 200 , 500 , 700 , 1000 , 2000 , 5000 , 7000 мкВ / мм

Тип електродного сенсора

Ag / AgCl цільнопресований

Кількість електродів

52

Кількість вушних адаптерів

2

4. Класифікація приладу Нейровізор БММ-52

За безпекою комплекс відповідає вимогам ГОСТ Р МЕК 60601-1-1-2007 , ГОСТ Р 50267.0-92 і виконаний по класу 1 , тип BF для блоку електронного і B для фотостимулятора . Залежно від ступеня потенційного ризику застосування комплекс відноситься до класу 2а по ГОСТ Р 51609.

З електромагнітної сумісності комплекс відповідає вимогам ГОСТ Р 50267.0.2-95 .

Середнє напрацювання на відмову - не менше 2000 годин. Середній термін служби - не менше 5 років.

Відповідність комплексу вимогам нормативних документів з безпеки , електромагнітної сумісності , стійкості до кліматичних та механічних впливів

( ГОСТ Р 50444-92 ( р.р. 3,4 ) , ГОСТ Р 50267.0-92 , ГОСТ Р 50267.26-95 , ГОСТ Р МЕК 60601-1-1-2007 , ГОСТ Р МЕК 60601-2-51-2008 , ГОСТ Р 50267.0.4-99 , ГОСТ Р 50267.0.2-2005 , ГОСТ Р ІСО 10993-1-2009 , ГОСТ Р ІСО 10993-5-2009 , ГОСТ Р ІСО 10993-10-2009 , ГОСТ Р ІСО 10993-12-2009 , ГОСТ Р 52770-2007 ) .

. Методика повірки електроенцефалографа Нейровізор БММ-52

Справжні рекомендації поширюються на електроенцефалографічні прилади і комплекси ( електроенцефалографи , електроенцефалоскопи , в тому числі , комп'ютеризовані ), призначені для реєстрації , вимірювання та аналізу електроенцефалографічних сигналів ( ЕЕГ) і викликаних потенціалів (ВП ) головного мозку на електро - , фото- , фоно- , відеостимуляцію і використовувані в діагностичних цілях , як вітчизняного , так і зарубіжного виробництва і встановлює методику їх первинної та періодичної повірок на місцях застосування або в стаціонарних умовах.

Міжповірочний інтервал встановлюється при затвердженні типу засобів вимірювань і має бути вказаний в експлуатаційній документації . У справжніх рекомендаціях використані посилання на такі стандарти: ГОСТ Р 50267-95 . Вироби медичні електричні . Частина 2 . Окремі вимоги безпеки до електроенцефалографів .

У справжніх рекомендаціях використано терміни з відповідними визначеннями по ГОСТ Р 50267-95 , ГОСТ 427-75 , ГОСТ 25706-83 :

         ЕЕ - прилад - електроенцефалографічний прилад ( електроенцефалограф) ;

         ЕЕА - електроенцефалоаналізатор ;

         СІ - засіб вимірювання ;

         ЕЕГ - електроенцефалограма ;

         ЕД - експлуатаційна документація ;

         АЧХ - амплітудо - частотна характеристика;

         ВП - викликаний потенціал ;

         ГФ - генератор функціональний ;

         ПКУ - перевірочний комутаційний пристрій ( еквівалент " шкіра - електрод " ) ;

.1 Операції повірки

Таблиця 2- Операції повірки

Найменування операції повірки

Номер пункту рекомендації

Проведення операції при



Первинній повірці

Періодичній повірці

1. Зовнішній огляд

6.1.

Так

Так

2. Опробування

6.2.1.- 6.2.7.

Так

Так

3. Визначення метрологічних характеристик

6.3.

Так

Так

3.1. Визначення метрологічних характеристик в режимі ЕЕГ -досліджень

6.3.1

Так

Так

3.2. Визначення відносної похибки калібратора амплітуди реєструючих ЕЕ - приладів

 6.3.2

 Так

 Так

3.3. Визначення відносної похибки калібратора міток часу реєструючих ЕЕ - приладів

6.3.3.

Так

Так

3.4. Визначення відносної похибки реєстрації калібрувального сигналу ЕЕА .

6.3.4.

Так

Так

3.5. Визначення ідентичності форм ЕЕГ- сигналів. Визначення діапазону і відносної похибки вимірювання амплітудних і часових параметрів сигналів ЕЕГ

6.3.5.

Так

Так

3.6. Визначення рівня внутрішніх шумів , наведеного до входу

6.3.6.

Так

Так


.2 Засоби повірки приладу

При проведені повірки приладу використовують засоби повірки зазначені в таблиці 3.

Таблиця 3 - Засоби повірки.

Найменування засобу повірки

Основні характеристики

1. Генератор функціональний ГФ-05 с ПЗУ: 4, ЭЭГ-7, М2, М4, М7, М10, М12, ЭМГ, М22, М19б/ф

Діапазон частот : ( 0.01-600 ) Гц; Відносна похибка установки частоти : ± 0.1 %; Діапазон розмаху напруги вихідного сигналу: 0.03мВ - 10В; Відносна похибка установки напруги вихідного сигналу: ± 0.9% для значення розмаху 1.0 В; ± 1.0% для значення розмаху 1.0 мВ ; ± 1.25 % для значень розмаху : 0.3 ; 0.4 ; 0.5 ; 0.6 ; 0.7 ; 0.8 ; 1.5 ; 2.0; 3.0; 4.0; 5.0; 6.0; 7.0 ; 8.0; 9.0 ; 10 В; ± 1.5 % для значень розмаху : 0.3 ; 0.4 ; 0.5 ; 0.6 ; 0.7 ; 0.8 ; 1.5 ; 2.0; 3.0; 4.0; 5.0; 6.0; 7.0 ; 8.0; 9.0 ; 10 мВ ; ± 2.5 % для значень розмаху 0.1; 0.2 В; ± 3.0 % для значень розмаху 0.1; 0.2 мВ ; ± 8.0 % для значень розмаху 0.03 ; 0.05 В; ± 9.5 % для значень розмаху 0.03 ; 0.05 мВ

2. Перевірочний комутаційний пристрій ПКУ-ЕКГ

Параметри еквівалента "шкіра-електрод": R1 = 51 кОм ± 2%; Rn = 100 Ом ± 2%; С = 47нФ ± 10%.

3. Перевірочний комутаційний пристрій ПКУ-ЕЕГ

Параметри еквівалента "шкіра-електрод": R1, ..., R16 = 22 кОм ± 1%; R17 = 100 Ом ± 2%; С1, ..., С16 = 3300 пФ ± 5%. Коефіцієнт ділення встановленого на ГФ-05 значення розмаху вихідного сигналу: 10000 ± 50 - між гніздами з непарними і парними номерами; 20000 ± 100 - між гніздами з будь-яким номером і гніздом "N".

4. Перевірочний комутаційний пристрій ПКУ-ЕМГ

Параметри еквівалента "шкіра-електрод": R1-R4 = 4.7 кОм ± 1%; R5 = 100 Ом ± 1%; R6 = 10 кОм ± 2%; R7 = 1 кОм ± 2%; U1, U3 - мікросхеми К155ЛА3; U2 - мікросхема К155ІЕ5; D1 - діод Д220Д; S1 - мікротумблер МТ-1.

5. Штангенциркуль

ГОСТ 427-75. Межа виміру - 100 мм. Ціна поділки - 0.1 мм


.3 Вимоги безпеки та до кваліфікації повірників

При проведенні повірки дотримуються вимог безпеки, зазначені в правилах техніки безпеки при експлуатації електроустановок споживачами (ПТБ) та ЕД на вивірений ЕЕП і засоби перевірки.

До проведення повірки допускаються особи, атестовані як повірників, які пройшли інструктаж з техніки безпеки і вивчили експлуатаційну документацію на вивірений ЕЕП, на засоби їх повірки і справжні рекомендації.

.4 Умови проведення повірки

При проведенні повірки дотримуються наступних умов:

Температура навколишнього повітря : ( 20 + / - 5 ) ° С;

Атмосферний тиск : ( 630 - 800 ) мм рт. ст. [ (840 - 1067) ГПа ] ;

Відносна вологість : ( 65 + / - 15 ) %;

Напруга живильної мережі : ( 220 + / - 4,4 ) В;

Частота живильної мережі : ( 50 + / - 0,5 ) Гц;

На робочому місці мережеві ланцюга для виключення електромагнітних перешкод розносять від вхідних ланцюгів ЕЕ - приладів на відстань не менше одного метра ;

Поблизу робочого місця забезпечують відсутність джерел електромагнітних перешкод .

Перед проведенням повірки виконують такі підготовчі роботи:

Перевіряють наявність свідоцтв про повірку або відбитків повірочного тавра на засобах повірки ;

Знайомляться з ЕД ЕЕ - приладу;

Готують до роботи ЕЕ- прилад і засоби перевірки згідно з вказівками ЕД .

. Проведення повірки

.1 Зовнішній огляд

При проведенні зовнішнього огляду перевіряють :

Наявність ЕД (формуляр (паспорт) , керівництво ( інструкція) з експлуатації , методика повірки або суміщений документ) на вивірений ЕЕ - прилад ;

Відповідність комплектності ЕД ;

Відсутність механічних пошкоджень, що впливають на його працездатність ;

Наявність і міцність кріплення органів управління і комутації , чіткість фіксації їх положень , плавність обертання ручок органів регулювання , наявність запобіжників;

Стан лакофарбових покриттів і чіткість маркування.

Допускається проводити повірку ЕЕ - приладу без запасних частин і приладдя , які не впливають на його працездатність і на результати повірки .

.2 Опробування

.2.1 Опробування реєструючих ЕЕ- приладів

При випробуванні проводять :

Перевірку дії органів управління та індикації відповідно з ЕД на ЕЕ - прилад ;

Перевірку працездатності вимірювальних каналів і приводу носія запису відповідно до ЕД на ЕЕ - прилад ;

Перевірку можливості калібрування ЕЕ - приладу по вбудованому калібратору відповідно з ЕД на ЕЕ - прилад ;

Перевірку працездатності пристрою контролю електродів відповідно до ЕД на ЕЕ - прилад ;

Перевірка функціонування та підтвердження відповідності програмного забезпечення ;

Перевірка функціонування ЕЕА в режимі реєстрації та аналізу сигналів.

.2.2 Перевірка дії органів управління та індикації

Відповідно до ЕД ЕЕ - приладу перевіряють справність і правильність дії органів управління та індикації . При цьому перевіряють справність усіх кнопок , вимикачів. Після цього звертають увагу на справність індикаторів, які знаходяться на приладі.

.2.3 Перевірка працездатності вимірювальних каналів і приводу носія запису

На ЕЕ - приладі встановлюють :

Чутливість - 0,02 мм / мкВ ( 50 мкВ ; 50 мкВ / мм ) або інша близьке значення , наявне на вивіреному типі ЕЕ - приладу , наприклад , 7 мм/500 мкВ ;

Постійну часу - 1 с;

Частоту зрізу - 70 Гц (або інше максимальне значення для вивіреного типу приладу ) ;

Множник чутливості (за наявності на вивіреному приладі ) - " х1 " ;

Швидкість запису (швидкість руху діаграмної стрічки , швидкість розгортки) - 3,75 мм / с ( або інше мінімальне значення для вивіреного типу приладу).

Перемикач роду робіт встановлюють у положення КАЛІБРУВАННЯ .

ЕЕ - прилад встановлюють в режим запису і переконуються в протягуванні діаграмної стрічки і запису калібрувального сигналу.

У процесі запису переконуються в наявності на записі міток часу.

Обертаючи ручки " О " (зміщення нуля ) по всіх каналах , переконуються у зміщенні нульової лінії .

.2.4 Перевірка можливості калібрування ЕЕ - приладу по вбудованому калібратору

На ЕЕ - приладі по всіх каналах встановлюють рід роботи в режим КАЛІБРУВАННЯ , множник чутливості - " х1 " , постійна часу - 0,3 с , частота зрізу фільтра - 70 Гц (або інше максимальне значення частоти зрізу фільтра для вивіреного типу приладу ) , швидкість запису ( швидкість розгортки) - 30 мм / с , ручки зміщення пера - в середнє положення.

Проводять запис калібрувального сигналу при всіх значеннях чутливості , наявних на вивіреному ЕЕ - приладі .

Переконуються по запису в проходженні калібрувального сигналу у всіх каналах при всіх значеннях чутливості.

.2.5 Перевірка працездатності пристрою контролю електродів

Перевірку функціонування пристрою контролю електродів, в залежності від типу ЕЕ-приладу, проводять відповідно до ЕД вивіреного ЕЕ- приладу.

електроенцефалограф електрод індикація калібрування

6.2.6 Перевірка функціонування та підтвердження відповідності програмного забезпечення

Операцію підтвердження відповідності програмного забезпечення проводять стосовно до комп'ютеризованим ЕЕА таким чином.

Включають харчування персонального комп'ютера ( ПК) з підключеними блоками ЕЕА . Запускають програмне забезпечення ( ПЗ). У процесі запуску ПО по екрану монітора ПК перевіряють ідентифікаційне найменування , номер версії ( ідентифікаційний номер ) і цифровий ідентифікатор ( контрольну суму виконуваного коду ) програмного забезпечення і порівнюють їх з даними , наведеними в ЕД на ЕЕА .

Після запуску ПО переконуються в появі на екрані монітора ПК Головного меню з командними кнопками і кнопками - прискорювачами . Встановлюючи покажчик миші на відповідній кнопці - прискорювачі , переконуються в тому , що поруч з зображенням кнопки з'являється інформація про призначення обраної кнопки. Встановлюючи покажчик миші на командних кнопках , переконуються у відкритті відповідних цим кнопкам підменю.

.2.7 Перевірка функціонування ЕЕА в режимі реєстрації та аналізу сигналів

Перевірка функціонування комплексу в режимі реєстрації сигналів проводиться з такого приблизного типовому алгоритму.

У головному меню відповідно до вказівок ЕД перевіряють можливість введення даних пацієнта ( ПІБ, вік , тощо) і можливість вибору програм реєстрації по всіх каналах. Переконуються в тому , що на екрані монітора з'являється повномасштабне робоче вікно, що містить поле для зображення ЕЕГ по всіх каналах (кількість каналів повинно відповідати зазначеному в ЕД) . Перевіряють наявність всіх передбачених у ЕД режимів і підрежимів роботи .

Перевіряють можливість вибору вихідних параметрів стимуляторів (електро - , фото- , фоно- , відеостимуляторів ) відповідно до ЕД .

При невиконанні будь-якої вимоги пп. 6.1 , 6.2 , 6.2.1 - 6.2.6 подальшу перевірку припиняють. На ЕЕ - прилад видають сповіщення про непридатність.

.3 Визначення метрологічних характеристик

Сутність визначення метрологічних характеристик ЕЕ - приладу зводиться до порівняння форми і амплітудо - часових параметрів нормованих випробувальних ЕЕГ - сигналу ( сигналів ВП) , що подаються з виходів генератора ГФ- 05 через еквіваленти шкірного опору об'єкта ПКУ- ЕЕГ на входи ЕЕ - приладу, з формою і амплітудо - часовими параметрами запису ( зображення ) цього сигналу на виходах ЕЕ - приладу. Крім того , для ЕЕГ , виконують режим спектрального аналізу ЕЕГ - сигналу , проводять порівняння результатів визначення ЕЕ - приладом спектральних характеристик сигналу з нормованими параметрами спектрального складу випробувального ЕЕГ - сигналу.

.3.1 Визначення метрологічних характеристик в режимі ЕЕГ - досліджень

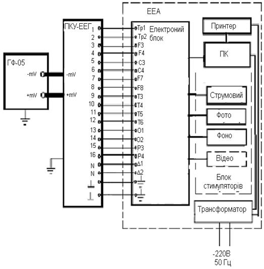
З'єднують ЕЕ - прилад , генератор функціональний ГФ- 05 і ПКУ- ЕЕГ згідно рис. 5. , звернувши особливу увагу на якість заземлення та захист місць контактних з'єднань від впливу перешкод (за допомогою шнурів відведень з'єднують гнізда щитка ЕЕ - приладу і гнізда ПКУ- ЕЕГ з однойменними номерами , а також нейтральний ( референтний ) електрод або його гніздо на щитку з гніздом "N " ПКУ- ЕЕГ) .

Вивірений ЕЕА , генератор функціональний ГФ- 05 і ПКУ- ЕЕГ з'єднують згідно рис. 6 .

Рис. 5. Схема з'єднання пристроїв при визначенні метрологічних характеристик реєструючого ЕЕ- приладу.

Рис. 6. Схема з'єднання пристроїв при визначенні метрологічних характеристик ЕЕА в режимі ЕЕГ- досліджень.

.3.2 Визначення відносної похибки калібратора амплітуди реєструючих ЕЕ - приладів

Визначення відносної похибки калібратора амплітуди у реєструючих ЕЕ - приладів проводять у кожному каналі шляхом реєстрації (запису ) внутрішнього калібрувального сигналу і зовнішнього сигналу при всіх значеннях чутливості ЕЕ - приладу .

Вид реєстрованого зовнішнього сигналу (прямокутний або синусоїдальний ) і його розмах ( для синусоїдального сигналу і частота) повинні відповідати виду і амплітуді ( і частоті ) внутрішнього калібрувального сигналу , зазначених у ЕД на вивіреному ЕЕ - приладі .

У адаптер генератора ГФ-05 встановлюють ПЗУ "4". Вид генерованого генератором ГФ- 05 зовнішнього сигналу і його розмах встановлюють натисканням кнопок:

Прямокутний сигнал ( меандр ) - натиснуті кнопки "В" і "" ;

Синусоїдальний сигнал - натиснута кнопка "А" ;

" РОЗМАХ Сігне . , V , mV " - натиснуті кнопки у відповідності з таблицею 4 .

" ЧАСТОТА , Hz " - натиснуті кнопки " 25 " і " 1:10 " ( 2,5 Гц ) (або інше значення частоти , рівне частоті калібрувального сигналу , вказане в ЕД вивіреного ЕЕ - приладу - тільки для калібрувального сигналу синусоїдальної форми) .

Органи управління ЕЕ - приладу встановлюють у таке положення:

Постійна часу - 1 с ( ~ 0,15 Гц) ;

Частота зрізу - 30 Гц;

Швидкість запису ( розгортки) - 30 мм / с;

Чутливість - згідно з таблицею 4 .

Таблиця 4.- Покази чутливості.

Рівень калібрувального сигналу, мкВ

10

20

50

100

500

1000

I. Для ЕЕ-приладів з ефективною широною розгортки 20 мм

Чутливість, мм/мкВ (мкВ, мкВ/мм,) мкВ/см

1,0 (1,0) 10

0,5 (2) 20

0,2 (5) 50

0,1 (10) 100

0,05 (20) 200

0,02 (50) 500

0,01 (100) 1000

II. Для ЕЕ-приладів з ефективною широною розгортки 14 мм

Чутливість, мм/мкВ

7 мм/ 10 мкв

7 мм/ 20 мкв

7 мм/ 50 мкв

7 мм/ 100мкв

7 мм/ 200мкв

7 мм/ 500мкв

7 мм/ 1000мкв

Розмах сигналу. V, mV (нажаті кнопки на ГФ-05) (Розмах сигналу на вході ЕЕГ, мкВ)

«0,1»  (10)

«0,2»  (20)

«0,5»  (50)

«1,0»  (100)

«2,0»  (200)

«5,0»  (500)

«5,0», «4,0», «1,0» (1000)


Проводять запис спочатку калібрувального сигналу , потім зовнішнього сигналу з виходу генератора ГФ- 05 з ПКУ- ЕЕГ ( див. рис 5 ) . На записах у всіх каналах вимірюють лінійні розміри рівня ( амплітуди) калібрувального сигналу ( hk ) , мм , і розмаху зовнішнього сигналу ( h в) , мм.

Відносну похибку калібратора амплітуди бк , у відсотках , визначають за формулою:

б к =( h к - h в )/( h в) ·100 , ( 1 )

де h к - виміряне значення лінійного розміру рівня ( амплітуди) калібрувального сигналу на записи , мм.в - виміряне значення лінійного розміру розмаху зовнішнього сигналу на записи , мм.

Результати вважаються позитивними , якщо значення відносної похибки калібратора амплітуди не перевищує 5 % або значення , наведеного в ЕД на вивіреному ЕЕ - прилад .

.3.3 Визначення відносної похибки калібратора міток часу реєструючих ЕЕ - приладів

Визначення відносної похибки калібратора міток часу проводять шляхом реєстрації (записи ) у будь-якому каналі зовнішнього трикутного сигналу при всіх значеннях швидкості запису ( розгортки) ЕЕ - приладу .

У адаптер генератора ГФ- 05 встановлюють ПЗУ "4".

Органи управління генератора ГФ- 05 встановлюють у таке положення:

Вид сигналу - всі кнопки "А" , "В" , "С" і " ▲ " відтиснуті ;

" РОЗМАХ Сігне . , V , mV " - натиснута кнопка "0,5" ( 50 мкВ ) ;

" ЧАСТОТА , Hz " - натиснута кнопка " 10 " ( 10 Гц).

Органи управління ЕЕ - приладу встановлюють у таке положення:

Постійна часу - 1 с ( ~ 0,15 Гц) ;

Частота зрізу - 30 Гц;

Швидкість запису ( розгортки) - 30 мм / с;

Чутливість - 0,1 мм / мкВ ( 10 мкВ / мм ) або 7мм/50мкВ (залежно від ефективної ширини записи вивіреного ЕЕ - приладу).

Проводять запис зовнішнього трикутного сигналу і вимірюють лінійний розмір тривалість 10 -ти періодів ( Lc ) , мм.

На записі міток часу по мітках часу відзначають інтервал часу тривалістю 1 с. Вимірюють лінійний розмір зазначеного інтервалу ( Lм ) , мм , і порівнюють його з лінійним розміром тривалості 10 - ти періодів трикутного сигналу ( Lс ) . Вимірювання Lс і Lм повторюють на трьох ділянках запису.

Відносну похибку калібратора міток часу бм , у відсотках , визначають за формулою:

б м = (L м - L з)/ L з ·100 , ( 2 )

де L м - лінійний розмір зазначеного інтервалу часу на записи міток часу , мм;з - лінійний розмір тривалості 10 -ти періодів записи трикутного сигналу , мм.

Аналогічно проводять реєстрацію ( запис) , вимір лінійних розмірів і визначення відносної похибки при установці на ЕЕ - приладі всіх наявних значень швидкості запису ( розгортки) .

Результати вважаються позитивними , якщо значення відносної похибки калібратора міток часу знаходиться в межах ±2 % або значення , наведеного в ЕД на вивіреному ЕЕ - прилад .

.3.4 Визначення відносної похибки реєстрації калібрувального сигналу ЕЕА

Відповідно до ЕД на ЕЕА встановлюють режим реєстрації калібрувального сигналу. Вибирають синусоїдальну або прямокутну форму калібрувального сигналу (залежно від типу ЕЕА ) з частотою 5 Гц і амплітудою 100 мкВ .

Проводять запис калібрувального сигналу в каналах протягом 10 сек. За допомогою візирних ліній (або шляхом укладення в рамку ) вимірюють розмах ( Uт мкВ ) і період ( Тт мс) внутрішнього калібрувального сигналу. Розмах сигналу повинен бути в межах ( 100 ± 5 ) мкВ а період - ( 200 ± 4 ) мс.

Проводять запис зовнішнього синусоїдального (або прямокутного ) сигналу з виходу генератора ГФ- 05 з частотою 5 Гц і амплітудою на вході ЕЕА 100 мкв.

За допомогою візирних ліній (або шляхом укладення в рамку ) вимірюють розмах ( Uвн мкВ ) і тривалість одного періоду зовнішнього сигналу ( ТВН мсек ) .

Відносну похибку розмаху ( δрт ) і частоти ( δчт ) калібрувального сигналу у відсотках визначають за формулами:

δрт = ( | Uт - Uвн | / Uвн ) · 100 ; δчт = ( | Тт - ТВН | / ТВН ) ·100 ( 3 )

Результати вважаються позитивними  якщо відносна похибка розмаху калібрувального сигналу знаходиться в межах ±5 %  а частоти - в межах ±2 % , або в межах значень , наведених у ЕД на ЕЕА .

.3.5 Визначення ідентичності форм ЕЕГ- сигналів. Визначення діапазону і відносної похибки вимірювання амплітудних і часових параметрів сигналів ЕЕГ

Визначення ідентичності форм ЕЕГ- сигналів, діапазону і відносної похибки вимірювання амплітудних і часових параметрів сигналів ЕЕГ шляхом реєстрації випробувального сигналу «ЕЕГ-7» і вимірювання його параметрів на виході ЕЕ -приладу . У адаптер генератора ГФ-05 встановлюють ПЗУ "ЕЕГ-7" з випробувальним ЕЕГ- сигналом, форма якого наведена на рис.7.

Рис.7. Форма досліджуваного сигналу.

На рис.7. зображено запис сигналу в монополярному відведення при установці наступного режиму :

На ГФ- 05 : " ЧАСТОТА Гц " - наж.кн. "2" ; " РОЗМАХ Сігне В, мВ " - наж.кн. " 4,0 " ;

На ЕЕ - приладі : чутливість - 0,2 мм / мкВ ( 5 мкВ ; 5 мкВ / мм); швидкість руху носія запису -50 мм / с.

У даному режимі сигнал має наступні номінальні значення амплітудо - часових параметрів: тривалість фрагмента тт. 1-1 (0-0) Т = 2 с; тривалість хвилі тт. 0-4 - 224661 мс; амплітуди : тт. 0-1 - 72,94 мкВ ; тт. 1-4 - 58,82 мкВ ; тт. 4-7 - 29,8 мкв ; тт. 1-20 - 122,35 мкв.

При установці органів управління ГФ- 05 в інші положення сигнал масштабується прямо пропорційно по амплітуді і обернено пропорційно за часом.

Органи управління генератора ГФ-05, чутливість, постійну часу, частоту зрізу фільтру і швидкість запису (розгортки) на ЕЕ- приладі (ЕЕА) встановлюють у положення, зазначені в заголовку таблиці 4 (режиму запису 1).

На ЕЕ - приладі ( ЕЕА ) у всіх каналах проводять запис калібрувального сигналу і запис (реєстрацію ) випробувального ЕЕГ - сигналу протягом не менше 10 с.

У всіх каналах проводять порівняння форми запису ( зображення ) сигналу з формою сигналу " ЕЕГ -7".

Згідно з рис.7 , на записах виділяють один фрагмент сигналу і перевіряють наявність та ідентичність всіх характерних точок з 0 по 40 . При виділенні фрагмента необхідно мати на увазі , що в записах "г" , відповідних відведенням з непарними номерами , точка 1 має максимальний рівень , а точка 20 - мінімальний рівень ; а в записах "с", відповідних відведенням з парними номерами , точка 1 має мінімальний рівень , а точка 20 - максимальний рівень.

На записі ЕЕГ - сигналу запам'ятовують розташування реперних точок 0 , 1 , 4 , 7 , 20, 40 .

Примітка - При роботі ЕЕ - приладу ( ЕЕА ) в режимі роботи по біполярним відведенням форму запису сигналу у всіх каналах порівнюють із записом " г " рис.7 .

Проводять вимірювання амплітудо - часових параметрів сигналу між крапками реперів зазначеними в таблиці 4 і порівнюють результати вимірів з даними , наведеними в таблиці 4.

Вимірювання проводять :

а) при повірці ЕЕА - на екрані монітора ПК за допомогою візирних ліній або шляхом укладення в рамку , в мкв і мс;

б) при повірці ЕЕ - приладів - за допомогою штангенциркуля або вимірювальної лупи на паперовому носії , в мм.

При вимірах лінійних розмірів ( в мм) амплітудних ( h і ) і тимчасових ( Lі ) параметрів сигналу на паперовому носії переведення їх в мкв і мс виробляють відповідно за формулами:

і = h і / Sу , мкВ ; Tи = 1000 Lі / Vу , мс ( 4 )

де h і , Lі - виміряні значення лінійних розмірів відповідно амплітудного тимчасового параметра сигналу між відповідними точками , мм;у - встановлене значення чутливості , мм / мкВ ;у - встановлене значення швидкості розгортки ( руху носія запису) і , мм /с.

Таблиця 5 - Амплітудно-часові параметри сигналу «ЕЕГ-7» .

Значення

Амплітудні параметри U, мкВ

Часові параметри T, мс


тт. 0-1

тт. 1-4

тт. 4-7

тт. 1-20

тт. 1-1’

тт. 0-4

Номін.

54,7

44,1

22,4

91,8

2000

225

Мін.

46,5

37,5

19,0

85,3

1960

220,5

Макс.

62,9

50,7

25,7

98,3

2040

229,5


В режимі установки на ГФ-05 : РОЗМАХ сигна - натиснуті кнопки «+1  0»  «2  0» (3,0 В, мВ)  ЧАСТОТА-натиснута кнопка «2» (частота повторення сигналу - 2 Гц); на ЕЕ- приладі (ЕЕА) : чутливість -10 мкВ / мм ; швидкість розгортки (руху носія запису) - 60 мм / с ; частотний діапазон фільтрів 0  5 - 35 Гц.

Таблиця 6 - Амплітудно-часові параметри сигналу «ЕЕГ-7».

Значення

Амплітудні параметри, мкВ

Часові параметри, мс


тт. 0-1

тт. 1-4

тт. 4-7

тт. 1-20

тт. 1-1’

тт. 0-4

Номін.

109,4

89,2

44,7

183,5

1000

112

Мін.

101,7

83,3

38,0

170,8

980

110

Макс.

117,1

95,4

51,4

196,3

1020

114


В режимі установки на ГФ-05 : РОЗМАХ сигна - натиснуті кнопки «+1  0»  «5  0»  ЧАСТОТА-натиснуті кнопки «40» і «1 : 10 »(частота повторення сигналу - 4 Гц) ; на ЕЕ- приладі (ЕЕА) ; чутливість -10 мкВ / мм ; швидкість розгортки (руху носія запису) - 120 мм / с ; частотний діапазон фільтрів 0  5 - 35 Гц.

Таблиця 7 - Амплітудно-часові параметри сигналу «ЕЕГ-7» .

Значення

Амплітудні параметри, мкВ

Часові параметри , мс


тт. 0-1

тт. 1-4

тт. 4-7

тт. 1-20

тт. 1-1’

тт. 0-4

Номін.

18,2

14,7

7,5

30,6

333

37,4

Мін.

15,5

12,5

6,3

26,0

326

36,7

Макс.

21,0

16,9

8,8

35,2

340

38,1


В режимі установки на ГФ-05 : РОЗМАХ сигма - натиснуті кнопки «+1  0»  ЧАСТОТА-натиснуті кнопки «60»  «1 :10» і «х2» (частота повторення сигналу - 12 Гц) ; на ЕЕ- приладі (ЕЕА) ; чутливість -1 мкВ / мм ; швидкість розгортки (руху носія запису) - 240 мм / с ; частотний діапазон фільтрів 0  5 - 70 Гц.

Результати вважаються позитивними  якщо виміряні значення амплітудо - часових параметрів випробувального ЕЕГ - сигналу знаходяться в межах  зазначених у таблицях 4 - 6. При цьому вважається , що відносна похибка вимірювання амплітудних параметрів ЕЕГ - сигналу знаходиться в межах : ± 15 % - у діапазоні від 10 до 50 мкВ ; ± 7 % - в діапазоні вище 51 мкВ ; а відносна похибка вимірювання часових параметрів - в межах ± 2 %.

Якщо у конкретного типу ЕЕ - приладу ( ЕЕА ) в ЕД нормовані значення відносної похибки вимірювань амплітудо - часових параметрів відрізняються від зазначених , то визначають абсолютну або відносну похибки вимірювань , залежно від того , що зазначено в ЕД ЕЕ - приладу ( ЕЕА ) .

Абсолютну похибку вимірювань амплітудних параметрів ▲ , в мкВ , визначають за формулою:

▲ = Uі - Uвх , ( 5 )

де Uв = hв / Sу - виміряне значення напруги між зазначеними точками , мкВ ;ів - лінійний розмір по вертикалі між зазначеними точками ;вх = U ном - номінальні значення амплітуд між зазначеними точками (див. таблиці 5 - 7 ) , мкВ ;у - номінальне значення встановленої чутливості на ЕЕ - приладі (див. таблиці 4 - 6 ) , мм / мкв.

Отримане значення абсолютної похибки порівнюють з допустимою похибкою , наведеної в ЕД на вивіреному ЕЕ - прилад ( ЕЕА ) .

Відносну похибку вимірювань амплітуд бu , у відсотках , визначають за формулою:

б u = ▲/(U ном )· 100 , ( 6 )

де ▲ і U ном - значення величин з формули ( 5 ) .

Відносну похибку вимірювань інтервалів часу ( часових параметрів ) б т , у відсотках , визначають за формулою

б т = (Ті - Т ном ) / (T ном) 100 , =( L і - L ном) / (L ном) 100 , ( 7 )

де Lі і L ном - відповідно виміряне і номінальне значення лінійного розміру по горизонталі , мм , відповідні інтервалам часу Ті та Т ном , с.

Якщо значення похибки вимірювань амплітудно -часових параметрів ЕЕГ - сигналу відповідають вимогам ЕД на вивіреному ЕЕ - прилад ( ЕЕА ) , то ЕЕ - прилад ( ЕЕА ) визнають придатним.

.3.6 Визначення рівня внутрішніх шумів , наведеного до входу

Визначення рівня шуму , приведеного до входу , проводять у кожному каналі ЕЕ - приладу ( ЕЕА ) .

Генератор ГФ- 05 вимикають , віджавши кнопку " МЕРЕЖА " . Положення інших кнопок генератора байдуже.

Органи управління ЕЕ - приладу ( ЕЕА ) встановлюють у таке положення:

Чутливість - 1 мм / мкВ ( 1 мкВ ; 1 мкВ / мм ) або інша максимальне значення чутливості для вивіреного типу приладу;

Швидкість розгортки ( руху носія запису ) - 15 мм / с або інше мінімальне значення швидкості для вивіреного типу приладу;

Постійна часу - 0,3 с;

Частота зрізу фільтра - 30 Гц.

Проводять запис протягом 60 с.

Вимірюють лінійні розміри максимального розмаху на всій довжині 60 - секундної записи і на трьох ділянках довжиною 15 мм (на інтервалах часу в 1 с). Крім того , вимірюють середнє значення коливань нульової лінії (шум з частотою менше 0,5 Гц) на ділянці довжиною 90 мм (на інтервалі часу в 6 с).

Рівень шуму , наведений до входу Uш , мкВ , визначають безпосереднім виміром за допомогою візирних ліній ( для ЕЕА ) або за формулою ( для реєструючих ЕЕ - приладів):ш = h в.ш. / S н , ( 8 )

де h в.ш. - Виміряне на записи значення лінійного розміру розмаху шуму , мм;н - номінальне значення встановленої чутливості ЕЕ - приладу , мм / мкв.

Якщо рівень шуму , наведений до входу , має наступні параметри :

         не більше одного викиду в 4 мкВ за 60 с;

         не більше одного викиду в 2 мкВ за 1 с;

         розмах коливань нульової лінії не більше 1,5 мкВ за 6 с або не перевищують значень , наведених у ЕД на вивіреному ЕЕ - прилад ( ЕЕА ) , ЕЕ - прилад ( ЕЕА ) визнають придатним.

.4 Оформлення результатів повірки

Результати повірки оформлюються протоколом , у якому для кожного вимірювального параметра вказують його значення визначенні при повірці та допустимі значення відомі за технічною документацією приладу.

Якщо ЕЕ - прилад ( ЕЕА ) за результатами повірки визнаний придатним до застосування , то на нього наносять знак повірки та (або) видають свідоцтво про повірку відповідно діючими нормативними документами.

Якщо ЕЕ - прилад ( ЕЕА ) за результатами повірки визнаний непридатним до застосування , знак повірки та свідоцтво про повірку анулюють і виписують сповіщення про непридатність із зазначенням причин або вносять відповідний запис у технічну документації .

Висновок

Життя і здоров'я людини - найдорожче, що є на світі. У медичних установах лікарі щодня рятують це найдорожче. Це важке завдання. І в цьому лікарям повинні допомагати точні і достовірні дані про стан хворого, отримані за допомогою засобів вимірювальної техніки, що застосовуються в медицині. Тому уся апаратура має показувати достовірні дані, а для цього потрібно проводити повірку апаратури після її напрацювання.

Повірка виробів медичного призначення і медичної техніки є обов'язковим етапом при виробництві та її застосуванні. Випробування передбачають, з одного боку, визначення ступеня і рівня відповідності реєстрованих виробів і техніки нормам охорони здоров'я, з іншого - формування офіційної інформації про реєстровані вироби. Дана домашня робота спрямована на ознайомлення з методикою повірки біомедичної апаратури, на прикладі електроенцефалографа Нейровізор БММ-52. В цій роботі описані структура та принципи роботи приладу, а також його технічні дані. Також було проаналізовано та описано етапи повірки електроенцефалографа та засоби з допомогою яких можливо виконати повірку. Після напрацювання певного періоду часу усі прилади можуть мати похибку результатів вимірювання, тому повірка приладів є обов’язковою для забезпечення надійного лікування пацієнтів.

Використана література

1. Егорова И. С. Электроэнцефалография М. Медицина, 1973.с. 296.

. Глудкин О. П. Методы и устройства испытаний РЭС и ЭВС. - М.: Высш. школа, 1991 - 335 с.

3.Метрологія. Документи до методик повірки засобів вимірювання. Основні положення (РМГ 51-2002, IDT): ДСТУ-Н РМГ 51:2006.- [Чинний з 2007-01-01].- [Електронний ресурс].- Режим доступу <http://document.ua/>. - (Рекомендации по межгосударственной стандартизации).

4. Рекомендация. Электроэнцефалографы, электроэнцефалоскопы. Методика поверки: МИ 2523-99. [Введ. 2000-01-01]. - М.: Изд-во стандартов, 1999. - 23 c. -(Государственная система обеспечения единства измерений).

5. Інтернет ресурс <http://www.ukrndnc.org.ua>..

. Інтернет ресурс <http://www.mks.ru/dev/EEG/NeuroVisor_BMM-52/>.

. Інтернет ресурс http://www.gosthelp.ru/gost/gost9591.html <http://vk.com/away.php?to=http%3A%2F%2Fwww.gosthelp.ru%2Fgost%2Fgost9591.html>.

. Інтернет ресурс <http://bestpravo.ru/rossijskoje/xi-instrukcii/k4w.htm> .

Похожие работы на - Методика повірки електроенцефалографа Нейровізор БММ-52

 

Не нашли материал для своей работы?
Поможем написать уникальную работу
Без плагиата!
Без нейросетей!