Дослідження параметрів та якості функціонування П регулятора на прикладі системи управління електроприводом постійного струму
ЧЕРКАСЬКИЙ НАЦІОНАЛЬНИЙ
УНІВЕРСИТЕТ
ІМЕНІ БОГДАНА ХМЕЛЬНИЦЬКОГО
Кафедра автоматизації та
комп’ютерно-інтегрованих технологій
КУРСОВА РОБОТА
з Теорії автоматичного
керування
на тему: ДОСЛІДЖЕННЯ
ПАРАМЕТРІВ ТА ЯКОСТІ ФУНКЦІОНУВАННЯ П РЕГУЛЯТОРА НА ПРИКЛАДІ СИСТЕМИ УПРАВЛІННЯ ЕЛЕКТРОПРИВОДОМ
ПОСТІЙНОГО СТРУМУ
Студента 3 курсу В
групи
напряму підготовки 6.050202
Автоматизація та комп’ютерно-інтегровані технології
Недогоди Сергія Дмитровича
Керівник: кандидат фізико-математичних наук,
старший викладач Подолян О.М.
м. Черкаси - 2014 рік
Зміст
ПЕРЕЛІК УМОВНИХ
СКОРОЧЕНЬ
ВСТУП
РОЗДІЛ І. СИСТЕМИ
АВТОМАТИЧНОГО РЕГУЛЮВАННЯ. ПРИНЦИПИ КЕРУВАННЯ ТА ВИДИ САР
.1 Короткі відомості
про системи автоматичного регулювання та їх типи
.2 Принципи керування
САР
.3 Регулятори. Їх
класифікація та закони регулювання
Розділ ІІ МАТЕМАТИЧНА
МОДЕЛЬ
.1 Загальна схема
регулятора та умови моделювання
.2 Аналіз об'єкта
регулювання
.3 Розрахунок
параметрів регулятора
РОЗДІЛ ІІІ РЕАЛІЗАЦІЯ
ЗА ДОПОМОГОЮ ПРОГРАМНОГО ПРОДУКТУ SIMULINK
.1 Аналіз якості
функціонування АСР
.2 Імітаційне
моделювання АСР, аналіз якості її функціонування й визначення запасів стійкості
ВИСНОВКИ
СПИСОК ВИКОРИСТАНИХ
ДЖЕРЕЛ
ПЕРЕЛІК УМОВНИХ СКОРОЧЕНЬ
.САУ - система автоматичного управління.
.САР - система автоматичного регулювання.
.ПЭОМ - персональна електронна обчислювальна машина.
.САК - система автоматичного керування.
.ТЕЛ - типові елементарні ланки.
.ЛЧХ - лінійна частотна характеристика.
.ЛАЧХ - лінійна амплітудно-частотна характеристика.
.ОР - об’єкт регулювання.
ВСТУП
Тема курсової роботи охоплює теоретичні основи побудови та
дослідження, аналізу та синтезу, оцінки стійкості та якості систем
автоматичного регулювання (САР) для реалізації оптимізації даних систем,
покращення їх робочих параметрів та характеристик.
При автоматизації виробничих процесів досягається більша
продуктивність праці та зниження собівартості продукції. Значний ефект
використання САК досягається при автоматизації як основних, так і допоміжних
процесів, при цьому можливе значне скорочення обслуговуючого персоналу. Його
роль зводиться до спостерігання за справністю роботи обладнання та систем
автоматичного керування
Актуальність: Оптимізація САР є одним з основних напрямків
теоретичних досліджень та практичного впровадження в автоматичному регулюванні.
САР широкому застосуванні програмного забезпечення для моделювання
технологічних процесів на виробництві.
Завданням роботи є:
. Дослідити параметри та якості функціонування П регулятора на
прикладі системи управління.
. Створити модель АСР в MATLAB/Simulink і побудувати криву
перехідного процесу, по якій оцінити показники якості регулювання -
перерегулювання.
. Виконати аналіз об'єкта регулювання.
. Зробити висновки за результатами досліджень.
Метою курсової роботи є дослідження параметрів, та якості функціонування
П- регулятора на прикладі системи управління електроприводом постійного струму.
Об’єкт дослідження курсової роботи - процес управління електроприводом
постійного струму за допомогою пропорційного регулятора.
РОЗДІЛ І. СИСТЕМИ АВТОМАТИЧНОГО РЕГУЛЮВАННЯ. ПРИНЦИПИ
КЕРУВАННЯ ТА ВИДИ
САР
1.1 Короткі відомості про системи автоматичного
регулювання та їх типи
Система автоматичного регулювання (САР) - така система автоматичного
керування <#"801483.files/image001.gif">
на
заданому рівні 
[2, 24].
Система автоматичного регулювання (САР)
<#"801483.files/image003.gif">
Рис. 1.1 Структурна схема САР. ЗП - задавальний пристрій; Р -
регулятор; ОР - об'єкт регулювання; g - задавальний вектор станів пристрою; у -
вектор станів регулятора; f - збурення; x - вектор станів об'єкта регулювання
(вихідна величина)
У такій системі контроль за фактичним станом об'єкта регулювання не
здійснюється, тому що близькість до бажаної поведінки системи забезпечується
тільки точністю всіх елементів системи і відповідним вибором задавального
вектора станів. Прикладом такої системи є параметричний стабілізатор напруги на
стабілітроні. По розімкненому принципу побудовані пристрої пуску, лінійні
підсилювачі, перетворювачі та ін.[9, 313].
Для компенсації відхилення x, що відбувається за рахунок появи збурень
застосовують принцип компенсації та принцип зворотного зв'язку.
Принцип компенсації полягає в перетворенні збурення у величину того ж
характеру, що і задавальний вплив, і зміні вектора регулятора таким чином, щоби
здійснювалася повна компенсація збурення. Для цього вводиться канал компенсації
КК.
Перевагою принципу компенсації є можливість досягти інваріантості по
збуренню. Недоліком є те, що відхилення вхідної величини від заданого значення
може бути викликане впливом інших збурень.
У статичному режимі для систем стабілізації існують наступні типи
залежностей вихідної величини 
від
величини збурення 
(рис.1.2):
Рис.1.2 Графік залежностей вихідної величини x(t) від величини збурення
f. 1 - перекомпенсація; 2 - інваріантність - властивість системи, в якій
збурення не впливає на вихідну величину; 3 - недокомпенсація; 4 - нелінійна
залежність
Принцип компенсації використовується в системах стабілізації змінних
стану об’єкта регулювання (струму, напруги, сили звуку, положення в просторі,
тощо) в умовах збурень (зміна струму навантаження, напруга мережі, тощо)[6, 317].
Принцип керування по відхиленню полягає в тому, що вихідна величина
вимірюється, і порівнюється з задавальним впливом. У результаті виділяється
деяке відхилення, що перетворюється у вектор регулювання
,
який впливає на ОР таким чином, щоби зменшити зміну 
.
У системі автоматичного регулювання для реалізації керування по
відхиленню вводять зворотний зв’язок на відміну від принципу компенсації, в
якому немає зворотного зв’язку, і вихідна величина не надходить на вхід схеми[2, 251].
Переваги принципу зворотного зв’язку:
) відхилення х зменшується незалежно від того, якими факторами воно
викликане;
) менша чутливість до зміни параметрів елементів схеми в порівнянні з
розімкненими системами;
) принцип можна застосовувати до об'єктів, характеристики яких невідомі
- бажано знати характеристики об’єкту, але не обов’язкове детальне і точне
знання всіх характеристик, більш принциповою є умова можливості керування,
тобто керованості об’єкту керування;
) технічно легше реалізовується в порівнянні з розімкненими системами,
де необхідний точний попередній розрахунок всіх параметрів, характеристик та
сигналів, їх узгодження між собою, а також підлаштування параметрів в процесі
роботи.
Недоліки:
) для систем із зворотними зв’язками характерна проблема стійкості[7, 274].
Застосування комбінованого регулювання по збуренню та відхиленню
підвищує ефективність регулювання. Комбіновані регулятори поєднують переваги
обох принципів - швидкість реакції на зміну збурення і точне регулювання
незалежно від причини, що викликала відхилення. Подібні системи рекомендується
застосовувати для керування об’єктами, які характеризуються наявністю істотних
збурень, великою інерційністю і присутністю транспортного запізнення.
1.3 Регулятори. Їх класифікація та закони регулювання
Стабілізуючі регулятори. Найбільше поширення отримали
стабілізуючі регулятори.
Стабілізуючі регулятори класифікуються на інтегральні (І),
пропорційні (П), пропорційно-інтегральні (ПІ), пропорційно-диференціальні (ПД)
і пропорційно-інтегрально-диференціальні (ПІД).
Закон регулювання
<#"801483.files/image011.gif">
Рис. 2.1 Структурна схема АСР
На цій схемі: g(t) - вплив, що задає; z(t) - вплив, що
обурює, наведений до входу об'єкта; (t) - неузгодженість; y(t) - вихідна
(регульована) змінна; u(t) = u1(t) + u2(t) + u3(t) - керуючий вплив.
Відомі числові значення параметрів системи й діючих сигналів
наведені в табл. 2.1. Залежність перерегулювання від коефіцієнта демпфірування
в системі другого порядку зазначено в табл. 2.1.
Необхідно:
1. Виконати аналіз об'єкта регулювання.
2. Визначити числові значення невідомих параметрів
регулятора (позначених *), що забезпечують компенсацію «великої» постійної часу
і задане перерегулювання s = 20 %.
. Визначити сталі значення сигналів u1уст, u3уст, yуст
при дії на входах постійних сигналів g0 = 0 ; z0 = 5 .
. Розрахувати статичне відхилення (статичну помилку).
. Створити модель АСР в MATLAB/Simulink і побудувати
криву перехідного процесу, по якій оцінити показники якості регулювання:
перерегулювання; час регулювання з точністю 5 %; статичне відхилення (статичну
помилку); число коливань і ін.
. На основі точної ЛЧХ на ПЕОМ визначити запаси
стійкості по модулю й фазі. Оцінити ці ж параметри по асимптотичній ЛАЧХ і
порівняти результати.
. Зробити висновки за результатами досліджень.
Таблиця 2.1
Початкові умови
|
Вар.
|
k
|
Т1, с
|
Т2, с
|
koc
|
k1
|
k2
|
k3
|
g0
|
z0
|
u1уст
|
u2уст
|
u3уст
|
yуст
|
s, %
|
|
8
|
4
|
0,6
|
0
|
0
|
*
|
0
|
0
|
0
|
5
|
*
|
-
|
-
|
*
|
20
|
2.2 Аналіз об'єкта регулювання
Відповідно до завдання, структурна схема об'єкта регулювання
(ОР) набуде вигляд, представлений на рис. 2.2.
Рис. 2.2 Структурна схема ОР
(2.1)
Функція передачі ОР
(2.2)
Визначимо тип першої ланки об'єкта. Функцію передачі цієї
ланки можна записати у вигляді
(2.3)
Ця ланка є аперіодичною першого порядку.
Друга ланка об'єкта являє собою інтегратор, охоплений негативним
зворотним зв'язком, і його функція передачі
(2.4)
У результаті одержали інерційну ланку першого порядку.
Таким чином, функцію передачі об'єкта набуде вигляд
.
(2.5)
Далі необхідно вибрати параметри регулятора, що забезпечують
компенсацію «великої» постійної часу Т2 = 0 і перерегулювання s = 20 %.
.3
Розрахунок параметрів регулятора
Структурна схема регулятора для заданих параметрів набуде
вигляд, показаний на рис. 2.3. Коефіцієнт К1 потрібно визначити.
Рис. 2.3 Структурна схема регулятора
(на цій схемі s º p)
У відповідності зі структурною схемою регулятор є
пропорційним. Його функція передачі
Функція передачі розімкнутої системи
(2.7)
З урахуванням відомих параметрів
(2.8)
З урахуванням компенсації «великої» постійної часу функція
передачі розімкнутого ланцюга системи
(2.9)
Функція передачі замкнутої системи
(2.10)
або
(2.11)
Таким чином, замкнута система являє собою систему другого
порядку. Перерегулювання в такій системі залежить від коефіцієнта
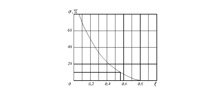
демпфірування. Ця залежність наведена на рис. 2.4.
За завданням потрібно забезпечити перерегулювання s = 20 %. Відповідно до рис.
2.4 необхідне значення коефіцієнта демпфірування в системі x » 0,45.
Таблиця 2.2
Залежність перерегулювання від коефіцієнта демпфірування у
системі другого порядку
|
x
|
0,1
|
0,2
|
0,3
|
0,4
|
0,5
|
0,6
|
0,7
|
0,8
|
0,9
|
1,0
|
|
s, %
|
73
|
53
|
37
|
25
|
16
|
9
|
5
|
1,5
|
0,3
|
0
|
Рис. 2.4 Залежність перерегулювання від коефіцієнта
демпфірування в коливальній системі другого порядку
Виходячи з (2.11)
(2.12)
,
(2.13)
звідки, з урахуванням x » 0,45, К1 = 5,5.
Дані розрахунки є важливими в моделюванні системи
перерегулювання електроприводу.
РОЗДІЛ
ІІІ. РЕАЛІЗАЦІЯ ЗА ДОПОМОГОЮ ПРОГРАМНОГО ПРОДУКТУ SIMULINK
автоматичний
регулювання електропривод
3.1 Аналіз якості функціонування
АСР
Структурна схема системи з реальним пропорційно-інтегральним
регулятором наведена на рис. 3.1.
Рис. 3.1 Структурна схема (модель) АСР.
Розрахунок статичного відхилення виходу й сталих значень
сигналів. За умовою статичне відхилення виходу необхідно визначити для завдання
g0 = 0 і збурення z0 = 5.
Функцію передачі АСР по збуренню для знайденого вище
параметра регулятора К1 з урахуванням компенсації «великої» постійної часу
запишемо у вигляді
(3.1)
Стале значення вихідної величини
(3.2)
Стала неузгодженість
(3.3)
Сталі значення сигналу П- регулятора
(3.4)
3.2 Імітаційне моделювання АСР, аналіз якості її
функціонування й визначення запасів стійкості
Імітаційна модель АСР наведена на рис. 3.2.
Ця модель відповідає структурній схемі, наведеній на рис.
3.1. В ній передбачений задатчик (блок step), що дозволяє сформувати завдання
g(t), а також цифрові дисплеї (Display…Display4) для точного визначення сталих
значень сигналів u1(t), u2(t), u3(t) і y(t). Відзначимо, що сталі значення цих
сигналів, отримані в результаті моделювання, збігаються з розрахунковими.
Крива перехідного процесу для вихідної величини наведена на
рис. 3.3.
Знайдемо прямі оцінки якості:
перерегулювання визначимо по формулі.
(3.5)
у досліджуваній АСР перерегулювання
=
66%,
· час регулювання
Рис. 3.2 Імітаційна модель АСР в Simulink.

Провівши аналіз отриманих даних, було зроблено висновок, що система не
є стійкою, вирівнюється відносно
за
короткий час
ВИСНОВКИ
В ході виконання курсової роботи було досліджено параметри та якості
функціонування пропорційного регулятора на прикладі системи управління.
Створено модель АСР в MATLAB/Simulink і побудовано криву перехідного процесу.
Також було оцінено показники якості перерегулювання.
З
отриманих даних можна зробити висновки, що дана система не задовольняє наші
умови, бо система не є стійкою, самовирівнюється за короткий час, вирівнюється
.
Також
з отриманих даних в ході роботи було зроблено висновок, що:
1. Задана структура системи реалізує пропорційний закон регулювання.
. Для забезпечення заданого перерегулювання, параметр регулятора
повинен дорівнювати: К1 = 5.5.
3. Статичне
відхилення в системі
; час регулювання становить
Отже, на основі дослідженої системи можна спроектувати САР,
що використовуватиметься в автоматизації систем управління електроприводи постійного
струму, але система не задовольняє технологічним умовам і потребує технічного
втручання.
Отримані результати можна використовувати при дослідженні САР
зі зміненими вхідними даними та параметрами. Також опрацьовані матеріали
можливо використовувати при моделюванні систем та їх поведінки, для розрахунків
параметрів оптимізації САР.
СПИСОК ВИКОРИСТАНИХ ДЖЕРЕЛ
1. Бессекерский, В. А. Теория систем автоматического
регулирования/ В. А. Бессекерский, Е.
П. Попов. - М.: Наука, 1972. - 768
с.
2. Воронов, А. А. Основы теории автоматического управления: Автоматическое регулирование
непрерывных линейных систем/
А. А. Воронов. -
М.: Энергия, 1980. - 310 с.
. Воронов, А. А. Основы теории автоматического
управления: особые линейные и нелинейные системы/
А. А. Воронов. - М.: Энергоиздат, 1981. - 304 с.
. Зайцев, Г. Ф. Основы теории автоматического
управления и регулирования/ В. И. Костюк, П. И. Чинаев, Г. Ф. Зайцев. - К.:
Технаса, 1977. - 422 с.
. Попов, Е. П. Теория линейных систем
автоматического регулирования и управления/ Е. П. Попов. - М.: Наука, 1978. - 256 с.
. Солодовников, В. В., Основы теории и элементы систем автоматического регулирования/ В. В. Солодовников, В. Н. Плотников,
А. В. Яковлев. - М.: Машиностроение, 1985. - 536 с.
. Філіпс, Ч. В. Системи управління зі
зворотним зв’язком/
Ч. В. Філіпс, Р. С. Харбор. - М.: Лабораторія базових знань, 2001. - 616 с.
. Цыпкин, Я. З. Основы теории автоматических систем/
Я. З. Цыпкин. - М.: Наука, 1977. - 560 с.
9. Цыпкин,
Я.З. Теория линейных импульсных систем/
Я. З. Цыпкин. - М.:
Физматгиз, 1963. - 968 с.
. Щербина, Г. С. Теория автоматического управления/
Г. С. Щербина, О. Е. Потап, А. П. Егоров. - Днепропетровск:
ГИПОмет, 2003. - 54 с.