Датчики измерения давления, температуры и качества воздуха

  • Вид работы:
    Реферат
  • Предмет:
    Информатика, ВТ, телекоммуникации
  • Язык:
    Русский
    ,
    Формат файла:
    MS Word
    583,63 Кб
  • Опубликовано:
    2015-04-03
Вы можете узнать стоимость помощи в написании студенческой работы.
Помощь в написании работы, которую точно примут!

Датчики измерения давления, температуры и качества воздуха

Содержание

Введение

Классификация датчиков

Требования к датчикам

Емкостные датчики измерения влажности

Требования

Функции

Принцип работы

Устройство

Технические характеристики

Датчик измерения температуры

Требования

Функции

Принцип работы

Устройство

Технические характеристики

Датчик измерения качества воздуха

Требования

Функции

Принцип работы

Устройство

Технические характеристики

Заключение

Литература

Введение

Датчик - это устройство, воспринимающее внешние воздействия и регулирующее на них изменением электрических сигналов. Назначение датчиков - реакция на определенное, внешнее физическое воздействие и преобразование его в электрический сигнал, совместный с измерительными схемами. Другими словами, можно сказать, что датчик - это преобразователь физической величины (часто неэлектрической) в электрический сигнал.

Под термином электрический сигнал понимается сигнал, который может быть преобразован при помощи электронных устройств, например, усилен или передан по линии передач. Выходными сигналами датчиков могут быть напряжение, ток или заряд, которые описываются следующими характеристиками: амплитудой, частотой, фазой или цифровым кодом. Этот набор характеристик называется форматом выходного сигнала. Таким образом, каждый датчик характеризуется набором выходных параметров (любой физической природы) и набором выходных электрических параметров.

Любой датчик является преобразователем энергии. Вне зависимости от типа измеряемой величины всегда происходит передача энергии от исследуемого объекта к датчику. Работа датчика - это особый случай передачи информации, а любая передача информации связана с передачей энергии. Очевидным является тот факт, что передача энергии может проходить в двух направлениях, т.е. она может быть как положительной, так и отрицательной, например, энергия может передаваться от объекта к датчику, и, наоборот, от датчика к объекту.

В данной работе я решил рассмотреть датчики измерения давления, температуры и качества воздуха.

Классификация датчиков

Все датчики можно разделить на 2 категории: активные и пассивные. Пассивный датчик не нуждается в дополнительном источнике энергии и в ответ на изменение внешнего воздействия на его выходе всегда появляется электрический сигнал. Это означает, что такой датчик преобразует энергию внешнего сигнала в выходной сигнал. Примерами пассивных датчиков являются термопары, фотодиоды и пьезоэлектрическиечувствительныеэлементы.

В отличие от пассивных активный датчик требует внешней энергии, называемой сигналом возбуждения. Фактически, в активных датчиках происходит преобразование изменения их внутренних характеристик в электрические сигналы. Примерами таких датчиков являются термисторы, резистивные тензодатчики и т.д.

В зависимости от выбора точки отсчета датчики можно разделить на абсолютные и относительные. Абсолютный датчик определяет внешний сигнал в абсолютных физических единицах, не зависящих от условий проведения измерений, тогда как выходной сигнал относительного датчика в каждом конкретном случае может трактоваться по - разному. Примером абсолютного датчика является термистор, а относительного - термопара.

Используемые датчики весьма разнообразны и могут быть классифицированы по различным признакам:

В зависимости от вида входной (измеряемой) величины различают: датчики механических перемещений (линейных и угловых), пневматические, электрические, расходомеры, датчики скорости, ускорения, усилия, температуры, давления и др.

По виду выходной величины, в которую преобразуется входная величина, различают неэлектрические и электрические: датчики постоянного тока (ЭДС или напряжения), датчики амплитуды переменного тока (ЭДС или напряжения), датчики частоты переменного тока (ЭДС или напряжения), датчики сопротивления (активного, индуктивного или емкостного) и др.

Большинство датчиков являются электрическими. Это обусловлено следующими достоинствами электрических измерений:

электрические величины удобно передавать на расстояние, причем передача осуществляется с высокой скоростью;

электрические величины универсальны в том смысле, что любые другие величины могут быть преобразованы в электрические и наоборот;

они точно преобразуются в цифровой код и позволяют достигнуть высокой точности, чувствительности и быстродействия средств измерений.

По принципу действия датчики можно разделить на два класса: генераторные и параметрические (датчики-модуляторы). Генераторные датчики осуществляют непосредственное преобразование входной величины в электрический сигнал.

По принципу действия датчики также можно разделить на омические, реостатные, фотоэлектрические (оптико-электронные), индуктивные, емкостные ид.р.

Различают три класса датчиков:

аналоговые датчики, т. е. датчики, вырабатывающие аналоговый сигнал, пропорционально изменению входной величины;

цифровые датчики, генерирующие последовательность импульсов или двоичное слово;

бинарные (двоичные) датчики, которые вырабатывают сигнал только двух уровней: "включено/выключено" (иначе говоря, 0 или 1); получили широкое распространение благодаря своей простоте.

Требования к датчикам

Требования, предъявляемые к датчикам:

однозначная зависимость выходной величины от входной;

стабильность характеристик во времени;

высокая чувствительность;

малые размеры и масса;

отсутствие обратного воздействия на контролируемый процесс и на контролируемый параметр;

работа при различных условиях эксплуатации;

различные варианты монтажа.

Кроме этого, датчики должны быть конструктивно удобными для размещения и фиксации, не иметь острых и выступающих краев, не содержать жидких и полужидких элементов (спирт, масло), по возможности не потреблять энергию и не оказывать энергетического воздействия на объект исследования.

Так же к датчикам предъявляются отдельные требования в зависимости от условий их эксплуатации.

Емкостной датчик измерения влажности

Требования

Наиболее важные технические параметры, которые необходимо просмотреть при выборе датчика влажности, это:

точность

повторяемость

взаимозаменяемость

долгосрочная стабильность

восстановление от конденсата

стойкость к химическим и физическим загрязнениям

размер

корпус

стоимость

Функции

Также может использоваться для определения содержания влаги в образцах различных материалов.

Принцип работы

В простейшем случае емкостные гигрометры это просто обычные конденсаторы с воздушным зазором. Диэлектрическая проницаемость воздуха зависит от влажности, и ее изменение приведет к изменению емкости.

В более сложном случае воздушный зазор может быть заменен диэлектриком, диэлектрическая проницаемость которого сильно меняется под действием влажности. Такой подход позволяет улучшить качества датчика.


Устройство: Чувствительный элемент представляет собой многослойную структуру (рисунок 1). На кремниевой подложке 1 напылена платиновая пленка 2,которая образует первый электрод конденсатора. Диэлектриком между обкладками служит термореактивный полимер 3, поверх которого выполнена вторая обкладка конденсатора - платиновая пленка с перфорацией 4, позволяющая влаге проникать к абсорбирующему слою 3 и изменять его относительную диэлектрическую проницаемость ξ, а соответственно - и емкость С конденсатора (см. формулу 1). Верхним слоем является пленка термореактивного полимера 5, которая служит защитой от пыли и грязи. Также эта конструкция делает возможной промывку датчиков, для этой цели рекомендуется использовать изопропиловый спирт.


Общие технические параметры датчика HIH-4020-002:

Диапазон измерения RH, %

0…100 %

Нелинейность, %

0.5 %

Время отклика, с

5 с

Рабочая температура, °С

-40…85 °C

Напряжение питания, В

5.8 В

Температура хранения

-50…125 °C


Датчик HIH-4020-002.

Датчик измерения температуры

Требования

Температурный диапазон

Толщина чувствительного элемента минимальна, для улучшения быстродействия датчика

Увеличение площади чувствительного элемента при минимальной массе, большой теплопроводности и низкой удельной теплоемкости, для улучшения чувствительности

Защитный корпус должен иметь низкое тепловое сопротивление и хорошие диэлектрические свойства, так же он должен быть водонепроницаем

Функции

Проведения измерений температуры окружающей среды

Принцип работы

Кремниевый датчик состоит из кристалла кремния n-типа, металлизированного с одной стороны и с контактной площадкой с другой стороны.

Измерение температуры всегда заключается в передаче небольшой порции тепловой энергии от объекта к датчику, который должен преобразовать эту энергию в электрический сигнал. Когда контактный детектор (зонд) помещается внутрь объекта или на него, между объектом и зондом происходит передача тепла за счет теплопроводности. При этом чувствительный элемент, входящий в состав зонда, либо разогревается, либо охлаждается.

Кремниевый датчик относится к абсолютным, т.е. измеряет температуру относительно либо абсолютного нуля, либо другой точки температурной шкалы

Устройство

. Чувствительного элемента: материала, реагирующего на изменение его собственной температуры.

. Контактов: проводящих пластинок или проводов, связывающих чувствительный элемент с внешней электронной схемой

. Защитной оболочки: специальной оболочки или покрытия, физически разделяющего чувствительный элемент от окружающей среды


Общие технические параметры датчика LM75A:

Диапазон измеряемой температуры, °С

-55…+150

Погрешность, ±°С

2,0

Разрешение, °С

0,125

Время преобразования, с

0,1

Напряжение питания, В

2,5...5,5

Выходные сигналы

I2C

Датчики измерения качества воздуха

Требования

Высокая чувствительность

Возможность самокалибровки

Функции

Контроль концентрации С02

Осуществление автоматического проветривания, при превышении допустимого значения

Принцип работы

Датчики измеряют концентрацию CO2 с использованием недисперсионного инфракрасного анализатора, имеющего длительный срок службы и обеспечивающего высокую точность измерений. Принцип его работы основан на увеличении степени ослабления инфракрасного излучения с ростом концентрации CO2 в воздухе помещения. Датчики имеют интервал измерения 0 - 2000 ppm CO2 и управляются микропроцессором. С семидневным интервалом они самокалибруются при условии единоразового получения в течение этого периода доступа к свежему воздуху с содержаниемCO2300-400ppm.

Устройство


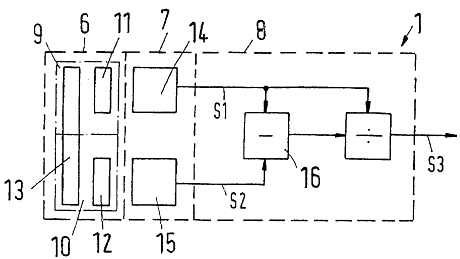
Инфракрасный датчик (ИК-датчик) (1) содержит сборный фильтр (6), позади которого расположен сборный детектор (7), и вычислительное устройство (8), связанное со сборным детектором (7). Сборный фильтр (6) содержит первый фильтр (9) и второй фильтр (10), выполненные в виде полосовых фильтров и имеющие соответственные полосы пропускания, из которых первый фильтр (9) пропускает установленную ИК-полосу, а второй фильтр (10) ее не пропускает. Сборный детектор включает два детектора (14, 15), из которых каждому сопоставлен фильтр (9, 10). Полоса пропускания одного фильтра (10) лежит внутри полосы пропускания другого фильтра (9), а вычислительное устройство (8) формирует рассогласование сигналов (S1, S2) детекторов (14, 15) и нормирует рассогласование на сигнал (S1) детектора (14).

Технические параметры

Напряжение питания

24 B переменного ⁄ постоянного тока

Чувствительные элементы

Анализатор углекислого газа: оптический (NDIR), недисперсионная инфракрасная технология

Диапазон измерения

Погрешность измерения

CO2 ± 100 ppm

Выходной сигнал

Выход CO2: 0 -10 B

Время выхода на рабочий режим

1 час

Степень защиты

IP 30

Температура окружающей среды

0 …+ 50 °C

Размеры

98 x 106 x 32 мм (Frija II) 100 x 100 x 25 мм (корпус из высококачественной стали)

 

Заключение

Датчики климатических условий служат для обеспечения хороших условий для работы и жизнедеятельности в местах, где они расположены.

Я рассмотрел данные типы датчиков поскольку они являются наиболее простыми по своему устройству и принципу действия , в следствии чего эти датчики наиболее востребованы.

Каждому датчику предъявляются не только общие требования, а так же требования в соответствии с условиями их эксплуатации. Датчики выполняющие одинаковые функции могут быть разнообразны по своему устройству, что связано с предъявляемыми к ним требованиями по условиям монтажа.

В основе принципа действия датчиков лежат физические явления такие, как, например, теплопроводность в датчике температур, изменение емкости конденсатора в гигрометре и т.д.

датчик давление температура воздух

Литература

<http://andrew1955.ucoz.ru/Info/Sensors/Hum/14-17.pdf>

<http://otherreferats.allbest.ru/radio/00130592_0.html>://www.findpatent.ru/patent/233/2339020.html

Дж. Фрайден «Современные датчики. Справочник»

Похожие работы на - Датчики измерения давления, температуры и качества воздуха

 

Не нашли материал для своей работы?
Поможем написать уникальную работу
Без плагиата!
Без нейросетей!