Системы для магнитной обработки воды
КУРСОВАЯ РАБОТА
Системы для магнитной
обработки воды
Введение
Воздействие магнитного поля на воду носит комплексный
многофакторный характер и в конечном результате сказывается на изменениях
структуры воды и гидратированных ионов, физико-химических свойствах и поведении
растворённых в ней неорганических солей. При воздействии на воду магнитного
поля в ней изменяются скорости химических реакций за счет протекания
конкурирующих реакций растворения и осаждения растворенных солей, происходит образование
и распад коллоидных комплексов, улучшается электрохимическая коагуляция с
последующей седиментацией и кристаллизацией солей. Также имеются достоверные
данные, указывающие на бактерицидное действие магнитного поля, что существенно
для использования магнитной обработки воды в сантехнических системах, где
требуется высокий уровень микробной чистоты.
В настоящее время гипотезы, объясняющих механизм воздействия
магнитного поля на воду подразделяются на три основные взаимодополняющие группы
- коллоидные, ионные и водные. Первые предполагают, что под влиянием магнитного
поля в обрабатываемой воде происходит спонтанное образование и распад
коллоидных комплексов ионов металлов, фрагменты распада которых формируют
центры кристаллизации неорганических солей, что ускоряет их последующую
седиментацию. Известно, что наличие в воде ионов металлов (особенно железа Fe3+)
и микровключений из
ферромагнитных частиц железа Fe2O3интенсифицирует образование коллоидных
гидрофобных золей ионов Fe3+ с ионами хлора Cl- и молекулами воды Н2О общей формулы
[xFe2O3.yH2O·zFe3+].3zCl-, что может привести к
появлению центров кристаллизации на поверхности которых адсорбируются катионы
кальция Ca2+ и магния Mg2+, составляющие основу
карбонатной жесткости воды, и образованию мелкодисперстного кристаллического осадка,
выпадающего в виде шлама. При этом, чем больше и устойчивее гидратная оболочка
ионов, тем труднее им сближаться или оседать на адсорбирующих комплексах на
поверхностях раздела жидкой и твердой фаз.
Гипотезы второй группы объясняют действие магнитного поля
поляризацией растворённых в воде ионов и деформацией их гидратных оболочек,
сопровождающаяся уменьшением гидратации - важного фактора, обуславливающего
растворимость солей в воде, электролитическую диссоциацию, распределение веществ
между фазами, кинетику и равновесие химических реакций в водных растворах, в
свою очередь повышающей вероятность сближения гидратов ионов и процессы
седиментации и кристаллизации неорганических солей. В научной литературе
имеются экспериментальные данные, подтверждающие, что под влиянием магнитного
поля происходит временная деформация гидратных оболочек расстворенных в воде
ионов, а также изменяется их распределение между твердой и жидкой водяной
фазой. Предполагается, что воздействие магнитного поля на расстворенные в воде
ионы Ca2+, Mg2+, Fe2+ и Fe3+ может быть также связано
с генерированием в движущемся потоке воды слабого электрического тока или с
пульсацией давления.
Гипотезы третьей группы постулируют, что магнитное поле за
счет поляризации дипольных молекул воды оказывает воздействие непосредственно
на структуру ассоциатов воды, образованных из множества молекул воды, связанных
друг с другом посредством низкоэнергетичных межмолекулярных ван-дер-вальсовых,
диполь-дипольных и водородных связей, что может привести к деформации
водородных связей и их частичному разрыву, миграции подвижных протонов Н+ в ассоциативных элементах
воды и перераспределению молекул воды во временных ассоциативных образованиях
молекул воды - кластерах общей формулы (Н2О)n, где n по
последним данным может достигать от десятков до нескольких сотен единиц. Эти
эффекты в совокупности могут привести к изменению структуры воды, что
обуславливает наблюдаемые изменения её плотности, поверхностного натяжения,
вязкости, значения рН и физико-химических параметров протекающих в воде
процессов, в т. ч. растворения и кристаллизации расстворенных в воде
неорганических солей. В результате содержащиеся в воде магниевые и кальциевые
соли теряют способность формироваться в виде плотного отложения - вместо
карбоната кальция СаСО3 образуется более щадящая мелкокристаллическая полиморфная
форма СаСО3, по структуре напоминающая арагонит, который или совсем
не выделяется из воды, поскольку рост кристаллов останавливается на стадии
микрокристаллов, или выделяется в виде тонкодисперсной взвеси, скапливающейся в
грязевиках или отстойниках. Также имеются сведения о влиянии магнитной
водообработки на уменьшение концентрации в воде кислорода и углекислого газа,
что объясняется возникновением метастабильных клатратных структур катионов
металлов по типу гексааквакомплекса [Са(Н2О6)]2+.
Комплексное воздействие магнитного поля на структуру воды и гидратированные
катионы солей жесткости открывает широкие перспективы для использования
магнитной обработки воды в теплоэнергетике и смежных отраслях промышленности, в
т.ч. в водоподготовке.
Магнитная обработка воды широко внедряется во многих отраслях
промышленности, сельском хозяйстве и медицине.
Целью курсовой работы является диагностика воды, прошедшей
обработку в магнитной системе.
Для достижения этой цели необходимо решить следующие задачи:
изучить механизмы воздействия магнитного поля на воду и
конструкции аппаратов для магнитной обработки воды;
рассмотреть промышленное применение MWT;
изучить методы измерения напряженности электромагнитного
поля.
1. Механизм воздействия магнитного поля на воду и
конструкции аппаратов магнитной обработки воды
напряженность магнитный поле вода
Принцип действия существующих магнитных аппаратов умягчения
воды основан на комплексном многофакторном воздействии магнитного поля,
генерируемого постоянными магнитами или электромагнитами на растворённые в воде
гидратированные катионы металлов и структуру гидратов и водных ассоциатов, что
приводит к изменению скорости электрохимической коагуляции (слипания и
укрупнения) дисперсных заряженных частиц в потоке намагниченной жидкости
иобразованию многочисленных центров кристаллизации, состоящих из кристаллов
практически одинакового размера.
В процессе магнитной обработки воды происходят несколько процессов:
смещение электромагнитным полем равновесия между структурными
компонентами воды и гидратированными ионами;
увеличение центров кристаллизации растворенных в воде солей в
заданном объеме воды на микровключениях из дисперстных феррочастиц;
изменение скорости коагуляции и седиментации дисперсных
частиц в обрабатываемом магнитном поле потоке жидкости.
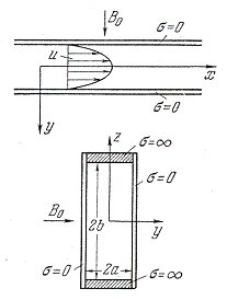
При движении потока молекул воды в магнитном поле
перпендикулярно силовым линиям магнитного поля, вдоль оси Y, будет возникать
момент сил F1, F2 (сила Лоренса), пытающихся развернуть молекулу в
горизонтальной плоскости (рисунок 1). При движении молекулы в горизонтальной
плоскости, вдоль оси Z, будет возникать момент сил в вертикальной плоскости. Но
полюса магнита будут всегда препятствовать повороту молекулы, и поэтому
тормозить движение молекул перпендикулярно линиям магнитного поля. Это приводит
к тому, что в молекуле воды, помещённой между двумя полюсами магнита остаётся
только одна степень свободы - колебание вдоль оси X - силовых линий
приложенного магнитного поля. По всем остальным координатам движение молекул
воды будет ограниченным: молекула воды становится «зажатой» между полюсами
магнита, совершая лишь колебательные движения относительно оси X. Определённое
положение диполей молекул воды в магнитном поле вдоль силовых линий поля будет
сохраняться, тем самым, делая расположение диполей воды более упорядоченным.
Рисунок 1 - Поведение молекулы воды в магнитном поле
Экспериментально доказано, что на неподвижную воду магнитные
поля действуют гораздо слабее, поскольку обрабатываемая вода обладает некоторой
электропроводностью; при ее перемещении в магнитных полях генерируется
небольшой электрический ток. Поэтому данный способ обработки движущейся в
потоке воды часто обозначается магнитогидродинамической обработкой (МГДО). С
использованием современных методов МГДО можно добиться таких эффектов в
водоподготовке как, увеличение значения рН воды (для уменьшения короззионной
активности потока воды), создание локального увеличения концентрации ионов в
локальном объёме воды (для преобразования избыточного содержания ионов солей
жёсткости в тонкодисперсную кристаллическую фазу и предотвращения выпадения
солей на поверхности трубопроводов и теплообменного оборудования) и др.
Конструктивно большинство аппаратов магнитной обработки воды
представляют собой магнитодинамическую ячейку, изготавливаемую в виде полого
цилиндрического элемента из ферромагнитного материала, с магнитами внутри,
врезающегося в водопроводную трубу с помощью фланцевого или резьбового
соединения с кольцевым зазором, площадь поперечного сечения которого не меньше
площади проходного сечения подводящего и отводящего трубопроводов, что не
приводит к существенному падению давлению на выходе апарата. В результате ламинарного
стационарного течения электропроводящей жидкости, каковой является вода, в
магнитодинамической ячейке, находящейся в однородном поперечном магнитном поле
с индукцией B0 (рисунок 2), генерируется сила Лоренца, величина
которой зависит от заряда q частицы, скорости её
движения u и индукции магнитного поля B.
Сила Лоренца направлена перпендикулярно скорости движения
жидкости и к линиям индукции магнитного поля В, в результате чего заряжённые частицы и ионы в
потоке жидкости движутся по окружности, плоскость которой перпендикулярна
линиям вектора B. Таким образом, выбирая необходимое расположение
вектора магнитной индукции В относительно
вектора скорости потока жидкости, можно целенаправленно воздействовать на ионы
солей жёсткости Ca2+, Mg2+, Fe2+ и Fe3+,
перераспределяя их в заданном объёме водной среды.
Рисунок 2 - Схема течения потока воды в магнитогидродинамической ячейке (σ - электропроводность стенок ячейки; В0 - амплитудное значение
вектора индукции магнитного поля)
Согласно теоретическим расчётам, чтобы инициировать
кристаллизацию солей жёсткости внутри объёма движущейся по трубе жидкости от
стенок труб в зазорах магнитного устройства, задаётся такое направление
индукции магнитного поля В0, при котором в середине зазоров
образовалась зона с нулевым значением индукции магнитных полей с большей
индукцией используются сверхпроводящие электромагниты.
Требования, регламентирующие условия работы всех аппаратов
магнитной обработки воды следующие:
подогрев воды в аппарате должен быть не выше 95°С;
содержание ионов железа Fe2+, Fe3+ в обрабатываемой воде -
не более 0,3 мг/л;
суммарное содержание хлоридов и сульфатов Са2+ и Mg2+ (CaSO4, CaCl2, MgSO4, MgCl2) - не более 50 мг/л;
карбонатная жесткость (Са(НСО3)2,
Mg(НСО3)2), - не выше 9 мг-экв/л;
содержание в воде растворенного кислорода - не более 3 мг/л;
скорость движения потока воды в аппарате 1-3 м/с.
В магнитных аппаратах, работающих от электромагнитов, вода
подвергается непрерывному регулируемому воздействию магнитного поля различной
напряженности с чередующимися по направлению векторами магнитной индукции, а
электромагниты могут быть расположены как внутри, так и вне аппарата.
Электромагнит состоит из трехобмоточной катушки и магнитопровода, образуемого
сердечником, кольцами каркаса катушки и кожухом. Между сердечником и катушкой
образован кольцевой зазор для прохода обрабатываемой воды. Магнитное поле
дважды пересекает поток воды в направлении, перпендикулярном ее движению. Блок
управления обеспечивает однополупериодное выпрямление переменного тока в
постоянный. Для установки электромагнита в трубопровод предусмотрены
переходники. Сам аппарат нужно устанавливать как можно ближе к защищаемому
оборудованию. При наличии в системе центробежного насоса аппарат магнитной обработки
устанавливается после него.
В конструкциях магнитных аппаратов второго типа применяются
постоянные магниты на основе современных порошкообразных носителей -
магнитофоров, ферромагнетиков из феррита бария и редкоземельных магнитных
материалов из сплавов редкоземельных металлов неодима (Nd), самария (Sm) с
цирконием (Zr), железом (Fe), медью (Cu), титаном (Ti), кобальтом (Co) и бором
(B). Последние на основе неодима (Nd), железа (Fe), титана (Ti) и бора (B)
предпочтительнее, т.к. они обладают большим сроком эксплуатации,
намагниченностью 1500-2400 кА/м, остаточной индукцией 1,2-1,3 Тл, энергией
магнитного поля 280-320 кД/м3(табл. 1) и не теряют своих свойств при
нагреве до 150
0С.
Таблица 1 - Основные физические параметры редкоземельных постоянных магнитов
|
Состав магнита
|
Остаточная
индукция, Тл
|
Намагниченность,
кА/м
|
Энергия
магнитного поля, кД/м3
|
|
Sm-Zr-Fe-Co-Cu
|
1,0-1,1
|
1500-2400
|
180-220
|
|
Nd-Fe-Co-Ti-Cu-B
|
1,2-1,3
|
1500-2400
|
280-320
|
Постоянные магниты, ориентированные определенным образом
располагаются соосно внутри цилиндрического корпуса магнитного элемента,
изготовленного из нержавеющей стали марки 12Х18Н10Т, на концах которого
находятся снабженные центрирующими элементами конусные наконечники, соединенные
аргонно-дуговой сваркой. Основным элементом магнитного преобразователя
(магнитнодинамичейской ячейки) является многополюсный магнит цилиндрической
формы, создающий симметричное магнитное поле, аксиальная и радиальная
составляющие которого при переходе от полюса к полюсу магнита меняют
направление на противоположное. За счет соответствующего расположения магнитов,
создающих высокоградиентные поперечные магнитные поля по отношению к водяному
потоку, достигается максимальная эффективность воздействия магнитного поля на
растворенные в воде ионы накипеобразующих солей. В результате кристаллизация
накипеобразующих солей происходит не на стенках теплообменников, а в объеме
жидкости в виде мелкодисперсной взвеси, которая удаляются потоком воды при
продувки системы в специальные отстойники или грязевики, устанавливаемого в
любой системе отопления, горячего водоснабжения, а также в технологических
системах различного назначения. Оптимальный интервал скоростей движения потока
воды для ГМС составляет 0,5-4,0 м/с, оптимальное давление - 16 атм. Срок
эксплуатации составляет, как правило, 10 лет.
В экономическом плане более выгодно использовать аппараты на
постоянных магнитах. Основной недостаток этих аппаратов в том, что постоянные
магниты на основе феррита бария размагничиваются на 40-50% после 5 лет
эксплуатации. При проектировании магнитных аппаратов задается тип аппарата, eгo
производительность, индукция магнитного поля в рабочем зазоре или
соответствующая ей напряженность магнитного поля, скорость воды в рабочем
зазоре, время прохождения водой активной зоны аппарата, состав ферромагнетика
(аппараты с электромагнитами), магнитный сплав и размеры магнита (аппараты с
постоянными магнитами).
Выпускаемые отечественной промышленностью устройства
магнитной обработки воды подразделяются на работающие на электромагнитах аппараты
магнитной обработки воды (АМО) и использующие постоянные магниты гидромагнитные
системы (ГМС), магнитные преобразователи (гидромультиполи) (МПВ, MWS, ММТ) и
активаторы воды серий АМП, МПАВ, МВС, КЕМА бытового и промышленного назначения.
Большинство из них схожи по конструкции и принципу действия (рисунки 3 и 4).
ГМС выгодно отличаются от магнитных устройств на основе электромагнитов и
магнитотвердых ферритов, поскольку при их эксплуатации отсутствуют проблемы,
связанные с потреблением электроэнергии и с ремонтом при электрическом пробое
обмоток электромагнита. Эти аппараты могут быть установлены как в промышленных,
так и в бытовых условиях: в магистралях, подающих воду в водопроводные сети,
бойлерах, проточных водонагревателях, паровых и водяных котлах, системах
водонагрева различного технологического оборудования (компрессорные станции,
электрические машины, термическое оборудование и др.). Хотя ГМС рассчитаны на
расход воды от 0,08 до 1100 м3/час, соответственно на трубопроводы
диаметром 15-325 мм, однако есть опыт создания магнитных аппаратов для ТЭЦ с
размерами трубопровода 4000 х 2000 мм.


Рисунок 3 - Виды аппаратов для магнитной обработки воды (ГМС) на
постоянных магнитах с фланцевыми (вверху) и резьбовыми (внизу) соединениями

Рисунок 4 - Аппарат магнитной обработки воды на электромагнитах АМО-25УХЛ
Современные аппараты для магнитной обработки воды на основе
постоянных (таблица 2) и электромагнитов (таблица 3) используются для
предотвращения накипи; для снижения эффекта накипеобразования в трубопроводах
горячего и холодного водоснабжения общехозяйственного, технического и бытового
назначения, нагревательных элементов котельного оборудования, теплообменников,
парогенераторов, охлаждающего оборудования и т.п.; для предотвращения очаговой
коррозии в трубопроводах горячего и холодного водоснабжения общехозяйственного,
технического и бытового назначения; осветления воды (например после
хлорирования); в этом случае скорость осаждения накипеобразующих солей
увеличивается в 2-3 раза, что требует отстойники меньшей емкости; для
увеличения фильтроцикла систем химической водоподготовки - фильтроцикл
увеличивается в 1,5 раза при уменьшении потребление реагентов, а также для
очистки теплообменных агрегатов. При этом аппараты магнитной обработки воды
могут использоваться самостоятельно или как составная часть любых установок,
подверженных накипеобразованию в процессе эксплуатации - систем подготовки воды
в жилых помещениях, коттеджах, детских и лечебно-профилактических учреждениях,
для водоподготовки в пищевой промышленности и т.п. Применение этих аппаратов
наиболее эффективно для обработки воды с преобладанием карбонатной жесткости до
4 мг-экв/л, и общей жесткости до 6 мг-экв/л при общей минерализации до 500
мг/л.
Таблица 2 - Технические характеристики отечественных
аппаратов магнитной обработки воды на постоянных магнитах
|
Параметр
|
Модель аппарата
|
|
АМП 10 РЦ
|
АМП 15 РЦ
|
АМП 20РЦ
|
АМП25РЦ
|
АМП32РЦ
|
|
Амплитудное
значение магнитной индукции (В0) на поверхности рабочей зоны, мТл
|
180
|
|
Количество
рабочих зон
|
|
Номинальный
расход воды, миним./норм./макс. м3/час
|
0.15/0.5/0.71
|
0.35/1.15/1.65
|
0.65/1.9/2.9
|
1.0/3.0/4.5
|
1.6/4.8/7.4
|
|
Диаметр
условного прохода, мм
|
10
|
15
|
20
|
25
|
32
|
|
Соединение,
дюйм
|
½
|
1/2
|
3/4
|
1
|
11/4
|
|
Максимальное
рабочее давление, МПА)
|
1
|
|
Рабочий
температурный интервал эксплуатации, 0С
|
5-120
|
|
Размеры, (LxD),
мм
|
108х32
|
124х34
|
148х41
|
172х50
|
150х56
|
|
Масса, кг
|
0.5
|
0.75
|
0.8
|
1.2
|
1.8
|
Таблица 3 - Технические характеристики отечественных аппаратов магнитной
обработки воды на электромагнитах
|
Параметр
|
Модель аппарата
|
|
АМО-25УХЛ
|
АМО-100УХЛ
|
АМО-200УХЛ
|
AMO-600УХЛ
|
|
Напряжение, В
|
220
|
|
Частота сети,
Гц
|
60
|
|
Производительность
по обрабатываемой воде м3/ч
|
25
|
100
|
200
|
600
|
|
Напряженность
магнитного поля, кА/м
|
200
|
|
Температура
обрабатываемой воды,°С
|
60
|
40
|
50
|
70
|
|
Рабочее
давление воды, МПа
|
1,6
|
|
Потребляемая
электромагнитом мощность, КВт
|
0,35
|
0,5
|
0,5
|
1,8
|
|
Габаритные
размеры электромагнита, мм
|
260х410
|
440х835
|
520х950
|
755х1100
|
|
Габаритные
размеры блока питания, мм
|
|
Масса
электромагнита, кг
|
40
|
200
|
330
|
1000
|
|
Масса блока
питания, кг
|
8,0
|
. Экспериментальные методы
На рисунке 5 показано микроскопическое изображение отложений
необработанной и обработанной магнитным полем воды. Можно заметить, что
отложения из контура B состоят из больших зерен, в то время как отложения из
контура М имеют меньшие зерна и большее количество мелкодисперсной фазы.
Химический состав отложений, выраженных в процентах от веса,
приводится в таблице 4.
Таблица 4 - Пропорциональное содержание различных элементов в
сухих остатках отложений обработанной магнитным полем (M) и необработанной (B)
воды, определенных химическим анализом
Можно отметить большие различия в содержании кремнезема,
поташа (в форме K2O), железа (в форме Fe2O3), цинка
(в форме ZnO) и медь (в форме CuO). Количество вышеперечисленных элементов в
несколько раз выше для секций контура М, по сравнению с одноименными секциями
контура B. С другой стороны, содержание кальция (в форме CaO) и магния (в форме
MgO) ниже, чем в контуре М.
Рисунок 6 - Анализ отложений методом PIXE: сплошная линия -
контур М, штриховая линия - контур В (без обработки)
Анализ, проведенный методом PIXE для пары образцов из B и М
секций номер 15 (см. рисунок 5, дает тот же самый результат: содержание Cu, Zn,
и Mn в несколько раз, а Fe более чем в десять раз больше в отложениях из
контура M.
Различия кристаллохимического состава отложений обнаружены
при исследовании отложений методом дифракции рентгеновских лучей (рисунок 7).
Образец отложения из необработанной воды имеет слабый фон из-за низкого вклада
аморфной фазы. Отражения слегка смещены по сравнению с сигналом от чистого
кальцита (см. рисунок 7 в центре). Это обстоятельство ускоряет кристаллизацию
магний содержащего кальцита (как было определено из решеточных параметров,
содержание Mg приблизительно 7% в катионной решетке). Дифракционный фон образца
отложения из обработанной воды относительно выше, что свидетельствует о его
аморфном строении. Отражения соответствуют a-кварцу и малому количеству чистого
кальцита.
Рисунок 7 - Исследование дифракции рентгеновских лучей (Cu
излучение) на образцах из обоих контуров: сравнительная картина для образцов из
контуров и образцом чистого кальцита
Чтобы объяснить происхождение аморфной фазы и
идентифицировать образующее ее вещество мы проводили измерения поглощения в
инфракрасной области спектра. Известно, что IR спектроскопия является мощным
методом исследования минералов (безводных или гидратированных карбонатов,
силикатов, и т.д.) и фаз с низким атомным порядком. Спектры были измерены для
нескольких пар образцов. Результат для секции номер 7 (180 °C) представлен на рисунке
7. Различия для контуров B и М очевидны, особенно в диапазоне с центром в 1050
cm-1 и в области 3000-4000 cm-1. Оказалось, что полоса
cm-1 связана с гидрозолями кремнезема и ее
интенсивность намного выше для отложений из контура М, то есть для обработанной
воды. Поскольку гидрозоли кремнезема обладают сильным сорбционным свойством, в
диапазоне 3000-4000 cm-1 должно наблюдаться существенное различие,
обусловленное колебаниями молекул воды. Как можно видеть на рисунке 6, именно
это фактически и происходит. Здесь отчетливо видна разность концентрации
кальцита, что согласуется с результатами химического и дифракционного анализа,
а также измерениями PIXE. Различия концентрации металлов (Fe, Mn, Cu, Zn,…)
приписываются сорбционным свойствам гидрозолей кремнезема.
. Промышленное применение MWT
Магнитная обработка воды была осуществлена на множестве
промышленных объектов и, среди прочих, на теплообменниках 1 GW электростанции в
Лазиске, Польша. Система охлаждения электростанции работает в наполовину
замкнутом цикле, и использует воду из угольной шахты. Дополнительная вода для
этой системы (приблизительно 5% целого объема) подвергается химической
обработке (процессы обезуглероживания и коагуляции), в результате получается
вода с низкой карбонатной жесткостью, однако с увеличенным и переменным
количеством суспензий различного происхождения. Химический метод не помогал
решить проблему карбонатных отложений, особенно в течение горячих летних
периодов, когда было необходимо чистить систему (главным образом
теплообменники, работающие для охлаждения турбины) даже каждые несколько
недель. Основываясь на положительных следствиях эксперимента Patnow (см.
рисунок 8), было решено дополнить не полностью эффективную химическую обработку
магнитным методом. Несколько новых MWT устройств с увеличенной пропускной
способностью до 1100 м3/ч и с улучшенной гидродинамикой были
установлены на входе подпитывающей воды. Результаты химического анализа
входящей воды следующие: Ca 107.4 мг/л, Mg 46.0 мг/л, Na 134 мг/л, K 17.4 мг/л,
Fe 1.5 мг/л, (SO4)2 - 354 мг/л (7.38 mval/l), (NO3)
- 1.86 мг/л (0.03 mval/l), Cl - 96 мг/л (2.7 mval/l), SiO2 12.3
мг/л, свободный CO2 22 мг/л (1mval/l), pH=8.0, карбонатная жесткость
5.3 mval/l, общая жесткость 9.14 mval/l, общее содержание суспензированных
частиц 17.4 мг/л, общее количество твердого остатка 987 мг/л.
На рисунке 9 представлен результат DTA исследований для
обработанной магнитным полем воды.
Рисунок 8 - Спектры ИК поглощения отложений из В
(необработанная) и М (обработанная магнитным полем вода) контуров
Рисунок 9 - Результат DTA исследований для обработанной
магнитным полем воды: сплошная линия - масса образца как функция температуры,
пунктир - производная массы по температуре
Температура воды была между 200 °C и 350 °C. Были исследованы
отложения из трех 200 MW блоков. Результат исследования был удивительным.
Оказалось, что все три секции системы охлаждения были чистыми от инкрустаций в
течение нескольких месяцев эксплуатации, и лишь малое количество мягких и легко
удаляемого отложения было обнаружено в изогнутых частях труб. Полученные образцы
отложений были подвергнуты комплексным физическим исследованиям (измерения
рентгеновской дифракции, IR, PIXE, DTA, SEM, а также удельной площади
поверхности).
Контроль воды и содержания CO2 в отложениях после
MWT проводился двумя независимыми способами. В качестве другого метода
использовался термогравиметрический анализ (DTA) отложений из Блока 10
выполненный с использованием прибора Мётлера [Motler]. Кривая 1 на рисунке 9
иллюстрирует зависимость массы как функции температуры. Потеря воды (влажности)
происходит при 1400 °C и сопровождается изменением массы Dm1 «19%,
потеря кристаллизационной воды происходит при 7500 °C и приводит к«20% и
потере CO2, дальнейший нагрев в диапазоне 7500 °C - 8000 °C дает Dm1 «3%. Кривая 2
иллюстрирует производную изменения массы. Таким образом, при различных методах
исследования, в отложениях обнаруживается недостаток карбонатов. Вероятным
объяснением малого количества CO2, обнаруживаемого методом DTA,
может быть кристаллизация карбонатов до входа в блок.
Таблица 5 - Результат химического анализа отложений,
извлеченных из трех 200 MW теплообменных блоков Лазиской [Laziska]
электростанции после обработки воды MWT устройством. Приводится относительное
содержание элементов
Пара рентгеновских дифракционных изображений для отложений
без- и при магнитной обработке приводится рисунке 10. MWT спектр был получен
рентгеновским детектором с высоким усилением сигнала. Необработанная вода
показала низкий фон и сильные пики кристаллической фазы, идентифицированной как
Mg-замещенный кальцит. Основная часть образца, полученного из обработанной
воды, была аморфной субстанцией с небольшой величиной межатомных расстояний,
что сопровождается высоким фоном и двумя широкими максимумами в сигнале
образца. Отражения, исходящие от кальцита, дали приблизительно 5% полной
интенсивности.
Рисунок 10 - Картина рентгеновской дифракции для отложений,
извлеченных из промышленного охладителя с MWT устройством (нижняя кривая) и без
MWT (верхняя кривая)
Рисунок 11 представляет ИК спектры, полученные с помощью
«Digilab» спектрометра с анализатором гармоник. Кривая 1 - соответствует
чистому кальциту. Кривая 2 - типичный спектр отложений из воды, обработанной
магнитным способом. Подобно спектру М на рисунке 8, здесь имеется
примечательное увеличение полосы 1050 cm-1, обусловленной гидрозолем
кремнезема, и с другой стороны, подавление полос кальцита. Кривая 3
демонстрирует адсорбционные свойства MWT отложения после его обработки 5%
раствором HCL (тот же самый результат был получен с 1-молярной ацетатной
кислотой). Главные особенности полученного спектра идентичны таковым обычного
силикагеля, IR спектр которого приведен на рисунке 10. Это позволяет сделать
предположение, что данное вещество является кремнеземом, который обуславливает
наблюдаемые для MWT особенности. Небольшой пик прочного кальцита в области 850
cm-1 отмечаются в спектре 2, а также на 1500 cm-1 и имеет
приблизительно 5% интенсивности спектра 2. Колебания абсорбированной воды в диапазоне
3200 - 3600 cm-1 - приблизительно в 4 раза более слабые в кальците,
чем на кривой 2, которая обусловлена высокой концентрацией воды в отложениях
MWT. Пик на 3700 cm-1 обусловлен brucite. Изменения, полученные
после обработки MWT отложения 5% HCl следующие: полоса 1550 cm-1
соответствующая кальциту исчезает, тот же самый наблюдается для 3700 cm-1
полосы brucite. Полосы 1000 и 1100 cm-1 кривой 2 смещаются
приблизительно к 1100 cm-1 и 1200 cm-1, что вероятно
связано с полимеризацией гидрозолей кремнезема.
Удельная поверхность, определенная для MWT отложений
составила 80 м2/г. Это весьма высокое значение, особенно для
вещества, которое уже поработало как адсорбент. Такая высокоразвитая
поверхность типична для силикагеля и поддерживает заключение относительно
критической роли кремнезема в MWT эффекте. Возвращаясь к таблице 4 необходимо
заметить замечательную эффективность сорбции магнитно активированного
кремнезема: 23% (в среднем) кремнезема адсорбирует приблизительно 18% кальция
или магния.
На рисунке 12 представлены сравнительные SEM фотографии
исследованных веществ. Кристаллиты чистого CaCO3 показаны слева, в середине -
пример open-work сферы CaCO3∙H2O. Сферы, подобные
этой, или закрыто-упакованные сферулиты [spherulites] были получены нами при
проведении лабораторных исследований кинетики кристаллизации карбонатов. Они
имели обыкновение кристаллизоваться в воде с высокой концентрацией магния.
Влияние иона магния на кристаллизацию полиморфов CaCO3 недавно был
исследовано в SEM фотография справа на рисунке 12 демонстрирует пример
образования аморфного отложения в теплообменнике с магнитной обработкой воды.
Было проанализировано большое количество фотографий для MWT отложений, все они
имели подобный вид.
Рисунок 11 - Спектры Поглощения в инфракрасной области
спектра:
(a) (1) нормальный масштаб с кальцитом, в качестве главного
компонента;
(2) отложения, извлеченные после MWT - главный вклад от Ca-Mg
золь кремнезема; (3) также как в (2) но после очистки с раствором 5% HCL;
(b) спектр промышленно изготовленного силикагеля.
Рисунок 12 - SEM фотографии: слева - чистый кальцит; в центре
- моногидрокальцит в форме open-work сферулита; справа - аморфный Ca-Mg
кремнеземный гидрогель, MWT отложения
Заключение
Основные результаты курсовой работы состоят в следующем:
При магнитной обработке воды происходит воздействие на саму
воду, на механические примеси и ионы накипеобразующих солей и на природу
протекающих в воде физико-химических процессов растворения и кристаллизации.
В воде, прошедшей магнитную обработку, возможны изменения
гидратации ионов, растворимости солей, значения рН, что выражается в изменении
химических реакций и скорости коррозионных процессов.
Таким образом, магнитная обработка воды является
перспективным динамично развивающимся современным направлением в водоподготовке
для умягчения воды, вызывающее множество сопутствующих физико-химических
эффектов, физическую природу и область применения которых еще только начинают
изучать. Сейчас отечественной промышленностью выпускаются различные аппараты
магнитной обработки воды на постоянных и электромагнитах, находящие широкое
применение в теплоэнергетике и водообработке. Неоспоримыми достоинствами
магнитной обработки в отличие от традиционных схем умягчения воды с помощью
ионного обмена и обратного осмоса является простота технологической схемы,
экологическая безопасность и экономичность. Кроме этого метод магнитной
обработки воды не требует каких-либо химических реактивов и поэтому является
экологически чистым.
Несмотря на все достоинства аппаратов магнитной обработки
воды, на практике эффект магнитного поля зачастую проявляется только в первый
период эксплуатации, затем эффект постепенно снижается. Это явление потери
магнитных свойств воды называется релаксацией. Поэтому в тепловых сетях кроме
омагничивания подпиточной воды часто необходимо обрабатывать воду,
циркулирующую в системе путем создания так называемого антирелаксационного
контура, при помощи которого обрабатывается вся вода, циркулирующая в системе.
Список
использованных источников
1
Очков В.Ф. Магнитная обработка воды: история и современное состояние / В.Ф.
Очков // Энергосбережение и водоподготовка. - 2006. - №2. - С. 23-29.
Классен
В.И. Омагничивание водных систем / В.И. Классен. - М.: Химия, 1978. - С. 45.
Соловьева
Г.Р. Перспективы применения магнитной обработки воды в медицине, В сб.: Вопросы
теории и практики магнитной обработки воды и водных систем, Москва, 1974. - С.
112.
Креетов
Г.А. Термодинамика ионных процессов в растворах / Г.А. Креетов. 2 изд. -
Ленинград, 1984.
Мартынова
О.И. К вопросу о механизме влияния магнитного поля на водные растворы солей /
О.И. Мартынова, Б.Т. Гусев, Е.А. Леонтьев // Успехи физических наук. -1969. -
№98. - С. 25-31.
Чеснокова
Л.Н. Вопросы теории и практики магнитной обработки воды и водных систем / Л.Н.
Чеснокова. - М.: Цветметинформация, 1971. - С. 75.
7 Kronenberg K. Experimental evidence for the effects of magnetic
fields on moving water // IEEE Transactions on Magnetics (Institute of Electrical
and Electronics Engineers, Inc., -1985, - V. 21, - №5, - p. 2059-2061.
8
Мосин О.В. Структура воды и физическая реальность/ О.В. Мосин, И. Игнатов //
Сознание и физическая реальность. -2011. - Т. 16. - №9. - С. 16-32.
Банников
В.В. Электромагнитная обработка воды / В.В. Банников // Экология производства.
- 2004. - №4. - С. 25-32.