Расчет ямной камеры

  • Вид работы:
    Курсовая работа (т)
  • Предмет:
    Строительство
  • Язык:
    Русский
    ,
    Формат файла:
    MS Word
    228,8 Кб
  • Опубликовано:
    2014-07-10
Вы можете узнать стоимость помощи в написании студенческой работы.
Помощь в написании работы, которую точно примут!

Расчет ямной камеры

Министерство образования и науки РФ

Федеральное государственное образовательное учреждение высшего профессионального образования

Казанский государственный архитектурно-строительный университет

Кафедра ТСМИиК






КУРСОВОЙ ПРОЕКТ

на тему: «Расчет ямной камеры»













Казань,2011

Введение

Тепловые способы ускорения твердения бетона являются в настоящее время наиболее эффективными и универсальными, а потому широко применяемыми в производстве сборных железобетонных изделий и конструкций.

Твердение бетонных и железобетонных изделий на заводах при обычной температуре (15….20 оС) нерационально, так как слишком продолжительно, уменьшает оборачиваемость форм, задерживает выпуск готовой продукции.

Сущность тепловлажностной обработки бетонных и железобетонных изделий заключается в том, что при повышенной относительной влажности окружающей среды ( более 95%) и температуре 60 - 100 0С и более скорость реакции гидратации цемента увеличивается (в 10 - 20 раз), процесс твердения бетона ускоряется, и изделие в более короткий срок приобретает прочность, необходимую для их расформовки, транспортирования и монтажа.

1. Характеристика выпускаемых материалов и изделий

Внутренняя стеновая цельная однослойная панель из керамзитобетона марки 50 предназначены для внутренних стен надземных этажей зданий и сооружений, эксплуатируемых в нормальных условиях. Обозначение марки данной панели в соответствии с ГОСТ 23009 - ПСВ 6.3.0,14.

Панели, предназначенные для эксплуатации в условиях воздействия агрессивной среды, должны удовлетворять требованиям стандарта ГОСТ 11024-84 (1992) и дополнительным указаниям проектной документации, установленным с учетом требований СНиП 2.03.11.

Панели применяют в зданиях с учетом предела огнестойкости стены и предела распространения огня по стене согласно требованиям СНиП 2.01.02, СНиП 2.08.01 и СНиП 2.08.02 в зависимости от требуемой степени огнестойкости здания.

Отделку наружных (фасадных) поверхностей однослойных панелей из легкого бетона принимают следующих видов:

облицовка плитками керамическими, стеклянными, из природного камня или декоративного бетона;

отделка декоративным бетоном с обнаженным заполнителем;

отделка слоем раствора или бетона с рельефной или с ровной гладкой поверхностью;

присыпка или втапливание декоративного щебня или другого декоративного материала;

отделка керамической глазурью;

отделка слоем бетона или раствора на белом цементе;

отделка слоем цветного бетона или раствора;

отделка мелкозернистыми материалами на клеящей основе;

окраска атмосферостойкими красками.

Допускается принимать другие виды отделки, имеющие требуемые декоративные, защитные и другие эксплуатационные свойства

Облицовку поверхностей панелей плитками следует предусматривать с полным или частичным заполнением швов между плитками в зависимости от требований, предъявляемых к внешнему виду панелей, и условий их эксплуатации.

В производстве панелей ПСВ 6.3.0,14 следует предусматривать наружный защитно-декоративный слой, включающий слой раствора или бетона.

Однослойные панели из тяжелого бетона класса по прочности на сжатие В15 и выше или марки по прочности на сжатие М200 и выше и слоистые панели с наружным основным слоем из тяжелого бетона (кроме панелей с наружным основным слоем из бетона крупнопористой структуры), которые предназначены для эксплуатации в сухой или нормальной зоне по влажности, при соответствующем обосновании разрешается принимать: с наружным защитно-декоративным слоем, не включающим слой из раствора или бетона, - при отделке панелей атмосферостойкими гидрофобными составами, плитками или другими облицовочными материалами и изделиями, выполняющими защитные и декоративные функции, а также при легком бетоне основного слоя плотной структуры с объемами межзерновых пустот и вовлеченного воздуха в уплотненной бетонной смеси не более 3% и формовании панелей наружной (фасадной) поверхностью вниз; без наружного защитно-декоративного слоя - при расположении панелей в глубине лоджий или на других участках стены, защищенных от воздействия атмосферных осадков.

Номинальную толщину слоя раствора или бетона в наружном защитно-декоративном слое однослойных панелей из тяжелого бетона и слоистых панелей с наружным слоем из легкого бетона или из тяжелого бетона при отсутствии облицовки следует принимать не менее:

мм - в однослойных панелях (кроме панелей для цокольного этажа и технического подполья) и в сплошных двухслойных панелях с наружным теплоизоляционным слоем из тяжелого бетона плотной структуры;

В однослойных панелях из тяжелого бетона ПСВ 6.3.0,14 следует предусматривать внутренний отделочный слой.

Допускается не предусматривать в этих панелях внутренний отделочный слой или не включать в него слой из раствора при их изготовлении:

в положении внутренней поверхностью вниз;

в положении внутренней поверхностью вверх в случаях, когда панели предназначены для применения в стенах помещений с сухим или нормальным влажностным режимом, а их внутренняя поверхность не подлежит отделке (окраске, оклейке обоями или пленками).

Номинальную толщину слоя раствора во внутреннем отделочном слое панелей следует принимать не более:

мм - в панелях, предназначенных для стен помещений с сухим или нормальным режимом;

мм - в панелях, предназначенных для стен помещений с влажным режимом.

Марки бетона и раствора панелей по морозостойкости, устанавливаемые в проектной документации на конкретные здания, следует принимать согласно требованиям СНиП 2.03.01, ГОСТ 26633, ГОСТ 25820 и ГОСТ 25485. При этом марки бетона и раствора по морозостойкости для панелей, изготовляемых и применяемых в районах с расчетной зимней температурой наружного воздуха ниже минус 5 °С (кроме климатических подрайонов IБ, IГ, IIА и IIГ по СНиП 2.01.01),следует назначать не ниже:- для легкого бетона однослойных панелей, не имеющих наружного защитно-декоративного слоя из бетона или раствора; для легкого бетона наружного основного слоя, отдельных армированных бетонных связей и ребер сплошных трехслойных панелей без защитно-декоративного слоя из бетона или раствора; для тяжелого бетона и автоклавного ячеистого бетона однослойных панелей, предназначенных для применения в стенах помещений с влажным режимом;- для тяжелого бетона однослойных панелей, имеющих наружный защитно-декоративный слой из раствора или бетона и предназначенных для применения в стенах помещений с сухим и нормальным режимом; для тяжелого бетона наружного основного слоя, отдельных армированных бетонных связей и ребер сплошных трехслойных панелей с защитно-декоративным слоем из бетона или раствора; для автоклавного ячеистого бетона однослойных панелей, предназначенных для применения в стенах помещений с сухим и нормальным режимом; для тяжелого бетона теплоизоляционного слоя сплошных двухслойных панелей.

Минимальные марки бетона и раствора по морозостойкости для панелей, при меняемых в климатических подрайонах IБ, IГ, IIА и IIГ, следует принимать на одну ступень выше.

Марку по средней плотности для панелей ПСВ 6.3.0,14 из керамзитобетона принимают Пл 1000.

Для армирования панелей следует принимать арматурную сталь следующих видов и классов: в качестве рабочей арматуры - стержневую арматуру классов А-III и А-IV по ГОСТ 5781, Ат-IIIC, Ат-IV и Ат-IVC по ГОСТ 10884, арматурную проволоку класс сов Вр-I по ГОСТ 6727 и Врп-I по ТУ 14-4-1322, а также стержневую арматуру классов А-I и А-II по ГОСТ 5781 в случаях, когда использование арматуры выше указанных классов нецелесообразно или не допускается нормами проектирования; в качестве конструктивной арматуры - арматуру классов А-I и Вр-I.

Номинальную толщину защитного слоя бетона до арматуры (включая наружный защитно-декоративный или внутренний отделочный слои панелей из растворов или бетона), устанавливаемую в проектной документации, следует принимать не менее 20 мм для рабочей и конструкционной арматуры. В случаях, предусмотренных проектной документацией, панели должны иметь: выступы, вырезы, штрабы, ниши, стальные закладные и накладные изделия и другие конструктивные элементы, предназначенные для опирания панелей на конструкции здания, а также для опирания и примыкания смежных конструкций; вырезы и углубления в торцевых зонах и в других местах примыканий к панелям смежных конструкций, предназначенные для образования шпоночного соединения после замоноличивания стыков; арматурные выпуски, стальные закладные изделия и другие конструктивные элементы для соединения панелей между со бой и со смежными конструкциями здания; выступы, пазы и другие конструктивные детали в торцевых зонах панелей, а также по периметру проемов, предназначенные для образования противодождевого барьера, упора уплотняющих прокладок и герметиков, установки в стыке водоотбойного элемента (ленты) и других целей; гнезда для монтажных (подъемных) петель и других монтажных и соединительных деталей; установленные окна с подоконными плитами (или досками), сливами и двери; закладные и накладные изделия и другие конструктивные элементы для крепления приставных подоконных плит (досок), солнцезащитных устройств, занавесей, карнизов, устройств для навески штор и другого оборудования здания, открытых нагревательных приборов и других элементов инженерного оборудования; каналы или замоноличенные трубки и коробки для скрытой сменяемой электропроводки.

Панели должны удовлетворять требованиям ГОСТ 13015.0:

по прочности, жесткости и трещиностойкости панелей;

по показателям фактической прочности бетона (в проектном возрасте и отпускной);

по морозостойкости бетона;

по средней плотности, теплопроводности и отпускной влажности тяжелого бетона и автоклавного ячеистого бетона однослойных панелей, внутреннего слоя двухслойных панелей с экраном и теплоизоляционного слоя трехслойных панелей, а также легкого бетона теплоизоляционного слоя сплошных двухслойных панелей к форме, размерам и качеству арматурных и закладных изделий и их положению в панелях к классам и маркам арматурной стали для монтажных петель;

по отклонениям толщины защитного слоя бетона до рабочей арматуры по защите от коррозии арматурных выпусков, закладных и соединительных изделий, а также металлических связей, выполненных из сталей, не стойких к агрессивному воздействию среды, в трехслойных панелях. Значение нормируемой отпускной прочности бетона и раствора панелей в процентах от класса или марки по прочности на сжатие следует принимать равным 80% для керамзитобетона марки 50.

Поставку панелей с отпускной прочностью бетона и раствора ниже прочности, соответствующей их классу или марке по прочности на сжатие, допускается проводить при условии, если изготовитель гарантирует достижение бетоном или раствором панелей требуемой прочности в проектном возрасте, определяемой по результатам испытания контрольных образцов, изготовленных из бетонной смеси рабочего состава и хранившихся в условиях согласно ГОСТ 18105.

В бетоне и растворе панелей, поставляемых потребителю, не должно быть трещин, за исключением местных поверхностных усадочных и других технологических трещин шириной не более:

,15 мм - на участках, где согласно проектной документации требуется контролировать ширину раскрытия трещин при испытании панелей нагружением;

,2 мм - в остальных случаях.

Если в местах сопряжении панелей имеются разделяющие элементы, координационные длина и высота панелей должны быть равны соответствующим размерам, приведенным в табл. <#"799470.files/image001.gif">

Рисунок. 1. Схема агрегатно-поточного производства: 1 - бетоноукладчик; 2 - вибро-площадка секционная; 3 - тележка самоходная - формоукладчик; 4 -ямная камера; 5 - пост распалубки; 6 - подготовка форм; 7 - тележка самоходная

Формы и изделия переходят от поста к посту с произвольным интервалом, зависящим от длительности операции на данном рабочем месте, которая может колебаться от нескольких минут (например, смазка форм) до нескольких часов (пост твердения отформованных изделий). Агрегатно-поточный способ отличается также тем, что формы и изделия останавливаются не на всех постах поточной линии, а лишь на тех, которые необходимы для данного случая. Агрегатно-поточный способ организации производства характеризуется возможностью закрепления за одной поточной линией изделий, различных не только по своим типоразмерам, но и по конструкции. Эта возможность создается наличием на поточной линии универсального оборудования.

Межоперационная передача изделий на таких линиях осуществляется подъемно-транспортными и транспортными средствами. Для ускоренного твердения бетона при агрегатно-поточном способе обычно применяются камеры периодического и непрерывного действия.

Небольшой объем каждой секции камеры позволяет затрачивать минимум времени на загрузку и выгрузку изделий, а большое количество таких секций создает условия для непрерывной подачи отформованного изделия в камеру твердения.

Агрегатно-поточная технология отличается большой гибкостью и маневренностью в использовании технологического и транспортного оборудования, в режиме тепловой обработки, что важно при выпуске изделий большой номенклатуры.

В состав технологической линии входят: формовочный агрегат с бетоноукладчиком, установка для заготовки и электрического нагрева или механического натяжения арматуры, формоукладчик, камеры твердения, участки распалубки, остывания изделий, их доводки или отделки, технического контроля; пост чистки и смазки форм; площадки под текущий запас арматуры, закладных деталей, утеплителя, складирования резервных форм, их оснастки и текущего ремонта, а также стенд для испытания готовых изделий.

Отформованные изделия подвергают тепловой обработке обычно в ямных камерах.

При компоновке технологических линий необходимо избегать пересекающихся и встречных потоков, предусматривать минимальное количество перевалок форм и изделий и минимальное расстояние транспортирования.

Поточно-агрегатное производство предпочтительно при изготовлении изделий длиной до 12 м, шириной до 3 м и высотой до 1 м, а в отдельных случаях изделий и большего размера и веса (например, труб и опор линий электропередач).

Твердение бетонных и железобетонных изделий на заводах при обычной температуре (15…20 0С) нерационально, так как слишком продолжительно, уменьшает оборачиваемость форм, задерживает выпуск готовой продукции. Для ускорения твердения применяют тепловую обработку.

Наиболее широко применяют тепловлажностную обработку. Здесь насыщенный пар создает тепловую и влажную среду, благоприятную для твердения панелей перекрытия. Для пропаривания применяют насыщенный пар с температурой 80…90 0С для бетона, содержащего обыкновенный портландцемент. Повышают и понижают температуру постепенно.

Чистый пар имеет преимущества перед паравоздушной смесью, поэтому в большинстве установок стремятся избавиться от вредного влияния воздуха.

Воздух имеет коэффициент теплоотдачи к нагреваемой поверхности всего около 5-12 вт/м2 • град. Этот коэффициент растет при увеличении скорости движения, но и при повышенных скоростях он остается невысоким (около 40-50 вт/м2 • град при скорости около 10 м.сек). Коэффициент теплопроводности воздуха (а =0,0245 втм. град) значительно ниже, чем коэффициент теплопроводности строительных материалов, и создаваемый воздухом пограничный слой на поверхности изделий, пустот и пор представляет собой основное термическое сопротивление при теплообмене. Особенно вредное влияние оказывает воздух, задерживающийся в небольших горизонтальных щелях, пустотах малого диаметра и большой длины и в других плохо обдуваемых местах. При этом появляются большие градиенты температур, неравномерность нагрева изделий и связанные с ними напряжения, деформации и трещины. Кроме того, присутствие воздуха создает состояние ненасыщенности паровой среды и возможность высушивания изделий.

Иные свойства имеет насыщенный водяной пар. Его коэффициент теплоотдачи достигает 10 000-12 000 вт/м2 • град. При этом водяной пар, встречая поверхность с более низкой температурой, конденсируется, не снижая своей температуры и отдавая большую теплоту испарения (около 2200 кдж/кг] нагреваемому телу. Однако присутствие в паре неконденсирующихся газов (воздуха) даже в малых количествах быстро снижает его коэффициент теплоотдачи.

Большое значение для качества бетона при тепловой обработке имеет правильное назначение режима прогрева. Нагрев бетона сопровождается расширением его составляющих, что может вызвать нарушение структуры неокрепшего бетона. В результате прочность нагретого бетона в возрасте 28 сут окажется ниже прочности бетона нормального твердения. Чтобы уменьшить отрицательное влияние этого фактора, применяют предварительное выдерживание бетона перед началом тепловой обработки.

Предварительное выдерживание бетона до тапловлажностной обработке повышает конечную прочность бетона, позволяет применять более форсированные режимы, что сокращает длительность тепловлажностной обработки.

При охлаждении панелей, как при нагреве, возникает нестационарное температурное поле, но поток теплоты направлен из изделия. Поэтому необходимо регулировать длительность охлаждения. В пропарочных камерах после укрепления структуры бетона и выравнивания температуры в изделии охлаждение может идти с повышенной скоростью (25 - 50 град/ч) и по регулируемому режиму.

В моем проекте общая продолжительность тепловлажностной обработки составляет 11 часов; продолжительность периода подогрева 3,5 часов; периода изотермической выдержки 5,5 часов, согласно ОНТП 07 - 85. Температура в ямной камере в период изотермической выдержки составляет 80 - 85 0С, давление пара - 0,23 Мпа.

Первыми установками периодического действия, предназначенными для тепловлажностной обработки бетона, были камеры ямного типа и туннельные. С развитием промышленности туннельные камеры периодического действия перестали применять, а ямные, претерпев некоторые изменения, продолжают использоваться в качестве основного типа установок (около 80% всех работающих) тепловлажностной обработки бетона. Простой и самой распространенной на предприятиях сборного бетона является пропарочная камера ямного типа. Эти камеры применяют на заводах и полигонах.

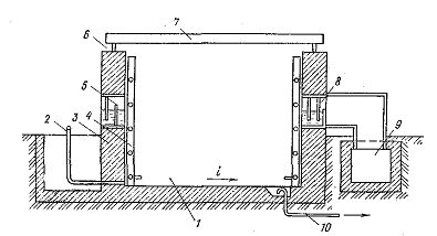
Изготовляемая из железобетона пропарочная ямная камера имеет прямоугольную форму (рисунок 2). Стены камеры 3 для уменьшения тепловых потерь делают комбинированными (конструкции стен, днища и крышки рассматриваются далее). По боковым стенам камеры установлены пакетировщики 4. В одной из боковых стен делается отверстие для забора воздуха 5 из атмосферы при охлаждении, снабженное водяным затвором. Сопряжение крышки 7 со стенками камер снабжено также водяным затвором 6. Для отбора паровоздушной смеси.

Рисунок 2. Схема пропарочной ямной камеры канал 9, сообщающийся через водяной затвор 8 с системой вентиляции. В днище предусмотрена система отбора конденсата 10, пропускающая его и не пропускающая пар

Для нагрева изделий через паропровод 2 в камеру подается пар. Камеры размещаются в технологических линиях и соединяются в блоки. Габариты камеры в плане соответствуют габаритам обрабатываемых изделий. Изделия размещаются в зависимости от размеров в один-два штабеля. Для удобства обслуживания основная часть (до 3/4 высоты) камеры заглубляется в землю.

Принцип работы камеры заключается в следующем. С камеры 1 снимается крышка. Изделие в форме опускается краном в камеру и устанавливается на нижние кронштейны стоек 4. Нагруженные кронштейны заставляют раскрыться следующий' ряд и так далее. После загрузки камеры закрывается крышка, заполняются водяные затворы и начинают подавать пар. Изделия нагреваются (период прогрева) и выдерживаются (изотермическая выдержка) при достигнутой температуре.

В процессе прогрева и изотермической выдержки пар конденсируется, отдает теплоту и в виде конденсата удаляется через систему 10. По окончании выдержки подача пара прекращается, и через канал 9 из камеры удаляется паровоздушная смесь. При этом вода в затворах вскипает и в виде паровоздушной смеси также удаляется. Через освободившийся от воды затвор 5 а также, через затвор 6, соединяющий крышку со стенками, в камеру поступает воздух, который охлаждает изделия, сам нагревается и также удаляется в канал 9. После охлаждения изделий камера раскрывается, а изделия, набравшие 70-80 % марочной прочности, выгружаются из камеры краном. Для этого вместо днища из тяжелого бетона рекомендуется днище с воздушными, прослойками (рисунок 3).

Рисунок 3. Днище с плоской плитой; 1 - цементная стяжка; 2 - плоская плита; 3 - воздушная прослойка; 4 - днище из керамзитобетона; 5 - песчаная подготовка

Основное днище 4 выполняется из керамзитобетона и кладется на песчаную подготовку 5. Над основным днищем, которое выполнено с уклоном к месту отбора конденсата, находится воздушная прослойка 3, перекрытая фальш-днищем. Уклон фальш-днища делается в обратном направлении для создания гидравлической петли из стекаемого конденсата в целях лучшего разделения находящегося в камере пара и удаляемого конденсата. При этом возможность «пролетного» пара в конденсатоотводящую систему резко снижается.

Претерпели изменение и конструкции крышек ямных камер. Значительно увеличилась толщина теплоизоляционного слоя. Плоские крышки снабжаются стальным экраном для стока конденсата в гидравлический затвор и для предохранения поверхности изделия от попадания конденсата. Глубина швеллера, используемого в качестве гидравлического затвора, не менее 100 мм (а в большинстве случаев доводится до 150 мм).

Все рассмотренные конструктивные изменения в значительной мере увеличивают количество полезно используемой теплоты на тепловлажностную обработку изделий. Существуют различные схемы снабжения паром ямных камер. На рисунке 4 показана схема парораспределения с помощью сопел. Принцип работы заключается в интенсификации циркуляции пара, для чего предусмотрена основная ветвь подачи пара из магистрального паропровода 6, снабженная регулирующим клапаном 7; обводная ветвь включается в случае отказа клапана. Обе магистрали снабжены запорными вентилями 5, для включения их в работу раздельно. По магистрали пар разводится в нижний коллектор 2 и верхний коллектор 3, расположенные по противоположным стенам камеры и снабженные соплами 1. В нижнем коллекторе, находящемся на уровне 0,2-0,3 h (высоты камеры) сопла направлены вверх и создают циркуляцию по ходу выброса пара. Верхний коллектор расположен на высоте 0,7-0,8 h. В нем сопла направлены вниз. Такое расположение сопел создает достаточную циркуляцию для равномерного нагревания изделий. Паропровод снабжен съемной дроссельной шайбой для стока конденсата 4, образующегося при транспортировке пара.

Рисунок 4. Схема парораспределения с помощью сопел:1-сопла;2-нижний коллектор;3-верхний коллектор;4-съемная дроссельная шайба для стока конденсата;5-вентили запорные;6-магистральный паропровод;7-регулирующий клапан.

4. Расчет ямной пропарочной камеры

пропарочный стеновый панель бетон

4.1 Технологический расчет ямной камеры

Расчет заключается в определении основных размеров камер и количества их, а также длительности цикла работы камер.

Длину камеры определяют по формуле:

Lк = lф · n + ( n + 1) · l1 , м                                                        (1)

где lф - длина формы с изделием, м; n - количество форм по длине камеры; l1 - расстояние между формой и стенкой камеры и между штабелями форм, м.

lф=lизд + 2 · 0,2 = 6,0+ 2 · 0,2 = 6,3 м                                        (2)

к = 6,3 · 1 + (1+1) · 0,1 = 6,5 м

Ширина камеры:

к =bф · n1 + ( n1 + 1) · l1 , м                                                         (3)

где bф - ширина формы с изделием, м; n1 - количество форм по ширине камеры.

ф=bизд + 2 ·0,2 = 3 + 2 · 0,2 = 3,4 м                                             (4)

к = 3,4 · 1 + (1 + 1) · 0,2 = 1,8 м

Высота камеры:

к=n2 · hф + ( n2 - 1) · h1 + h2 + h3 , м                                          (5)

где n2 - количество форм по высоте камеры; h1, h2, h3 - соответственно, расстояние между формами с изделиями по высоте камеры, между нижней формой и полом камеры и между верхним изделием и потолком камеры.

ф=hизд+ 0,2 = 0,14 + 0,2 = 0,34 м                                                (6)

к = 6· 0,34 + ( 6 - 1) · 0,03 + 0,05 + 0,15 = 2,8 м

Объем камеры:

к = Lк · Bк · Hк = 6,5 · 3,8 · 2,8 = 28,5012 м3                              (7)

Коэффициент заполнения объема камеры:

 = nто · Vи / Vк                                                                             (8)

где Vи - объем бетона в одном изделии, м3; nто - количество изделий в камере.

q = 6 · 2,478 / 69,16= 0,215

Длительность цикла работы камеры:

τц=τз+ τр + τв + τто, ч                                                                  (9)

где τз, τр - длительность загрузки и выгрузки камеры, ч; τв - то же, предварительно-

го выдерживания изделий в камере перед тепловой обработкой, ч; τто - режим тепловой обработки изделий, ч.

τз=(τф · nто) / (mф · nф ) , ч                                                          (10)

где τф - длительность цикла формования изделий, ч; mф - число формовочных установок; nф - количество изделий, формуемых на одной установке за один цикл.

ф= (Gг · τф) / (τс · с · Vи)                                                              (11)

где Gг - годовая производительность линии, м3/год; τс - число рабочих часов в сутки, с - число рабочих дней в году.

mф = (18000 · 0,25) / (23 · 253 ·2,478) = 0,31 = 1

τз = (0,25 · 6) / (1 · 1) = 1,5 ч

τ ц = 1,5 + 1,5 + 0,5 + 11 = 14,5 ч

Коэффициент оборачиваемости камер в сутки:

К=24 / τ ц = 24 / 14,5 = 1,655                                                                 (12)

Необходимое для выполнения программы количество камер определяют, исходя из средней продолжительности их оборота Тк в час.

При пятидневной рабочей неделе и трехсменном режиме работы формовочного цеха Тк определяют по графикам.

Тк = 16

Количество камер для выполнения заданной программы при трехсменном режиме формования определяется по формуле:

Мк=(τсут· Тк) / ( 24 · τф · nто ) = (14,5 · 16) / ( 24 · 0,25 · 6 ) = 8 шт (13)

Расчет состава тяжелого бетона М200

Портландцемент марки 400

Плотность 3,1 г/см3

Насыпная плотность 1,1 г/см3

Песок средней крупности Мк = 2,5

Плотность 2,6 г/см3

Насыпная плотность 1,5 г/см3

Щебень : наибольшая крупность D=20 мм

Плотность 2,7 г/см3

Насыпная плотность 1,45 г/см3

1) определим величину В/Ц :


В/Ц = А × R цR б + 0,5×A ×R ц= 0,6 ×400/ 200 + 0,6×0,4×400 = 0,75 (14)

2) определим расход воды:

В = 185 л

) определим расход цемента :

Ц = В/ В/Ц = 247 кг

Расчетный расход цемента оказался ниже допускаемого по СНиП 82 - 02 - 95, поэтому расход цемента принимаем равным 265 кг.

) определим расход щебня :

Щ = 1000 / (V щ × α/ρ нщ + 1/ρ щ) = 1000 / (0,47×1,35/1,45 + 1/ 2,7) = 1235 кг   (15)

V щ = 1 − ρ нщ / ρ ц = 1 − (1,45 / 2,7) = 0,47                                  (16)

α1 = 500 кг В/Ц = 0,7

α2 = 600 кг В/Ц = 0,8

α = 1,32 − [(1,32 − 1,38 / 0,8 − 0,7) × (0,75 − 0,7)] =1,35               (17)

) определим расход песка :

П = [1000 − (Ц/ρц + В/ρв + Щ/ρ щ )] ×ρ п = [1000 − (265/3,1 + 185 + 1235/ 2,7)] × = 708 кг                 (18)

) расход материала на 1 м3 бетона:

Цемента 265 кг;

Песка 708 кг;

Щебня 1235 кг;

Воды 185 л.

Расчетная средняя плотность бетонной смеси:

Y бс = Ц + В + П + Щ = 256 + 185 + 708 + 1235 = 2393 кг/м3     (19)

4.2 Теплотехнический расчет ямной камеры

Тепловой баланс периода подогрева

) Расход тепла на нагрев сухой части изделий:

 = (Ц + П + Щ) · сс · (tб1 - tб0) / 1000 , МДж/м3                         (20)

где Ц, П, Щ - содержание цемента, песка, щебня в бетоне, кг/м3; сс - теплоемкость сухой части бетона, кДж / кг °С; tб1 - средняя к концу периода температура бетона в изделии, °С; tб0 - начальная температура бетонной массы, °С.

Qc1 = (265 + 708 + 1235) · 0,84 · (80 - 20) / 1000 = 111,3 МДж/м3

) Расход тепла на испарение части

исп = W · (2493 + 1,97 · tср1) / 1000 , МДж/м3                                    (21)

где W - для тяжелого бетона около 1% массы 1 м3 бетона; tср1 - средняя за период температура среды в камере, °С.

Tср1 = ( t0 + tн) / 2 = (20 + 80) / 2 = 50 °С                                            (22)

где t0 - температура среды в камере до начала тепловой обработки, °С; tн - температура изотермической выдержки, °С.

Qисп = 23,93 · (2493 + 1,97 · 50) / 1000 = 62 МДж/м3

) Расход тепла на нагрев воды, оставшейся в изделиях к концу периода

в1 =(В - W) · Св · (tб1 - tб0) / 1000 , МДж/м3                              (23)

где В - содержание воды в бетонной массе, кг/м3 ; Св - теплоемкость воды, кДж/кг·°С.

Qв1 = (185 - 23,93) · 4,19 · (80 - 20) / 1000 = 40,5 МДж/м3

) Расход тепла на нагрев арматуры и закладных деталей:

а1 = А · Са · (tа1 - tб0) / 1000 , МДж/м3                                      (24)

где А - содержание арматуры и закладных деталей в изделиях, кг/м3 ; Са и tа1 - теплоемкость, кДж/кг·°С, и температура арматуры к концу периода, °С.

Qа1 = 32 · 0,48 · (88 - 20) / 1000 = 1,05 МДж/м3

) Расход тепла на нагрев форм:

ф1 = Ф · Сф · (tф1 - tф0) / 1000 , МДж/м3                                    (25)

где Ф = Gф/Vи - удельная металлоемкость форм, кг/м3 (Gф - масса формы, кг); Сф - теплоемкость форм, кДж/кг·°С; tф0, tф1 - температура форм в начале и конце периода, °С .

Ф = 3000 / 2,478 = 1210,7 кг/м3

Qф1 = 1210,7 · 0,48 · (88 - 20) / 1000 = 39,52 МДж/м3

) Расход тепла на нагрев ограждающих конструкций:


где lI и аi - теплопроводность, Вт/м·°С и температуропроводность, м2/ч, материалов ограждений; Fi - площадь ограждающих конструкций по внутреннему обмеру, м2 ; tni0 и tni1 - средняя температура внутренних поверхностей ограждений в начале и конце периода, °С; tI - длительность периода подогрева.

Для многослойных ограждающих конструкций необходимо предварительно вычислить эквивалентные значения их теплофизических характеристик при фактических температурах материалов. Эквивалентный коэффициент теплопроводности плоской многослойной конструкции:

lэ = SSi / S(Si/li)                                                                                    (26)

lэ стенок = (0,003 + 0,05 + 0,2 +0,15) / (0,003/56 + 0,05/1,56 + 0,2/0,063 + 0,15/1,56) = 0,12 Вт/м·°С

lэ днища = (0,005 + 0,2 + 0,15 + 0,3 + 0,1) / (0,005/0,93 + 0,2/1,56 + 0,15/1,56 + 0,1/0,6) = 0,13 Вт/м·°С

lэ крышки = (0,004 + 0,004 + 0,2) / (0,004/56 + 0,004/56 + 0,2/0,063) = 0,07 Вт/м·°С

Эквивалентный коэффициент теплоемкости:

Сэ = S(rI · Si · Ci) / S(rI · Si)                                                                  (27)

Сэ стенок = (7800·0,003·0,48 + 1700·0,05·0,84 + 300·0,2 ·0,75 + 2400·0,15·0,84)/

(7800·0,003+2400·0,05+ 300·0,2+2400·0,15) = 0,81 кДж/кг·°С

Сэ днища = (1800·0,005·0,84 + 2400·0,2·0,84 +0,00129·0,15·1000 + 2400·0,3·0,84 + 0,1·1500·1,09 )/

(1800·0,005 + 2400·0,2 + 0,00129·0,15 + 2400·0,3 + 0,1·1500) = 0,87 кДж/кг·°С

Сэ крышки = (7800·0,004·0,48 + 300·0,2·0,75 + 7800·0,004·0,48)/

(7800·0,004 + 300·0,2 + 7800·0,004) = 0,61 кДж/кг·°С

Эквивалентная объемная масса или плотность

rэ=S(ri·Si)/SSi                                                                               (28)

rэ стенок = (7800·0,003 + 2400·0,05 + 2400·0,15 + 300·0,2)/(0,003 + 0,05 + 0,15 + 0,2) = 1398 кг/м3

rэ днища = (1800·0,005 + 2400·0,2 + 0,00129·0,15 + 2400·0,3 +0,1·1500 )/(0,005 + 0,2 + 0,15 + 0,3 + 0,1) = 1800 кг/м3

rэ крышки = (7800·0,004 + 300·0,2 + 7800·0,004)/(0,004 + 0,2 + 0,004) = 588,5 кг/м3

Эквивалентная температуропроводность

аэ = (3,6·lэ)/(Сэ·rэ) (29)

аэ стенок = (3,6·0,12)/(0,81·1398) = 3,8·10-4 м2/ч

аэ крышки = (3,6·0,007)/(0,61·588,5) = 7,02·10-4 м2/ч

Площадь ограждающих конструкций по внутреннему обмеру:

Fстенок = 2·2,8·3,8 + 2,8·6,5 = 39,48 м2

Fднища = 6,5·3,8 = 24,7 м2

Fкрышки = 6,5·3,8 = 24,7 м2

(29)

7) Потери тепла в окружающую среду ограждениями камеры складываются из потерь тепла через отдельные элементы ограждений

                                                                                            (30)

где toc - температура окружающего воздуха, °С; Fi - площадь по наружному

обмеру отдельных элементов ограждения, м2; Кi - коэффициент теплопередачи через соответствующие элементы ограждений, Вт/м·°С.

Σ F kднище = 4,4·7,3·0,086 = 2,76

Σ F kкрышка = 4,4·7,3·0,3 = 9,64

Σ F kстенка = 7,3·0,3·0,38 + 2·4,4·3,8·0,15 = 13,35

Коэффициент теплопередачи через наземные части ограждений камеры

         (31)

а через подземные

                          (32)

где a1 и a2 - коэффициенты теплоотдачи, соответственно, от греющей среды к внутренним поверхностям ограждений и от наружных поверхностей ограждения в окружающую среду, Вт/м·°С.

a2 = (9,28+0,07·tн1)·(1+0,2·V) = (9,28+0,07·30)·(1+0,2·0,05) = 11,5 Вт/м·°С

Где tн1 -температура наружной поверхности ограждений, °С; V - скорость движения воздуха, м/с.

Приходные статьи теплового баланса включают тепловыделение бетона

Qэ1 = 2,3 · 10-7 · qэкв · (В/Ц)0,44 · Ц · tбср1 · tI = 2,3 · 10-7 · 420 · 0,750,44 · 265 · 50 · 3,5 = 3,95 МДж/м3                                                                           (33)

Тепло, поступающее в камеру с теплоносителем, определяется из теплового баланса как сумма полезного расхода тепла Qп1 на разогрев изделий и металла форм и непроизводительного расхода тепла Qпот1

Qто1= Qп1 + Qпот1                                                                       (34)

где Qп1= Qс1 + Qисп1 + Qв1 + Qа1 + Qф1 - Qэ1                        (35)

Qпот1 = Qогр1 + Qос1                                                                  (36)

п1 =111,3 + 62 + 40,5 + 1,05 + 39,52 - 3,95 = 250,42 МДж/м3

Qпот1 = 76,4 + 3,1 = 15,36 МДж/м3

Qто1 = 250,42 + 15,36 = 265,78 МДж/м3

В завершение теплотехнического расчета необходимо определить удельный расход пара

gп1 = 1000 · Qто1 / (iп - iк), кг/м3                                                 (37)

где iп - энтальпия насыщенного пара, кДж/кг; iк - энтальпия конденсата, кДж/кг

iк=св · tк1 = 4,19 · 80 = 335,2 кДж/кг                                           (38)

где tк1 - температура конденсата, °С;

gп1 = 1000 · 265,78 / (2645,147 - 335,2) = 115,06 кг/м3

Gп1 =nто · Vи · gп1 / t1 = 6 · 2,478 · 115,06 / 3,5 = 488,8 кг/ч    (39)

Тепловой баланс периода изотермической выдержки

) Расход тепла на нагрев сухой части изделий:

Qc=(Ц + П + Щ) · сс · (tб2 - tб1) / 1000 , МДж/м3                        (40)

где Ц, П, Щ - содержание цемента, песка, щебня в бетоне, кг/м3; сс - теплоемкость сухой части бетона, кДж / кг °С; tб1 - средняя к концу периода температура бетона в изделии, °С; tб2 - средняя к концу периода температура бетона в изделии, °С

Qc2 = (265 + 708 + 1235) · 0,84 · (85 - 80) / 1000 = 9,3 МДж/м3

) Расход тепла на нагрев воды, оставшейся в изделиях к концу периода

Qв2 =(В - W) · Св · (tб1 - tб0) / 1000 , МДж/м3                                    (41)

где В - содержание воды в бетонной массе, кг/м3 ; Св - теплоемкость воды, кДж/кг·°С.

Qв2 = (185 - 23,93) · 4,19 · (85 - 80) / 1000 = 3,4 МДж/м3

) Расход тепла на нагрев ограждающих конструкций

                                                   (42)

где lI и аi - теплопроводность, Вт/м·°С и температуропроводность, м2/ч, материалов ограждений; Fi - площадь ограждающих конструкций по внутреннему обмеру, м2 ; tni0 и tni1 - средняя температура внутренних поверхностей ограждений в начале и конце периода, °С; tI - длительность периода подогрева.

) Потери тепла в окружающую среду ограждениями камеры складываются из потерь тепла через отдельные элементы ограждений

                                                       (43)

где toc - температура окружающего воздуха, °С; Fi - площадь по наружному обмеру отдельных элементов ограждения, м2; Кi - коэффициент теплопередачи через соответствующие элементы ограждений, Вт/м·°С.

Приходные статьи теплового баланса включают тепловыделение бетона

Qэ2 = 2,3 · 10-7 · qэкв · (В/Ц)0,44 · Ц · tбср1 · tII = 2,3 · 10-7 · 420 · 0,750,44 · 265 · 50 · 5,5 = 6,2 МДж/м3                                                (44)

Тепло, поступающее в камеру с теплоносителем, определяется из теплового баланса как сумма полезного расхода тепла Qп1 на разогрев изделий и металла форм и непроизводительного расхода тепла Qпот1

Qто2=Qп2 + Qпот2                                                                       (45)

где Qп2 = Qс2 + Qв2 - Qэ2                                                           (46)

Qпот2= Qогр2 + Qос2                                                                   (47)

п2 = 9,3 + 3,4 - 6,2= 6,5 МДж/м3

Qпот2 = 1,58 + 0,34 = 1,92 МДж/м3

Qто2 = 6,5 + 1,92 =8,42 МДж/м3

В завершение теплотехнического расчета необходимо определить удельный расход пара

п2 = 1000 · Qто2 / (iп - iк), кг/м3                                                  (48)

где iп - энтальпия насыщенного пара, кДж/кг; iк - энтальпия конденсата, кДж/кг

к =св · tк1 = 4,19 · 80 = 335,2 кДж/кг                                           (49)

gп2 = 1000 · 8,42 / (2645,147 - 335,2) = 3,645 кг/м3

п2 = nто · Vи · gп2 / t2 = 6 · 0,98 · 5,52 / 6,5 = 5,0 кг/ч               (50)

Коэффициент полезного действия тепла

h = (Qп1 + Qп2) / (Qто1 + Qто2)·100% = (250,42 + 6,5) / (265,78 + 8,42) = 93,7                                                                                                 (51)

Суммарный удельный расход пара

п = gп1 + gп2 = 115,06 + 3,645 = 118,7 кг/м3[8].                         (52)

5. Задачи автоматизации тепловой установки

Регулирование процесса тепловлажностной обработки производят с помощью ручного управления, полуавтоматического и автоматического регулирования.

Ручное управление процессом часто приводит к тепловым ударам, резким колебаниям температуры среды, увеличению расхода теплоносителя и, в результате, снижению качества изделий.

Для повышения устойчивости регулирования режимов тепловлажностной обработки должна быть обеспечена стабильная работа систем теплоснабжения установок. В частности, при использовании пара устанавливают регулятор давления, обеспечивающий постоянное (в пределах 3 %) давление пара на входе в 6...10 тепловых установок. Диаметр регулятора подбирают по расходу пара, давлению до и после регулятора.

Полуавтоматическое регулирование обеспечивается установкой дроссельных диафрагм и регуляторов температуры прямого действия. Дроссельная диафрагма представляет собой металлическую пластину толщиной 3... 5 мм. Одна диафрагма устанавливается во фланцевом соединении с отверстием такого диаметра, который обеспечивает расход пара на нагрев установки с заданной скоростью; другая - на обводном паропроводе для поддержания изотермического прогрева.

Регуляторы температуры прямого действия (РПД), оборудованные сильфонными датчиками с передачей импульса по капиллярной трубке и установленные на паропроводе около камеры, автоматически поддерживают температуру изотермического выдерживания, регулируя подачу и отклонение пара. Как показал опыт промышленной эксплуатации, более совершенными являются системы, основанные на применении программных электронных регуляторов температуры. Они обеспечивают высокую точность и устойчивость регулирования температурного режима, а также автоматический контроль и сигнализацию процесса тепловой обработки.

Применение электронных регуляторов позволяет осуществлять централизованное дистанционное управление автоматизированными объектами, что значительно повышает удобство обслуживания, а также надежность работы измерительной и регулирующей аппаратуры. От стабильности теплового режима зависят качество изделий, снижение длительности их обработки и расход тепловой энергии.

Все действующие САР процесса тепловой обработки подразделяются на две основные группы. К первой группе относятся САР на базе программных регуляторов, отрабатывающих всю необходимую программу режима термообработки: подъем и снижение температуры, изотермическое выдерживание. Большое распространение получили электронные регуляторы типа ПРТЭ и ЭРП, применяемые в установках периодического действия.

Одна из эффективных систем автоматического управления тепловлажностной обработки основана на применении программного электронного регулятора температуры типа ПРТЭ-2М (рисунок 4). Регулирование температурного режима по заданной программе осуществляется за счет изменения количества пара, подаваемого в камеру в периоды подъема температуры и изотермического прогрева. Регулирующий орган, установленный на паровом вводе в камеру, получает командные импульсы от программного регулятора температуры, смонтированного на центральном щите управления.

Рисунок 4. Схемы автоматизации ямной камеры паропрогрева: а - структурная (I - исполнительный механизм (соленоидный вентиль типа СВБ); 2 - программный регулятор типа ПРТЭ-2М; 3 - самопишущий потенциометр для контроля режима; 4 - датчики); б - функциональная (I- крышка; 2 - гидрозатвор камеры; 3 - гидрозатвор системы вентиляции; 4 система пароподачи; 5 - регулятор давления; и - исполнительный механизм подачи пара)

Контроль и регистрация регулируемой температуры среды осуществляется автоматическим мостом. Датчики программного регулятора и автоматического моста, установленные в пространстве камеры, измеряют температуру паровоздушной среды. Установка датчиков в специальной нише, расположенной посредине одной из продольных стенок камеры, позволяет предохранить их от механических повреждений при загрузке и выгрузке изделий и защитить от непосредственного воздействия острого пара. Стабилизация давления пара осуществляется с помощью регулятора давления, установленного на магистральном цеховом паропроводе.

Основным элементом системы является программный регулятор температуры типа ПРТЭ-2М, обеспечивающий автоматическое регулирование температурного режима по заданной программе при максимальной продолжительности цикла обработки в пределах 24 ч.

Режим тепловлажностной обработки задают посредством реостатного задатчика, движок которого кинематически связан с программным диском-лекалом, закрепленным на валу синхронного электродвигателя и совершающим полный оборот за 24 ч. В качестве исполнительного механизма используется электромагнитный соленоидный вентиль типа СВВ с диаметром условного прохода 50 или 70 мм. Регулятор может работать при температуре окружающей среды от -10 до +40 °С. Чувствительность его не менее 0,5 °С. Пределы регулирования температуры 20...100 °С.

Функциональная схема регулирования процесса тепловлажностной обработки в периодических установках приведена на рисунке 6 б. После загрузки изделий и закрытия крышки с помощью переключателя 1-1 и вентиля 2-1 заполняют гидрозатворы системы вентиляции. Информацию об уровне воды подает сигнализатор 3-1. Затем включают программный регулятор температуры 4-1 типа ПРТЭ-2М В соответствии с изменением выходного сигнала задающего устройства (копир с изменяющимся профилем) регулятор при помощи исполнительного механизма 2-3 (электромагнитный вентиль типа СВВ) управляет расходом пара в камере. Давление в паропроводе поддерживает регулятор 5-2,

После окончания активного периода тепловлажностной обработки (прогрева и изотермического выдерживания) с помощью переключателя 1-2 и вентиля 2-2 выпускают воду из гидрозатворов системы вентиляции. Затем, используя дистанционное управление 1-3, включают вентилятор для охлаждения изделий.

Аналогична схема подключения и работы программного регулятора температуры ЭРП-61. Программу работы задают с помощью профилированного диска, кинематически связанного с движком потенциометрического задатчика. Информацию о температуре передает малоинерционный термодатчик ТДР-61. В качестве исполнительного механизма используют запорно-регулирующий паровой клапан ПРК-61 с диаметром условного прохода 50 мм. Регулятор снабжен двумя концевыми выключателями, обеспечивающими остановку программного диска по окончании цикла и сигнализацию в цех.

Применение блочных программных регуляторов типа БМРТЭ-12 позволяет автоматически контролировать и регулировать режимы термообработки на 12 установках. Регулятор имеет блокировочные контакты для подключения приборов контроля прочности бетона, а также выходы для подключения исполнительных механизмов. Регулятор состоит из блока управления и трех 4-канальных программных блоков. На лицевой панели блока размещены 4 программных устройства и сигнализация. Блоки соединяются между собой гибкими кабелями со штыревыми разъемами. Регулятор допускает работу с различным количеством программных блоков; его схема предусматривает возможность подключения регистрирующего электронного моста ЭМП-209М для записи температуры.

Вследствие большой инерции теплового процесса возможно использование одного автоматического регулятора температуры для управления.многими постами. В этом случае коммутирующее устройство подключают к регулятору камеры (термоформы, кассеты).

В системе многоканального импульсного регулирования МИР-68 обегающее устройство типа ОУ-25И периодически по каждому из 25-и каналов подключает к электронному усилителю типа Э-М один из измерительных блоков с присоединенным с нему датчиком.

Автоматизация управления режимами тепловлажностной обработки возможна с применением универсальной системы элементов промышленной пневмоавтоматики (элементы УСЭППА). Основанная на этих элементах система ПУСК-Зс-10 обеспечивает регулирование процессов тепловлажностной обработки в 10-и тепловых установках в диапазоне регулирования температур от О до 100 °С.

Максимальное время программы - 24 ч. Информация о протекании процесса обработки передается дилатометрическими преобразователями температур типа ПТЦД на станцию централизованного контроля и управления СЦКУ-С, управление режимом осуществляется 10-ю пневматическими исполнительными механизмами. Давление воздуха 0,3...0,6 МПа; расход - до 10 м3/ч.[1].

6. Решение по обеспечению требований по технике безопасности, охраны труда и окружающей среды при эксплуатации тепловой установки

Тепловые установки на заводах строительных материалов и изделий являются агрегатами повышенной опасности, так как их работа связана с выделением теплоты, влаги. Согласно действующим нормативам, в цехах, где размещаются тепловые установки, необходимо иметь: паспорт установленной формы с протоколами и актами испытаний, осмотров и ремонтов на каждую установку; рабочие чертежи находящегося оборудования и схемы размещения КИП; исполнительные схемы всех трубопроводов с нумерацией арматуры и электрооборудования; инструкции по эксплуатации и ремонту. В таких инструкциях должно быть краткое описание установок, порядок их пуска, условия безопасной работы, порядок остановки, указаны меры предотвращения аварии. Кроме того, инструкции должны содержать четкие указания о порядке допуска к ремонту установок, о мерах безопасного обслуживания и противопожарных мероприятиях.

На стадии проектирования предусматриваются нормы безопасной работы и эксплуатации тепловых установок. Каждая тепловая установка разрабатывается с таким расчетом, чтобы она создавала оптимальные условия ведения технологического процесса и безопасные условия труда. Для этого необходимо, чтобы поверхности установок были теплоизолированы и имели температуру не выше 40 °С.

Оборудование тепловых установок проектируют с ограждением, а его включение в работу должно сопровождаться звуковой и световой сигнализацией. Площадки для обслуживания, находящиеся выше уровня пола, оборудуют прочным ограждением и сплошной обшивкой по нижнему контуру.

Отопление и вентиляция цехов, в которых устанавливают тепловые установки, необходимо рассчитывать с учетом выделения теплоты, испарения влаги и выделения пыли. Электрооборудование тепловых установок проектируют с заземлением. Все переносное освещение делают низковольтным.

Электрооборудование тепловых установок должно быть запроектировано с ограждением и заземлением.

Особое внимание при проектировании тепловых установок следует уделять очистке работающих теплоносителей от уносов пыли и мелких частиц материала. Согласно нормативным указаниям, для тепловых установок следует проектировать специальные очистные устройства.

Обязательно должны быть вывешены на видном месте инструкции по правилам эксплуатации установок и охране труда. Весь обслуживающий персонал тепловых установок допускается к работе только после изучения, а также после обязательного документального оформления проверки его знаний. Персонал, обслуживающий тепловые установки, к которым предъявляются повышенные требования по охране труда, проходит дополнительное обучение с обязательной проверкой знаний в соответствии с правилами этих учреждений.[3],[4].

Заключение

Ямная камера в моем проекте применяется для тепловлажностной обработки панелей перекрытий размером 6 × 3 × 0.14 м, изготовляемые из тяжелого бетона марки 200 агрегатно - поточным способом. Мощность линии 18000 м3/год. В качестве теплоносителя используется пар. Коэффициент полезного использования тепла составляет η = 93,7 %. Длительность тепловлажностной обработки - 11 часов. Разрез ямной камеры, узел гидрозатвора, вертикальные стояки для распределения пара представлены на чертеже формата А1.

Список использованных источников

1. В.Н. Кокшарев, А. А. Кучеренко. Тепловые установки: Учебник. - К.: Выща шк., 1990. - 335 с. : ил.

. В. В. Перегудов. Теплотехника и теплотехническое оборудование: Учеб. для техникумов / под ред. Н. Ф. Еремина. - М.: Стройиздат, 1990. - 336 с. : ил.

. А. А Вознесенский. Тепловые установки в производстве строительных материалов и изделий: Учебник. - М.: Стройиздат,1964. - 439 с. : ил

. В. В. Перегудов, М. И. Роговой. Тепловые процессы и установки в технологии строительных изделий и деталей: Учебник для вузов. - М.: Стойиздат, 1983. - 413 с. , ил.

. ГОСТ 12767 - 94. Плиты перекрытий железобетонные сплошные для крупнопанельных зданий. Общие технические условия.

. Ю. С. Буров. Технология строительных материалов и изделий. Учебник для вузов. М., «Высшая школа», 1972. 464 с. с илл.

.ОНТП 07 - 85 Общесоюзные нормы технологического проектирования предприятий сборного железобетона.

. В. Н. Попко, Д. Х. Кутышев. Расчеты и проектирование тепловых уствновок заводов сборного железобетона. Учебное пособие. Казань, 1984. ил. 15, табл. 7.

Похожие работы на - Расчет ямной камеры

 

Не нашли материал для своей работы?
Поможем написать уникальную работу
Без плагиата!
Без нейросетей!