Электроприводы грузовых лебедок
Федеральное агентство морского и речного транспорта
Федеральное государственное образовательное учреждение
Высшего профессионального образования
Морской государственный университет
Имени адмирала Г.И. Невельского
Кафедра ЭОС
Электроприводы грузовых лебедок
Выполнил:
курсант гр. 0331
Яновский
К.А.
Проверил:
преподаватель
Миханошин
В.В.
Владивосток 2014
Содержание
Введение
1. Электроприводы
палубных грузовых механизмов
2. Электропривод
грузовых лебедок и кранов
3. Электроприводы
механизмов судовых систем
4.
Схемы управления электроприводов судовых систем
Введение
Данный курсовой
проект включает в себя основные вопросы проектирования системы электропривода
производственного механизма: изучение особенностей работы механизма, выбор типа
электропривода, выбор рода тока и типа электродвигателя, выбор напряжения и
частоты питающей сети или преобразователя, расчёт мощности и выбор двигателя и
т.д.
электропривод грузовой лебедка двигатель
Крановое
оборудование является одним из основных средств комплексной механизации всех
отраслей народного хозяйства. Расширение отрасли машиностроения, занимающейся
производством грузоподъемных машин, является важным направлением развития
народного хозяйства для решения задачи всемерного сокращения и ликвидации
тяжелого ручного труда. В настоящее время грузоподъемные машины выпускаются
большим числом заводов, во многих отраслях народного хозяйства. И эти машины
используются практически во всех сферах народного хозяйства: при добыче
полезных ископаемых, в металлургии, машиностроении, строительстве, на
транспорте и др. Подавляющее большинство грузоподъемных машин, изготовляемых
отечественной промышленностью, имеет электрический привод основных рабочих
механизмов и поэтому эффективность действия этих машин в значительно степени
зависит от качественных показателей используемого кранового
электрооборудования. Электропривод большинства грузоподъемных машин
характеризуется повторно-кратковременным режимом работы при большой частоте
включений, широком диапазоне регулирования скорости и постоянно возникающих
значительных перегрузках при разгоне и торможении механизмов. Особые условия
использования электропривода в грузоподъемных машинах явились основой для
создания специальных серий электрических двигателей и аппаратов кранового
исполнения. В настоящее время крановое электрооборудование имеет в своем
составе серии крановых электродвигателей переменного и постоянного тока, серии
силовых и магнитных контроллеров, командоаппаратов, кнопочных постов, конечных
выключателей, тормозных электромагнитов и электрогидравлических толкателей,
пускотормозных резисторов и ряд других аппаратов, комплектующих различные
крановые электроприводы.
В крановом
электроприводе начали довольно широко применяться различные системы
тиристорного регулирования и дистанционного управления по радиоканалу пли
одному проводу.
Для обеспечения
механизированной транспортировки ферромагнитных материалов промышленностью
изготавливается две серии грузоподъемных электромагнитов. Производство
кранового электрооборудования стало одной из важнейших отраслей
электротехнической промышленности. При этом использованием и эксплуатацией
кранового электрооборудования занимаются десятки проектно-конструкторских
организаций и сотни предприятий различных отраслей народного хозяйства,
следовательно, особую значимость приобретает выпуск систематизированной
информационно-технической литературы, охватывающей все стороны использования и
эксплуатации электрооборудования грузоподъемных машин.
Для проведения
практических инженерных расчетов в настоящее время созданы и внедрены в
практику новые прогрессивные и доступные для широкого круга работников методы
проектирования большинства крановых электроприводов, отражающие современные
направления оптимизации систем и их технико-экономического обоснования.
Особое внимание в
данном курсовом проекте уделяется проверке выбранного двигателя по нагреву и
перегрузочной способности, а также определению требований к преобразователю и
разработке схем электропривода.
1. Электроприводы палубных грузовых
механизмов
Судовые
грузоподъемные механизмы (лебедки и краны) по ряду общих признаков
классифицируются следующим образом:
) по характеру
выполняемых операций они подразделяются на: а) грузовые лебедки и краны,
предназначенные для переработки генеральных грузов, т. е. грузов, перевозимых в
упаковке или таре, а также для переработки леса и сыпучих грузов; б) лебедки и
краны, предназначенные для специализированных операций - шлюпочные, буксирные,
траловые и т. д.
) по передаточному
механизму различаются лебедки и краны с механическим и гидравлическими
передачами;
) по системе
управления лебедки и краны делятся на грузоподъемные механизмы с контроллерным
и релейно-контакторным управлением электроприводом, а также с управлением по
системе Г - Д или посредством магнитных усилителей и статических
преобразователей;
) по роду тока
различаются грузоподъемные механизмы с электроприводом постоянного и
переменного тока.
Требования,
предъявляемые к электроприводам грузоподъемных устройств.
Эксплуатационные показатели судов транспортного флота в
значительной степени зависят от производительности грузовых операций, которая,
в свою очередь, во многом зависит от характеристик и надежности работы судовых
грузоподъемных механизмов.
К современным
грузовым лебедкам и кранам предъявляется ряд требований как технического, так и
эксплуатационно-экономического характера. Основными из них являются:
а) достаточно
высокая производительность грузовых операций (до 50 ц/ч с номинальным грузом и
до 70-80 ц/ч с половинным грузом);
б) необходимый
диапазон изменения рабочих скоростей, достаточный для оперативной и безопасной
работы с различными грузами;
в) высокая
надежность электропривода, под которой понимается обеспечение безотказной
работы в течение разгрузки (или погрузки) судна;
г) простота схемы и
конструкции;
д) простота и
удобство обслуживания, минимальный уход при эксплуатации;
е) минимальное отрицательное
влияние пусковых токов и двигателя на судовую сеть;
ж) минимальные
мощность электропривода и расход электроэнергии;
В большинстве
случаев высокая производительность, способствуя сокращению
погрузочно-разгрузочных paбoт и продолжительности стоянки судна в портах,
значительно улучшает экономические показатели эксплуатации всего судна в целом.
Поэтому естественно, что требование высокой производительности во многих
случаях является доминирующим. Высокой производительности грузовых операций
добиваются тремя путями:
) обеспечением
достаточной скорости подъема. Обычно она колеблется в пределах 0,2-1,0 м/с
(12-66 м/мин). Более высокие скорости для судовых устройств нерациональны
вследствие малой высоты подъема грузов. Увеличение скорости подъема выше 50-60
м/мин перестает влиять на продолжительность всего цикла и не способствует
увеличению производительности даже в том случае, если за счет увеличения
мощности двигателей обеспечить достаточные ускорения, которые позволили
выходить на максимальную скорость.
При погрузке судна
проходимые грузом пути по мере заполнения трюма изменяются и достижение высоких
скоростей становится все более затруднительным. За короткий путь перемещения
груза по высоте исполнительный двигатель не успевает достигнуть полной
скорости.
Для получения более
гибкой системы управления наряду с максимальной скоростью судовые лебедки имеют
несколько промежуточных скоростей. Особенно важно иметь устойчивые малые, так
называемые установочные скорости подъема и спуска, а также ограничение выбегов
при торможении. Значения устойчивых посадочных скоростей определяются из
условия гарантии сохранности груза как эквивалентные скорости падения груза с
некоторой высоты. В отечественной практике посадочные скорости обычно
составляют 9-10 м/мин (эквивалентны скорости при высоте падения 1,0-1,1 мм),
однако возможны посадочные скорости до 15 м/мин. Обычно судовые лебедки
постоянного тока имеют не менее четырех положений скорости;
) значительным
увеличением диапазона регулирования скорости для обеспечения быстрого подъема и
спуска холостого гака и малых грузов. При этом скорость подъема холостого гака
допускается обычно несколько выше, а скорость спуска оставляется умеренной, так
как слишком быстрый спуск холостого гака может привести к спутыванию троса на
барабане лебедки;
) сокращением
продолжительности переходных процессов. Это достигается уменьшением моментов
инерции движущихся частей механизма, ограничением скорости двигателя (обычно до
1000 об/мин). Увеличение пусковых моментов ограничивается допустимой кратностью
пускового тока, имеющего обычно значения IПУСК = (2,0-2,5)IН.
Для обеспечения
безопасности работы лебедочные и крановые двигатели снабжаются электромагнитными
и механическими тормозами, допускающими ручное растормаживание, а для остановки
в верхнем положении - концевыми выключателями.
2. Электропривод
грузовых лебедок и кранов
Режим работы
электропривода грузовых лебедок и кранов является повторно-кратковременным и
характеризуется изменением нагрузки приводного двигателя в широких пределах
вследствие изменения приемов и общей организации грузовых работ (подтаскивание
груза, спаренная работа двух лебедок на один гак и т. п.).
Наиболее
распространен привод грузовых лебедок с электрическим реверсированием двигателя
и регулированием его скорости при подъеме и спуске груза с электрическим и
механическим торможением. Судовые лебедки и подъемные механизмы кранов имеют
следующие основные типы электроприводов:
а) с двигателями
постоянного тока смешанного возбуждения при контроллерных или
релейно-контакторных схемах управления;
б) по системе
генератор-двигатель или с тиристорным управлением;
в) с асинхронными
короткозамкнутыми многоскоростными двигателями;
г) асинхронными
двигателями с фазным ротором.
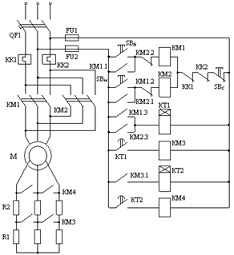
В качестве примера
рассмотрим схему электропривода грузовой лебедки, выполненной на базе
асинхронного двигателя с фазным ротором с релейно-контакторным управлением
(рис. 2.1).
Питание на привод
подается автоматическим выключателем QF, который одновременно обеспечивает
защиту от коротких замыканий. Для подключения к сети электродвигателя должен
сработать один из контакторов КМ1 или КМ2. В роторную цепь электродвигателя
включены пусковые резисторы R1 и R2, которые по мере разгона электродвигателя
шунтируются силовыми контактами контакторов КМ3 и КМ4.
Выбор направления
вращения осуществляется включением одного из контакторов КМ1 и КМ2 после
нажатия кнопок SBВ или SBН соответственно. После этого двигатель разгоняется по
искусственной механической характеристике, соответствующей включению в цепь
ротора дополнительного сопротивления R1+R2 (рис. 2.2). Одновременно замыкается
блок-контакт одного из контакторов КМ1 (КМ2) в цепи питания обмотки реле
времени КТ1. Последнее запускает выдержку времени, по истечении которой
замыкается контакт КТ1 в цепи обмотки контактора КМ3. Контактор срабатывает и
замыкает свои силовые контакты в цепи ротора электродвигателя, шунтируются
сопротивления R1, и двигатель переходит на вышерасположенную искусственную
механическую характеристику. Кроме того, замыкается блок-контакт КМ3 в цепи
обмотки реле времени КТ2. Последнее отсчитывает выдержку времени, по истечении
которой замыкает свой контакт в цепи обмотки контактора КМ4. Контактор
срабатывает и замыкает свои силовые контакты в цепи ротора электродвигателя,
переводя его на естественную механическую характеристику, по которой двигатель
разгоняется до точки, соответствующей номинальному режиму.
Рис. 2.1. Схема
электропривода грузовой лебедки

Таким образом,
разгон двигателя происходит по трем механическим характеристикам,
последовательно проходя через точки 0-1-2-3-4-5.
Остановка
электропривода производится нажатием кнопки стоп SBС.
3. Электроприводы
механизмов судовых систем
На современных
судах электропривод вспомогательных механизмов силовых установок и судовых
систем должен обеспечивать:
) надежность
действия и простоту обслуживания;
) легкость пуска;
) возможность
дистанционного управления и автоматический пуск в зависимости от режима работы
установки;
) высокую
экономичность работы при нормальном режиме и при регулировании;
) легкость
регулирования;
) минимальные массу
и габариты.
Регулированием производительности
насоса или вентилятора добиваются оптимального режима его работы,
соответствующего режиму работы системы. У насосов это может быть достигнуто
дросселированием со стороны нагнетания или всасывания, обратным перепуском
жидкости, изменением частоты вращения двигателя, изменением хода поршня,
параллельным или последовательным соединением насосов; у вентиляторов -
заслонкой, регулированием частоты вращения двигателя, последовательным или
параллельным их соединением.
В судовых
установках прибегают к дросселированию нагнетания (так как это способ наиболее
простой, хотя и не экономичный), параллельному или последовательному соединению
насосов и изменению частоты вращения электродвигателя.
Практически
большинство центробежных насосов и вентиляторов малой мощности работает с
постоянной частотой вращения, и их производительность регулируется
дросселированием. Для насосов и вентиляторов большой мощности, особенно если
они предназначены для работы в течение длительного времени при пониженной
производительности, регулирование производительности осуществляется изменением
частоты вращения - более экономичный способ, чем дросселирование.
Регулирование
частоты вращения насоса электродвигателем постоянного тока можно осуществлять
путем изменения сопротивления в цепи якоря, изменением тока в цепи возбуждения,
а также изменением напряжения на якоре с помощью управляемого преобразователя.
Частоту вращения
электродвигателя переменного тока можно регулировать изменениями сопротивления
в цепи ротора, частоты питающей сети, напряжения на зажимах статора и
применением многоскоростных двигателей.
При регулировании
частоты вращения введением сопротивления в цепь якоря двигателя возникают
потери, непропорциональные снижению частоты вращения, так как момент двигателя
снижается пропорционально квадрату, а потребляемая мощность - пропорционально
кубу частоты вращения.
Регулирование
частоты вращения изменением тока возбуждения обычно сводится к повышению
частоты вращения по сравнению с номинальной. Если насос должен длительно работать
с частотой вращения, составляющей 80-100% номинальной, то целесообразно
регулировать ее изменением тока возбуждения.
Регулирование
частоты вращения изменением частоты тока питающей сети является наиболее
выгодным для асинхронных двигателей. Если напряжение двигателя меняется
пропорционально квадрату частоты, то двигатель будет работать с оптимальными
показателями. Однако основным недостатком такого регулирования является
необходимость установки специального преобразователя, частота которого должна меняться
в зависимости от необходимых пределов регулирования.
Для судовых
электроприводов с асинхронными короткозамкнутыми двигателями наиболее
рациональным является статический преобразователь частоты с промежуточным
звеном постоянного тока.
Регулирование частоты
вращения применением многоскоростных двигателей возможно в том случае, когда
оно ограничивается двумя или тремя фиксированными ступенями. Подобный способ
регулирования целесообразен для циркуляционных и охлаждающих насосов. Потери
при этом способе отсутствуют, так как мощность двигателя на низких частотах
вращения значительно меньше номинальной. Простота конструкции двигателя и схемы
управления дает основание считать данный способ регулирования наиболее
приемлемым в судовых условиях.
Для дистанционного
пуска двигателя или автоматического пуска привода в функции параметра,
определяющего работу установки, преимущественное распространение получили
релейно-контакторные схемы управления. Дистанционное управление при
автоматическом пуске осуществляется с помощью кнопочного поста от любого типа
измерительного устройства.
Для пуска прямым
включением в сеть применяются магнитные пускатели. Они обеспечивают возможность
пуска двигателя мощностью 1,7-55,0 кВт при напряжении 380 В. Магнитный
пускатель состоит из трехполюсного контактора, двух тепловых реле и встроенного
или дистанционного кнопочного поста.
Тепловая защита
отключает двигатель, когда ток перегрузки превышает 1,2 номинального, в течение
20 мин после длительной работы при номинальном токе. При семикратном токе
перегрузки с холодного состояния пускатель срабатывает примерно через 5 с, что
необходимо учитывать при пуске двигателя насосов или вентиляторов с большим
маховым моментом, когда время разгона может превышать 5 с. Таким образом,
необходимо правильно выбирать тепловое реле, иначе оно отключит двигатель до
окончания пуска.
На рис. 4.1 в
качестве примера приведена схема автоматического пуска двигателя в функции
изменения давления, где КК - тепловые реле; КДmax и КДmin - н. з. и н. р.
контакты реле давления; КП - промежуточное реле; КМ - линейный контактор.
Рис. 4.1 Схема
автоматического пуска двигателя в функции давления
В связи с развитием
систем автоматического управления появились схемы управления электроприводами,
предназначенные для дистанционного автоматического управления регулируемыми и
исполнительными органами от измерительного устройства того или иного типа.
Электроприводы
могут использоваться в регуляторах давления для поддержания величины давления
регулируемой среды. В системах регулирования котельных установок они
применяются в регуляторах, управляющих подачей топлива и воздуха. Эти же
электроприводы могут быть применены для поддержания заданной величины
разрежения регулируемой среды, перемещения регулирующего органа на величину,
пропорциональную изменениям параметров измерительного устройства.
На рис. 4.2 в
качестве примера приведена схема электропривода, которая обеспечивает
возможность дистанционного (положение Д) управления с помощью кнопок открытия
SBО и закрытия SBЗ и автоматического управления (контакты КАЗ) от
измерительного устройства положением рабочего органа. Выбор режима управления
осуществляется переключателем SA.
В автоматическом
режиме (положение А) при достижении предельного положения исполнительного
механизма система автоматически отключается при помощи контактов конечных
выключателей КВО, КВЗ и контакторов "Открыть" (КМО) и
"Закрыть" (КМ3). Электроприводы работают кратковременно, на время
нажатия кнопки или автоматического замыкания контактов по принципу
"открыть", "закрыть", "приоткрыть".
Рис.4.2 Схема
электропривода с регулированием положения