Швейні машини ланцюгового стібка
ЗМІСТ
1. Втуп
. Опис виробу
. Спеціальне завдання
.1 Розробка просторової
синхрограми механізму зигзагоподібного стібка26 (З) кл
.2 Визначення параметрів
механізму петельника
.3 Синтез механізму
петельника
.4 Кінематичний аналіз
.5 Динамічний аналіз механізму
.6 Перевірка деталей
Література
1. Вступ
Підходячи до вивчення швейної
промисловості, важливі відмітити, що вона являється однією з найважливіших
галузей промисловості, оскільки займається виготовленням необхідних у
повсякденному житті продуктів, таких як: одяг, швейні вироби технічного та
побутового призначення, а також інші оздоблювальні матеріали та фурнітуру з
тканин, трикотажного полотна, натурального та штучного хутра та шкіри, маючих
чимале значення в житті людей.
Швейні машини ланцюгового стібка
завдяки відомим перевагам порівняно з машинами човникового стібка та з огляду
на постійне розширення асортименту швейних матеріалів з року в рік збільшують
свою долю в загальній номенклатурі швейного обладнання. Наразі ці види машин
випускають у світі десятками фірм, а число класів машин та їх модифікацій
вимірюється тисячами і постійно зростає. В той же час технологічні процедури
утворення різних типів стібків, що виконуються на цьому обладнанні оновлюються
дуже рідко. Згідно з (1) існує всього 72 типи стібків та відповідно способів їх
утворення (з них багато ниткових ланцюгових - 41). Ще десяток - других цих
способів можна знайти в патентних матеріалах. В промисловому обладнанні цих
технологічних процесів реалізовано менше.
Дані обставини уповільнюють
вдосконалення перспективного виду обладнання і розширення його застосування.
Створення швейної машини відносять
до другої половини XVIII століття,
а з середини XIX століття
- часу, коли на
зміну кустарному прийшло масове виробництво одягу, швейні машини набули
небаченої популярності. Ринкові відношення все більше захоплювали сферу
соціально-економічного життя, відбувалося зростання промисловості.
З промислово розвинених країн
найбільш велику промисловість з виготовлення швейних машин мають Китай, Японія,
Тайвань, Швейцарія, США, Німеччина. Найважливіші фірми виробники швейного
обладнання: Китай - INGER,
BOUTIQUE,
DELFA,
VERITAS,
ORION,
DRAGONFLY;
Японія - BROTHER, TOYOTA,
JUKI,
JANOME,
JAGUAR;
Тайвань - JANOME,
SOONTEX, LEADER,
MINERVA; Швейцарія
- BERNINA; США - SINGER;
Німеччина - PFAFF.
У сучасному швейному виробництві
однією з головних задач є автоматизація швейного обладнання задля підвищення
якості виробу шляхом зменшення навантаження на робітників та включення рутинних
задач у функціонал швейної машини, або розширення їх технологічного процесу .
Цим обумовлена актуальність розглянутої теми курсової роботи. Завданням
курсового проекту є розробка швейної машини зигзагоподібного ланцюгового
стібка, а саме механізм петельника що забезпечує можливість утворення
триниткового зигзагоподібного стібка.
Під час проходження переддипломної
практики з 02.02.15 по 28.02 були виконані такі роботи з доопрацювання та
корегування графічних матеріалів дипломного проекту на тему «Удосконалення
головки швейної машини 26(З) класу з механізмом петельника для виконання
трьохниткових зиг-зигоподібних ланцюгових стібків класу 400 і 401.
На листі №2 загального виду
механізму стадії проектування за ГОСТ 2.118-73 «Ескізний проект» виконано
креслення загального виду головки швейної машини 26 (З) з удосконаленим
механізмом петельником та проставлені позиції деталей та механізмів.
Представлена кінематична схема удосконаленого механізму петельника з
проставленими позиціями. При корегуванні даного листа було показано
удосконалений механізм в оптимальному куті положення механізму для його огляду.
На листі №3 загального виду
механізму стадії проектування за ГОСТ 2.118-73 «Ескізний проект» виконано
кінематичну принципову схему швейної машини 26 (З) та проставлені позиції на
всі видах креслень.
На листі №4
дипломного
проекту була представлена кінематична схема, була розроблена синхрограма
(знакова модель) петле утворюючих механізмів машин трьохниткового ланцюгового
зигзагоподібного стібка, а також були представлені показники петельника, ширини
зигзагу, відхилення петельника відносно строчки, хід петельника вздовж строчки,
положення петельника в момент заколу петельника, положення вічка петельника в
момент заколу. Також був проведений динамічний аналіз механізму петельника з
визначенням навантаження в кінематичних парах та навантаженнях в деталях
механізму, переміщення та деформації. Визначенні максимальні значення
навантаження в деталях механізму. Були розроблені графіки прискорення,
переміщення, та швидкості, був проведений синтез механізму.
2. Опис
виробу
МЕХАНІЗМ ПЕТЕЛЬНИКІВ ШВЕЙНОЇ МАШИНИ
Корисна модель відноситься до
швейного машинобудування, зокрема до багатониткових сточувальних швейних машин
ланцюгового зигзагоподібного стібка.
Відомий механізм петельників швейної
машини [Патент EP
№2189564, МПК: D05B3/06,
D05B71/00,
2010 р.], що містить вертикальний та горизонтальний вали, з’єднані з головним
валом кінематичним зв’язком, ланку, закріплену на горизонтальному валі, шатун,
ведучу ланку, встановлений в корпусі машини подвійний тримач-коромисло, який
з’єднаний з одною головкою шатуна та на якому закріплені два петельники.
При цьому ведуча ланка виконана у
вигляді кулачка, який з’єднаний з одним плечем двохплечого коромисла, інше
плече якого з’єднане з шатуном, подвійний тримач-коромисло, встановлений в
корпусі машини з можливістю тільки коливальних рухів, на петельниках вільно
встановлені розширювачі, а кінематичний зв’язок виконаний у вигляді конічної
зубчастої передачі з передаточним відношенням 1:1.
Така будова призводить до складності
конструкції та знижує технологічність виготовлення обладнання, а виконання
кінематичного ланцюга з передаточним відношенням 1:1 дозволяє отримувати стібок
тільки з малою шириною зигзагу (3÷4 мм),
що звужує технічні можливості машини.
Відомий також механізм петельників
швейної машини [Патент України №81771, МПК: D05B57/00;
D05B71/00,
2013 р.], що містить горизонтальний вал, з’єднаний кінематичним ланцюгом з
головним валом з передаточним відношенням 2:1, на горизонтальному валу
закріплений кривошип, трьохчлений шатун, з`єднаний поступальною кінематичною
парою з повзуном, кінематично з’єднаного з напрямною корпусу, а обертальними
кінематичними парами з кривошипом та подвійним тримач-коромислом з закріпленими
в ньому двома петельниками. При цьому кінематичний ланцюг виконаний у вигляді
двох пар конічних зубчастих передач та вертикального вала.
Така будова призводить до складності
конструкції та знижує технологічність виготовлення швейного обладнання.
В основу корисної моделі покладена
задача створити такий механізм петельників швейної машини, в якому введенням
нових елементів та їх зв’язків досягалось би спрощення конструкції та
підвищення технологічності виготовлення механізму.
Поставлена задача вирішується тим,
що містить горизонтальний вал, з’єднаний кінематичним ланцюгом з головним валом
з передаточним відношенням 2:1, на горизонтальному валу закріплений кривошип,
трьохчлений шатун, з`єднаний поступальною кінематичною парою з повзуном,
кінематично з’єднаного з напрямною корпусу, а обертальними кінематичними парами
з кривошипом та подвійним тримач-коромислом з закріпленими в ньому двома
петельниками, згідно з корисною моделлю, як кінематичний ланцюг вибрано
зубчасто-пасову передачу, що містить ведучий і ведений шківи, та зубчастий пас,
при цьому ведучий шків закріплений на головному валі, а ведений на
горизонтальному валі.
Виконання кінематичного ланцюга у
вигляді зубчасто-пасової передачі дозволяє зменшити кількість деталей, що
призводить до спрощення конструкції механізму та підвищує його технологічність
виготовлення.
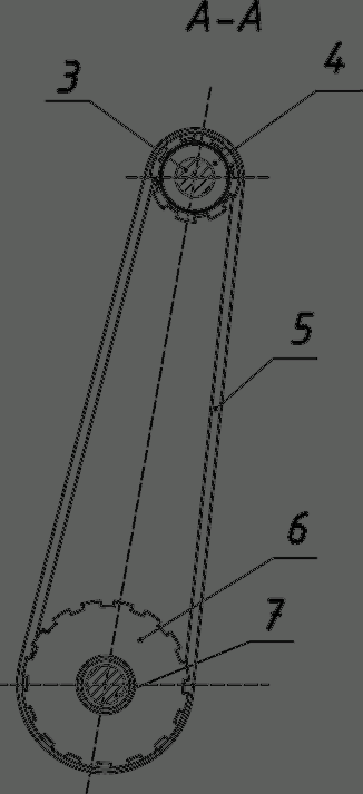
Механізм петельників швейної машини
представлений на кресленнях, де: Рис. 1 - схема механізму петельників швейної
машини; Рис. 2 - вид спереду; Рис. 3 - розріз А-А на Рис. 2.
Механізм петельників швейної машини
містить корпус 1 машини, в якому в підшипниках 2 встановлений головний вал 3
(Рис. 1-3), на якому закріплений ведучий шків 4, який з’єднаний зубчастим пасом
5 з веденим шківом 6 та утворюють разом зубчасто-пасову передачу 4-6 з
передаточним відношенням 2:1.\Ведений шків 6 закріплений на
горизонтальному валі 7. На кінці горизонтального вала 7 закріплений кривошип 8,
який виконаний з колінчастим пальцем 9, що з’єднаний з головкою трьохчленого
шатуна 10, на якому закріплений палець 11, що з’єднаний обертальною
кінематичною парою з повзуном 12, який в свою чергу, поступальною кінематичною
парою з’єднаний з напрямною 13, яка закріплена в корпусі 1 машини. Інша головка
шатуна 10 з’єднана з першим плечем подвійного тримача-коромисла 14, яке вільно
встановлене в корпусі 1 машини з можливістю отримання як коливних, так і
зворотно-поступальних рухів. На другому плечі подвійного тримача-коромисла 14
закріплені два петельники 15 та 16.
Механізм петельників швейної машини
працює наступним чином.
Обертальні рухи головного вала 3 в
корпусі машини 1 передаються через зубчасто-пасову передачу 4-6, з передаточним
відношенням 1:2, горизонтальному валу 7, та кривошипу 8. Обертальний рух
кривошипа 8 шатуном 10 та пальцем 11 перетворюється в зворотно-поступальний рух
повзуна 12 відносно напрямної 13, при цьому інша головка шатуна 10 отримує
складний рух, який перетворюється в коливний та зворотно-поступальний рух
тримача-коромисла 14 і разом з ним петельників 15 та 16, які рухаються по
еліпсоподібній траєкторії.
Для збереження взаємодії петельників
15 та 16 з голкою в процесі утворення стібка, величину переміщення петельників
регулюють величиною радіуса кривошипа - поворотом колінчастого пальця 9
кривошипа 8 та відповідним положенням петельників 15 та 16 в тримачі-коромислі
14. При збільшенні величини зигзагу відстань між петельниками та радіус
кривошипа збільшують і навпаки, при зменшенні величини зигзагу їх зменшують.
ФОРМУЛА КОРИСНОЇ МОДЕЛІ
Механізм петельників швейної машини,
що містить горизонтальний вал, з’єднаний кінематичним ланцюгом з головним валом
з передаточним відношенням 2:1, на горизонтальному валу закріплений кривошип,
трьохчлений шатун, з`єднаний поступальною кінематичною парою з повзуном,
кінематично з’єднаного з напрямною корпусу, а обертальними кінематичними парами
з кривошипом та подвійним тримач-коромислом з закріпленими в ньому двома
петельниками, який відрізняється тим, кінематичний ланцюг вибрано
зубчасто-пасову передачу, що містить ведучий і ведений шківи, та зубчастий пас,
при цьому ведучий шків закріплений на головному валі, а ведений на горизонтальному
валі.
Рис.1 Cхема
механізму петельників швейної машини
Рис.2
Рис.3 Розріз А-А
3.
Спеціальне завдання
Виконати розрахунок голки та петельників.
Виконати синхрограму (знакова модель) петелеутворюючих механізмів машини
трьохниткового зигзагоподібного ланцюгового стібка, . Визначити показники
механізму взаємодії петельників з голкою за один оберт головного валу за (7200).
Виконати динамічний аналіз механізму петельника, а також визначити реакції в
кінематичних парах механізму. Виконати графіки переміщення, швидкості,
прискорення, перевірити деталі на міцність, переміщення, і деформацію. Виконати
синтез механізму петельника, визначити максимальні значення в реакціях.
Кінематично принципова схема
механізму петельника
.Корпус, 2.Підшипник, 3.Головний
вал, 4.Шків вудучий, 5.Зубчастий пас, 6.Шків ведений, 7.Горизонтальний вал,
8.Кривошип, 9. Колінчастий палець,10.Головка шатуна, 11.Палець, 12.Повзун,
13.Напрямна, 14.Подвійний тримач коромисло, 15-16.Лівий та правий петельник,
17.Вал петельника, 18. Тримач.
3.1
Розробка просторової синхрограми механізму зигзагоподібного стібка 26(З) класу
швейний стібок голка
петельник
3.2 Визначення
параметрів механізму петельника
Звідки хід петельника поперек
строчки
Lх
=
,
Lх
=
= 78,8мм ,
За відомим ходом петельника з
рівняння визначають початкове положення петельника відносно осі голки.
3
= 0.5Lx
(1- cos
φ3)
L3
= 0,5 ·78,8·(1 - cos
30°) = 19,7 мм ,
На графіку Z
= ƒ (φ)
точок 3′′, 4′′ визначають відповідно параметри Z3
та Z4
положення носика петельника (відносно початкового положення ) у момент захвату
петлі - напуску та «заколу». Розрахуючись вздовж лінії строчки петельник з
вихідного (початкового) положення Z0
переміщується на необхідну для досягнення взаємодії з голкою відстань:
3
= 0,5 Zх
sin φ3
,
Z3
= 0,5 ·4,96 sin
30° =1,24 мм ,
У момент завершення «заколу» (точка
4′′) петельник розміщуеться відносно початкового положення на
відстані
4
= 0,5 Zх
sin φ4
,
Z4
= 0,5 ·4,96 sin
57° =2,13мм ,
Значення параметрів Z3
та Z4
невідомі, але сума цих переміщень , тобто переміщення петельника вздовж строчки
від моменту захвату петлі - напуску (точка 3′′) до завершення
«заколу» (точка 4′′), тому
′ = Z3
- Z4
d
+ ƒ,
Де d
- діаметр стержня голки;
З рівнянь випливає:
0.5 Zх
sin
φ3
+ 0.5 Zх
sin φ4
= Z
,
.5 ·4,96 sin
30° + 0.5 ·4,96 sin
57°= 3,37мм,
Звідки хід петельника вздовж
строчки:
Zх
=
,
Zх
=
= 4,96 мм
Розрахунок ходу голки
На графіку S=ƒ
(φ), як на знаковій
моделі механізму голки горизонталь яка з’єднує характерні точки 1, 2,
відображає рівень матеріалу максимальної товщини. Згідно з графіком хід голки Sх
голки в матеріалі та руху Sт
голки в матеріалі та руху St
голки над матеріалом . За період φ12
= φ
t
відбувається просування матеріалу на величину стібка. Виходячи з
закономірностей роботи механізму просування матеріалу, період φ12
береться звичайно в межах φ12=(120
°φ
…140 ° φ
), що водночас забезпечує необхідне досить
високе положення вістря голки Г відносно притискної лапки ПЛ при верхніх їх
положеннях St
≥ Sпл
.
За величиною кута φ
t
визначають кут повороту головного вала (кривошипа) φт,
що відповідає величині Sт
руху вістря голки в матеріалі :
φт
=(180° - 0,5φ
t
),
φт=(180°
- 0,5·30)= 165°
Для виконання своєї функції голка
повинна мати мати переміщення в матеріалі Sт.
т=h+
S3+ɑ+b+δ+c+m,
Де - h
- довжина вістря голки (h
4…5
мм);
S3
- переміщенн голки з к.н.п яке необхідно для утворення петлі-напуску S3=(5…8)
мм;
ɑ, b,
δ, c,
m - відповідно,
перевищення петельника над вушком голки; висота петельника; відстань між
петельником та голковою пластиною; товщина голкової пластини; товщина пакету
матеріалу.
Sт=2+6+2+5,5+6+3+3=27,5
мм,
За отриманим значенням Sт
та відповідним кутом повороту головного валу φт
розраховують необхідний хід голки Sх.
Згідно з виразом :
т=0,5
Sх
(1 - cos
30φт),
Sт=0,5·
41,44 (1 - cos
30)=2,78 мм,
Звідки
Sх
,
Sх
=41,44
мм
Переміщення вістря голки над
матеріалом
t=
Sх - Sт,
St=
41,44-
2,78=38,66 мм,
3.3
Синтез механізму петельника
Синтез механізму петельника виконується за
допомагою аналітичного методу метричниго синтезу . Осноновною умовою метричного
синтезу типового мехінізму петельника є визначення такої довжини кривошипа r,
яка при випробуванні та за допомогою синхрограми петлеутворючих механізмів
машин трьохниткового ланцюгового загзагоподібного стібка забезпечув ало б
переміщення голки з крайнього нижнього положення на величину Sm,яка зумовленна
функціональними та констурктивними параметрами.
3.4
Кінематичний аналіз механізму
Кінематичний аналіз механізму -
Виконується з метою знаходження перших і других передаточних функцій, аналогів
швидкостей та прискорень, находження максимальних прискорень центрів мас ланок
у тому числі функцій положень, швидкостей та прискорень за один цикл обертання
головного валу або за один цикл роботи механізму (технологічної машини). При
кінематичному аналізі потрібно віддавати перевагу методам аналітичної
кінематики в порівнянні із графо-аналітчними методами кінематичного аналізу.
Наприклад, методом графічної побудови планів швидкостей та планів прискорень
доцільно користуватися в випадках проектування і синтезу складних важельних
механізмів, для яких в літературі відсутні аналітичні вираженні для прискорень
ланок і якщо отримати перші і другі похідні методи прямого диференціювання
отриманих функцій положення в аналітичному або табличному вигляді.
3.5 Динамічний
аналіз механізму
Епюра навантаження
механізму в кінематичних парах:
Епюра реакцій в к.п. (R7.8
вал-кривошип, R8.9
кривошип- колінчастий палець, R
9.10 колінч.
палець-шатун)
Епюра реакцій к .п. (R10.11
шатун - палець, R10.12
шатун - повзун)
Епюра реакцій к .п. (R10.11
шатун - палець, R10.14
палець - коромисло)
Епюра в к.п. (R17.14
коромисло - вал петельника)
Епюра в к.п.(R16.18
Тримач петельника - правий петельник,тримач -
тримач R15.18 петельника,
тримач петельника - лівий петльник)
Епюра прискорення,
швидкості, переміщення в кінематичних парах:
Епюра прискорення,
швидкості, переміщення (Кривошип - палець сферичний, Вал петельника - кривошип,
Палець сферичний - шатун)
Епюра прискорення, швидкості,
переміщення (Коромисло - вал петельника, Вал петельника - тримач, Тримач -
тримач петельників)
Епюра прискорення, швидкості,
переміщення (Шатун - повзун, Шатун - палець, Палець - коромисло)
Епюра прискорення, швидкості,
переміщення (Тримач петельників - правий петельник, Тримач петельників -
петельник лівий)
3.6
Перевірки деталей
Кривошип - палець

Напруга в кінематичній парі
(Кривошип-палець) Деформація в кінематичній парі (Кривошип-палець)

Переміщення в кінематичній
парі (Кривошип-палець) Переміщення в кінематичній парі (Кривошип-палець)
Палець - шатун

Напруга в к.п. (Палець - шатун)
Деформація в к.п. (Палець - шатун)

Переміщення в к.п (Палець - шатун)
Переміщення в к.п (Палець - шатун)
Шатун - повзун

Напруга в к.п. (Шатун- повзун)
Переміщення в к.п. (Шатун- повзун)
Коромисло- сферичний палець

Напруга в к.п. (Коромисло -
сферичний палець) Деформація в к.п. (Коромисло - сферичний палець)

Вал -тримач

Напруга в к.п.(Вал - тримач)
Деформація в к.п.(Вал - тримач)

Переміщення в к.п. (Вал - тримач)
Переміщення в к.п. (Вал - тримач)
Вал - коромисло

Напруження в к.п. (Вал - коромисло)
Деформація в к.п. (Вал - коромисло)
Переміщення в к.п. (Вал - коромисло)
Тримач - тримач петельників

Напруження в к.п. (Тримач - тримач
петельників) Деформація в к.п. (Тримач- тримач петельників)
Переміщення в к. п. (Тримач - тримач
петльників)
ЛІТЕРАТУРА
1.
Програма переддипломної практики студентів денної і заочної форми навчання
спеціальність 7.0902.22 «Обладнання легкої промисловості та побутового обслуговування
»/ Упор.:Б. В. Орловський, В. О. Пищиков. - К.:КНУТД, 2007. - 12 с. Укр. мовою
.
Дипломне проектування. Методичні вказівки для студентів спец. 7.090222 і
8.090222 / Упор. Б. В. Орловський, В. О. Пищиков - К.:КНУТД. - 2007. - 20 с.
.
А.Ш.Шейнбліт Курсовое проектирование деталей машин: Учеб. пособие для
техникумов. - М.:Высш. Шк., 1991. - 432 с.: ил.
.
Правила виконання кінематичних схем. Позначення умовні графічні в схемах.
Елементи кінематики. (Стандарт кафедри)/ Упор. Б. В. Орловський, В. О. Пищиков,
Арабінова Н.С. - .: КНУТД. - 2003. -32 с.
.
В. О. Пищиков, Б. В. Орловський ПРОЕКТУВАННЯ ШВЕЙНИХ МАШИН: Навчальний посібник
для вищих навчальних закладів за спеціальністю «Обладнання легкої промисловості
та побутового обслуговування ». - К.: Видавничо - поліграфічний дім «Формат». -
2007. - 320 с., іл. 154.