Морское бурение разведочных скважин

  • Вид работы:
    Курсовая работа (т)
  • Предмет:
    Геология
  • Язык:
    Русский
    ,
    Формат файла:
    MS Word
    1,8 Мб
  • Опубликовано:
    2014-12-27
Вы можете узнать стоимость помощи в написании студенческой работы.
Помощь в написании работы, которую точно примут!

Морское бурение разведочных скважин

Министерство образования и науки Российской Федерации

ФГБОУ ВПО «РОССИЙСКИЙ ГОСУДАРСТВЕННЫЙ ГЕОЛОГОРАЗВЕДОЧНЫЙ УНИВЕРСИТЕТ имени Серго Орджоникидзе» (МГРИ-РГГРУ)

Кафедра геотехнологии и комплексного освоения месторождений полезных ископаемых





Курсовой проект

На тему «Морское бурение разведочных скважин»


Проверил: старший преподаватель

Богданов П. В.

Выполнил: студент группы РТМО-10

Комиссаров А. О.






Москва 2014

Содержание

Введение

Глава 1. Краткая геологическая характеристика участка работ

Глава 2.  Выбор способа бурения и построения конструкции скважины

.1 Выбор способа бурения

.2 Обоснование конструкции скважины

Глава 3. Выбор плавучей буровой установки, бурового оборудования

и инструмента

.1 Выбор плавучей буровой установки

.2 Выбор бурового оборудования

.3 Выбор бурового инструмента

.4 Проверочный расчет буровой вышки

Глава 4. Технология бурения скважин

.1 Технология погружения обсадной колонны

.2 Технология отбора керна

.3 Технология вращательного бурения

.4 Составление геологического наряда

Глава 5. Организация работ по морскому бурению скважин

.1 Подготовительные работы

.2 Организация процесса морского бурения

.3 Ликвидационные работы

.4 Охрана окружающей среды

.5 Технологии безопасности при морском бурении скважин

Список используемой литературы

Введение

Основной целью курсового проектирования является закрепление теоретических знаний по курсу «Морское бурение инженерно-геологических скважин», выработка навыков самостоятельной работы по решению инженерных задач по морскому бурению скважин с использованием специальной технической и справочной литературы.

Россыпями называются рыхлые отложения содержащие скопление зерен полезных минералов таких как золото, серебро, платина, олово (касситерит), магнетит, рутил, ильменит, цирконий, алмазы, сапфиры, янтарь и другие.

Бурение при поисках и разведке россыпей и стройматериалов - наиболее распространенный способ оценки большинства видов полезных ископаемых на всех стадиях геологоразведочных работ. В прошлом широко применялось бурение вручную и с помощью лошадиной тяги (комплект Эмпайр и др.). В настоящее время обычно используется механическое бурение, хотя в некоторых странах до сих пор сохранилось и ручное оборудование. Наиболее распространено ударно-канатное бурение. Однако намается тенденция к увеличению объема колонкового бурения, позволяющего получить ненарушенный керн, проводить качественную и информативную документацию, надежное опробование. К недостаткам колонкового бурения относятся ограниченная возможность его применения и резкое снижение выхода керна при сложном геологическом разрезе, особенно при наличии крупнообломочных и слабосцементированных отложений, плывунов, а также более высокая по сравнению с ударно-канатным бурением стоимость. Ударно-канатное бурение более универсально в отношении технических возможностей проходки в сложных условиях. Недостатками его являло гораздо меньшая информативность из-за полного разрушения пород при бурении, возможность заметных погрешностей при определении границ и мощности пласта за счет неполного извлечения полезных минералов при желонении, нарушение объема проб, что обусловлено невыдержанностью диаметра скважин, а также измельчение некоторых минералов (касситерит, вольфрамит и др.) долотом - вплоть до пылевидных частиц, не улавливаемых при промывке. В настоящее время разработаны достаточно совершенные конструкции пробоотборников, а так же каверномеров для точного и оперативного определения фактического диаметра скважин, что позволяет значительно повысить достоверность данных ударно-канатного бурения. Диаметр скважин в зависимости от вида бурения для россыпей различных полезных ископаемых и стройматериалов в пределах 100÷200 мм. Применяются также скважины большого диаметра - 500мм и более, особенно на россыпях алмазов и благородных металлов. Наибольшими техническими возможностями при поисках и разведке россыпей и стройматериалов обладают установки комбинированного ударно-канатного и вращательного бурения. Эффективно также ударно-забивное бурение, при котором из забивного стакана извлекается ненарушенный керн, что дает возможность осуществлять качественную документацию и опробование. При поисках и разведке подводных россыпей используется бурение с понтонов и барж, а в северных морях - со льда.

В данной работе, исходя из условий геологического разреза, необходимо выбрать плавучую буровую установку, с которой будет осуществляться бурение, способ бурения, буровое оборудование и инструмент. От правильности этого выбора будет зависеть успешность, стоимость и безопасность бурения. Так же выполняются проверочные расчеты буровой вышки, определяется число струн талевой системы. В работе рассматривается организация работ и технология морского бурения скважины.

Глава 1. Краткая геологическая характеристика участка работ

Таблица 1. Геологический разрез

Номер слоя

Геологическая колонка

Интервал, м

Мощность, м

Краткая характеристика пород

Категория по буримости



от

до






0

30

30

Вода


1

044Песок мелкозернистыйII






2

4128Алевриты песчаные с галькойIII






3

122210Глина с дресвой,плотнаяIV






4

22319Пески разнозернистые, глинистыеII






5                31387Песчано-гравийные отложения (золото)

IV






 

6

38

40

2

Габбро

VIII


В данном геологическом разрезе преобладают осадочные породы, представленные на интервале 0 - 3 м - илами (II категории по буримости); 3 - 11 м - песками разнозернистыми (II категории по буримости); 11 - 20 м - алевриты с галькой (III категории по буримости); 20 - 30 м - глинами песчаными (III категории по буримости); 30 - 37 м - песчано-гравийными отложениями с алевролитами (III категории по буримости); 37 - 46 м - песчано-дресвяными отложениями, в которых залегает полезное ископаемое - золото (IV категории по буримости); 46 - 48 м - сиениты выветрелые ( VI категории по буримости).

Глубина моря на данном участке 18 м, планируемая глубина скважины 48 м.

В разрезе присутствуют породы (II - VI категории по буримости).

Глава 2. Выбор способа бурения и построение конструкции скважины

2.1 Выбор способа бурения

Выбор способа бурения выбирается с учетом поставленной геологической задачи, глубины моря и глубины скважины, геологического разреза, гидрометеорологических условий работ и удаленности района работ. Однако, существует более общий способ выбора способа бурения и зависит он от категории пород по буримости. Категория по буримости является одним из основных параметров, характеризующих породу и дающее общее представление о слагающих геологический разрез породах. В данном случае для интервала 0 - 46м используем ударно-забивной способ бурения, так как этот интервал представлен рыхлыми и связными породами II - IV категории по буримости. Для интервала 46 - 48м воспользуемся вращательным способом бурения, так как данный интервал слегает твердая коренная порода VI категории по буримости.

2.2 Обоснование конструкции скважины

Под конструкцией скважины подразумевается схема ее устройства с указанием диаметров и интервалов бурения, а так же диаметров и длин водоотделяющей и обсадных колонн. Обоснование и разработка конструкции скважины начинается с выбора конечного диаметра скважины с учетом ее глубины, геологического разреза и способа бурения. Построение конструкции начинается снизу вверх. Конечный диаметр по плотику для пород V - VIII категории по буримости принимается равным 112 мм. В свою очередь, диаметр скважины по продуктивному пласту определяется видом полезного ископаемого содержащегося в данном пласте. В заданном геологическом разрезе ведется разведочное бурение на золото, и, в соответствии с рекомендациями для данного типа полезного ископаемого, диаметр скважины в продуктивном пласте должен составлять 168 мм.

Также необходимо определить число используемых обсадных колонн. То есть, будем ли мы бурить с использованием лишь водоотделяющей колонны или воспользуемся схемой: водоотделяющая колонна + обсадная колонна.

Количество колонн определяется в зависимости от глубины скважины. При глубинах скважин менее 30 метров используется одноколонная схема, при больших глубинах - двухколонная. В данном случае глубина скважины составляет 48 метров при глубине моря 18 метров. Следовательно, принимается двухколонная схема. Так же исходя из рекомендаций водоотделяющая колонна должна внедряться в грунт на 2/3 от глубины моря. Данный факт был учтен при разработке конструкции скважины. Конструкция скважины представлена на рис.1.

Рис.1. Конструкция скважины.

Глава 3. Выбор плавучей буровой установки, бурового оборудования и инструмента

.1 Выбор плавучей буровой установки (ПБУ)

Тип плавучей буровой установки зависит от глубины скважины, глубины моря, способа бурения, гидрометеорологических условий и удаленности района работ. В связи с тем, что объект не находится в удаленном районе, мы будем использовать для работы тримаран «Приморец».

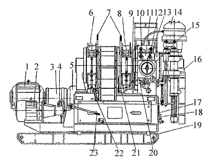
Рис 2. Плавучая буровая установка «Приморец»:

- надстройка; 2 - буровая мачта; 3 - буровая лебедка; 4 - талевая лебедка; 5 - вибратор; 6 - вращатель.

Плавучая буровая установка «Приморец» представляет собой самоходный тримаран со смещенным средним корпусом в корму относительно боковых (рис. 2). Корпуса соединены плоским мостом из стального проката. Ходовой двигатель и винторулевое устройство размещены в среднем корпусе, а дизель-генератор и промывочный насос - в боковых. На палубе в кормовой части расположена надстройка бытовых и служебных помещений, в носовой - буровое оборудование, содержащее буровую мачту, лебедку для ударно-забивного бурения, талевую лебедку для подъема труб, вибратор и вращатель. Установка предназначена для бурения ударно-забивным, ударно- и вибровращательным способом. Для спускоподъемных операций и ударно-забивного бурения используется лебедка бурового станка ЗИФ-650М, а для тяжелых грузовых операций с трубами - лебедку станка СКБ-4 с талевой оснасткой. Для вращательного бурения в комплекте имеется вращатель с ротором, обеспечивающим бурение при угловом отклонении палубы до 10° и вертикальном перемещении 0,5 м.

Техническая характеристика плавучей буровой установки для бурения разведочных скважин «Приморец» представлена в таблице 2:

Таблица 2.

Характеристики ПБУ для бурения разведочных скважин «Приморец».

Параметры:

ПБУ «Приморец»

Глубина бурения, м

50

Максимальный диаметр скважины, мм

245

Глубина моря, м

50

Длина, м

18,6

Ширина, м

11,8

Высота, м

1,85

Осадка, м

0,95

Клиренс вертикальный, м

0,9

Водоизмещение, т

65

Главный двигатель:


Число

1

Мощность, кВт

50

Скорость судна, узлы

4

Грузоподъемность мачты, т

30

Число и масса (кг) якорей

4х250

Масса якоря, кг

250

Параметры скважины, м :


По воде

50

По породам

50



3.2 Выбор бурового оборудования

В состав бурового оборудования входят: буровая мачта, лебедка бурового станка ЗИФ -650 для ударно-забивного бурения, а для тяжелых грузовых операций с трубами - талевая лебедка станка СБА-500 или СКБ-4, вращатель ВМБ-5, вибратор ВБ-7М, насос НБ3-120/40. Рассмотрим каждое из используемого оборудование.

В качестве буровой мачты используем Л-образную буровую мачту. Мачта Л-образной формы с опорой ферм на боковые корпуса так как в результате ее применения образуется большая рабочая площадь у бурового проема, и фермы не мешают размещению оборудования. Мачта состоит из двух сварных трубчатых ферм, соединенных кронблоком и опирающихся на палубу шарнирными башмаками. Что позволяет укладывать ее с опорой на кормовую надстройку для повышения остойчивости ПБУ при буксировках на дальнее расстояние. На кронблоке расположены подпружиненный (для смягчения рывков) ролик троса инструментальной и ролики талевой лебедок. Высота мачты 30 м, максимальная нагрузка на кронблочную раму 30 т.

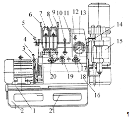
Для спускоподъемных операций и ударно-забивного бурения используется лебедка бурового станка ЗИФ-650М. Буровой станок ЗИФ-650М, представленный на рис. 3 выпускается с 1949 года, прошел ряд модификаций. Станок имеет один гидропатрон, без автоперехвата. Выпускается в 2 исполнениях с приводом от дизеля и электродвигателя.

Рис. 3 Буровой станок ЗИФ-650М:

- электродвигатель станка; 2 - электродвигатель маслонасоса;3 - соединительная муфта; 4 - маслонасос; 5 - муфта сцепления; 6 - тормоз спуска; 7 - рукоятка управления тормозами; 8 - тормоз подъема; 9 - лебедка; 10 - рукоятка включения лебедки; 11 - коробка скоростей; 12 - рукоятка включения вращателя; 13 - рукоятка крана гидропатрона; 14 - пружинно-гидравлический патрон; 15 - пульт гидравлического управления; 16 - вращатель; 17 - станица; 18 - рукоятка ручного маслонасоса; 19 - рама; 20 - рукоятка управления гидросистемой; 21 - рукоятка;

Технические характеристики бурового станка ЗИФ-650М приведены ниже в табл. 3

Таблица 3.

Технические характеристики бурового станка ЗИФ-650М

Параметры

Тип станка

 


ЗИФ-650М

 

Привод


 

Тип

АД

 

Мощность, кВт

30

 

Лебедка

 

 

Тяговое усилие максимальное, кН

35

 

Скорость намотки каната на барабан, м/с

 

 

максимальная

6,25

 

минимальная

0,7

 

Регулирование скорости намотки

Дискретное

 

Вращатель

 

 

Крутящий момент, максимальный, даН*м

302

 

Частота вращения шпинделя:

 

 

диапазон, об/мин

87 - 800

 

 



 

Регулирование Дискретное 8ск.  Усилие подачи шпинделя, кН   Вверх 88  Вниз 66  Диаметр проходного отверстия шпинделя,мм 66  Длина хода подачи, мм 500  Дополнительные устройства:   Гидроподъем 1  Автоперехват  -   Длина  2700  Ширна 1200  Высота  2200 



Для тяжелых грузовых операций с трубами будем использовать лебедку бурового станка СКБ-4 с талевой оснасткой. Буровой станок СКБ-4 представлен на рис.4, является шпиндельным станком моноблочной компоновки с продольным расположением лебедки и системой гидравлической подачи инструмента.

Рис. 4. Буровой станок СКБ-4

- станина; 2 - рама; 3 - сцепление; 4 - рукоятка сцепления; 5 - рукоятка включения лебедки; 6, 9 - рычаги тормозов подъема и спуска; 7, 8 - тормоза подъема и спуска; 10 - рычаг коробки передач; 11 - лебедка; 12 - рукоятка раздаточной коробки; 13 - трансмиссия; 14 - указатель давления; 15 - вращатель; 16 - гидросистема станка с автоперехватом; 17 - дроссель; 18 - прибор управления; 19 - регулятор подачи; 20 - распределитель; 21 - цилиндр перемещения станка.

На станине собраны: электродвигатель, коробка передач со сцеплением от автомобиля ЗИЛ-131, раздаточная коробка с закрепленным на ее фланце вращателем, лебедка, тормоза спуска и подъема, маслонасос с индивидуальным электроприводом, пульт управления гидросистемой, маслобак, ручной маслонасос и цилиндр перемещения станка с гидрозамком. Станина установлена на раме, которая является основанием станка, соединяющимся с основанием буровой установки или каким-либо другим фундаментом с помощью анкерных болтов.

К особенностям станка относятся: высокая частота вращения шпинделя и рациональное распределение диапазона скоростей; плавность подачи бурового инструмента с помощью новой гидросистемы с напорным золотником и дросселем на сливе; возможность бурения снарядами со съемным керноприемником (для чего увеличен диаметр проходного отверстия шпинделя); оснащение усовершенствованной системой автоматического перехвата ведущей трубы в процессе бурения без остановки вращения; установка указателя давления на забой киловаттметра, которые обеспечивают достаточную информацию о технологическом процессе. В станке применены автомобильная коробка скоростей и муфта сцепления автомашины ЗИЛ-131, имеющие высокую надежность. Технические характеристики бурового станка СКБ-4 представлены ниже в табл. 4.

Таблица 4.

Технические характеристики бурового станка СКБ-4.

Параметры

СКБ-4

Привод:


Тип

АД

Мощность, кВт

22

Лебедка:


Тяговое усилие максимальное, кН

26

Скорость намотки каната на барабан, м/с:


Максимальная

1,8

Минимальная

0,45

Регулирование скорости намотки

Дискретное 4 ск.

Вращатель:


Крутящий момент максимальный, кН·м

127

Частота вращения шпинделя:


Диапазон, об/мин

155-1600

Регулирование

Дискретное 8 ск.

Усилие подачи шпинделя, кН:


Верх

60

Вниз

40

Диаметр проходного отверстия шпинделя, мм

55

Длина хода подачи, мм

400

Дополнительные устройства:


Гидропатрон

2

Автоперехват

-

Длина

1800

Ширина

1200

Высота

1800

Масса, кг:


Станок (без маслостанции, шкафа управления, преобразователя).

1800


В качестве одного из важнейших узлов - вращателя - будем использовать вращатель ВМБ-5. Наиболее простым в изготовлении, надежным и удобным в работе для бурения с ПБУ скважин глубиной до 100 метров, при глубине моря до 50 метров является вращатель для моского бурения ВМБ-5, представленный на рис. 5. Он состоит из станины на которой смонтировано серийно выпускаемое оборудование: электродвигатель, муфта сцепления, коробка передач, ротор буровой установки УРБ-3АМ. Конструктивная особенность ВМБ-5 - стол ротора, снабженный двумя вкладышами: наружным и внутренним. Причем внутренний вкладыш соединен с наружным, а последний со столом ротора шарнирно при помощи пальцев, установленных в двух диаметрально перпендикулярных плоскостях. Это исключает изгиб ведущей штанги при наклоне палубы ПБУ до 10°.

Рис. 5. Вращатель морской буровой ВМБ-5:

- станина; 2 - рото; 3 - наружный вкладыш; 4 - внутренний вкладыш; 5 - пальцы; 6 - коробка передач; 7 - электродвигатель; 8 - рельсовые пути; 9 - четырехгранная ведущая штанга; 10 - груз для передачи усилия на забой.

ВМБ-5 монтируют на установленных на ПБУ рельсах, с возможностью его перемещения по ним на роликах к скважине и от скважины и стопорения в этих положениях при помощи шаровых стопоров. Передвижение вращателя осуществляют тросом лебедки через канифас-блоки. Технические характеристики вращателя ВМБ-5 представлена ниже в табл.5.

Таблица 5.

Технические характеристики вращателя ВМБ-5.

Параметры

ВМБ-5

Способ устранения влияния качки

Шарнирный вкладыш ротора

Проходное отверстие ротора, мм

250

Частота вращения ротора, об/мин

45, 94, 170, 290, 37 (обратный ход)

Мощность привода, кВт

7,5

Габариты, мм


Длина

2055

Ширина

950

Высота

1100

Масса, кг

820


Для ликвидации прихватов инструмента в неглубоких скважинах (до 100 - 150 м) будем использовать поверхностные вибраторы. Благодаря расположению их над устьем скважины и без ограничения в размерах, удается передать на бурильную или обсадную колонну продольную вибрацию значительной мощности. Выбираем вибратор ВБ-7М технические характеристики которого представлены ниже в табл. 6:

Таблица 6.

Технические характеристики вибратора ВБ-7М

Параметры

ВБ-7М

Момент эксцентриков, Н·м

24

Угловая скорость,

141,4

Масса, кг

600


По устройству вибратор состоит из корпуса в котором на горизонтальном валу расположен эксцентричный груз-дебаланс. Вал с дебалансом получает вращение через клиноременную передачу от электродвигателя, установленного через прокладку на корпусе вибратора.

Корпус имеет резьбовой ниппель для соединения с аварийной колонной и серьгу для соединения с канатом лебедки. Вибратор закрепляют на бурильной колонне, дают натяжку колонне лебедкой и после этого включают. Освобождение от легкого прихвата наступает через 15-20 минут работы вибратора. На тяжелый прихват может быть затрачено 4-5 часов. Эффективность применения вибратора снижается с увеличением глубины прихвата ввиду поглощения вибрации массой бурильных труб.

Буровые насосы предназначены для подачу в скважину промывочной жидкости с целью очистки забоя и ствола скважины от шлама и выноса его на поверхность, охлаждения ПРИ и привода в действие гидравлических забойных двигателей. Выбранный буровой насос представлен ниже на рис. 6.

Рис. 6. Буровой насос НБЗ-120/40.

- насос; 2 - приводной блок; 3,4 - раздельные рамы, соединенные болтами; 5 - клиноременная передача; 6 - ограждение; 7 - сальник с плунжером; 8 - манометр; 9 - предохранительный клапан.

Технические характеристики насоса НБЗ-120/40 представлены в табл. 7:

Таблица 7.

Технические характеристики насоса НБЗ-120/40

Параметры:

НБЗ-120/40

Подача, л/мин

15-120

Максимальное давление, мПа

4; 2

Число цилиндров (плунжеров)

3

Диаметр цилиндра (плунжера), мм

63

Длина хода поршня (плунжера), мм

60

Число двойных ходов поршня в 1 мин

31-49

Диаметр внутреннего рукава:


Всасывающего

50

Напорного

38

Шифр двигателя

АО2-51-4

Мощность привода, кВт

7,5

Габаритные размеры (без двигателя), мм:


Длина

945

Ширина

610

Высота

400

Масса (без двигателя), кг

400


.3 Выбор бурового инструмента

Буровой инструмент для бурения инженерно-геологических скважин делится на 4 основные группы: технологический, вспомогательный, специальный, аварийный.

Технологический инструмент предназначен для разбуривания проходимых пород и отбора керна. При разведке морских россыпных месторождения и проведении инженерно-геологических изысканий с ПБУ применяют в основном не стандартный инструмент: стаканы забивные и гидропоршневые, гидростатические желонки и раскрепляемые в обсадной колонне керноприемники, ударная штанга при ударно забивном бурении и колонковый набор, бурильные трубы и т.д. при вращетельном бурении.

Вспомогательный инструмент предназначен для обслуживания технологического инструмента при бурении. Так же служит для проведения спускоподъемных операций с буровыми снарядами и обсадными колоннами, предотвращения или устранения геологических осложнений в скважине, разобщении пластов и др.

Вспомогательный инструмент представлен полуавтоматическим элеватором, шарнирным ключем для бурильных труб, шарнирным хомутом, подкладной вилкой, клещами короночными и шарнирным ключом для колонковых и обсадных труб.

Аварийный инструмент предназначен для предотвращения возникающих аварийных ситуаций. В качестве аварийного инструмента применяют: ерши, ловильные вилки, канаторезки, шлипсы и т.д.

А вот для специальных работ в скважинах, которые исправляют искривления и бурят в заданном направлении, служит специальный буровой инструмент, представленный обсадными трубами и принадлежностями к ним (наголовник, забивной снаряд, башмаки).

Из стандартного инструмента при бурении с ПБУ используют долота, делонки обыкновенные с плоским клапаном, штанги ударные, штанги раздвижные, канатные замки.

Технологический инструмент.

Забивные стаканы - служат для бурения связных пород типа увлажененных глин и суглинков с отбором образцов в виде керна. Схема забивных стаканов представлена на рис. 7:

а) глухой стакан:

- башмак; 2 - корпус; 3 - переходник; 4 - головка.

б) разрезной стакан:

- башмак; 2 - лепестковый клапан; 3 - корпус; 4 - крышка стакана; 5 - переходник; 6 - головка; 7 - язычок.

Рис. 7. Забивные стаканы.

Ударные штанги предназначены для увеличения массы инструмента в целях повышенной эффективности разрушения породы, сохранения вертикального направления бурового инструмента. Схема ударной штанги представлена ниже на рис. 8:

- ловитель (овершот, шлипс)

- штанга (m = 200-400 кг)

- канатный замок

- канат

Рис. 8. Ударная штанга.

Желонки - предназначены для непосредственного бурения в рыхлых породах (песках, супесях, галечниках) и для удаления из скважины шлама при бурении долотами в плотных твердых породах. В практике бурения при разведке россыпных месторождений применяют поршневые желонки конструкции ВНИИ-1 типа Р-8ЖА-4У с шаровым клапаном. Схема поршневых желонок представлена на рис. 9:

а) с плоским клапаном и поршнем: 1 - башмак; 2 - клапан; 3 - поршень; 4 - резиновый клапан; 5 - шарнир: 6 - корпус; 7 - окно; 8 - шток; 9 - кольцо для присоединения каната.

б) с шаровым клапаном и поршнем: 1 - башмак; 2 - шаровой клапан; 3 - поршень; 4 - поршень; 5 - втулка; 6 - гайка; 7,9 - резиновые амортизаторы; 8 - шток; 10 - дужка для присоединения клапана; 11 - манжеты.

При вращательном способе бурения в состав технологического инструмента входят: колонковый набор, представленный на рис. 10 (буровая коронка, кернорвательное устройство, колонковая труба, переходники, шламовая труба), бурильные трубы геологоразведочного сортамента.

Рис. 10. Набор инструмента для колонкового бурения:

- буровая коронка; 2 - колонковая труба; 3 - трубный переходник; 4 - шламовая труба; 5 - бурильные трубы; 6, 7, - ниппели для соединения бурильных труб (6 - ниппель типа Б; 7 - ниппель типа А); 8 - переходник для соединения бурового сальника с бурильной колонной; 9 - буровой сальник; 10 - полуавтома­тический элеватор; 11 - пробка; 12 - элеватор; 13 - шарнирный ключ для буриль­ных труб; 14 - шарнирный хомут; 15 - вилка подкладная; 16 - вилка ведущая; 17 - клеши короночные; 18 - шарнирный ключ для колонковых и обсадных труб; 19 - шланг нагнетательный; 20 - хомутики для крепления шланга к сальнику; 21 -шарик; 22 -корпус кернователя; 23 - кернорвательное кольцо

Буровая коронка - это породоразрушающий инструмент, предназначенный для разрушения горных пород. В зависимости от категории пород по буримости используют твердосплавные или алмазные коронки. Любая коронка состоит из стального корпуса и режущих элементов. В нижней части коронки находятся отверстия для прохода промывочной жидкости, верхняя часть коронки имеет резьбу для присоединения к трубе. Используем твердосплавные самозатачивающиеся коронки типа СА1. Режим бурения с твердосплавными коронками с наружным диаметром 112 мм:

тип коронки :СА1;

осевая нагрузка на коронку, кН: 8-12,8;

частота вращения снаряда, об/мин: 135-260;

расход промывочной жидкости, л/мин:90-140.

- корпус кернорвателя;

- рвательное кольцо

Рис. 11. Кернорвательное устройство для  твердосплавного бурения.

Кернорвательное устройство (кернорватель) - это часть колонкового набора, предназначенная для отрыва керна от массива горной породы и удержания его в колонковой трубе при подъеме бурового снаряда. Кернорватели и способы отрыва и удержания керна обеспечивают: беспрепятственное поступление керна в керноприемную трубу; свободный доступ промывочной жидкости к забою скважины; беспрепятственное формирование керна буровой колонной; надежный срыв и удержание керна при подъеме инструмента.

Кернорватель расположен между коронкой и колонковой трубой. Он состоит из полого цилиндрического корпуса с внутренней конической расточкой, расширяющейся кверху, в которой помещается рвательная пружина, представляющая собой разрезанное по образующей коническое пружинное кольцо с внутренними выступами. Во время бурения пружина кернорвателя не мешает вхождению керна в колонковую трубу, а при подъеме колонкового снаряда пружина вследствие трения о поверхность керна входит в суженную часть конической расточки корпуса, крепко сжимает керн и срывает его.

Колонковые трубы предназначены для приема керна, последующего транспортирования его на поверхность и поддержание заданного направления ствола скважины в процессе бурения. Колонковые трубы изготовляют из заготовок, предназначенных для обсадных труб. На обоих концах колонковой трубы нарезана внутренняя тапецеидальная резьба. Для их изготовления применяется сталь с пределом прочности при растяжении 650 МПа и пределом текучести не менее 380 МПа. Колонковые трубы изготовляются длиной 1,5 м, 3,0 м, 4,5 м и 6,0 м в зависимости от наружного диаметра трубы. В длинный колонковый набор трубы собираются с помощью ниппелей. Основные размеры колонковых наборов в мм:

наружный диаметр коронки с резцами - 112;

наружный диаметр короночного кольца - 110;

внутренний диаметр короночного кольца - 96;

наружный диаметр колонковой трубы - 108;

внутренний диаметр колонковой трубы - 98

Переходники служат для соединения отдельных элементов бурового снаряда, отличающихся по диаметру или резьбе. Они изготавливаются из стали марки 45 и 50 и выпускаются 2 видов - фрезерные и тройные.

Фрезерные зубья на верхнем конце переходника предназначены для разрушения пород, обваливающихся со стенок скважины.

Шламовые трубы служат для сбора во время бурения крупных и тяжелых частиц шлама. Шламовые трубы изготовляют из тех же трубных заготовок, что и колонковые трубы.

Бурильные трубы служат для соединения породоразрушающего инструмента, работающего на забое с буровой установкой, установленной на буровом судне. Бурильные трубы соединяют в буровую колонну с помощью ниппелей и муфт. При колонковом бурении через бурильную колонну на породоразрушающий инструмент передаются осевое усилие, необходимое для внедрение коронки в пород, крутящий момент для преодоления сил сопротивления со стороны забоя, подводится очистной агент, с помощью которого происходит охлаждение ПРИ, а так же вынос шлама на поверхность.

Рис.12. Бурильные трубы для разведочного бурения.

а - с ниппельным соединением; б - с муфтово-замковым соединением; в - с приваренными замками; 1 - труба; 2 - ниппель или муфта; 3 - конус (ниппель) замка; 4 - муфта замка.

Основной вид соединения бурильных труб - резьбовой. По типу соединения в свечи, стальные бурильные трубы для геологоразведочных работ подразделяются на трубы муфтово-замкового и ниппельного соединения. А свечи соединяются в бурильную колонну при помощи бурильных замков и ниппелей. Выбираем стальные бурильные трубы муфтово-замкового соединения диаметром 50 мм.

1 - подшипники; 2 - корпус; 3 - сальники; 4 - штроп; 5 - напорная труба; 6 - крышка корпуса; 7 - ствол.

Рис.13.Ведущая труба

Ведущая труба (рис. 13) является соединительным звеном между вертлюгом и бурильными трубами. Чаще всего она имеет квадратное сечение, а при больших оборотах - шестигранное.

Рис.14 Вертлюг-сальник

Вертлюг-сальник (рис.14) - это соединительное звено между талевой системой и бурильной колонной, подвешенной к вращающейся части вертлюга. Через вертлюг-сальник подается промывочная жидкость в скважину. Конструкции этого инструмента выполняются на разную грузоподъемность и максимальное давление промывочной жидкости:

Таблица 8.

Техническая характеристика вертлюга сальника ВС-10.

Параметры

Значение

Грузоподъемность, МН

0,12

Максимальное давление промывочной жидкости,МПа

5,0

Длина, мм

895

Масса, кг

96,3


Вспомогательный инструмент

1 - корпус; 2 - плашки; 3 - кулачок; 4 - валик; 5 - ножная педаль

Рис. 15. Шарошечный трубодержатель

Трубодержатели используют для подвешивания бурильной и обсадной колонн. Плашечный трубодержатель для бурильной колонны (рис.15) состоит из корпуса в котором находятся плашки с двумя клиновидными плашкодержателями, которые свободно скользят по роликам в наклонных направляющих. Под влиянием своего веса они стремятся занять нижнее положение, при котором происходит захват труб плашками. Для пропуска инструмента вниз, плашки поднимаются с помощью двух кулачков, заклиненных на вилке. Поворот валика для подъема кулачков вверх производится ножной педалью.

Шарнирные ключи предназначены для свинчивания и развинчивания труб и их соединений. Применяются двух- и трехшарнирные ключи. Каждый ключ может быть использован для свинчивания и развинчивания двух размеров труб. Они состоят из гладкозахватной части, образованной 3-мя скобами, которые шарнирно соединены между собой. Захват шарнирно присоединяется к зажиму. Для фиксации ключа в закрытом положении рукоятку ввинчивают в резьбовую часть зажима и упор поджимает скобу захвата. Ключей на буровой должно быть три штуки каждого размера.

Рис.16. Гладкозахватный ключ.

Специальный инструмент

Обсадные трубы служат для предотвращения обвалов и сужения стенок скважины в неустойчивых породах, для закрепления устойчивых стенок скважины, перекрытия напорных и поглощающих горизонтов, а так же для изоляции одних пластов от других. При колонковом бурении применяются бесшовные обсадные трубы с гладкой наружной поверхностью, соединяемые чаще всего ниппелями. Обсадные трубы на концах имеют трапецеидальную резьбу с углом при вершине наклонных сторон 10 градусов, шаг резьбы 4 мм, высоту витка 0,75 мм у ниппельных труб и 0,65 мм у труб соединенных труба в трубе.

Рис.17. Обсадные трубы ниппельного и безниппельного соединений:

а - обсадная труба ниппельного соединения и ниппель, к ней; б - обсадная труба безниппельного соединения.Принадлежности обсадных труб. Для поддерживания обсадных труб на весу в скважине применяются хомуты просты и лафетные.

1 - направляющая штанга;

- груз;

- канатный замок;

- канат.

Рис.18. Забивной снаряд.

Хомуты применяют для спуска и подъема колонны обсадных труб для поддержания колонны труб на весу. Более удобно подвешивать обсадные трубы на лафетном хомуте, он состоит из корпуса с внутренним коническим отверстием, куда вставляются съемные кольца в соответствии с размером обсадных труб. В них вставляются клинья - сухари, захватывающие трубу.

Забивной снаряд (баба) - рабочая деталь машин ударного действия, совершающая полезную работу за счет энергии удара при направленном падении.

Схема забивного снаряда показана на рис.18.

Наголовник - устройство , служащее для предохранения верхнего конца колонны обсадных труб при нанесении ударов.

Башмаки - элементы оснастки обсадных колонн, представляющие собой кольцевые детали нижней части обсадных колонн для предотвращения возможных повреждений при спуске и забивке обсадных колонн.

Аварийный инструмент.

Аварийный инструмент применяется для устранения возникающих аварийных ситуаций.


В качестве аварийного инструмента применяют: ерши, ловильные вилки, канаторезки, шлипсы и т.д.

Метчик (рис. 19) - это ловительный резьбонарезной инструмент с конической наружной нарезкой для соединения с внутренней поверхностью извлекаемых труб. В зависимости от назначения и конструктивных особенностей различают три типа метчиков: универсальные, специальные и освобождающиеся.


Универсальные метчики применяются, если оставленная в скважине часть бурильной колонны оканчивается муфтой или ниппелем, а так же утолщенным концом трубы. Кроме того такие устройства служат для извлечения колонковых и обсадных труб. Метчики с левой резьбой служат для развертывания перечисленных труб и их подъема из скважины по частям.

Метчики ловильные замков или ниппелей. Выбор таких метчиков зависит от вида и состояния резьбы, которое устанавливается по последнему соединению поднятой части колонны. Освобождающиеся метчики предназначены для соединения с муфтой замка или трубы. Он состоит из колпака, трех плашек с ловильной резьбой, которые перемещаются по продольным постепенно углубляющимся пазам корпуса, винтов для удержания плашек, пружинных шлифов. Метчик с плашками, закрепленный винтами в крайнем положении, спускается в скважину и соединяется с муфтой. Колонну бурильных труб плавно расхаживают без резких посадок и попыток провернуть нижнюю часть колонны, когда она прихвачена или вращается с трудом. Если извлечь колонну не удается, метчик освобождается, для чего резкой посадкой колонны перемещают плашки вверх по корпусу. Свободные плашки углубляются в пазах и выходят из зацепления.

- переходник; 2 - шарик; 3 - пята; 4 - резиновое кольцо; 5 - шток; 6 - пружина; 7 - корпус; 8 - плоские пружины; 9 - ось; 10 - резцы; 11 - прокладки.

Рис. 20. Труборез гидравлический.

1 - переходник; 2 - шарик; 3 - пята; 4 - резиновое кольцо; 5 - шток; 6 - пружина; 7 - корпус; 8 - плоские пружины; 9 - ось; 10 - резцы; 11 - прокладки.

Рис. 20. Труборез

Труборезы - аварийный инструменты, служащие для отрезания бурильных и обсадных труб в скважине с целью их извлечения. По принципу действия они делятся на механические, гидравлические, химические и электрические. Наиболее широкое применение получили механические труборезы, благодаря надежности и простоте конструкции. Для бурильных труб используются наружные труборезы, а для колонковых и обсадных - внутренние. Схема гидравлического трубореза представлена на рис. 20:

Колокол (рис. 23) - это ловильный резьбонарезной инструмент с внутренней конической нарезкой для соединения с наружной поверхностью извлекаемых труб.

Колокола применяют при ловле утонченной части бурильных труб; соединений с трубой, имеющей клиновидный или спиральный излом при продольный разрыв; устранении аварий, когда снаряд прихвачен или трубы при падении погнулись. В зависимости от способа соединения с оставшейся частью колокола подразделяют и с правыми, и с левыми резьбами. Освобождающиеся колокола используются для извлечения из скважин труб малого диаметра. Устройство и принцип их действия аналогичен освобождающимся метчикам.

Рис.21. Ловильный колокол с направляющей воронкой.


Фрезеры (рис. 22) используются для нескольких целей: разрушения алмазных коронок и мелких металлических предметов (фрезерные коронки), обработки мастера обрыва бурильных колонн (кольцевые фрезеры), разрушения колонкового набора с керном или его частей, оставшихся в скважине (фрезеры с направлением), выравнивания вмятин и неровностей внутри обсадной колонны

Рис. 22. Фрезеры аварийные.

Труболовки предназначены для извлечения труб и других пустотелых элементов с цилиндрической внутренней поверхностью. Они выполняют те же функции, что и метчики, но при этом обладают некоторыми преимуществами: все они освобождающиеся, их можно устанавливать в зоне прихвата или в любой другой части колонны, тогда вероятность обрыва уменьшится, они оснащены кольцевыми ловильными втулками или плашками, захватывающими трубы равномерно по всей поверхности, предотвращая их продольное разрушение.

Ловители предназначены для извлечения оборванных бурильных труб независимо от твердости их поверхности. Они позволяют вращать и сжимать трубу, производить промывку скважины через аварийный инструмент, развинчивать колонну по отсоединительному переходнику или по частям. При необходимости ловитель легко освобождается. Причем форма и место обрыва не влияют на эффективность извлечения. По конструктивному выполнению ловители делятся на одно- и двухступенчатые, а по способу захвата - не плашечные и цанговые.

Паук применяют для ловки мелких предметов, упавших в скважину. Представляет собой трубу, на нижнем конце которой имеются немного подогнутые внутрь высокие зубья (рис.23): а - перед спуском; б - перед подъемом забоя.

Рис.23. Паук.

Овершот предназначен для спуска, захвата и подъема керноприемника из колонны бурильных труб на специальной лебедке. Овершот состоит из двух корпусов 2 и 5, соединенных тягой 3. В пазу нижнего корпуса на оси размещены две защелки 7, при контакте с керноприемником защелки надвигаются на грибок и фиксируются на нем пружиной 6. Верхний корпус выполняет роль груза, он может перемещаться по тяге. Для увеличения скорости спуска овершота в глинистом растворе к нему навинчивается дополнительный утяжелитель. Канатный замок с шариковым подшипником 1 позволяет избежать скручивания каната при спуске и подъеме овершота. При спуске керноприемника на овершоте в сухие скважины на нижний корпус надевается втулка 4 в виде отрезка трубы; втулка упирается в верхние концы защелок. В момент посадки керноприемника в рабочее положение нижние концы защелок надвигаются на второй (большой) конус грибка и максимально раздвигаются. При этом сжатые верхние концы фиксируются втулкой, и овершот освобождается от грибка. Втулка применяется также при аварийной ситуации, когда овершотом не удается поднять керноприемник и необходимо его отсоединить. В этом случае втулку надевают на трус и бросают в скважину. При дохождении до овершота она надвигается на верхние концы защелок, и овершот освобождается от керноприемника.

Для ускорения транспортировки керноприемника по колонне и при необходимости его проталкивания из-за остановки применяется досылатель (утяжелитель), спускаемый на овершоте.

3.4 Проверочный расчет буровой вышки

Проверку правильности выбора буровой вышки или мачты осуществляют путем сравнения ее грузоподъемности с фактической нагрузкой, действующей на кронблочную раму вышки или мачты. Нагрузку на кронблочную раму определяют для наиболее тяжелых условий при подъеме бурильных труб или обсадной колонны из скважины.

Определение нагрузки на крюке при извлечении обсадной колонны из скважины.


 - вес обсадной колонны в морской воде, Н;

 - сила трения наружной поверхности обсадных труб, Н;

 = 1,1 ÷ 1,3 - коэффициент перегрузки, учитывающий качку ПБУ, примем  = 1,1

определение веса обсадной колонны в морской воде.

а) для обсадной колонны d=168 мм:

= = 354,1·68·

Для расчета принимаем:

= 354,1

вес одного метра обсадной колонны, ;

 = 1025-плотность морской воды, кг/;

= 7850 - плотность металла, кг/ ;

= 31,6 - масса 1 м обсадной трубы, кг/м;

 = 9 - масса муфты, кг;

 = 2 - длина обсадной трубы, м;

 = 68 - длина обсадной колонны, м.

б)для водоотделяющей колонны d=219мм:

= 487,6 · 47 · = 24,2

Для расчета принимаем:

= 41,6 - масса 1м обсадной трубы, кг/м;

 = 16,2 - масса муфты, кг;

 = 2 - длина обсадной трубы, м;

 = 47 - длина водоотделяющей колонны, м.

=

 - вес одного метра водоотделяющей колонны, Н/м.

Определение силы трения по наружной поверхности обсадных труб.

а) для обсадной колонны d=168 мм:

 = 3,14=2,4 Н

Для расчета принимаем:

= 0,168 - наружный диаметр труб обсадной колонны, м;

 = 21 -длина обсадных труб, находящихся в скважине, м;

 21,8 - среднее удельное извлекающее усилие, приходящееся на единицу площади боковой поверхности труб, для отложений, представленных чередованием илов, песков, глин и гравийно-галичникового материала, Н/.

б) для водоотделяющей колонны d=219мм:

= 3,140,219=2,6Н

= 0,219 - наружный диаметр труб водоотделяющей колонны, м;

 = 17 -длина водоотделяющей колонны, находящихся в скважине, м;

 21,8 - среднее удельное извлекающее усилие, приходящееся на единицу площади боковой поверхности труб, для отложений, представленных чередованием илов, песков, глин и гравийно-галичникового материала, Н/.

Определение нагрузки на крюке при извлечении обсадной колонны из скважины.

а) для обсадной колонны d=168 мм:

 = 1,1+2,4=2,87Н

 = 1,1 - коэффициент перегрузки, учитывающий качку ПБУ.

б) для водоотделяющей колонны d=219мм:

= 1,1 + 2,6 = 3,13Н

 = 1,1 - коэффициент перегрузки, учитывающий качку ПБУ.

 т.е. нагрузка на крюке при извлечении водоотделяющей колонны больше, следовательно для дальнейших расчетов будем использовать большее значение нагрузки на крюке.

Определение числа подвижных струн талевой оснастки.

 =  =  = 8,5 , где:

=0,92 - КПД талевой системы;

 - грузоподъемность лебедки станка, Н

Количество струн больше 6, что допустимо ввиду сильного усложнения конструкции талевой системы. В этом случае для снижения усилий при извлечения обсадных труб нужно применить вибромеханизмы. Необходимо пересчитать несколько пунктов при условии применения вибромеханизмов.

Определение нагрузки на кронблочную раму мачты.

3,13

По технической характеристике тримарана «Приморец» определяем допустимую нагрузку на кронблочную раму:

значит необходимо провести перерасчет нагрузки с использованием вибромеханизмов.

Определение силы трения по наружной поверхности обсадных труб с использованием вибромеханизма.

В качестве вибромеханизма выберем вибромолот ВБ-7М, его характеристика приведена ниже:

дебалансов, .

Сначала определим максимальную суммарную силу тяжести вибромеханизма и водоотделяющей колонны:

+24,2 +6009,81 = 30,1Н

Определим максимальную скорость колебания вибромеханизма вместе с обсадной колонной:

==0,7=0,099 м/с

Для расчета принимаем:


Теперь необходимо определить коэффициент снижения сил трения по боковой поверхности обсадных труб за счет вибрации:


 = 0,01÷0,05 - скорость извлечения обсадной колонны, м/с;

Сила трения по наружной поверхности труб самой тяжелой обсадной колонны d=168мм с использованием вибромеханизма:

2,6 = 0,75Н

Пересчет нагрузки на крюке при извлечении водоотделяющей колонны с учетом использования вибромеханизма.

= 1,11,09Н

Перерасчет числа подвижных струн талевой оснастки.


Следовательно количество подвижных струн талевой оснастки примем равным 3. Получившееся значение меньше 6, что допустимо.

Так как количество подвижных струн нечетно, то выбираем схему талевой оснастки с креплением свободного конца каната к крон блоку.

Определение нагрузки на кронблочную раму мачты.

1,09





Глава 4. Технология бурения скважины

.1 Технология погружения обсадной колонны

Существует несколько способов забивки обсадной колонны:

забивным снарядом по наголовнику (традиционная схема);

ударной штангой по керноприемнику;

кольцевым грузом по придонной муфте;

телескопическим ударником по наковальне;

Погружения водоотделяющей (d=219мм) и обсадной (d=168мм) колонн будем производить по схеме забивки забивным снарядом по наголовнику (традиционная схема).

Схема забивки обсадной трубы забивным снарядом по наголовнику показана на рис.27:

- башмак;

- обсадная колонна;

- муфта;

- наголовник;

- забивной груз.

Рис.27. Схема забивки обсадной колонны забивным грузом по наголовнику.

Технологические параметры погружения обсадной колонны по схеме забивки обсадной колонны забивным грузом по наголовнику:

Масса забивного снаряда

m = 500 ÷ 600 кг;

Высота подъема и сбрасывания груза:

Н = 0,5 ÷ 3 м;

Частота ударов:

= 1030 (40).

Преимущества выбранной схемы:

Такое конструктивное решение исключает деформации муфт колонны при погружении ее в породы ударами даже при падении забивного снаряда несоосно с колонной, так как удары наносят непосредственно не по муфте, а по опирающемуся на нее кольцу из стали с высокой ударной прочностью. Кроме того, отсутствие скосов у воспринимающих удар торцов кольца и муфты исключает передачу сил удара со стороны их боковых поверхностей.

Недостатки выбранной схемы:

Недостаточная производительность:

недостаточная энергия удара (масса забивного снаряда огромная (m = 500 ÷ 600 кг) исходя из требований техники безопасности);

ограниченная высота сбрасывания груза (до 3 м), т.к увеличение высоты сбрасывания приводит к увеличению скорости соударений, разрыву муфт и снижению частоты ударов;

низкий коэффициент передачи энергии на забой, т.к удары наносятся по верхнему концу и энергия рассеивается по длине колонны, перекрывающей толщу воды (диссипация).

Большое число трудоемких вспомогательных операций, а значит большие затраты времени на их выполнение.

Невозможность совмещения некоторых технологических операций, т.к верхняя часть колонны закрыта при ее забивке.

Повышенная опасность при забивке обсадной колонны, т.к забивной груз находится над работающими:

масса забивного груза ограничена (m = 500 ÷ 600 кг);

бурение осуществляется при высоте воды до 1 м.

.2 Технология отбора керна

Отбор керна в обсадной колонне возможен по трем схемам:

Отбор проб в обсадной колонне после ее забивки на длину интервала 0,2÷1,0 м;

Отбор проб одновременно с забивкой обсадной колонны;

Отбор проб ниже башмака обсадной колонны 0,2÷0,5 м.

Выбираем отбор проб одновременно с забивкой обсадной колонны с длиной рейса 1м

Параметры технологии отбора керна:

- m = 200 ÷400 - масса ударной штанги, кг;

- h = 3 ÷ 7 - высота сбрасывания, м;

- n = 15 ÷20 (30) - частота ударов, ;

Отбор керна при вращательном бурении ведем керноотборными снарядами с системой забойного гидротранспорта, которая позволяет исключить самозаклинивание керна в процессе его поступления в снаряд и вести бурение без ограничения проходки за рейс до 15-20 м.

4.3 Технология вращательного бурения

Интервал применения вращательного бурения представлен монолитными породами VI категории по буримости (Габбро). Исходя из этого в качестве ПРИ на данном интервале применяем твердосплавную коронку СА1 диаметром 112 мм.

Коронка СА1 имеет в своей конструкции 16 основных резцов. Осевая нагрузка на один резец составляет 650 Н, а окружная скорость коронки 1 м/с.

Технологические параметры:

Осевая нагрузка на коронку, Н:

- удельная нагрузка на один основной резец, Н;- число основных резцов

Исходя из технической характеристики ВМБ-5 (табл.4) принимаем n=170

Так как максимальная подача выбранного бурового насоса 120 л/мин, а полученное значение превышает этот показатель, то принимаем количество промывочной жидкости Q=120 л/мин.

.4 Составление геолого-технического наряда (ГТН)

Геолого-технический наряд (ГТН) составляют на основании: проектной конструкции скважины; выбранного бурового оборудования и инструмента; разработанной технологии бурения; проведения необходимых специальных работ в скважине.

Геолого-технический наряд является обязательным документом к исполнению буровыми бригадами. Его составляют на бурение каждой скважины и вывешивают в буровом здании для руководства и исполнения заданных в нем параметров. ГТН составляют геолог и технический руководитель буровых работ ГРЭ или ГРП и подписывают его. Утверждает ГТН главный инженер геологоразведочной экспедиции или партии. В геолого-техническом наряде должны быть предусмотрены и отражены проектные и фактические данные по всем позициям наряда. Фактические данные систематически записывают в наряд буровой мастер и геолог, по мере углубления скважины.

Геолого-технический наряд по заданной скважине приведен ниже.

Геолого-технический наряд.

ПГО……………………………………

Морская экспедиция (партия)………..

Проектная глубина скважины, м…….40м.

Геологическая часть

 

Номер слоя

Геологическая колонка

Интервал

Мощность, м

Краткая характеристика пород

Категория пород по буримости

Конструкция скважины

 

 



от

 до





 

 



0

30

30

Вода


 

 

1

044Песок мелкозернистыйII







 

 

2

4128Алевриты песчаные с галькойIII







 

 

3

122210Глина с дресвой,плотнаяIV







 

 

4

22319Пески разнозернистые, глинистые II







 

 

5

31387Песчано-гравийные отложения (золото)IV







 

 

6

38

40

2

Габбро

VIII


 

 

Техническая часть

 

 

Ударно-забивное бурение

Длина рейса, м

Вращательное бурение

Талевая оснастка

Исследования в скважине

Примечания

 

 

Технологическая схема бурения

Типы и диаметр керноприемника

Параметры режима забивки обсадных труб

Параметры режима забивки керноприемни-ка


Тип и диаметр ПРИ и колонкового набора

Параметры режима вращательного бурения

Тип и параметры промывочной жидк.




 

 



Масса забивного снаряда, кг

Высота подъема снаряда, м

Частота ударов,

Масса ударов штанги, кг

Высота подъема штанги, м

Частота ударов,



Осевая нагрузка на забой, Н

Частота вращения инстр,

Расход промывочной жидкости, л/мин





 

 

Ударно забивной (Забивным снарядом по наголовнику)

Разрезной керноприемный стакан

500÷600

0,5÷3

10÷30(40)

200÷400

3÷7

15÷20(30)

1÷1,5






Несимметричная схема с подвижным концом каната.



 

 

Вращательное








15-20

СА1, 112мм

10400

170

120

Морская вода




 



Глава 5. Организация работ по морскому бурению скважины

.1 Подготовительные работы

Исходным документом для выполнения подготовительных работ является техническое задание заказчика, в котором должны содержаться сведения о местоположении и границах района (участка) изысканий, данные о назначении и классе проектируемых сооружений, краткая характеристика параметров и конструкций сооружений с указанием возможных вариантов их расположения, предполагаемые нагрузки на естественное основание, сроки и порядок представления отчетных материалов.

На первоначальном этапе подготовки изысканий изучают климатические, гидрометеорологические, геоморфологические, геологические и экономические условия предстоящих работ, что позволяет избежать ненужного дублирования, сократить объем бурения, а в ряде случаев и полностью отказаться от него. На основе изучения климатических факторов определяют общие условия и наиболее благоприятные сроки проведения буровых работ, а также специфические особенности материально-технического обеспечения (виды спецодежды, снаряжения и т.д.).

Гидрометеорологические и геоморфологические факторы определяют возможность безопасного проведения работ, методы производства (бурение с плавучих оснований, со льда, со стационарных сооружений, со дна поря и т.д.); геологические условия - объем бурения, выбор бурового оборудования к месту работ, а также возможности найма на месте рабочей силы, обеспечения личного состава партии жильем и продуктами питания, аренды плавсредств, ремонта оборудования и т.д.

Определив объем бурения, методы производства работ и возможные сроки их выполнения, рассчитывают потребное количество буровых установок.

Одновременно с расчетом необходимого количества буровых установок определяют потребность во вспомогательных плавсредствах, таких как морские буксиры, катера, мотоботы, шлюпки шлюпки и прочие. При этом учитывают защищенность участков работ от морского волнения и ветра, водоизмещение ПБУ. Например при бурении с буровых понтонов на открытых морских акваториях буровые работы должны обеспечиваться морским буксиром; в закрытых , но больших по площади акваториях - катером; в небольших закрытых бухтах достаточно иметь мотоботы или шлюпки с мотором.

Основнымм документом для практического выполнения буровых работ служит программа изысканий, составляемая на основе технического задания заказчика и результатов изучения природных и экономических условий работ. Программа изысканий должна включать краткую физико-географическую характеристику и сведения об изученности района изысканий, определять состав, содержание и объемы изыскательских работ, методы их производства и сроки выполнения. В программе наиболее подробно освещаются виды исследований, отличающиеся от общепринятых, приводятся сведения, необходимые для определения стоимости намечаемых работ, и отмечаются особые условия их выполнения. Если по результатам сбора и обобщения данных о природных условиях района невозможно правильно наметить и обосновать в программе необходимые объемы и методы производства работ, то в подготовительный период на участок работ выезжают специалисты для изучения неясных вопросов на месте.

На основании программы в соответствии с требованиями нормативных документов составляемая смета на производство инженерных изысканий, которая представляется совместно с программой изысканий на согласование заказчику. В процессе полевых работ в зависимости от результатов бурения, а также создавшейся гидрометеорологической обстановки по согласованию с заказчиком в программу могут быть внесены изменения. При небольших по объему изысканиях допускается проведение работ по техническим задания взамен программы.

К программе изысканий прикладывается график выполнения буровых работ. С учетом условий работ на каждом участке и их удаленности от базы графиком предусматривается последовательность выполнения буровых работ.

Бурение скважин на удаленных, не защищенных от ветра и морского волнения участках планируется на самый благоприятный, межштормовой период года. На этот же период желательно запланировать выполнение работ на объектах с небольшим объемом бурения, так как эти работы требуют частых буксировок ПБУ с объекта на объект, что в неблагоприятный период может стать весьма затруднительным. Буровые работы на закрытых, защищенных от ветра и волнения участках, расположенных относительно недалеко от базы, можно выполнять в менее благоприятное время года.

Очень важным этапом подготовительных работ является формирование морской изыскательской партии. В состав партии должны входить высококвалифицированные инженерно-технические работники, хорошо знающие не только свою основную специальность (инженерную геологию и бурение), но так же основы океанологии, морскую практику, умеющие выполнить ручной и эхолотный промер глубин, геодезическую разбивку и привязку скважин на акватории.

Желательно, чтобы в составе морской партии имелось не менее трех аквалангистов из числа инженерно-технических работников. Аквалангисты выполняют:

подводную/ инженерно-геологическую съемку, отбор проб донных грунтов, подводное фотографирование и киносъемку;

осмотр подводной части, буровых установок, наблюдение за состоянием грунтов в основании выдвижных опор ПБУ, извлечение затонувших предметов и инструмента, установку мертвых якорей;

техническое руководство подводным бурением;

обследование подводной части существующих гидротехнических сооружений.

Буровые мастера и рабочие морской партии также должны быть разносторонними специалистами, так как при бурении на акватории приходится иметь дело не с одним, а с несколькими видами бурения. Все работники морской партии должны быть обучены плаванию, гребле, основным правилам движения на плавсредствах и правилам спасения утопающих.

Подготовка буровых установок к полевым работам должна выполняться заблаговременно. К началу полевых работ буровые установки должны быть отремонтированы, обеспечены необходимым оборудованием, инструментом, запчастями и спасательными средствами. Готовность буровой установки к работе определяет комиссии пол представительством руководителя работ, о чем составляется акт.

Перед тем как отбуксировать ПБУ на участке производят разбивку буровых скважин и намечают места установки мертвых якорей для удержания ПБУ над скважиной. С приходом ПБУ на участок ее устанавливают на точку бурения и приступают к работу.

.2 Организация процесса морского бурения

Процесс бурения морских скважин осуществляется в одну, две или три смены с перерывом на выходные дни или без перерывов. Наиболее эффективен режим работы в три смены при непрерывной рабочей неделе. Не рекомендуется вести работу в ночное время при бурении скважин, значительно удаленных от берега, поскольку в случае внезапного ухудшения погоды ночью не всегда удается своевременно снять людей с буровой установки. Обычно трехсменную работу организуют при бурении скважин в небольших закрытых бухтах, где ничто не мешает бесперебойной работе. Успешное бурение скважин возможно лишь в том случае если оно будет осуществляться с учетом постоянно меняющейся природной обстановки. Календарный месячный график бурения скважин возможно лишь в том случае, если оно будет осуществляться с учетом постоянно меняющейся природной обстановки. Календарный месячный график бурения скважин на приливных акваториях должен быть строго увязан с графиком колебания уровня моря. Бурение на высоких отметках в зоне осушки должно осуществляться в период высоких вод, а на малых - в период низких.

Суточный график выполнения буровых работ так же должен быть увязан со временем приливов и отливов.

Помимо учета приливо-отливных колебаний, сведения о которых приводятся в специальных таблицах, необходимо вести постоянное наблюдение за окружающей обстановкой: состоянием моря и ледяного покрова, силой ветра, направлением и скоростью течений, движением плавучих объектов. В случае возможного смещения буровой установки со скважины под воздействием какого либо внешнего фактора следует незамедлительно принять меры по предотвращению смещения буровой установки (поставить дополнительные якоря, натянуть якорные канаты, подать сигнал проходящему судну и т.д.)

Если параметры ветра и волнения достигают предельных для данной ПБУ значений, то бурение прекращают и буровой снаряд извлекают из скважины. Буровую установку отводят в сторону от скважины, а к верхнему конце обсадной колонны прикрепляют буй. С получением штормового предупреждения ПБУ отводят со скважины в укрытую от ветра бухту, а если такой бухты поблизости нет, то отводят в сторону от скважины, ставят дополнительные якоря и тщательно крепят буровое оборудование и инструмент. Во время шторма на буровом понтоне не должно находиться ни одного человека, но за понтоном необходимо вести постоянное наблюдение с берега. Если работы ведутся со льда, то с получением штормового предупреждения буровые установки отвозят на берег или крепят тросами к прибрежным скалам. Во время вынужденного прекращения работ на акватории из-за неблагоприятной погоды буровые бригады работают на береговых скважинах, задаваемых с целью освещения геолого-литологического строения, примыкающего к акватории участка суши.

Важной частью организации основного процесса бурения является обеспечение текущих потребностей организации основного процесса бурения является обеспечение текущих потребностей буровой установки в горюче-смазочных материалах, буровых коронках, трубах и т.п. Снабжение буровой установки осуществляется в светлое время суток, обычно в утреннюю смену. В эту же смену проводится мелкий ремонт бурового оборудования, осуществляется уход за всем оборудованием и плавсредствами.

Своевременная смена рабочих также имеет немаловажное значение для успешного осуществления процесса бурения. Бурение с воды требует повышенных физических усилий, люди при этом устают быстрее, чем при бурении на суше. Производительность труда к концу смены падает, и для работы сверх установленного времени людям часто не хватает физических сил, особенно в условиях качки. Поэтому плавсредства для перевозки людей должны подаваться без опозданий и использование их в часы пересменок для других нужд, исключая спасательные работы, недопустимо.

В организацию основного процесса бурения входит и проведение ряда мероприятий по повышению механической скорости бурения. К числу основных мероприятий относятся:

внедрение новых высокопроизводительных буровых станков;

использование наиболее эффективных способов бурения, обеспечивающих высокое качество получаемой информации;

применение технологии бурения, полностью соответствующей проходимым грунтам и гидрометеорологической обстановке;

постоянное повышение квалификаций рабочих и инженерно-технических работников.

Следует отметить, что средняя механическая скорость бурения на акваториях довольно высокая. Это связано с преобладанием в шельфовой зоне грунтов невысоких категорий - в основном I и II (илы, рыхлые пески, супеси и пр.). Бурение этих грунтов характеризуется высокой механической скоростью бурения - до 30 м/ч и больше. В то же время в прибрежной зоне очень часто приходится бурить скальные породы, валунные грунты, плотные пески плывунного типа. Механическая скорость бурения этих грунтов обычно не высокая. Проведение организационно-технических мероприятий должно быть направлено на повышение механической скорости бурения именно в этих грунтах. Повышение механической скорости бурения слабых грунтов, очевидно, нецелесообразно, так как оно может привести к снижению качества получаемой нженерно-геологической информации. Главное внимание при бурении слабых грунтов следует обращать на сохранность естественного сложения грунта, извлекаемого из скважины, и точное определение литологических границ.

.3 Ликвидационные работы

Этот вид работ начинают до окончания бурения последних скважин. Заблаговременно заказывают морской буксир для транспортирования ПБУ, возят экспедиционное снаряжение, инструмент, оборудование, оставляя для бурения последних скважин только самое необходимое, без чего не обойтись практически невозможно. С объекта выезжает часть сотрудников партии.

После окончания бурения последней скважины якоря извлекают из грунта и ПБУ подводят к причалу или причальной бочке. При отсутствии причального сооружения ПБУ оставляют на якорях и начинают готовить к буксировке. В первую очередь проверяют целостность обшивки и плавучего основания и надежность крепления бурового станка, двигателя, насоса и якорных лебедок к палубе установки, затем все трубы и прочие незакрепленные предметы прочно увязывают стальными канатами во избежание их смещения при буксировке ПБУ. На палубе не должно оставаться ни одного незакрепленного предмета. Рабочую шлюпку поднимают на борт установки и надежно крепят к палубе. Если площадь установки ограниченная и для шлюпки на ней нет места, шлюпку оставляют на плаву, прикрепив ее к кормовой части ПБУ длинным канатом. Трубы и другие предметы распределяют по палубе со смещением к кормовой части, благодаря чему передняя часть установки приподнимается, и во время буксировки по морю установка меньше «зарывается» в воду, чем при отсутствии дифферента.

Руководитель морской партии лично проверяет готовность ПБУ к буксировке и назначает сопровождающих. С приходом на участок морского буксира на ПБУ передают буксирные канат и крепят его к буксирному устройству. Сопровождающие переходят на борт буксира и остаются на нем до конца буксировки ПБУ.

Одной из задач организации ликвидационных работ является очистка берега и дна на участке буровых работ от поломанных труб, обрывков канатов, утопленных предметов, пустых бочек, ящиков и других отходов производства. Очистка дна осуществляется аквалангистами морской партии или привлеченными для этой цели водолазами. Если в некоторых скважинах остались обломанные трубы, выступающие выше морского дна, и извлечь их из грунта невозможно, трубы обрезают на уровне дна. После окончания буровых работ на участке не должно оставаться никаких следов производственной деятельности. Очень важным организационным моментом является свое временное завершение буровых работ с ПБУ на отдаленных, необжитых объектах. Работы должны быть закончены до начала длительного штормового периода или замерзания акватории. Если буровые установки своевременно не отбуксировать с объекта, то придется затратить немало времени на ожидание затишья, а при замерзании акватории приходится оставлять их на месте до весны. Буровые установки оставляемые на зимовку, необходимо вытащить на берег за пределы прибойной зоны или зоны припая. Но это не всегда возможно из-за отсутствия соответствующих технических средств или же из-за недоступных, обрывистых берегов. Тогда буровые установки оставляют заякоренными на плаву или в хоне осушки. Как показывает многолетний опыт работ, буровые установки, оставленные в акватории на зимний период, могут быть деформированы льдами, сорваны с якорей во время сильных штормов, в результате чего они ударяются о дно или берег и после вынужденной зимовки нередко требуют капитального ремонта. ПБУ отбуксированные на базу после окончания работ, заякоривают в укрытой от ветра и волнения бухте на мертвых якорях или вытаскивают по слипу на берег. Малые вспомогательные плавсредства - шлюпки, мотоботы и катера - вытаскивают по слипу на берег и ставят в специальное помещение (эллинг) для хранения и ремонта. В течении зимнего периода проводят технический осмотр и ремонт всех ПБУ и вспомогательных плавсредств.

Необходимо отметить, что ликвидация морских буровых работ является очень ответственной частью всего производственного процесса бурения скважин. Пренебрежительное отношение к организации ликвидационных работ может иметь самые неблагоприятные последствия. В практике известны случаи, когда из-за нечеткой, непродуманной организации на ликвидацию работ затрачивалось больше времени и средств, чем на выполнение основной части производственного процесса. Известны также случаи потопления и потери бурового оборудования из-за несвоевременного завершения работ, небрежной буксировки буровых установок и т.д. поэтому к организации ликвидационных работ необходимо относиться с не меньшей ответственностью, чем к организации собственного бурения скважин.

.4 Охрана окружающей среды

Обеспечение экологической безопасности и снижение негативного влияния на морскую среду веществ, образующихся в процессе бурения, достигается применением современных технических средств, технологий и устройств, обеспечивающих:

сбор и вывоз избыточного бурового раствора и шлама, содержащих химреагенты, на береговые шламоотвалы, или обработку бурового раствора и шлама до кондиции, позволяющей их закачку в поглощающие горизонты, или обработку избыточного бурового раствора и шлама отверждающими композициями для сокращения их объема и обезвреживания до установленных нормативов качества;

сбор и очистку до установленных нормативов качества буровых и маслонефтесодержащих сточных вод;

сбор и вывоз или сжигание продуктов опробования скважин, технологических и бытовых отходов;

предотвращение попадания в море продуктов неполного сгорания отработанных газов дизельных агрегатов;

предотвращение попадания в море закачиваемых в подземные горизонты сточных вод;

сбор, очистку до установленных нормативов качества или транспортировку на берег хозяйственно - бытовых и хозяйственно - фекальных сточных вод.

Правила сбора и утилизации отходов бурения:

. При проходке верхних интервалов скважины с использованием в качестве промывочной жидкости морской воды допускается сброс на дно моря выбуренного шлама с отработанной морской водой.

Шлам, образующийся при бурении скважин на буровом растворе, обработанном химреагентами, а также избыточный буровой раствор, тампонажный раствор подлежат вывозу на береговые шламоотвалы, оборудованные в соответствии с требованиями СНиП 2.01.28.85 "Полигоны по обезвреживанию и захоронению токсичных промышленных отходов. Основные положения по проектированию" и РД 51-110-86 "Сбор, хранение и захоронение производственных отходов на буровой".

. Сброс на дно моря обезвреженного бурового шлама допускается при выполнении его санитарно - токсикологической оценки и получении разрешения органов Госкомэкологии России.

. Санитарно - токсикологическая оценка обезвреженного бурового шлама, бурового раствора или новых химреагентов осуществляется в результате исследований по определению класса опасности вещества, установлению значений его ПДК в воде и в воздухе рабочей зоны, а также по определению безвредности вещества с позиций санитарно - гигиенических требований работы с ним.

Санитарно - токсикологические характеристики, ПДК воздуха рабочей зоны разрабатываются и согласовываются специализированными организациями Минздрава России, значения ПДК веществ, подлежащих сбросу в море, - специализированными организациями Минсельхозпрода России.

Ввозимые на территорию Российской Федерации химреагенты, используемые для приготовления буровых растворов, должны проходить тестирование по отечественным методикам; в случае, если химреагенты имеют соответствующий национальный сертификат качества и безопасности, допускается проведение сертификации по сокращенной программе.

. За пределами территориальных вод России сброс нефтесодержащих сточных вод (исключая пластовые) разрешается с содержанием в них нефти до 15 мг/л.

. За пределами территориальных вод России сброс хозяйственно - бытовых сточных вод разрешается при условии несмешивания их с производственными сточными водами.

. Сброс хозяйственно - фекальных сточных вод со стационарных платформ морской нефтегазодобычи за пределами территориальных вод России разрешается после обработки их на установке для очистки и обеззараживания до коли - индекса не более 2500.

. Отходы ГСМ подлежат сжиганию или транспортировке на берег вместе с буровым шламом и избыточным буровым раствором.

Требования к выполнению мероприятий по предотвращению загрязнения природной среды при бурении морских скважин:

. На палубах морской буровой платформы должен быть предусмотрен герметичный металлический настил с системой коллекторов, обеспечивающих сток дождевых и промывочных вод в специальные емкости.

. Производственно - дождевые сточные воды после механической очистки должны использоваться в оборотной системе водоснабжения платформы для технических нужд.

. Водозаборы морской воды должны быть оборудованы устройствами, конструкция которых определяется гидрологическими условиями и биологическими особенностями защищаемых объектов и согласовывается с органами рыбоохраны.

. Все задвижки, клапаны, клинкеты и другие запорные устройства, через которые возможен сброс за борт вредных веществ или содержащих такие вещества, должны быть опломбированы.

. При монтаже бурового оборудования и обвязке устья скважин и ее коммуникаций должна быть обеспечена полная гидроизоляция площадок под вышечно - лебедочным, силовым, насосным блоками, циркуляционной системой, блоками приготовления бурового раствора и дозирования химреагентов, а также обеспечена система сбора отходов в герметичные емкости.

. Устьевое оборудование должно обеспечивать надежную герметизацию устья как в период бурения, так и в период наращивания труб, смены долота, спуска обсадной колонны, и крепления скважины.

. Доставка и хранение на платформе горюче - смазочных материалов должны производиться в герметичных емкостях, подача топлива в двигатели - по герметичному топливопроводу.

. Сбор отработанных масел буровых насосов и дизелей должен производиться в специальные емкости, от которых к причальной площадке платформы должен быть проложен трубопровод, оканчивающийся специальными фланцами и клапанами.

. Перед освоением скважина должна оборудоваться герметичным устьевым устройством и установкой сбора и ликвидации продукции опробования, включающей сепаратор, приспособления для сжигания газа, горелки, обеспечивающие бездымное сжигание жидкой продукции опробования с содержанием воды не менее 30%, емкости для сбора оставшейся жидкости.

При освоении скважины с ожидаемым аномально высоким пластовым давлением насосно - компрессорные трубы должны опускаться с забойным отсекателем и соответствующим пакером.

При вскрытии продуктивного пласта, содержащего сероводород, должны использоваться специальные реагенты - нейтрализаторы, а также буровые растворы, обладающие высокой нейтрализирующей способностью.

. Для предотвращения загрязнения морской среды пластовыми водами обязательно применение заколонных пакеров, центраторов, герметизирующих смазок, герметичных резьбовых соединений обсадных колонн и качественного цементирования последних.

. Предотвращение загрязнения морской среды избыточным буровым раствором, буровым шламом должно быть достигнуто в результате:

добавления бурового шлама при приготовлении промывочного раствора;

максимального использования отработанного бурового раствора для приготовления рабочих буровых растворов при проходке последующих интервалов;

применения современных рецептур бурового раствора с включением нетоксичных реагентов, регулирующих свойства раствора; до внедрения такого типа реагентов необходимо получение на них (как и на раствор в целом) санитарно - токсикологического паспорта;

внедрения гидрофобизирующих кремнийорганических жидкостей, что позволит уменьшить объем избыточного бурового раствора, что особенно актуально при бурении наклонных скважин;

улучшения качества очистки бурового раствора путем применения прогрессивных технологий и технических средств (вибросит, пескоилосепараторов, сито - гидроциклонов, центрифуг).

. Очистные установки, эксплуатируемые при минусовых температурах, должны обогреваться для исключения замораживания и размораживания жидкости;

насосно - компрессорные трубы, торцевые соединения, обсадные трубы, а также коммуникации должны иметь тепловую изоляцию, в качестве которой необходимо использовать многослойные синтетические материалы или полиуретановую пену;

при цементировании скважины необходимо применять незамерзающие буферные жидкости;

всасывающие линии центробежных насосов должны быть оборудованы устройствами, предотвращающими замерзание воды.

. На морской буровой платформе должна функционировать установка автоматизированной контрольно - предупредительной системы безопасности и контроля за загрязнением окружающей среды, обеспечивающая контроль за технологическими операциями, нарушение которых может привести к загрязнению природной среды.

. В случае аварийного разлива нефти лица, руководящие проведением буровых работ на платформе, обязаны незамедлительно сообщить в спасательно - координационный центр или спасательно - координационный подцентр на бассейне об инциденте. Сообщение должно содержать следующую информацию: координаты платформы, время инцидента, описание инцидента, количество и концентрацию вредного вещества, сброшенного в море, погодные условия на месте происшествия, необходимая помощь, меры, принимаемые по ликвидации загрязнения.

Для ликвидации небольших объемов разлившейся нефти, связанных с нарушением технологического режима, небольшими утечками и т.д., на морской стационарной платформе или плавучей буровой установке должен иметься комплект технических средств, обеспечивающих выполнение работ по оконтуриванию и сбору разлившейся нефти.

.5 Техника безопасности при морском бурении скважин

Бурение с ПБУ:

Водоизмещение и размеры ПБУ должны соответствовать гидрометеорологическим условиям работ, удалению скважин от берега, применяемому буровому оборудованию, способу и глубине бурения и должны быть меньше указанных в таблице.

Таблица 9. Площадь и водоизмещение ПБУ.

Характеристика акватории

Площадь,

Водоизмещение, кН

Открытое море

Спецпроект

-------

Открытое морское побережье

70

500

Бухты:



полузакрытые

50

250

закрытые

25

100


Запрещается производство работ при отсутствии налаженной метеорологической службы (прогноза).

Для каждого типа ПБУ с учетом гидрометеорологических условий должны быть определены допустимые сила ветра и волнение. Во всех случаях допустимая сила ветра не должна превышать 6, а волнение для буровых установок, не имеющих гасителей качки, 4 баллов.

Запрещается производство работ при полном отсутствии видимости. При плохой видимости, связанной с туманом, ливнем, снегопадом и пр., бурение производится, но не запрещается передвижение буровой установки с точки на точку.

На борту буровых установок на расстоянии 0,3 м от палубы должна быть нанесена белой краской предельная вентиляция. Загружать буровые установки выше этой линии запрещается.

Буровые установки и приданные им плавсредства должны быть окрашены в яркие, контрастные цвета.

Высота буровых вышек для установок водоизмещением свыше 500 кН не должна превышать 12,250 - 500 кН - 8 м и менее 250 кН - 6 м.

Буровая установка должна иметь леерное ограждение или фальшборт высотой не менее 1,2 м. Ограждения должны быть на всех рабочих площадках : палубу, крыше надстройкой, полатях на вышке и пр.

Палубу буровой установки необходимо покрыть досками толщиной 40-50 мм или стальными рифлеными листами.

Доступ к трапам, трюмам, люкам, выходам, противопожарным и спасательным средствам должен быть всегда свободен.

Перед осмотром трюмов и отсеков, которые были долго закрыты необходимо их тщательно проветривать во избежание отравления скопившимися в них газами.

Буровая установка должны быть обеспечена спасательной лодкой и следующим минимумом спасательных принадлежностей: спасательные круги (4 штуки), жилеты (10 штук), пеньковый канат (30 м). Спасательные принадлежности должны располагаться на видных и легкодоступных местах. В качестве спасательной лодки может быть использована рабочая шлюпка

В зависимости от условий работ к несамоходным буровым установкам должны быть приданы следующие вспомогательные плавсредства:

а) в открытом море или вблизи открытых побережий в сложных гидрометеорологических условиях - морской буксир;

б) у открытых побережий или в бухтах при удалении от берега свыше 1 км - катер мореходность. Не ниже 6 баллов;

в) в полузакрытых бухтах - разъездной катер мотобот или шлюпка ЯЛ-6 с мотором.

Кроме перечисленных плавсредств у каждой буровой установки в рабочее время должна постоянно находиться дежурная шлюпка ЯЛ-4 с веслами.

Буровые установки, удаленные более чем на 1 км от берега, должны быть обеспечены неприкосновенным запасом пищи, одежды и пресной воды на случай невозможности возвращения людей на берег из-за неблагоприятных погодных условий.

Буровую установку оснащают сигнализацией, принятой на морском транспорте (сигнальные огни, флаги и пр.).

Установка должна быть снабжена мегафоном и комплектом белых и красных ракет не менее 10 шт., а при работе на расстоянии более 1 км от берега радиостанцией.

Члены буровой бригады обязаны знать морские сигналы и уметь четко и быстро их подавать и принимать.

При работе на оживленных судоходных трассах и а акваториях портов на буровых установках необходимо устанавливать постоянное наблюдение за проходящими судами.

Перед началом работ на новом участке буровая установка должна тщательно осматриваться руководителем полевого подразделения и старшим буровым мастером, результаты осмотра записываются в буровом журнале. Об обнаруженных неисправностях и принятых мерах по их устранению руководитель подразделения письменно докладывает по инстанции.

Все члены буровой бригады должны быть обучены плаванию, гребле и правилам передвижения на плавсредствах; знать правила спасения утопающих и свои обязанности на случай тревоги.

Запрещается:

а) хранить на буровой установке излишние буровой инструмент и материалы;

б) бурить скважин и извлекать обсадные трубы при открытых отсеках бурового понтона;

в) оставлять установку без присмотра при извлечении обсадных труб приливом;

г) оставлять в грунте обсадные трубы, выступающие выше морского дна;

д) купаться, находясь на буровой установке.

Запас ГСМ, хранящихся в бочках и канистрах, не должен превышать суточной потребности работающего двигателя.

Палуба установки должна постоянно очищаться от грязи, снега, льда, а во время гололедицы посыпаться песком или золой.

Для придания буровой установке большей остойчивости при бурении с барж и шаланд последние необходимо загружать балластом. Запрещается в качестве груза применять жидкость наливом.

Статическая система удержания несамоходной буровой установки над скважиной должна включать не менее трех якорей для треугольных оснований и четырех для прочих. Меньшее число якорей допускается только в случае поддержки буровой установки буксиром.

Якорь соединяется с установкой расчальным канатом длиной не менее трех глубин моря. Диаметр якорного каната должен соответствовать массе якоря.

На буровой установке необходимо иметь запасной канат и якорь.

Якорные устройства должны обеспечивать быструю и безопасную установку и подъем якоря и надежное удержание над скважиной. Запрещается использовать в качестве якорных канатов стальные троса, равной восьми его диаметрам. Работа по завозке, установке и подъему якорей должна производиться на соответствующих плавсредствах, имеющих спасательные принадлежности по числу лиц, занятых на жтой работе, и обязательно под руководством старшего бурового мастера или руководителя полевого подразделения. Все операции с якорями массой более 75 кг необходимо осуществлять только с помощью спускоподъемных приспособлений и механизмов.

Вытравливать якорный канат из шлюпки или мотозавозни разрешается только уложенными шлагами или через барабан лебедки. Запрещается при вытравливании каната находиться в середине бухты каната.

Во время сбрасывания якоря с борта установки или вспомогательного плавсредства категорически запрещается поправлять якорный канат, руками или ногой. Запутавшийся канат можно поправлять только с помощью багра или шеста.

Перегрузка завозимого якоря с буровой установки, на шлюпку или мотозавозню разрешается только после их надежной швартовки у борта установки. При передаче якоря следует соблюдать осторожность, так как при малейшей оплошности якорь может упасть и проломить дно плавсредства.

Буксировка ПБУ на новый участок осуществляется в сопровождении старшего бурового мастера или другого лица, назначенного руководителем полевого подразделения. Перед буксировкой корпус установки тщательно осматривают и его состояние фиксируют в буровом журнале. Лодки задраивают. Находящиеся на установке трубы, инструмент и оборудование рассредоточивают таким образом, чтобы носовая часть была несколько приподнята.

При буксировке ПБУ взаимодействием до 500 кН на дольние расстояния открытым морем буровой агрегат демонстрируется и снимается с установки.

При перемещении буровой установки лебедкой запрещается находиться в створе натянутых канатов, а так же ближе 1 м от барабана лебедки, кроме лиц, работающих на ней.

На приливных акваториях во избежание опрокидывания, передвижение буровой установки на малых отметках при большом уклоне дна следует производить только при полном приливе.

Перед началом работ в зоне осушки участок работ тщательно осматривают во время отлива и по мере возможности освобождают его от острых камней и предметов, которые могут повредить корпус установки.

Перед началом работ с буровой установки на выдвижных опорах необходимо обследовать грунты основания опор. Запрещается устанавливать опоры на илы и другие неустойчивые грунты. Во время работ ведут наблюдения за осадками опор.

При стоянке ПБУ у причала нельзя допускать ее ударов о причал.

При стоянке ПБУ у стационарного причала на приливных морях не допускать ее захода под причал.

Необходимо внимательно следить за равномерной работой швартовов, своевременно ослаблять их или дотягивать.

Список используемой литературы

бурение скважина обсадная

Асеев А.Г. и другие «Бурение разведочных скважин на шельфе»; М.:Недра, 1988г.

Архангельский И.В. «Морское бурение инженерно-геологических скважин»; Л.: Недра, 1980г.

Соловьев Н.В и др. «Бурение разведочных скважин» учебник для вузов; М.: Высшая школа 2007г.

Ребрик Б.М. «Бурение инженерно-геологических скважин» справочник; М.:Недра, 1990г.

Козловский Е.А. и другие «Справочник инженера по бурению геологоразведочных скважин»: в 2-х томах, 1984г.

Ганджумян Р.А. «Практические расчеты в разведочном бурении»; М.: Недра, 1986г.

Воздвиженский Б.И. «Разведочное бурение»; М.: Недра, 1979г.

Сулакшин С. «Бурение геологоразведочных скважин»; М.:Недра, 1994г.

«Терминалогический словарь по бурению скважин» под редакцией С.И.Голикова, А.Г.Калинина, М.: ООО «Геоинформмарк», 2005г.

Похожие работы на - Морское бурение разведочных скважин

 

Не нашли материал для своей работы?
Поможем написать уникальную работу
Без плагиата!
Без нейросетей!