Технология изготовления сварных конструкций

  • Вид работы:
    Дипломная (ВКР)
  • Предмет:
    Другое
  • Язык:
    Русский
    ,
    Формат файла:
    MS Word
    845,4 Кб
  • Опубликовано:
    2014-10-14
Вы можете узнать стоимость помощи в написании студенческой работы.
Помощь в написании работы, которую точно примут!

Технология изготовления сварных конструкций

Введение

Сваркой называют технологический процесс, в результате которого достигается неразъемное-сварное соединение деталей из металлов и их сплавов и других материалов, например пластмасс и стекла, или разнородных материалов, например, стекла и металла. Способностью свариваться обладают все металлы, образовывающие растворы и смеси эвтектического или неэвтектического состава. Соединение при сварке осуществляется за счет межатомного взаимодействия путем сцепления (связи) атомов. Для того чтобы произошло сцепление между атомами, необходимо ряд атомов металла одной соединяемой детали приблизить к ряду атомов металла другой детали на расстояние равное параметру кристаллической решетки металла соединяемых частей. При таком сближении внешние электроны атомов соединяемых деталей образуют общую (коллективную) электронную систему, за счет чего и достигается сварка. Сближению атомов мешает неровность поверхностей соединяемых деталей и наличие загрязнений в виде окислов, органических пленок и адсорбированных газов.

В соответствии с методом, применяемым для устранения этих препятствий и обеспечения необходимого для сварки сближения атомов, все существующие сварочные процессы (а их насчитывается более 60), можно отнести к двум основным группам: к группе способов сварки пластическим деформированием (давлением) и к группе способов сварки плавлением.

При сварке пластическим деформированием соединение деталей достигается путем совместной пластической деформации - осадки металла соединяемых частей в месте их соприкосновения (по кромке или по плоскости).

При сварке плавлением соединение деталей осуществляется за счет расплавления металла свариваемых элементов - основного металла по кромкам в месте их соприкосновения или основного и дополнительного металлов и смачивания твердого металла жидким.

Расплавленный металл свариваемых деталей самопроизвольно (спонтанно) без приложения внешнего усилия сливается между собой или с дополнительным металлом, образуя общую так называемую сварочную ванну. При этом достигается разрушение пленок, покрывающих поверхность соединяемых элементов, и сближение атомов металла свариваемых деталей до расстояния, при котором возникают металлические связи. Межатомному сцеплению способствует повышенная подвижность атомов, обусловленная высокой температурой сварочной ванны.

По мере удаления источника нагрева происходит затвердевание- кристаллизация металла сварочной ванны и превращение ее в шов, соединяющий детали в одно целое. Кристаллизация металла шва начинается от частично оплавленных зерен основного металла. Металл шва при всех видах сварки плавлением имеет литую структуру.

1. Технологическая часть

1.1 Описание конструкции

По заданию дипломного проектирования №08 необходимо разработать технологию сборки и сварки колонны К-14. Согласно рабочего чертежа №25 колонна является элементом здания временного ангара ООО «Уфа-Логистик» по улице Каспийской в Калининском р-не города Уфы.

Колонны представляют собой вертикально расположенные стержневые элементы, по которым нагрузка от вышележащих конструкций передаётся на фундамент. В них различают: верхнюю часть - оголовок, на который опирается вышележащая, конструкция; стержень - основная часть колонны, передающая нагрузку сверху вниз, и базу - нижнюю часть колонны, передающую нагрузку от стержня на фундамент.

Оголовок колонны служит опорой для вышележащих конструкций (балки, фермы) и распределяет сосредоточенную нагрузку на колонну равномерно по сечению стержня.

База колоны служит для распределения сосредоточенного давления от стержня колонны равномерно по площади опирания и обеспечивает закрепление нижнего конца колонны в соответствии с принятой расчетной схемой.

Стержень - основная часть колонны передающая нагрузку сверху вниз. Стержни колонны бывают постоянного, переменного и ступенчатого сечения, по высоте сечения стержня колонны могут быть сплошными и сквозными (решетчатыми), состоящими из отдельных ветвей, соединенными раскосами или планками.

Сплошные и сквозные колонны со стержнем постоянного сечения наиболее распространены при центральном сжатии. Сплошные колонны применяют при больших нагрузках и небольших высотах, сквозные, наоборот, - при меньших нагрузках и больших высотах.

Особенность внецентренно-сжатых колонн - воздействие на них одновременно продольной силы и изгибающего момента. Вследствие этого их сечения (в отличие от центрально-сжатых колонн) принимают более развитыми в плоскости действия момента (увеличивают высоту сечения) и часто несимметричными, так как от действия момента одна сторона сечения догружается, а другая - разгружается. Применяются колонны сплошного сечения и сквозные, постоянного сечения по высоте и переменного.

Данная конструкция является сплошной колонной переменного по высоте сечения. Колонна изготовлена из стали марки 09Г2С, массой 2366кг. Общая длина составляет 8066мм.

Нижняя часть колонны -база шарнирного типа состоит из опорной плиты, толщина которой 30мм. В опорной плите просверлены отверстия диаметром 35мм Верхняя часть -оголовок, состоит из плиты толщиной 30мм, с приваренными к ней косынками. Конструктивной особенностью колонны являются: стенка, которая из-за своих больших габаритных размеров имеет продольные и поперечные стыковые швы, одна из полок колонны установлена под наклоном относительно опорной плиты базы колонны позиция 3 ее толщина составляет 25мм. В верхней части колонны наклонная полка стыкуется с фланцем, позиция 4, толщиной 37мм, в котором просверлены отверстия диаметром 30мм. Другая полка колонны толщиной 16мм установлена перпендикулярно опорной плиты. В полке просверлены 4 отверстия диаметром 23мм.

На полках и стенке установлены элементы оформления из уголков и пластин с отверстиями, с обоих сторон стенки установлены поперечные ребра жесткости

Поясные швы ствола колонны выполняются автоматической сваркой под слоем флюса по ГОСТ 8713-79, все остальные сварные швы - механизированной сваркой в защитном газе по ГОСТ 14771-76

1- полки колонны, 2- стенка, 3- опорная плита базы колонны, 4- оголовок; 5- элементы оформления; 6- фланец

Рисунок 1 - Общий вид колонны К- 14

1.2 Анализ существующей технологии

Для сборки и сварки конструкции на заводе существует утвержденный технологический процесс, устанавливающий последовательность сборочно-сварочных операций, применяемую оснастку и инструмент, оборудование, сварочные материалы, режимы сварки и порядок наложения швов, а также операции по контролю качества.

На заготовительном этапе изготовление конструкции производится правкой металла на листоправильных машинах и машинах для правки фасонного проката.

Мелкие детали колонны толщиной металла до 14 мм выполняют на гильотинных ножницах, крупногабаритные детали колонны толщиной 8 - 80 мм на газорезательной машине. Отверстие в деталях сверлят на радиально сверлильных станках.

Сборка конструкции начинается с изготовления стержня колонны. Так как длина колонны превышает длину стандартного листового металлопроката, производят сборку стыковых швов деталей стенки и полок. Сборку проверяют по геометрическим размерам, затем заваривают стыковые швы.

Ствол колонны- составная двутавровая балка, поэтому сборка выполняется в специальной установке для сборки двутавровых балок.

На заваренной двутавровой балке правят грибовидность.

Поправленную балку транспортируют на участок обработки заготовок, где фрезеруют торцы и сверлят отверстия.

Сборку колонны выполняют на стеллаже по индивидуальной разметке. Установленные элементы прихватывают и заваривают.

После выполнения сборочно-сварочных операций, колонна в местах сварки зачищается и покрывается грунтовкой в один слой. В процессе изготовления конструкции обязательно выполняют пооперационный контроль всех сварных швов внешним осмотром.

Применяемая технология обеспечивает достаточную производительность, позволяет механизировать процессы сборки и сварки, получить хорошее качество швов. В дипломном проекте предлагается использовать кантователь вместо козелков для сварки поясных швов ветви колонны, что позволит сократить операции по использованию мостового крана при кантовке изделия в козелках. При автоматической сварке требуются дополнительные операции связанные с установкой и снятием сварочного оборудования с изделия, поэтому имеет смысл заменить автомат тракторного типа на автомат подвесного типа установленного на глагольную тележку.

1.3 Обоснование и выбор основного металла

Для изготовления конструкции применяется низкоуглеродистая низколегированная сталь марки 09Г2С-12 по ГОСТ 19281- 89.

К низкоуглеродистым конструкционным относятся, стали, в которых содержится до 0,25 % углерода. Кроме того, в них присутствуют постоянные примеси, их количество обычно не превышает 0,8 % Мn; 0,35 % Si; 0,04 % Р; 0,05 % S, а также некоторого остаточного водорода и азота.

К низколегированным относятся, стали, легированные одним или несколькими элементами, если содержание каждого из них не превышает 2 % а суммарное количество легирующих не превышает 5 %. Низколегированные стали, применяемые для изготовления сварных конструкций, делятся на низколегированные, низко- и среднеуглеродистые, низколегированные теплоустойчивые. Сталь 09Г2С-12 имеет повышенную прочность, текучесть, низкий порог хладноломкости, более высокую по сравнению с углеродистыми сталями коррозионную стойкость, хорошо сваривается без ограничений в широком диапазоне режимов сварки.

Таблица 1- Химический состав стали 09Г2С-12 в процентах

С

Si

Mn

Cr

Ni

Cu

£ 0,12

0,5-0,8

1,3-1,7

£ 0,3

£ 0,3

£ 0,3


Таблица 2 - Механические свойства стали 09Г2С-12

Предел текучести sт, МПа

Временное сопротивление разрыву sв МПа

Относительное удлинение δ,%

Ударная вязкость KCU,Дж/см² При температуре, С˚




+20

-40

-70

345

490

21

64

39

34

1.4 Выбор и обоснование технологических процессов

При выборе последовательности сборочно-сварочных операций необходимо выбирать оптимальные варианты. Оптимизация должна производится по следующим признакам:

технологичность процесса сборки и сварки включая удобства и безопасность работы;

производительность процесса;

качество сборки и сварки;

экономичность.

Для выполнения заданных условий, необходимо руководствоваться следующими соображениями:

свободный доступ к швам при сварки;

свободная усадка сварного шва;

возможность применения специального инструмента и вспомогательного оборудования.

Проектом предполагается следующая последовательность сборочно-сварочных операций:

сборку стыковых швов полок и стенок ствола колонны, а также сборку оформления производить на ровной поверхности, для чего используется стеллаж. Для прихваток используем ручную дуговую сварку. Данный вид сварки позволяет варить швы в любых пространственных положениях.

сварку стыковых швов выполняем автоматической сваркой под слоем флюса. Производительность по сравнению с ручной сваркой увеличивается в 5-12 раз. При сварке под флюсом ток по электродной проволоке проходит только в ее вылете (место от токоподвода до дуги). Поэтому можно использовать повышенные (25-100 А/мм2) по сравнению с ручной дуговой сваркой (10-20 А/мм?) плотности сварочного тока без опасения значительного перегрева электрода в вылете и отслаивания обмазки, как в покрытом электроде. Использование больших сварочных токов резко повышает глубину проплавления основного металла и появляется возможность сварки металла повышенной толщины без разделки кромок.

Высокое качество металлов шва и сварного соединения достигается за счет надежной защиты расплавленного металла от взаимодействия с воздухом, его металлургической обработки и легирования расплавленным шлаком.

сборку Н-образного сечения производить в кондукторе. Такая сборка улучшает качество и увеличивает производительность;

сварка поясных швов Н-образного сечения производить автоматической сваркой под слоем флюса с помощью двухстоечного кантователя. Применение кантователя позволит избежать многочисленной кантовки и использование мостового крана;

сварку оформления колоны производить с помощью механизированной сварки на двухстоечном кантователе.

Преимущества и недостатки способа. Широкий диапазон применяемых защитных газов обусловливает большое распространение этого, способа как в отношении свариваемых металлов, так и их толщин (от 0,1 мм до десятков миллиметров). Основными преимуществами механизированного способа сварки являются следующие:

высокое качество сварных соединений на разнообразных металлах и их сплавах разной толщины, особенно при сварке в инертных газах из-за малого угара легирующих элементов;

отсутствие операций по засыпке и уборке флюса и удалению шлака;

возможность наблюдения за образованием шва, что особенно важно при механизированной сварке;

высокая производительность и легкость механизации и автоматизации процесса;

низкая стоимость при использовании активных защитных газов.

К недостаткам способа относятся: необходимость применения защитных мер против световой и тепловой радиации дуги; возможность нарушения газовой защиты при сдувании струи газа движением воздуха или при забрызгивании сопла; потери металла на разбрызгивание, при котором брызги прочно соединяются с поверхностями шва и изделия; наличие газовой аппаратуры и в некоторых случаях необходимость водяного охлаждения горелок.

сдача сварных швов ОТК на наличие дефектов и их геометрические параметры.

последней операцией является покраска.

.5 Выбор сварочных материалов

Для механизированной сварки в среде защитного газа низкоуглеродистой низколегированной стали марки 09Г2С-12 применяем проволоку марки Св- 08Г2С по ГОСТ 2246- 70* в сочетании с углекислым газом СО2.

Наплавленный металл при применении такой проволоки получается хорошо раскисленным при достаточном содержании в нём кремния и марганца и с высокими механическими свойствами.

Таблица 3 - Химический состав проволоки марки Св - 08Г2С в процентах

C

Mn

Si

Cr

Ni

S

P

£0,11

1,8-2,1

0,7-0,85

£0,2

£0,25

<0,025

<0,03


В качестве защитного газа СО2 - Углекислый газ по ГОСТ 8050-85 с содержанием защитного газа в объеме не менее 99,5 % СО2 предназначен для защиты сварочной дуги при полуавтоматической сварке углеродистых и низколегированных сталей.

Углекислый газ СО2 - термически устойчив, бесцветный, с едва ощутимым запахом, тяжелее воздуха, что обеспечивает хорошую газовую защиту сварочной ванны.

Таблица 4 - Газ и его химический состав в процентах

Показатель

Сорт


Высший

Первый

Объемная доля (СО2)

99,8

99,5


Для автоматической сварки под слоем флюса стали 09Г2С-12 применяем сварочную проволоку марки Св- 08ГА по ГОСТ 2246- 70*, так как состав легирующих элементов в ней приблизительно равен основному металлу в сочетании с флюсом марки АН - 348А.

Таблица 5 - Химический состав проволоки марки Св- 08ГА в процентах

C

Mn

Si

Cr

Ni

S

P






Не более

£ 0,3

0,8-1,1

0,03

£0,1

£0,25

0,03

0,03


Для защиты сварочной ванны при автоматической сварке выбираем сварочный флюс марки АН 348А.

Стекловидный плавленый флюс с темно-коричневой окраской зерен, состоит в основном из оксидов металлов и может содержать до 10% фтористых соединений, предназначен для сварки углеродистых и легированных сталей. Сварочно-технологические свойства: устойчивость горения дуги хорошая; формирование шва удовлетворительное; склонность металла шва к образованию пор и трещин низкая.

Таблица 6 - Химический состав флюса АН - 348А в процентах

Si O2

Mn O

Ca F2

Mg O

Ca O

Al2 O3

Fe2 O3

S

P

41-44

34-48

4-5,5

5,5-7

6,5

4,5

2

<0,15

<0,12

Для прихваток предлагается применять согласно СНиП ΙI-23-81*, таблица 55 электроды типа Э-42А, марки УОНИ 13/45 по ГОСТ 9467 - 75*, так как эти электроды предназначены для сварки малоуглеродистой, среднеуглеродистой и низколегированной сталей. Пригодны для сварки во всех пространственных положениях на постоянном токе обратной полярности. Хорошее формирование шва, валик шва выпуклый с крупночешуйчатой поверхностью, отделимость шлаковой корки удовлетворительное.

Таблица 7 - Химический состав наплавленного металла и механические свойства шва электрода УОНИ 13/45 в процентах

Тип электрода

Механические свойства при нормальной температуре

Содержание в наплавленном металле


Металл шва или наплавленный

Сварочное соединение

S

P


sв, МПа

ds1, %

КСИ МДж/мм


Не менее

Э42-А

Не менее

sв, МПа

l изгиба рад (град)

0,03

0,035


420

22

22

420

3,0(180)




.6 Расчет и выбор режимов сварки

Расчет режимов для автоматической сварки под флюсом

а) Расчет режимов сварки металла толщиной S=25 мм

Расчет режима сварки первого слоя

Выбираем диаметр электрода

dэл= 4 мм

Находим силу тока

                                            (1)

где g- рекомендуемая плотность тока = 50


Принимаем Iсв= 750 А

Определяем скорость сварки

                                        (2)

Задаемся величиной напряжения дуги для стыковых швов Uд = 32¸40В, и по монограмме находим коэффициент провара yпр

Uд = 38В, yпр = 2,1

Определяем эффективную тепловую мощность дуги

Qэф = 0,24·Iсв·Uд·h                                                                      (3)

где h - КПД сварочной дуги для сварки под флюсом, равен 0,7¸0,85

Qэф = 0,24·750·38·0,8 = 5472 кал/с

Определяем глубину проплавления

                           (4)

Определяем коэффициент наплавки металла при постоянном токе обратной полярности

l н=11,6±0,4                                                                                  (5)

l н=11,6+0,4=12 г/А·ч

Находим площадь наплавленного металла

                                                                                       (6)

где j- плотность наплавленного металла, для всех сталей равна 7,8 г/см3

Найдем ширину шва

е= yпр · h¢                                                                                      (7)

е=2,1∙8,3= 17,43 мм

Определяем высоту валика шва

                                                            (8)

Общая высота шва равна

H= q +h                                                                                          (9)

H=2,75+8,3=11,1 мм

Определяем высоту заполнения разделки без зазора в стыке

                                                                  (10)

Определяем глубину проплавления притупления кромок

                                                                          (11)

Расчет последующих режимов

Определяем общую площадь разделки

                                                                       (12)

                                                        (13)

Найдем ширину шва

                                                   (14)

Определяем площадь валика

                                                            (15)

где ψв - коэффициент формы валика шва равен (7÷10)

Найдем общую площадь наплавленного металла

Fн=Fр+Fв                                                                                      (16)

Fн=58+25,1=83,1 мм²

Определяем площадь всех последующих слоев

                                                                 (17)

Назначаем режим сварки последующих проходов, для чего выбираем диаметр электрода и подсчитываем силу тока, скорость сварки

Принимаем dэл= 4мм

                                                                          (18)

где g- рекомендуемая плотность тока g = 50

Принимаем Iсв= 900 А

                                         (19)

Определяем площадь наплавки каждого последующего прохода

                                                        (20)

где j- плотность наплавленного металла, для всех сталей равна 7,8 г/см3

Определяем число последующих проходов

                                                    (21)

Число последующих проходов в шве, равно n+1

+1= 2 прохода

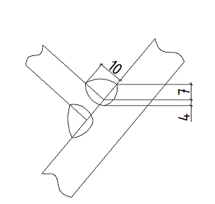
Рисунок 2 - Стыковое соединение S=25 мм

Тип шва С25 Аф ГОСТ 8713-79

б) Расчет режимов сварки металла толщиной S=12 мм

Задаемся глубиной провара с первой стороны

                                            (22)

Определяем силу сварочного тока

                                                                    (23)

Определяем скорость сварки

                                     (24)

Принимаем диаметр электрода 4мм.и проверяем правильность выбора

                                                      (25)

где γ - рекомендуемая плотность тока, для электрода диаметром 4мм γ=55

Диаметр электрода выбран правильно

Задаемся величиной напряжения дуги для стыковых швов Uд = 32¸40В, и по монограмме находим коэффициент провара yпр

Uд = 36В, yпр = 2,1

Определяем эффективную мощность дуги

Qэф = 0,24·Iсв·Uд·h                                                                      (26)

где h-КПД сварочной дуги для сварки под флюсом, равен 0,7¸0,85

Qэф = 0,24·720·36·0,8 = 4976,64 кал/с

Определяем фактическую глубину провара

                       (27)

Найдем ширину шва

е = yпр·h¢                                                                                       (28)

е = 2,1·7,75 = 16,28мм

Определяем коэффициент наплавки металла при постоянном токе обратной полярности

l н=11,6±0,4                                                                                  (29)

l н=11,6+0,4=12 г/А·ч

Находим площадь наплавленного металла

                                                                 (30)

где λ - плотность наплавленного металла, для всех сталей равна 7,8 г/см3

Определяем высоту валика шва

                                                           (31)

Общая высота шва равна

H = q + h¢                                                                                       (32)

H = 2,69 + 7,75 = 10,44 мм

Находим коэффициент формы валика шва, который для стыковых швов равен 7¸10 - условие хорошей формы шва

                                                                         (33)

принимаем зазор а=1мм

Находим действительную высоту валика с учетом зазора

                                                     (34)

Определяем коэффициент формы валика с учетом зазора

                                                                                (35)

Находим действительную глубину провара

h¢=H-q¢                                                                                           (36)

h¢=10,44-1,98=8,46 мм

Подсчитаем перекрой швов

К=2h¢                                                                                                       (37)

K=2·8,46-12=4,92 мм

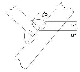
Рисунок 3 - Стыковое соединение S=12 мм

Тип шва С7 Аф ГОСТ 8713-79

в) Расчет режимов сварки стыковых швов полок S =16 мм

Задаемся глубиной провара с первой стороны

                                                          (38)

Определяем силу сварочного тока

                                                                              (39)

Определяем скорость сварки

                                        (40)

Принимаем диаметр электрода 4мм.и проверяем правильность выбора

                                                                                   (41)

где γ - рекомендуемая плотность тока, для электрода диаметром 4мм. γ=55

Диаметр электрода выбран правильно

Задаемся величиной напряжения дуги для стыковых швов Uд. = 32¸40В, и по монограмме находим коэффициент провара yпр.

Uд = 36В, yпр = 1,7

Определяем эффективную мощность дуги

Qэф = 0,24·Iсв·Uд·h                                                                      (42)

где h-КПД сварочной дуги для сварки под флюсом, равен 0,7¸0,85

Qэф = 0,24·850·36·0,8 = 5875,2 кал/с

Определяем фактическую глубину провара

                                 (43)

Найдем ширину шва

е = yпр·h¢                                                                                       (44)

е = 1,7·11 = 18,7мм

Определяем коэффициент наплавки металла при постоянном токе обратной полярности

a н=11,6±0,4                                                                                  (45)

a н=11,6+0,4=12 г/А·ч

Находим площадь наплавленного металла

                                                                                       (46)

где λ - плотность наплавленного металла, для всех сталей равна 7,8 г/см3

Определяем высоту валика шва

                                                              (47)

Общая высота шва равна

H = q + h¢                                                                                       (48)

H = 3,5 + 11 = 14,5 мм

Находим коэффициент формы валика шва, который для стыковых швов

равен 7¸10 - условие хорошей формы шва

                                                                              (49)

принимаем зазор а=1мм

Находим действительную высоту валика с учетом зазора

                                                                                   (50)

Определяем коэффициент формы валика с учетом зазора


Находим действительную глубину провара

h¢=H-q                                                                                            (52)

h¢=14,5-2,6=11,9 мм

Подсчитаем перекрой швов

К=2h¢-S                                                                                          (53)

K=2·11,9 - 16=7,8 мм

Рисунок 4 - Стыковое соединение стенки S=16 мм;

Тип шва С 7 по ГОСТ 8713-79

г) Расчет режима сварки поясных швов катет к = 10 мм

Найдем площадь наплавленного металла

                                                                           (54)

Принимаем диаметр электрода 4 мм

Рассчитываем силу сварочного тока

                                                                                (55)

где g- рекомендуемая плотность тока = 40

Принимаем Iсв= 600 А

Принимаем напряжение дуги в пределах (28¸36) В и по монограмме находим коэффициент формы провара yпр

Uд=34 В, yпр=2,8

Найдем коэффициент наплавки при постоянном токе обратной полярности

aн=(11,6±0,4)                                                                                (56)

aн=11,6+0,4=12 г/Ач

Определяем эффективную тепловую мощность дуги

Qэф=0,24×Iсв×Uд×h                                                                         (57)

где h- КПД сварочной дуги для сварки под флюсом, равна 0,7¸0,85

Qэф=0,24×600×34×0,8=3916,8 кал/с

Находим скорость сварки

                                                                                      (58)

где g- плотность наплавленного металла, равна 7,8 г/см²

Определяем глубину провара

                          (59)

Найдем ширину шва

е= Yпр×h                                                                                        (60)

е= 2,8×8,3= 23,24 мм

Определяем высоту валика

                                                                       (61)

Общая высота шва

H=h+q                                                                                            (62)

H=8,3+2,9=11,2 мм

Предполагая разделку с углом 90°, найдем глубину разделки l¢

                                                                                (63)

Найдем действительную глубину провара

h°=H-l¢                                                                                            (64)

h°=11,2-7,1=4,1

Определяем коэффициент формы валика

                                                                                    (65)

Хорошая форма углового шва

Определяем форму наружной поверхности шва

Iкр=350+m×Vсв                                                                              (66)

где m- коэффициент зависящий от диаметра электрода, равен 7 Ач/м

Iкр=350+7×18,46=479 А

Принимаем Iкр=500 А так как Iсв=600 А > Iкр=500 А - шов выпуклый.

Рисунок 5 - Тавровое соединение поясного шва

Тип шва Т3 по ГОСТ 8713-79

д) Расчет режима сварки поясных швов катет к = 12 мм

Найдем площадь наплавленного металла

                                                                           (67)

Принимаем диаметр электрода 4 мм

Рассчитываем силу сварочного тока

                                                                                (68)

при диаметре электрода 4 мм, g- рекомендуемая плотность тока равна 35-60 А/мм²


Принимаем Iсв= 650 А

Принимаем напряжение дуги в пределах (28¸36) В и по монограмме находим коэффициент формы провара yпр

Uд=34 В, yпр=2,8

Найдем коэффициент наплавки при постоянном токе обратной полярности

aн=(11,6±0,4)                                                                                (69)

aн=11,6+0,4=12 г/Ач

Определяем эффективную тепловую мощность дуги

эф=0,24×Iсв×Uд×h                                                                  (70)

где h- КПД сварочной дуги для сварки под флюсом, равна 0,7¸0,85

Qэф=0,24×650×34×0,8=4243,2 кал/с

Находим скорость сварки

                                                                                      (71)

где g- плотность наплавленного металла, равна 7,8 г/см²


Определяем глубину провара

                          (72)

Найдем ширину шва

е= Yпр×h                                                                                        (73)

е= 2,8×9,6= 27мм

Определяем высоту валика

                                                                           (74)

Общая высота шва

H=h+q                                                                                            (75)

H=9,6+3,6=13,2 мм

Предполагая разделку с углом 90°, найдем глубину разделки l¢

                                                                                (76)

Найдем действительную глубину провара

h°=H-l¢                                                                                            (77)

h°=13,2-8,5=4,7мм

Определяем коэффициент формы валика

                                                                                      (78)

Хорошая форма углового шва

Определяем форму наружной поверхности шва

Iкр=350+m×Vсв                                                                              (79)

где m- коэффициент зависящий от диаметра электрода, равен 7 А·ч/м

Iкр=350+7×14=448 А

Принимаем Iкр=500 А, так как Iсв=650 А > Iкр=500 А, то при этом шов получается выпуклый.

Рисунок 6 - Тавровое соединение поясного шва

Тип шва Т3 по ГОСТ 8713-79

Режим механизированной сварки.

Сила сварочного тока устанавливается в зависимости от диаметра сварочной проволоки. Устойчивость горения дуги зависит от плотности сварочного тока. Минимально допустимая плотность тока, при которой дуга горит устойчиво, изменяется в зависимости от диаметра сварочной проволоки в пределах 60 - 150 А/мм²

Напряжение дуги в значительной степени влияет на характеристику процесса сварки, на формирование и качество сварочного шва. Напряжение дуги зависит от ее длины и силы тока.

Расход углекислого газа - количество газа, которое подается в горелку за единицу времени. Расход зависит от толщины металла, размеров шва и от выбранного режима сварки.

сборочный фрезерование сварочный операция

Таблица 8 - Режимы для механизированной сварки в среде защитного газа

катет шва мм

число проходов

Диаметр сварочной проволоки, мм

Сварочный ток, А

Напряжение дуги, В

Скорость подачи проволоки, Vп.п.м/ч

Расход газа л/мин

6 - 10

1

1,6

280-300

28-30

290-320

16-18

12-14

2

1,6

320-340

30

320-360

18-20


Расчет параметров ручной дуговой сварки

Для наложения прихваток при сборке колонны выбираем диаметр электрода dэл = 4 мм.

Рассчитываем силу сварочного тока

Iсв=к·dэл                                                                                        (80)

где к- коэффициент зависящий от диаметра электрода, при dэл= 4 мм, к= 40

Iсв=40·4=160 А

Напряжение при ручной дуговой сварке равно (20¸36) В

Принимаем напряжение дуги Uд=28 В

.7 Выбор и обоснование технологического оборудования

1.7.1 Заготовительное оборудования

Выбор заготовительного оборудования производится с учётом типа производства, марки и толщины материала, конструкции, технологии изготовления и назначения заготовок. Заготовительное оборудование должно обеспечивать высокую производительность и по возможности иметь небольшие габариты.

Для производства заготовительных операций при изготовлении колонны требуется следующее оборудование.

Металл в цех обработки должен подаваться выправленным. Правка листовой стали осуществляется на листоправильных вальцах, деформации швеллеров и двутавров устраняются на горизонтальных правильно-гибочных прессах, а угловой стали- на углоправильных вальцах.

Основными параметрами вальцов являются максимальная ширина и толщина листа, который может быть выправлен на вальцах. Для большинства типов вальцов, применяемых на заводах металлоконструкций, предельная ширина листа 2000-3200 мм, что вполне достаточно для правки листового проката, применяемого для изготовления листовых деталей стальных конструкций.

Важным параметром является количество валков, которых может быть 5, 7, 9, 11, 13. Для правки листовой стали толщиной от 6 до 25 мм, обычно применяются семивалковые вальцы.

Правка листовой стали на вальцах заключается в том, что деформированный лист закладывается в зазор между верхним и нижними цилиндрическими валками, расположенными в шахматном порядке.

Рисунок 7 - Схема расположения листоправильных валков

Зазор между верхними и нижними валками устанавливается несколько меньше толщины выправляемого листа. При движении листа многократно изгибается, и в нем появляются упругопластические или пластические деформации, которые растягивают лист и устраняют его неровности. Нижние рабочие валки приводятся в движение электродвигателя через редуктор.

Верхние валки вращаются за счет трения с листовой сталью и перемещаются в вертикальном направлении электродвигателем через передаточный механизм. Два верхних валка перемещаются вертикально независимо друг от друга и средних рабочих валков. Высота подъема верхних валков контролируется по указателю высоты подъема: определяется зазор между верхними и нижними валками, размер которого определяется выправляемого листа и пределом текучести стали.

Таблица 9 - Технические характеристики листоправильного станка W43G-40х2500 [3]

Наименование

Параметры

Макс. толщина обрабатываемого листа (мм)

40

Макс. ширина обрабатываемого листа

2500

Мин. толщина обрабатываемого листа

10

Макс. предел текучести обрабатываемого материала (МПа)

360

Расстояние между рабочими валками (мм)

400

Диаметр рабочих валков (мм)

340

Количество рабочих валков

7

Скорость правки (м/мин)

7

Общие габариты (Д×Ш×В, мм)

11600×3200×6000


Газовая резка.

Для резки металла применяют стационарные газорезательные машины портального типа.

Портальные машины имеют перемещающийся по прямолинейным направляющим портал с приводом, резательным и управляющим устройством и другой оснасткой. Наиболее высокую точность резки портальными машинами заданных контуров произвольной конфигурации обеспечивают устройства числового программного управления (УЧПУ) контурным движением и технологическими переходами. УЧПУ обеспечивает также возможность встраивания таких машин в комплексно-автоматизированные системы поточных линий и переналаживаемых участков, где они могут быть сопряжены с управляющей ЭВМ более высокого уровня.

Портальные программные машины с УЧПУ имеют высокую стоимость и в связи с этим наиболее эффективны на металлообрабатывающих предприятиях с большими объемами резки.

Машины поставляют в комплекте с суппортом, резательной оснасткой, рельсовым путем, коммуникациями и ЗИПом. Поставляются также устройства управления и приводы.

Таблица 10 - Техническая характеристика портальных газопламенных машин с УЧПУ «Енисей»

Параметры

Значение

Наибольшие размеры разрезаемых листов, мм:

12000×2500

Наибольшая толщина резки/ пробивки ,мм: стали

 80/40

Скорость перемещения резака, мм/мин;

70-6000

Максимальное отклонение от контура, мм

±0,5

Плазморежущая установка

АПР-404 (УПРК-302)

Число резаков

1

Напряжение, В

380

Частота, Гц

50

Потребляемая мощность, кВ·А

130

Расход, м3/ч сжатого воздуха охлаждающей воды

4-10 0,25

Давление, мПа сжатого воздуха охлаждающей воды

0,3-0,6 0,35-0,45

Габаритные размеры, мм

12000×4150×1710

Масса, кг

5700


Для рубки мелких деталей используем ножницы листовые кривошипные НА3223

Ножницы листовые кривошипные НА3223 предназначены для прямолинейной резки листовых материалов. Ножницы используются в заготовительных цехах предприятий машиностроения, судостроения и других отраслей промышленности, а так же предприятиями малого и среднего бизнеса.

Таблица 11 Технические характеристики ножниц гильотинных НА3223

Наименование параметра

Номинальное значение

Наибольшая толщина, мм

20

Наибольшая ширина, мм

3150

Частота хода ножа, мин-1

30

Мощность электродвигателя привода, кВт

22

Габаритные размеры, мм

5100x3550x2760

Масса, кг

24500


Для выполнения отверстий в деталях используем сверлийный станок 2А55

На станке можно производить сверление в сплошном материале, рассверливание, зенкерование, развертывание, подрезку торцов в обоих направлениях, нарезку резьбы метчиками и другие подобные операции. Применение приспособлений и специального инструмента значительно повышает производительность станка и расширяет круг возможных операций, позволяя производить на нем сверление квадратных отверстий, выточку внутренних канавок, вырезку круглых пластин из листа и т.д. При соответствующей оснастке на станке можно выполнять многие операции характерные для расточных станков.

Таблица 12 - Техническая характеристика сверлильного станка 2А55

Наименование параметров

Ед.изм.

Величины

Наибольший диаметр сверления в стали средней твердости

мм

50

Вылет шпинделя (расстояние от оси шпинделя до образующей колонны)

мм

450 - 1500

Расстояние от нижнего торца шпинделя до плиты

мм

470 - 1500

Наибольшее вертикальное перемещение рукава по колонне

мм

680

Наибольшее осевое перемещение шпинделя

мм

350

Конус шпинделя


Морзе 5

Наибольший вес инструмента, управляемый противовесом при наибольшей допускаемой затяжке

кг

30

Количество скоростей вращения шпинделя

шт

19

Пределы чисел оборотов в минуту

шт

30 - 1700

Мощность электродвигателя привода шпинделя

кВт

4,5

Мощность электродвигателя перемещения рукава

кВт

1,7

Габариты станка

мм

2625 х 968 х 3265

Вес станка

кг

4100


Фрезерование ствола колонны производят на торцефрезерном станке.

Торцефрезерные станки предназначены для обработки кромок и плоскостей деталей, торцов деталей из профильного проката, сварных двутавровых стержней и опорных плоскостей конструкций. Наибольшее распространение на заводах металлоконструкций имеют одностоечные торцефрезерные станки ТФС-3 и ТФС-4 с максимальным размером обрабатываемых плоскостей 1200×2100 мм.

Основанием станка является станина, представляющая собой сварную конструкцию с двумя плоскими направляющими, по которым перемещается колонна. На столе закреплена плита с Т-образными пазами (на которой устанавливается конструкция для фрезерования). Для перемещения колонны между направляющими станины установлен ходовой винт, который вращается от электродвигателя. По вертикальным направляющим колонны перемещается фрезерная головка от электродвигателя. Вращательное движение шпиндель и торцевая фреза получают от электродвигателя. Станок управляется с рабочей площадки, которая во время работы перемещается вместе с колонной. На торцефрезерных станках работает один фрезеровщик.

Для установки и закрепления деталей торцефрезерные станки оснащают столами с механизированными и пневматическими прижимами, установленными на бетонных основаниях с выверенной поверхностью. Для предотвращения перекоса обрабатываемой поверхности на столах устанавливают боковые упоры. Рабочим режущим инструментом торцефрезерных станков являются торцевые фрезы, закрепленные в шпинделе станка, имеющие вставные режущие ножи из быстрорежущей стали Р-18 или твердых сплавов ВК-3 или Т5К10. При вращении фреза совершает прямолинейное движение вдоль обрабатываемой вертикальной поверхности и снимает ножами стружку постоянного сечения.

Таблица 13- Технические характеристики одностоечного торцефрезерного станка типа «ТСФ-4» [3]

Характеристики

Значение

Размеры обрабатываемого торца, мм высота / ширина

 1200/3600

Диаметр фрезы, мм

200

Количество фрезерных головок, шт.

1

Габариты станка, мм длина х ширина х высота

6800х4600х3160

Масса, кг

75000


1.7.2 Оборудование для сборки

Сборку Н - образного сечения балки следует производить на специальном кондукторе, который обеспечивает достаточную точность сборки.

Кондуктор состоит из рамы с рельсами, по которым передвигается портал. На портале установлены два вертикальных пневмоприжима, один из которых передвижной, другой - неподвижный. На портале находится каретка с подвижным горизонтальным пневмоприжимом, с другой стороны портала установлен неподвижный горизонтальный пневмоприжим. На раме кондуктора установлены две направляющих балки. Одна из направляющих балок передвижная, другая - неподвижная.

На опорные балки кондуктора с помощью крана и листозахватов, выкладывают лист стенки.

После этого устанавливают пояса и выравнивают торцы собираемого элемента. Портал с прижимами перемещаем на сборочный элемент, включаем вертикальные пневмоприжимы и прижимаем лист стенки к опорным балкам. Затем включаем горизонтальные пневмоприжимы, подвигая пояса к стенке. В местах поджатия проверяют перпендикулярность поясов относительно стенки, стальным угольником и ставят прихватки. Для сохранения прямого угла между поясами и стенкой по концам элемента устанавливают распорки из уголка или швеллера.

1-электродвигатель; 2- каретка с подвижным горизонтальным поршнем; 3- портал; 4- рельс; 5- неподвижный горизонтальный поршень; 6- неподвижный вертикальный поршень; 7- регулирующие винты; 8- редуктор; 9- рама кондуктора; 10- опорная балка; 11- передвижной вертикальный поршень; Рисунок 8 - Кондуктор для сборки балок

1.7.3 Выбор сварочных автоматов

Для автоматической сварки под флюсом стыковых и поясных швов используем подвесной сварочный автомат А-184, который по сравнению с другими автоматами является современным и позволяет использовать системы автоматического регулирования сварочного инструмента

Автомат представляет собой сварочную головку с флюсовой аппаратурой обеспечивающей равномерную подачу флюса из бункера в зону сварки и отсос нерасплавленной части флюса обратно в бункер.

Таблица 14 - Технические характеристики сварочного автомата А-184

Наименование параметров

Значение

Число электродов

1

Сварочный ток при , ПВ=100%.

1500

Диаметр электродной проволоки мм.

2-6

Регулирование скорости сварки.

ступенчатое

Скорость сварки, м/ч.

14-110

Регулирование подачи электродной проволоки.

ступенчатое

Масса, кг.

160


Рисунок 9 - Подвесной сварочный автомат А-184

1.7.4 Выбор сварочных полуавтоматов

Для механизированной сварки в среде защитного газа следует применять полуавтомат DECAMIG 7350 [4].

Полуавтомат предназначен для сварки деталей из низкоуглеродистых и низколегированных сталей и алюминия в среде защитных газов.

Отличительные особенности сварочного полуавтомата

•Двухтактный режим цикла сварки

•Четырёхтактный режим цикла сварки

•Электрозаклепочный режим цикла сварки: дает возможность сварки двух листов металла внахлест (сварными точками), когда доступ имеется только с одной стороны

•Автоматическая “растяжка дуги”: уменьшает прилипание сварочной проволоки к сварочной ванне или к рабочей части электрода, автоматическая настройка к скорости сварочной проволоки

•Автоматический “горячий старт”: снижает начальную скорость подачи проволоки. Это дает возможность плавного поджига сварочной дуги (возможность настройки внутри установки)

• Переключатель вкл/выкл отключает установку без последующей настройки режимов;

• Защита от перегрузки

• Оснащен цифровым ампервольтметром.

Технические характеристики сварочного полуавтомата

• Номинальный сварочный ток - 220/380 А

• Диапазон регулирования сварочного тока - 20-300 А

• Потребляемая мощность - 8,5 кВА

• Диаметр сварочной проволоки 0,8 -2мм

• Габариты - 850х460х1350 мм

• Масса - 106,0 + 25,0 кг

 <#"795614.files/image074.gif"> <#"795614.files/image075.gif">

Рисунок 12 - Сварочный выпрямитель ВДУ- 1250

1.7.6 Вспомогательное сварочное оборудование

Сварку поясных швов балки производят положение «в лодочку», для чего применяем кантователь, при помощи которого можно производить кантовку двутавровой балки без помощи крана.

Для приварки оформления балки, используют этот же кантователь, что дает возможность выполнения угловых вертикальных швов в нижнем положении, тем самым упрощая механизированную сварку в среде защитного газа.

Кантователь предназначен для поворота балочных конструкций при сборке и сварке.

Установка и закрепление свариваемого изделия в кантователе осуществляется при помощи крана.

- опорная рама; 2 - вал; 3 - траверса; 4 - подвижная опора; 5 - тележка; 6 - контрольный груз; 7 - электромотор; 8 - рельс

Рисунок 13 - Кантователь двухстоечный

Таблица 17 - Технические характеристики двухстоечного кантователя

Характеристики

Значения

Грузоподъемность, тс

4

Наибольшая длина свариваемых изделий, мм

16000

2

Высота центров, мм

1025

Габаритные размеры кантователя, мм (длина, ширина, высота)

3200х1800х 2300

Масса, кг

3800


Монорельсовое устройство для полуавтомата применяется для перемещения в зону сварки, механизма подачи электродной проволоки и кассеты с проволокой при механизированной сварке.

Устройство состоит из двух консолей, монорельса и тележки с площадкой, на которой укреплен механизм подачи электродной проволоки и кассета для проволоки. Тележка с площадкой свободно перемещается по монорельсу длиной 10000 мм.

- консоль; 2- монорельс; 3- тележка с площадкой для полуавтомата

Рисунок 14 -Монорельсовое устройство для полуавтомата

При автоматической сварки под флюсом используется подвесной сварочный автомат А-184, который установлен на глагольную тележку ГТ-1.

Тележки предназначены для перемещения несамоходных сварочных аппаратов А, АБ, А-184 и других при сварке прямолинейных и кольцевых швов. Тележки ГТ-1 и ГТ-2 состоят из платформы, стойки, каретки, консоли и трех электроприводов - передвижения тележки, вертикального и горизонтального перемещения консоли. Тележка перемещается на катках электродвигателем через редуктор, зубчатую и червячную передачи, установленные на платформе колонны. Тележка может перемещаться с рабочей и маршевой скоростями.

Тележка ГТ-2 в отличие от тележки ГТ-1 может поворачиваться на 360° на основании. Для закрепления стойки в основании имеется фрикционный зажим .

Прямолинейные швы сваривают при перемещении тележек по рельсовому пути с рабочей скоростью. Кольцевые швы сваривают при неподвижной тележке и вращении изделия на вращателе, манипуляторе или роликовом стенде с рабочей скоростью сварки.

- электродвигатель; 2- ходовой винт; 3- консоль; 4- направляющая; 5- каретка; 6- стойка; 7- электродвигатель механизма передвижения тележки; 8- платформа; 9- рельс;

Рисунок 15 - Тележка глагольная ГТ-1

Таблица 18 - Технические характеристики тележки глагольной ГТ-1

Наименование параметра.

Значение.

Высота уровня сварки, мм (наибольшая / наименьшая)

2800 / 800

Вылет консоли от оси стойки до оси электрода, мм. наибольшая / наименьшая

 2000 / 1000

Скорость перемещения тележки рабочая, м/ч. / маршевая, м/мин.

15/250 / 15

Габаритные размеры, мм длина х ширина х высота

2540 х 1800 х 5030

Масса, т.

2,7


.9 Выбор и обоснование методов контроля качества

При изготовлении сварных конструкций различают следующие виды контроля:

• Входной;

• Пооперационный;

• Заключительный.

Входной контроль - данный метод контроля является предупредительным и подразумевает проверку основного металла, электродов, сварочной проволоки флюса.

Металлопрокат, используемый для изготовления конструкции, следует проверять на наличие сертификата, заводской маркировки и соответствие их проекту. А также проверять на наличие расслоений (визуально по кромкам, но иногда даже с применением УЗК).

Сварочная проволока должна соответствовать ГОСТ 2246-70*. Обращается внимание на чистоту поверхности от окислов, смазки, задиров, загрязнений. Проверяют соответствие сварочной проволоки сертификату. Сварочный флюс должен соответствовать ГОСТ 9087-81*. Его проверяют на однородность по внешнему виду, определяют химический состав, величину зерна, объемную массу и влажность.

Пооперационный контроль - заключается в контроле заготовительных операций, соблюдение всех размеров по чертежам, исправность приспособлений, оборудования для сборки и сварки. Контроль качества сборки под сварку, в собранных узлах проверяют основные габаритные размеры, зазоры в стыках, величину смещения свариваемых кромок, качество прихваток. Контроль технологии сварки, соблюдение установленных режимов.

Заключительный контроль - заключается в непосредственном контроле сварных швов.

Все сварные соединения, балки имеют I и II категорию швов и 1, 3, 7 типы швов сварных соединений. Согласно СП 53-101-98, таблица 10, каждая категория швов имеет допуски по технологическим дефектам в шве сварного соединения. Для 1 и 2 категории швов:

Подрезы и шлаковые включения единичны допустимы.

Непровары в корне шва допускаются кроме угловых швов и тавровых соединений.

Межваликовые впадины в многопроходных швах допускаются

Внешний осмотр и промер швов - производится 100% длины всех швов.

Ультразвуковая дефектоскопия - производится 100% отнесенной к I типу сварных швов, и 10% дефектоскопии в начале, в конце и вместе схождения швов относящие к 3 типу сварных соединений.

Внешний осмотр сварных швов наиболее простые и широко распространенные способы контроля. Визуальный осмотр производится как невооруженным глазом так и с применением лупы. Обмер швов производят обычно специальными шаблонами.

Ультразвуковой метод контроля основан на способности ультразвуковых волн проникать в металл на большую глубину и отражаться от находящихся в нем дефектных участков с разной звуковой проницаемостью. УЗК необходимо производить специальным аппаратом (ультразвуковой дефектоскоп) в данном случае «PELENG» УД3-204. Он предназначен для контроля продукции на наличие дефектов типа нарушения сплошности и однородности материалов, полуфабрикатов, готовых изделии и сварных соединений, для измерения глубины и координат их залегания, измерения отношений амплитуд сигналов от дефектов. Для контроля стыковых соединений следует применять такой способ прозвучивания как прямым и однократно - отраженным лучом. А для угловых соединений наиболее эффективной является схема прозвучивания через основной металл привариваемого листа.

1 - преобразователь, 2 - сварочный шов, 3 - изделие, х - максимальное расстояние

Рисунок 16 - Схема прозвучивания стыковых и угловых соединений

Таблица 19 - Технические характеристики ультразвукового дефектоскопа «PELENG» УД3-204

Характеристики

«PELENG» УД3-204

Диапазон толщин контролируемого материала (по стали)

0,4 … 3000 мм

Рабочие частоты

0,4; 1.25; 1,8; 2,5; 5,0; 10,0; 15,0 МГц

Диапазон установки скорости УЗК

300 … 3000 м/с

Диапазон рабочих температур

-10 …+50°C

Габариты, не более

169х222х52 мм

Масса с аккумулятором, не более

2,7 кг


Ультразвуковой дефектоскоп «PELENG» УД3-204 - является новейшей разработкой. Ультразвуковой дефектоскоп выполнен в металлическом ударопрочном корпусе, имеет цветной TFT-дисплей нового поколения, сменную литий-ионную батарею и два полных аккустических канала.

 <http://www.techno-test.net/images/stories/ud3-204.>

Рисунок 17 - Ультразвуковой дефектоскоп «PELENG» УД3-204

2. Экономическая часть

.1 Расчет затрат на основные и вспомогательные материалы

Предприятия работают в условиях, характеризующихся достаточно свободной предпринимательской деятельностью: обладают необходимой хозяйственной самостоятельностью, имеют доступ практически ко всем ресурсам. Имеющиеся производственные мощности и объемы производства строительных материалов в целом удовлетворяют спрос на этом рынке.

Потребность в материалах определяется с учетом норм расходов на одну тонну конструкции. Цена за одну тонну металлопроката зависит от марки стали, профиля и толщины.

Экономия материальных ресурсов при изготовлении металлоконструкций достигается путем применения рациональных методов раскроя, уменьшения отходов и их использование.

Таблица 20 - Расчет затрат на основные и вспомогательные материалы

Наименование и марка материала

Ед.измерения

Вес конструкции

Норма расхода

Стоимость




на 1 т

на всю конструкцию.

1 тонны

всей конструкции

1

2

3

4

5

6

7

1.Основные материалы







1.1 Лист 09Г2С δ=5;6;10 мм ГОСТ 27772-88

т

0,052

1,045

0,05434

25300

1345,00

1.2 Лист 09Г2С δ=12;16 мм ГОСТ 27772-88

т

1,287

1,045

1,34491

25240

33945,00

1.3 Лист 09Г2С δ=20;25 30 мм ГОСТ 27772-88

т

0,624

1,045

0,65208

25200

16432,00

1.4 Лист 09Г2С δ=32;37 мм ГОСТ 27772-88

т

0,370

1,045

0,38665

25125

9714,00

1.5 Уголок 75х8 ГОСТ 27772-88

т

0,005

1,052

0,00526

25350

133,00

1.6 Сварочная проволока Св-08ГА dпр=4 мм ГОСТ 2246-70*

т

1,948

0,0031

0,00603

68500

413,00

1.7 Сварочная проволока Св-08Г2С dпр=1,6 мм ГОСТ 2246-70*

т

0,390

0,0064

0,00249

67300

168,00

1.8 Электроды УОНИ ГОСТ 9467-75*

т

2,338

0,0012

0,00280

98200

275,00

ИТОГО по основным материалам

62455,00

2.Вспомогат. материалы







2.1 Газ пропан-бутан

м³

2,287

4,52

10,33724

8,78

91,00

2.2 Газ кислород

м³

2,287

5,18

11,84666

10,64

126,00

2.3 Газ СО2 ГОСТ 8050-85

м³

0,390

8,68

3,38520

10,82

37,00

2.4 Грунт ГФ-021 ГОСТ 18186-96

т

2,361

0,00312

0,00736

71000

523,00

2.5 Флюс АН-348А ГОСТ 9087-81

т

1,948

0,0028

0,00545

42600

232,00

ИТОГО по вспом.материалам

1009,00

Всего по материалам:






63464,00

Отходы

т

2,338

0,048

0,11222

6100

684,00

ИТОГО за вычетом отходов

62780,00


.2 Расчет трудовых затрат и заработной платы

Для расчета основной заработной платы обычно используется система сдельной или повременной оплаты труда, нормированные задания следует рассматривать как разновидность повременной оплаты труда. Основой начисления зарплаты в этом случае является количество произведенных единиц продукции или отработанное время и расценки на единицу продукции или единицу отработанного времени.

Персонал предприятия - совокупность физических лиц, состоящих с организацией, как юридическим лицом, в отношениях регулируемых договором найма. В рыночных условиях хозяйствования рабочая сила является товаром, это особый товар. Отличия этого товара состоит в том, что:

он создает стоимость больше, чем он стоит

без его привлечения невозможно осуществления всего производства

от него во многом зависит степень использования основных средств предприятия и конечный результат деятельности предприятия.

Таблица 21 - Калькуляция трудовых затрат и заработной платы

№ пп

Наименование операции

Разряд

Ед.изм

Масса

На ед.продукции

На весь объем






Норма времени ч/час

Расценка, руб.

Норма времени ч/час

Заработная плата, руб.

1

Правка

4

т

2,338

1,58

140,62

3,60

329,10

2

Разметка

4

т

2,338

2,12

167,48

4,80

392,00

3

Газовая резка

5

т

2,287

1,98

176,22

4,50

403,00

4

Механ.резка

4

т

0,054

3,24

255,96

0,16

1310,00

5

Сверление

4

т

2,338

1,18

93,22

2,70

218,14

6

Строжка

4

т

2,338

0,95

75,05

2,18

176,00

7

Фрезеровка

4

т

2,338

1,46

115,34

3,30

270,00

8

Сборка

5

т

2,338

10,36

922,04

23,80

2158,00

9

Сварка

5

т

2,338

11,14

991,46

25,60

2320,00

10

Покраска

3

т

2,361

1,34

99,54

3,08

225,00

11

Сдача

5

т

2,361

1,16

95,14

2,60

244,00


ИТОГО

76,32

6748,34


Премия:


4723,83


Итого с премией:





11472,17


ИТОГО с районным коэффициентом

14910,00


.3 Расчет себестоимости, НДС и прибыли

Себестоимость продукции (работ и услуг) представляет собой стоимостную оценку используемых в процессе производства продукции (работ, услуг) природных ресурсов, сырья, материалов, топлива, энергии, основных фондов, трудовых ресурсов, а также других затрат на ее производство и реализацию. Прибыль определяется как разница между выручкой, разницей продукции в действующих ценах и затратами на ее производство, реализацию, то есть ее себестоимостью. Себестоимость продукции (работ и услуг) представляет собой стоимостную оценку используемых в процессе производства продукции (работ, услуг) природных ресурсов, сырья, материалов, топлива, энергии, основных фондов, трудовых ресурсов, а также других затрат на ее производство и реализацию.

По объему учитываемых затрат различают:

1.      цеховую

2.      производственную

.        полную

.        неполную (сокращенную)

Уровень себестоимости продукции в значительной мере определяется предприятием-производителем. В основе стоимости издержек производства лежат объективные факторы: потребность в сырье, механизмах, рабочей силе, сложившийся уровень цен на эти ресурсы.

Анализ себестоимости продукции, работ, услуг позволяет выяснить тенденции изменения данного показателя, влияние факторов на его прирост, резервы, а также дать оценку работы предприятия по использованию возможностей снижения себестоимости продукции.

.3.1 Затраты на основные и вспомогательные материалы за вычетом отходов. Берутся данные из пункта 2.1. 62780,00 руб.

.3.2 Транспортно-заготовительные расходы

,00 · 0,1 = 6278,00 руб.

.3.3 Затраты на электроэнергию и топливо для технологических целей берутся из расчета 898,00 рублей за 1 тонну изделия

,00·2,361 = 2120,18 руб.

.3.4 Итого материальных затрат

,00 + 6278,00 + 2120,18 = 71178,18 руб.

.3.5 Основная заработная плата (ОЗП) производственных рабочих берется из пункта 2.2 итог таблицы 14910,00 руб.

2.3.6 Дополнительная заработная плата (ДЗП) производственных рабочих

,00 · 0,1 = 1491,00 руб.

.3.7 Страховые взносы в государственные внебюджетные фонды:

,00 · 0,3 = 4920,30 руб.

.3.8 Амортизационные отчисления

Сварочное оборудование относится к IV амортизационной группе, к=3,8%


.3.9 Цеховые расходы

,00 · 1,02 =· 15208,20 руб.

.3.10 Общезаводские расходы

,00 · 1,34 = 19979,40 руб.

.3.11 Производственная себестоимость

,18+14910,00+1491,00+4920,30+3509,85+15208,20 +19979,40 =

= 131196,23 руб.

.3.12 Внепроизводственные расходы

,23 · 0,02 = 3935,90 руб

.3.13 Полная себестоимость (Полная с/с)

,23 + 3935,90 = 135132,83 руб.

.3.14 Плановые накопления

,83 · 0,1 = 13513,28 руб.

.3.15 Оптовая цена

,83 + 13513,28 = 148646,11 руб.

.3.16 НДС

,11 · 0,18 = 26756,30 руб.

.3.17 Отпускная цена

,11 + 26756,30 = 175402,41 руб.

Таблица 22 - Плановая себестоимость, НДС и прибыль

Статьи затрат

Затраты на всю конструкцию, руб.

Затраты на 1 тонну конструкции, руб.

1 Затраты на основные и вспомогательные материалы

62780,00

26590,42

2 Транспортно-заготовительные расходы

6278,00

2659,04

3 Затраты на электроэнергию

2120,18

898,00

4 Итого материальных затрат

71178,18

30147,47

5 Основная заработная плата

14910,00

6315,12

6 Дополнительная заработная плата

1491,00

631,51

7 Страховые взносы в государственные внебюджетные фонды

4920,30

1817,15

8 Амортизационные отчисления

3509,85

1486,59

9 Цеховые расходы

15208,20

6441,42

10 Общезаводские расходы

19979,40

8462,26

11 Производственная себестоимость

131196,23

55568,07

12 Внепроизводственная себестоимость

3935,90

1667,04

13 Полная себестоимость

135132,83

57235,42

14 Плановые накопления

13513,28

5723,54

15 Оптовая цена предприятия

148646,11

62958,96

16 НДС

26756,30

11332,61

17 Отпускная цена предприятия

175402,41

74291,57


.4 Расчет технико-экономических показателей

Производительность труда определяется количеством продукции, производимой в единицу рабочего времени, или затратами труда на единицу продукции. Различают производительность живого труда и производительность совокупного, общественного, труда.

Различают два показателя производительности труда:

. Выработка продукции - наиболее распространенный и универсальный показатель производительности труда. В зависимости от того, в каких единицах измерения объём продукции, различают определение выработки в натуральных показателях, а также в показателях нормированного рабочего времени.

. Трудоёмкость продукции - выражает затраты рабочего времени на производство единицы продукции. Определяется на единицу продукции в натуральном выражении по всей номенклатуре изделий и услуг; при большом ассортименте продукции на предприятии определяется по типичным изделиям, к которым приводятся все остальные.

В отличие от показателя выработки этот показатель имеет ряд преимуществ: устанавливает прямую зависимость между объёмом производства и трудовыми затратами, исключает влияние на показатель производительности труда, изменением объёма поставок по кооперации, организованной структуре производства, позволяет тесно увязать измерение производительности с выявлением резервов её роста, сопоставить затраты труда на одинаковые изделия в разных цехах предприятия

.4.1 Трудоёмкость изделия

Тр = 76,32 / 8 = 9,54 (чел-д.)

.4.2 Выработка в натуральном выражении

Вн = 2,361 / 9,54 = 0,2375 (т)

.4.3 Выработка в стоимостном выражении

Вс = 135132,83 / 9,54 = 14164,87 (руб.)

2.4.4 Средняя заработная плата на одного рабочего в день

ЗПср = 16401,00 / 9,54 = 1719,18 (руб.)

.4.5 .Удельный вес заработной платы в себестоимости продукции

Узп = (14910,00 / 135132,83) · 100 = 11,03 (%)

Таблица 23 - Технико-экономические показатели

Наименование работ

Единица измерения

Величина показателей

1 Объем работ

т

2,361

2 Полная себестоимость всей конструкции

руб

135132,83

3 Полная себестоимость 1 тонны конструкции

руб

57235,42

4 Оптовая цена всей конструкции

руб

148646,11

5 Оптовая цена 1 тонны конструкции

руб

62958,96

6 Плановые накопления

руб

13513,28

7 Показатели производительности труда



7.1 Трудоемкость изделия

чел/дн.

9,54

7.2 Выработка в натуральном выражении

т

0,2375

7.3 Выработка в стоимостном выражении

руб

14164,87

8 Средняя заработная плата на 1-го рабочего в день

руб

1719,18

9 Удельный вес заработной платы

%

11,03


3. Охрана труда и окружающей среды

Охрана труда- это система сохранения жизни и здоровья работников в процессе трудовой деятельности.

Охрана труда представляется комплексом технических и организационных мероприятий, направленных на создание безопасных здоровых условий труда рабочих. Охрана труда, прежде всего, предусматривает предотвращение производственного травматизма.

Сварщикам категорически запрещается исправлять силовые электрические цепи.

Вследствие того, что электрическая сварочная дуга излучает яркие видимые световые лучи и невидимые - ультрафиолетовые и инфракрасные сварщикам для защиты зрения и кожи лица при сварке, следует применять щитки или маски со специальным светофильтром. В зависимости от мощности дуги выбирают стекло светофильтра С-5. Для защиты окружающих от излучения дуги следует применять переносные щиты и ширмы. Для предохранения от ожогов каплями металла или шлака сварщик должен иметь специальную одежду из трудно воспламеняющегося материала: рукавицы, берет и плотно зашнурованную обувь. При сбивании шлака, глаза сварщика должны быть защищены очками с простым стеклом.

Для предупреждения пожара необходимо соблюдать ряд правил по противопожарной безопасности. Нельзя хранить вблизи от места сварки огнеопасные и легко воспламеняющие материалы, а также производить сварочные работы в помещениях, загрязненных масляной ветошью, бумагой и тому подобное. Запрещается пользоваться одеждой и рукавицами со следами масел, жиров, бензина, керосина и других горючих жидкостей. После окончания сварочных работ необходимо выключить сварочный аппарат и убедиться в отсутствии горящих и тлеющих предметов. Средством пожаротушения являются вода, пена, газы, пар, порошковые составы и другое.

В процессе сварки выделяется значительное количество аэрозоля, состоящего в основном из оксидов железа, марганца, диоксида кремния и фтористых соединений, способный отравить работающего. Наибольшую опасность представляет мелкодисперсная пыль, которой в цехе до 90%. Согласно ГН2.2.5.686-98 введена предельно допустимая концентрация вредных веществ. ПДК - максимальная концентрация которая не вызывает нарушений жизнедеятельности организма в течение рабочего дня при многолетнем воздействии. Для очистки воздуха от вредных веществ, применяют организованный воздухообмен - вентиляцию. На заводах металлоконструкций в основном применяют общеобменную вентиляцию, при которой вредные вещества разбавляют по ПДК чистым воздухом. Это применимо при равномерном распределении вредных веществ и людей по цеху. Вытяжные вентиляционные установки должны иметь пыле - и газоулавливающие фильтры для того, чтобы вредные вещества не выбрасывались в атмосферу и не загрязняли её.

С целью защиты окружающей среды согласно действующим документам завод должен располагаться за приделами города. Вокруг завода должно производиться озеленение, которое способствует очищению воздуха.

В целях борьбы с загрязнениями заводы должны проводить следующие операции: Отходы металла должны собираться в контейнеры и отправляться на переплавку. Отходы масел, кислот, загрязненной воды, должны сбрасываться за приделы завода и как можно дальше от города. В каждом цехе завода должны быть установлены вентиляция и вытяжные трубы, через которые проходит вытяжка вредных газов и примесей. На участке сварки масса выделяющихся вредных веществ зависит от вида и режимов технологических процессов, свойств применяемых сварочных и свариваемых материалов.

Основной физической характеристикой примесей атмосферы являются концентрация-масса (мг) веществ в единице объема воздуха при нормальных условиях. Для каждого предприятия в промышленности устанавливается предельно-допустимый выброс вредных веществ от каждого источника не создающий предельно допустимою концентрацию, превышающую ПДК.

В соответствии с конституцией в интересах ныне живущего и будущих поколений принимаются меры для охраны и рационального использования земли и ее недр, водных ресурсов, растительного и животного мира, для сохранения в чистоте воздуха и воды, обеспечения воспроизводства природных богатств и улучшения окружающей человека среды. Эти мероприятия в годовых планах предприятий группируются по разделам: охрана и использование водных ресурсов, охрана воздушного бассейна, охрана и рациональное использование земель, охрана и использование минеральных ресурсов.

Охрана и использование водных ресурсов предусматривают мероприятия по возведению сооружений для забора воды из водоемов, очистки сточных вод, систем оборотного водоснабжения с целью уменьшения безвозвратных потерь воды и др.

В сварочном производстве на многих предприятиях применяют систему оборотного водоснабжения, воду, используемую для охлаждения сварочного оборудования, многократно используют после ее естественного охлаждения.

Охрана воздушного бассейна предусматривает мероприятия по обезвреживанию вредных для человека и окружающей среды веществ, выбрасываемых с отходящими газами: сооружение очистных установок в виде мокрых и сухих пылеуловителей, для химической и электрической очистки газов, а также для улавливания ценных веществ, утилизации отходов и др. Например, из отходящих продуктов сгорания производят сжиженный углекислый газ для сварочных и других целей.

Охрана и рациональное использование земель предусматривают мероприятия, направленные на сокращение выхода земель из сельскохозяйственного оборота, предохранение их от эрозии и других разрушительных процессов, рекультивацию земель и др.

Охрана и рациональное использование минеральных ресурсов предусматривают мероприятия по совершенствованию систем и методов разработки месторождений полезных ископаемых и схем обогащения руд, использованию отходов металлургического производства и машиностроения, повышению извлечения из руд попутных ценных компонентов и др. Деятельность предприятия не должна нарушать нормальных условий работы других предприятий и организаций, ухудшать бытовые условия населения. С этой целью в годовых планах предусматриваются также меры борьбы с производственными шумами, вибрациями, воздействиями электрических и магнитных полей. Шум, создаваемый сварочным оборудованием, должен быть минимальным.

Источники питания сварочной дуги, а также ряд электрических устройств, применяемых в сварочных автоматах и полуавтоматах, создают помехи радио- и телеприему. С целью устранения этого явления во всех типах сварочного оборудования, создающего такие помехи, устанавливают помехозащитные устройства.

Литература

1 Лахтин Ю.М. Основы металловедения: Учебник для техникумов - М: Металлургия 1988г.

Маслов В.И. Сварочные работы: Учебник для начального профессионального образования-М: Проф. Обр. Издат 2001г

Гитлевич А.Д. Альбом оборудования для заготовительных работ в производстве сварочных конструкций: Учебное пособие-М: Высшая школа 1974г

Васильев К.В. Гитлевич А.Д.Оборудование сварочного производства. Рынок продукции: Каталог в 3-х кн.         О-22 Кн. 2-М: Машиностроение 1999г

Нормативно - технические документы

ГОСТ 9467 - 75*Электроды покрытые, металлические для ручной дуговой сварки конструкционных и теплоустойчивых сталей

ГОСТ 2246 - 70* Проволока стальная сварочная

ГОСТ 9087 - 81* Флюсы сварочные плавленые

ГОСТ 8050 - 85 Двуокись углерода газообразная

ГОСТ 23118 - 99 Конструкции стальные строительные

ГОСТ 380 - 2005 Сталь углеродистая обыкновенного качества

7 ГН2.2.5.686-98- Предельно допустимая концентрация вредных веществ в воздухе рабочей зоны, гигиенические нормативы

8 ПОТ Р М -020-2001 Межотраслевые правила по охране труда при электро - газовых работах

9 СНиП II-23-81. Стальные конструкции. Нормы проектирования.

ГОСТ 10157-79 Аргон газообразный и жидкий

Похожие работы на - Технология изготовления сварных конструкций

 

Не нашли материал для своей работы?
Поможем написать уникальную работу
Без плагиата!
Без нейросетей!