Тестомесильная машина

  • Вид работы:
    Курсовая работа (т)
  • Предмет:
    Другое
  • Язык:
    Русский
    ,
    Формат файла:
    MS Word
    2,2 Мб
  • Опубликовано:
    2014-07-24
Вы можете узнать стоимость помощи в написании студенческой работы.
Помощь в написании работы, которую точно примут!

Тестомесильная машина

ВВЕДЕНИЕ

Оборудование для смешивания пищевых сред - ведущее в технологических линиях производства пищевых продуктов путем сборки из компонентов сельскохозяйственного сырья. Процессы в этом оборудовании во многом определяют эффективность последующих процессов и формируют качество готового продукта.

Смешивание - это механический процесс равномерного распределения частиц отдельных компонентов во всем объеме смеси под действием внешних сил.

Оборудование для смешивания предназначено для получения однородных смесей двух или нескольких компонентов, обеспечения однородной консистенции при хранении, а также ускорения тепло- и массообмена в процессе производства продуктов.

Смешивание осуществляется сжатым воздухом или паром; во вращающемся резервуаре смесителя; быстро вращающимися рабочими органами (лопасти, винты, ножи, шнеки); пропусканием массы под давлением через сопла и щели; ультразвуком или гидродинамическим эффектом и др.

Для смесителя конфигурацию и форму лопастей выбирают, учитывая состояние перемешиваемой массы, ее объем, толщину слоя, производительность, соотношение смешиваемых компонентов, степень однородности, способ загрузки и выгрузки продукта, требования технологии.

Эффективность смешивания оценивают таким показателем, как однородность полученной смеси, а для количественной оценки используют коэффициент неоднородности. Практически однородной считается смесь, в которой содержание компонентов в любом ее объеме не отличается от заданного содержания для всей смеси.

На эффективность смешивания влияют плотность исходных компонентов, гранулометрический состав (форма, размеры, дисперсионное распределение по степени крупности для неоднородных компонентов) частиц компонентов смеси, влажность компонентов, состояние поверхности частиц, силы трения и адгезии поверхностей частиц и т.д.

В различных отраслях пищевой промышленности возникает необходимость в перемешивании жидких продуктов: для смешивания двух или нескольких жидкостей, сохранения определенного технологического состояния эмульсий и суспензий, растворения или равномерного распределения твердых продуктов в жидкости, интенсификации тепловых процессов или химических реакций, получения или поддержания определенной температуры или консистенции жидкостей и т. д.

Смешивание пищевых продуктов осуществляется в смесителях следующих типов: шнековых, лопастных, барабанных, пневматических (сжатым воздухом) и комбинированных.

Перемешивающие аппараты классифицируются:

по назначению: для смешивания, растворения, темперирования и т.д.;

по расположению аппарата: вертикальные, горизонтальные, наклонные, специальные,

по характеру обработки рабочей среды: смешивание одновременно во всем объеме, в части объема и пленочное смешивание;

по характеру движения жидкости в аппарате: радиальное, осевое, тангенциальное и смешанное;

по принципу действия: механические, пневматические, эжекторные, циркуляционные и специальные;

по отношению к тепловым процессам: со стеночной поверхностью теплообмена, с погружной поверхностью теплообмена и без использования тепловых процессов.

Для тонкого измельчения и перемешивания мясного сырья используют куттер-мешалку. Кусковые вязкие и вязкопластичные продукты (муку, мясо, мясной фарш, творожно - сырковую массу) перемешивают шнеками, лопастями в барабанных и других смесителях. Жидкие продукты (молоко, сливки, сметана и др.) перемешивают в емкостях лопастными, пропеллерными и турбинными мешалками.

Для замеса теста применяются различные тестомесильные машины. Каждая тестомесильная машина состоит из трех основных элементов: емкости для замеса теста, месильного органа и его привода. В данной курсовой работе рассмотрим тестомесильную машину ТМ-63М.

1. АНАЛИЗ СОВРЕМЕННОГО СОСТОЯНИЯ СМЕСИТЕЛЬНЫХ МАШИН

Тестомесильные машины разделяют на машины периодического и непрерывного действия.[1, с.598]

Рисунок 1.1 - Схемы тестомесильных машин периодического действия с подкатными дежами: а - машины с наклонной осью месильной лопасти и поступательным круговым движением ее; б - машины с наклонной осью вращения месильной лопасти, выполненной в виде трубы с пространственной конфигурацией; в - машины с месильной лопастью, рабочий конец которой совершает криволинейное плоское движение по замкнутой кривой; г - машины с месильной лопастью, совершающей криволинейное пространственное движение по замкнутой кривой в виде эллипса; д - машины со спиралеобразной месильной лопастью, вращающейся вокруг вертикальной оси; е - машины с четырехпалой месильной лопастью, вращающейся вокруг вертикальной оси, и одной неподвижной вертикальной лопастью; ж - машины с горизонтальной цилиндрической или плоской лопастью, вращающейся вокруг вертикальной оси; з - машины с горизонтальной лопастью, вращающейся вокруг вертикальной оси и наклонной осью дежи

Машины периодического действия бывают с месильными емкостями (дежами)- стационарными (рис. 1.2) и сменными (подкатными) (рис. 1.1), а дежи - неподвижными, со свободными и принудительным вращением.

Рисунок 1.2 - Схемы тестомесильных машин периодического действия со стационарными емкостями: а - машины с горизонтальными и наклонными цилиндрическими месильными валами; 6 - машины со спаренными z-образными лопастями, вращающимися в разные стороны вокруг горизонтальной оси; в - машины с шарнирной z-образной месильной лопастью; г - машины с многоугольным ротором и витком шнека на дне емкости

По интенсивности воздействия рабочего органа на тесто тестомесильные машины разделяются на три группы:

обычные тихоходные (рабочий процесс не сопровождается нагревом теста);

быстроходные (рабочий процесс сопровождается нагревом теста на 5...7 °С);

супербыстроходные (замес сопровождается нагревом теста на 10.. .20 °С и требуется специальное водяное охлаждение корпуса камеры).

По характеру движения месильного органа различают машины с круговым, вращательным, планетарным и сложным плоским и пространственным движением месильного органа.

Тестомесильные машины непрерывного действия (рис. 1.3) разделяют на следующие группы:

однокамерные с горизонтальным валом и Т-образными месильными лопастями (рис. 1.3, а.);

одновальные с горизонтальным валом, на котором в начале месильной емкости размещены трапецеидальные плоские лопасти, а в конце - винтовой шнек, заключенный в цилиндрический корпус (рис. 1.3, б.);

одновальные с горизонтальным валом, на котором вначале размещен смесительный шнек, а затем радиальные цилиндрические лопатки (рис. 1.3, в.);

одновальные с горизонтальным валом, вначале которого закреплен пт тем дисковая диафрагма и четырехлопастный пластификатор (рис. 1.3. г.);

одновальные с горизонтальной осью вращения, на которой в цилиндрической камере смешения размещен шнековый барабан с независимым приводом, в конической камере на валу закреплены месильные прямоугольные лопатки, а на ее стенках неподвижные лопатки (рис. 1.3, д);

двухвальные с горизонтальными валами, на которых закреплены Т-образные месильные лопасти (рис. 1.3, е);

двухвальные с горизонтальными валами, вращающимися в разные стороны и закрепленными на них ленточными лопастями (рис. 1.3, ж).


Рисунок 1.3 - Схемы тестомесильных машин непрерывного действия

двухкамерные двухвальные, на валах которых закреплены винтообразные лопасти, образующие зоны смешения и замеса, а зона пластификации оборудована двумя четырехугольными звездочками, (рис. 1.3, з);

двухкамерные двухвальные, у которых имеется отдельная смесильная камера с приводом, а месильная камера с регулируемым приводом включает две зоны замеса: месильную, снабженную шнеками, и зону пластификации, рабочим органом которой являются кулаки (рис. 1.3, и);

с трехлопастным ротором, например тестомесильная машина системы Прокопенко (рис. 1.3, к);

с вертикальным цилиндрическим ротором, (рис. 1.3, л);

с дисковым ротором, на котором размещены кольцевые выступы, а в щели между ними входят с небольшим зазором кольцевые выступы корпуса (рис. 1.3, м).

2. ТЕХНИЧЕСКОЕ ОБОСНОВАНИЕ ВЫБОРА ТЕМЫ

В данной работе рассматривается одна из важнейших составляющих технологической линии любого хлебопекарного и кондитерского предприятия - тестомесильные машины.

Качество теста зависит от замеса, который осуществляется на тестомесильных машинах с различными техническими характеристиками и параметрами.

Правильность расчета этих параметров и правильность выбора машины с определенными техническими характеристиками для конкретного вида изделия определяют его качество.

Для замеса определенного вида теста необходимо выбирать машины с определенной частотой вращения лопасти из класса тихоходных, либо быстроходных машин. Частота вращения лопасти полностью зависит от расчета привода. В курсовом проекте рассмотрим тестомесильную машину ТМ-63М, предназначенную для замеса крутого теста. Данное оборудование относится к тихоходным машинам.

Также производительность линии зависит от производительности тестомесильной машины, входящей в ее состав, что определяет важность подбора тестомесильной машины с необходимой производительностью.

Выбор данного вида технологического оборудования обосновывается важностью места, занимаемого в составе технологической линии и влиянием параметров машины на качество готовой продукции.

3. ОПИСАНИЕ ТЕХНОЛОГИЧЕСКОГО ПРОЦЕССА И УСТРОЙСТВА ТЕСТОМЕСИЛЬНОЙ МАШИНЫ ТМ-63М

Тестомесильная машина ТМ-63М предназначена для замеса специального крутого теста для бараночных и некоторых мучных кондитерских изделий. Относится к тихоходным машинам (частота вращения месильного органа 38 об/мин) с двумя z-образными лопастями, которые при замесе периодически подвергают усиленному механическому воздействию отдельные порции теста.

Месильная машина ТМ-63М с z-образными лопастями. Машина (рис. 3.1 а) состоит из станины 1, месильного корыта 4, двух z-образных месильных органов 2, крышки 6, привода месильных органов и приводного механизма для опрокидывания и возврата месильного корыта. Приводной механизм месильных органов состоит из электродвигателя 13, передающего через клиноременную передачу 12 и две пары цилиндрических косозубых шестерен 10 и 11 движение месильным органам, вращающимся с одинаковой частотой.

Технологический процесс происходит следующим образом. В крышке 6 находятся отверстия 7 и 8, служащие для загрузки жидких и сыпучих компонентов. Компоненты можно также загружать, подняв откидную плиту 5. Открывая ее, можно осуществлять контроль за процессом смешивания. Движущиеся части машины закрыты ограждениями 3 и 9. Электродвигатель 14 служит для привода поворотного механизма.

По окончании процесса смешивания корыто 7 (рис. 3.1, б) поворачивается на 90° вокруг оси 8 переднего месильного органа. Это происходит следующим образом. От электродвигателя 1 через ременную передачу 2 приводится в движение горизонтальный винт 4, на котором расположена гайка 5, снабженная пальцем 3. Палец входит в прорезь рычага 6, жестко соединенного с корытом 7. Горизонтальное перемещение пальца 3 вызывает вращательное движение рычага 7, а следовательно, и поворот корыта. Масса выгружается при открытии отключенных месильных органах.

Рисунок 3.1 - Месильная машина ТМ-63М с z-образными лопастями: а - общий вид; б - механизм выгрузки

Рабочий процесс характеризуется однотипностью воздействия на всех трех стадиях замеса. По этой причине хуже всего обстоит дело с организацией смешивания, т. е. первой стадии замеса, которая накладывается по времени на вторую стадию и удлиняет замес. Не совсем удобна выгрузка теста и зачистка от него месильной емкости. В конструктивном отношении применение открытых цепных и зубчатых передач на тестомесильной машине также нельзя признать удачным.[1, стр. 612]

Технические характеристики:

Производительность, кг/ч 900,

Продолжительность замеса, мин. 10-12,

Установленная мощность электродвигателя, кВт. - 5,1,

Частота вращения месильного органа, мин-1 38,

Масса одного замеса, кг. - 150,

Плотность перемешиваемого теста, кг/м3 - 1061,

Габаритные размеры, мм - 1520х850х1550,

Масса, кг. - 800.


Тестомесильная машина ТМ-63М является машиной периодического действия. Производительность определяется по формуле:

, (кг/с), (4.1)

где λ = 1 - коэффициент использования объема месильной камеры (т. е. месильная камера заполняется на весь объем - на 100%); τ з = 0,2 ч - время, необходимое для замеса крутого теста; τ в = 0,03 ч - время, необходимое для совершения вспомогательных операций; V - вместительность месильной камеры; ρ - плотность теста, кг/м3

Вместительность месильной камеры, рассчитывается по чертежу (Приложение 1), как:

= a b h, (4.2)

где a, b, h - длина, ширина, высота тестомесильной камеры, соответственно;

= 0,76 м;= 0,56 м;= 0,4 м;= 0,76 0,56 0,4 = 0 (4.3)

ρ = 1100 кг/м3 - плотность теста, кг/м3;

(кг/ч). (4.4)

По полученным данным, анализируя производительность тестомесильной машины Р3-ХТИ-3 - 950 кг/ч [1, с.613], можно судить о достаточно высокой производительности тестомесильной машины ТМ-63М. На фоне ряда недостатков рассматриваемой машины данный показатель является ее достоинством.

4. КИНЕМАТИЧЕСКИЙ РАСЧЕТ ПРИВОДНОГО МЕХАНИЗМА

а) Выбор электродвигателя

Определение к.п.д. передачи:

ηобщ.= ηрем. · ηц · ηз.., (5.1)

где ηрем.- к.п.д. ременной передачи;

ηц. - к.п.д. цепной передачи;

ηз. - к.п.д. зубчатой передачи;

ηобщ.- общий к.п.д. передачи;

ηрем.= 0,97 [5, с.5, табл.1.1]

ηц.= 0,93 [5, с.5, табл.1.1]

ηз.= 0,95 [5, c.5, табл.1.1]

ηобщ.= 0,97·0,93·0,95 = 0,86

Определение необходимой мощности двигателя:

вх.= N1/ηобщ., (5.2)

где N1- мощность, необходимая для вращения месильного органа при замесе теста, определяемая по формуле [1, с.614]:

N1 = 0,004·λ∙V·ρ·R·ω·g (5.3)

где V = 0,17 - вместительность месильной камеры, м3;

ρ = 1100 - плотность теста, кг/м3;= 0,1 - радиус вращения центра лопасти, м;

ω - угловая скорость месильного органа, рад/с, определяемая как:

ω = π·n / 30, (5.4)

где n = 38 об/мин- частота вращения месильного органа, выбранная из условия, что машина относится к классу тихоходных машин;

ω = 3,14·38 / 30 = 4 (с-1)= 0,004· 1 ∙0,17·1100·0,1·4·9,8 = 4,4 кВтвх.= 2,9 / 0,86 = 5,1 кВт

Подбор двигателя по требуемой мощности.

При мощности Nвх= 5,1 кВт подбираем двигатель трехфазный асинхронный серии 4А. Мощность двигателя Nдв.= 5,5 кВт [5, с.390, табл.П1]

Подбор частоты вращения двигателя.

Определение общего максимального передаточного отношения:

общ. max.= Uрем.·Uц.·Uз., (5.5)

где Uрем. - передаточное число ременной передачи;ц. - передаточное число цепной передачи;з. - передаточное число зубчатой передачи;

рем.= 2÷4 [5, c.7]

Uц.= 3÷6 [5, с.7]з.= 2÷6 [5, с.7]общ. max.= 4·6·6 =144

Выбор частоты вращения двигателя, рассчитав общее передаточное число. Рассчитаем общее передаточное число по формуле:

Uр = nдв./nл., (5.6)

где nдв. - частота вращения двигателя, об/мин;л. = 38 об/мин - частота вращения месильного органа;

Рассмотрим четыре варианта:

Частота вращения двигателя nдв.= 3000 об/мин:

р1= 3000/38 = 79

Частота вращения двигателя nдв.= 1500 об/мин

рI2= 1500/38 = 39

Частота вращения двигателя nдв.= 1000 об/мин

р3 = 1000/38 = 26

Частота вращения двигателя nдв.= 750 об/мин

р4 = 750/25 = 19

Передаточные отношения Uр. Удовлетворяют требованию, т.к. Up.≤ Uобщ. max. Т.к. тестомесильная машина ТМ-63М относится к тихоходным машинам, то мы выбираем двигатель с частотой вращения 1500 об/мин.

Расчетное общее передаточное отношение:

общ.= 39.

Определим передаточное число ременной передачи Uрем. если, Uобщ.= 39, при этом возьмем передаточное число зубчатой передачи Uз.= 3,15 [5, с.36], а цепной передачи Uц.= 4 [5, с.7].

рем.= Uобщ./Uз.· Uц.; (5.7)рем.= 39/3,15·4 = 3;

Примем стандартное значение Uрем.= 3,15 [5, c.7].

Определение номинальной частоты nном. и марки двигателя.

Мощность двигателя Nдв.= 5,5 кВт,

частота вращения двигателя nдв.= 1500 об/мин.

Марка двигателя [5, c.390, табл.П1]: асинхронный серии 4А112М4УЗ.

Скольжение S = 3,4% [5, c.390, табл.П1]

ном.= nдв.- S ·1%(от nдв.); (5.8)ном.= 1500-3,4·15 = 1449 (об/мин).

тестомесильный машина шпонка передача

Таблица 4.1 - Размеры электродвигателя серии 4А112М4

Габаритные размеры, мм

Установочные и присоединительные размеры, мм

L1

L2

D

d1

d2

l1

l2

l3

b

d

452

534

310

260

32

32

80

70

140

190

12


Рисунок 4.1 - Электродвигателя серии 4А112М4

Определение передаточного отношения передачи с учетом номинальной частоты вращения двигателя.

общ.= nном./nл.; (5.9)общ.= 1449/38 = 38.

Уточним передаточное число ременной передачи Uрем.:

рем.= Uобщ./Uц.· Uз., (5.10)

где Uц.= 4 - передаточное число цепной передачи;з. = 3,15 - передаточное число зубчатой передачи;

рем.= 38/4·3,15 = 3;

Примем стандартное значение Uрем.= 3,15 [5, c.7].

Определим общее передаточное число Uобщ. с учетом изменений:

общ. = Uрем.·Uц.·Uз.; (5.11)общ.= 3,15·4·3,15 = 40.

Определение частоты вращения и угловой скорости валов передачи по ступеням.

-ый вал:

= nном.=1449 об/мин;

ω1= π·n1/30;

ω1= 3,14·1449/30 = 152 (c-1).

где, n1- частота вращения первого вала;

ω1- угловая скорость первого вала.

-ой вал:

= n1/Uрем.; (5.12)= 1449/3,15 = 460 (об/мин).

ω2= ω1/Uрем.; (5.13)

ω2= 152/3,15 = 48 (c-1).

где, n2- частота вращения второго вала;

ω2- угловая скорость второго вала.

-тий вал:

= n2/ Uц;= 460/4 = 115 (об/мин).

ω3= ω2/ Uц.;

ω3= 48/4 =12 (c-1).

где, n3- частота вращения третьего вала;

ω3- угловая скорость третьего вала;

-ый вал:= n3/ Uз.;= 115/3,15 = 37 (об/мин).

ω4= ωIII/ Uз.;

ω4= 12/3,15 =3,8 (c-1).

Определение мощности на валах:

-ый вал:

N1= Nвх;= 5,1 (кВт).

-ой вал:

N2= NI ·ηрем.; (5.14)= 5,1·0,97 = 4,9 (кВт).

-ий вал:

N3= N2 · ηц.;= 4,9·0,93 = 4,6 (кВт).

-ый вал:

N4= N3 · ηз;= 4,6·0,95 = 4,3 (кВт).

Определение вращающего момента на валах.

-ый вал:

T1= PI/ω1; (5.15)= 5,1/152 = 0,033 (кН·м).

-ой вал:

T2= P2/ω2;

T2= 4,9/48 = 0,1 (кН·м).

3-ий вал:

T3= P3/ω3;

T3= 4,6/12 = 0,38 (кН·м).


T4= P4/ω4;

T4= 4,3/3,8 = 1,13 (кН·м).

Таблица 4.2 - Параметры передачи

№ вала

Частота вращения

Угловая скорость

Мощность

Вращающий


n (об/мин)

ω (с-1)

N (кВт)

момент Т (кН·м)

1

1449

152

5,1

0,033

2

460

48

4,9

0,1

3

115

12

4,6

0,38

4

37

3,8

4,3

1,13

5. РАСЧЕТ КЛИНОРЕМЕННОЙ ПЕРЕДАЧИ

5.1 Выбор сечения ремня

Зная мощность на входе Nвх.= 5,1 кВт (табл. 5.2) и номинальную частоту вращения на ведущем валу n1 = 1449 об/мин (табл. 5.2) выбираем тип ремня: А [5, c.134, рис.7.3]. Вращающий момент на ведущем шкиву Т1 =33 Н·м.

Определение диаметра первого шкива.

 (5.1.1)

(мм)

Принимаем по ГОСТу 17383-73 d1=125 мм [5, c.132, табл.7.8]

Определение диаметр второго шкива.

= d1·Uрем.·(1-ε), (5.1.2)

где ε = 0,01- 0,03 [5, с.120]- регулируемое натяжение ремня;рем.= 3,15- передаточное число ременной передачи;

= 125·3,15·(1-0,01) = 390 (мм).

Принимаем по ГОСТу 17383-73 d2= 400 мм [5, c.133, табл.7.8]

Уточняем передаточное отношение ременной передачи Uрем..

рем.= d2/d1·(1-ε); (5.1.3)рем.= 400/125·(1- 0,01) = 3,2.

Отклонение от нужного передаточного числа не должно превышать 4%

Вычислим отклонение:

ΔU= ((3,2-3,15)/3,2))·100% = 1,5%

Отклонение не превышает 4%, следовательно выбранные диаметры шкивов подходят.

Определение межосевого расстояния.

amin= 0,55·(d1 + d2) + To; (5.1.4)

amax= d1 + d2, (5.1.5)

где То= 8 - высота для ремня типа А [5, c.131, табл.7.7];

= 0,55·(125 + 400) + 8 = 298 (мм);= 125 + 400 = 525 (мм).

Примем a = 300 мм.

Определение длины ремня.

Lp = 2·a + 0,5·π·(d1 + d2) + (d2-d1)2/4·a; (5.1.6)= 2·300+0,5·3,14·(125+400)+((400-125)2/4·300)=1487,3 (мм).

Полученный результат округлим до стандартного значения: Lp=1500 мм [5, c.131, табл.7.7].

Уточнение межосевого расстояния по длине ремня.

, (5.1.7)

где

W= 0,5·π·(d1 + d2); (5.1.8)= (d2-d1)2; (5.1.9)= 0,5·3,14·(125+400) = 824,3;= (400-125)2 = 75625;

(мм).

Таблица 5.1 - Размеры клинового ремня с сечением А

lр, мм

W, мм

Tо, мм

Площадь поперечного сечения ремня, A, мм2

Длина ремня Lp, мм

13

8

81

560-4000


Рисунок 5.1 - Клиновой ремень с сечением А

Определение угла обхвата ведущего звена:

α1 = 180-57·(d2-d1)/a (5.1.10)

α1 = 180-57·((400-125)/722) = 158,3o

Определение числа ремней:

z = N·Cp/Po·Cl·Cα·Cz, (5.1.11)

где N = N вх.= 5,1 кВт - мощность на входе;

Ср= 1,2 [5, с.136, табл.7.10] - коэффициент режима работы;

Ро= 2,19 [5, с.132, табл.7,8] - мощность для передачи одним ремнем типа А;= 0,93 [5, с.135, табл.7.9] - коэффициент длины ремня;

Cα = 0,89 [5, с.135] - коэффициент угла обхвата;= 0,95 [5, с.135] - коэффициент учитывающий число ремней в передачи;

= 5,1·1,2/2,19·0,93·0,89·0,95 = 3,5

Округлим до целого значения: z = 4

Определение натяжения ветви ремня:

Fo= (850·P·Cp·CL/z·V·Cα)+Ø·V2, (5.1.12)

где Ø = 0,1 [5, с.136] - коэффициент учитывающий центробежную силу;- скорость ремня;

V = π·n1·d1/30·2, (5.1.13)

где nI= 1449 об/мин - частота вращения первого вала;=125 мм - диаметр меньшего шкива;

V = 3,14·1449·125·10-3/30·2 = 9,5 м/с;= (850·5,1·1,2·0,93/4·9,5·0,89)+0,1·9,52 = 152 (Н).

Определение силы действующей на вал:

FB= z·2·Fo·sin(α1/2), (5.1.14)

где α1 =158,3о - угол обхвата ведущего звена;= 4 - число ремней;= 152 (Н) - натяжение ветви ремня;

= 4·2·152·sin(158,3/2) = 1194 (Н).

Размеры шкива:

Определение ширины шкива.

= (z-1)·e+2·f, (5.1.15)

где z = 4 - число ремней;,f - размеры канавок в зависимости от типа ремня А, представленные в таблице 5.1.2;

= (4-1)·15+2·10 = 65 мм

Таблица 5.2 - Размеры канавки шкивов клиноременной передачи для ремня с сечением А

lр, мм

h, мм

f, мм

e, мм

11.0

13

8

81


Рисунок 5.2 - Канавки шкивов клиноременной передачи

5.2 Расчет цепной передачи

Цепная передача расположена между ременной передачей и зубчатой передачей. Мощность на втором валу N2 = 4,9 кВт (табл. 5.2), частота вращения ведущей звездочки n2 = 460 об/мин (табл. 5.2), ведомой n3= 115 об/мин (табл. 5.2), Т2 = 100·103 Н·мм (табл. 5.2).

Выбираем цепь приводную, одноступенчатую, роликовую и определяем шаг цепи по формуле:

t = 2,8 · , (5.2.1)

где Кэ - коэффициент эксплуатации

Кэ = Кд· Ка· Кн · Кр· К см· Кп;; (5.2.2)

Кд = 1,25 [5, с.152] - коэффициент, зависящий от характера нагрузки (при умеренной ударной нагрузке);

Ка = 1 [5, с.152] - коэффициент, учитывающий влияние межосевого расстояния;

Кн = 1 [5, с.152] - коэффициент, учитывающий наклон цепи;

Кр = 1,25 [5, с.152] - коэффициент натяжения цепи при периодическом натяжении;

Ксм = 1,5 [5, с.152] - коэффициент смазки (при периодической смазке);

Кр = 1,2 [5, с.152] - коэффициент, учитывающий сменность работы (при работе в две смены);

Кэ=1,25· 1· 1· 1,25· 1,5· 1,2 = 2,81

- число зубьев ведущей звездочки

= 31 - 2U, (5.2.3)

где U = 4 (п. 5) - передаточное число цепной передачи;

=31 - 2 · 4=23= z1 · U (5.2.4)= 23 · 4 = 92

[N] - допускаемое давление, принимаем ориентировочно [5, c.150, табл.7.18] в зависимости от частоты вращения ведущей звездочки nII. [N] = 23 МПа;= 1- число рядов в цепи;

=мм;

Выбираем ближайшее стандартное значение шага t = 25,4 мм [5, с.147, табл.7,15].

В зависимости от шага принимаем параметры цепи, указанные в таблице 5.3.

Таблица 5.3 - Параметры цепной передачи

t, мм

Bвн, мм

d, мм

d1, мм

h, мм

Q, кН

q, кг/м

Аоп, мм2

25,4

15,88

7,95

15,88

24,2

39

60,0

2,6

179,7


где Аоп - проекции опорной поверхности шарнира;- разрешающая нагрузка;- интенсивность нагрузки;

Проверка цепи по двум показателям:

а) по частоте вращения [5, с.149, табл.7.17]: шаг t = 25,4 мм, [n] = 800 об/мин.

Условие надежной работы:  (25,4 < 800) - выполняется;

б) по давлению в шарнирах [5, с.150, табл.7.18]: шаг t = 25,4, n = 460 об/мин, [р]= 18 МПа. Если z1 ≠ 17, то вносим поправку и рассчитываем:

 (5.2.5)

[р]пров= = 19,08 МПа.

Определение действительного давления в шарнирах:

р =, (5.2.6)

где Ft - окружная сила;= (5.2.7)= (5.2.8)=4,5 м/с= = 1178 Н

р = = 18,4 МПа

Условие надежной работы: р ≤ [р] (18,4 < 19,08) - выполняется.

Определение числа звеньев в цепи:

=2· at + 0,5· z∑+, (5.2.9)

где at - число шагов межосевого расстояния;

=  (5.2.10)

а =40t=40

∑ - суммарное число зубьев звездочек;

∑ = z1+ z2 (5.2.11)

z∑ = 23 + 92 = 115

Поправка:

Δ=  (5.2.12)

Δ = = 11= 2· 40 + 0,5· 115 +  = 143,5.

Округляем до целого числа в большую сторону L = 144.

Уточнение межосевого расстояния:

а =  (5.2.13)

а = мм.

Для свободного провисания цепи предусматриваем уменьшение межосевого расстояния на 0,04%, т.е. 1062 · 0,0004 = 0,4 мм.

Определение диаметров делительных окружностей звездочек:

д1 =  (5.2.14)д2 =  ммд2 =

dд2 = (мм)

Определение диаметров наружных окружностей звездочек:

=  (5.2.15)

- диаметр ролика цепи (Табл. 5.2.1);

De1 = (мм)= (5.2.16)=(мм)

Определение сил, действующих на цепь:

центробежная сила Fv:

= q · V2 (5.2.17)= 2,6 · 4,52 = 52,7 (Н)

сила от провисания цепи Ff:

= 9,8 · Kf · q · a, (5.2.18)

где Kf = 1,5 - коэффициент, учитывающий расположение цепи (для наклонной цепи);
= 9,8· 1,5· 2,6 · 1,062 = 40,5 (Н)

расчетная нагрузка на валы Fb:

= 2· Ff + Ft; (5.2.19)= 2· 40,5 + 1178 = 1259 Н.

Рисунок 5.3 - Схема цепной передачи

6. ВЫБОР РЕДУКТОРА

По кинематической схеме имеем зубчатую передачу в качестве, которой выбираем одноступенчатый вертикальный редуктор с цилиндрическими колесами.

Передаточное число которого Uз.= 3,15 (из п.5). Вращающий момент на выходе редуктора Т4= 1,13 кН·м (табл. 5.2). В зависимости от вращающего момента на тихоходном валу и передаточного числа выбираем редуктор марки ЦУ - 160 - 3,15 - У [2, с.634, табл.9], где расстояние между зубчатыми колесами а = 160 мм. Данный редуктор представлен на рисунке 6.1.

Рисунок 6.1 - Одноступенчатый вертикальный редуктор с цилиндрическими колесами марки ЦУ - 160 - 3,15 - У

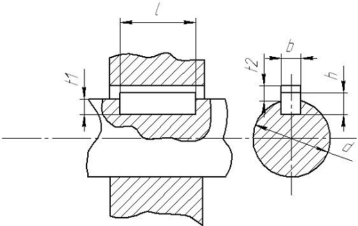
7. ПРОЧНОСТНОЙ РАСЧЕТ ШПОНКИ

Для соединения вала с деталями, передающими вращение, часто применяют призматические шпонки. При проектировании тестомесильной машины ТМ-63М призматическую шпонку можно использовать для соединения тестомесильной лопасти и вала.

При выборе шпонки, ее необходимо рассчитать на смятие и на срез.

Расчет шпонки на смятие.

Напряжение смятия узких граней шпонки не должно превышать допускаемого, т. е. Должно удовлетворяться условие:

, (7.1)

где [σ]см  100 МПа [5, с.170] - допускаемое напряжение смятия для шпонки из стали 45;- сила, Н;

, (7.2)


(Н)

Асм - площадь смятия, мм;

По формуле (7.1) необходимо определить площадь смятия, при условии сохранения неравенства.

 (7.3)

(мм2)

Площадь смятия определяется по формуле:

 (7.4)

где l = 110 [5, с.169, табл. 8.9] - длина шпонки выбранная из стандартного ряда;

Из формулы (7.3) определяется разность:

(h - t1) =  (7.5)

(h - t1) = 4,3 мм

По полученному значению выбирается шпонка, размеры которой указаны в таблице 7.1.

Таблица 7.1 - Размеры призматической шпонки

Диаметр вала d, мм

Сечение шпонки bxh, мм

Глубина паза



Вала t1, мм

Втулки t2, мм

50

16 х 10

6,0

4,3


Рисунок 7.1 - Установка шпонки в пазы вала и втулки

8. МОНТАЖ ТЕСТОМЕСИЛЬНЫХ МАШИН

Тестомесильная машина является основным видом оборудования на предприятиях бараночного и кондитерского производств. Качество монтажа отражается на качестве замешиваемого теста и в дальнейшем на качестве готовой продукции.

Устранение недостатков монтажа при эксплуатации не всегда удобно. Поэтому к качеству монтажа предъявляются высокие требования. Для выполнения монтажных работ на высоком уровне необходима тщательная инженерная подготовка и организация работ на объекте.

До начала монтажа необходимо получение полного комплекта технической документации: рабочих чертежей, описания тестомесильной машины и вспомогательных устройств, смет, паспортов, комплектовочных ведомостей, инструкций по монтажу и пуску агрегата и его эксплуатации.

Эта документация представляется заводом-поставщиком. Место установки тестомесильной машины на строящихся предприятиях и при реконструкции существующих отводится в соответствии с проектом. Перед началом всех монтажных работ персонал должен ознакомиться с проектными и монтажными документами. [2]

До начала монтажных работ должна быть произведена ревизия состояния оборудования, особенно после длительного его хранения; проверка обеспеченности основными и вспомогательными материалами и оборудованием в соответствии со спецификацией проекта агрегата. Производится технический осмотр фундамента для установки тестомесильной машины. Персонал должен быть ознакомлен с правилами охраны труда и техники безопасности, правилами пожарной безопасности.

Для тестомесильной машины составляется инструкция по монтажу, В которой указываются особенности и последовательность монтажных работ по сборке узлов привода, обкатке механизмов и наладке агрегата.[3]

Все узлы тестомесильная машина ТМ-63М, а также тестомесильная камера и привод крепятся к станине. Станина собирается из уголков и двутавровых балок и крепится на ранее осмотренный фундамент.

Для крепежа станины используются фундаментные болты ГОСТ 24379.1-80.

9. ЭКСПЛУАТАЦИЯ И ТЕХНИКА БЕЗОПАСНОСТИ ТМ-63М

От знания и выполнения правил эксплуатации оборудования станочником, машинистом, любым производственным рабочим, управляющим машиной, зависят механическое состояние вверенной ему техники, сохранение ее эксплуатационных качеств. Правила эксплуатации должны быть хорошо известны мастерам по ремонту, механикам, которые должны донести эту информацию и обеспечить соблюдение этих правил производственным персоналом.

Машинист тестомесильной машины должен хорошо изучить ее конструкцию и принцип работы, а также правила пуска и остановки привода. Он должен следить за точность дозирования сырья для предотвращения переполнения месильной камеры.

Уход за оборудованием имеет важнейшее значение для сохранения его работоспособности. При тщательном уходе можно увеличить срок его службы до очередного ремонта. Перед началом работы рабочий обязан осмотреть машину, проверить, чисто ли она убрана рабочим, сдающим смену, включить и проверить ее в рабочем состоянии, осмотреть места смазки. При обнаружении каких-либо повреждений или неисправностей рабочий, не приступая к работе, обязан доложить о них мастеру, так как тестомесильная машина является одной из основных составляющих технологической линии и при ее поломки останавливается вся линия.

За поломку, вызванную неправильной эксплуатацией, несут ответственность как рабочий, так и мастер. Нельзя оставлять машину в рабочем состоянии без присмотра.

Общие требования безопасности, предъявляемые к конструкции технологического оборудования, установлены ГОСТом «Оборудование производственное. Общие требования безопасности».

Элементы конструкции машин не должны иметь острых углов, кромок и тому подобное, представляющих источник опасности при обслуживании.

Конструкцией оборудования должны обеспечиваться оптимальные режимы работы, при которых превышение установленных уровней шума и вибрации не допускается. Оборудование, при работе которого возникают шум и вибрация, превышающие допустимые нормы, должно быть снабжено звукопоглощающими устройствами и установлено на виброизолирующих основаниях. Движущиеся части оборудования, являющиеся источником опасности, ограждают.

К органам управления оборудованием предъявляют следующие основные требования:

усилие для приведения в действие органов управления не должно быть слишком велико (непосильно) или мало (случайное касание вызывает пуск или остановку машин);

конструкция должна исключать самопроизвольный пуск или остановку оборудования;

органы аварийного выключения (кнопки, рычаги, рубильники) должны быть окрашены в красный цвет; около пусковых устройств должны быть вывешены четкие надписи, указывающие их назначение.[3]

Основным недостатком тестомесильной машины ТМ-63М является открытая цепная передача. В следствии этого машинист при работе должен строго соблюдать правила техники безопасности, а машина содержать предупредительную сигнализацию о пуске машины и средства остановки и отключения от источников энергии.

ЗАКЛЮЧЕНИЕ

В работе рассмотрены устройство, принцип действия и эксплуатация тестомесильной машины ТМ-63М. Также проанализировано современное состояние тестомесильных машин и выделена их классификация.

Описан технологический процесс и устройство тестомесильной машины ТМ-63М, а также произведен технологический расчет. Данное оборудование обладает высокой производительностью 813 кг/ч.

Выполнен кинематический расчет приводного механизма рассматриваемой тестомесильной машины с подбором двигателя серии 4А112М4. Произведен прочностной расчет шпоночных соединений.

Исследован монтаж и эксплуатация, а также техника безопасности при работе с ТМ-63М.

СПИСОК ИСПОЛЬЗОВАННЫХ ИСТОЧНИКОВ

1.     Антипов С.Т., Кретов И.Т., Остриков А.Н., Панфилов В.А., Ураков О.А. Машины и аппараты пищевых производств. В 2 кн. Кн.1: Учеб. для вузов/ Под ред. акад. РАСХН Панфилова В.А. - М.: Высш. шк., 2001. - 703 с.

2.      Анурьев В.И. Справочник конструктора - машиностроителя: В 3-х т.: Т.2.-7-е изд., перераб. и доп. - М.: Машиностроение, 1992. - 784с.

.        Драгилев А.И., Дроздов В.С. Технологическое оборудование предприятий перерабатывающих отраслей АПК. - М.: Колос, 2001. - 352 с.

.        Курмаз Л.В. Детали машин. Проектирование: Справочное учебно-методическое пособие/Л.В. Курмаз, А.Т. Скойбеда. - м.: Высш. шк., 2005.- 309 с.

.        Чернавский С.А., Боков К.Н., Чернин И.М. и др. Курсовое проектирование деталей машин: Учеб. Пособие для учащихся машиностроительных специальностей техникумов/ 2-е изд., перераб. и доп. - М.: Машиностроение, 1988. - 416 с.

Похожие работы на - Тестомесильная машина

 

Не нашли материал для своей работы?
Поможем написать уникальную работу
Без плагиата!
Без нейросетей!