Расчёт электродвигателя тестомесильной машины Т1-ХТ2А

  • Вид работы:
    Курсовая работа (т)
  • Предмет:
    Другое
  • Язык:
    Русский
    ,
    Формат файла:
    MS Word
    376,42 Кб
  • Опубликовано:
    2016-04-20
Вы можете узнать стоимость помощи в написании студенческой работы.
Помощь в написании работы, которую точно примут!

Расчёт электродвигателя тестомесильной машины Т1-ХТ2А

Содержание

Введение

. Состояние вопроса

.1 Теоретические основы процесса

.2 Обзор существующих конструкций машин

.2.1 Классификация тестомесильных машин

.2.2 Тестомесильные машины периодического действия

.3 Тестомесильные машины зарубежных производителей

2. Описание конструкции и принципа действия машины

3. Расчётная часть

.1 Расчёт производительности

.2 Энергетический расчёт

Список использованных литературных источников

Введение

Одна из важнейших операций при приготовлении хлебобулочных изделий - замес теста. В процессе замеса из муки, воды, соли и других компонентов образуется тесто, однородное во всем объеме. Тестомесильные машины в зависимости от рецептурного состава и особенностей ассортимента должны оказывать различное воздействие на тесто и последующее его созревание. Конструкция тестомесильной машины во многом определяется свойствами замешиваемого сырья, например, эластично-упругое тесто требует более интенсивного проминания, чем пластичное.

Следовательно, важно не ошибиться при выборе тестомесильной машины, так как от её работы зависит в итоге качество готовой продукции.

Тестомесильная машина Т1-ХТ2Априменяется на хлебозаводах малой и средней мощности и предназначена для замеса опары и теста из пшеничной и ржаной муки в подкатных дежах вместимостью 330 л.

Целью данного курсового проекта является расчёт электродвигателя для данной тестомесильной машины с заданными показателями, подробное изучение машины, ознакомление с другими видами тестомесильных машин.

1.  Состояние вопроса

.1      Теоретические основы процесса

Замес теста - важнейшая технологическая операция, от которой в значительной степени зависит дальнейший ход технологического процесса и качество хлеба. При замесе теста из муки, воды, дрожжей, соли и других составных частей получают однородную массу с определенной структурой и физическими свойствами, чтобы в последующем при брожении, разделке и расстойке тесто хорошо перерабатывалось.

В процессе замеса хлебного теста происходит равномерное перемешивание компонентов и образуется упруго-пластическая капиллярно-пористая масса, в которой активно протекают физические, коллоидные, микробиологические, ферментативные и другие процессы, обеспечивающие оптимальные условия созревания теста на последующих этапах технологического процесса.

Процесс замеса можно условно разделить на три стадии.

Первой стадией замеса является предварительное смешивание компонентов. Оно должно протекать как можно быстрее, тогда равномерное смешивание компонентов достигается при минимальных затратах энергии. Время смешивания обратно пропорционально частоте вращения рабочих органов, следовательно, для интенсификации процесса смешивание компонентов следует проводить на высоких скоростях.

Второй стадией является собственно замес. Он не требует энергичной проработки массы. В промышленных машинах на этой стадии устраняется неравномерность распределения компонентов теста по массе. Тесто стабилизирует свой состав и вязкость и хорошо обрабатывается разнообразными рабочими органами.

Третья стадия - пластификация - требует усиленного механического воздействия, повышенного подвода энергии, которая расходуется на создание и развитие клейковинного каркаса. В современных машинах на данной стадии чаще всего применяют специально подобранные рабочие органы - плоские лопасти различной конфигурации.

Стадии замеса могут частично совмещаться. На каждой стадии параметры рабочих органов и механизм воздействия должны согласовываться с характером процесса. Поэтому в классическом представлении машина непрерывного замеса может иметь две-три камеры.

Замес осуществляется в результате воздействия рабочих органов на тесто, поэтому следует прежде всего обратить внимание на механизм воздействия, его эффективность, показателем которой является удельная работа (мощность) и нагрев теста за время замеса. Но главным критерием во всех случаях следует считать качество теста и готового хлеба.

С самого начала замеса в полуфабрикатах начинают происходить различные процессы-физические, биохимические и др. Существенная роль в образовании пшеничного теста принадлежит белковым веществам. Нерастворимые в воде белки муки, соединяясь при замесе с водой, набухают и образуют клейковину. При этом белки связывают воду в количестве, примерно в два раза превышающем свою массу, причем 75 % этой воды связывается осмотически.

Набухшие белковые вещества муки образуют как бы каркас теста губчатой структуры, что и определяет растяжимость и эластичность теста. Основная часть муки (зерна крахмала) адсорбционно связывает большое количество воды. Значительное количество воды поглощается также пентозанами муки.

Крахмал связывает воду в количестве 30 % от своей массы. Но поскольку в муке крахмала значительно больше, чем белков, количество воды, связанное белками и крахмалом, примерно одинаково.

В тесте одновременно образуется как жидкая фаза, состоящая из свободной воды, водорастворимых белков, сахара и других веществ, так и газообразная фаза, образованная за счет удержания пузырьков воздуха, в атмосфере которого происходит замес, и за счет пузырьков углекислого газа, выделяемых дрожжами. Следовательно, тесто представляет собой полидисперсную систему, состоящую из твердой, жидкой и газообразной фаз. От соотношения фаз в этой полидисперсной системе зависят физические свойства теста. Наряду с физическими и коллоидными процессами в тесте под действием ферментов муки и дрожжей начинают проходить и биохимические процессы. Наибольшее влияние оказывают протеолитические ферменты муки, которые дезагрегируют белок, что действует на физические свойства теста. Однако соприкосновение теста во время замеса с кислородом воздуха значительно снижает дезагрегационное влияние протеолитических ферментов. В меньшей степени действуют и амилолитические ферменты, расщепляющие крахмал. Механическое воздействие месильного органа на тесто, образующееся при замесе, в первый период способствует набуханию белков и образованию губчатого клейковинного каркаса, что улучшает физические свойства теста.

Белки ржаной муки отличаются от белков пшеничной муки тем, что в ржаном тесте не образуется губчатого клейковинного каркаса. Значительная часть белков ржаной муки в тесте неограниченно набухает и переходит в коллоидное состояние. В ржаной муке содержится около 3 % высокомолекулярных углеводных соединений - слизей.

Из белков, слизей и других составных частей теста (растворимых декстринов, соли, водорастворимых веществ муки), перешедших в вязкое коллоидное соединение, в ржаном тесте образуется вязкая жидкая фаза, от состояния которой в значительной степени зависят физические свойства ржаного теста.

Ржаное тесто характеризуется большой вязкостью, пластичностью и малой упругостью, эластичностью. Ржаное тесто мало растягивается.

На физические свойства ржаного теста оказывает влияние соотношение пептизированных и ограниченно набухших белков, которое в основном зависит от кислотности ржаного теста, от содержания в нем молочной кислоты. Поэтому тесто для ржаного хлеба изготавливается с значительно более высокой кислотностью, чем для пшеничного.

При недостаточно высокой кислотности ржаного теста пептизированные белки не переходят или слабо переходят в жидкую фазу. В процессе замеса теста повышается его температура, так как механическая энергия замеса частично переходит в тепловую, что в начальной стадии замеса ускоряет образование теста.

Все описанные выше физические, коллоидные, химические и биохимические процессы в тесте взаимодействуют друг с другом, что вызывает непрерывное изменение физических свойств теста в ходе технологического процесса.

.2 Обзор существующих конструкций машин

.2.1 Классификация тестомесильных машин

Тестомесильные машины в зависимости от рецептурного состава и особенностей ассортимента должны оказывать различное воздействие на тесто и последующее его созревание. От работы тестомесильных машин зависит в итоге качество готовой продукции. Конструкция тестомесильной машины во многом определяется свойствами замешиваемого сырья, например эластично-упругое тесто требует более интенсивного проминания, чем пластичное.

Специфика процессов перемешивания рецептурных смесей и полуфабрикатов в хлебопекарном производстве обусловлена как свойствами сыпучего компонента - муки, так и жидкими компонентами, содержащими микроорганизмы (дрожжи, молочнокислые бактерии и др.) и активные ферменты. В работе представлены отечественные и зарубежные тестомесильные машины. Изложены сведения о принципах действия и конструктивных особенностях. Приведены классификационные матрицы функциональных схем тестомесильных машин.

Для замеса теста применяются различные типы машин, которые в зависимости от вида муки, рецептурного состава и особенностей ассортимента оказывают различное механическое воздействие на тесто. Качество работы тестомесильных машин определяют качеством готовой продукции.

Замес густой опары и теста обычно осуществляется однотипными месильными машинами; замес жидких опар, питательных смесей для жидких дрожжей - специальными смесителями. Для получения высококачественного теста замес необходимо осуществлять при оптимальных интенсивности, длительности, температуре и частоте воздействия месильной лопасти.

По интенсивности воздействия рабочего органа на обрабатываемую массу тестомесильные машины делятся па три группы:

обычные тихоходные - рабочий процесс не сопровождается заметным нагревом теста, удельный расход энергии 5 - 12Дж/г;

быстроходные (машины для интенсивного замеса теста) - рабочий процесс не сопровождается заметным нагревом теста на 5 - 7°С, на замес расходуется 20 - 40 Дж/г;

супербыстроходные (суперинтенсивные) машины, замес сопровождается нагревом теста на 10 - 20 °С и требует устройства водяного охлаждения корпуса месильной камеры либо предварительного охлаждения воды, используемой для теста, на замес расходуется 30 - 45 Дж/г.

Величина удельной работы здесь не имеет строго разделенного ряда, поскольку она на одной и той же машине может меняться в зависимости от длительности замеса, определяемой качеством муки.

В зависимости от расположения оси месильного органа различают машины с горизонтальной, наклонной и вертикальной осями.

По характеру движения месильного органа есть машины с круговым, вращательным, планетарным, сложным плоским и пространственным движением месильного органа.

В зависимости от механизма воздействия на процесс перемешивания различают машины с обычным механическим воздействием, вибрационным, ультразвуковым, электровихревым и др.

По виду приготавливаемых смесей разделяют машины для замеса густых опар и теста при влажности 30 - 52% и для приготовления жидких опар и питательных смесей при влажности 60 - 70 %.

По количеству конструктивно выделенных месильных камер, обеспечивающих необходимые параметры па разных стадиях замеса, различают одно-, двух- и трехкамерные тестомесильные машины.

В зависимости от системы управления тестомесильные машины бывают с ручным, полуавтоматическим и автоматическим управлением.

Наиболее часто используемой является классификация по роду работы, в ней тестомесильные машины делятся на машины периодического и непрерывного действия.

На рисунке 1 и 2 приведены схемы эксплуатирующихся в настоящее время тестомесильных машин периодического действия, соответственно, с подкатными и стационарными дежами.

а - с поступательным круговым движением наклонной месильной лопасти; б - с вращательным движением наклонной месильной лопасти, описывающей двойной конус; в - с плоским движением месильной лопасти по замкнутой кривой; г - с криволинейным пространственным движением месильной лопасти по эллиптической кривой; д - с вертикальной спиралеобразной лопастью, смещенной от центра дежи; е - с несимметричной месильной лопастью, смещенной от центра дежи и совершающей планетарное движение; ж - с многолопастным месильным органом и соосной неподвижной дежой; з - с горизонтальной лопастью, вращающейся вокруг вертикальной оси в неподвижной соосной деже; и - с вертикальным многолопастным валом, смещенным от центра вращающейся дежи

Рисунок 1- Принципиальные схемы тестомесильных машин периодического действия с подкатными дежами

а - с четырьмя горизонтальными или наклонными цилиндрическими месильными валами; б - с двумя Z-образными горизонтальными месильными лопастями; в - с шарнирной Z-образной горизонтальной лопастью; г - с месильной лопастью в виде многоугольного ротора или другой конфигурации, вращающейся в месильной емкости, снабженной водяной рубашкой; д - с горизонтальной лопастью, вращающейся вокруг вертикальной оси в неподвижной соосной деже, наклоняемой для разгрузки на угол α вместе с приводом, расположенным под дежой; е - с эксцентрично расположенным в деже вильчатым или рамным месильным органом и со свободным вращением дежи

Рисунок 2 - Принципиальные схемы тестомесильных машин периодического действия со стационарными дежами

.2.2 Тестомесильные машины периодического действия

Тестомесильные машины с подкатными дежами

Особенностью работы тестомесильных машин периодического действия с подкатными дежами является то, что перед замесом в дежу загружается определенная порция компонентов; дежу подкатывают и фиксируют на фундаментной площадке тестомесильной машины. После замеса дежу с тестом откатывают в камеру брожения, где происходит его созревание в течение нескольких часов. К машине в это время подкатывается следующая дежа, и цикл повторяется. На одну месильную машину приходится от 5 до 12 дежей в зависимости от производительности линии.

Тестомесильная машина ТММ-1М

Указанная машина предназначена для замеса опары влажностью не ниже 39 % из ржаной и пшеничной муки в дежах V-140 емкостью 140 литров. Применяется на предприятиях хлебопекарной промышленности небольшой мощности и в кондитерских цехах. Машина (рисунок 3) состоит из крышки 1, месильного рычага 2, кривошипа 4, корпуса 5, редуктора 10 привода дежи и фундаментной плиты 6.

1 - крышка; 2 - месильный рычаг; 3 - поворотный кулак; 4 - кривошип; 5 - корпус; 6 - фундаментная плита; 7 - лопасть; 8, 12 - боковые штыри; 9 - вал; 10 - редуктор; 11 - диск; 13 - направляющая лопатка; 14 - дежа.


Фундаментная плита представляет собой чугунное основание коробчатой формы с площадками для редукторов - главного и привода дежи. Для правильного направления ходовых колес при накатке дежи 14 с обеих сторон плиты имеются специальные выступы, а в передней части - углубление для направляющего колеса. Редуктор 10 привода дежи состоит из чугунного корпуса, червяка, червячного колеса, посаженного на валик, и крышек. На верхнем конце валика посажен конический диск 11, имеющий квадратное гнездо, в которое при накатывании дежи входит квадратный выступ на цапфе дежи. Редуктор привода дежи вращается от главного редуктора, расположенного в корпусе 5 машины, с помощью вала 9 и муфты 10. Внутри чугунного корпуса машины на оси установлен кривошип, который состоит из звездочки, корпуса и подшипника. Передняя стенка корпуса машины в верхней части имеет вырез для месильного рычага и бобышку, в которой на подшипнике скольжения смонтирован поворотный кулак 3. В вилку кулака вставлен палец, на котором закреплен месильный рычаг. В выступах тележки и вилке поворотного колеса просверлены горизонтальные отверстия для боковых штырей 8 и 12, запрессованных в корпус машины. На них при навертывании дежи на плиту насаживается корпус тележки. Замес теста производится в подкатной деже, которая накатывается на фундаментную плиту под месильный рычаг. Во время замеса месильный рычаг и дежа одновременно вращаются навстречу друг другу. На нижнем конце месильного рычага расположены лопасть 7 и направляющая лопатка 13. Накатывание и скатывание дежи производится вручную.

Тестомесильная машина А2-ХТБ11

Данная машина предназначена для замеса полуфабрикатов и теста плотностью от 35 до 54 % в дежах Т1-ХТ2 вместимостью 330 литров на хлебопекарных предприятиях. Машина (рисунок 4) состоит из фундаментной плиты 1, станины 2, месильного органа 10, электрооборудования 3, траверсы 7 с установленными на ней приводом 5 поворота траверсы и приводом 6 месильного органа, ограждения 8, поддона 4 и крышки 9.

- фундаментная плита; 2 - станина; 3 - электрооборудование; 4 - поддон; 5 - привод поворота траверсы; 6 - привод месильного органа; 7 - траверса; 8 - ограждение; 9 - крышка; 10 - месильный орган

Рисунок 4 - Общий вид тестомесильной машины А2-ХТБ

На фундаментной плите закрепляется станина, имеющая направляющие, на которые устанавливается выдвижной блок с электрооборудованием, имеющим электроразьемы, отключающие электропитание тестомесильной машины. На станине имеется неподвижная ось, на которой расположены подшипники для установки траверсы 7 и упоры механизма подъема и опускания траверсы. Последняя может подниматься в вертикальной плоскости относительно оси станины на угол 55°. Подъем и опускание траверсы осуществляются приводом 5, состоящим из электродвигателя, клиноременной и винтовой передач, через ролики, соприкасающиеся с рабочей поверхностью упоров. Привод месильного органа состоит из электродвигателя, клиноременной передачи и редуктора с червячной и планетарной передачами. Месильный орган 10 совершает планетарное движение, вращаясь вокруг собственной оси и вокруг оси дежи, что обусловливает замес теста. Дежа накатывается на фундаментную плиту 1, имеющую специальные направляющие и упоры, и закрепляется на ней. Затем дежа заполняется необходимыми компонентами, опускается траверса 7 и включается привод 6 месильного органа. Время замеса теста или опары устанавливается с помощью реле времени. По истечении времени электродвигатель автоматически отключается, останавливается месильный орган 10 и включается привод 5 поворота траверсы, которая поднимается в крайнее верхнее положение, и месильный орган выходит из дежи. Для выкатывания дежи необходимо нажать ногой на педаль фиксатора, а затем выкатить дежу.

Тестомесильная машина «Стандарт»

- станина, 2 - фундаментная плита, 3 - электродвигатель, 4 - месильный рычаг, 5 - червячный вал, 6 - крышка, 7 - трехколесная каретка, 8 - фиксатор, 9 - зубчатый венец, 10 - подкатная дежа, 11 - клиноременная передача, 12 - фрикционная муфта, 13 - червячный редуктор

Рисунок 5 - Общий вид тестомесильной машины «Стандарт»

Машина «Стандарт» состоит из станины 1, закрепленной на фундаментной плите 2. Внутри станины расположен приводной электродвигатель 3, а снаружи - червячный вал 5, служащий для вращения подкатной дежи 10. Она смонтирована на трехколесной каретке 7, которая накатывается на фундаментную плиту и закрепляется на ней с помощью упора и специального фиксатора 8. При этом имеющийся на деже зубчатый венец 9 входит в зацепление с червячным валом 5. Дежа закрывается крышкой 6. Сверху на станине расположен червячный редуктор 13, приводимый в движение от электродвигателя через клиноременную передачу 11 и фрикционную муфту 12.

Месильный рычаг 4 на нижнем конце имеет лопасть, которая и осуществляет замес теста в деже.

Верхний конец месильного рычага с помощью подшипника шарнирно соединен с колесом червячного редуктора и благодаря промежуточной шаровой опоре совершает поступательное круговое движение. Аналогичное движение совершает и месильная лопасть.

Во время работы машины месильная лопасть в нижнем положении проходит плотно возле днища дежи, а в верхнем выходит за плоскость обреза нижней кромки дежи. При этом в начале замеса происходит интенсивное распыление муки. Перемешивание и замес происходят не на всей траектории движения месильной лопасти, а лишь на 20 %, что существенно снижает КПД машины. Замес осуществляется при постоянной частоте вращения месильного рычага (n = 23,5 об/мин), поэтому на машине невозможно обеспечить различную интенсивность замеса на отдельных стадиях процесса.

Тестомесильная машина А2-ХТМ

Тестомесильная машина А2-ХТМ с подкатной дежой, неподвижной при замесе, предназначена для замеса полуфабрикатов и теста из пшеничной и ржаной муки влажностью от 33 до 54 % в дежах А2-ХТД вместимостью 140 литров. Применяется на предприятиях хлебопекарной промышленности небольшой мощности, а также в кондитерских цехах и цехах предприятий общественного питания.

Машина (рисунок 5) состоит из фундаментной плиты, станины 1, траверсы 7 с установленными на ней механизмом поворота траверсы и приводом 6 месильного органа, крышки 4, месильного органа 5, ограждения 3, поддона 2 и электрооборудования, встроенного в станину. На фундаментной плите имеются направляющие пальцы, отверстие для установки и фиксации подкатной дежи в рабочем положении, а также электроблокировка фиксации дежи. На фундаментной плите закрепляется станина, имеющая направляющие, на которые устанавливается выдвижной блок с электрооборудованием.

Траверса шарнирно соединена с неподвижной осью станины, что обеспечивает возможность ее поворота на угол 60° относительно этой оси. На траверсе установлены механизм поворота траверсы и привод месильного органа. Механизм поворота траверсы состоит из электродвигателя, клиноременной передачи и винтовой пары, корпуса гайки, имеющего две выступающие оси с сухарями, соприкасающимися с рабочей поверхностью упора стойки. Вращение от электродвигателя посредством клиноременной передачи передается на винт, вращение которого в свою очередь преобразуется во вращательное движение (поворот) траверсы, так как корпус гайки винтовой пары неподвижен. Привод 6 месильного органа состоит из электродвигателя, клиноременной передачи и планетарного редуктора. Месильный орган 5 совершает вращательное планетарное движение вокруг собственной оси и вокруг оси дежи. После установки дежи нажатием кнопки "Вниз" включается электродвигатель привода поворота траверсы 7. Траверса поворачивается в рабочее (нижнее) положение, дежа герметически закрывается крышкой 4. Нажатием кнопки "Пуск" включается электродвигатель привода 6 месильного органа, который, совершая планетарное движение, производит замес. По истечении заданного времени электродвигатель автоматически останавливается. Траверса поворачивается в крайнее верхнее положение, и месильный орган выходит из дежи.

- станина; 2 - поддон; 3 - ограждение; 4 - крышка; 5 - месильный орган; 6 - привод месильного органа; 7 - траверса

Рисунок 6 - Общий вид тестомесильной машины А2-ХТМ

Тестомесильные машины со стационарными дежами

Тестомесильные машины со стационарными дежами отличаются тем, что замешанное на них тесто сразу же выгружается из дежи, которая для этого поворачивается на определенный угол, и поступает на брожение в специальную емкость

Тестомесильная машина ТММ-120

- плита; 2 - червячный редуктор; 3 - боковины; 4 - электродвигатель; 5 - стяжки; 6 - короб; 7, 15 - штуцера; 8 - крышка; 9 - воронка; 10 - червячный сектор; 11 - месильные лопасти; 12 - механизм опрокидывания; 13 - червяк; 14 - рукоятка; 16 - стационарная дежа

Рисунок 7 - Общий вид тестомесильной машины ТММ-120

Тестомесильная машина ТММ-120 со стационарной дежой, неподвижной при замесе, предназначена для приготовления сахарных сортов теста в хлебопекарных и кондитерских цехах малой мощности. Машина (рисунок 6) состоит из станины, короба 6, привода и механизма опрокидывания 12. Станина состоит из плиты 1 и двух боковин 3, стянутых стяжками 5. На плите установлен привод машины, который состоит из электродвигателя 4 и червячного редуктора 2. Короб представляет собой стационарную дежу 16 с двойными стенами, между которыми циркулирует горячая вода. Подача и слив ее осуществляются через штуцера 7 и 15. Тепловой режим поддерживается путем регулирования количества и температуры подаваемой воды. В коробе на горизонтальном валу укреплены четыре П-образные лопасти 11, расположенные относительно друг друга под углом 90°. Механизм опрокидывания состоит из червяка 13, червячного сектора 10 и рукоятки 14. Процесс замеса теста осуществляется вращающимися в коробе месильными лопастями 11. По окончании замеса машину останавливают, рукояткой механизма опрокидывания наклоняют короб и 17 выгружают готовое тесто. После выгрузки вращением рукоятки короб возвращают в исходное положение. Наблюдение за процессом замеса теста ведется через загрузочную воронку 9 крышки 8.

.3 Тестомесильные машины зарубежных производителей

тестомесильный машина мощность дежа

Тестомесильная машина Fimar 50/FN

Технические характеристики:

Производитель   Fimar (Италия),

напряжение         - 380 В,

мощность - 2.2 КВт,

Габаритные размеры 920 x 530 x 940 мм,

дежа фиксированная,

загрузка дежи 50 кг. (62 литра),

1 скоростной режим (2 скорости опция).

Машина (рисунок 8) предназначена для замеса различных типов теста, наилучшим образом подходит для приготовления мягкого теста, например, для хлеба, пиццы и тонких лепешек. Корпус покрыт стойкой к механическим воздействиям краской; части, находящиеся в контакте с пищевыми продуктами (дежа, спираль и тестоделительный стержень), выполнены из нержавеющей стали; на крышке дежи имеется предохранительный микровыключатель; модели 12-18-25-38 серийно оснащаются крышкой из дымчатого поликарбоната, модели 7 и 50 - только сетчатой крышкой из нержавеющей стали. Модели CN и FN оснащены подъемной головкой с месильным органом, модель CN имеет съемную дежу. Дополнительная комплектация: 2-я скорость ,таймер на 0-30 минут, защита двигателя от перегрузки, сетчатая крышка из нержавеющей стали, комплект колес и низкая тележка на колесах.

Тестомесильная машина 3F Alimacchine SM 70

Технические характеристики:

Производитель   3F ALIMACCHINE (Италия),

Напряжение 220/380 Вольт,

Мощность 2.2 КВт,

Габаритные размеры 950 x 570 x 920 мм,

Дежа фиксированная; съёмная,

Загрузка дежи 40 кг муки (60 кг. теста),

Объём дежи 82 литров,

Скорости   1 или 2 на выбор,

Дежа из нержавеющей стали Aisi 304,

Цепной привод,

Панель управления низкого напряжения (24 V.),

Спираль из специальной нержавеющей стали выдерживающей сильные нагрузки,

Конечный продукт - тесто с высоким насыщением кислородом и очень высокой однородностью,

Возможно исполнение машины (рисунок 9) с фиксированной или съёмной дежой, подъёмным или фиксированным месильным органом, основанием на ножках или колёсах, верхняя решетчатой крышкой.Silver 120VE - Тестомесильная машина

Технические характеристики:

Разовая загрузка 75 кг,

Длина: 785 мм,

Ширина: 1500 мм,

Высота: 1660 мм,

Мощность электрическая: 8 кВт,

Напряжение: 380 В,

Наличие съемной дежи: есть,,

Наличие откидной части с ­ насадкой: есть

Количество скоростей: 2,

Объем ­ дежи: 120 л,

Производитель:           Sigma, Италия.

Тестомесильная машина SILVER 120 VE (рисунок 10) оснащена откатной дежой объёмом 120 л, вместимость которой для муки 50 кг, а минимальный объём воды 30 л. Дежа, спираль, вал выполнены из нержавеющей стали. Машина оснащена двумя моторами: 1 для двух скоростного режима спирали, 1 для вращения чана с возможностью реверса. Панель электромеханического контроля с двумя таймерами. Также в наличии электромагнитный крюк для захвата дежи. Ножки регулируются по высоте.

Технические характеристики:

Производитель   : Diosna (Германия)

Напряжение        : 380 Вольт

Мощность : 16 КВт

Габаритные размеры  : 1530 x 950 x 1470 мм.

Дежа : Откатная

Загрузка дежи    : Муки 125 кг. (300 литров)

Скорости   : 2 скоростной

В Машине (рисунок 11) производится быстрый замес теста из-за большого захвата месильного органа. Серийная оснащённость механизмом автозахвата дежи - дежа вдвигается в зону захвата клещей, автоматически блокируется и поднимается. Благодаря этому обеспечивается стабильная работа машины.

Гладкие поверхности предоставляют лёгкость очистки. При замесе отсутствует перетирание теста. Месильный орган при замесе захватывает тесто от стенки дежи до середины дежи . Размер и конструкция месильного органа позволяет работать на низких скоростях не перегревая тесто.

. Описание конструкции и принципа действия тестомесильной машины Т1-ХТ2А

Тестомесильная машина марки Т1-ХТ2А предназначена для замеса опары и теста из пшеничной и ржаной муки в подкатных дежах.

Применяется на предприятиях хлебопекарной промышленности малой и средней мощности для выработки широкого ассортимента хлебобулочных изделий.

Машина изготавливается по 3 категории, ГОСТ 15150-68, в климатических исполнениях: У - для внутреннего рынка и на экспорт в страны с умеренным климатом и Т -для экспорта в страны с тропическим климатом. Технические характеристики тестомесильной машины Т1-ХТ2А представлены в таблице 1.

Таблица 1 - Технические характеристики тестомесильной машины Т1-ХТ2А

Техническая характеристика

Производительность, т/сут

20

Продолжительность замеса одной порции, мин

6...10

Вместимость дежи, м3

0,33

Количество качаний месильного органа в минуту

24

Частота вращения дежи, с -1 (об/мин)

0,108(8,5)

Габаритные размеры, мм:


длина

1820

ширина

1280

высота

1660

Масса, кг

800

Масса дежи, кг

80



Описание конструкции и принцип работы

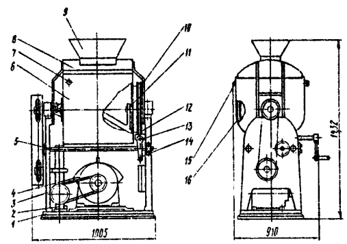
- фундаментная плита, 2, 14 - червячный редуктор, 3 - станина, 4 - двигатель, 5 - подмоторная плита, 6 - болт для натяжения ремней, 7 - клиноременный шкив, 8 - съемный штурвал, 9 - приводная головка, 10 - противовес, 11 - колпак, 12 - месильный рычаг, 13 - упорные кронштейны, 15 - стол, 16 - педаль

Рисунок 10 - Схема тестомесильной машины Т1-ХТ2А

Тестомесильная машина марки Т1-ХТ2А (рисунок 8) состоит из фундаментной плиты 1, станины 3, приводной головки 9, колпака 11, месильного рычага 12, ограждения и шкафа управления.

В фундаментной плите смонтировано два червячных редуктора 2 и 14. На выходной шейке вертикального вала редуктора 14 насажен стол 15, который имеет направляющие для накатывания и центровки дежи, блок-стойку с фиксатором и педалью 16 для фиксации дежи, и упорные кронштейны 13. При работе стол вращается вместе с дежой.

В станине на подмоторной плите 5 установлен двигатель 4. Для натяжения ремней служит болт 6.

В приводной головке смонтирован червячный механизм привода месильного рычага. Оба конца вала червяка приводной головки выходят наружу. На правый конец вала надевается съемный штурвал 8 для вывода месильного рычага из дежи, на левом - устанавливается клиноременный шкив 7 с конической расточкой фрикционной муфты.

Червячный редуктор 2 служит для передачи вращения от двигателя к червячному редуктору 14.

К приводной головке шарнирно прикреплен колпак с противовесом 10. С рычагами колпака связаны механизм управления фрикционной муфтой и конечный выключатель остановки стола в заданном положении.

Для замеса теста дежу накатывают на стол и закрепляют при помощи фиксаторов, при этом дверки ограждения закрывают. После подачи в дежу компонентов, необходимых для замеса, и опускания колпака включается фрикционная муфта.

После включения машины месильный рычаг приводится в движение по криволинейной траектории, близкой к внутренней поверхности дежи, а стол вместе с дежой равномерно вращается, что обеспечивает хороший промес теста. По окончании замеса теста колпак поднимают кверху, фрикционная муфта выключается, червяк приводной головки затормаживается. Стол продолжает вращаться до тех пор, пока упор не толкнет конечный выключатель и не остановится двигатель.

Стол останавливается в положении, удобном для выкатывания дежи. Если месильный рычаг находится в деже, его выводят, вращая штурвал. Затем открывают дверки ограждения и выкатывают дежу, нажав ногой на педаль фиксатора.

Замес теста осуществляется в рабочей камере тестомесильной машины в течение 6-10 мин в результате тщательного перемешивания компонентов и механической его проработки, существенно влияющей на структуру и свойства теста, интенсивность его созревания и качество готового продукта.

Повысить интенсивность замеса можно за счет изменения конфигурации месильной лопасти, например в виде спирали, Ф- или Г-образного рычага.

. Расчетная часть

.1 Расчет производительности

Производительность тестомесильных машин периодического действия П, кг/с:

,         (3.1)

где λ - коэффициент использования объема дежи (λ = 0,45…0,65);

τз - время совершения вспомогательных операций, с (τв = 120…150с).

Рассчитываем производительность при замесе в стандартной деже,

V = 0,33м3по формуле 3.1:

,

П=0,252 кг/с=21,8 т/сут.

При замесе в стандартной деже при одинаковых параметрах замеса производительность увеличится по сравнению с заданной на 9 %.

.2 Энергетический расчёт

Мощность электродвигателя привода тестомесильной машины Nдв, кВт:

,     (3.3)

где N1 - мощность необходимая для вращения месильного органа при замесе теста, кВт;

N2 - мощность, необходимая для вращения дежи, кВт;

η - КПД привода(η=0,9);

,       (3.4)

R - радиус вращения центра лопасти, м,

ω1 - угловая скорость месильного органа, рад/с;

,             (3.5)

,            (3.6)

где f - коэффициент трения вала дежи в опорах (f = 0,2…0,3);

g = 9,81 м/с2 - ускорение свободного падения;

Gд - масса дежи, кг;

GТ - масса теста в деже, кг;

rц- радиус цапфы, м;

ω2 - угловая скорость дежи, рад/с.

, (3.7)

,

,


.

Для тестомесильной машины с данными показателями выбираем электродвигатель мощностью Р=0,75 кВт, частотой вращения nas=1000 об/мин 4А80А6.

Список использованных литературных источников

1 Хромеенков, В.М. Технологическое оборудование хлебозаводов и макаронных фабрик. - СПб.: Гиорд, 2002. - 496 с.

Драгилев, А.И.Технологические машины и аппараты пищевых производств / А.И. Драгилев, В.С.Дроздов - М.: Колос, 1999. - 376 с.

Верболоз, Е.И. Тестомесильные машины периодического действия: методические указания для студентов / Е.И. Верболоз, Е.В. Мовчанюк,

В.В. Арсеньев - СПб.: СПбГУНиПТ, 2010 - 27 с.

4 Информационный портал Русский Пищевик: Тестомесы спиральные[Электронный ресурс]- 31ноября 2014. Режим доступа - <http://rpltd.ru/>

Информационный портал Профессиональный общепит: Тестомесильные машины [Электронный ресурс]- 31ноября 2014. Режим доступа - http://www.profood.by/

Похожие работы на - Расчёт электродвигателя тестомесильной машины Т1-ХТ2А

 

Не нашли материал для своей работы?
Поможем написать уникальную работу
Без плагиата!
Без нейросетей!