Современные методы упрочнения металлов

  • Вид работы:
    Реферат
  • Предмет:
    Другое
  • Язык:
    Русский
    ,
    Формат файла:
    MS Word
    360,23 Кб
  • Опубликовано:
    2014-11-05
Вы можете узнать стоимость помощи в написании студенческой работы.
Помощь в написании работы, которую точно примут!

Современные методы упрочнения металлов

Оглавление

Введение

1. Механические методы поверхностного упрочнения деталей машин

1.1 Параметры состояния поверхностного слоя деталей машин

1.2 Структурные несовершенства в реальных кристаллах

2. Современные методы упрочнения металлов

2.1 Упрочнение легированием

2.2 Упрочнение пластическим деформированием

2.3 Упрочнение термическими методами

2.4 Поверхностное упрочнение

2.5 Плазменное поверхностное упрочнение деталей

2.6 Вакуумное ионно-плазменное упрочнение, ионное магнетронное распыление, ионное легирование

Заключение

Список литературы

Введение

Одним из важнейших показателей, определяющих спрос на проектируемый объект, является его качество. Обеспечение необходимого качества возможно при удовлетворении эксплуатационных требований, предъявляемых к деталям машин. Работоспособность и надежность детали обеспечиваются за счет выполнения следующих основных требований: прочности, жесткости и стойкости к различным воздействиям (износу, вибрации, температуре и др.). Выполнение требований прочности при статическом, циклическом и ударном нагружениях должно исключить возможность разрушения, а также возникновения недопустимых остаточных деформаций. Требования жесткости к детали или контактной поверхности сводятся к ограничению возникающих под действием нагрузок деформаций, нарушающих работоспособность изделия, к недоступности потери общей устойчивости для длинных деталей, подвергающихся сжатию, и местной - у тонких элементов. Должна быть обеспечена износостойкость детали, которая существенно влияет на долговечность работы механизма. Достаточно, чтобы для каждой детали выполнялись не все перечисленные выше требования, а лишь те, которые связаны с ее эксплуатацией.

1. Механические методы поверхностного упрочнения деталей машин


Требования по созданию долговечных машин можно удовлетворить не только разработкой современных конструкционных решений и применением новых высокопрочных материалов, но и путем изменений поверхностного слоя деталей машин. Процессом, обеспечивающим получение стабильных показателей по качеству поверхности, является поверхностное пластическое деформирование, которое подразделяется на сглаживающее и упрочняющее.[1].

.1 Параметры состояния поверхностного слоя деталей машин

Поверхностный слой детали - это слой, у которого структура, фазовый и химический состав отличаются от основного материала, из которого сделана деталь.

Рисунок 1. Схема поверхностного слоя детали

В поверхностном слое можно выделить следующие основные зоны (рис.1):

. адсорбированных из окружающей среды молекул и атомов органических и неорганических веществ. Толщина слоя 1 0,001 мкм;

. продуктов химического взаимодействия металла с окружающей средой (обычно оксидов). Толщина слоя 10 1 мкм;

. граничная толщиной несколько межатомных расстояний, имеющая иную, чем в объеме, кристаллическую и электронную структуру;

. с измененными параметрами по сравнению с основным металлом;

. со структурой, фазовым и химическим составом, который возникает при изготовлении детали и изменяется в процессе эксплуатации. Толщина и состояние указанных слоев поверхностного слоя могут изменяться в зависимости от состава материала, метода обработки, условий эксплуатации. Оценка этого состояния осуществляется методами химического, физического и механического анализа. Многообразие параметров состояния поверхностного слоя и методов их оценки не позволяет выделить единственный параметр, определяющий качество поверхностного слоя. На практике состояние поверхностного слоя оценивается набором единичных или комплексных свойств, которые оценивают качество поверхностного слоя.[3].

Эти параметры характеризуют:

• геометрические параметры неровностей поверхности;

• физическое состояние;

• химический состав;

• механическое состояние.

Геометрические параметры неровностей поверхности оцениваются параметрами шероховатости, регулярных микрорельефов, волнистости. Шероховатость поверхности - это совокупность неровностей с относительно малыми шагами. Примерное отношение высоты неровностей к шагу менее 50. Волнистость поверхности - это совокупность неровностей, имеющих шаг больший, чем базовая длина, используемая для измерения шероховатости. Отношение высоты к шагу более 50 и менее 1000. Волнистость в России не стандартизирована, поэтому для ее оценки используют параметры шероховатости. Регулярные микрорельефы - это неровности, которые, в отличие от шероховатости и волнистости, одинаковы по форме, размерам и взаиморасположению. Регулярный микрорельеф получают обработкой резанием или поверхностным пластическим деформированием роликами, шариками, алмазами. Физическое состояние поверхностного слоя деталей в технологии упрочнения наиболее часто характеризуется параметрами структуры и фазового состава. Структура - это характеристика металла, зависящая от методов изучения его строения.

Выделяют следующие типы структур:

• кристаллическая;

• субструктура;

• микроструктура;

• макроструктура.

Кристаллическая структура. Металлы представляют собой кристаллы с трехмерной периодичностью. Основой кристаллической структуры является трехмерная решетка, в пространстве которой располагаются атомы. В зависимости от характера расположения атомов в кристаллической решетке структуры чистых металлов разделяются на ряд типов. В реальном металле кристаллическая структура имеет множество дефектов, которые в значительной степени определяют его свойства. Совокупность дефектов решетки и их пространственное распределение в кристалле называется субструктурой. Здесь кристаллы могут 5образовывать более крупные фрагменты - кристаллиты, блоки, зерна, фрагменты, полигоны. Размер субмикрозерна: 10-2÷10-5см.

Микроструктура - это структура, определяемая с помощью металлографических микроскопов. Этот анализ позволяет определить наличие, количество и форму структурных составляющих сплава. Размер субзерна: 10-3÷10-4 см.[2].

Макроструктура - это структура, которая определяется невооруженным глазом или при небольших увеличениях. С помощью макроанализа определяют трещины, неметаллические включения, примеси и др. Физическое состояние характеризуется числом и концентрацией фаз, распределением фаз по поверхностному слою, объемом сплава и др. Исследование физического состояния осуществляется экспериментальными методами физики твердого тела: дифракционными и микроскопическими. Химический состав характеризуется элементным составом сплава и фаз, концентрацией элементов в объеме фаз, сплава и др. Исследования химического состава поверхностного слоя позволяют оценить адсорбцию из окружающей среды молекул и атомов органических и неорганических веществ, диффузионные процессы, процессы окисления и другие, происходящие при обработке металлов.

Рисунок 2. Типы кристаллической структуры: а - объемно-центрированная кубическая; б - гранецентрированная кубическая; в - гексагонально-плотноупакованная

Механическое состояние металла определяется параметрами: - сопротивлением деформированию:

предел упругости, предел пропорциональности, предел текучести, предел прочности, твердость и др.;

пластичностью: относительное удлинение, относительное сужение, ударная вязкость и другие, устанавливаемые специальными испытаниями образцов. [2].

Например, в процессе пластической деформации, которая всегда сопровождает механическую обработку, все характеристики механического состояния поверхностного слоя изменяются: показатели сопротивления деформированию увеличиваются, а показатели пластичности уменьшаются.

Это явление называют деформационным упрочнением.

В инженерной практике деформационное упрочнение поверхностного слоя определяют измерением твердости Н или микротвердости. Для этого твердость измеряют на поверхности металла и внутри металла (при помощи послойного травления). В результате устанавливают толщину упрочненного слоя hH и степень деформационного упрочнения δн: δн=(Нобр-Ниск)/ Ниск, где Нобр и Ниск - соответственно твердость (микротвердость) металла после и до обработки. Важной характеристикой состояния поверхностного слоя являются остаточные напряжения. Остаточные напряжения - это упругие напряжения, которые остались в детали после обработки.[1].

В зависимости от объема тела, в которых рассчитывают остаточные напряжения, они условно подразделяются на остаточные напряжения:

первого рода, уравновешенные в макрообъемах тела;

второго рода, уравновешенные в пределах размера зерен;

третьего рода, уравновешенные в пределах нескольких межатомных расстояний.

В зависимости от характера и интенсивности физико-механических процессов, происходящих при обработке, остаточные напряжения могут иметь различный знак:

(+) - растягивание;

(-) - сжимание.

Условие равновесия требует, чтобы в объеме детали сумма проекций всех сил была равна нулю. Поэтому в детали есть область со сжимающими и растягивающими остаточными напряжениями.

В инженерной практике остаточные напряжения первого рода принято представлять в виде проекции на оси заданной системы координат. Например, для тела вращения используют понятия осевых σо х, окружных (тангенциальных) σо т и радиальных σо r остаточных напряжений. Обобщенно можно сказать, что остаточные напряжения первого рода есть результат неравномерных пластических деформаций различных слоев детали (искривление детали). Остаточные напряжения оказывают существенное влияние на прочность и долговечность деталей машин и конструкций.

Остаточные сжимающие напряжения, возникающие в поверхностном слое, повышают циклическую прочность деталей, т.к. они разгружают поверхностные слои от напряжений, вызванных нагрузками и, наоборот, растягивающие остаточные напряжения уменьшают прочность деталей вследствие повышения напряженности поверхностного слоя.[4]. 

1.2 Структурные несовершенства в реальных кристаллах


В соответствии с современными взглядами на строение металла, существенное различие теоретической и физической прочности объясняется наличием структурных несовершенств (дефектов) кристаллов. Структурные дефекты оказывают существенное влияние на упрочнение и разрушение металла при обработке. Структурные несовершенства в кристаллах возникают в результате кристаллизации металла, термической обработки, пластической деформации и др.

Структурные несовершенства (дефекты) кристалла по геометрическому признаку подразделяются на 4 группы:

• точечные;

• линейные;

• поверхностные (плоские);

• объемные.

Точечные дефекты по своим размерам сопоставимы с размерами атома. В чистых кристаллах возможны два типа точечных дефектов (рисунок 3):

• вакансии;

• межузельные атомы.

Вакансии образуются при удалении атома из узла решетки, а межузельный атом при введении атома в межузельное пространство. Образование вакансий и межузельных атомов связано с тем, что колеблющиеся около положения равновесия атомы могут под влиянием привнесенной извне энергии выходить из положения равновесия, образуя после себя в узле кристаллической решетки пустоту (вакансию) и, соответственно, межузельный атом.[4].

Рисунок 3.Точечные дефекты в плоскости простой кубической решетки: А - дислоцированный атом; В - вакансии


Рисунок 4.Точечные дефекты в плоскости простой кубической решетки: ө - примесные атомы внедрения; ● - атомы замещения

Все точечные дефекты образуют локальные искажения кристаллической решетки, повышая тем самым энергию, зависящую от размера введенных атомов и расстояние между ними. Линейные дефекты кристаллической решетки имеют размеры, близкие к атомным в двух измерениях и значительную протяженность в третьем.

упрочнение металл легирование закалка

2. Современные методы упрочнения металлов

 

.1 Упрочнение легированием


Формирование благоприятной структуры и надежность работы деталей обеспечивает рациональное легирование, измельчение зерна и повышение качества металла. Упрочнение при легировании увеличивается пропорционально концентрации легирующего элемента в твердом растворе. При этом надо помнить, что различные легирующие элементы имеют ограниченную растворимость в основных фазах сплава и это зависит от относительной разницы атомных радиусов компонентов.

Образование твердых растворов разных типов (замещения, внедрения, упорядоченных, не упорядоченных и др.) создают комбинации различных дислокационных образований с многообразными характеристиками прочности. Измельчение зерна осуществляется легированием и термической обработкой. Наиболее эффективное измельчение структуры достигается при высокотемпературной термомеханической обработке.[2].

Она предусматривает пластическую деформацию аустенита с последующим превращением в мартенсит. В результате высокотемпературной термомеханической обработки обеспечивается наиболее благоприятное сочетание высокой прочности с повышенной пластичностью, вязкостью и сопротивлением разрушению.

Упрочнение растет по мере увеличения концентрации растворенного легирующего элемента и различия в атомных радиусах железа и этого элемента. Наиболее сильно повышают твердость медленно охлажденного феррита Si, Mn, Ni,.т.е те элементы, имеющие отличную от Feα кристаллическую решетку. Слабее влияют Mo, V и Cr, решетки которых изоморфны Feα. Повышение чистоты сплава достигается металлургическими приемами путем удаления вредных примесей серы, фосфора, газообразных элементов - кислорода, водорода, азота.

При введении в сталь легирующих элементов, растворимость которых в решетке железа может изменяться в зависимости от температуры, наблюдается эффект, называемый дисперсионным твердением. Для этого необходимо получить пересыщенный твердый раствор с повышенной концентрацией растворенного элемента. Такой твердый раствор является неравновесным и стремиться к распаду. Процесс распада пересыщенного твердого раствора при комнатной температуре называется естественным старением. [1].

При некотором нагреве - искусственным старением. При старении избыточный элемент выделяется из кристаллической решетки металла-растворителя в виде мельчайших частиц, которые называют дисперсной фазой. Дисперсная фаза, будучи равномерно распределена в твердом растворе, искажает кристаллическую решетку последнего и изменяет механические свойства сплава. Повышение твердости, прочности наблюдается только в том случае, когда сохраняется когерентность (непрерывность) атомно-кристаллических решеток дисперсной фазы и твердого раствора.

Дисперсионное твердение связано с диффузионными процессами и поэтому продолжительность старения оказывает существенное влияние на эффект дисперсионного твердения. Дисперсионное твердение в сложнолегированной стали с несколькими легирующими элементами часто проявляется совершенно иначе, чем в стали с одним легирующим элементом. Дополнительные легирующие элементы могут увеличивать или уменьшать растворимость основного элемента, вызывающего дисперсионное твердение и тем самым увеличивать или уменьшать эффект упрочнения материала. Дисперсионное твердение сопутствует обычному процессу термической обработки стали и оказывает существенное влияние на ее свойства.[2].

Упрочняющими фазами в сталях могут быть карбиды, нитриды, интерметаллиды, химические соединения и др.

2.2 Упрочнение пластическим деформированием

В результате холодной пластической деформации изменяются свойства металла: повышается прочность, электросопротивление, снижается пластичность, плотность, коррозионная стойкость. Это явление называется наклепом и может быть использовано для изменения свойств металлических материалов. Свойства наклепанного металла изменяются тем сильнее, чем больше степень деформации. Металлы наклепываются в начальной стадии деформирования более интенсивно, а при возрастании деформации механические свойства изменяются незначительно. С увеличением степени деформаций предел текучести растет быстрее временного сопротивления. У сильно наклепанных металлов обе характеристики сравниваются, а удлинение становится равным нулю. Такое состояние наклепанного металла называется предельным; при попытке продолжить деформирование может произойти разрушение металла. В результате наклепа удается повысить твердость и временное сопротивление в 1,5 - 3 раза, а предел текучести в 3 -7 раз. Металлы с ГЦК решеткой упрочняются сильнее, чем металлы с ОЦК решеткой. Среди сплавов с ГЦК решеткой сильнее упрочняются те, у которых энергия дефектов упаковки минимальна (интенсивно наклепываются аустенитная сталь и никель, а алюминий упрочняется незначительно)[1].

Рисунок 5.Зависимость механических свойств от степени деформации

Наклеп понижает плотность металла вследствие нарушений порядка в размещении атомов, при увеличении плотности дефектов и образовании микропор. Уменьшение плотности используют для увеличения долговечности деталей, которые в процессе эксплуатации подвержены переменным нагрузкам.

Наиболее распространенным способом холодного пластического поверхностного деформирования является дробеструйная обработка. Она заключается в воздействии на обрабатываемую поверхность частиц дроби, ускоренных в дробеструйных центробежных или пневматических аппаратах. Для этого используется стальная или чугунная дробь величиной 0,5 - 2,0 мм. Время обработки поверхности детали не превышает 2 - 3 мин., а толщина поверхностного слоя находится в пределах 0,2 - 0,4 мм. В поверхностном наклепанном слое увеличивается плотность дефектов кристаллической решетки, может изменяться форма и ориентация зерен. В поверхностных слоях создаются сжимающие напряжения, тормозящие зарождение и развитие трещин.[2].

Дробеструйная обработка может быть эффективна для сталей различного состава и после различной термической обработки (отжиг, нормализация, закалка, улучшение, цементация и др.). Основное назначение дробеструйной обработки - повышение усталостной прочности. Такой обработке подвергаются пружины, рессоры, шестерни, различные валы и т.д. Особенно эффективна дробеструйная обработка деталей, имеющих галтели, выточки, следы грубой механической обработки и другие концентраторы напряжений. 

2.3 Упрочнение термическими методами


Температурное воздействие на различные материалы с целью изменения их структуры и свойств является самым распространенным способом упрочнения в современной технике. Это воздействие может осуществляться чаще при плюсовых температурах, реже - при отрицательных температурах и сочетаться с химическим, деформационным, магнитным, электрическим и др. процессами.

Следуя классификации А.А. Бочвара, в основу которой положены типы фазовых и структурных превращений в металле, различают следующие виды термообработки:

собственно термическая обработка;

термомеханическая обработка;

химико-термическая обработка

Собственно термическая обработка предусматривает только температурные воздействия на металл или сплав. Управляемые структурно-фазовые процессы в стали, которые обеспечивают получение требуемой фазовой и дислокационной структуры, происходят вследствие наличия аллотропии. Термомеханическая обработка (ТМО) - сочетание термического воздействия и пластической деформации. ТМО позволяет получить более высокие прочностные и вызкостно-пластические свойства у стали, чем после обычной закалки и низкого отпуска.[2].

Положительный дополнительный эффект при ТМО объясняется предварительным наклепом аустенита во время пластической деформации. Последствия этого наклепа передаются мартенситу в виде дополнительных, возникающих при наклепе дислокаций, которые, складываются с дислокациями, возникающими при последующем мартенситном превращении, создают более плотную дислокационную структуру.

Такая высокая плотность дислокаций (до 1013 см -2) не порождает возникновение трещин при закалке. Существуют две разновидности термомеханической обработки - высокотемпературная (ВТМО) и низкотемпературная (НТМО). При ВТМО аустенит деформируется при температуре выше линии АС3 до степени деформации 20-30%. При НТМО производится деформация переохлажденного до 400 - 600 0С аустенита, степень деформации составляет 75-90%.

Химико-термическая обработка (ХТО) - сочетание химического и термического воздействия с целью изменения состава, структуры и свойств поверхностного слоя детали в необходимом направлении. [2].

При этом происходит поверхностное насыщение металлического материала соответствующим элементом (C, N, B, Al, Cr, Si, Ti и др.) путем его диффузии в атомарном состоянии из внешней среды (твердой, газовой, паровой, жидкой) при высокой температуре.

Процесс химико-термической обработки состоит из трех элементарных стадий:

выделение диффундирующего элемента в атомарном состоянии благодаря реакциям, протекающим во внешней среде;

контактирование атомов диффундирующего элемента с поверхностью стального изделия и проникновение (растворение) их в решетку железа (адсорбция);

диффузия атомов насыщающего элемента вглубь металла.

2.4 Поверхностное упрочнение


Среди методов поверхностного упрочнения наибольшее распространение получили поверхностная закалка, обработка лазером и электроискровое легирование. При поверхностной закалке на некоторую заданную глубину закаливается только верхний слой, тогда как сердцевина изделия остается незакаленной.[2].

Основное назначение поверхностной закалки: повышение твердости, износостойкости и предела выносливости обрабатываемого изделия. Сердцевина изделия остается вязкой и воспринимает ударные нагрузки. Поверхностную закалку осуществляют несколькими методами: нагревом токами высокой частоты; нагревом.

Поверхностную закалку осуществляют несколькими методами:

нагревом токами высокой частоты (ТВЧ);

нагревом газовым пламенем.

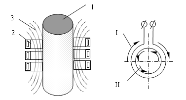
Закалка ТВЧ впервые предложена В. П. Вологдиным. При закалке по этому методу стальное изделие размещают внутри индуктора в форме спирали или петли.

Ток высокой частоты подводится от генератора к индуктору. Во время прохождения тока через индуктор в поверхностных слоях изделия за счет индукции возникает ток противоположного направления, нагревающий сталь. В связи с тем, что скорость нагрева ТВЧ значительно выше скорости нагрева в печи, фазовые превращения в стали происходят при более высоких температурах и температуры нагрева под закалку повышаются. Например, при нагреве ТВЧ со скоростью 400 °С/с температура закалки стали 40 с 840…860 °С повышается до 930…980 °С.

После прогрева ТВЧ стали до температуры закалки изделие охлаждают водой. При закалке ТВЧ получается высокодисперсная структура кристаллов мартенсита, обеспечивающая более высокую твердость и прочность стали, чем при печном нагреве.[3].

Рисунок 6.Схема нагрева токами высокой частоты: 1 - деталь; 2 - индуктор; 3 - магнитное поле; I - направление тока в индукторе; II - направление тока в детали

2.5 Плазменное поверхностное упрочнение деталей

Одной из наиболее перспективных обработок является плазменная технология, интенсивно разрабатываемая как в нашей стране, так и за рубежом.

Использование низкотемпературной плазмы эффективно не только для переплава металлов и сплавов; напыления износостойких, жаропрочных и коррозионностойких покрытий резки и сварки различных материалов, но и для поверхностного упрочнения различных изделий.

Плазменное поверхностное упрочнение находит широкое применение как в условиях мелкосерийного и единичного (в том числе ремонтного), так и крупносерийного и массового производства. Сущность его заключается в термических фазовых и структурных превращениях, происходящих при быстром концентрированном нагреве рабочей поверхности детали плазменной струей (дугой) и теплоотводе в материал детали.

2.6 Вакуумное ионно-плазменное упрочнение, ионное магнетронное распыление, ионное легирование


Вакуумное ионно-плазменное упрочнение Среди методов нанесения защитных покрытий, основанных на воздействии на поверхность детали потоков частиц и квантов с высокой энергией, большое внимание уделяется вакуумным ионно-плазменным методам. Характерной их чертой является прямое преобразование электрической энергии в энергию технологического воздействия, основанное на структурно-фазовых превращениях в осажденном на поверхности конденсате или в самом поверхностном слое детали, помещенной в вакуумную камеру.

Основным достоинством данных методов является возможность создания весьма высокого уровня физико-механических свойств материалов в тонких поверхностных слоях, нанесение плотных покрытий из тугоплавких химических соединений, а также алмазоподобных, которые невозможно получить традиционными методами. Кроме того, эти методы позволяют:

• обеспечивать высокую адгезию покрытия к подложке;

• получать равномерные покрытия по толщине на большой площади;

• варьировать состав покрытия в широком диапазоне, в пределах одного технологического цикла;

• получить высокую чистоту поверхности покрытия;

• обеспечивать экологическую чистоту производственного цикла.

Методы вакуумной ионно-плазменной технологии:

) Модифицирование поверхностных слоев:

• ионно-диффузионное насыщение; (ионное азотирование, науглероживание, борирование и др.);

• ионное (плазменное) травление (очистка);

• ионная имплантация (внедрение);

) Нанесение покрытий:

• полимеризация в тлеющем разряде;

ионное осаждение (в триодной распылительной системе, диодной распылительной системе, с использованием разряда в полом катоде);

• электродуговое испарение;

• ионно-кластерный метод;

• катодное распыление (на постоянном токе, высокочастотное);

• химическое осаждение в плазме тлеющего разряда.

Современные вакуумные ионно-плазменные методы упрочнения (модифицирования) поверхностей деталей машин включают следующие этапы:

• генерацию (образование) корпускулярного потока вещества;

• активизацию, ускорение и фокусировку;

• конденсацию и внедрение в поверхность деталей (подложек).

Испарение: переход конденсированной фазы в пар осуществляется в результате подводок тепловой энергии к испаряемому веществу.[4].

 

Заключение


При рыночной экономике одной из важных задач является обеспечение качества деталей машин, повышение их эксплуатационных показателей. Эти показатели определяются параметрами качества поверхностного слоя. Около 70% причин выхода из строя машин и механизмов связано с износом узлов трения. Следовательно, одним из направлений обеспечения качества машин является повышение износостойкости этих деталей, которое может быть достигнуто путем включения периода приработки на стадию изготовления за счет применения соответствующих технологических процессов изготовления. Износ зависит от многих параметров качества поверхностного слоя, поэтому важно знать возможности управления комплексом этих параметров в процессе обработки, включая геометрические, механические, физические и химические структурные свойства. При производстве деталей машин широко применяются различные методы поверхностного упрочнения. Изложенные в пособии технологии поверхностного упрочнения деталей машин позволяют достигать требуемого качества изделия и формировать у студентов системный подход к решению актуальных задач повышения долговечности деталей и узлов машин.

Список литературы

1. Научные основы материаловедения: Учебн для вузов / Б.Н. Пастухова. - М.: Изд-во МВТУ им. Н.Э. Баумана, 2009. - 336с.

. Материаловедение и технология металлов: Учебник /под ред. Г.П. Фетисова. - М.: Высш шк., 2008. - 640с.

. Металловедение и технология металлов: Учебн. для вузов /Ю.П. Солнцев, В.А. Веселов, В.П. Деменцова и др. - М.: Металлургия, 2011.-512с.

. Лахтин Ю.М., Леонтьева В.П. Материаловедение; Учеб. для втузов.- М.: Машиностроение, 2010. - 528с.: ил.

Похожие работы на - Современные методы упрочнения металлов

 

Не нашли материал для своей работы?
Поможем написать уникальную работу
Без плагиата!
Без нейросетей!