Технологические особенности газотермических методов напыления

  • Вид работы:
    Курсовая работа (т)
  • Предмет:
    Другое
  • Язык:
    Русский
    ,
    Формат файла:
    MS Word
    228,26 Кб
  • Опубликовано:
    2013-10-17
Вы можете узнать стоимость помощи в написании студенческой работы.
Помощь в написании работы, которую точно примут!

Технологические особенности газотермических методов напыления

Содержание

Введение

1. История возникновения и развития технологии напыления

1.1 Современные методы технологии напыления

2. Преимущества и недостатки технологии напыления

2.1 Преимущества технологии напыления

2.2 Недостатки технологии напыления

3. Технологические особенности газотермических методов напыления. Классификация процессов газотермического напыления покрытий

4. Виды установок напыления

Заключение

Список литературы

Введение

Напыление представляет собой процесс нанесения покрытия на поверхность детали с помощью высокотемпературной скоростной струи, содержащей частицы порошка или капли расплавленного напыляемого материала, осаждающиеся на основном металле при ударном столкновении с его поверхностью.

В ряду современных способов поверхностной обработки материалов напыление занимает особое место. Напыление имеет отличительные особенности, знание которых необходимо для правильного выбора технологии нанесения покрытий для каждого конкретного случая. Для выбора оптимального способа нанесения покрытия необходимо учитывать форму и размеры изделий; требования, предъявляемые к точности нанесения покрытия, его эксплуатационным свойствам; затраты на основное и вспомогательное оборудование, наплавочные материалы и газы, на предварительную и окончательную обработку покрытий; условия труда и другие факторы производственного и социального характера.

Существующую технологию напыления в зависимости от применяемого источника тепловой энергии можно разделить на два основных вида: газопламенное напыление, при котором используется теплота, выделяющаяся при сгорании смеси горючего газа с кислородом, и электрическое напыление, основанное на использовании теплоты, выделяющейся при горении электрической дуги.

1. История возникновения и развития технологии напыления


История напыления насчитывает уже десятки лет, в течение которых совершенствовался способ упрочнения деталей машин, разрабатывались новые источники нагрева, имеющие высокие энергетические характеристики; создавалась аппаратура для непрерывной подачи напыляемого материала в виде проволоки или порошка; разрабатывалось и изготовлялось комплектное оборудование, типы и модификации которого к настоящему времени стали достаточно многочисленными.

Первые газотермические покрытия были получены в начале XX в. М.У. Шоопом, который распылил расплавленный металл струей газа и, направив этот поток на образец - основу, получил на ней слой покрытия. По имени автора, этот процесс называли шоопированием и он был запатентован в Германии, Швейцарии, Франции и Англии. Конструкция первого газопламенного проволочного металлизатора Шоопа относится к 1912 г., а первого электродугового проволочного металлизатора - к 1918 г.

До истечения срока действия основного патента, взятого М. Шоопом, фундаментальных исследований по разработке технологии и установлению границ применения процесса не проводили. Вследствие этого процесс очень мало применяли в промышленности. В первые годы после появления способа специалисты часто отклоняли этот процесс в целом. По-видимому, это вызывалось в основном незнанием границ его применения, отсутствием обоснованных технологических режимов и недостаточно надежной (безопасной) работой газовых металлизационных аппаратов. В первых аппаратах смешение горючего газа и кислорода происходило непосредственно по выходе газов из сопла. Горючий газ и кислород подавали под равным давлением. При неточной работе редукторов происходило перетекание кислорода в ацетиленовые шланги и наоборот. Обратные удары пламени часто вызывали воспламенение шлангов, и даже взрывы баллонов. Для уменьшения этой опасности создавали различные устройства, позволяющие регулировать давление, но использовали это только для сварочных горелок, а не для металлизационных аппаратов.

С 1952 г. выпускаются только инжекторные газовые аппараты, безопасные от обратных ударов пламени. Способ напыления металлов вначале применяли для защиты от коррозии. Во Франции, например, уже в 1920 г. более крупные стальные конструкции напыляли цинком. Значительно позднее установили, что в целях повышения износостойкости возможно напыление сталью опорных частей валов. Впервые такую работу провели в 1936 г. Металлизация втулок и подшипников скольжения была осуществлена в 1941 г. Напротив, нанесение металлических покрытий для декоративных целей и экранирования применялось уже с момента появления процесса. Керамические изоляторы высокого напряжения уже в 1918 г. покрывались медью и алюминием. После 1945 г. было проведено много фундаментальных исследований, сконструированы новые безопасные в работе и производительные аппараты и разработаны технологические режимы. К 1950 г. это вызвало во многих странах стремительное развитие техники металлизации.

В отечественной промышленности газопламенную металлизацию стали применять с конца 20-х годов. В конце 30-х годов она была успешно заменена электродуговой металлизацией. Аппаратуру для электродуговой металлизации создали Н.В. Катц и Е.М. Линник.

Создание в конце 50-х годов надежной техники генерирования низкотемпературной плазмы, позволило разработать первые плазмотроны для нанесения покрытий из проволоки и порошков. В начале 60-х годов ВНИИАвтогенмаш, НИАТ, ИМЕТ им. А.А. Байкова АН СССР, учебные вузы МАТИ им. К.Э. Циолковского, Ленинградский политехнический институт им.М.И. Калинина и МВТУ им. Н.Э. Баумана создали и выпустили первые отечественные плазмотроны и установки для нанесения покрытий. В настоящее время это один из наиболее развитых процессов плазменной обработки позволяющий не только упрочнять поверхность конструкционных материалов, но и дающий возможность создавать новые композиционные материалы и покрытия, которые не могут быть получены другими методами.

Плазменное напыление резко повысило качество газотермических покрытий, поскольку, появилась возможность в широких масштабах управлять энергетикой процесса и создавать покрытия, практически из любых материалов. Однако, без развития теории образования газотермических покрытий невозможно управлять этим процессом и оптимизировать технологию. Обычно, исследуют свойства покрытия в целом и определяют его некоторые служебные характеристики. Однако, такой подход не позволяет выявить природу и дать оценку физико-химическим явлениям, образования покрытия, а также его прочному сцеплению с основой.

В 60-х годах в ИМЕТе им.А. А. Байкова АН СССР под руководством академика Н.Н. Рыкалина В.В. Кудиновым, М. X. Шоршоровым и другими были проведены исследования, в основу которых были положены принципы анализа пространственно-временной структуры формирования газотермических покрытий и развития тепловых и динамических процессов, сопровождающих удар, растекание и кристаллизацию напыляемых частиц. Одновременно с использованием современных методов исследования - оптической и электронной сканирующей микроскопии, фазового рентгеновского анализа, электронографии, электрофизических измерений, методов селективного травления, определяли энергетические условия и кинетику развития процессов образования покрытия. Эти работы составили основу современной теории формирования газотермических покрытий. Главной частью теории являются представления о контактном взаимодействии частиц при образовании напыленного покрытия, а также оценка условий распыления и переноса материалов от источника распыления на поверхность изделия. Теория дает определенные представления об образовании покрытий и объясняет их основные свойства. При этом предложен ряд критериев, позволяющих оценивать термические, энергетические и физико-химические условия контактного взаимодействия частиц, которое приводит к образованию слоя покрытия и его прочному сцеплению с напыляемой поверхностью. Эти критерии дают возможность рассмотреть с единых позиций и обосновать как технологию, так и способы газотермического напыления. Кроме того, они помогают находить оптимальные режимы напыления, а также "конструировать" покрытия сложного состава, используя для этой цели материалы с различными физико-химическими и механическими свойствами. Такие многокомпонентные покрытия обладают комплексом свойств, которым не отвечают эти материалы в отдельности.

Одним из специальных видов газопламенного напыления является напыление, при котором используется энергия взрыва (детонация) ацетилено-кислородной смеси. Детонационный метод позволяет наносить покрытия из тугоплавких материалов.

Самой популярной и старой разновидностью электрического напыления является дуговая металлизация. Ранее при такой металлизации использовали дугу, горящую на переменном токе, что не позволяло получать устойчивый процесс распыления проволоки. В настоящее время для создания дуги в электрометаллизаторах используют постоянный ток, обеспечивающий лучшую стабильность процесса нанесения покрытия. Разработанный в последнее время способ электроимпульсного нанесения покрытий дал хорошие результаты при нанесении покрытий на внутренние цилиндрические поверхности деталей машин. В настоящее время этот метод продолжают совершенствовать.

В процессе больших качественных и количественных изменений, происходящих в современном промышленном производстве, напылению суждено стать одной из перспективнейших технологий, широкое применение которой будет сопровождаться повышением производительности оборудования для нанесения покрытий с оснащением его средствами механизации и автоматизации.

В качестве исходных материалов для напыления используют металлическую проволоку, керамические прутки, порошковые металла и сплавы, порошковые керамические материалы. Увеличение многообразия форм и видов напыляемых материалов, радикальное повышение их качества сопровождалось постепенным повышением и качества самих покрытий, получаемых напылением. Современный уровень технологии напыления позволяет осуществлять восстановление и упрочнение деталей машин и механизмов порошковыми композиционными материалами и получать специальные покрытия, обладающие уникальными свойствами.

Таким образом, напыление развилось в особую технологию поверхностной обработки материалов, отличающуюся большим своеобразием и областями применения.

1.1 Современные методы технологии напыления


По причинам коррозии и износа ежегодно теряется 12% всего произведенного в мире металла. Как правило, оба эти фактора действуют локально на определенные зоны на поверхности детали или узла. Конструкторы применяют различные методы защиты: от окраски до гальванического хромирования, однако каждый из методов имеет свои недостатки и ограничения.

Одним из решений данных задач может быть создание износостойких коррозионностойких наноструктурированных покрытий методами газотермического напыления. Данные покрытия обещают существенные преимущества для защиты контактных аппаратов нефтепереработки, химии и нефтехимии, изнашивающихся поверхностей насосно-компрессорной техники, труб пароперегревателей и пр.

В последнее десятилетие быстро развивается группа высокоскоростных методов нанесения порошковых покрытий, объединенных, в английском, термином HVOF (High Velocity Oxy-Fuel), русский аналог которого ГПС (газопламенное сверхзвуковое). Распыляемые материалы - полимеры, карбиды, металлы - образуют термобарьерные, износо- и коррозионностойкие покрытия высокого качества, которые выдерживают воздействие ударно-абразивных и химически активных сред, высоких тепловых нагрузок.

Альтернативные методы - холодное газодинамическое (ХГН), детонационное (ДН) и плазменное (ПН) способы напыления.

ХГН обеспечивает получение покрытий высокого качества. Однако это возможно только при использовании относительно легкоплавких материалов (Zn, Al, сплавы карбидов с металлами с большой долей металлической матрицы), что не позволяет использовать ХГН для защиты от износа в условиях эрозии, агрессивных сред при высоких температурах. Кроме того, требуется подача газов под давлением до 2.2 МПа, что в производственных условиях не технологично и опасно для применения.

Сравнение ДН и ГПС напыления показывает, что качество покрытий, выраженное в параметрах: адгезии, пористости, степени окисления - одного уровня. Однако ГПС-методы более технологичны, выше производительность, а удельные затраты по нанесению покрытий снижены.

При ПН распыляемый материала перегревается на 1000…3000° К выше точки плавления. Это приводит к интенсивному насыщению газами, низкому тепловому КПД, высоким остаточным напряжениям в покрытии. Использование вакуума исключает первый недостаток, однако повышает стоимость оборудования.

По относительной стоимости ГПС-покрытия одного уровня с ПН и в 2 раза дешевле ДН, вакуумно-плазменных. Отечественные ГПС-разработки находятся на опытной стадии, или уступают зарубежным аналогам по производственным параметрам. Ниже проведен сравнительный анализ особенностей передового оборудования в этой области. Данные будут полезны при выработке направлений технического развития и для принятия решения об использовании определенного вида оборудования на предприятии.

Шиберные вентиля и шаровые краны в нефте - и газоперерабатывающей промышленности подвержены интенсивному абразивному и эрозионному износу (среды - песок, отстой, твердые включения; давление > 130 МПа; температура > 600° С коррозионные реагенты - морская вода, H2S, HCl). Ранее такие нагрузки выдерживали только детонационные покрытия WC-Co-Cr. Сравнительные испытания показали, что эрозионная стойкость аналогичных, по составу, ГПС-покрытий в 1,5…2 раза выше, чем у детонационных.

В энергетике и авиакосмической промышленности у лопаток паровых и газовых турбин восстанавливаются торцевые размеры, защищается рабочая поверхность от окисления и высокотемпературной коррозии.

ГПС-покрытия заменяют электролитический хром (шасси самолетов, полиграфическое оборудование). При этом чистота обработки аналогична, износостойкость повышена, а также значительно снижены затраты на обеспечение экологичности производства.

ГПС-покрытия обеспечивают эффективную защиту от агрессивных коррозионных сред. Они применяются при ремонте емкостей (бумажная, химическая промышленность), элементов теплообменников тепловых станций.

Для ГПС характерно, что температура частиц распыляемого материала близка к точке плавления основных металлов, а их скорости повышены, в сравнении с другими методами. Эти особенности позволяют снизить насыщение распыляемых частиц газами атмосферы при обеспечении высокого импульсного давления при ударе частиц о поверхность основы. В результате структура покрытия сочетает низкие пористость и степень окисления с высокой адгезионной прочностью, 80…150 МПа.

Развитие ГПС-оборудования началось с систем первого поколения. В этих установках горение осуществляется при давлении 0,3…0,5 МПа, а струя газа достигала сверхзвуковых скоростей при расширении на выходе из сопла. Это обеспечивает скорости частиц ~ 450 м/с (WC-17Co, фракция 45±10 мкм). Современные установки - Top Gun К, JP-5000, OSU Carbide Jet, DJ2600/2700, Intelli-Jet - работают при давлении в камере сгорания 0,6…1,0 МПа, а увеличение скорости струи продуктов сгорания до сверхзвуковой происходит внутри горелки. Это обеспечивает повышение скорости частиц до 800 м/с. Кроме того, эффективность теплопередачи к частицам выше, что увеличивает производительность напыления при сравнимых расходах газов. Сравнение покрытий показывает, что по пористости, адгезии, микротвердости лучшие показатели у JP-5000, DJ2600/2700, Intelli Jet.

Все эти установки стабильны в работе, оснащены блоками дистанционного компьютеризованного управления и соответствуют требованиям электро- и пожаробезопасности. Они различаются видами применяемых газов и порошков, а также схемами их подачи.

В установках JP-5000 и Diamond Jet Hybrid (DJ2600/2700) в камеру сгорания подаются кислород и горючий газ. Отличия - в конструктивном исполнении подачи порошка, схеме смешения газов и вида горючего газа. Для JP-5000 это керосин, для Diamond Jet Hybrid - пропан, пропилен, этилен (DJ2700) или водород (DJ2600). В этих системах предусмотрено водяное охлаждение, а в DJ-установках теплонагруженные узлы дополнительно охлаждаются воздухом. Интенсивная теплоотдача стенкам сопла и ствола при водяном охлаждении обуславливает высокие энергетические потери струи продуктов сгорания. Это вынуждает снижать производительность для поддержания уровня качества.Jet отличается использованием воздуха в качестве как окислителя, так и охлаждающей среды. Горючие газы - пропан, пропилен. Для повышения эффективности камера сгорания оснащена каталитическим элементом, а распыляющая струя дополнительно подогревается в каскадном сопле.

Достигнуты серьезные успехи в деле продления ресурса оборудования в различных отраслях промышленности. По результатам работы зарегистрированы изобретения и внедрены в производство новые типы энергосберегающих и менее материалоемких деталей и узлов. Техническая значимость проекта дополняется следующими факторами:

Экологический. В настоящее время большая часть задач упрочнения и защиты от коррозии деталей машин решается методами гальванического хромирования, химникелирования, химико-термической обработки. Большинство из этих методов запрещено к использованию во многих странах мира из-за сильных канцерогенных факторов. Внедрение наноструктурированных защитных покрытий позволит улучшить экологическую ситуацию во многих российских городах. Но есть и еще более существенный фактор влияния на экологию. За счет продления ресурса деталей машин потребуется меньше работ по их производству, ремонту, восстановлению, что позволит сократить выбросы при их производстве, промывке, переплавке и т.д.

Ресурсосбережение. Использование износостойких коррозионностойких наноразмерных покрытий позволяет решить поставленную инженерную задачу путем создания тонкой пленки вещества со специальными свойствами на поверхности детали или изделия. Таким образом, становится возможным производство детали из более дешевого материала, либо с меньшей толщиной стенки, без использования дорогих и редких материалов. Таким образом, применение наноструктурных покрытий позволяет сберегать ценные ресурсы.

Импортозамещение. Защитные покрытия, наносимые газотермическими методами, развиты в странах большой семерки на порядок лучше, чем в России. Например, в Германии работает порядка 2000 установок газотермического напыления, в России - не более 100. Вследствие чего в России зачастую производятся более дорогие и менее надежные детали и изделия. Внедрение новых технологий создания наноструктурированных покрытий позволит не просто догнать западных производителей, но и увеличить потребительские качества деталей и оборудования при одновременном снижении цены.

Общеэкономический. Применение более надежного оборудования позволяет сократить простои для технического обслуживания и ремонта, что повышает коэффициент использования оборудования, а это позволяет повысить отдачу капитала на основные фонды, повысить производительность труда. Повышение конкурентоспособности российской продукции позволяет увеличить ВВП, предупредить безработицу. Оборудование для газотермического напыления настолько компактно и легко в настройке, что может быть установлено в малоподготовленном помещении, таким образом, может использоваться для развития промышленного производства в малых городах.

2. Преимущества и недостатки технологии напыления


2.1 Преимущества технологии напыления


1) Возможность нанесения покрытий на изделия, изготовленные практически из любого материала. Напылением можно наносить покрытия на изделия, изготовленные не только из металла, но и из стекла, фаянса и фарфора, органических (включая дерево, ткань, бумагу, картон) и многих других материалов. Этим преимуществом не обладает ни один из известных способов поверхностной обработки, из которых одни пригодны только для металлов, а другие, хотя и обладают многими ценными преимуществами, применимы не для всех материалов.

) Возможность напыления разных материалов с помощью одного и того же оборудования.

) Отсутствие ограничений по размеру обрабатываемых изделий. Покрытие можно напылить как на большую площадь, так и на ограниченные участки больших изделий. При нанесении же металлопокрытия электролитическим осаждением, погружением в расплав или диффузионным насыщением (азотированием, цементацией и др.) возможности обработки изделия ограничены размерами ванны либо печи. Напыление приносит большие экономические выгоды в случае неприемлемости других способов упрочнения, например, когда необходимо нанести покрытие на часть большого изделия.

) Возможность применения для увеличения размеров детали (восстановление и ремонт изношенных деталей машин). Во избежание выбраковки изделия, при механической обработке которого срезан излишний металл, или при реставрации деталей с большим износом, напыление, как и наплавку, можно использовать как способ восстановления размеров деталей. Напылением можно наносить слой толщиной в несколько миллиметров, тогда как при электролитическом хромировании, например, осуществляемом с целью повышения износостойкости, толщина слоя составляет 6…300 мкм.

) Относительная простота конструкции оборудования для напыления, его малая масса, несложность эксплуатации оборудования для напыления, возможность быстро и легко перемещаться. В комплекте оборудования для газопламенного напыления достаточно иметь компрессор, который можно также использовать для предварительной пескоструйной обработки поверхности изделия, горелку для напыления и газовые баллоны. Если же имеется источник электроэнергии, то напыление можно проводить электрическими методами.

) Возможность широкого выбора материалов для напыления. Для напыления можно использовать различные металлы, сплавы, соединения металлов с оксидами, пластмассы, различные химические соединения и их смеси. Возможно также нанесение многослойных покрытий разнородными материалами, что обеспечивает получение покрытий со специальными свойствами.

) Небольшая деформация изделий под влиянием напыления. Многие способы поверхностной обработки изделия требуют нагрева до высокой температуры всего изделия или значительной его части, что часто становится причиной его деформации.

) Возможность использования напыления для изготовления деталей машин различной формы. Напыление производят на поверхность формы-оправки, которую после окончания процесса удаляют: остается оболочка из напыленного материала.

) Простота технологических операций напыления, относительно небольшая трудоемкость, высокая производительность нанесения покрытия.

) Не требуется специальной дорогостоящей обработки (очистки) продуктов, загрязняющих окружающую среду, в отличие от средств очистки и нейтрализации при гальванических видах обработки изделий.

2.2 Недостатки технологии напыления


1) Малая эффективность нанесения покрытий на мелкие детали из-за низкого коэффициента использования напыляемого материала (отношение массы покрытия к общей массе израсходованного материала). В таких случаях поверхностную обработку мелких деталей целесообразно осуществлять гальваническим, химическим, физическим и другими способами (например, диффузионным насыщением, электролитическим" из расплавов металлов и пр.).

) Вредные условия работы операторов во время предварительной обработки поверхности изделий. Для предварительной подготовки поверхности перед напылением используют пескоструйную или дробеструйную обработку с помощью кварцевого песка, корунда, стальной или чугунной дроби. Эта операции сопровождается загрязнением рабочего участка и ухудшает условия работы оператора, обслуживающего установку.

) Выделение дыма и аэрозолей во время напыления. Процесс напыления сопровождается образованием облака мельчайших частиц напыляемого материала, взаимодействие которых с окружающим воздухом сопровождается образованием различных соединений и дыма. Вредность соединений и дыма для здоровья людей требует мощных вытяжных устройств.

3. Технологические особенности газотермических методов напыления. Классификация процессов газотермического напыления покрытий


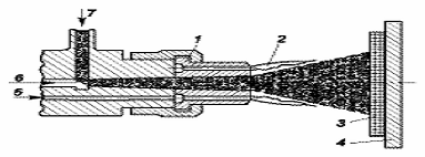
В методах и технологии газотермического напыления имеется много общего. При малом числе методов встречается большое количество их разновидностей, называемых способами газотермического напыления покрытий. Обобщенная схема процесса газотермического напыления показана на рисунке 1.

- генератор напыляемых частиц;

- двухфазная струя;

- покрытие;

- напыляемое изделие;

- подача распыляемого материала;

- подача распыляющего газа.


Распыляемый материал в виде порошка, проволоки (шнуров) или стержней подают в зону нагрева. Различают радиальную и осевую подачу материала. Нагрев напыляемых частиц совмещают с распыляющим газом. Основное его назначение состоит в распылении и ускорении частиц в осевом направлении. В ряде методов напыления распыляющий газ выполняет и функцию нагрева.

В основу классификации процессов газотермического напыления покрытий положены следующие признаки:

Вид энергии. Различают методы с использованием электрической энергии (газоэлектрические методы) и методы, в которых тепловая энергия образуется за счет сгорания горючих газов (газопламенные методы).

Вид источника теплоты. Для нагрева распыляемого материала используют дугу, плазму, высокочастотные индукционные источники и газовое пламя. Соответственно этому установились названия методов напыления: электродуговая металлизация, плазменное напыление, высокочастотная металлизация, газопламенное напыление, детонационно-газовое напыление. Первые три метода относятся к газоэлектрическим, последние - к газопламенным.

Вид распыляемого материала. Применяют порошковые, проволочные (стержневые) и комбинированные способы напыления. При комбинированных способах используют порошковую проволоку.

Вид защиты. Известны способы напыления без защиты процесса с местной защитой и с общей защитой в герметичных камерах. При общей защите различают ведение процесса при нормальном (атмосферном) давлении, повышенном и при разрежении (в низком вакууме).

Степень механизации и автоматизации процесса. При ручных способах напыления механизирована только подача распыляемого материала; механизированных - также и перемещение распылителя относительно напыляемого изделия. Часто используют движение напыляемых изделий относительно неподвижного распылителя. Уровень автоматизации процессов напыления зависит от конструкции установки. В простейших вариантах автоматизация отсутствует. В сложных комплексах возможна полная автоматизация процесса.

Периодичность потока. Большинство методов напыления осуществляется непрерывным потоком. Для некоторых методов возможно только циклическое ведение процесса. Покрытие формируется в импульсном режиме напыления, чередуемое паузами Газотермические методы напыления широко используют для нанесения покрытий различного назначения. В основном, это защитные покрытия, повышающие коррозионную стойкость изделий или снижающие износ рабочих поверхностей. На многие детали и узлы напыляют теплозащитные или электроизоляционные покрытия.

Параметры режима работы распылителя. Наибольшее влияние на эффективность процесса оказывает подводимая к распылителю энергия и расход распыляющего газа. Подводимая энергия реализуется в источник теплоты для нагрева распыляемого материала: дугу, непосредственно плавящую материал, плазму, газовое пламя и др. Степень использования энергии определяется значениями. Тепловая мощность источника нагрева определяет производительность процесса. Следует учитывать, что только часть тепловой мощности источника расходуется на нагрев распыляемого материала.

Расход распыляющего газа определяет скорость газового потока и, соответственно, его эффективность при распылении материала. С увеличением расхода возрастает скорость напыляемых частиц. При больших расходах распыляющего газа уменьшается температура напыляемых частиц, а их скорость может превысить допустимые значения.

Параметры распыляемого материала и условий его ввода. Наиболее важными параметрами являются: физико-химические свойства распыляемого материала, диаметр проволоки (стержней) и порошковых частиц, а также скорость их подачи в зону нагрева и распыления. Большое влияние на эффективность процесса оказывает характер ввода распыляемого материала. Например, осевая подача порошка в большинстве методов напыления более предпочтительна. При этом возрастает температура напыляемых частиц и их скорость. Существенно может быть также повышена компактность потока частиц.

Газотермическое напыление порошками производится с применением частиц диаметром 10…200 мкм. При увеличении размеров порошковых частиц для их прогрева требуется увеличение мощности распылителя. Аналогичное влияние оказывает повышение температуры плавления и снижение плотности порошка.

Тонкодисперсные порошки трудно вводить в распылитель. Кроме того, они обладают малой инерционностью. Металлические порошки легко окисляются на всю глубину. Скорость подачи порошка (массовый расход) выбирают из условия не существенного снижения энтальпии источника теплоты. Этот параметр определяется экспериментально по максимальному значению коэффициента использования материала Км.

В число параметров должна входить форма порошка, морфология при использовании композиционных порошков и др.

Параметры, характеризующие внешние условия напыления. Наиболее значимыми параметрами этой группы являются; дистанция напыления, угол напыления температура изделия в процессе нанесения покрытия, его форма и размеры, скорость перемещения пятна напыления и др.

С увеличением дистанции снижается температура и скорость напыляемых частиц вблизи поверхности напыления. Кроме того, возрастание длины пробега напыляемых частиц может быть связано с большими возможностями их окисления и насыщения газами. Продолжительность времени пребывания напыляемых частиц при переносе способствует завершению экзотермической металлотермической реакции. При этом достигается максимум значения энтальпии потока напыляемых частиц. С увеличением дистанции возрастает диаметр пятна напыления. Это позволяет получать покрытия более равномерные по толщине. Возрастание дистанции снижает вероятность перегрева напыляемых изделии.

Параметры распыляющей струи и потока напыляемых частиц. Эта группа параметров зависит от ранее рассмотренных и оказывает непосредственное влияние на эффективность напыления К ним относятся - температура, энтальпия и скорость газовой струи по оси и в сечениях, угол расхождения струи; температура, энтальпия и скорость потока частиц, особенно, вблизи поверхности напыления; угол расхождения и плотность потока частиц.

Газовая струя выполняет либо одну функцию, связанную только с распылением расплавленного материала, либо, чаще, две. Во втором случае газовая струя выполняет и функцию нагрева частиц. В обоих случаях скорость напыляемых частиц определяется скоростью газового потока. При нагреве высокотемпературной газовой струей важное значение имеет ее температура и энтальпия. Эффективность процесса возрастает с увеличением температуры напыляемых частиц. Поэтому необходимо стремиться к нагреву частиц до температуры' плавления и выше. При этом скорость частиц должна быть оптимальной и составлять 100…300 м/с. Недостаточная скорость частиц обусловливает - невысокие прочностные свойства покрытий и большое количество несплошностей. Высокие скорости недопустимы из-за повышенного разбрызгивания частиц при ударе. При формировании покрытий из нерасплавленных частиц, находящихся в вязкопластическом состоянии, необходимо стремиться к высоким скоростям, составляющим 800…1200 м/с. Благодаря этому будет обеспечена высокая эффективность процесса. Производительность в значительной мере определяется плотностью потока напыляемых частиц.

4. Виды установок напыления


1 - воздушное сопло;

- газовое сопло;

- пруток;

- направляющая трубка.

Рисунок 2 - Схема проволочного распылителя.

Проволочный распылитель (см. рисунок 2) имеет распылительную головку, по оси которой подается проволока, пруток или шнур. Горелка с дополнительным воздушным соплом, предложенная М.М. Морозовым (см. рисунок 3), обеспечила интенсивный нагрев поверхности подаваемого материала за счет прижатия пламени к распыляемому материалу расширяющимся воздушным конусом.

Воздух дополнительно ускорял и дробил частицы материала.

 

- дополнительное воздушное сопло;

- воздушное сопло;

- газовое сопло.

Рисунок 3 - Распылитель с двойным воздушным соплом.

 

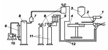
- порошковый распылитель;

- проволочный распылитель;

- порошковый питатель;

- бухта проволоки на вращающемся столе;

- ротаметры газовые;

- газовые баллоны;

- фильтр;

- ресивер;

- воздушный ротаметр;

- компрессор.

Рисунок 4 - Схема универсальной установки газопламенного напыления.

На рисунке 4 представлена схема универсальной установки для газопламенного напыления. Фирма Norton Packо Industrial Ceramics (США) с 50-х годов специализируется на выпуске стержневых материалов для напыления керамики. В настоящее время фирма выпускает стержни из оксидов диаметром до 8 мм. Достоинством подачи керамики в виде стержней является гарантия проплавления материала, недостатком - прерывистость процесса, влияющая на качество поверхности покрытия. Лучший газопламенный стержневой распылитель УР-2А конструкции М.М. Коноплина был разработан в конце 50-х годов в ВИАМе. Распылитель имел дополнительное воздушное сопло, направляющее воздух в радиальном направлении в зону плавления керамического стержня, где осевая скорость частиц была невелика. "Загибающий" воздух дробил относительно крупные (100…160 мкм) расплавленные частицы на более мелкие (20…40 мкм) и направлял их под углом 45…50° к поверхности изделия. Дистанция напыления составляла 50 мм. Плотность покрытий из стержней со связующим на жидком стекле достигала 95%. Осевое расположение распылителя и малая дистанция напыления позволяли наносить покрытия на внутреннюю поверхность трубы диаметром 100 мм.

В отличие от иностранных и отечественных распылителей пистолетного типа оператор работал сидя, в удобной позе, держа распылитель на коленях.

Современный российский проволочный газопламенный распылитель типа MDP-115, с приводом от электродвигателя мощностью 150 Вт работает на проволоке диаметром 3…3.17 мм из различных материалов (коррозионно-стойкие и углеродистые стали, латуни, бронзы, баббиты, Al, Cu, Mo, Zn, Sn, Pb, сплавы на никелевой и кобальтовой основах).

Производительность по цветным металлам - до 15 кг/ч, по стали и сплавам - до 9 кг/ч, расход кислорода - 50 л/мин, расход ацетилена или пропана - до 20 л/мин. Давление воздуха - 0,5 МПа. Масса распылителя - 4,1 кг. Он может комплектоваться автоматической установкой, оснащенной роботизированной системой, боксом и пультом дистанционного управления.

- газовое сопло;

- кольцевое пламя;

- покрытие;

- подложка;

- горючий газ;

- кислород;

- порошок.

Рисунок 6 - Схема порошкового распылителя.

Порошковый распылитель схематично представлен на рисунке 6. Порошковая струя окружена кольцом пламени. При перемешивании струй пламени и газопорошковой взвеси происходит теплообмен. Частицы нагреваются до температуры плавления и переносятся на подложку. Порошковые установки предназначены для напыления легкоплавких материалов - цинка, термопластичных пластмасс (температура плавления до 800°С), и для напыления тугоплавких материалов, имеющих температуру плавления до 2050° С, но в основном - для нанесения самофлюсующихся материалов.

газотермический напыление газопламенный установка

Заключение


Газопламенное напыление за длительный период применения подвергалось существенным усовершенствованиям как по линии модернизации оборудования, так и в направлении улучшения качества напыляемых материалов. В настоящее время газопламенное напыление используют для нанесения покрытия из керамических тугоплавких материалов. Газопламенный метод находит широкое применение в технике для напыления и последующего оплавления покрытий из самофлюсующихся сплавов на основе никеля и кобальта. Таким образом процессы напыления продлевают срок эксплуатации оборудования, позволяют восстанавливать изношенные узлы, а не заменять их новыми. Применение функциональных покрытий дает возможность экономить дорогостоящие материалы, изготавливая основной объем детали из более дешевого металла. Внедрение в производство современных автоматизированных процессов газотермического напыления позволяет выпускать продукцию с высокими эксплуатационными свойствами, отвечающими требованиям современных технологий.

Список литературы


1. Хасун, А. Наплавка и напыление / А. Хасун, О. Моригани. - М.: Машиностроение, 1985.

. Газотермические покрытия из порошковых материалов / Ю.С. Борисов, Ю.А. Харламов, С.Л. Сидоренко, - К.: Наукова думка 1987.

. Гурд Л.М., Основы технологии напыления. М., 1985.

. Информационный сайт http://www.metalika.ua

Похожие работы на - Технологические особенности газотермических методов напыления

 

Не нашли материал для своей работы?
Поможем написать уникальную работу
Без плагиата!
Без нейросетей!