Повышение износостойкости наплавленных поверхностей ударно-силовой обкатки
Введение
Важнейшей проблемой современного
машиностроительного производства как при производстве новых, так и при ремонте
вышедших из строя деталей является проблема управления качеством деталей машин.
Под качеством деталей понимают совокупность их свойств, обусловливающих
пригодность деталей отвечать своему функциональному назначению в заданном
диапазоне изменения условий эксплуатации. К числу таких свойств, называемых
эксплуатационными, относят выносливость, износостойкость, коррозионную
стойкость, жесткость и т.д. Эти свойства в соответствии с назначением деталей
количественно оценивают с помощью соответствующих показателей: предела
выносливости, интенсивности (или скорости) изнашивания, коррозионных потерь,
податливости и др.
Во многом проблема управления
качеством деталей машин может быть решена путем конструкторско-технологического
обеспечения их эксплуатационных показателей через так называемые функциональные
параметры качества поверхностных слоев. Первой предпосылкой этого является
наличие функциональной связи между эксплуатационными показателями и параметрами
качества поверхностных слоев деталей, позволяющей не только обосновывать
расчетным путем требования к параметрам качества, но и определять направления
технологического воздействия на поверхностные слои с целью обеспечения
номинальных значений и допускаемых отклонений их физически обоснованных
параметров. Второй предпосылкой решения рассматриваемой проблемы является
наличие функциональной связи между параметрами качества и технологическими
факторами (метод обработки, жесткость оборудования, конструкция и параметры
инструмента, режимы обработки и т.д.), позволяющей обоснованно подойти к выбору
факторов, под влиянием которых формируются заданные уровни качества деталей.
В последние годы в технологии металлообработки
широкое распространение получили динамические методы отделочно-упрочняющей
обработки поверхностей пластическим деформированием (ППД), среди которых важное
место занимает отделочно-упрочняющая обработка деталей многоконтактным
виброударным инструментом.
Актуальность работы. Обработка деталей машин поверхностным пластическим
деформированием является одним из наиболее простых и эффективных методов
упрочнения. Поверхностное пластическое деформирование повышает усталостную
прочность, контактную выносливость и износостойкость деталей и тем самым
увеличивает долговечность машин и оборудования. В результате поверхностного
деформирования изменяются микроструктура и физико-механические свойства
верхнего слоя металла: повышается его твердость и прочность, возникают
благоприятные сжимающие остаточные напряжения. Шероховатость поверхности
становится ниже.
Поскольку указанные требования
предъявляются к большинству ответственных деталей машин, отделочно-упрочняющая
обработка в настоящее время получает все более широкое распространение в
машиностроительной промышленности.
Особенно эффективным, является
локальное (местное) упрочнение ППД участков концентраторов напряжений, которое
значительно производительней и дешевле, чем повсеместное.
Уникальность локальной обработки
поверхностей деталей машин состоит в том, что создается реальная возможность
получения поверхностного слоя с переменными показателями качества. В результате
станет возможным реальное управление эксплуатационными показателями качества
поверхностного слоя деталей в зависимости от преобладающего эксплуатационного
фактора, а также внешних и внутренних воздействий, что, безусловно, приведет к
повышению их работоспособности и надежности. Активное развитие машиностроения
свидетельствует об острой необходимости разработки в современном машиностроении
принципов и путей осуществления различных видов локальной обработки
поверхностей деталей машин.
Цель и задачи
исследований. Цель исследований -
повысить износостойкость, производительность и снизить себестоимость ремонта
посадочных мест под подшипник качения электродвигателей поверхностным
пластическим деформированием.
Для достижения вышеуказанной цели
необходимо решить следующие задачи:
Обосновать причин появления
необходимости в отделочно-упрочняющей обработке поверхностей деталей машин;
Изучить различные методики
упрочнениия поверхностного слоя;
Разработать приспособление для
осуществления упрочнения поверхности ППД;
Исследовать качество поверхности,
обработанной по различным технологиям;
Разработать рекомендации по
применению ППД с целью повышения качества поверхности деталей.
Объектом исследования является технологический процесс ремонта посадочных мест под
подшипник качения электродвигателей.
Предметом исследования являются способы повышения качества поверхностного слоя после ППД
при ремонте посадочных мест под подшипник качения электродвигателей.
Методы исследования: теоретические методы, базирующиеся на фундаментальных положениях
теории пластического деформирования, экспериментальные методы.
Научная новизна
полученных результатов заключается в том,
что разработан новый метод повышения качества поверхностного слоя деталей
ударно-силовым обкатыванием поверхности, который предусматривает улучшение
шероховатости поверхности и повышение микротвердости обрабатываемых деталей.
. Разработана схема
обработки, реализующая новый метод ударно-силового обкатывания поверхности
деталей.
. Обосновано выбор
наивыгоднейшей стратегии разработки инструментов для поверхностно-пластического
деформирования.
. Экспериментально обосновано
выбор оптимальных режимов обработки при ударно-силовом обкатывании поверхности.
Практическое значение
полученных результатов
1. Разработано методику
которая позволяет в производственных условиях определять наивыгоднейшую схему
компоновки инструментов для поверхностно-пластического деформирования.
. Разработано конструкции
приспособлений для повышения качества обрабатываемой поверхности с применением
метода ударно-силового обкатывания.
Личный вклад дипломанта
Основные результаты исследований
получены дипломантом самостоятельно. Дипломант разработал новый метод обработки
поверхности пластическим деформированием с применением оригинальной конструкции
приспособления, которое обеспечивают повышение качества поверхности
обрабатываемых деталей. Постановка задач исследований и анализ некоторых
результатов выполнены совместно с руководителем дипломного проекта.
1. Анализ
технологического процесса ремонта посадочного места под подшипник качения с
применением порошковых покрытий
.1 Технология нанесения
покрытий фирмы ДИМЕТ
В современном машиностроении все
изделия проектируются по блочному типу и состоят из узлов и деталей, взаимное
расположение и закрепление которых определяется корпусной деталью. Среди
прочего назначения, корпусные детали также являются опорами для различных
валов, установка которых осуществляется в подшипниках. В процессе эксплуатации
различных изделий, таких как двигателя, редукторы, насосы и прочие, посадочные
места под установку подшипников изнашиваются и требуют либо замены дорогой корпусной
детали, либо её ремонта. Особенно это актуально для корпусных деталей,
изготовленных из алюминиевых сплавов, которые подвержены повышенному износу и,
в тоже время, являются достаточно дорогими деталями для замены.
При ремонте таких деталей в
производстве Конотопского ПТУ освоен метод порошкового напыления металлов,
разработанный фирмой ДИМЕТ® (Россия).
Технология нанесения металлов на
поверхность деталей использует газодинамический метод нанесения покрытий,
который состоит в том, что твердые частицы металла, движущиеся со сверхзвуковой
скоростью, прочно закрепляются на поверхности при соударении с нею.
Сверхзвуковые скорости придаются частицам оборудованием ДИМЕТ® с
помощью сжатого воздуха. К настоящему времени технология ДИМЕТ®
позволяет наносить покрытия из алюминия, цинка, меди, олова, свинца, баббитов,
никеля.
Технология нанесения покрытий
включает в себя нагрев сжатого газа (воздуха), подачу его в сверхзвуковое сопло
и формирование в этом сопле сверхзвукового воздушного потока, подачу в этот
поток порошкового материала, ускорение этого материала в сопле сверхзвуковым
потоком воздуха и направление его на поверхность обрабатываемого изделия (Рис.
1.1).
Рисунок 1.1 - Схема работы установки
порошковой наплавки ДИМЕТ 405
посадочный подшипник обкатывание качение
В качестве порошковых материалов
используются порошки металлов.
Газодинамический метод нанесения
металлических покрытий обладает рядом преимуществ по сравнению с традиционными
методами. Эти преимущества состоят в следующем:
покрытие наносится в воздушной
атмосфере при нормальном давлении, при любых значениях температуры и влажности
атмосферного воздуха;
при нанесении покрытий оказывается
незначительное тепловое воздействие на покрываемое изделие (изделие в зоне нанесения
покрытия не нагревается выше 100-150 Сo), что исключает
возникновение внутренних напряжений в изделиях и их деформацию, а также
окисление материалов покрытия и детали;
технология нанесения покрытий
экологически безопасна (отсутствуют высокие температуры, опасные газы и
излучения, нет химически агрессивных отходов, требующих специальной
нейтрализации);
при воздействии высокоскоростного
потока напыляемых частиц происходит очистка поверхности от технических
загрязнений, масел, красок и активация кристаллической решетки материала
изделия;
поток напыляемых частиц является
узконаправленным и имеет небольшое поперечное сечение. Это позволяет, в отличие
от традиционных газотермических методов напыления, наносить покрытия на
локальные (с четкими границами) участки поверхности изделий;
возможно нанесение многокомпонентных
покрытий с переменным содержанием компонентов по его толщине;
оборудование отличается
компактностью, мобильностью, технически доступно практически для любого
промышленного предприятия, может встраиваться в автоматизированные линии, не
требует высококвалифицированного персонала для своей эксплуатации;
путем простой смены технологического
режима оборудование позволяет проводить струйно-абразивную обработку
поверхностей для последующего нанесения покрытий или достижения декоративного
эффекта;
возможно нанесение различных типов
покрытий с помощью одной установки;
возможно использование
оборудованияне только в стационарных, но и в полевых условиях.
1.2 Технология ремонта
посадочного места под подшипник скольжения
Технологию ремонта посадочных мест
под подшипник скольжения рассмотрим на примере ремонта крышек корпуса
электродвигателя.
Слесарная.
Производится разборка
электродвигателя и мойка с целью удаления грязи и смазки с поверхности
обрабатываемых деталей. В данном случае посадочные места подшипников имеют
следы кустарного ремонта, а именно следы насечки, выполненные вручную (Рис.
1.2).
Рисунок 1.2 - Крышки корпусов
электродвигателя
Токарная.
На данной операции осуществляется
подготовка поверхности под напыление материала. С целью увеличения площади
контакта наплавленного слоя с деталью производят накатку поверхности рифлеными
роликами. В данном случае эта операция опускается, так как материал детали
достаточно мягок и накатка уже сделана.
Напыление.
Используя аппарат «ДИМЕТ-405»
производится ручное напыление слоя алюминиевого порошка на ремонтируемую
поверхность (Рис. 1.3 - 1.4). При наплавке применяется алюминиевый состав
А-20-11 фирмы ДИМЕТ.
При ручной наплавке толщина
наплавленного слоя изменяется в приделах 1…2 мм (Рис. 1.3 - 1.4). При
использовании более совершенного оборудования в режиме автоматической наплавки
поддержание заданной толщина наплавленного слоя не составляет труда.
Рис. 1.3 - Наплавленная левая крышка
электродвигателя
Рис. 1.4 - Наплавленная правая
крышка электродвигателя
020 Токарная.
Производится расточка наплавленного
металла до получения необходимого размера посадочных мест под подшипники (Рис.
1.5 - 1.6).
Рис. 1.5 - Расточенная правая крышка
электродвигателя
Рис. 1.6 - Расточенная левая крышка
электродвигателя
Проблем с проточкой покрытий,
нанесенных составом А-20-11, в следствие его невысокой твердости как правило не
возникает, однако материал покрытия процентов на 30 - 40 тверже прежнего
материала крышек изготовленных, как правило из алюминеевых сплавов марок АД31,
АК9Тм, АК6М2 и прочих по ГОСТ 1583-93.
Контрольная.
Производится контроль качества
обрабатываемой поверхности, и соответствие точности размера заданным требованиям.
Анализируя технологический процесс
ремонта посадочных мест под подшипники можно отметить, что данный процесс
достаточно прост и не требует применения сложного и дорогостоящего оборудования
и материалов. Квалификация рабочего персонала, как на операциях механической
обработки, так и на операциях наплавки достаточна в пределах 3 - 4 разряда.
Отремонтированная поверхность посадочного места в большинстве случаев ничем не
отличается от новой детали, а в некоторых случаях, например, при ремонте
алюминиевых деталей, несколько превосходит по твердости новые детали. Но это
превышение твердости наблюдается только тогда, когда новая деталь в условиях
заводского производства не была подвержена операциям направленным на придания
поверхности детали особых свойств, таких как повышенная коррозионная стойкость,
повышенное сопротивление поверхностному износу и др. В этом случае
рассмотренный технологический процесс ремонта посадочных мест под подшипники не
обеспечивает полного восстановления всех эксплуатационных свойств ремонтированной
детали. Таким образом, необходимо вводить дополнительную обработку
направленную, в первую очередь, на увеличение твердости наплавленной
поверхности.
Следовательно, актуальным является
разработка такого технологического процесса ремонта посадочных мест под
подшипники скольжения в корпусных деталях, который обеспечит полное
восстановление эксплуатационных свойств ремонтируемых деталей.
Для достижения поставленной задачи
необходимо рассмотреть сушествующие методы повышения износостойкости деталей
машин.
1.3 Технологические
методы повышения износостойкости деталей
1.3.1 Постановка задачи
обеспечения качества поверхностного слоя
Пути технологического обеспечения
качества поверхностного слоя и долговечности деталей машин упрочнением показаны
на рис. 1.7.
Рис. 1.7 - Пути технологического
обеспечения качества поверхностного слоя обработкой ППД
Традиционным является подход,
устанавливающий связь режима обработки с эксплутационными свойствами
упрочняемой детали (1-5). Недостаток такого подхода в том, что выявленные
закономерности не являются справедливыми для других условий. Поэтому при
переходе к новому изделию возникает необходимость в повторении трудоемких
исследований.
Более обобщенным является
обеспечение долговечности детали в две стадии:
На первой (путь 1-3) устанавливается
связь технологических факторов с параметрами состояния поверхностного слоя.
На второй (3-5) - влияние этих
параметров на эксплуатационные характеристики деталей.
Однако оба подхода имеют основной
недостаток - эмпирический путь решения задачи, а следственно, связанные с этим:
1 - большую трудоемкость экспериментов, 2 - ограниченное число исследований
параметров состояния поверхностного слоя, 3 - невысокую точность (в пределах
точности метода измерения) их определения.
Эмпирический путь не позволяет
использовать ЭВМ для моделирования и технологического проектирования
механической обработки деталей с оптимизацией параметров состояния их
поверхностного слоя, обеспечивающих заданную долговечность.
Более эффективный подход к
технологическому обеспечению эксплуатационных показателей деталей, который
базируется на внутренних закономерностях процесса формирования поверхностного
слоя в очаге деформации (пути 1-2 и 2-3). Раскрытие таких закономерностей
позволит глубже определить влияние параметров состояния поверхностного слоя на
процесс разрушения детали (3-4) и эксплуатационные показатели (4-5).
Повышение сопротивления детали
разрушению при различных видах эксплуатационного нагружения может быть достигнуто
технологическими методами объемного или поверхностного упрочнения. Объемное
упрочнение повышает статическую прочность деталей, у которых рабочие напряжения
распределены по сечению более или менее равномерно. Для таких деталей
используют высокопрочные стали и сплавы, композиционные материалы. Однако
большинство деталей работает в условиях, при которых эксплуатационная нагрузка
(давление, нагрев, действие окружающей среды и т.п.) воспринимается главным
образом их поверхностным слоем. Поэтому износостойкость, зарождение и развитие
усталостной трещины, возникновение очагов коррозии зависит от сопротивления
поверхностного слоя разрушению. Для деталей, разрушение которых начинается с
поверхности, разработано большое количество методов поверхностного упрочнения,
основанных не нанесении покрытий или изменения состояния (модификации)
поверхности.
При нанесении покрытий упрочнение
деталей достигается путем осаждения на нее поверхности материалов, которые по
своим свойствам отличаются от основного металла, но наиболее полно отвечают
условиям эксплуатации (износ, коррозия, химическое воздействие и т.п.).
При изменении состояния
(модификации) поверхностного слоя происходит физико-химическое изнашивание в
металле, повышающее его сопротивление разрушению. Модифицирование
поверхностного слоя может осуществляться деформационным упрочнением (ППД),
поверхностной термообработкой, диффузионным нанесением легирующих элементов.
Не существует универсального метода
упрочнения деталей, т.к. один и тот же метод в одних условиях эксплуатации
может дать положительный эффект, а в других отрицательный. Поэтому в ряде
случаев применяют комбинированное упрочнение деталей, основанное на
использовании двух или трех методов упрочнения, каждый из которых позволяет
усилить то или иное эксплуатационное качество. Кроме того, выбор того или иного
метода поверхностного упрочнения определяется экономическими соображениями.
1.3.2 Классификация
методов отделочно-упрочняющей обработки деталей машин
Все известные методы упрочнения
подразделяются на 6 основных классов:
Упрочнение с созданием пленки на
поверхности
а) осаждение химической реакции
(оксидирование, сульфидирование, фосфатирование, нанесение упрочняющего
смазочного материала, осаждение из газовой фазы).
б) осаждение из паров (термическое
испарение тугоплавких соединений, катодно-ионная бомбардировка, прямое
электронно-лучевое испарение, реактивное электронно-лучевое испарение,
электронно-химическое испарение).
в) электролитическое осаждение
(хромирование, никелирование, электрофорез, никельфосфатирование, борирование,
борохромирование, хромофосфатирование).
г) напыление износостойких
соединений (плазменное напыление порошковых материалов, детонационное
напыление, электродуговое напыление, лазерное напыление, вихревое напыление,
индукционное припекание порошковых материалов).
Упрочнение с изменением химического
состава поверхностного слоя металла
а) диффузионное насыщение
(борирование, цианирование, азотирование, нитроцементация и т.п.)
б) химическое и физико-химическое
воздействие (химическая обработка, ионная имплантация, электроискровая
обработка и т.д.).
Упрочнение с изменением структуры
поверхностного слоя
а) физико-термическая обработка
(лазерная закалка, плазменная закалка);
б) электрофизическая обработка
(электроконтактная, электроэрозионная, магнитная обработка);
в) механическая (упрочнение
вибрацией, фрикционно-упрочняющая обработка, дробеструйная, обработка взрывом,
термомеханическая, электромеханическая);
г) наплавка легированным элементом
(газовым пламенем, электрической дугой, плазмой, лазерным лучом, пучком ионов и
т.д.).
Упрочнение с изменением
энергетического запаса поверхностного слоя
а) обработка в магнитном поле
(термомагнитная обработка, импульсным магнитным полем, магнитным полем);
б) обработка в электрическом поле.
Упрочнение с изменением
микрогеометрии поверхности и наклепом
а) обработка резанием (точение,
шлифование, сверхскоростное резание);
б) пластическое деформирование
(накатывание, обкатывание, раскатывание, выглаживание, вибронакатывание,
вибровыглаживание, калибрование, центробежно-ударное упрочнение, виброударное и
т.д.);
в) комбинированные методы
(анодно-механическая, поверхностное легирование с выглаживанием, резание с
воздействием ультразвуковых колебаний, магнитно-абразивная обработка и т.д.).
Упрочнение с изменением структуры
всего объема металла
а) термообработка при положительных
температурах (закалка, отпуск, улучшение, закалка ТВЧ, нормализация,
термомагнитная обработка);
б) криогенная обработка (закалка с
обработкой холодом, термоциклирование).
Проанализировав выше приведенные
данные можно сделать вывод, что для случая ремонтного производства
целесообразно использовать, с целью повышения износостойкости восстановленных
поверхностей, только лишь методы позволяющие локально изменять свойства
материала в одном месте не затрагивая, а тем самым не изменяя свойств уже
обработанных и исправных поверхностей детали. К таким методам относится методы
обработки с изменением микрогеометрии материала наклепом, применяемый
целенаправленно на отдельные поверхности детали.
1.3.3 Современные методы
локального упрочнения поверхностей деталей
Локальная отделочно-упрочняющая
(ЛОУ) обработка поверхностей деталей машин имеет самостоятельное значение или
служит дополнением к традиционным методам ППД. Как правило, она выполняется
портативными устройствами. Средствами локального наклепа обрабатываются
отверстия, переходные зоны различной формы круглых и плоских деталей, сварные
швы и т.п. Так как указанные элементы присущи большинству машиностроительных
деталей, то локальная обработка ППД может быть использована в любых отраслях
машиностроения.
Важно отметить, что обработке
поверхностным наклепом могут подвергаться либо все поверхности деталей, в том
числе и концентраторы напряжений, либо только участки концентраторов.
Эффективность упрочнения в этих случаях примерно одинакова и практически
определяется режимами обработки зон концентрации напряжений. Однако по
экономическим показателям такое упрочнение значительно производительнее и
дешевле, чем повсеместное. При этом средствами локального упрочнения можно
обрабатывать различные поверхности детали. Компактность устройств локального
упрочнения позволяет использовать их в условиях ремонта изделий без расстыковки
конструкции и демонтажа деталей [10]. Наиболее эффективным может оказаться
локальное упрочнение деталей, общая поверхность которых больше зон действия
концентраторов напряжений.
ЛОУ-обработке могут подвергаться
детали разнообразных форм и размеров, изготовленные из различных металлов.
Большую группу деталей составляют маложесткие детали типа панелей, стенок,
плит, профилей, выполненные из высокопрочных алюминиевых сплавов, например
Д16Т, В95Т, АК4-1Т.
Характерными поверхностями деталей,
подвергаемых ЛОУ-обработке, являются: зоны концентрации напряжений (отверстия,
ступицы, скосы, выборки, резьбы, галтели, пазы и т.д.); неупрочненные участки
поверхностей деталей, прошедшие общую упрочняющую обработку в вибрационных,
ударно-барабанных и прочих установках (под прижимами, в карманах, отверстиях и
других труднодоступных для обрабатывающей среды частях); места механической
доработки деталей, на которых упрочненный слой снят при подгоночных работах.
Известно, что после упрочняющей
обработки ППД изменяется шероховатость поверхности деталей. Причем применение
некоторых способов упрочнения повышает шероховатость обработанной поверхности
(раскатка отверстий), изменение других увеличивает шероховатость (дробеструйная
обработка), но во всех случаях исходная и конечная шероховатость, как правило,
взаимосвязаны: исходная шероховатость определяется в зависимости от
используемого способа обработки. Шероховатость детали до обработки ППД зависит
от процесса ее изготовления, изменить который не всегда возможно. Когда заданы
исходная и конечная шероховатости, то они выступают как ограничения на
применимость способов упрочнения детали в целом или отдельных ее участков
[22-24].
Особенностью ЛОУ-обработки является
то, что при обработке отдельных участков поверхности не отмечается ослаблений в
местах перехода наклепанного слоя в ненаклепанный. Это выгодно отличает процессы
ЛОУ-обработки от других способов упрочнения, например от поверхностной закалки,
при которой зона перехода закаленного слоя к незакаленному обладает пониженной
прочностью [25].
В общем случае технологические
возможности того или иного ЛОУ-обработки определяются его физико-химическими и
конструкторско-технологическими особенностями, характером взаимодействия
обрабатываемой поверхности и элементов геометрии инструмента или обрабатывающей
среды. Сам метод обработки представляется как логическое множество физических и
кинематических параметров - элементов управляемого воздействия на
обрабатываемую заготовку с целью решения совокупности технологических задач
изменения формы, размеров и взаимного расположения элементов детали, состояния
и свойств ее материала, поверхности и поверхностного слоя. Он определяется
видом затрачиваемой энергии, кинематикой и сущностью процесса формообразования,
типом применяемого инструмента (обрабатывающей среды) и оборудования.
Технологические возможности методов
ЛОУ-обработки определяются кинематическими и динамическими параметрами,
геометрией рабочих элементов инструмента и рабочей среды, физико-химическими
свойствами процесса.
Наиболее перспективными методами
ЛОУ-обработки деталей машин являются методы, основанные на применении
многоконтактных виброударных инструментов (МКВ и УИ), характерными
представителями которых может служить обработка поверхностей шарико-стержневыми
упрочнителями (ШСУ) [14].
В принципе любая механическая
обработка детали носит локальный характер, так как обработке подвергают, как
правило, не все поверхности, а только те, которые участвуют в выполнении
функциональных задач, стоящих перед деталью. Поэтому в дальнейшем под локальной
будет пониматься такая обработка, которая производится над какой-то отдельной частью
(зоной) поверхности с целью обеспечения ее максимальной работоспособности
(износостойкости, усталостной прочности, коррозионной стойкости и т.д.). При
этом о локальной обработке материалов поверхностей деталей имеет смысл говорить
при выполнении финишных и отделочных операций технологического процесса.
На рис. 1.8 приведена обобщенная
схема видов локальной обработки материалов и показано место в них ЛОУ-обработки
деталей, а также указаны основные направления ее осуществления [16].
Рисунок 1.8 - Обобщенная схема видов
локальной обработки материалов поверхностей деталей
Следует отметить, что ЛОУ-обработка
может различаться как по назначению (для обеспечения функциональных требований
или для декоративного оформления изделия), так и по исполнению (после
заготовительных операций, после черновой обработки поверхности детали, после
чистовой обработки поверхности лезвийным инструментом или шлифования). В
дальнейшем при рассмотрении ЛОУ-обработки основное внимание будет уделено
обеспечению функциональных требований поверхностного слоя деталей, зависящих от
получаемых параметров шероховатости, твердости материала, величины, знака и
характера распределения технологических остаточных напряжений, сформировавшейся
электронно-дислокационной структуры и других показателей.
1.4 Выводы
1. Проведенные исследования
методов упрочнения поверхности деталей машин пластическим деформированием
показали, что отсутствует метод сочетающий в себе достоинства выглаживания
поверхности, обеспечивающие минимальную шероховатость, и чеканки,
обеспечивающей максимальное упрочнение поверхностного слоя.
. Выявлены перспективные
направления разработки новых методов отделочно-упрочняющей обработки
поверхности поверхностным пластическим деформированием, заключающиеся в
сочетании выглаживания поверхности и ударной обработки.
1.5 Цели и задачи
исследования
В современных условиях, в следствие
действия законов рыночной экономики и значительных финансовых затруднений
вызванных мировым финансовым кризисом, одним из путей повышения эффективности
работы машиностроительных предприятий является ремонт имеющегося на предприятии
оборудования. В связи с этим актуальной проблемой является разработка методик
позволяющих осуществлять восстановление изношенных поверхностей с приданием им
свойств новых деталей.
Целью данного дипломного проекта
является разработка нового метода улучшения качества обработанных поверхностей
после восстановления их методом порошковой наплавки.
В соответствии с поставленной целью
сформулированы следующие задачи исследования:
. Разработать новый метод
ударно-силового обкатывания поверхности деталей позволяющий реализовать
преимущества обкатки и чеканки
. Обосновать выбор
наивыгоднейшей стратегии разработки инструментов для поверхностно-пластического
деформирования и разработать инструмент позволяющий реализовать новый метод
обработки.
. Экспериментально обосновано
выбор оптимальных режимов обработки при ударно-силовом обкатывании поверхности.
2. Ударно-силовое
обкатывание поверхности
.1 Основные параметры
ударно-силового обкатывания
Проведенные исследования различных
методов упрочняющей обработки показали, что эффективным методом повышения
качества поверхностного слоя путем создания оптимального микрорельефа
поверхности, является ударно-силовое обкатывание. Предлагаемый метод объединяет
в себе достоинства силового обкатывания (обкатывание с величиной продольной
подачи более 0,1 мм/об) по получению низкой высоты микронеровностей поверхности
и чеканки - обеспечение значительной глубины упрочнения обрабатываемого
материала.
Суть метода ударно-силового
обкатывание заключается в том, что поверхность обрабатываемой детали
подвергается воздействию статического усилия обкатывания и ударных импульсов.
Обрабатываемый образец зажимается в
трехкулачковом патроне. Внутри жесткого корпуса расположена оправка с
закрепленной на конце профилированной пластиной. Оправка поджимается к
заготовке с заданным усилием обкатывания, создаваемого пружиной.
От ударного механизма через оправку
передаются ударные импульсы на выглаживающую пластинку или шарик. В результате,
на выглаженной поверхности остается определенный микрорельеф регулярного
характера. Частота расположения лунок и энергия удара зависят от скорости
обкатывания и типа источника удара. Инструмент закрепляется в резцедержателе
токарного станка.
При ударно-силовом обкатывании
шероховатость обработанной поверхности и упрочнение детали зависят от
параметров процесса. При правильно заданных параметрах обработки деталь
приобретает высокие эксплуатационные свойства, и, наоборот, неудачный выбор
даже одного из параметров, например давления, может вызвать частичное
разрушение поверхности (отслаивания) и понизить долговечность детали. Глубина
упрочненного слоя определяется удельным давлением на контактной площади и ее
размерами. Степень же упрочнения зависит только от давления. Это подтверждается
малой глубиной наклепа и повышением поверхностной твердости, получаемыми в
результате дробеструйной обработки. При ударе, несмотря на высокие давления,
незначительность размеров контактных площадок приводит к распространению
пластической деформации на небольшую глубину.
Глубина наклепа связана с диаметром
отпечатка при вдавливании сферического пуансона, с размерами эллипса касания
при упругом контакте двух тел, с величиной сближения инструмента и детали или с
удельным давлением и диаметром шара. Во всех случаях прямо или косвенно имеет
значение размер контактной площади.
Установлено зависимость глубины
наклепа от размеров контактной площади Fк. Эта зависимость, полученная при
обкатывании шаром (рис. 2.3), выражается формулой
где k и n - коэффициенты, зависящие
от размеров инструмента а также от размеров и материала детали.
На (рис. 2.1) приведена зависимость
глубины наклепа от площадки контакта при обкатывании шаром.
Рисунок 2.1 - Зависимость глубины
наклепа от площадки контакта при обкатывании валиков с давлением: 1 - 23 кгс/мм2;
2 - 11 кгс/мм2
Основными параметрами процесса
обработки являются следущие:
среднее давление в контакте р;
контактная площадь Рк;
величина нормальной силы,
передаваемой со стороны инструмента на обрабатываемую поверхность;
размеры деформирующего инструмента
R;
продольная подача S;
скорость обработки V.
Первые два параметра, определяющие
эффективность упрочнения, зависят от силы, размеров инструмента, свойств
материала и размеров обрабатываемой детали. Продольная подача влияет на
шероховатость обрабатываемой поверхности и на равномерность деформации в осевом
направлении. Кроме того, подача определяет количество повторных деформаций
каждого участка поверхности, что оказывает влияние на упрочнение и остаточные
напряжения. От скорости обработки зависят протекание процесса деформации в
очаге и градиент наклепа, а также количество образующейся теплоты. К остальным
параметрам обработки относятся число рабочих ходов и род смазки.
2.2 Силовые зависимости
при обработке методом ППД
Действующие при деформации внешние
силы разделяются на активные и реактивные. Силы трения в одних случаях могут
быть активными (например, при прокатке), а в других реактивными (например, при
осаживании). При обкатывании и выглаживании активные силы создаются вращением
детали (обработка на токарном станке), движением стола с деталью (например на
строгальном станке) или вращением инструментальной головки. Следовательно,
активные силы являются касательными. При действии этих сил площадь давления в
процессе деформации остается неизменной. Реактивные силы направлены
перпендикулярно к рабочей поверхности инструмента.
Процессы, происходящие при
обкатывании и выглаживании в очаге деформации, определяются характером
распределения и величиной нормальных и касательных напряжений. Однако ввиду
незначительности коэффициентов трения в обоих процессах основное значение имеют
нормальные напряжения. Величина силы, обеспечивающей получение требуемых
напряжений в очаге деформации, зависит от их значений и размеров контактной
площади. При обработке с продольной подачей равнодействующая всех сил
раскладывается на три составляющих силы (по трем координатным осям). В
соответствии с этим различают силы - нормальную, касательную и силу подачи
(рис. 2.2).
Рисунок 2.2 - Схема сил, действующих
при обкатке поверхностей детали
Основной силой, создающей
необходимое давление в контакте деформирующего инструмента и детали, является
нормальная составляющая Рн. Определение касательной силы необходимо для расчета
потребной мощности главного движения и расчета на прочность некоторых деталей
станка. Определение осевой силы (силы подачи) необходимо для расчета мощности,
требующейся на подачу и для расчета на прочность механизма подачи.
Равнодействующая сила:
Экспериментальное исследование силы
при обкатывании шаром производилось. На токарном станке при помощи динамометра.
Результаты исследования (рис. 2.3) показывают, что касательная сила Рн в
среднем в 10 раз меньше нормальной силы. Изменение подачи слабо сказывается на
соотношении этих сил.
Рисунок 2.3 - Схема сил при
обкатывании валиков из стали 45 с подачей 0,1 мм/об: 1 - осевая сила; 2 -
касательная сила при нормальной шероховатости поверхности; 3 - касательная сила
при грубой поверхности
При обкатывании грубой поверхности с
большими неровностями касательная сила несколько возрастает. Величина осевой
силы незначительно отличается (в сторону уменьшения) от касательной силы.
На основании экспериментальных
данных при отделочно-упрочняющем обкатывании имеем:
Учитывая приведенное соотношение,
величину равнодействующей силы выразим через силу Рн, т.е.
Равнодействующая сила R отличается
от величины нормальной силы не более чем на 0,4-1,2%.
2.3 Механизм упрочнения
материала при ударно-силовом обкатывании
Можно предположить, что в процессе
ППД пластическое деформирование материалов протекает с измельчением блоков
мозаики и повышением плотности дислокаций. При этом скольжение осуществляется
по кристаллографическим плоскостям не путем одновременного смещения отдельных
атомных плоскостей, а в результате отдельных элементарных актов, которые
заключаются в однотипных перемещениях группы атомов и распространяются в
определенных направлениях кристаллографической решетки. Основой для этого механизма
является то, что благодаря периодичности строения кристаллов смещение атомов
вблизи одного из узлов решетки, полученное в результате действия внешних сил,
вызывает облегчение таких же сдвигов (перемещений) атомов около соседних ее
узлов.
Этот последовательный процесс
перемещения атомов способен распространяться в определенных энергетически
выгодных направлениях на значительные расстояния до тех пор, пока сохраняется
на всем протяжении пути правильная периодичность в движении дислокаций.
Движение дислокаций прекращается, если на пути их перемещения встречаются
нарушения правильного кристаллического строения - границы зерен, блоки или
потоки свободных электронов.
При таком механизме
последовательного перемещения атомов в каждый данный момент времени в
сопротивлении деформированию будут участвовать только связи тех атомов, которые
являются соседями перемещающегося атома, т.е. при пластической деформации в
сопротивлении этой деформации одновременно участвует лишь небольшая группа
атомов. Места, в которых нарушается правильная периодичность решетки, являются
местами зарождения элементарных актов пластической деформации. Они также
являются областями, в которых прекращается распространение отдельных актов
пластической деформации. С уменьшением таких мест становится меньшим и число
элементарных актов, возникающих в единицу времени, увеличиваются пути их
легчайшего перемещения, что приводит к уменьшению доли атомов, участвующих в
сопротивлении деформации, и к уменьшению степени одновременности работы всех
атомов. С увеличением нарушений идеального строения кристаллов возникает
большее число элементарных актов в единицу времени, уменьшаются пути их
распространения, уменьшается количество атомов, участвующих в актах
пластической деформации, изменяется подвижность свободных электронов, растет
число атомов, одновременно участвующих в сопротивлении действию внешних сил.
Изменения электронно-дислокационной
структуры обрабатываемого материала приводит к изменению его термодинамического
потенциала, благодаря которому возможно управление механизмом упрочнения
материала поверхностного слоя при ППД деталей. При этом необходимо учитывать
тот факт, что в зоне пластических деформаций возникает электронно-диффузионный
ток, приводящий к перестройке дислокационной структуры материала поверхностного
слоя обрабатываемой детали.
Такие представления о механизме
пластической деформации позволяют понять, почему металлы и сплавы имеют малую
прочность в отожженном состоянии по сравнению с теоретической прочностью,
определенной по данным о прочности межатомной связи. Благодаря большой величине
областей с правильным кристаллическим строением обрабатываемого материала
степень одновременности участия атомов в сопротивлении деформированию мала, а
следовательно и степень использования межатомной связи является малой. Для всех
упрочненных материалов характерна субмикроскопическая неоднородность
кристаллического строения. Она и обусловливает степень одновременности работы
атомов, а следовательно и степень использования межатомных связей и приближает
практическую твердость к теоретической. Нарушение правильной периодичности
кристаллического строения за счет измельчения блоков мозаики с описанной точки
зрения должно приводить к повышению сопротивления деформированию. Поэтому
границы блоков кристаллов могут рассматриваться как места, в которых
зарождаются акты пластической деформации и где прекращается их распространение.
Следовательно, раздробление блоков может рассматриваться как один из важных
факторов упрочнения металлов, а также необходимым условием упрочнения
обрабатываемого материала ППД. Имеющиеся экспериментальные данные о связи
упрочнения с тонкой кристаллической структурой металлов и сплавов [12, 14] дают
возможность сделать вывод о том, что необходимым и наиболее важным
кристалло-структурным фактором упрочнения металлов и сплавов является
раздробление зерна на фрагменты и образование внутри фрагментов
субмикроскопической блочной структуры. Неоднородная упругая деформация
микрообластей отражает лишь свойства кристаллов данного материала. При этом она
характеризует как бы «предел» упругой деформации микрообластей. На рис. 2.4
приведены фотографии микроструктуры армко-железа при различной степени
деформации в процессе ППД.
Рисунок 2.4 - Изменения структуры
армко-железа при различной степени деформации в процессе ППД: а, в-внутреннее
строение зерен отоженного армко-железа; б - при деформации 10%; г - при
деформации 20%. Увеличение 150
Наличие раздробления блоков при
малых напряжениях, приложенных во время деформации, свидетельствует о том, что
дефекты кристаллической решетки обусловливают, по-видимому, увеличение
вероятности появления актов пластической деформации, которые приводят к
нарушению когерентности существовавшего первоначально крупного блока. Дробление
блоков на большие участки при малых относительных деформациях (6-7%)
обусловлено, вероятно, сравнительно длинными путями перемещения дислокаций до
остановки каким-либо дефектом кристаллической решетки, количество которых в
отожженном материале невелико [20], или же границами зерен [11].
Определенную роль в торможении
дислокаций играют потоки свободно движущихся в кристаллах электронов. При этом
упругие остаточные напряжения кристаллической решетки, хотя и возникают,
остаются в целом незначительными, так как во время каждого элементарного акта
пластической деформации может происходить частичная разрядка напряжений внутри
металла, вызванная, например, движением свободных электронов. Однако в этом
случае степень одновременного участия атомов в сопротивлении материала
деформированию пока еще остается незначительной.
При увеличении пластической
деформации (6-30%) происходит дальнейшее измельчение блоков мозаики, и пути
перемещения дислокаций уменьшаются за счет сокращения протяженности
кристаллической решетки с идеальным (правильным) строением и увеличение
ЭДС-напряжения. Одновременно с увеличением количества дефектов в виде границ
блоков и искажений кристаллической решетки растет также и число тех мест, в
которых могут зарождаться акты элементарных пластических сдвигов. Поэтому
количество атомов, участвующих одновременно в сопротивлении действию внешних
сил, увеличивается. Это означает, что степень использования межатомной связи
увеличивается.
На рис. 2.5 в полулогарифмических
координатах приведены зависимости характеристик тонкой кристаллической
структуры материала поверхностного слоя образца, подвергнутого обработке
(размеров блоков мозаики D, плотности дислокаций ρ, внутренних напряжений
2-го рода (Dа/а)), от времени обработки t. С увеличением продолжительности обработки
размеры блоков D уменьшаются, а плотность дислокаций ρ и величина внутренних
напряжений (Dа/а) увеличиваются. Однако при этом возрастает микротвердость
материала поверхностного слоя и возникает опасность в его перенаклепа и
отслаивания.
Рисунок 2.5 - Изменения плотности
дислокаций ρ (кривая
1), размеров блоков мозаики D (кривая 2) и внутренних напряжений 2-го рода Dа/а (кривая 3) при обработке
образцов из армко-железа
2.4 Вывод
Предложенный новый метод локального
упрочнения обработанной поверхности позволяет обеспечить низкую шероховатость
обработанной поверхности и значительное упрочнение по дну следов от
упрочняющего инструмента.
3. Разработка методики
проектирования инструментов для отделочно-упрочняющей обработки
3.1 Алгоритм
проектирования инструментов
Несмотря на весьма длительную
историю развития методов ППД, на сегодняшний день не разработано общей
методологии, позволяющей проектировать или выбирать инструмент для обработки
заданной поверхности с требуемыми параметрами качества поверхностного слоя,
следовательно, нет алгоритма и программы автоматизированного выбора и
проектирования такого инструмента.
Порядок проектирования инструмента
выглядит следующим образом:
1. Выбор схемы обработки на
основании:
– размеров детали, от которых
зависит ее жесткость;
– размеров, формы и требуемой
точности обрабатываемой поверхности;
– требуемых характеристик
качества поверхностного слоя, обусловленных эксплуатационными требованиями к
поверхности;
– исходных характеристик качества
обрабатываемого поверхностного слоя, определяющих возможности для обработки
детали ОУО ППД;
– типа производства.
2. Определение геометрических
параметров рабочей части инструмента исходя из картины формирования номинальной
площади контакта в зоне обработки.
3. Выбор инструментального
материала на основании теории адгезионного взаимодействия с обрабатываемым
материалом детали.
4. Назначение твердости,
шероховатости, точности изготовления рабочей поверхности инструмента.
5. Разработка конструкции
инструмента.
В настоящее время существует большое
количество схем обработки различными методами ОУО ППД. Каждая из них имеет
ограничения по применимости в тех или иных условиях. В соответствии с
требованиями п. 1 можно выбрать одну или несколько схем, наиболее полно
отвечающих исходным данным.
Исходные характеристики качества
обрабатываемого поверхностного слоя включают исходную твердость, исходную
шероховатость, историю предшествующей обработки (закалка, обработка резанием,
ППД и др.). Также необходимо знать пластические свойства обрабатываемого
материала, его способность к упрочнению. Все эти параметры определяют
возможности обработки детали ОУО ППД, т.е. изменение геометрии и размеров
детали, усилия обработки, достижимые значения упрочнения, глубины обработки,
твердости, шероховатости.
Требуемые характеристики качества
поверхностного слоя включают шероховатость, твердость, распределение твердости
по глубине, направление и вид следов обработки и др. Они обусловливаются
эксплуатационными требованиями к поверхности, например износостойкостью.
Жесткость обрабатываемой детали
определяет предельно допустимые усилия обработки, крутящие моменты и т.п. Она
может оказывать ощутимое влияние на точность и качество получаемой поверхности
(геометрические отклонения вследствие колебания жесткости детали, значительные
колебания микротвёрдости и шероховатости обработанной поверхности вследствие
изменения усилий обработки и др.). Наиболее сильно влияние жесткости детали
проявляется при обработке жестким инструментом (жесткие раскатники и накатники,
дорны и др.), так как при этом система «инструмент - заготовка» имеет высокую
чувствительность к изменению натяга. Частично жесткость определяет схему
инструмента (симметричность схемы нагружения детали инструментом в процессе
обработки).
Существенное влияние на выбор схемы
оказывают размер и форма обрабатываемой поверхности. При анализе литературы
были выявлены следующие основные типы поверхностей: цилиндрические наружные и
внутренние, плоские и профильные. Размер поверхности ограничивает размер
рабочей части инструмента, а также оказывает влияние на схему обработки. Так,
очень маленькая поверхность может привести к невозможности использования
какой-либо схемы обработки, а очень большая - к неэффективности схемы. От типа
производства зависит как выбираемая схема обработки, так и целесообразность
изготовления сложных дорогостоящих высокопроизводительных инструментов. Так,
чем выше серийность, тем выгоднее использовать высокопроизводительные, но
сложные схемы обработки и дорогостоящий инструмент. В связи с этим для
обработки одинаковых поверхностей в условиях различных производств могут быть
использованы разные схемы.
На основании анализа литературы были
определены основные методы ОУО ППД: 1. Статические: - накатывание, обкатывание,
раскатывание (упрочняющее, сглаживающее, калибрующее);
·
вибронакатывание;
·
выглаживание (алмазным и твердосплавным инструментом);
·
ультразвуковое упрочнение;
·
электромеханическая обработка;
·
дорнование и поверхностное редуцирование.
2. Ударные: - импульсная обработка
(чеканка);
·
центробежно-ударная обработка;
·
обработка механической щеткой;
·
виброударная обработка;
·
ударно-барабанная обработка (галтовка);
·
обработка дробью и др.
Для реализации этих методов
используются схемы, представленные ниже (табл. 3.1 - 3.4). Геометрические
параметры рабочей части инструмента определяются на основании анализа процессов
в очаге деформации. Геометрические размеры и форма инструмента оказывают
наибольшее влияние на процесс ППД. Профиль инструмента определяет геометрию
контакта «инструмент-деталь», а следовательно, и все, что с ней связано:
возникающие усилия, частично шероховатость получаемой поверхности, глубину
упрочнения и др. Наиболее эффективным методом анализа на сегодняшний день
является метод конечных элементов.
Таблица 3. 1 - Обработка наружных
цилиндрических поверхностей
|
Способ обработки, используемый инструмент
|
1
|
Выглаживание гладилкой с твердосплавной пластиной
|
Выглаживание гладилкой с алмазным наконечником
|
Обкатывание однороликовым обкатником упругого действия
|
|
Схема обработки
|
2
|
|
|
|
|
Параметры получаемой поверхности
|
точность
|
3
|
не размерная
|
5-7
|
не размерная
|
|
Ra
|
4
|
0,32…0,63
|
0,04…0,08
|
0,08…0,63
|
|
hµ
|
5
|
До 600
|
До 1000
|
До 5000
|
Таблица 3.1 - Обработка наружных
цилиндрических поверхностей (продолжение)
|
1
|
Обкатывание одношариковым обкатником (dш < 10 мм) упругого действия
|
Обкатывание многошариковыми обкатниками упругого действия
|
Обкатывание 3-х роликовым обкатником упругого действия: а - с
принудительной подачей; б - с самоподачей заготовки
|
Обкатывание жесткими многороликовыми обкатниками
|
|
2
|
|
|
|
|
|
3
|
не размерная
|
не размерная
|
не размерная
|
6 - 8
|
|
4
|
0,08…0,63
|
0,08…0,63
|
0,08…0,63
|
0,04…0,63
|
|
5
|
До 5000
|
До 5000
|
До 15000
|
до 15000
|
Таблица 3.1 - Обработка наружных
цилиндрических поверхностей (продолжение)
|
1
|
Обкатывание жестким многороликовым обкатником
|
Обкатывание между роликами
|
Вибрационное обкатывание упругим одношариковым обкатником
|
Ударная обработка шариковыми головками инерционного действия
|
|
2
|
|
|
|
|
|
3
|
6-8
|
не размерная
|
не размерная
|
не размерная
|
|
4
|
0,04…0,63
|
0,04…0,32
|
до 0,04
|
0,16…0,63
|
|
5
|
до 15000
|
до 100
|
до 5000
|
До 500
|
Таблица 3.2 - Обработка отверстий
|
1
|
Прошивание выглаживающими прошивками: а - цельными; б -
наборными
|
Протягивание выглаживающими протяжками
|
Протягивание выглаживающими протяжками с наложением осевых
колебаний
|
Раскатывание одношариковым раскатником упругого действия
|
|
2
|
|
|
|
|
|
3
|
5 - 7
|
5 - 7
|
5 - 7
|
не размерная
|
|
4
|
0,32…0,63
|
0,16…0,32
|
0,16…0,32
|
0,08…0,32
|
|
5
|
До 5000
|
До 5000
|
До 5000
|
До 2000
|
Таблица 3.2 - Обработка отверстий
(продолжение)
|
1
|
Раскатывание многошариковыми регулируемыми раскатниками упругого
действия
|
Раскатывание жесткими регулируемыми многошариковыми раскатниками
|
Раскатывание многороликовыми раскатниками упругого действия
|
Раскатывание многороликовыми жесткими нерегулируемыми
раскатниками с цилиндрическими роликами
|
|
2
|
|
|
|
|
|
3
|
не размерная
|
6-8
|
не размерная
|
5 - 7
|
0,08…0,32
|
0,08…0,32
|
0,08…0,32
|
0,08…0,16
|
|
5
|
До 2000
|
До 5000
|
До 5000
|
До 5000
|
Таблица 3.2 - Обработка отверстий
(продолжение)
|
1
|
Раскатывание жесткими регулируемыми многороликовыми раскатниками
с цилиндрическими и коническими роликами
|
Раскатывание жесткими нерегулируемыми многороликовыми
раскатниками ударного действия
|
Раскатывание вибрирующим раскатником упругого действия
|
Ударная обработка шариковыми головками инерционного действия
|
|
2
|
|
|
|
|
|
3
|
6 - 8
|
6 - 8
|
не размерная
|
не размерная
|
|
4
|
0,08…0,32
|
0,08…0,32
|
0,08…0,32
|
0,16…0,63
|
|
5
|
До 15 000
|
До 5 000
|
До 2 000
|
До 500
|
Таблица 3.3 - Обработка плоских
поверхностей
|
Способ обработки, используемый инструмент
|
1
|
Обкатывание обкатниками упругого действия: а - одношариковым; б
- однороликовым
|
Обкатывание многошариковым обкатником: а - жестким; б - упругим
|
Обкатывание многороликовым обкатником «вдавливанием»
|
|
Схема обработки
|
2
|
|
|
|
|
Параметры получаемой поверхности
|
точность
|
3
|
не размерная
|
не размерная
|
не размерная
|
|
Ra
|
4
|
0,04…0,32
|
0,08…0,32
|
0,04…0,16
|
|
hµ
|
5
|
До 5000
|
До 5000
|
До 8000
|
Таблица 3.3 - Обработка плоских
поверхностей (продолженине)
|
1
|
Обкатывание: а - шаром; б - роликом.
|
Одновременное торцовое фрезерование и обкатывание шаром
|
Виброобкатывание торцовых поверхностей
|
Обкатывание радиусных галтелей: а - роликом; б - шаром; в-шарами
|
|
2
|
|
|
|
а) б) в)
|
|
3
|
не размерная
|
не размерная
|
не размерная
|
не размерная
|
|
4
|
0,08…0,32
|
0,32…1,25
|
0,16…0,63
|
0,16…0,63
|
|
5
|
До 5000
|
До 1000
|
До 2000
|
До 5000
|
Таблица 3.4 - Обработка профильных
поверхностей
|
Способ обработки, используемый инструмент
|
1
|
Обкатывание профильных поверхностей роликом «вдавливанием»
|
Обкатывание сферических поверхностей двумя роликами
«вдавливанием»
|
Обкатывание между роликами по трем схемам (а, б, в)
|
|
Схема обработки
|
2
|
|
|
|
|
Параметры получаемой поверхности
|
точность
|
3
|
не размерная
|
не размерная
|
не размерная
|
|
Ra
|
4
|
0,32…0,63
|
0,08…0,32
|
0,04…0,16
|
|
hµ
|
5
|
До 200
|
До 5000
|
До 8000
|
Таблица 3.4 - Обработка профильных
поверхностей (продолжение)
|
Способ обработки, используемый инструмент
|
1
|
Обкатывание профильных поверхностей «обводом».
|
Обкатывание шарообразных поверхностей «обводом»
|
Обкатывание профильных линейчатых поверхностей сферическим
роликом
|
|
Схема обработки
|
2
|
|
|
|
|
Параметры получаемой поверхности
|
точность
|
3
|
6 - 8
|
не размерная
|
не размерная
|
|
Ra
|
4
|
0,16…0,32
|
0,08…0,32
|
0,63…1,25
|
|
hµ
|
5
|
а) до 500, б) до 200
|
до 300
|
до 300
|
Таблица 3.4 - Обработка профильных
поверхностей (продолжение)
|
1
|
Обкатывание профильных линейчатых поверхностей сферическим
роликом
|
Обкатывание внутренних профильных поверхностей жестким
обкатником «вдавливанием»
|
Чеканка
|
Упрочнение вращающимися щетками
|
|
2
|
|
|
|
|
|
3
|
не размерная
|
7 - 9
|
не размерная
|
не размерная
|
|
4
|
0,63…1,25
|
0,63…1,25
|
Rz
40…160
|
0,08…1,2
|
|
5
|
до 300
|
до 200
|
до 15000
|
до 80
|
Инструментальный материал также
выбирается на основании анализа процессов в очаге деформации. Материал
инструмента определяет в первую очередь стойкость инструмента. Его сродство с
обрабатываемым материалом влияет на качество обрабатываемой поверхности,
особенно при различных методах выглаживания и дорновании, когда высока
вероятность схватывания материала инструмента с обрабатываемой поверхностью.
Кроме того, материал инструмента оказывает влияние на его конструкцию. Наиболее
перспективны твердые сплавы, как правило, с высоким содержанием кобальта: ВК8,
Т15К10 и др. Они обладают наименьшим сродством с обрабатываемым материалом,
высокой твердостью. Наиболее существенными недостатками твердых сплавов
являются хрупкость и сложность производства инструмента из них. При
неравномерном распределении нагрузки возможны пиковые усилия, способные
разрушить инструмент или его рабочую поверхность. Поэтому из твердых сплавов
изготовляют в основном инструмент для статических методов обработки ППД.
Широкое применение для изготовления рабочих частей инструмента находят
шарикоподшипниковые (для стандартных шариков и роликов), углеродистые и
легированные инструментальные стали (У10А, 9ХС и др.).
Назначение твердости, шероховатости,
точности изготовления рабочей поверхности инструмента является важным этапом
при его проектировании. Твердость рабочей поверхности назначается для
инструмента, изготовленного из различных сталей. При этом необходимо учитывать,
что чем выше твердость, тем больше стойкость инструмента. Однако при чрезмерно
высоких для данного инструментального материала твердостях возможно
преждевременное разрушение поверхности инструмента. Значительное влияние на
шероховатость поверхности детали оказывает шероховатость рабочей поверхности
инструмента. При обработке происходит копирование шероховатости поверхности
инструмента на обрабатываемую поверхность, поэтому желательно ее уменьшение.
При различных методах выглаживания и дорновании повышенная шероховатость
поверхности инструмента существенно увеличивает усилия обработки, шероховатость
обработанной поверхности, может приводить к схватыванию поверхностей в
отдельных точках и вырыву частиц материала детали (появлению задиров),
значительному снижению стойкости инструмента и даже его поломке из-за
чрезмерных усилий. Для жестких накатников и раскатников, а также дорнов
ощутимое влияние на точность получаемых размеров оказывает точность
изготовления инструмента. Причем важна не только точность диаметральных
размеров, но и биения, из-за которых может сформироваться волнистость на
обработанной поверхности. Конструкция инструмента определяет удобство
эксплуатации, возможности инструмента с точки зрения обработки труднодоступных
мест детали, надежность инструмента и в значительной степени его стоимость.
3.2
Вывод
Предложен новый алгоритм
проектирования инструмента применяемого для ППД. В дальнейшем на базе этого
алгоритма планируется разработка программного обеспечения для
автоматизированного выбора инструмента.
4. Приспособление для
обработки отверстий методом ударно-силового обкатывания
.1 Разработка
приспособлений для ударно-силового обкатывания
Для обеспечения процесса
ударно-силовой обработки разработано два приспособления приспособление,
позволяющие обеспечить процесс выглаживания внутренней цилиндрической
поверхности. Оба приспособления обеспечивают упрочнение поверхности
выглаживанием в сочетании с нанесением на эту поверхность лунок размером 0,1 -
0,4 мм.
Работа первого приспособления
основана на принципе обкатки поверхности вибрирующим шариковым обкатником.
Приспособление обеспечивает необходимую силу удара за счет использования
энергии сжатой пружины, сжимаемой кулачковым механизмом.
На рис. 4.1 показано
спроектированное пружинное приспособление. Электродвигатель 10 сообщает
вращение кулачку 9. По кулачку катится ролик 11, жестко закрепленный в обойме
ударника 8. Под действием пружины 12 ударник постоянно стремится занять нижнее
положение и во; время вращения кулачка ударяет по бойку 2 через сухари 6 и 5.
Бойок передает удар на индентор 1 которым является стальной шарик. Сила обкатки
регулируется при помощи тарельчатых пружин 3 и гайки 4. Сила удара регулируется
при помощи гайки 13.
Приспособление перемещается вдоль
обрабатываемой поверхности производя накатку винтовой канавки, следы отдельных
ударов, наносимых индентором, сливаются, образуя канавку, таким образом
обрабатывается вся поверхность.
При сборке деталей с рифлениями,
полученными чеканкой, сопротивление относительному сдвигу значительно
увеличивается по сравнению с соединением деталей, полученных резанием.
Ожибается что предел выносливости поверхностей, обработанных этим методом,
возрастет более чем в 1,3 раза в сравнении с пределом выносливости не
упрочненного материала.
Рисунок 4.1 - Приспособление для
обработки отверстий методом ударно-силового выглаживания
В приспособлении использована
пружины обеспечивающая силу удара с энергией 0,4 кгс. Ударник работает oт
кулачкового привода с числом ударов в минуту 1250. Продольная подача ударников
составляет 560 мм/мин, что обеспечивает примерно 2 удара на 1 мм длины бороздки
рифления.
Схема нанесения упрочняющей
деформации поверхности представлена на рис 4.2.
К недостаткам данного приспособления
относится его значительные габариты и большая материалоемкость и сложность в
изготовлении, наличие в приспособлении трущихся соединений, таких как кулачек,
пары скольжения. Эти факторы не позволяют применять данное приспособление при
обработке отверстий малого диаметра и ограничивают область применения данного
приспособления.
Рисунок 4.2 - Схема нанесения
упрочняющей деформации при ударно-силовом выглаживании вибрирующим шариком
Работа следующего приспособления
основана на принципе обкатки поверхности шариковым индентором. Отличием данного
приспособления от существующих является применение головки оснащенной
несколькими шариковами инденторами с принудительным ее вращением от отдельного
привода. Схема данного приспособления показана на рис. 4.3.
Рисунок 4.3 - Приспособление
для ударно-силового выглаживания отверстий шариковым индентором
В роли индентора, в предлагаемом
приспособлении, выступают стальные шарики установленные в корпусе индентора 2
через опорные кольца 3. Корпус индентора 2 жестко насажен на вал 4, который
установлен на двух шарикоподшипниках 5 в корпусе приспособления. Вал связан с
электродвигателем 8 шпоночной втулкой 8. Данная констукця установлена на
шарнирах (на рисунке не показаны) на основание 9, которое также выполняет роль
державки при закреплении приспособления в резцедержателе токарного станка.
Предварительное усилие выглаживания задается через тарельчатые пружины 10 и
регулируется винтом 11. Схема работы приспособления показана на рисунке 4.4.
Рисунок 4.4 - Схема работы
приспособления с инденторной головкой шарикового типа
Инденторная устанавливается в
резцедержатель и поджимается к обрабатываемой поверхности. Винтом 11
устанавливается предварительный натяг. Приспособление выводят из
соприкосновения с поверхностью заготовки и включают вращение заготовки и
вращение инденторной головки. Включают подачу суппорта. Инденторная головка
вращаясь наносит мелкие удары по обрабатываемой поверхности и благодаря движению
подачи распространяет свое воздействие на всю протяженность обрабатываемой
поверхности.
Преимуществом данного приспособления
является его простота в изготовлении и эксплуатации, надежность, обеспечение
нанесения микроударов на обрабатываемой поверхности с большой частотой.
4.2 Вывод
Разработаны приспособления для
упрочнения поверхности заготовки методом ударно-силового выглаживания, которые
сочитают в себе возможность упрочнения поверхности с применением традиционных
обкатывания и чеканки, что позволяет улучшить качество поверхности и достичь
значительного повышения прочности.
5. Применение
ударно-силового обкатывания при обработке наплавленных поверхностей
.1 Образование
микропрофиля при ударно-силовом обкатывании
Шероховатость поверхности оказывает
большое влияние на эксплуатационные свойства деталей машин. При снижении
шероховатости растет предел выностивости, износостойкость и сопротивляемость
поверхностному выкрашиванию.
Однако, чтобы обеспечить получение
заданной шероховатости, необходимо управлять процессом обработки, для чего
необходимо знать его основные закономерности. С указанной целью нами
рассмотрены механизмы формирования шероховатости при ударно-силовом
обкатывании.
При ударно-силовом обкатывании
деталей машин образуется новая поверхность с шероховатостью, зависящей от
основных параметров обработки. Существующее представление о микропрофиле как
следе рабочего движения инструмента является далеко не точным вследствие
искажения вызванного пластическим течением металла от места контакта инструмента
с деталью. Пластическое течение происходит как в направлении подачи с
образованием волны, перемещающейся вместе с инструментом, так и в направлении
противоположном подаче, вызывая искажения образованного ранене соседнего
микропрофиля.
Схема последовательного образования
микропрофоля показана на рисунке 5.1.
Рисунок 5.1 - Схема образования
микропрофиляв продольном разрезе детали
В начале обкатки при первом обороте
детали образуется канавка с волнами по обеим сторонам (рис. 5.1, а). При втором
обороте детали в связи с перемещением инструмента на величину подачи образуется
вторая канавка (рис. 5.1, б), глубина которой больше первой, така как
вследствие уменьшения контактной площади между инструментом и деталью увеличивается
контактное давление. Образование последующих канавок производится таким же
образом (рис. 5.1, в и г). Штриховой линией на схеме показан микропрофиль
полученный при предидущем обороте, а сплошной линией - микропрофиль, образуемый
в данный момент. Величина искажения характеризуется зоной пластического
смещения металла (заштрихованные участки на рисунке), являющиеся своего рода
волной, возникающей в направлении, противоположном подаче инструмента.
Таким образом при обработке с
продольной подачей микропрофиль, образовавшийся при данном обороте детали
вследствие пластического течения металла, искажается при следующем обороте,
образуя вторичный микропрофиль, который и характеризует обработанную
поверхность в продольном сечении детали. Необходимо отметить что пластическое
течение происходит в области, ограниченной смежной впадиной. Тем не менее, при
обработке с большим давлением и малыми подачами эта область может захватывать
несколько соседних микроненровностей, вызывая повторное искажение.
При наложении на процесс обкатывания
ударных деформаций от индентора следует рассматривать микроненровность в
поперечном сечении детали (рис. 5.2).
Рисунок 5.2 - Схема образования
микропрофиля в пореречном разрезе детали
При вращении инденторной головки по
обрабатываемой поверхности каждый шарик наносит удары, которые оставляют после
себя вмятины эллиптической формы. Следуещий шарик также наносит удар и
оставляет след эллиптической формы. В зависимости от скорости вращения
заготовки и скорости вращения инденторной головки следы от ударов соседними
шариками могут перекрываться, образуя зону повторного деформирования металла. В
этом случае сминаются гребешки микронеровности оставленные от предидущего шарика,
что приводит к искажению геометрии поверхности и обеспечивает снижение
шероховатости поверхности.
Величина искажения микропрофиля
зависит от давления, пластических свойств материала детали, формы
деформирующего элемента, частоты вращения заготовки и инденторной головки.
5.2 Определение высоты
микронеровностей
Для расчета высоты микронеровности
рекомендуется исползовать следующее выражение

; (5.1)

. (5.2)
Расчет величины Rz для
случая обработки деформирующим элементом радиусом от 1,5 до 20 мм с подачей от
0,04 до 0,4 мм/об показал, что максимальная разница в значениях Rz,
определяемых по выражениях 5.1 и 5.2 пренебрежимо мала. При нормальных
соотношениях между подачей и радиусом сферы эта разница не превышает 0,01-0,02
мкм. Для расчета Rz рекомендуется выражение 5.2 как более простое. Обе формулы
являются приближенными и справедливы только для случая полной деформации
исходных шероховатостей.
Рисунок 5.3 -
Схема к рас чету высоты неровностей
В процессе обработки
происходит упругая деформация материала детали. Наибольшую деформацию материал
имеет в точке С, те в центре впадины или лунки. В точке В, находящейся
на вершине поверхности, деформации минимальна. Следовательно, после упругого
востаносвления материала высота микронеровностей будет отличатся от значения
Rz, определенного по расмчетным формулам. Это отличае должно быть равно разнице
в виличине упругой деформации материала в точках С и В.
На основании сказанного
можно составить следующее равенство:

,
где wC и wB
- значение упругой деформации в точках С и В.
Упругая деформация
неровностей может быть приближенно определена с помощью задачи Герца.
Из теории упругости
известно, что при упругом контакте двух тел смещение от местной деформации
точек первого и второго тела в направлении действия силы определяется следующим
образом
где х - расстояние точек
от оси до центра;
β - постоянная
величина, зависящая от радиуса кривизны;
α - сближение
обоих тел.
Вследствие упругого
восстановления происходящего за деформирующим инструментом радиус впадины R1
намного больше радиуса инструмента R.
С учетом вышеизложенного
высота микронеровностей с учетом их упругой деформации определяется выражением

.
Для учета величины
искажения микропрофиля при повторных деформациях необходимо использовать
коэффициент, учитывающий пластические свойства метала Ке и давтение на
контактной площади Кр. В этом случае

(5.3)
Выражение 5.3 является
более точным по сравнению с (5.1) и (5.2) и может применятся для определения
микронеровности при отделочно-упрочняющей обработке деталей с оптимальным
давлением и с шероховатостью поверхности рекомендуемой под обкатывание.
В соответствии с данными
Д.В. Гогоберидзе К=2,6 - 2,1. При обкатывании с оптимарьным давлением
алюминиевых сплавов Кр=1, Ке=1,3-2,1.
5.3 Экспериментальное
определение качества поверхности и поверхностного слоя при ударно-силовой
обработке
Под наплавленным
поверхностным слоем упрочняемым ППД, верхней границей которого является
поверхность, понимается толщина материала заготовки, в котором происходят
изменения физико-механических свойств материала при поверхностном пластическом
деформировании (ППД). Качество поверхности в наших исследованиях будем
оценивать по величине среднего арифметического отклонения профиля Ra (мкм), a
поверхностного слоя по изменению микротвердости Нm (МПа) и глубине упрочнения h
(мм).
При экспериментальном
исследовании технологических возможностей ударно-силового выглаживания в
качестве образцов выбирались заготовки цилиндрической формы. Материал заготовок
Ст3 с наплавленным слоем из алюминиевого сплава Д16. Наплавка производилась
методом порошковой наплавки. Образцы предварительно расточены на токарном станке
в размер 45 мм.
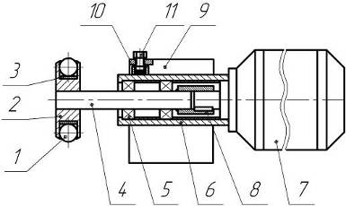
Рисунок 5.4 -
Приспособление для ударно-силовой обкатки отверстий
Твердость наплавленного
слоя образцов после токарной обработки находится в пределах 40 - 45 НВ.
Исходная шероховатость образцов (после точения) Ra 3,32 - 2,5 мкм.
Обработка поверхности
образца производилась методом ударно-силового выглаживания с применением
разработанной нами оригинальной конструкции приспособления. Материал индентора
- сталь ШХ8. Обработка осуществлялась на токарно-винторезном станке модели 1К62
(рис. 5.5).
Рисунок 5.5 - Обработка
образцов с применением разработанного приспособления
При ударно-силовом
выглаживании величины продольных подач и частота вращения заготовки
варьировались в широких пределах. Частота вращения инденторной головки
составляла 3000 об/мин. В результате, на гладкой выглаженной поверхности
обработки образовались углубления (лунки) эллиптической формы, расположенных по
траектории движения выглаживателя относительно заготовки. Длина лунки, пори
постоянной частоте вращения инденторной головки, зависит от частоты вращения
заготовки и с увеличением ее увеличивается (рис 5.6).
При увеличении частоты
вращения заготовки более 100 об/мин наблюдалось появление разрыва между
лунками, а качество поверхности в пространстве между лунками соответствовало
качеству после токарной обработки, тогда как высота микронеровностей по
поверхности лунок составила Ra 0,3-0,15 мкм (рис. 5.7).
Рисунок 5.6 -
Зависимость длинны лунки от частоты вращения заготовки
Рисунок 5.7 -
Зависимость шероховатости обработанной поверхности от частоты вращения
заготовки
Как видно из рисунка
оптимальное значение частоты вращения заготовки лежит в пределах 20 - 40
об/мин. Дальнейшее повышение частоты вращения ведет к появлению разрывов между
лунками и резкому увеличению шероховатости поверхности, снижение частоты
вращения заготовки приводит к излишнему перенаклепу поверхности и подрыву уже
упрочненного слоя, что также ухудшает шероховатость.
В зависимости от
соотношения скорости вращения заготовки и величины продольной подачи были
получены лунки соприкасающиеся и несоприкасающиеся как в продольном, так и в
поперечном сечениях заготовки, а также перекрывающие друг друга. При использовании
подачи более 0,3 мм/об перекрытие лунок исчезало. Глубина перекрывающихся лунок
(рис. 5.8) составила 0,006 мм, ширина до 1,5 мм, а у несоприкасающихся -
соответственно 0,02 мм 1,75 мм.
Рисунок 5.8 - Зависимость
шероховатости упрочненной поверхности от продольной подачи (n=25 об/мин)
Следовательно, для
достижения максимального перекрытия и снижения шероховатости поверхности, при
обработке следует снижать частоту вращения заготовки до 20 - 40 об/мин или же
повышать частоту вращения индентора и снижать продольную подачу. Применение
этих мер хотя и повышает качество обработанной поверхности, но влечет за собой
значительное снижение производительности обработки.
При обработке
поверхности на оптимальных режимах (n=20
- 40 об/мин, S=0,1 - 0,2 мм/об) заметных наплывов по краям лунок не обнаружено.
Очевидно, вытесненный при ударе по краям лунки материал сглаживается
инструментом при повторном деформировании. При обработке на режимах
незначительно превышающих рекомендуемые, наплывы также обнаружены небыли, что
можно обьяснить снятием появляющихся наплывов при повторном деформировании, но
невозможностью перекрытия поверхности из-за высокого разброса лунок. В этой
особенности проявляется достоинство ударно-силового выглаживания по сравнению с
чеканкой. Появления наплывов по краям лунок было заметно лишь при высоких
частоте вращения и подаче, что является одним из факторов резкого ухудшения
шероховатости поверхности.
Исследования изменения
размера и формы заготовки в поперечном сечении после ударно-силового
выглаживания позволили установить, что при обработке на повышенных режимах
диаметральный размер уменьшился в среднем на 0,02 мм из-за вытеснения материала
заготовки при ударе (рис. 5.9). При использовании частоты рекомендуемой частоты
вращения и подачи уменьшение диаметрального размера заготоки наблюдаемое при
силовом выглаживании перекрывается вытесняемым из лунок материалом при ударе
вследствие чего диаметральный размер практически не изменяется.
Рисунок 5.9 - Изменение
диаметра обрабатываемой поверхности вследствие пластического деформирования
материалла
Исследования
микротвердости поверхностного слоя заготовки обработанной ударно-силовым
выглаживанием непроводились. Это было вызвано тем, что после ударно-силового
выглаживания, как указывалось выше, получается специфическая поверхность с
сеткой лунок. По дну лунок располагается зона наибольшего упрочнения. Лунки, в
зависимости от заданных режимов обработки, могут располагаться на некотором
расстоянии друг от друга. Следовательно, зоны максимального упрочнения носят
локальный характер. Поэтому использование общепринятой методики определения
микротвердости поверхности с изготовлением «косых шлифов» представлялось
невозможным. Поэтому результаты, полученные при измерении микротвердости
поверхности носят лишь приближенный характер. Анализ результатов исследования
микротвердости поверхности показал, что в пространстве между лунками
поверхность по сравнению с исходной упрочнилась на 40% на глубину до 0,16 мм.
Под пятнами упрочнения микротвердость поверхности повысилась на 73,3% по
сравнению с исходной и на глубину до 0,553 мм.
5.4 Вывод
Таким образом, метод
ударно-силового выглаживания объединяет в себе достоинства силового
выглаживания по получению низкой шероховатости и чеканки с возможностью
упрочнить поверхность обработки на значительную глубину, создать регулярный
микрорельеф и тем самым увеличить маслоемкость поверхности детали.
Выводы
В дипломном проекте
решено научно-практическую задачу повышения качества ремонта поверхности
отверстий под посадочное место подшипника, путем порошковой наплавки и
ударно-силового обкатывания.
1. В результате анализа
исследований в области улучшения поверхности поверхностно-пластическим
деформированием детали определено новое направление дающее продолжение данной
обработке.
. Сравнительный анализ
различных методов поверхностно-пластической обработки детали показал, что
наиболее эффективным методом является метод ударно-силового обкатывания
поверхности, сочетающий в себе преимущества силового обкатывания и чеканки.
. В результате анализа
конструкции приспособлений для ППД был разработан алгоритм, позволяющий в
производственных условиях выбирать наиболее рациональную компоновку
приспособления для ППД.
. С использованием
разработанного алгоритма выбора приспособления для ППД разработаны новые
приспособления позволяющие реализовать метод ударно-силового обкатывания.
. В результате
экспериментальных исследований обработки отверстий ударно-силовым обкатыванием
были получены рекомендации по оптимальным режимам обработки.
Список использованной
литературы
1. Суслов А.Г. Экспериментально-статистический метод обеспечения
качества поверхностей деталей машин [текст] / Суслов А.Г., Горленко О.А. - М.: Машиностроение, 2003. - 303 с.
. Суслов А.Г. Качество поверхностного слоя деталей машин [текст] / Суслов А.Г. - М.:
Машиностроение, 2000. - 320 с.
. Суслов А.Г. Технологическое обеспечение параметров состояния
поверхностного слоя деталей [текст] / Суслов А.Г. - М.: Машиностроение. 1987. - 208 с.
. Суслов А.Г. Научные основы технологии машиностроения [текст] / Суслов А.Г., Дальский А.М. - М.:
Машиностроение, 2002. - 684 с.
. Суслов А.Г. Качество машин [текст] / Суслов А.Г. -
Справочник в 2-х томах. - М.: Машиностроение, 1995. -386 с.
. Бутенко В.И. Формирование и изнашивание поверхностного слоя
детали [текст] / Бутенко В.И. - Таганрог: Изд-во ТРТУ, 1999. - 193 с.
. Бутенко В.И. Износ деталей трибосистем [текст] / Бутенко В.И. -
Таганрог: Изд-во ТРТУ, 2002. - 236 с.
. Кулинский А.Д. Современные представления о надежности и качестве
деталей и способах их обеспечения [текст] / Кулинский А.Д., Бутенко В.И. - Таганрог - Ейск: Изд-во ТРТУ,
2002. - 159 с.
. Бутенко В.И. Совершенствование процессов обработки авиационных
материалов [текст] / Бутенко В.И. Дуров Д.С. - Таганрог: Изд-во ТРТУ, 2004. - 127 с.
. Бутенко В.И. Системный подход к обеспечению надежности машин и
оборулования [текст] / Бутенко В.И. - Таганрог: ТРТУ, 2005, 287 с. - Деп в ВИНИТИ
№735-В2005 от 23.05.05. Реф. опубл. в ВИНИТИ «Депонир. научные работы», №7,
2005.
. Бутенко В.И. Высокопрочные и сверхпрочные состояния металлов и
сплавов [текст] / Бутенко В.И. - Таганрог: Изд-во ТРТУ, 2003. - 219 с.
. Бутенко В.И. Физико-технологические основы формирования
управляемых структур сталей и сплавов [текст] / Бутенко В.И. - Таганрог: Изд-во ТРТУ 2004. -264 с.
. Бутенко В.И. Конструкторско-технологическое обеспечение
надежности изделий в машиностроении [текст] / Бутенко В.И. - Таганрог: ТРТУ, 1999, 202 с. - Деп. в ВИНИТИ
№975-В99 от 29.03.99. Реф. опубл. в ВИНИТИ «Депонир. научные работы», №5, 1999.
. Бабичев А.П. Отделечно-упрочняющая обработка деталей
многоконтактным виброударным инструментом [текст] / Бабичев А.П., Мотренко
П.Д. - Ростов-на-Дону: Издательский центр ДГТУ, 2003. - 192 с.
. Косилова А.Г. Справочник технолога-машиностроителя [текст] / Под общ. ред. А.Г.
Косиловой, Р.К. Мещерякова. - М.: Машиностроение, 1986, т. 2. - 496 с.
. Бутенко В.И. Локальная отделочно-упрочняющая обработка
поверхностей деталей машин [текст] / Бутенко В.И. - Таганрог: Изд-во ТРТУ, 2006. - 126 с.
. Киричек А.В. Технология и оборудование статико-импульсной
обработки поверхностным пластическим формированием [текст] / Киричек А.В., Соловьев
Д.А., Лазуткин А.Г. - М.: Машиностроение. - 288 с.
. Папшев Д.Д. Упрочнение деталей обкаткой шариками [текст] / Папшев Д.Д. - М.:
Машиностроение, 1968. - 132 с.
. Губкин С.И. Пластическая деформация металлов [текст] / Губкин С.И. ТЛИ. - М.:
Металлургиздат, 1963. - 522 с.
. Градштейн И. С Таблицы интегралов, сумм рядов и произведений [текст] / Градштейн И.С., Рыжик И.М. - М.:
Физматгиз, 1971. - 1108 с.
. Бутенко В.И. Структурное состояние сталей и сплавов [текст] Учебное пособие /
Бутенко В.И., Шаповалов Р.Г. - Таганрог: Изд-во ТРТУ, 2004. - 60 с.
. Бутенко В.И. Системный подход к обеспечению надежности машин и
оборулования [текст] / Бутенко В.И. - Таганрог: ТРТУ, 2005, 287 с. - Деп в ВИНИТИ
№735-В2005 от 23.05.05. Реф. опубл. в ВИНИТИ «Депонир. научные работы», №7,
2005.
. Бабичев А.П. Отделечно-упрочняющая обработка деталей
многоконтактным виброударным инструментом [текст] / Бабичев А.П., Мотренко
П.Д. - Ростов-на-Дону: Издательский центр ДГТУ, 2003. - 192 с.
. Демкин Н.Б. Качество поверхности и контакт деталей машин [текст] / Демкин Н.Б., Рыжов
Э.В. - М.: Машиностроение, 1981. - 244 с.
. Каледин Б.А. Повышение долговечности деталей поверхностным
деформированием [текст] / Каледин Б.А. Чепа П.А. - Минск: Вышэйшая школа, 1974. -256 с.
. Михин Н.М. Внешнее трение твердых тел [текст] / Михин Н.М. - М.: Наука, 1977. -
222 с.
. Кудрявцев И. В Повышение прочности и долговечности крупных
деталей машин поверхностным наклепом [текст] / Кудрявцев И. В-М. НИИИНФОРМТЯЖМАШ, 1970. - 144 с.