Редуктор циліндричний прямозубий загального призначення
ВСТУП
Машинобудуванню належить провідна
роль серед інших галузей народного господарства, так як основні виробничі
процеси виконують машини. Тому і технічний рівень усіх галузей народного
господарства в значній мірі визначається рівнем розвитку машинобудування
На основі розвитку машинобудування
здійснюється комплексна механізація і автоматизація виробничих процесів
промисловості, в будівництві, в сільському господарстві, на транспорті.
Перед машинобудівниками поставлена
задача значного підвищення експлуатаційних і якісних показників продукції при
неперервному зрості об’єму її випуску. Одним із напрямів розв’язання цієї
задачі є удосконалення конструкторської підготовки машинобудівних
спеціальностей.
Редуктором називається механізм,
який складається з зубчастих або черв’ячних передач, виконаний у вигляді
окремого агрегату і призначений для передачі обертання від вал двигуна до
робочої машини. Редуктор призначений для зниження кутової швидкості, підвищення
обертального моменту веденого валу в порівнянні з ведучим. Механізми для
підвищення кутової швидкості, виконують у вигляді окремих агрегатів і називають
мультиплікатором.
Редуктор складається з корпусу
(литого чавунного або зварного стального), в якому розміщені елементи передачі
- зубчасті колеса, вали, підшипники тощо. У деяких випадках у корпусі редуктора
розміщують також пристрої для змащення зачеплень і підшипників або пристроїв
для охолодження.
1. Вибір
електродвигуна та кінематичний розрахунок приводу
.1
Визначаємо загальний механічний ККД приводу
η=η1
η2


;
де η1 - ККД
муфти;
η2 - ККД
редуктора;
η3 -ККД пари
підшипників;
-ККД цепної передачі.
За табл. 1.1.(2) приймаємо : η1=0,98;
η2=0,99; η3=0,98;
=0,95.
Тоді η=0,98
0,993
0,98
0,95=0,89.
1.2
Визначаємо необхідна потужність
.
1.3
Попередньо призначаємо значення передаточних чисел щаблів передачі
електродвигун передача
редуктор колесо
За табл.1.2(2) приймаємо для цепної
передачі U2=3; для зубчастої - U1=3.
.4 Загальне
передаточне число
=U1 · U2=3 · 4=12.
1.5
Визначаємо орієнтовне значення частоти обертання валу електродвигуна
дв.=n3 · U=100 ·12=1200 об/хв.
1.6 Вибір
електродвигуна
За табл. 18.36(2) приймаємо
електродвигун типу 112МА6, у якого
Рдв.=3 кВт, nдв.=955 об/хв.
1.7
Визначаємо загальне передаточне число
.
1.8
Розбиваємо передаточне число по окремим передачам
За ГОСТ 21426-75 приймаємо для
зубчастої передачі U1=4, тоді для цепної передачі:
.
.9 Частота
обертання валів приводу
Розходження відповідає заданому.
1.10
Визначаємо потужності на валах приводу
Р1=2,9кВт;
1.11
Обертальні моменти
Рис.1. Кінематична схема приводу
2.
Розрахунок закритої прямозубої циліндричної передачі
.1
Вибираємо матеріал коліс і призначаємо термічну обробку
За табл.. 3.3(5) вибираємо: сталь
45.ГОСТ 1050-88, термообробка - поліпшення до твердості: шестерня 230HB,
зубчасте колесо 210HB.
.2
Визначаємо допустимі контактні напруження за формулою
,
де
нlіmв -
границя контактної витривалості при базовому числі циклів в навантаження. За
табл.. 3.2(5) приймаємо:
(МПа),
КHL- коефіцієнт
довговічності, при довготривалій роботі КHL=1,
(SH) - коефіцієнт безпеки, для
нормалізованої та поліпшеної сталі(SH)=1,1...1,2. Приймаємо (SH)= 1,15.
Тоді:
Тоді:
2.3 Визначаємо допустимі напруження згину за формулою
,
де
- границя
згинальної витривалості при базовому числі циклів навантаження.
За табл. 3.9.(5)
=1,8 НВ.
Тоді для шестерні і колеса:
=1,8 ·230=414МПа;
=1,8 ·210=378МПа.
КFL - коефіцієнт довговічності.
При навчальному проектуванні для
довготривалої роботи КFL=1,0.
[SF]- коефіцієнт безпеки:
[SF]= [SF]'[SF]",
де[SF]' - коефіцієнт, що враховує
нестабільність властивостей матеріалу зубчастих коліс. Для поліпшеної
сталі[SF]'≤ 350НВ. [SF]'=1,75.
[SF]"- коефіцієнт, що враховує
спосіб отримання заготівки, для поковок і штамповок [SF]"=1,0.
Тоді: (SF)=1,75·1,0=1,75
2.4
Визначаємо міжосьову відстань за формулою
аW = 49,5(U1+1)
.
За ГОСТ 2185-66 міжосьова відстань
приймається стандартною.
ΨВа
- коефіцієнт ширини вінця колеса. ΨВа=0,25
- для прямозубих передач.
КНВ = коефіцієнт нерівномірності
розподілу навантаження між зубами.
За табл.3.1[5] для несиметричного
розташування коліс ( за рахунок дії консольної сили ) і твердості < 350НВ
приймаємо КНВ=1,2.
Тоді:
мм
За ГОСТ 2185-66 вибираємо стандартне
значення аw=140мм .
2.5
Визначаємо нормальний модуль зачеплення
тп=(0,01...0,02) ·140=1.4... 2,8мм.
За ГОСТ приймаємо стандартне
значення тп=2 мм
2.6
Визначаємо число зубів
шестерні Z1=
приймаємо Z1=28;
сумарне число зубів
;
колеса: Z2=ZΣ
- Z1 = 140 - 28=112.
2.7
Визначаємо ділильні діаметри
шестерні : d1=mn · Z1=2·28=56мм;
колеса : d2= mn · Z2=2·112=224мм.
2.8
Визначаємо діаметри виступів
шестерні : d а1= d1+2 mn=
56+2·2=60мм;
колеса : dа2= d2+2 mn=
224+2·2=228мм.
2.9
Визначаємо діаметри западин
шестерні : d f1= d1 - 2,5 mn= 56 -
2,5 · 2 =60мм;
колеса : df2= d2 -2,5 mn=224 - 2,5 ·
2=219мм.
2.10
Перевірка міжосьової відстані
.
2.11
Визначаємо ширину колеса
в2= Ψва
· аW = 0,25·140 = 35мм.
За табл. 18.1[2]приймаємо в2= 30мм.
Шестерні : в1= в2+5= 30+ 5= 35мм.
За табл. 18.1[2]приймаємо в1=35мм.
Коефіцієнт ширини шестерні за
діаметром:
Ψвd=
.
2.12
Сили, що діють в зачепленні
колова :
;
радіальна:Fr=Ft ·tg αW,
αW=20 ˚;
Fr=1035 ·tg 20 ˚=376,7H.
Рис. 2. Схема сил, що діють в
зачепленні прямозубої передачі.
2.13 Колова
швидкість коліс
.
При даній швидкості
призначаємо восьму степінь точності виготовлення передачі.
2.14
Перевірка контактної міцності передачі
=
,
де КН - коефіцієнт
навантаження,
КН=
,
де
-
коефіцієнт, що враховує нерівномірність розподілення навантаження між зубами;
- коефіцієнт, що враховує
нерівномірність розподілення навантаження по ширині вінця;
- коефіцієнт динамічності. За табл.
3.6.(5) приймаємо, що
=1,05;
За табл. 3.4(5) приймаємо
=1,09;
За табл. 3.5 (5) приймаємо
=1,06.
Тоді:
КН= 1,09 ·1,06 ·1,05=1,21.
Тоді:
=
.
Отже,
<
= 376,4МПа
< 426,1 МПа, тобто передача недовантажена;
Недовантаження складає :
, що
допустимо.
2.15
Перевірка міцності зубів на згин
=
- коефіцієнт форми зуба,
- коефіцієнт кута нахилу зубів,
- коефіцієнт перекриття.
За ГОСТ 21354 - 75вибираємо
1=3,80 і
2= 3,60. Для
прямозубих коліс
=1,0.
Приймаємо в навчальних цілях
=0,92.
КF=
,
де
-
коефіцієнт, що враховує нерівномірність розподілення навантаження по ширині
вінця.
- коефіцієнт динамічності.
За табл. 3.7.(5) при
несиметричному розташуванні коліс приймаємо
=1,12. За табл. 3.8.(5)приймаємо
=1,25.
Тоді:
Знаходимо відношення:
для шестерні:
;
для колеса:
.
Подальший розрахунок
проводимо для зубів колеса:
=
;
<
=216МПа, перевірка виконується.
3.
Проектний розрахунок валів редуктора
.1 Ведучий
вал
Діаметр вихідного кінця при
допустимому напруженні; [
к]=25мПа.
В1=
.
Приймаємо dВ1=22мм.
Приймаємо діаметр під валу підшипник dП1=
dВ1+6=22+6=28мм, приймаємо
.
Діаметр df1=55мм.
Ведений вал з’єднано з валом
електродвигуна за допомогою муфти. Діаметр вала двигуна марки 4А90L4 приймаємо
за ГОСТ 19523-81(с.391
) dв=24мм.
Вибираємо муфту пружну втулково-пальцеву,для якої за ГОСТ 21424-75 (табл.11.5
) діаметр
вихідного кінця вала dв
=22 мм
,розточки напівмуфти під діаметр валу електродвигуна dв=24мм, діаметр муфти D
=100 мм,
довжина муфти L
=104мм.
Рис. 3. Конструкція ведучого валу.
3.2 Ведений
вал
Приймаємо [
к]=20мПа.
Діаметр вихідного кінця валу:
В2=
Діаметр валу під підшипник приймаємо
dП2=40мм,dК2=45мм.
Рис.4.Конструкція веденого вала.
4.
Конструктивні розміри шестерні і колеса
.1 Шстерня
Шестерню виконують за одне ціле з
валом, її розміри визначені попередньо: d1=62мм, da1=67мм, df1=55мм, b1=45мм.
4.2 Колесо
Рис. 5.Циліндричне зубчасте колесо.
Виконуємо коване, його розміри:=258мм,
da2=263мм, df2=252мм, b2=40мм.
Діаметр маточини :
dм=(1,6
) dК2=(1,6
)45=(72
)мм.
Довжина маточини :d
=76мм.
lм(1,2
1,6)
dК2=(1,2
1,6)45=(54
72)мм.
приймаємо lм=64мм.
Товщина обода :
δ0=(2,5
4) mп=(2,5
4)2,5=(6,25
10)мм.
приймаємо d0=10мм.
Товщина диска :
С=0,3· b2=0,3·40=12мм.
приймаємо С=12мм.
Внутрішній діаметр обода :
= df2 -2 δ0=252-2·10=232мм.
приймаємо D0=232мм.
Діаметр центрового кола:
;
Діаметр отворів в диску:D
=154мм
,
приймаємо
=40мм..
Розмір фаски:
П=0,5 тп=0,5·2.5=1,25мм.
5.
Конструктивні розміри корпуса і кришки редуктора
Корпуси та кришки редуктора
виготовленні литвом з чавуну.
5.1
Товщина стінок корпуса і кришки:
=0,025+1=0,025·160+1=5мм,
приймаємо
=8мм.( Для литих чавунних корпусів δmin
8 мм.
5.2
Товщина верхнього пояса редуктора
в=1,5·
=1,5·8=12мм.
5.3
Товщина нижнього пояса редуктора
р=2,35·
=2,35·8=18,8мм.
приймаємо р=20мм.
5.4 Товщина
ребер корпуса і кришки редуктора
Р=(0,85...1)
=(0,85...1)8=6,8...8мм.
приймаємо
Р=8мм.
5.5
Діаметри болтів
Фундаментних:
=(0,03...0,036)·аw+12=(0,03...0,036)
·160+12=(16,8...17,8)мм.
приймаємо болти з різьбою
М18.
Болтів, що з’єднують кришку з
корпусом біля підшипника:
=(0,7...0,75)
=(0,7...0,75)18=(12,6...13,5)мм,
приймаємо болти з різьбою
М14.
=(0,5...0,6)
=(0,5...0,6)18=(9...10,8)мм,
приймаємо болти з різьбою
М10.
Діаметри болтів для
закріплення кришок підшипників до редуктора:
=(0,25...0,3)
=(0,25...0,3)18=(5...6)мм,
приймаємо болти з різьбою М6.
Діаметри болтів для
закріплення кришки оглядового отвору:
=6мм.
Приймаємо болт з різьбою
М6мм.
5.6
Ширина фланця поясів корпуса та кришки вибирається по табл. 10.2.(5) в
залежності від прийнятих розмірів болтів
Ширина фланця основи корпуса:
=18мм;
К1=63мм.
Ширина фланця верхнього корпуса та
кришки:
=14мм;
=10мм;
К2=36мм;
К3=28мм.
5.7
Розміри штифта
діаметр:
=
=10мм;
довжина:
lшт=(в1+в2)+(3...5)=(28...30)мм,
приймаємо штифт:10
30 по ГОСТ
3129-70 (ст. 143(5)).
5.8
Діаметр різьби маслозливної пробки
=(1,6...2,5)
=(1,6...2,5)8=(12,8...17,6)мм,
приймаємо пробку з різьбою
М16
1,5.
6. Перший
етап ескізного компонування
Цей етап має мету встановити
приблизне розташування зубчастого колеса відносно опор, а також зірочки цепної
передачі та напівмуфти для послідуючого визначення опорних реакцій і підбору
підшипників.
Компонування креслення виконуємо в
одній проекції - розріз по осям валів при знятій кришці редуктора в масштабі
1:1 на міліметровому аркуші.
Креслимо спрощено шестерню та
зубчасте колесо у вигляді прямокутників за розрахунковими величинами .
Окреслюємо контур внутрішньої стінки
корпуса: приймаємо зазор між торцями шестерні та внутрішньої стінки корпуса:
А1=1,2·
=1,2·8=10мм;
приймаємо зазор від колеса до
внутрішньої стінки корпуса:
А=A
=10мм.
Попередньо приймаємо
радіальні шарико- підшипники легкої серії для швидкохідного ( ведучого валу )
та легкої для тихохідного ( веденого ); габарити підшипників вибираємо по
діаметру вала у місті посадки підшипників на вали:
=30мм;
=40мм.
За табл. П5(5)
Табл.1.
|
Умовне позначення підшипників
|
Розмір, мм
|
Вантажопідйомність
|
|
DBCCo
|
|
|
|
|
|
206
|
30
|
62
|
16
|
19.5
|
10
|
|
208
|
40
|
80
|
18
|
32
|
17.8
|
Вирішуємо питання щодо змащування
підшипників.
При коловій швидкості зубчастих
коліс V=2,3м/с (див. П2.10) приймаємо для змащування підшипників пластичний
змащувальний матеріал солідом УС-1.
Глибина гнізда підшипника :
l2=К2+
+(1...5)=36+8+(3...5)=(47...49)мм;
приймаємо : l2=48м.
Довжина вихідного кінця
ведучого валу під посадку напівмуфти:
,
приймаємо
.
Довжина вихідного кінця
веденого вала під посадку зірочки цепної передачі:
=(1,3
1,5)
(1,6
2,2)
=(54
68)мм,
приймаємо : Lц=64мм.
Заміром креслення визначаємо
:
а) Відстань між точками
прикладення сил в зачепленні і точкою прикладання реакції опори :
ведучий вал а1=60мм;
- ведений вал а2=61мм;
б) Відстань між точками прикладення
реакцій в підшипнику і консольною силою :
l1 =110мм;
- l2 =82мм.
.1
Швидкохідний вал
Із попередніх розрахунків:
Сили в зачепленні:
Колова сила Ft=1677H;
Радіальна сила Fч=610,3Н;
Частота обертання валу
об/хв.;
Обертальний момент на валу
Т1=52 Нм;
Із попереднього ескізного
компонування: а1=60мм, l1 = 110мм.
На вихідному кінці ведучого
валу розташована муфта, від якої на вал діє консольна сила Fм .Напрямок цієї
сили невідомий, він може бути будь-яким. Вважатимемо, що напрямок реакції від
сили Fм співпадає з напрямком сумарних реакцій від дії сил у зачепленні.
Величину сили від дії муфти
визначаємо формулою:
Н.
Складаємо розрахункову схему
ведучого вала.
Рис 7. Розрахункова схема ведучого
вала.
Реакції опор від дії сил у
зачеплені:
вертикальна площина, від сили Fr:
R
Н.
горизонтальна площина, від сили Ft :
Н.
реакції від дії муфти:
;
Н;
Виконуємо перевірку:
;
отже перевірка виконується.
.Сумарні реакції опор:
;
.
Визначення еквівалентного
навантаження на опори.
Далі розрахунок проводимо по більш
навантаженій опорі 1:
=U ·R1 ·Kб ·Km ,
де : U=1, якщо обертається внутрішнє
кільце,б=1,25 , коефіцієнт безпеки при постійному режимі роботи,=1,
температурний коефіцієнт,=1 ·1519,8·1,25 ·1,0=1899,75Н.
Потрібну динамічну
вантажопідйомність підшипника визначаємо формулою:
Спотр= Re
де: Lh=20·10 3год.(табл.
6.3.(5));
=3
Спотр=1899,75
,
отже ,Спотр<Спідш=19,5 кН.
Приймаємо кінцево підшипник
206, у якого С=19,5 кН..
.2
Ведений вал
Із попередніх розрахунків:
підшипник 208;
колова сила Ft=1677H;
радіальна сила Fr=610,3H;
обертальний момент на валу
Т2=154Нм;
частота обертання валу
=180 об/хв.;
першого етапу ескізного
компонування а
мм і l
мм.
На вихідному кінці веденого
вала розташована цепна передача, яка діє на вал з силою F
=F
=1878 Н
(якщо сила попередньо не визначалася, то її числове значення знаходимо за
формулою:
. Напрямок
цієї сили невідомий, він може бути будь-яким, вважаємо що напрямок реакції від
сили F
співпадає з
напрямком сумарних реакцій від дії сил у зачеплені.
Рис.9. Розрахункова схема
веденого вала.
Складаємо розрахункову схему
веденого вала
Визначаємо реакції опори від
сили в зачепленні :
вертикальна площина, від сили
Fr:
;
горизонтальна площина від сили Ft:
;
реакції опори від дії сили
від цепної передачі:
-R
;
-R
.
Перевірка :
.
Визначення сумарних реакцій
опор:
;
.
Подальший розрахунок проводимо по
більш навантаженій опорі 4:
=U ·R4 ·Kб ·Km=1,0
·4032,5·1,25·1,0=5040,6H.
Необхідна динамічна
вантажопідйомність підшипника :
Спотр= Re
.
8.
Перевірочний розрахунок веденого валу
.1
Призначення матеріалу вала
Призначаємо матеріал валу:
сталь 45 ГОСТ 1050-88 нормалізована. Границя міцності
, твердість
НВ190. Границя витривалості:
Згину:
;
Кручення:
.
Складаємо розрахункову схему
вала (рис. 12).
Визначаємо згинальні та
крутні моменти і будуємо епюру згинальних та крутного моментів:
Із попередніх розрахунків:
,
,
;
Визначаємо згинальні моменти
від сил в зачепленні.
Визначаємо згинальні моменти
відносно характерних перерізів:
Вертикальна площина:
Горизонтальна площина:
;
Від консольного навантаження
цепної
передачі:
по отриманим результатам
загальних моментів і величини крутного моменту
будуємо їх епюри.
У відповідності з епюрами згинальних
і крутних моментів і наявність напруження, встановлюємо небезпечні перерізи,
які підлягають перевірочному розрахунку на втомленість.
Такими перерізами будуть перерізи
під серединою зубчатого колеса та підшипником 4.
Переріз А-А.
Визначаємо сумарний
згинальний момент
в перерізі
під серединою зубчастого колеса. Приймаємо, що момент від консольної сили
в гіршому
випадку співпадає по направленню з сумарним моментом від сил в зачепленні
зубчастої передачі:
.
Осьвий момент опору вала з
урахуванням шпонкового пазу:
Для вала з зубчастим колесом
.
За ГОСТ 23360-78 табл. 8.9(5)
ширина шпонкового пазу b=14 мм, глибина пазу на валу
:
.
Полярний момент опору
перерізу вала з урахуванням шпонкового пазу:
.
Амплітуда нормальних
напружень. Вважаємо, що нормальні напруження згину змінюються по системному
циклу:
.
Амплітуда дотичних напружень.
Вважаємо, що вони змінюються по пульсуючому циклу:
.
Концентрація напружень
обумовлена шпонковим пазом і встановленням зубчастого колеса на вал з натягом.
При знаходженні коефіцієнту зниження границі витривалості для кожного
концентратора напружень. За розрахункові приймаються ті коефіцієнти, які мають
більші значення. Коефіцієнт зниження границі витривалості розраховуємо за
формулою:
де
і
- ефективні
коефіцієнти концентрації напружень з урахуванням шпонкового пазу. Знаходимо за
табл.. 8.5(5) для сталі при
маємо:

;за табл.. 8.8(5) ;
КF - коефіцієнт впливу шорсткості
поверхні: при Rа= 0,32-2,5 мкм ( стор.162[ 5 ] ).
приймаємо КF =1,07.
КV - коефіцієнт впливу поверхневого
зміцнення, приймаємо КV =1 ( при відсутності поверхневого зміцнення )
Від установки колеса на вагу
з натягом коефіцієнт зниження межі витривалості в місцях напре совки колеса на
вал знаходимо по відношенню:
і
.
За табл. 8.7 (5) при,
,
.
,
;
В подальших розрахунках
використовуємо більші значення
Визначаємо коефіцієнт запасу
витривалості по нормальним і дотичним напруженням:
Знаходимо коефіцієнт запасу
міцності небезпечного перерізу А-А:
, умова виконується.
Переріз Б-Б
Концентрація напружень
обумовлена посадкою внутрішнього кінця підшипника 4 на валу з натягом. В
перерізі з’являється згинальний момент
і крутний момент
,
.
Осьовий момент опору перерізу
вала:
.
Полярний момент опору
перерізу вала:
.
Амплітуда нормальних
напружень циклу:
.
Амплітуда дотичних напружень
циклу:
.
Концентрація напружень
зумовлена посадкою внутрішнього кінця підшипника на валу з натягом при цьому
коефіцієнті зниження границі витривалості:
Знаходимо відношення
;
для вала в
місцях напресовки підшипника. За табл. 8.7(5) при
,
, та
приймаємо
;
:
Коефіцієнт запасу
витривалості по нормальним і дотичним напруженням:
Результуючий коефіцієнт
запасу витривалості перерізу Б-Б:
Розрахункове значення
коефіцієнтів запасу опору втомленому руйнуванню небезпечного перерізу перевищує
доступний коефіцієнт запасу витривалості, тому розміри діаметрів валу та
вибраний матеріал залишаємо без змін.
9. ДРУГИЙ ЕТАП ЕСКІЗНОГО
КОМПОНУВАННЯ
Метою другого етапу
компонування є конструктивне оформлення зубчастих коліс, валів та підготовка
даних для перевірки міцності валів і інших деталей з’єднання.
Викреслюємо шестерню і колесо
за конструктивними розмірами, знайденими раніше. Шестерню виконуємо, як одне
ціле з валом ведучим.
Конструктивно оформлюємо
підшипникові вузли, підшипникові кришки, манжетні ущільнення, вибрані За табл.
За ГОСТ 8752-79.
Конструктивно виконуємо
фланці корпуса і кришки редуктора, отвори під болти і установочні штифти
розраховані попередньо.
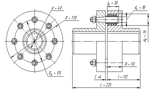
10. ДОБИРАННЯ МУФТИ
Враховуючи діаметр валу dв2=22 мм та
момент Т1 =52 Н·м, який через муфту передається, вибираємо муфту пружну
втулково-пальцеву (МУВП)
з Мном = 500 Н×м,
та діаметром вала мм по ГОСТ 21424 - 75.
За табл. 11.5 [5] приймаємо муфту з
наступними розмірами:= 170 мм.; [Tp] = 500 Н·м; B = 50 мм; dп = 18 мм; Z = 8;
do = 36 мм; l = 112 мм;= 225 мм; lb = 36 мм; C = 6 мм.
Перевіряємо гумові втулки на
зминання:
;
де Tр - розрахунковий момент на
валу;
Кр - коефіцієнт режиму роботи, який
приймаємо за табл. 11.3[5]:
1,2; [σзм] - допустиме
напруження зминання для гуми,
[σзм] = 10
МПа.
Тр = Т3 · Кр = 248,3 · 1,2 = 293
Н·м.
D0 = D - (1,5 ÷ 1,6) · do = 170 -
(1,5 ÷ 1,6) · 36 = (116 ÷ 112,4) мм.
Приймаємо D0 = 115 мм та обчислюємо
напруження зминання:
МПа < [σзм]
= 10 МПа - умову міцності виконано.
Рис. 13. Муфта пружна
втулочно-пальцьова.
11. ПІДБІР ШПОНОК І ПЕРЕВІРОЧНИЙ
РОЗРАХУНОК ШПОНОЧНИХ З’ЄДНАНЬ
11.1
Швидкохідний вал
Для консольної частини
добираємо призматичну шпонку в
h=8
7мм(табл.8.9.(5))
dB1=22мм.
Довжину шпонки беремо із
стандартного ряду довжин так, щоб вона була меншою від довжини посадочного
кінця валу: lB=50мм.
Приймаємо lшп=45мм з заокругленими
торцями.
Розрахункова довжина шпонки:
Р= lшп - в=45 - 8=37мм.
Допустимі напруження
зминання, які передбачають посадку шківа, виготовленого із сталі:
=100...150
МПа.
Розрахункові напруження
зминання:
,
де t1 - глибина пазу на валу
під шпонку, t1 =4,0мм .
<
.
Умова виконується.
11.2
Тихохідний вал
Для валу під маточину
зубастого колеса при dК2=45мм. За табл. 4.9.(4) приймаємо призматичну шпонку в
h=14
9мм.
Оскільки lМ=56мм, то слід
прийняти довжину призматичної шпонки з заокругленими торцями:
=56мм.
Розрахункова довжина шпонки:
Р= lшп - в=56 - 14=42мм.
Розрахункові напруження
зминання:
;
<
.
Умова виконується.
Рис.11. Схема шпоночного з’єднання.
Під маточину напівмуфти для dB2=34мм
приймаємо шпонку з розміром
в
h=10
8 і довжиною
l=56мм (при lМ=56мм.)
. ВИБІР МАСТИЛА ЗУБЧАСТОГО
ЗАЧЕПЛЕННЯ І ПІДШИПНИКІВ
Мащення зубчатого зачеплення
проводиться зануренням зубчатого колеса в масло, яке заливається в середину
корпусу, до занурення колеса приблизно на 10 мм.
По табл. 10.8 [5] встановлюємо
в’язкість мастила в залежності від середньої швидкості v = 2,7 м/с та
контактних напругах
σН
до 600 МПа. В’язкість повинна бути 34 · 10-6 м2/с.
За табл. 10.10 [5] приймаємо мастило
індустріальне И-40А по ГОСТ 20799-75.
Підшипники змащуємо пластичним
мастилом, яке закладаємо в підшипникові камери при монтажі.
Сорт мастила вибираємо по табл. 9.14
[5] - пресс-солідол з температурою
експлуатації -25 до +65ºС
ГОСТ 1033-79.
13. ПОРЯДОК ЗБИРАННЯ
Перед складанням внутрішню порожнину
корпуса і кришки редуктора ретельно очищують і покривають малостійкою фарбою,
зазвичай червоного кольору.
Складання виконують у відповідності
із складальним кресленням редуктора, починаючи з вузлів валів. На ведучий
вал-шестерню встановлюють шарикопідшипники попередньо нагріті у маслі до
температури 80 -100 ˚С.У шпон очний паз веденого вала встановлюється
шпонка ГОСТ 23360-78 і напресовується зубчасте колесо до упору бурт вала. Далі
надівається розпірне кільце і встановлюється шарикопідшипники попередньо
нагріті у маслі. На вихідні кінці валів встановлюють врізні кришки з гумовими
манжетами.
Зібрані вали встановлюють у днище
корпуса редуктора, встановлюють кришку корпуса, покриваючи попередньо площини
поясів спиртовим лаком. Для центровки встановлюють кришку на корпус за
допомогою двох конічних штифтів. Після чого затягують болти, які кріплять
кришку до корпуса.
Перевіряють прокручуванням валів.
Відсутність заклинання підшипників (вали повинні прокручуватись від руки).
Вкручують пробку маслоспускного
отвору з прокладкою із масло стійкої гуми і встановлюють жезловий
маслопокажчик. Заливають у корпус масло, закривають кришку болтом.
Зібраний редуктор піддають
випробуванню на стенді за програмою, яка встановлюється технічними умовами.
ЛІТЕРАТУРА
1.
Аркуша А.Н, Фролов М. „Техническая механіка” М, 1983г.
.
Дунаев П.Ф, Летиков О.П. „Детали машин. Курсовое проектированиэ” М, 1981г.
.Куклин
Н.Г, Куклина Г.С „Детали машин” М,1987г.
.Устюгов
„Детали машин” М, 1981г.
Чернилевский
Д.В, Павленко В.С, Любин М.В, „Технічна механіка, деталі машин”, Київ МНК ВД
1992.