Расчет ректификационных колонн для разделения многокомпонентных и бинарных смесей
1. Общие положения
Ректификацией называется тепломассообменный
процесс разделения гомогенных смесей на составляющие, компоненты путем
взаимодействия пара и жидкости, не находящихся в термодинамическом равновесии.
При этом одна группа веществ, составляющих смесь, переходит преимущественно в
пар (легколетучие, или низкокипящие компоненты - НКК), а другая часть - в
жидкость, или кубовый остаток (высококипящие компоненты - ВКК).
Таким образом, в процессе ректификации
происходит перенос веществ из фазы в фазу, что позволяет относить этот процесс
к группе массообменных. Создание противоточных парового и жидкостного потоков,
контактирующих между собой, осуществляется в ректификационных колоннах.
Исходная смесь F из своей емкости I насосом 2
подается через теплообменник 3, где она нагревается до температуры кипения, на
питающую тарелку ректификационной колонны 4 и стекает в нижнюю часть колонны,
называемую кубом.
Из куба часть жидкости отводится через делитель
12 в виде кубового остатка на холодильник 11, а другая - поступает в
нагреватель колонны 9, где доводится до температуры кипения. Образовавшиеся в
кипятильнике пары возвращаются в кубовую часть колонны и движутся навстречу
жидкостному потоку вверх по колонне.
Из верхней сепарационной части колонны пары G
поступают в дефлегматор 5, где частично или полностью конденсируются.
Образовавшаяся жидкость с температурой кипения в делителе флегмы 6 делится на
дистиллят Р, который поступает в конденсатор-холодильник 7 с целью снижения
температуры готового продукта до требуемой температуры, и флегму Ф , подаваемую
на орошение колонны на верхнюю тарелку и стекающую вниз навстречу паровому
потоку.
Место ввода исходной смеси в ректификационную
колонну (питающая тарелка) делит колонну на две части: верхнюю укрепляющую
часть А и нижнюю исчерпывающую часть колонны В.
Исходная смесь F, как и флегма Ф, подается в
колонну в виде жидкости при температуре кипения.
В схеме ректификационной колонны включается
дополнительное оборудование, предназначенное для хранения исходной смеси I и
дистиллята 8, а также насос 2 для перекачки исходной жидкой смеси.
Ректификационная колонна представляет собой
цилиндрический аппарат, внутри которого смонтированы контактные устройства той
или иной конструкции. В зависимости от типа контактных устройств ректификационные
колонны делятся на пленочные, насадочные и тарельчатые.
Тарельчатые ректификационные колонны наиболее
широко применяются в заводской практике, т.к. они имеют высокую разделительную
способность, устойчиво работают при значительных колебаниях нагрузок по
жидкости и пару, допускают создание аппаратов большого диаметра (10 - 15 м).
Расчеты ректификационных колонн для разделения
многокомпонентных и бинарных смесей базируются на общих Физико-химических
закономерностях. Но в основе любого метода расчета лежит ряд исходных
допущений, которые в значительной мере упрощают расчетную процедуру.
В предлагаемой методике расчета ректификационной
колонны использованы следующие допущения.
. Молярные потоки жидкости и пара на участке
колонны между вводами и выводами продукта остаются постоянными.
. Состав жидкости, стекающей в куб, равен
составу пара, поднимающегося из куба.
. Состав пара, поступающего из колонны в
дефлегматор, равен составу жидкости, стекающей из дефлегматора в колонну.
В данной методической разработке предлагается
использовать графоаналитический метод кинетического расчета тарельчатого
ректификационного аппарата для разделения бинарной смеси.
2. Методика и расчет полной
ректификационной колонны с сетчатыми тарелками
.1 Исходные данные
Рассчитать тарельчатую ректификационную колонну
непрерывного действия для разделения бинарной смеси бензол - толуол
производительностью по исходной смеси = 10 тыс. кг/час.
Содержание НКК:
в исходной смеси xF
= 75%
в дистилляте xP
= 95% (масс.);
в кубовом остатке xW
= 1,5% (масс.).
Давление в паровом пространстве дефлегматора
0,0998 Мпа.
2.2 Равновесие в системах
пар-жидкость
Парциальное давление пара
каждого компонента для идеальных жидких смесей зависит от температуры и
пропорционально мольной доли данного компонента в жидкости (закон Рауля):
рнкк = Рнкк
* х (1)
рвкк = Рвкк
* (1 - х) (2)
где рнкк и рвкк
- парциальные давления низкокипящего и высококипящего компонентов, Па
Рнкк и Рвкк
- упругость, или давление насыщенных паров над чистыми компонентами, Па
х - содержание низкокипящего
компонента в жидкости, мольн. доли.
Общее давление пара над
жидкостью равно сумме парциальных давлений (закон Дальтона):
Р = рнкк + рвкк
= Рнкк * х + Рвкк * (1 - х) (3)
Решая это уравнение
относительно х, получаем:
х = (Р - Рвкк)/(Рнкк
- Рвкк) (4)
Парциальное давление компонента
можно получить по закону Дальтона:
рнкк = Р*ункк
или Рнкк*х = Р*ункк (5)
где ункк -
содержание низкокипящего компонента в парах, мольн. доли.
При совместном решении
уравнений (1) и (5) можно получить равновесный состав пара:
ункк = рнкк
/Р = Рнкк *х/(Рнкк * х + Рвкк * (1 - х)) = α*х/(1+(α
- 1)*х,
(6)
где α
- относительная
летучесть НКК.
При решении приведенных
уравнений строятся следующие графики:
а) изобара равновесных
составов, называемая кривой равновесия, определяющая равновесные составы пара и
жидкости при постоянном давлении (рисунок 2);
б) изобары температур
кипения и конденсации, определяющие температуру кипения жидкости и температуру
конденсации паров заданного состава (рисунок 3).
Для построения этих графиков
необходимо задаться рядом температур, лежащих между температурами кипения
чистого бензола (80,1°С) и чистого толуола (110,6°С). Давление паров отдельных
компонентов при заданных температурах находится по уравнению Антуана
lg
P = A
- B/(C
+ t), (7)
где Р - давление паров над
чистым компонентом при какой-то температуре, мм рт.ст.;
t
- температура, 0С;
А, В, С - эмпирические
константы.
Таблица 1 - Значения констант
А, В, С
|
Соединение
|
А
|
В
|
С
|
|
Бензол
|
6,91
|
1214,64
|
221,2
|
|
Толуол
|
7,0
|
1343,94
|
219,38
|
Рисунок 1 - Диаграмма равновесия составов
пар-жидкость
Рисунок 2 - Изобары компонентов
При температуре 80,1 0С давление
паров бензола равняется 756,26мм рт.ст.
Давление паров толуола при температуре 80,1 0С
по формуле (7):
lg
Pтол
= 6,95 + 1343,94/(219,38 + 80,1) =2,46. Pтол
= 290,02 мм рт.ст.
При температуре 90,1 0С давление
паров бензола равняется
lg
Pбен
= 6,91 + 1214,64/(221,2 + 90,1) = 3,01. Pбен
= 1019 мм рт.ст.
lg
Pтол
= 6,95 + 1343,94 /(219,38+ 90,1) = 2,61. Pтол
= 405 мм рт.ст.
Давления паров бензола и толуола при других
температурах в указанном интервале находятся аналогично и данные заносятся в
таблицу 2.
По упругости паров компонентов при различных
температурах находятся равновесные составы: жидкости формула (4) и пара формула
(6), причем общее давление берётся Р = 760 мм рт.ст.
Определяем состав смеси, дистиллята и кубового
остатка в мольных долях по низкокипящему компоненту по уравнению
х = хнкк/Мнкк/( хнкк/Мнкк
+ (1 - хнкк)/Мвкк) (8)
Пересчитаем по формуле (8) в мольные доли:
)исходное питание хF = 0,75/78/(0,75/78
+ (1 - 0,75/92) = 0,7797;
)дистиллят хР = 0,95/78/(0,95/78 + (1
- 0,95/92) = 0,9573;
)кубовый остаток xW =
0,015/78/(0,015/78 + (1 - 0,015/92) = 0,0176.
На основании расчетных данных строятся изобары
равновесия х - у (см. рисунок 2) и изобары температуры кипения и конденсации
(см. рисунок 3).
Таблица 2 - Расчет равновесия смеси бензол -
толуол
|
t, 0C
|
Рнкк,
мм рт.ст.
|
Рвкк,
мм рт.ст.
|
х
(формула 4),мольн.доли
|
у
(формула 5),мольн.доли
|
|
80,1
|
756,26
|
290,02
|
1
|
1
|
|
82,1
|
803,99
|
310,59
|
0,89
|
0,95
|
|
84,1
|
854,06
|
332,33
|
0,80
|
0,91
|
|
86,1
|
906,53
|
355,27
|
0,71
|
0,86
|
|
88,1
|
961,48
|
379,47
|
0,63
|
0,81
|
|
90,1
|
1018,99
|
404,97
|
0,56
|
0,76
|
|
92,1
|
1079,14
|
431,83
|
0,49
|
0,71
|
|
94,1
|
1142,01
|
460,08
|
0,42
|
0,65
|
|
96,1
|
1207,68
|
489,80
|
0,36
|
0,58
|
|
98,1
|
1276,23
|
521,02
|
0,30
|
0,51
|
|
100,1
|
1347,75
|
553,80
|
0,25
|
0,44
|
|
102,1
|
1422,31
|
588,20
|
0,19
|
0,37
|
|
104,1
|
1500,01
|
624,27
|
0,14
|
0,28
|
|
106,1
|
1580,92
|
662,06
|
0,09
|
0,20
|
|
108,1
|
1665,13
|
701,64
|
0,05
|
0,11
|
|
110,6
|
1775,17
|
753,72
|
0
|
0
|
2.3 Определение оптимального
флегмового числа
Флегмовым числом называется отношение количества
флегмы Ф к количеству дистиллята Р:
R = Ф/Р (9)
На диаграмме х - у величина отрезка В на оси у,
получаемого продолжением рабочей линии укрепляющей части колонны до пересечения
с осью у, однозначно связана со значением флегмового числа
R = (xP
- B)/B
(10)
Минимальному значению флегмового числа
соответствует максимальное значение отрезка Вmax,
который образуется при проведении линии через точку С с координатами (хР;
уР) и точку Bi
c координатами (xF;
у*F)
до пересечения с осью у
Rmin = (xP - Bmax)/Bmax
(10а)
В точке В1 (см. рисунок 2) движущая
сила равна 0, поэтому заданное разделение исходной смеси может быть достигнуто
при различных значениях флегмового числа, больше Rmin
.
При проверочном проектировании ректификационной
колонны должно быть выбрано оптимальное значение флегмового числа, при котором
рабочий объем аппарата будет минимальным.
Объем колонны
= nox
*HР (11) .
где Sк
- площадь поперечного сечения колонны, м2;
НР - рабочая высота колонны, м.
Рабочая высота колонны может быть определена по
модифицированному уравнению массопередачи
НР = hx
*nox
(12)
где hx
- высота колонны, эквивалентная единице переноса, м;
nox
- число единиц переноса (ЧЕЛ),
ЧЕП определяется по значениям рабочих и
равновесных концентрации и, следовательно, изменяется при изменении флегмового
числа.
Поперечного сечения колонны определяется из
уравнения расхода
Sк
= V/ W,
(13)
где V
- объемный расход паровой фазы в колонне, м3/с;- скорость пара в
колонне, м/с.
Объемный расход паровой фазы в колонне при
прочих равных условиях пропорционален молярному расходу σ
и,
следовательно, можно записать
Sк
= σ/ W
(14)
При заданной производительности колонны и
условиях разделения величины σ, hx,
W остаются
неизменными, и можно сделать вывод, что минимум рабочего объема совпадает с минимумом
величины
V = (R
+ 1)* nox
(15)
Таким образом, задача отыскания оптимального
флегмового числа сводится к задаче отыскания минимума функции
R = f((R
+ 1)* nox)
(16)
Определение минимума этой функции удобно
производить графическим путем в следующей последовательности:
а) на графике х - у определяется значение Вmax
и по формуле (10а) определяется величина Rmin;
б) выбирается ряд значений флегмового
числа, больших Rmin
(5 - 6 значений);
в) для каждого выбранного значения
флегмового числа графически на диаграмме х - у наносятся рабочие линии;
г) для каждого значения флегмового числа
графическим путем вычисляется значение интеграла в пределах от xW
до xP:
nox
=
∫ dx/(x
- x*)
(17)
Перед проведением графического интегрирования
целесообразно составить таблицу зависимости 1/(x
- x*)
от значения х;
д) проведенные вычисления позволяют построить
график в координатах (R
+ 1)* nox
от R.
Значение R,
при котором функция имеет минимум, будет оптимальным значением флегмового числа
Rопт.
Нa диаграмме х - у (см. рисунок 2) наносится
точка А (хW
=
yW =0,0176) и точка С
(хP
=
yP = 0,9573), а на
кривой равновесия наносится точка В1, с абсциссой хF
= 0,7797. Из точки С проводится прямая линия через точку В1 до
пересечения с осью ординат, отсекая на ней отрезок Вmax
= 0,6332. Тогда минимальное флегмовое число
Rmin
= (0,9573 - 0,6332)/0,6332 ≈ 0,51.
Зададимся значениями флегмовых чисел от 0,55 до
3,05 и определим отрезки, отсекаемые на оси ординат, соответствующие флегмовым
числам (см. формулу 10).
При R
= 0,55 B = 0,9573/(0,55 +
1) = 0,6176.
При R
= 1,05 B = 0,9573/(1,05 +
1) = 0,4670.
При R
= 1,55 B = 0,9573/(1,55 +
1) = 0,3754.
При R
= 2,05 B = 0,9573/(2,05 +
1) = 0,3139.
При R
= 2,55 B = 0,9573/(2,55 +
1) = 0,2697.
При R
= 3,05 B = 0,9573/(3,05 +
1) = 0,2364.
Концы каждого полученного отрезка соединяем с
точкой С и строим линии рабочих концентраций для каждого значения флегмового
числа.
Между линиями рабочих концентраций и равновесной
кривой определяем значение x
- x*
для интервала хW
= 0,0176 до хР = 0,9573 и результаты определения в виде 1/(x
- x*)
заносим в таблицу 3.
По величинам, помещенным в таблице 3, для
каждого вертикального столбца методом интегрирования вычисляется число единиц
переноса nox
для каждого флегмового числа.
Таблица 3 - Результаты определения движущей силы
x - x*
|
R
|
0,55
|
1,05
|
1,55
|
2,05
|
2,55
|
3,05
|
|
x
|
1/(x
- x*)
|
1/(x
- x*)
|
1/(x
- x*)
|
1/(x
- x*)
|
1/(x
- x*)
|
1/(x
- x*)
|
|
хW=0,0176
|
84,66146
|
84,66146
|
84,66146
|
84,66146
|
84,66146
|
84,66146
|
|
0,1
|
20,47169
|
19,86099
|
19,50802
|
19,27805
|
19,11632
|
18,99639
|
|
0,3
|
8,30535
|
7,88045
|
7,64505
|
7,49549
|
7,39206
|
7,31626
|
|
0,5
|
6,68580
|
6,06044
|
5,74209
|
5,54919
|
5,41977
|
5,32693
|
|
хF=0,7797
|
176,98805
|
17,16379
|
11,30585
|
9,26251
|
8,22396
|
7,59558
|
|
0,8
|
84,42064
|
16,83203
|
11,49972
|
9,53581
|
8,51576
|
7,89126
|
|
0,9
|
25,23124
|
17,14445
|
14,36966
|
12,96808
|
12,12287
|
11,55770
|
|
хР=0,9573
|
18,43134
|
18,43134
|
18,43134
|
18,43134
|
18,43134
|
18,43134
|
Рисунок 3 - Графическое определение числа единиц
переноса для различных значений R.
По найденным значениям nox
для каждого флегмового числа определяется величина (R
+ 1)* nox
, результаты заносятся в таблицу 4.
Таблица 4 - Определение величины (R
+ 1)* nox
|
R
|
nox
|
R + 1
|
(R
+ 1)* nox
|
|
0,55
|
31,80575308
|
1,55
|
49,29891727
|
|
1,05
|
11,83383351
|
2,05
|
24,25935869
|
|
1,55
|
10,89521012
|
2,55
|
27,78278582
|
|
2,05
|
9,88446661
|
3,05
|
30,14762316
|
|
2,55
|
9,595513732
|
3,55
|
34,06407375
|
|
3,05
|
9,341250048
|
4,05
|
37,83206269
|
Cтроится график
зависимости (R + 1)* nox
от R, минимальное значение на котором, соответствует оптимальному флегмовому
числу. Чтобы найти минимум функции, приравниваем производную от нее к нулю и
решаем уравнение.
Рисунок 4 - График зависимости (R
+ 1)* nox
от R
Rопт
= 1,1180. Находим отрезок В на линии ординат, соответствующий Rопт
= 1,1180 по формуле (10):
Вопт = 0,9573/(1,1180 + 1) = 0,4520
2.4 Материальный баланс и уравнения
рабочих линий
Материальный баланс для всей ректификационной
колонны может быть представлен двумя уравнениями:
по всему продукту
F = P
+ W (18)
по легколетучему компоненту
F*xF
= P*xP
+ W*xW,
(19)
где F
- расход исходной смеси, кг/ч;
P - расход дистиллята,
кг/ч;
W - расход кубового
остатка, кг/ч;
xF,
xР,
xW - содержание
легколетучего компонента в питании, дистилляте и кубовом остатке, масс. доли.
2.4.1 Уравнение рабочей линии для
укрепляющей части колонны
Выделяется произвольное сечение в верхней части
аппарата (укрепляющей), для которой уравнение материального баланса по
низкокипящему компоненту имеет вид
G*yк
+ L*x = G*y + L*xн
, (2 0)
где G
- расход пара из колонны, кг/ч;
L - расход жидкости
в колонне, кг/ч;
х, у - концентрации НКК в жидкости и паре в
произвольном сечении колонны;
хн - начальная концентрация НКК в
жидкости;
ук - конечная концентрация НКК в
паре.
Для укрепляющей части колонны:
L = Ф = P*R
(21)
G = Р + Ф = P
+ R*P
= P*(1 + R)
(22)
ун = уG
= уР = уФ = хР (23)
хн = хФ = хР (24)
Тогда уравнение рабочей линии укрепляющей части
колонны будет иметь вид
у = R/(R
+ 1)*x + хР/(R
+ 1) (25)
2.4.2 Уравнение рабочей линии для
исчерпывающей части колонны
L/ = Ф
+ F = P*R + f*P = P*(R + f) , (26)
где f
= F/P
- число питания колонны.
Тогда уравнение рабочей линии исчерпывающей
части колонны будет иметь вид
у = (R
+ f)/(R
+ 1)*x + (f
- 1)/(R + 1)*xW
(27)
Из материального баланса (формулы 18 и 19)
вычисляются расходы дистиллята и кубового остатка:
= P
+ W (28)
*0,75 = Р*0,95 + 0,015*W
(29)
Разделим уравнение (29) почленно на 0,015 и
получим
= 63,33*Р + W
(30)
Вычтем из уравнения (30) уравнение (28) и
получим 490000 = 62,33*Р. Тогда Р = 490000/62,33 = 7861,38кг/ч, а W
= 10000 - 7861,38 = 2138,62 кг/ч.
Уравнение рабочей линии для укрепляющей части
колонны:
у = 1,1180/(1,1180 + 1)*х + 0,9573/(1,1180 + 1)
= 0,528*х + 0,452 (31)
Уравнение рабочей линии для исчерпывающей части
колонны:
у = (1,1180 + f)/(1,1180
+ 1)*х + (f - 1)/(1,1180 +
1)*0,0176.
Найдем число питания колонны f
= F/P*MP
/Mсм,
(32)
где MP
и
Mсм
- молекулярные массы дистиллята и исходной смеси, кг/кмоль.
Найдем молекулярную массу исходной смеси по
формуле
Mсм
= Мнкк*х + Мвкк*(1 - х) = 78*0,7797+ 92*(1 - 0,7767) =
80,64 кг/кмоль
Тогда число питания колонны по формуле (32)
f = 10000/7861,38
*78/80,64 = 1,23
Окончательно уравнение рабочей линии для
исчерпывающей части колонны:
у = (1,118 + 1,23)/(1,118 + 1)*х + (1,23 -
1)/(1,118 + 1)*0,0176 = 1,109*х + 0,0019 (33)
2.5 Расчет диаметра колонны
Диаметр ректификационной колоны рассчитывается
по уравнению
D = (4*Vсек
/(π*w))0,5
, (34)
где Vсек
- расход пара к колонне, м3/с;
w - скорость пара в
свободном сечении аппарата, м/с.
Расход пара, поднимающегося по колонне можно
определить из формулы
Vсек
= Р*(R + 1)/ρп,
(35)
где Р - расход дистиллята, кг/с;
R - флегмовое число;
ρп
- плотность пара, кг/м3.
Плотность пара определим по уравнению
ρп
= Mср*Рк*Т0/(22,4*Р0*Т),
(36)
где Mср
- молекулярная масса смеси паров, кг/кмоль;
Рк - среднее давление в колонне, ат;
Т - средняя рабочая температура в колонне, К;
Т0 и Р0 - температура и
давление при нормальных условиях.
Для расчета средней молекулярной массы смеси
паров воспользуемся уравнением:
Mср
= М1*у + М2*(1 - у), (37)
где М1, М2 - молекулярная
масса компонентов смеси, кг/кмоль;
у - концентрация легколетучего компонента в
смеси паров, мольн. доли.
Для определения скорости пара в колонне с
ситчатыми тарелками используется формула:
w = 0,22*(hT
/(1 + hT)
- 2* hЖ)*(
ρж / ρп)0,5,
(38)
где hT
- расстояние между тарелками, м;
hЖ
- высота слоя жидкости на тарелке, м.
Высоту жидкости на тарелке вычислим по формуле:
hЖ
= hпор
+ Δ h, (39)
где hпор
- высота сливного порога, м;
Δ h
- высота жидкости над порогом, м.
Высота жидкости над порогом зависит от расхода
жидкости на тарелке VЖ
по уравнению:
Δ h
= (VЖ/1,85*k*b)2/3,
(40)
где k
- отношение плотности пены к плотности жидкости (принимается равным 0,5); b
- длина сливного порога, м.
Для верхней (укрепляющей) части колонны расход
жидкости на тарелке определяется уравнением:
VЖ
= P*R/
ρж, (41)
где ρж
- средняя плотность жидкости на тарелке, кг/м3.
Среднюю плотность жидкости рассчитаем по
формуле:
ρж
= ρ1*х + ρ2*(1
- х), (42)
где ρ1
и ρ2
- плотность компонентов смеси, кг/м3;
х - концентрация легколетучего компонента в
смеси, мольн. доли.
Для нижней (исчерпывающей) части колонны расход
жидкости на тарелке определяется уравнением:
VЖ
= (P*R
+ F)/ ρж,
(43)
2.5.1 Расчет верхней части колонны
Определяются средние составы по НКК для жидкости
и пара в укрепляющей части колонны:
х1 = (хP
+ xF)/2 = (0,957 +
0,680)/2 = 0,868;
у1 = (уP
+ уF)/2
= (0,910 + 0,780)/2 = 0,845
где 0,910 - состав пара в точке на рабочей
линии, соответствующей составу исходной смеси, мольн. доли.
На диаграмме t
- x, y
(см. рисунок 3) находим температуры жидкости и пара: для жидкости х1
= 0,868, t = 830С;
для пара у1 = 0,845, t
= 87 0С.
Средняя молекулярная масса смеси паров при у1
= 0,845 по формуле (37):
Mср
= М1*у1 + М2*(1 - у1) = 78*0,845 +
92*(1 - 0,845) = 79,86 кг/кмоль.
Плотность пара по формуле (36):
ρп
= Mср*Рк*Т0/(22,4*Р0*Т)
= 79,86*0,985*273/(22,4*360) = 2,66 кг/м3.
Тогда секундный расход пара по формуле (35):
Vсек
= Р*(R + 1)/ρп
= 7860,96*(1,118 + 1)/(2,66*3600) = 1,74 м3/с.
Плотность жидкости в верхней части колонны по
формуле (42):
ρж
= ρ1*х1
+ ρ2*(1 - х1)
= 812,1*0,868 + 805,4*(1 - 0,868) = 811,2 кг/м3,
где 812,1кг/м3 - плотность бензола
при t = 83 0С;
,4 кг/м3 - плотность толуола при t
= 83 0С.
Тогда расход жидкости по формуле (41):
VЖ
= P*R/
ρж = 7860,96*1,118
/(811,2*3600) = 0,003 м3/с.
Для определения высоты жидкости над сливным
порогом (формула 40) зададимся длиной порога b
= 0,82 м:
Δ h
= (VЖ/1,85*k*b)2/3
= (0,003/1,85*0,5*0,82)2/3 = 0,0076 м.
Высота слоя жидкости на тарелке при высоте
порога hпор
= 0,04 м по формуле (39):
hЖ
= hпор
+ Δ h = 0,04 + 0,0076 =
0,0476 м.
Скорость паров в свободном сечении верхней части
колонны по формуле (38) при hT
= 0,4 м:
w = 0,22*(hT
/(1 + hT)
- 2* hЖ)*(
ρж / ρп)0,5
= 0,22*(0,4/(1 + 0,4) - 2*0,0476)*(811,2/2,66)0,5 = 0,731 м/с.
Тогда диаметр верхней части колонны по формуле
(34):
D = (4*Vсек
/(π*w))0,5
= (4*1,74/(3,14*0,731))0,5 = 1,74 м.
2.5.2 Расчет нижней части колонны
Определяются средние составы по НКК для жидкости
и пара в исчерпывающей части колонны:
х2 = (хW
+ xF)/2 = (0,0176 +
0,780)/2 = 0,399;
у2 = (уW
+ уF)/2
= (0,0176 + 0,910)/2 = 0,464
где 0,910 - состав пара в точке на рабочей
линии, соответствующей составу исходной смеси, мольн. доли.
На диаграмме t
- x, y
(см. рисунок 3) находим температуры жидкости и пара: для жидкости х2
= 0,399, t = 95 0С;
для пара у2 = 0,464 t
= 100 0С.
Средняя молекулярная масса смеси паров при у2
= 0,444 по формуле (37):
Mср
= М1*у2 + М2*(1 - у2) = 78*0,464 +
92*(1 - 0,464) = 84,43 кг/кмоль.
Плотность пара по формуле (36):
ρп
= Mср*Рк*Т0/(22,4*Р0*Т)
= 84,43*0,985*273/(22,4*373) = 2,72 кг/м3.
Тогда секундный расход пара по формуле (35):
Vсек
= Р*(R + 1)/ρп
= 7860,96*(1,118 + 1)/(2,72*3600) = 1,7 м3/с.
Плотность жидкости в нижней части колонны по
формуле (42):
ρж
= ρ1*х2
+ ρ2*(1 - х2)
=798,67*0,399 + 793,15*(1 - 0,399) = 795,35 кг/м3,
где 798,67 кг/м3 - плотность бензола
при t = 95 0С;
,15 кг/м3 - плотность толуола при t
= 95 0С.
Тогда расход жидкости по формуле (43):
VЖ
= (P*R
+ F)/ ρж
= (7860,96*1,118 +10000)/(795,35*3600) = 0,0065 м3/с.
Для определения высоты жидкости над сливным
порогом (формула 40) зададимся длиной порога b
= 0,82 м:
Δ h
= (VЖ/1,85*k*b)2/3
= (0,0065/1,85*0,5*0,82)2/3 = 0,0128 м.
Высота слоя жидкости на тарелке при высоте
порога hпор
= 0,04 м по формуле (39):
hЖ
= hпор
+ Δ h = 0,04 + 0,0128 =
0,0528 м.
Скорость паров в свободном сечении нижней части
колонны по формуле (38) при hT
= 0,4 м:
w = 0,22*(hT
/(1 + hT)
- 2* hЖ)*(
ρж / ρп)0,5
= 0,22*(0,4/(1 + 0,4) - 2*0,0528)*(795,35/2,72)0,5 = 0,677 м/с.
Тогда диаметр нижней части колонны по формуле
(34):
D = (4*Vсек
/(π*w))0,5
= (4*1,7/(3,14*0,677))0,5 = 1,788 м.
Средний расход пара в колонне равен:
Vсекср
= (1,74 + 1,7)/2 = 1,72 м3/с.
Тогда средняя скорость паров в свободном сечении
колонны:
wср
= (0,731 + 0,677)/2 = 0,704м/с.
Диаметр колонны
D = (4*Vсекср
/(π*wср))0,5
= (4*1,72 /(3,14*0,704))0,5 = 1,76 м.
Примем диаметр колонны D
= 1,8 м типа КСС с ситчатыми тарелками по ОСТ 26-805-73 с типом тарелок ТС-Р
(см. таблицу 5).
Таблица 5 - Характеристика тарелки
|
D, мм
|
Тип
тарелки
|
Свободное
сечение fк,
м2
|
Рабочее
сечение fт,
м2
|
Диаметр
отверстия, d0 мм
|
Шаг
t,
мм
|
Сечение
перелива fcy, м2
|
|
1800
|
ТС-Р2
|
2,54
|
1,64
|
4
|
11
|
0,45
|
Доля свободного сечения ситчатых тарелок
рассчитывается по уравнению:
fc
= (fт
- fсу)*k1*(d0/t1)2/
fт,
(44)
где fт
- рабочее сечение тарелки, м2;
fсу
- площадь сливных устройств, м2;
k1
- эмпирический коэффициент (при размещении отверстий по вершинам треугольников k1
= 0,9);
d0
- диаметр отверстия, мм;
t - шаг между
отверстиями, мм.
fc
= (1,64 - 0,45)*0,9*(4/11)2/1,64 = 0,0864.
2.6 Построение
кинетической кривой
Кинетические закономерности
массообменных процессов записываются уравнением массопередачи в дифференциальной
форме
G*dy
= Ky*(y*
- y)*F,
(45)
где Ky
- коэффициент массопередачи, отнесенный к движущей силе;- поверхность фазового
контакта;
у* - концентрация в паровой
фазе, равновесная с концентрацией в жидкой фазе.
Для интегрирования этого
уравнения необходимо знать характер поля концентраций в аппарате. Большинство
тарельчатых аппаратов по характеру поля концентраций может быть отнесено к
аппаратам полного смешения по жидкости и полного вытеснения по пару.
Из уравнения (45) с учетом поля
концентраций, существующих на тарелке, легко получить
ln (y* - yк)/ (y* - yн) = - Ку*F/G или (y* - yк)/ (y* - yн) = е-
Ку*F/G.
Тогда (y* - yк) = (y* - yн)* е-
Ку*F/G. (46)
Совокупность всех точек с
координатами (ук; хк) в пределах изменения концентрации
от xW до xP дает кривую
линию, называемую кинетической кривой.
Построение кинетической кривой
производят в следующей последовательности:
а) на диаграмму x - y наносят
равновесную и рабочую (при оптимальном флегмовом числе) линии;
б) в пределах xW - xP.выбирают
ряд значений х (обычно 7-8 значений);
в) для каждого выбранного
значения х по уравнению (46) вычисляется величина (y* - yк).
Необходимая для этого вычисления величина (y* - yн)
определяется по диаграмме х - у как разность между равновесной и рабочей
концентрациями для каждого выбранного значения х;
г) полученные отрезки
откладываются от равновесной линии вниз;
д) полученные в результате
проведенного построения точки соединяются плавной кривой, которая является
кинетической кривой.
Коэффициент массопередачи Ку
определяется по известному закону аддитивности фазовых сопротивлений
/ Ку = 1/βу + m/ βх, (47)
где βу -
коэффициент массоотдачи в паровой фазе, отнесенный к рабочей площади тарелки;
βх -
коэффициент массоотдачи в жидкой фазе, отнесенный к рабочей площади тарелки;
m - угловой
коэффициент равновесия.
Угловой коэффициент зависит от
концентрации и является переменной величиной, которую необходимо вычислять для
каждого выбранного значения х.
Коэффициенты массоотдачи βу и βх рассчитываются
по критериальным уравнениям.
В качестве расчетных уравнений можно
рекомендовать для паровой фазы
Nu/y = 0,79*Reу + 11000. (48)
Критерий Нуссельта диффузионный для
паровой фазы определяют по уравнению
Nu/y = 22,4* βу*l /Dy, (49)
где l -
характерный линейный размер, м;
Dy -
коэффициент диффузии в паровой фазе, м2/ч.
Критерий Рейнольдса для паровой фазы
определяют по уравнению
Reу = w*l*ρп /μп, (50)
где w - скорость
пара в свободном сечении аппарата, м/с;
ρп - плотность
пара в колонне, кг/м3;
μп - вязкость
пара в колонне, Па*с.
Для жидкой фазы можно применить
зависимость:
Nu/х = 38000*(Pr/x)0,62.
(51)
Критерий Нуссельта диффузионный для
жидкой фазы определяют по уравнению:
Nu/х = βх*l*Мх
/(Dх* ρж), (52)
где Мх - молекулярный вес
жидкости, кг/кмоль;
ρж - плотность
жидкости в колонне, кг/м3;
Dх -
коэффициент диффузии в жидкой фазе, м2/с.
Критерий Прандтля диффузионный для
жидкой фазы определяется зависимостью:
Pr/x = 3600* μж / (Dх* ρж), (53)
где μж
- динамическая вязкость жидкости в колонне, Па*с.
Вместо уравнений (48) и (51)
возможно использование других формул, приводимых в литературе.
По таблице равновесия (см.
таблицу 2) на диаграмме х - у строится линия равновесия и по уравнениям (25) и
(33) наносятся рабочие линии при оптимальном флегмовом числе R = 0,6 (рисунок
6).
Определяются средние
концентрации по жидкости и пару в колонне
хср = (х1
+ х2)/2 = (0,868 + 0,399)/2 = 0,634;
уср = (у1
+ у2)/2 = (0,845 + 0,464)/2 = 0,654.
На диаграмме t
- х, у (см. рисунок 3) находятся температуры жидкости и пара.
Для жидкости при хср
= 0,634, tх
= 88 0С.
Для пара при уср =
0,654, tу
= 94 0С.
Молекулярный вес смеси пара
определим по формуле (37):
Mу
= М1*уср + М2*(1 - уср) = 78*0,654
+ 92*(1 - 0,654) = 82,15 кг/кмоль.
Молекулярный вес смеси жидкости
определим по формуле (37):
Mх
= М1*хср + М2*(1 - хср) = 78*0,634
+ 92*(1 - 0,634) = 82,40 кг/кмоль.
Плотность пара определим по
уравнению (36)
ρп
= Mу*Рк*Т0/(22,4*Р0*Т)
= 82,15*0,985*273/(22,4*367) = 2,69 кг/м3.
Плотность жидкости определим по
уравнению (42):
ρж
= ρ1*хср
+ ρ2*(1 - хср)
= 806,1*0,634 + 799,9*(1 - 0,634) = 803,84 кг/м3,
где 806,1 кг/м3 -
плотность бензола при tх
= 88 0С;
,9 кг/м3 - плотность
толуола при tх
= 88 0С.
Динамическая вязкость пара при
уср = 0,654, tу
= 94 0С определяется по уравнению:
lg
μп = yср*lg
μ1 + (1 - yср)*
lg μ2,
(54)
где μ1
и μ2
- динамическая вязкость паров компонентов, Па*с.
Динамическая вязкость паров
компонентов находится по формуле Сазерленда:
μ = 4,23*10-4*М0,5*Ркр0,66*Ткр-
0,167*f1,
(55)
где М - молекулярная масса
компонента, кг/кмоль;
Ркр - критическое
давление компонента, ат;
Ткр - критическая
температура компонента, К.
f1
- температурная функция вязкости газа (см. таблицу 7).
Значения для расчета по формуле (55)
представлены в таблице 6.
Таблица 6 - Значения для расчета по формуле (55)
|
Параметр
|
Бензол
|
Толуол
|
|
Ткр,
К
|
562,4
|
591,6
|
|
Ркр,
ат
|
48,6
|
40,6
|
|
М,
кг/кмоль
|
78
|
92
|
Рисунок 5 - Кинетическая кривая и число
действительных тарелок
Для нахождения константы f1
используется методика Сазерленда:
Т * = 1,33*Тпр.
Приведённое значение температуры для бензола
Тпр = (Т0 + tу
)/ Ткр = (273 + 94)/562,4 = 0,652.
Т * = 1,33*Тпр =
1,33*0,652 = 0,867.
Этому значению соответствует константа f1
= 0,5458.
Тогда вязкость бензола при tу = 94 0С:
μ б
= 4,23*10-4*М0,5*Ркр0,66*Ткр-
0,167*f1
= 4,23*10-4*780,5*48,60,66*562,4-0,167*
*0,5458 = 9,19*10-3 мПа*с = 9,19*10-6 Па*с
Для толуола приведённое
значение температуры
Тпр = (Т0 + tу
)/ Ткр = (273 + 94)/591,64 = 0,620.
Т * = 1,33*Тпр =
1,33*0,620 = 0,824.
Для этого значения константа f1
= 0,5180.
Тогда вязкость толуола при tу
= 94 0С:
μт=4,23*10-4*М0,5*Ркр0,66*Ткр-0,167*f1=4,23*10-4*920,5*40,560,66*591,64-0,167*
*0,5180 = 0,00834 мПа*с = 8,34*10-6 Па*с.
Вязкость смеси паров в колонне по формуле (54):
lg μп
= yср*lg
μб+(1-yср)*lg
μт =
=0,654*lg(9,19*10-6)+(1-0,654)*lg(8,34*10-6);
μп
= 8,88*10-6 Па*с.
Таблица 7 - Температурная функция вязкости газа
|
Т
*
|
f1
|
Т
*
|
f1
|
Т
*
|
f1
|
|
0,3
|
0,1969
|
1,65
|
1,0174
|
4
|
2,0719
|
|
0,35
|
0,2252
|
1,7
|
1,0453
|
4,1
|
2,109
|
|
0,4
|
0,254
|
1,75
|
1,0729
|
4,2
|
2,1457
|
|
0,45
|
0,2834
|
1,8
|
1,0999
|
4,3
|
2,182
|
|
0,5
|
0,3134
|
1,85
|
1,1264
|
4,4
|
2,218
|
|
0,55
|
0,344
|
1,9
|
1,1529
|
4,5
|
2,2536
|
|
0,6
|
0,3751
|
1,95
|
1,179
|
4,6
|
2,2888
|
|
0,65
|
0,4066
|
2
|
1,2048
|
4,7
|
2,3237
|
|
0,7
|
0,4384
|
2,1
|
1,2558
|
4,8
|
2,3583
|
|
0,75
|
0,4704
|
2,2
|
1,3057
|
4,9
|
2,3926
|
|
0,8
|
0,502
|
2,3
|
1,3547
|
5
|
2,4264
|
|
0,85
|
0,5346
|
2,4
|
1,4028
|
6
|
2,751
|
|
0,9
|
0,5666
|
2,5
|
1,4501
|
7
|
3,053
|
|
0,95
|
0,5985
|
2,6
|
1,4962
|
8
|
3,337
|
|
1
|
0,6302
|
2,7
|
1,5417
|
9
|
3,607
|
|
1,05
|
2,8
|
1,5861
|
10
|
3,866
|
|
1,1
|
0,6928
|
2,9
|
1,6298
|
20
|
6,063
|
|
1,15
|
0,7237
|
3
|
1,6728
|
30
|
7,88
|
|
1,2
|
0,7544
|
3,1
|
1,7154
|
40
|
9,48
|
|
1,25
|
0,7849
|
3,2
|
1,7573
|
50
|
10,958
|
|
1,3
|
0,8151
|
3,3
|
1,7983
|
60
|
12,324
|
|
1,35
|
0,8449
|
3,4
|
1,8388
|
70
|
13,615
|
|
1,4
|
0,8744
|
3,5
|
1,8789
|
80
|
14,839
|
|
1,45
|
0,9036
|
3,6
|
1,9186
|
90
|
16,01
|
|
1,5
|
0,9325
|
3,7
|
1,9576
|
100
|
17,137
|
|
1,55
|
0,9611
|
3,8
|
1,9962
|
200
|
26,8
|
|
1,6
|
0,9894
|
3,9
|
2,0343
|
400
|
41,9
|
Динамическая вязкость смеси жидкости в колонне
при хср = 0,634, tх
= 88 0С по формуле (54):
lg μж
=
хср*lg
μ1 + (1 - хср)*
lg μ2
= 0,634*lg(2,93*10-4)+(1-0,634)*lg(2,99*10-4);
μж
= 2,96*10-4 Па*с,
где 2,93*10-4 - вязкость бензола при tх
= 88 0С, Па*с;
,99*10-4 - вязкость толуола при tх
= 88 0С, Па*с.
Значение критерия Рейнольда для паровой фазы по
формуле (50):
Reу
= wср*l*ρп
/μп = 0,704*1,8*2,69/
8,88*10-6 = 383517,7.
Таблица 8 - Атомные объёмы при температуре
кипения
|
Атом,
связи, вещества
|
Атомный
объём, см3/(г*атом)
|
|
Азот
в первичных аминах
|
10,5
|
|
Азот
во вторичных аминах
|
12,0
|
|
Бром
|
27,0
|
|
Водород
|
3,7
|
|
Йод
|
37,0
|
|
Кислород
(двойные связи)
|
7,4
|
|
Кислород
в простых и сложных метиловых эфирах
|
9,1
|
|
Кислород
в простых и сложных этиловых эфирах
|
9,9
|
|
Кислород
в простых и сложных высших эфирах
|
11,0
|
|
Кислород
в кислотах
|
12,0
|
|
Кислород
в соединениях с S,
P, N
|
8,3
|
|
Кольцо
трёхчленное
|
-
6,0
|
|
Кольцо
четырёхчленное
|
-
8,5
|
|
Кольцо
пятичленное
|
-
11,5
|
|
Кольцо
шестичленное
|
-
15,0
|
|
Кольцо
нафталиновое
|
-
30,0
|
|
Кольцо
антраценовое
|
-
47,5
|
|
Кремний
|
32,0
|
|
Сера
|
25,6
|
|
Углерод
|
14,8
|
|
Фосфор
|
27,0
|
|
Фтор
|
8,7
|
|
Хлор
в конечном положении
|
21,6
|
|
Хлор
в среднем положении
|
24,6
|
Коэффициент диффузии для паровой фазы
определяется по формуле:
Dy
= 0,00155*Ту1,5*(1/Мнкк + 1/Мвкк)0,5/(Рк*(V0,333нкк
+ V0,333вкк)2),
(56)
где Мнкк - молекулярный вес низкокипящего
компонента, кг/кмоль;
Мвкк - молекулярный вес
высококипящего компонента, кг/кмоль;
Рк - давление в колонне, ат;
Vнкк
- молекулярный объём низкокипящего компонента, см3/г;
Vвкк
- молекулярный объём высококипящего компонента, см3/г.
Молекулярный объём низкокипящего компонента
определяется по формуле:
Vнкк
= (6* Vс
+ 6*Vн)
- Vкол
, (57)
где Vс
- атомный объём углерода, см3/(г*атом);
Vн
- атомный объём водорода, см3/(г*атом);
Vкол
- атомный объём кольца, см3/(г*атом).
Атомные объёмы при температуре кипения даны в
таблице 8.
Vнкк
= (6*14,8 + 6*3,7) - 15,0 = 96 см3/г.
Молекулярный объём высококипящего компонента
определяется по формуле:
Vвкк
= (6* Vс
+ 5*Vн)
- Vкол
+ (Vс
+ 3* Vн).
(58)
Vвкк
= (6*14,8 + 5*3,7) - 15,0 + (14,8 + 3*3,7) = 118,2 см3/г.
Тогда коэффициент диффузии для паровой фазы:
Dy
= 0,00155*(94 + 273)1,5*(1/78 + 1/92)0,5/(0,985*(960,333
+ 118,2 0,333)2 = 0,019 м2/с.
Коэффициент массоотдачи для паровой фазы может
быть вычислен при совместном решении уравнений (48) и (49):
βу
= Dy*(0,79*Rey
+ 11000)/(22,4*l) =
0,019*(0,79*383517,7+ 11000)/(22,4*1,8) = 147,22 кмоль/(м2*ч).
Коэффициент диффузии для жидкой фазы
определяется по формуле:
Dх
= 0,00278*(1/Мнкк + 1/Мвкк)0,5/(В*(μж)0,5*(V0,333нкк
+ V0,333вкк)2),
(59)
где В - эмпирический коэффициент (для не
ассоциированных жидкостей В = 1);
μж
- вязкость жидкости, мПа*с.
Dх
= 0,00278*(1/78 + 1/92)0,5/(1*(0,296)0,5*(960,333
+ 118,20,333)2) = 8,77*10-6 м2/с =
3,16*10-2 м2/ч.
Тогда значение критерия Прандтля диффузионного
для жидкости по формуле (53):
Pr/x
= 3600* μж
/ (Dх*
ρж)
= 3600*2,96*10-4/(8,77*10-6*803,84) = 151,13.
Коэффициент массоотдачи в жидкой фазе определим
при совместном решении уравнений (51) и (52):
βх
= 38000* ρж*
Dх*(
Pr/x)0,62/(l*Мх)
= 38000*803,84*8,77*10-6 *(151,13)0,62/(2,6*82,40) =
40,54 кмоль/(м2*ч).
Для расчёта коэффициента распределения
(равновесия) или углового коэффициента равновесия m
применяется уравнение:
m = (y*
- y)/(x
- x*)
(60)
Используя диаграмму х - у (см. рисунок 2)
находим равновесные и рабочие концентрации в жидкости (х) и парах (у). По
уравнению (60) находим коэффициент распределения m,
а по уравнению (47) находим коэффициент массопередачи Ку. Полученные
значения сведём в таблицу 9.
Находим число единиц переноса из уравнения:
nOY
= 22,4*Тк*Р0* Ку*φ/(3600*wcр*Т0*Рк),
(61)
где φ = fт/fк
= 1,64/2,54 = 0,65.
Тогда при х = 0,1:
nOY
= 22,4*367*1*16,7010*0,65/(3600*0,704*273*0,988) = 0,1428
Находим величину 1 - Е = Су = еnOY
(62)
Су = е0,1428 = 1,1536.
Таблица 9 - Изменение значений m
и Ку в зависимости от концентраций
|
x
|
yраб
|
y*
|
y*-yраб
|
m
|
Ky
|
|
0,0176
|
0,0176
|
0,0431
|
0,0254
|
2,1520
|
16,7010
|
|
0,1000
|
0,1091
|
0,2063
|
0,0973
|
1,9261
|
18,4146
|
|
0,3000
|
0,3311
|
0,5126
|
0,1815
|
1,4233
|
23,8649
|
|
0,5000
|
0,5531
|
0,7176
|
0,1645
|
0,9880
|
32,0879
|
|
0,7797
|
0,8635
|
0,8972
|
0,0336
|
0,5313
|
50,2573
|
|
0,8000
|
0,8743
|
0,9074
|
0,0332
|
0,5184
|
51,0685
|
|
0,9000
|
0,9270
|
0,9558
|
0,0288
|
0,4786
|
53,7670
|
|
0,9573
|
0,9573
|
0,9831
|
0,0258
|
0,4751
|
54,0151
|
Учитывая то, что точки Аi
принадлежат рабочей линии, а точки Сi
принадлежат равновесной линии, изменение концентрации НКК в паровой фазе между
ними соответствует y*-yраб=0,0973
(при х = 0,1). Изменение концентрации НКК в паровой фазе между равновесной и
кинетической кривой y*-yкин
=
(y*-yраб)/Су
= 0,0973/1,1536 = 0,0971. Концентрация НКК в паровой фазе для точки В1,
принадлежащей кинетической кривой yкин=0,1220.
Сведём полученные значения в таблицу 10.
Таблица 10 - Нахождение точек кинетической
кривой
|
x
|
noy
|
Сy
|
y*-yраб
|
y*-yкин
|
yкин
|
|
0,0176
|
0,1296
|
1,1383
|
0,0254
|
0,0223
|
0,0207
|
|
0,1000
|
0,1428
|
1,1536
|
0,0973
|
0,0843
|
0,1220
|
|
0,3000
|
0,1851
|
1,2034
|
0,1815
|
0,1508
|
0,3618
|
|
0,5000
|
0,2489
|
1,2826
|
0,1645
|
0,1283
|
0,5893
|
|
0,7797
|
0,3899
|
1,4768
|
0,0336
|
0,0228
|
0,8744
|
|
0,8000
|
0,3962
|
1,4861
|
0,0332
|
0,0223
|
0,8851
|
|
0,9000
|
0,4171
|
1,5175
|
0,0288
|
0,0190
|
0,9369
|
|
0,9573
|
0,4190
|
1,5205
|
0,0258
|
0,0170
|
0,9661
|
Соединим точки Вi
и получим кинетическую кривую. Крайними точками кинетической кривой являются
точки с координатами (хW,
yW) и (xP,
yP). Между рабочими
линиями укрепляющей и исчерпывающей частей колонны и кинетической кривой строят
действительные ступени изменения концентрации или действительные тарелки.
В укрепляющей части колонны 8 тарелок, а в
исчерпывающей - 43 тарелки.
Итого рассчитанная ректификационная колонна
содержит 51 действительную тарелку.
.7 Расчет высоты колонны
Общая высота тарельчатой колонны включает три
составляющих:
Нобщ = Нт + Нс
+ Нк , (63)
где Нт - высота тарельчатой части, м;
Нс - высота сепарационной части, м;
Нк - высота кубовой части, м.
Высоту тарельчатой части найдём по уравнению:
Нт = N*(hт
+
δт), (64)
где N
- число действительных тарелок;
hт
- расстояние между тарелками, м;
δт
- толщина тарелки, м.
Примем δт
= 0,006 м, а hт
= 0,4 м, тогда
Нт = 51*(0,4 + 0,006) = 20,706 м.
Общая высота колонны с учетом того, что
сепарационная и кубовая часть принимаются по 1,5*D=2,7
м:
Нобщ = 20,706+ 2,7 + 2,7 = 26,106 м.
3. Расчет сопротивления колонны
Гидравлическое сопротивление ректификационной
колонны и её элемента - отдельной тарелки определяет минимальное расстояние
между тарелками и работу переливного устройства. Гидравлическое сопротивление
тарелки зависит от конструктивных особенностей типа тарелки.
Общее гидравлическое сопротивление ситчатой
тарелки можно рассматривать как сумму трёх составляющих:
ΔР = ΔРсух
+ ΔРσ
+ ΔРст,
(65)
где ΔРсух
- сопротивление сухой тарелки, Па;
ΔРσ
- сопротивление, вызванное силами поверхностного напряжения, Па;
ΔРст -
статическое сопротивление слоя жидкости на тарелке, Па.
Гидравлическое сопротивление сухой ситчатой
тарелки (см. рисунок 7) определяется по уравнению:
ΔРсух
= ξ *W
20*
ρп/(2*g),
(66)
где ξ - коэффициент
сопротивления ситчатой тарелки (ξ = 1,52);
W0
- скорость пара в отверстиях ситчатой тарелки, м/с.
Рисунок 6 - Схема ситчатой тарелки
Гидравлическое сопротивление, вызываемое силами
поверхностного натяжения, может быть определено по уравнению:
ΔРσ
= 4*σсм/d0,
(67)
где σсм
- поверхностное натяжение смеси бензол - толуол, Н/м;
d0
- диаметр отверстий в тарелке, м (см. таблицу 5).
Поверхностное натяжение смеси бензол - толуол
определим по формуле:
σсм
= (σвкк - σнкк
)/(σнкк *хср
+ σвкк *(1 - хср)),
(68)
где σвкк
- поверхностное натяжение высококипящего компонента
где σвкк
- поверхностное натяжение высококипящего компонента при tх
= 88 0С (σвкк
= 2,235*10-2 Н/м); σнкк-поверхностное
натяжение низкокипящего компонента при tх
=88 0С (σнкк
= 2,231*10-2 Н/м); хср - средний состав жидкости в
колонне, мольн.доли.
Статическое давление слоя жидкости на тарелке
рассчитывается по формуле:
ΔРст =
1,3*hпж
* ρпж*g,
(69)
где hпж
- высота парожидкостного слоя на тарелке, м;
ρпж
- плотность парожидкостного слоя на тарелке, кг/м3.
Высота парожидкостного слоя находится по
формуле:
hпж
= hп
+ Δh1,
(70)
где hп
- высота порога, м (принимается 0,04 м);
Δh1
- высота слоя пены над порогом, м.
Высота слоя пены над порогом определяется по
выражению:
Δh1
= ((Vжу
+ Vжи)/2*1,85*П*k)0,667,
(71)
где Vжу
- объёмный расход жидкости в укрепляющей части колонны, м3/с;
Vжи
- объёмный расход жидкости в исчерпывающей части колонны, м3/с;
П - периметр сливной перегородки, м (для тарелки
типа ТС-Р П = 0,722 м);
k - отношение
плотности парожидкостного слоя к плотности жидкости (принимается равным 0,5).
k = ρпж/
ρср ж, (72)
где ρср
ж - средняя плотность жидкости в колонне, кг/м3.
Средняя плотность жидкости в колонне
ρср
ж = (ρжу
+ ρжи)/2, (73)
где ρжу
- плотность жидкости в укрепляющей части колонны, кг/м3;
ρжи
- плотность жидкости в исчерпывающей части колонны, кг/м3.
Скорость паров в отверстиях тарелки рассчитаем
по формуле:
W0
= wср/fc
, (74)
где wср
- средняя скорость паров в обеих частях колонны, м/с;
fc
- доля свободного сечения колонны.
W0
= 0,704/0,0864= 8,15 м/с.
Сопротивление сухой насадки по формуле (66):
ΔРсух
= ξ *W
20*
ρп/(2*g)
= 1,52*8,152*2,69/(2*9,81) = 13,85 Па.
Поверхностное натяжение смеси бензол - толуол по
формуле (68):
σсм=(σвкк-σнкк)/(σнкк*хср+
σвкк *(1 - хср)
=(2,235*10-2 - 2,231*10-2)/ (2,231*10-2*0,634
+ 2,235*10-2*(1 - 0,634)) = 0,1713*10-2 Н/м.
Сопротивление, обусловленное силами
поверхностного натяжения по формуле (67):
ΔРσ
= 4*σсм/d0
= 4*0,1713*10-2/0,004 = 1,71Па.
Высота слоя пены над порогом по выражению (71):
Тогда высота парожидкостного слоя по формуле
(70):
hпж
= hп
+ Δh1
= 0,04 + 0,022 = 0,062 м.
Средняя плотность жидкости в колонне по формуле
(73):
ρср
ж = (ρжу
+ ρжи)/2 = (811,2+
795,4)/2 = 803,3 кг/м3.
Тогда плотность парожидкостного слоя на тарелке
из формулы (72):
ρпж
= ρср ж *k
=803,3*0,5 = 401,6 кг/м3.
Статическое давление слоя жидкости на тарелке
рассчитывается по формуле (69):
ΔРст =
1,3*hпж
* ρпж*g
= 1,3*0,062*401,6*9,81 = 315,81 Па.
Общее гидравлическое сопротивление ситчатой
тарелки по формуле (65):
ΔР = ΔРсух
+ ΔРσ
+ ΔРст
= 13,85 + 1,71 + 315,81 = 331,38 Па.
Проверим соблюдение расстояния между тарелками
по соотношению:
h = ΔР/
(ρср
ж*g) =
331,38/(803,3*9,81) = 0,042 м.
Так как принятое значение (0,4 м) больше
полученного (0,042 м), то соотношение соблюдается, и расстояние между тарелками
оставляем 0,4 м.
Общее гидравлическое сопротивление колонны
определим по формуле:
ΔРобщ
= ΔР*N
= 331,38*51 = 16900,3 Па = 16,9 кПа.
4. Расчет
стандартного кожухотрубчатого аппарата для процесса нагрева бинарной смеси
бензол - толуол
Обозначим горячий теплоноситель
- водяной пар, индексом "1", холодный теплоноситель - бинарную смесь
индексом "2".
Примем, что нагрев идет только
за счет теплоты конденсации пара.
Начальная температура водяного пара
на входе при давлении 0,8 МПа=8,158 кгс/см2 ([1] таблица LVII стр. 549).
. Примем
конечную
. Холодный
носитель меняет свою температуру с
до
.
Определим среднюю температуру
водяного пара:
Определим температуру на концах
теплообменника:
Средняя разность температур
определяется по формуле:
так как
Средняя разность температур
=
Тогда средняя температура смеси:
Найдем количество теплоты,
которое необходимо для нагрева смеси:
Переведем расход из кг/ч в кг/с
G2=10000
кг/ч = 10000/3600=2,78
кг/с
Где С2 - теплоёмкость
смеси, Дж/кг*град;
,05 - коэффициент, учитывающий 5%
потери тепла в процессе.
Теплоёмкость смеси определяется по
методу аддитивности:
С2= С
,
где С
и
- теплоёмкости компонентов при t =
500С, Дж/кг*К. [1]рис. XI стр. 562.
х(С6Н6) и х(С6Н5-СН3)
- доли компонентов в смеси
С2 = х(С6Н6)*С(С6Н6)+х(С6Н5-СН3)*
*С(С6Н5-СН3)=0,75*1781+0,25*1760=
1775,75 Дж/кг*К
Q1 =
2,78*1775,75*(80,1-20)*1,05 = 311274,2 Вт
Определим расход пара:
G1 = Q1/r
где r - удельная
теплота парообразования Дж/кг при данном давлении. [1]таблица LVII стр. 549
r = 2054314
Дж/кг
G1 =
311274,2/2054314 = 0,1515 кг/с
=4,15 кг/м3
[1]таблица LVII стр. 549
V1 = G1/
=
0,1515/4,15 = 0,0365 м3/с
Найдем объемный расход смеси:
V2 = G2/ρ2, м
/с
где ρ2 - плотность
смеси при t2 = 50 0С, кг/м3 [1], таблица IV,
с.512.
ρ2 = х(С6Н6)*
ρ (С6Н6)+х(С6Н5-СН3)*
ρ (С6Н5-СН3)
=
= 0,75*846,945+0,25*837,45 = 844,57
кг/м3
V2 = G2/ρ2 =
2,78/844,57 = 0,0033 м3/с
Примем, что водяной пар движется в
межтрубном пространстве, а смесь по трубам. Такое движение теплоносителей
предпочтительно по двум причинам:
. Конденсирующийся в межтрубном
пространстве водяной пар будет создавать меньшее сопротивление нежели в
трубном.
. При омывании горячим
теплоносителем трубного пучка, по которому движется холодный теплоноситель,
коэффициент теплопередачи выше.
Наметим возможные варианты
использования теплообменных аппаратов. Для этого необходимо определить
ориентировочную площадь Fор
теплообменника и площадь сечения трубного пространства S2.
F
=
, м
где Кор -
ориентировочное значение коэффициента теплопередачи, Вт/м2*К
[1] таблица 4.7, с.171.
Для вынужденного движения при
передаче тепла от газа к жидкости
= 120-340 Вт/м2*К.
Принимаем
= 280 Вт/м2*К.
F
=
=
311274,2/(280*120,3) = 9,24 м2.
Желательно, чтобы в трубном пространстве
было турбулентное течение. Re
W2 = Re2*μ2/d2 *ρ2 ,
где μ2 -
динамический коэффициент вязкости смеси при t2 = 50 ºC, Па*с
[1], рис.V, с. 556
Па*с
В
теплообменнике трубы стандартные d = 25x2 мм.2
- внутренний диаметр труб теплообменника, м. d2 = 2,1*10-2
м.
W2 = Re2*μ2/(d2 *ρ2 ) = 104*4,65*10-4/(2,1*10-2*844,57)
= 0,2621 м/с
Тогда
поперечное сечение трубного пространства должно быть:
S2 = V2/W2 =
0,0033/0,2621 = 1,25*10-2 м2
На
основании таблицы 4.12, с.215 мы должны принять теплообменник ТН (ГОСТ
15122-79) с диаметром кожуха 325 мм. Но по расчетам, ни при какой длине труб он
не будет уместен, так как обладает малой площадью поверхности теплопередачи.
При максимальной площади поверхности теплопередачи и максимальной длине труб,
таких теплообменника потребуется 4 (по данным предварительного расчета), что не
соответствует производственным требованиям (металлоемкость оборудования должна
быть минимальной). При максимальном значении площади поверхности теплопередачи
теплообменника с диаметром кожуха 400 мм, он также не будет соответствовать
производственным требованиям, так как одного теплообменника не достаточно, а
для двух теплообменников запас поверхности слишком маленький. Тогда примем к
расчету теплообменник ТН (ГОСТ 15122-79) с диаметром кожуха 400 мм, d = 25x2 мм, n = 111 -
число труб, F
= 35 м2,
l
= 4 м, S2 = 3,8*10-2
м2; S1 = 3,1*10-2
м2.
Определим
скорость в трубах:
W2 = V2/(0,785*d22*n) =
0,0033/(0,785*(2,1*10-2)2*111) = 0,09 м/c.
Определим
критерий Рейнольдса для трубного пространства:
Re2 = W2 *d2 * ρ2/ μ2 =
0,09*2,1*10-2*844,57/4,65*10-4 = 3265
Определим
скорость в межтрубном пространстве:
W1 = V1/ S1 = 0,0365
/3,1*10-2 = 1,18 м/с
Определим
критерий Рейнольдса для межтрубного пространства:
Re1 = W1*d1* ρ1/ μ1,
где
μ 1 -
динамическая вязкость водяного пара при Т1= 170,4 0С,
Па/с
μ1 = 14,274*10-6
Па*с [1], рис. VI, с.557.
Тогда
Re1 = W1*d1* ρ1/ μ1 = 1,18
*2,5*10-2*4,15/1,47*10-5 = 8886
Составим
тепловую схему процесса
Рисунок
7 - Тепловая схема процесса
В
трубном пространстве ламинарное движение Re2 = 3265. Для
вычисления критерия Нуссельта, согласно данным таблицы 4.1 [1], с.151 нужно
воспользоваться одной из формул 4.23 - 4.28 таблица 4.4 [1], с.155. Для
вычисления по этим формулам необходимо знать произведение критериев Грасгофа и
Прандтля.
Вычислим
критерий Грасгофа:
Gr2 = g*d23*β2*Δt2*ρ22/μ22 ,
где
g - ускорение
свободного падения, м/с2;
β2 -
коэффициент объёмного расширения смеси, таблица XXXIII [1], с.531;
Δt2 - разница
температур между стенкой и фазой, 0С.
Δt2 = tст
- t2 = 70 - 50 = 20 0С.
β2 = х(С6Н6)*
β (С6Н6)+х(С6Н5-СН3)*
β (С6Н5-СН3)
= 0,62*1,37+0,38*1,24=1,32
Gr2 = g*d23*β2*Δt2*ρ22/μ22 =
9,81*(2,1*10-2)3*1,32*10-3*20*844,572/(4,65*10-4)2
= 7447295
Вычислим
критерий Прандтля:
Pr2 = С2*
μ2/λ2,
где
λ2 -
коэффициент теплопроводности смеси, Вт/м*К, рисунок Х, [1], с.561.
λ2 =
0,75*0,1396 + 0,25*0,1314 = 0,1375 Вт/м*К.
Pr2 = С2*
μ2/λ2 =
1775,75*4,65*10-4/0,1375 = 6,003
Тогда
произведение критериев Грасгофа и Прандтля:
Gr*Pr =
7447295*6,003= 44707054
Так
как полученное значение больше 8*10
, а Re < 3500, то для
того чтобы принять формулу для расчета критерия Нуссельта надо рассчитать Pe*(d/l)
Pe2
= Re2*Pr2 = 3265*6,003 = 19599,8
2*(d/l) = 19599,8 * (0,021/4) = 102,9
Таким образом исходя из таблицы 4.4 [1],
с.155 принимаем для расчета критерия
Нуссельта формулу 4,25:
Nu2 = 0,8*(Pe*(d/l)0,4*(GrPr)0,1*(
μ2/
μcт2)0,14,
где
μcт2 - вязкость
смеси при tст2 = 700С,
Па*с , [1], рис. V, с.556
Nu2
= 0,8*102,9 0,4*447070540,1*( 4,65*10-4/3,71*10-4
)0,14= 30,7
Тогда коэффициент теплоотдачи
от стенки к смеси:
α2
=
Nu2*
λ2/d2
= 30,7*0,1375/0,021 = 200,9 Вт/м2*К.
В межтрубном пространстве
водяной пар движется ламинарно Re1 = 8886. Для вычисления критерия
Нуссельта, согласно данным таблицы 4.1 [1], с.151 нужно воспользоваться для
обтекания гладких труб одной из формул 4.29 - 4.35 [1], с.156.
Примем, что пучки труб
расположены в шахматном порядке, тогда расчёт можно вести по формуле 4.31:
Nu1 =
0,4*εφ*Re1
0,6*Pr1 0,36*( Pr1/ Prcт1)0,25,
где εφ
- коэффициент, учитывающий влияние угла атаки пучка труб водяным паром.
εφ
определяется по таблице 4.5 [1], с.157. Примем угол атаки φ
= 30 0, тогда εφ
= 0,67.
Как известно, при движении
газов пристенный слой практически не влияет на теплообмен, поэтому Pr1/
Prcт1
= 1.
Критерий Прандтля для водяного
пара рассчитывается по формуле:
Pr1
= С1* μ1/
λ1 ,
где λ1
- коэффициент теплопроводности водяного пара при Т1 = 170,40С,
Вт/м*К определяется по таблице XXX
[1], с.530;
μ1
- динамическая вязкость водяного пара при Т1 = 170,4 0С,
Па*с [1]рис. VI, с.557;
С1 - теплоемкость
водяного пара при Т1 = 170,4 0С,Дж/кг*К [2] c.774
таблица 8.
λ1
= 0,0326 Вт/м*К.
μ1
= 14,7*10-6 Па*с.
С1 = 2158,9 Дж/кг*К
Pr1
= С1* μ1/
λ1 = 2158,9 * 14,7*10-6/0,0326
= 0,974
Тогда критерий Нуссельта для
водяного пара:
Nu1
= 0,4* εφ *Re1
0,6*Pr1
0,36 = 0,4*0,67*88860,6*0,9740,36 = 62,1
Тогда коэффициент теплоотдачи
от водяного пара к стенке:
α1
=
Nu1*
λ1/d1
= 62,1*0,0326/2,5*10-2 = 80,98 Вт/м2*К.
Коэффициент теплопередачи
находится по формуле:
К=
,
где ∑ rст -
суммарное сопротивление стенки вместе с отложениями, м2*К/Вт.
, м
/Вт
где rз1 -
сопротивление загрязнений со стороны водяного пара, Вт/м2*К, таблица
XXXI [1], с.531;
rз2 -
сопротивление загрязнений со стороны смеси, Вт/м2*К таблица XXXI [1], с.531;
δ - толщина стенки трубы, м;
λст -
коэффициент теплопроводности материала стенки, Вт/м*К таблица XXVIII [1], с.529.
Примем rз1 = 5800 Вт/м2*К
для водяного пара; rз2 = 5800 Вт/м2*К
для органических жидкостей; λст = 46,5
Вт/м*К для стали, тогда
м
/Вт.
Тогда коэффициент теплопередачи:
К=
= 1/(1/80,98 +
+ 1/200,9)
= 56,4 Вт/м2*К
Тогда плотность теплового потока
через стенку:
= К* Δtср = 56,4
*120,4 = 6792,2 Вт/м2.
Определим t стенки 2:
Δt1 = q/ α1 = 6792,2
/80,98 = 83,9 0С.
Δtст = q*∑ rст
= 6792,2*0,000388 = 2,6 0С.
Δt2 = q/ α2 =
6792,2/200,9 = 33,8 0С.
Проверим
Δtср = Δt1 + Δtст + Δt2 = 83,9 +
2,6 + 33,8 = 120,3 0С.
Тогда температура стенки 2:
t’cт2
= Δt2
+ t2
= 33,8 + 50 = 83,80С.
Так как температура стенки 2
отличается от принятой ранее более чем на 10%, примем температуру стенки
2среднюю между принятой ранее и полученной при расчетах. Пересчитаем критерий
Нуссельта для смеси, коэффициент теплоотдачи от стенки к смеси и коэффициент
теплопередачи.
0С.
μcт2
- вязкость смеси при tст2
= 76,90С, Па*с , [1], рис. V, с.556
Nu2
= 0,8*(Pe*(d/l)0,4*(GrPr)0,1*( μ2/
μcт2)0,14
= 0,8*102,9 0,4*447070540,1*( 4,65*10-4/3,32*10-4
)0,14= 33,96
Тогда коэффициент теплоотдачи от
стенки к смеси:
α2 = Nu2* λ2/d2 =
33,96*0,1375/0,021 = 222,4 Вт/м2*К.
Тогда коэффициент теплопередачи:
К=
= 1/(1/80,98 +
+ 1/222,4)
= 56,4 Вт/м2*К
Тогда плотность теплового потока
через стенку:
q = К* Δtср
= 56,4 *120,4 = 6792,2 Вт/м2.
Тогда площадь поверхности
теплопередачи:
F
= Q1/q = 311274,2/6792,2 = 45,8 м2.
Площадь одного теплообменника с
диаметром кожуха 400 мм и длиной труб l = 4 м:
F1
= π*dср*n*lтр
= 3,14*0,023*111*4 = 32,1 м2.
Тогда запас поверхности
теплообменника составит:
(F1
- F)/F
= (32,1 - 45,8)/45,8 = -0,3.
Если принимаем 2
теплообменника, то:
(2F1
- F)/F
= (2*32,1 - 45,8)/45,8 = 0,399.
Принимаем к установке 3
теплообменника ТН (ГОСТ 15122-79) с диаметром кожуха D = 400мм, числом труб n=111,
длинной труб lтр = 4 м,
площадью теплопередачи F = 35 м
и с запасом
поверхности 0,399, причём третий - резервный теплообменник.
5. Расчет
гидравлического сопротивления трубопровода и выбор центробежного насоса для
подачи смеси бензола и толуола
.1 Расчет
гидравлического сопротивления трубопровода
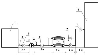
Рисунок 9 - Схема установки для
нагрева смеси водяным паром:
- резервуар для хранения смеси;
- центробежный насос для подачи
смеси;
- теплообменники;
- ректификационная колонна;
- трубопровод для подачи смеси;
- измерительная диафрагма;
- задвижки;
Трубопровод для подачи смеси
имеет общую длину 14 м (l1
= 6 м - до теплообменника; l2
= 4 м - теплообменник; l3
= 4 м - от теплообменника до ректификационной колонны), 5 колен, 5 задвижек и
измерительную диафрагму.
Характеристики бензола:
Плотность [1], таблица IV,
с.512.
879 кг/м
(до
теплообменника).
815 кг/м
(после
теплообменника).
Вязкость [1], таблица IX, с.516.
0,00065 Па*с
0,000316Па*с.
Характеристики толуола :
Плотность [1], таблица IV, с.512.
866 кг/м
(до
теплообменника).
808 кг/м
(после
теплообменника).
Вязкость [1], таблица IX, с.517.
0,000586 Па*с
0,000319Па*с.
Характеристики смеси:
Плотность
До теплообменника:
=
879*0,75+866*0,25 = 875,75 кг/м3
После
теплообменника:
=
815*0,75 + 808*0,25 = 813,25 кг/м3
Вязкость
До теплообменника:
После
теплообменника
Объёмный расход смеси:
до теплообменника:
V/20 = G2/ρ/20 = 2,778/
875,75 = 0,0032 м
с.
после теплообменника:
V//80 = G2/ρ//80 = 2,778/
813,25 = 0,0034 м
с.
Определим ориентировочный диаметр
трубопровода. Скорость в трубопроводе примем 2 м/с.
d
d
Промышленность выпускает
гостированный сортамент труб, среди которых необходимо выбрать трубы с
диаметром наиболее близким к расчетному (пункт 3.4.). Обозначаются трубы dн х δ, где dн - наружный
диаметр трубы, мм; δ
- толщина
стенки трубы, мм. При этом внутренний диаметр трубы dвн = dн - 2* δ.
Гостированные размеры труб по ГОСТ
8732-78 составляют следующий ряд, мм: 14х2; 18х2; 25х2; 32х2,5; 38х2,5; 45х3;
57х3; 76х3,5; 89х4,5; 108х4,5; 133х4; 159х4,5; 219х6; 272х7; 325х8; 377х10;
426х11; 465х13.
Примем к установке наиболее близкий
по размерам трубопровод
dэ = 57x3 мм.
dвн = dн - 2 * δ = 57 - 2 *
3 = 51мм.
.2 Расчет проходного диаметра
штуцеров колонны и выбор фланцев
Штуцер для входа исходной смеси
dи
= (4*Vи/П*Wи)0,5
где: Vи
- объемный расход исходной смеси, м3/с ;
wи
- скорость потока, так как смесь поступает в колонну под напором, принимаем
скорость равной 1,67 м/с;
dи
= ((4*0,00342)/(3,14*1,67))0,5 = 51 мм
Примем к установке наиболее близкий по размерам
диаметр штуцера dи=51мм.
Штуцер для выхода пара в дефлегматор
dп
= ((4* Vп)/(П*Wп))0,5
где: Vп
-
объемный расход пара, м3/с ;
wп
- скорость потока пара, принимаем равной 20 м/с;
dп =
((4*1,73)/(3,14*20))0,5 = 333 мм
Примем к установке наиболее близкий по размерам
диаметр штуцера dп=350мм.
Штуцер для входа флегмы в колонну
dф
= (4f/3,14)0,5
wф
- скорость принимаем равной 2 м/с
f=Vф/wф=0,003/2=0,0015
dф=
((4*0,0015)/3,14))0,5 = 44 мм
Примем к установке наиболее близкий по размерам
диаметр штуцера dф=50мм.
5.3 Выбор
центробежного насоса для подачи смеси бензола и толуола
Уточним скорость движения
жидкости:
До теплообменника:
W
После теплообменника:
W
Определим режим движения жидкости:
до теплообменника:
Re/2 = W/2 * d * ρ/20 / μ/см =
1,55*0,051*875,75/0,000601 = 115382,7
после теплообменника:
Re//2
=
W//2
* d * ρ//80
/ μ//см
= 1,67*0,051*813,25/0,000318 = 218035,7
Определим коэффициент
гидравлического сопротивления. Примем среднее значение шероховатости в трубах
= 0,5 мм,
тогда
Проверим условие: Re
,7
40003,5; 218035,7
40003,5 -
условия выполняются, значит, для обоих участков можно использовать формулу:
В соответствии со схемой установки
(рисунок 2) местные сопротивления:
. Вход в трубопровод - 1 шт.
таблица XIII [1], с.
520;
. Задвижки - 5 шт.
ξзад = 0,5
таблица XIII [1], с.
521;
. Колена - 5 шт.
таблица XIII [1], с.
521;
. Выход из трубопровода - 1 шт.
таблица XIII [1], с.
520;
. Внезапное расширение при входе в
теплообменник 2 шт:
ξрасш = 0,81
таблица XIII [1], с.
522;
. Внезапное сужение при выходе из
теплообменника 2 шт:
ξсуж = 0,45
таблица XIII [1], с.
522;
. Сопротивления во входной и
выходной камере теплообменника 2шт:
ξвх к = ξвых к = 1,5 [1],
с. 26;
. Вход в трубную решётку и выход из
неё 2шт:
ξвх тр р = ξвых тр р = 1,0 [1],
с. 26.
. Сопротивление в измерительной
диафрагме (при m = (dэ/D)2 = 0,3)):
ξдиаф = 18,2.
Найдём местные сопротивления
отдельно для каждого участка:
до теплообменника:
∑ ξ1 = ξв + 2* ξзад + 2*ξк + ξдиаф + 2*ξрасш = 0,5 +
2*0,5 + 2*1,6 + 18,2 + 2*0,81 = =24,52.
в теплообменнике:
∑ ξ2 = 2*ξвх к + 2*ξвых к + 2*ξвх тр р + 2*ξвых тр р = 2*1,5 +
2*1,5 + 2*1,0 + 2*1,0 = =10
от теплообменника до реактора:
∑ ξ3 = 2*ξсуж + 3* ξк + 3*ξзад + ξвых = 2*0,45 +
3*1,6 + 3*0,5 + 1 = 8,2
Будем считать, что давление во всей
сети постоянно, т.е. Р2 = Р1.
Потери в трубопроводе до
теплообменника:
ΔР1 = (1 + λ/20 * l1
/ dэ + ∑ ξ1)* ρ/20 *(W/2 )2
/2 + ρ/20 *g*hгеом + (Р2
- Р1) = (1 + 0,0376 * 6/0,051 + 24,52) * 875,75 * 1,552/2
= 31653,7 Па,
т.к hгеом = 0.
Потери внутри теплообменника:
ΔР2 = (1 + λ/20 *l2
/ dэ + ∑ ξ2)* (ρ/20 + ρ//80 )/2*W12 /2 = (1+
+ 0,0376 * 4/0,021 + 10) * (875,75 +813,25)/2 * 0,092/2 =
62,11 Па.
Потери от теплообменника до
реактора:
ΔР3 = (1 + λ/20 *l3
/ dэ + ∑ ξ3)* ρ//80 *(W//2 )2
/2 + ρ//80 *g*hгеом = (1 +
0,0376*26/0,051 + 8,2)* 813,25*1,672/2 + 813,25*9,81*22 =
207686,67Па.
Определим полные потери в
трубопроводе:
ΔРсети = ΔР1 + ΔР2 + ΔР3
= 31653,7 +62,11 +207686,67= 239402,48Па.
Тогда высота подъема жидкости:
hсети = ΔРсети/
((ρ/20 + ρ//80 )/2*g)
=239402,48/((875,75 +813,25)/2*9,81)
= 28,9м.
Будем считать, что характеристика
сети представляет собой правильную параболу, выходящую из точки с координатами V = 0 м3/ч;
h на которой
известна точка с координатами V2 = 12,297 м3/ч
и hсети = 28,9 м.
Найдем коэффициент параболы.
Общее уравнение параболы у = а*х2
+ b. Подставив
значения, имеем 28,9 = а*12,2972 + 22.
Тогда а = 0,046.
Возьмем несколько значений объемной
производительности и определим напор hсети.
Данные сведем в таблицу 11.
Таблица 11 - Зависимость напора
сети и насоса от производительности насоса
|
Производительность,
м3/ч
|
Напор
сети, м
|
Напор
насоса, м
|
|
10
|
26,6
|
34,5
|
|
11
|
27,566
|
34,3
|
|
12
|
28,624
|
34
|
|
12,297
|
28,95595
|
33,9
|
|
13
|
29,774
|
33,6
|
|
14
|
31,016
|
33,2
|
|
15
|
32,35
|
32,9
|
|
16
|
33,776
|
32,5
|
|
17
|
35,294
|
32
|
|
18
|
36,904
|
31,6
|
|
19
|
38,606
|
31,1
|
|
20
|
40,4
|
30,8
|
По полученным точкам в таблице
11 строим характеристику сети и характеристику насоса на рисунке 10.
Рисунок 9 - Характеристика
насоса и характеристика сети.
Данный насос позволит подавать
бинарную смесь в реактор, т.к рабочая точка А на графике рисунок 3 лежит выше,
чем расчетная точка насоса В, т.е. насос может преодолевать сопротивление сети.
Выберем насос типа 2КМ-6 с V = 20 м
/ч, H = 30,8 м, N =4,5 кВт, D = 162мм,
КПД = 64%.
Заключение
ректификация флегмовый колонна
тарельчатый
Поверочный расчёт полной ректификационной
колонны для разделения бинарной смеси бензол - толуол производительностью 10000
кг/ч с начальной концентрацией 0,75 масс. доли НКК в смеси показал, что для
получения дистиллята с концентрацией бензола 0,95 масс. доли и кубового остатка
с концентрацией НКК 0,015 масс. доли необходимо:
. выбрать колонну типа КСС диаметром 1,8
м;
. установить в колонне ситчатые тарелки
типа ТС-Р ОСТ 28-805-73;
. диаметр отверстий в тарелке 4 мм с
шагом между отверстиями 11 мм;
. число действительных тарелок в колонне
51 (8 в укрепляющей части и 43 в исчерпывающей);
. расстояние между тарелками принять 0,4
м;
. высоту сепарационной и кубовой частей
принять по 2,7 м;
. общая высота колонны 26,1 м;
. общее сопротивление прохождению пара в
тарельчатой части колонны 16,9 кПа;
9. для нагрева смеси
бензол-толуол перед подачей в колонну установить 3 теплообменника ТН (ГОСТ
15122-79) с диаметром кожуха D = 400мм, числом труб n=111,
длинной труб lтр = 4 м,
площадью теплопередачи F = 35 м
и с запасом
поверхности 0,399, причём третий - резервный теплообменник;
10. принять к установке
трубопровод dэ
= 57x3 мм;
11. для подачи смеси
бензол-толуол выбрать насос типа 2КМ-6 с V = 20 м
/ч, H = 30,8 м, N =4,5 кВт, D = 162мм,
КПД = 64%.
Библиографический список
1. Павлов
К.Ф., Романков П.Г., Носков А.А. Примеры и задачи по курсу процессов и
аппаратов. Л.: Химия, 1987.
. Рид
Р., Праусниц Дж., Шервуд Т. Свойства газов и жидкостей: Справочное пособие/Пер.
с англ. под ред. Б.И. Соколова.- 3-е изд., перераб. и доп.- Л.: Химия, 1982.-
Нью-Йорк, 1977.
. Ривкин
С.Л., Александров А.А., Теплофизические свойства воды и водяного пара. - М.:
Энергия, 1980.
. Лащинский
А. А. Конструирование сварных химических аппаратов: справочник /под ред. А. Р.
Толчинского .- 2-е изд., стереотип. - М.: Альянс, 2008.
. ОСТ
26-805-73 Тарелки ситчатые колонных аппаратов.
. ГОСТ
15122-79 Теплообменники кожухотрубчатые с неподвижными трубными решетками и
кожухотрубчатые с температурным компенсатором на кожухе.
. ГОСТ
8732-78 Трубы стальные бесшовные горячедеформированные.
. ОСТ
26-1412-76 Штуцера утолщенные с соединительным выступом.
9. ОСТ
26-467-84 Опоры цилиндрические и конические вертикальных аппаратов.
10. Каталог
насосов