Расчет оборудования компрессорного цеха

  • Вид работы:
    Курсовая работа (т)
  • Предмет:
    Другое
  • Язык:
    Русский
    ,
    Формат файла:
    MS Word
    135,62 Кб
  • Опубликовано:
    2014-12-01
Вы можете узнать стоимость помощи в написании студенческой работы.
Помощь в написании работы, которую точно примут!

Расчет оборудования компрессорного цеха

Федеральное агентство морского и речного транспорта

Федеральное бюджетное образовательное учреждение высшего профессионального образования

«Морской государственный университет им. адм. Г. И. Невельского»

Кафедра ТиЭНГО








Курсовая работа

по дисциплине "Трубопроводы"

Расчет оборудования компрессорного цеха

Исходные данные

         Общая производительность нагнетателей Q = 98,2 млн м3/сут;

         Количество рабочих нагнетателей, обеспечивающих заданную пропускную способность nмашин = 6 шт (3 группы по 2 шт);

         Номинальная частота вращения nн = 4600 об/мин;

         Суточная производительность газопровода Q = 12,6 млн м3/сут;

         Давление газа на приеме компрессорной станции pраб = 3 МПа;

         Частота вращения вала при расчете торцового уплотнения n = =2850 об\мин;

         Конструктивные размеры рабочих колец:

         d1 = 149 мм;

         d2 = 140 мм;

         d0 = 145 мм.

Оглавление

Введение

. Расчет режима работы компрессорного цеха

. Расчет группы не полнонапорных нагнетателей 370-18-1 первой ступени

.1 Нагнетатель типа 280-12-7

.2 Расчет группы

.3 Общий расход топливного газа

. Расчет вертикального масляного пылеуловителя

.1 Вертикальный масляный пылеуловитель

.2 Технологический расчет вертикального масляного пылеуловителя

.3 Гидравлический расчет вертикального масляного пылеуловителя

. Определение технического состояния нагнетателя

Заключение

Список использованной литературы

Введение

В данной работе представлено подробное описание и расчет оборудования компрессорной станции. Цель данной работы не только рассчитать основные параметры оборудования компрессорного цеха, но и выбрать подходящие по характеристикам агрегаты, которые станут оптимальным вариантом.

1. Расчет режима работы компрессорного цеха

Магистральный газопровод - сложная система сооружений, включая отводы, лупинги, компрессорные и газораспределительные станции и предназначенные для подачи газа на дальнее расстояние.

Магистральные газопроводы берут начало у источников газа (газового промысла) и заканчиваются в крупных газопотребляющих районах (городах, населенных пунктах, крупных промышленных и сельскохозяйственных предприятий). Система дальнего транспортирования включает промысловую газорегулирующую станцию (ПГРС), устанавливаемую вблизи источника газа, и магистральный газопровод (МГ), берущий начало на выходе установок подготовки газа к транспорту и заканчивающийся у крупных потребителей газа. В конце МГ строят газораспределительные станции (ГРС), иногда особо крупные ГРС называют контрольно-распределительными пунктами (КРП). ГРС служат для дополнительной подготовки газа и снижения его давления до требуемого значения. ГРС является конечным пунктом МГ.

Для надёжного газоснабжения городские газопроводы вокруг крупных городов-потребителей объединяются рядом кольцевых газопроводов высокого давления до 1,2 МПа, среднего до 0,3 МПа и низкого до 0,005 МПа. Для снижения давления после ГРС в системе городских газопроводов сооружают газорегулирующие пункты (ГРП). В процессе движения газа по магистральному газопроводу за счет трения и отбора газа потребителями давление газа постепенно понижается. Например, при расходе газа 90 млн м3/сут по трубе диаметром 1400 мм давление убывает с 7,6 до 5,3 МПа на участке Г = 110 км. Для повышения давления газа в газопроводе и поддержания требуемой пропускной способности по трассе через 80- 120 км устанавливаются компрессорные станции (КС). Потери давления на участке между КС определяют необходимое значение повышения давления в газоперекачивающих агрегатах (ГПА). Для закачки газа в подземные хранилища газа (ПХГ) строят специальные КС, обеспечивающие закачку, как в ПХГ, так и в газопровод. От надёжной работы КС зависит бесперебойная работа МГ. На рисунке 1 представлена принципиальная схема компоновки основного оборудования компрессорной станции.

Головную КС, находящуюся в начале магистрального газопровода, сооружают в непосредственной близости от установок по комплексной подготовке газа газовых месторождений, поэтому на головную КС газ поступает практически полностью подготовленным к дальнему трубопроводному транспорту. Таким образом, задачи головной КС сводятся к приему газа от установок комплексной подготовки, очистке его от механических примесей, компримирование до необходимого давления, охлаждению газа и подаче его в МГ.

При расчете режима работы компрессорного цеха необходимо определить значения следующих основных параметров:

производительность нагнетателя;

давление газа на входе в КЦ;

температура газа на входе в КЦ;

коэффициент сжимаемости газа;

газовая постоянная компремируемого газа;

плотность газа в условиях входа его в нагнетатель;

объёмная производительность нагнетателя;

частота вращения ротора нагнетателя;

приведенная объёмная производительность;

приведенная частота вращения ротора нагнетателя;

степень сжатия нагнетателя;

приведенная относительная внутренняя мощность нагнетателя;

внутренняя мощность, потребляемая нагнетателем;

мощность, потребляемая нагнетателем;

проверить удалённость режима работы нагнетателя от границы помпажа;

располагаемая мощность;

давление нагнетателя;

температура газа на выходе из ЦБН;

расход топливного газа.

В зависимости от пропускной способности магистрального газопровода, вида и мощности ГПА в одном компрессорном цехе может устанавливаться от 3 до 14 ГПА с нагнетателями необходимого типа. На КС устанавливают:

поршневой компрессор с приводом от газового двигателя внутреннего сгорания (газомотокомпрессор);

поршневой компрессор с электроприводом;

центробежный нагнетатель с газотурбинным приводом;

центробежный нагнетатель с электроприводом.

Центробежный нагнетатель представляет собой центробежный компрессор одно- или двухступенчатого сжатия, высокой производительностью (до 50 млн м3/сут.) и со степенью повышения давления 1,22... 1,25 для одноступенчатого и 1,45... 1,5 - для двухступенчатого. Центробежные нагнетатели обладают большей подачей, в связи с чем ими оснащаются КС современных магистральных газопроводов.

Для газотурбинных ГПА обязательное требование - обеспечение работы нагнетателей при изменении частоты вращения в интервале 75-105% номинала. Последовательное соединение агрегатов - наиболее эффективное средство сокращения необходимого диапазона главного регулирования нагнетателей по частоте вращения, которое позволяет при выключении одного из агрегатов сократить согласование размеров проточной части оставшихся в работе нагнетателей с пропускной способностью газопровода без каких-либо дополнительных мер. При параллельном соединении полнонапорных нагнетателей предположительно иметь 3 рабочих агрегата и один резервный на одну нитку. Из уровня надежности число резервных ГПА увеличить до 2-х, один из которых может быть в ремонте.

Крановая обвязка ГПА обеспечивает возможность его включения под нагрузку в магистральный газопровод, работу на холостом ходу, при пусках и остановках, а также отключение ГПА. В зависимости от типа нагнетателя (полнонапорного или неполнонапорного) крановые обвязки отличаются друг от друга и не зависят от типа привода. Крановая обвязка полнонапорного нагнетателя должна обеспечить возможность его параллельного включения на КС, а крановая обвязка неполнонапорного нагнетателя - возможность последовательного включения.

Произведем расчет на примере одного полнонапорного нагнетателя 235-24-1 и для одной группы неполнонапорных нагнетателей 370-18-1. При стандартных условиях, температура Т = 293 К и давление р = 0,1013 МПа, производительность полнонапорного одного нагнетателя Qнагн, млн м3/ст

млн м3(1)

где - количество рабочих нагнетателей, обеспечивающих заданную пропускную способность, см. исходные данные (с. 2);- общая производительность нагнетателей, см. исходные данные (с. 2). Зная  найдем производительность одной группы неполнонапорных нагнетателей:

 млн м3(2)

где - количество рабочих групп нагнетателей, обеспечивающих заданную пропускную способность, см. исходные данные (с. 2).

Давление газа на входе в КЦ рвс рассчитывается по формуле:

;(3)

компрессорный цех нагнетатель гидравлический

где - конечное давление на участке газопровода, МПа;

 - потери давления в пылеуловителях и входном шлейфе КЦ, для одноступенчатой очистки и газопроводов диаметром 1420мм

= 0,12 МПа; Подставляя данные в формулу (3), получим:

МПа;(4)

Температура газа на входе К. Определяем коэффициент сжимаемости  при параметрах  и  на входе в нагнетатель:

;(5)

где - приведенное давление, ;

где - критическое давление, МПа;

 - температурный коэффициент, находится по формуле:

(6)

где - приведенная температура, ;

где - температура газа, К; = 198,71 К.

Таким образом, подставив данные в формулу (5), получаем:

Газ подвергается компримированию. Компримирование - повышение давления газа с помощью компрессора. Это одна из основных операций при транспортировке углеводородных газов по магистральным трубопроводам, закачке их в нефтегазоносные структуры для поддержания пластового давления (с целью увеличения нефтеконденсатоотдачи), в процессе заполнения подземных хранилищ газа и при сжижении газов.

Газовая постоянная компримируемого газа:

;(8)

где - газовая постоянная воздуха,  = 268,8Дж/кг×К;

 - относительная плотность воздуха при стандартных условиях,  = 0,594 кг×м3; При  = 29,27 Дж/кг×К,  = 49,3 Дж/кг×К.

Далее найдем плотность газа в условиях входа его в нагнетатель:

кг/м3.(9)

Объёмная производительность нагнетателя Qоб рассчитывается по формуле:

м3/мин;(10)

Задаёмся частотой вращения ротора нагнетателя в зависимости от номинальной частоты вращения пн, об/мин, в диапазоне: 0,7 пн < п < 1,05пн. Из характеристики нагнетателя [1] находим, что пн = 4600 об/мин. Задаёмся nн = 0,7×n. Следовательно, n = 3220 об/мин.

Найдем приведенную объёмную производительность:


где - объёмная производительность нагнетателя,  = 130 м3/мин, [1].

Приведенная частота вращения ротора нагнетателя рассчитывается следующим образом:

.(12)

Степень сжатия нагнетателя находим из характеристики для данного нагнетателя по Qnp и [п/пн]пр. Находим, что ξ= 1,375. Приведенную относительную внутреннюю мощность нагнетателя и политропический КПД находим из характеристики нагнетателя в зависимости от приведенной относительной внутренней мощности нагнетателя:

приведенная относительная внутренняя мощность: ;

политропический КПД6 .

Найдем внутреннюю мощность, потребляемую нагнетателем:

кВт;(13)

где - плотность газа в нагнетателе,  = 50,8 кг/м3;

Отсюда находим мощность, потребляемую нагнетателем:

кВт;

где - механический КПД привода, = 099.

Удалённость режима работы нагнетателя от границы определяется по следующему условию:

;(14)

где  - минимальное значение приведенной объёмной производи-тельности, взятое из характеристики,  = 180 м3/мин.

Условие (14) выполняется.

Сравнивая полученную потребляемую мощность нагнетателя

кВт с номинальной мощностью кВт, получаем следующее:

.(15)

Необходимо выполнить расчёт располагаемой мощности, исходя из условий:

;(16)

Располагаемая мощность ГТУ:

(17)

где- номинальная мощность ГТУ,  = 10000 кВт;

- коэффициент, учитывающий техническое состояние ГТУ, = =0,95;

- коэффициент, учитывающий влияние температуры - наружного воздуха; = 3,7;

 - коэффициент, учитывающий противообледелительной системы, = 1;

- коэффициент, учитывающий влияние системы утилизации тепла выхлопных газов, = 0,985;

 - номинальная температура на входе в ГТУ, К; = 288 К;

 - расчётная температура на входе в ГТУ, К;

К;(18)

где- среднегодовая температура окружающего воздуха, К; = =273,35 К;

- поправка на изменчивость климатических параметров и местный подогрев наружного воздуха на входе в ГТУ, К, = 5 К;

 - расчётное давление наружного воздуха, МПа,  = 0,0987 МПа.

Подставив данные в формулу (17), получаем:

кВт;

Исходя из расчетов, видно, что условие (16) выполняется:

Давление на выходе нагнетателя рассчитывается по формуле:

МПа;

Температура газа на выходе из ЦБН:

К.

Далее рассчитаем расход топливного газа на КЦ по следующей формуле:


где- номинальный расход топливного газа,  = 20,31 м3/ч.

2. Расчет группы неполнонапорных нагнетателей 280-12-7 первой ступени

 

.1 Нагнетатель типа 280-12-7

 

Центробежный нагнетатель Н-280-12-7 предназначен для сжатия природного газа, транспортируемого по магистральным газопроводам при температуре газа до минус 15 (С и воздуха до минус 50С). Привод нагнетателя осуществляется от газотурбинной установки мощностью 10 МВт.

Работа нагнетателя допускается по следующим схемам:

- один нагнетатель:

- два последовательно работающих нагнетателя:

- три последовательно работающих нагнетателя:

- параллельная работа одиночных нагнетателей, а также групп последовательно включённых нагнетателей.

Пуск нагнетателя производится под полным давлением компримируемого газа.

Направление вращения ротора нагнетателя - правое, т.е. по часовой стрелке, если смотреть со стороны привода.

Сорт масла: масло турбинное марки Тп-22 ГОСТ 9972-74

Масса нагнетателя в объёме поставки 25,0т, в том числе масса блока собственно нагнетателя 20,6 т., и масса блока защитных устройств 0,8 т.

Масса наиболее тяжёлой части нагнетателя;

для монтажа (блок собственно нагнетателя) - 20,6 тн

для эксплуатации (всасывающая камера) - 5,5т.

Нагнетатель с аккумулятором масла и маслопроводом образуют единый транспортный и монтажный блок. Нагнетатель выполнен в виде одноступенчатой центробежной машины с консольно-расположенным рабочим колесом и с тангенциальным подводом и отводом газа.

Вся ходовая часть нагнетателя, включающая в себя ротор, подшипники, торцевое уплотнение заключена в специальную гильзу, устанавливаемую в корпусе. Такая конструкция нагнетателя позволяет при необходимости производить быстрый его ремонт за счёт установки новой гильзы.

Нагнетатель устанавливается непосредственно на железобетонном фундаменте на клиновых прокладках без промежуточной фундаментной рамы вне помещения привода и отделяется от последнего герметичной перегородкой.

2.2 Расчет группы


Задаёмся частотой вращения ротора нагнетателя в зависимости от номинальной частоты вращения пн в диапазоне . Из характеристики нагнетателя находим, что п = 4600 об/мин. Задаёмся п = =0,7пн. Следовательно, п = 3220 об/мин.

Приведенная объёмная производительность определяется по формуле:

м3/мин(22)

где - объемная производительность нагнетателя, = =128,23 м3/мин, [2];

Приведенная частота вращения ротора нагнетателя находится по формуле:

;(23)

Где n - выбранная частота вращения ротора нагнетателя, об/мин;

 - параметры газа из характеристики, составленной для данного нагнетателя, [2];

 - параметры газа.

Степень сжатия нагнетателя находим из характеристики для данного нагнетателя по Qnp и [п/пн]пр. Из графика находим, что е= 1,185, [2].

Приведенную относительную внутреннюю мощность нагнетателя и политропический КПД находим из характеристики нагнетателя относительную приведенную внутреннюю мощность нагнетателя в зависимости от Qпр , кВт/кг×м3:

= 215 кВт/кг×м3, [2]; Политропический КПД hпол = 0,82, [2].

Внутренняя мощность, потребляемая нагнетателем, находится по формуле:

кВт;(24)

где- приведенная относительная внутренняя мощность нагнетателя  - плотность газа в нагнетателе,  = 48,4 м3/кг.

Отсюда находим мощность потребляемую нагнетателем:

кВт;(25)

где - механический КПД нагнетателя 280-12-7;  = 0,99, [2].

Удалённость режима работы нагнетателя от границы определяется по следующему условию:

,(26)

где - минимальное значение приведенной объёмной производительности, взятое из характеристики, = 300 м3/мин, [2];

.

Условие выполняется, следовательно, помпажа не возникнет.

Необходимо выполнить расчёт располагаемой мощности, исходя из приведенных ниже условий:

;(27)

где - располагаемая мощность ГТУ, кВт; она находится по формуле:

,(28)

где- номинальная мощность ГТУ,  = 10000 кВт;

- коэффициент, учитывающий техническое состояние ГТУ, = =0,95; - коэффициент, учитывающий влияние температуры - наружного воздуха; = 3,7;

 - коэффициент, учитывающий противообледелительной системы, = 0,9;

- коэффициент, учитывающий влияние системы утилизации тепла выхлопных газов, = 0,987;

 - номинальная температура на входе в ГТУ, К; = 288 К;

 - расчётная температура на входе в ГТУ, К;

К;(29)

где- среднегодовая температура окружающего воздуха, К; = =273,35 К; - поправка на изменчивость климатических параметров и местный подогрев наружного воздуха на входе в ГТУ, К, = 5 К;

 - расчётное давление наружного воздуха, МПа,  = 0,0987 МПа.

Подставив данные в формулу (17), получаем:

кВт;

 Давление на выходе нагнетателя рассчитывается по формуле:

МПа;

где- давление всасывания,  = 5,28 МПа, [2];

 - степень сжатия нагнетателя,  = 1,185, [2].

Температура газа на выходе из ЦБН:

К.

Далее рассчитаем расход топливного газа на КЦ по следующей формуле:

(33)

где- номинальный расход топливного газа,  = 20,31 м3/ч, [2];

Расчет второй ступени проводится аналогично.

2.3 Общий расход топливного газа


Общий расход топливного газа рассчитывается по формуле:

тыс м3/час;(34)

где- расход топливного газа 1-ой ступени,  = 10,93 тыс м3/час;

- расход топливного газа 2-ой ступени, = 20,31 тыс м3/час;

 - количество групп,  = 3.

3. Расчет вертикального масляного пылеуловителя

3.1 Вертикальный масляный пылеуловитель


Газ от пыли на КС очищают с помощью пылеуловителей (рис. 1), которые выпускаются трёх типов: центробежные циклонные, центробежные мультициклонные и жидкостные (вертикальные масляные).

 

Рис. 1. Блок пылеуловителей

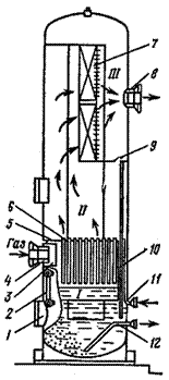
Вертикальные масляные пылеуловители (рис. 2) двух размеров - 1600 мм и 2400 мм. Промывочная жидкость: керосин, лигроин, соляровое масло. Температура застывания менее чем на 10°С ниже температуры газа. Очистка газа происходит за счёт уменьшения скорости потока и контакта его с маслом. Внутренняя полость пылеуловителя разделена на 3 секции: нижнюю промывочную, в которой все время поддерживается установленный уровень масла; среднюю осадительную, где газ освобождается от взвешенных частиц масла; верхнюю отбойную, в которой происходит окончательная очистка газа от уносимых частиц масла. Нижняя секция снабжена контактными трубками, которые имеют внизу продольные прорези-щели для создания завихрения потока. В верхней отбойной секции имеется скрубберная насадка (отбойная сетка) состоящая из швеллерных или жалюзийных секций с волнообразными профилями.

Процесс очистки газа в пылеуловителе происходит следующим образом: поступающий в пылеуловитель через патрубок 10 газ ударяется о козырек 9 и соприкасается с поверхностью масла, после чего с большой скоростью устремляется по контактным трубам 4, захватывая с собой частицы масла. В осадительной камере Б (от перегородки 5 до перегородки 6) скорость потока газа резко снижается, в результате чего происходит осаждение механических частиц и частиц жидкости. Осаждённые частицы по дренажным трубкам 11 стекают в секцию аппарата А. После осадительной камеры Б газ, освобождённый от более крупных частиц, поступает в отбойную секцию 8, где происходит окончательная его очистка. Осевший на отбойной секции 8 шлам стекает по дренажным трубкам 11 в нижнюю камеру. Очищенный газ через выхлопной патрубок 7 поступает на редукцирование. Загрязнённое масло удаляется продувкой через трубу 1 в отстойник масла. Полная очистка происходит через люк 12. Чистое масло подаётся через трубу 2. Для нормальной работы пылеуловителя уровень масла должен поддерживаться на 25-50 мм ниже концов контактных трубок. Установка масляных пылеуловителей включает в себя: масляные пылеуловители, отстойники масла, аккумулятор масла, короб для сбора грязного масла, ёмкость для чистого масла и насос. Объём масла для заполнения одного пылеуловителя составляет 2,65 м3 при диаметре 1600 мм. Расход масла допускается 25 г на 1000 м3газа. В настоящее время наибольшее распространение получили циклонные сепараторы

Рис. 2. Масляный пылеуловитель 1,2- труба; 3 - уровнемер масла; 4 - контактные трубы; 5, 6 - перегородки; 7 - выхлопной патрубок; 8 - отбойная секция; 9 - козырек; 10 - патрубок; 11 - дренажная трубка; 12 - люк.

3.2 Технологический расчет вертикального масляного пылеуловителя


Для данного компрессорного цеха выбираем пылеуловитель ГП604. Его технические характеристики указаны в таблице 1.

Таблица 1. Техническая характеристика пылеуловителя ГП604 [3].

Номинальная пропускная способность

Q, м3/час

0,833×106

Рабочее давление

Pраб,МПа

7,5

Диапазон рабочей температуры

Tраб, К

253-353

Диаметр  -контактных трубок -дренажных трубок

  dk, мм dd, мм

 89 89


Таблица 2. Параметры пылеуловителя ГП604 [3] .

Корпус

Число трубок

Диаметр контактных трубок dк, мм

Длина контактных трубок Lк, м

Диаметр дренажных трубок dд, мм

Высота жалюзийного аппарата H, м

Масса Gп, тн

Диаметр D, мм

Высота, мм

Площадь поперечного сечения Sп, м2

Контактных nк

Дренажных из осадительной секции nд





Рраб = 5,5 МПа

Рраб = 6,4 МПа

400

5100

0,126

5

2


1,02


0,98

1,06

1,2

500

5350

0,196

6

2


1,07


1,02

1,52

1,72

600

5550

0,282

9

3


1,11


1,06

2,1

2,27

1000

5950

0,785

26

5


1,19


1,14

5,84

6,45

1200

6300

1,132

41

7


1,26


1,21

8,5

9,8

1400

6650

49

8


1,33


1,27

12,2

13,4

1600

7000

2,04

57

9

89

1,4

89

1,34

15,9

18,92

2400

8800

4,52

127

20


1,76


1,68

30

-


Пропускную способность пылеуловителя определяет сечение контактных трубок. Секундный расход газа при заданных условиях определяется по формуле:

м3/с;(35)

где - давление при стандартных условиях,  = 0,1 МПа;

 - температура при стандартных условиях,  = 273 К;

,  - рабочие параметры пылеуловителя ГП604 (см. табл.1, [3]).

Таблица 3. Допустимые скорости в пылеуловителе

Давление газа рраб, МПа

Допустимая скорость, м/с


В контактных трубках, Wk

В свободном сечении, WO

Набегания на жалюзи, Wж

1

3,35

1,12

0,65

2

2,35

0,79

0,45

3

1,95

0,65

0,37

4

1,68

0,56

0,34

5

1,5

0,5

0,28

6

1,38

0,46

0,26

7

1,27

0,43

0,24


В зависимости от давления газа в пылеуловителе принимаем:K - допустимая скорость в контактных трубках, WK = 2,9 м/с;0 - допустимая скорость в свободном сечении, W0 = 0,48 м/с.

Общая потребная площадь группы пылеуловителей для очистки принятого количества газа:

м2;(36)

К расчету принимаем пылеуловители диаметром d1 = 1490 мм, d2= 1450 мм, d3 = 1470.

Число пылеуловителей определим по формуле:

(37)

(38)

(39)

где - площадь поперечного сечения одного пылеуловителя, (табл. 2).

При расчете пылеуловителей исходят из следующих положений:

общее число пылеуловителей не должно быть менее двух;

при отключении одного из пылеуловителей допускается перегрузка оставшихся в работе не более, чем на 33%.

Затраты металла на группу пылеуловителей находим по формуле:

кг;(40)

кг;(41)

кг; (42)

гдеg - масса i-того пылеуловителя, [3]. По затраченному металлу наиболее целесообразным будет вариант с пылеуловителями d = 2400 мм.

Действительная газовая нагрузка на один пылеуловитель определяется следующим образом:

м3/с; (43)

При отключении одного пылеуловителя нагрузка на другой q'n = = 3,73 м/с, что составит 200%, т. е. увеличение на 100%, при допускаемом 33%.

Следующим типом по минимальному расходу металла будет d = = 1600 мм.

В этом случае

м3/с;

 м3/с;

то есть перегрузка составит 30%.

Далее необходимо проверить действительную скорость газа в контактных трубках. Для этого определяем суммарную площадь поперечного сечения контактных трубок:

м2;(44)

где- диаметр контактных трубок (см. табл.1);

 - число контактных трубок (см. табл.2).

Действительная скорость газа в контактных трубках находится по формуле:

м/с;(45)

Далее необходимо проверить действительную скорость газа в осадительной секции. Для этого определим площадь свободного поперечного сечения осадительной секции:

(46)

где- суммарная площадь, занимаемая дренажными трубками в

осадительной секции, она определяется:


где- диаметр дренажных трубок (см. табл.1);

 - число дренажных трубок (см. табл.2);

Подставляем данные в формулу (42):

м2;

Определяем действительную скорость газа в осадительной секции:

м/с;(48)

Действительные скорости в контактных трубках и осадительной секции в пределах допустимых, значит, пылеуловитель ГП604 выбран правильно.

3.3 Гидравлический расчет вертикального масляного пылеуловителя


Потери давления в пылеуловителе, вызванные местными сопротивлениями:

(49)

гдеh1 - потери при внезапном расширении газа на входе, кг/м2;2 - потери при внезапном сужении газа на входе в контактные трубки, кг/м2;3 - потери в контактных трубках, кг/м2;4 - потери при внезапном расширении газа на выходе из контактных трубок, кг/м2;5 - потери в жалюзийном сепараторе, кг/м2;6 - потери на выходе газа из пылеуловителя при внезапном сужении, кг/м2.

Потери при внезапном расширении и сужении газа определяются по формуле:

;(50)

гдеξ - коэффициент местных сопротивлений;

ρ - относительная плотность газа, ρ = 0,636 кг/м3;- скорость газа на данном участке, м/с;- ускорение свободного падения, g = 9,81 м/с.

Таблица 4. Значения коэффициентов местного сопротивления

№ п/п

Вид сопротивлений

Коэффициент гидравлического сопротивления

1

Внезапное расширение газа на входе в пылеуловитель

0,25 - 0,35

2

Внезапное сужение газа на входе в контактные трубки

0,53

3

Контактные трубки

0,01

4

Внезапное расширение газа на выходе из контактных трубок

1

5

Жалюзийный аппарат

0,2

6

Внезапное сужение газа на выходе из пылеуловителя

0,5


Скорости при внезапном расширении газа на входе в пылеуловитель W1 и при внезапном сужении при входе в контактные трубки W2 равны и определяются по формуле:

м/с;(51)

гдеdp - диаметр подводящего патрубка, dp = 0,4 м [3].

Потери при внезапном расширении газа на входе:

кг/м2;

Потери при внезапном сужении газа на входе в контактные трубки:

 кг/м2; Потери в контактных трубках:

кг/м2(52)

где- коэффициент гидравлического сопротивления, , где - число Рейнольдса;

, (53)

Отсюда ;

 - приведенная скорость жидкости, м/с;- длина трубок, Lк = 1,4 м (табл. 2, [3]);

 - плотность жидкости в рабочих условиях, = 0,92 кг/м3, [3].

Потери при внезапном расширении газа на выходе из контактных трубок:

 кг/м2;(54)

Потери в жалюзийном сепараторе:

 кг/м2;

где - коэффициент местного сопротивления в жалюзийном аппарате, см. табл.4;

 - скорость набегания газа на элементы жалюзийного сепаратора,  = 0,24 м/с, [3];

 - коэффициент живого сечения сепаратора,  = 0,56, [3];

- высота жалюзийного сепаратора,  = 1,34 м, см. табл. 2;- гидравлический радиус жалюзийного аппарата, m = 20, [3].

Потери на выходе газа из пылеуловителя при внезапном сужении:

 кг/м2;(55)

где - коэффициент местного сопротивления при внезапном сужении газа на выходе из пылеуловителя.

4. Определение технического состояния нагнетателя

Расход газа через центробежный нагнетатель (ЦБН) известен. Оценка технического состояния ЦБН (его газового тракта) проводится путем сравнения эксплуатационного значения политропического КПД с его эталонным значением на подобном режиме, т.е. (Q1H)np = const.

Выбираем ЦБК НЦ 16/76 - 1,44 [3].

Объемный приведенный к оборотам расход находится по формуле:

(56)

где - коэффициент пропорциональности дается в зависимости от типа ЦБН, = 1,25, [3] ;

- перепад давлений на измерительном устройстве (тарированный патрубок),  = 2,715 кПа, [4];

 - плотность газа на входе в ЦБН,  = 33,46 кг/м3, [3];

 - номинальное значение частоты вращения,  = 5100 об/мин, [3];

 - замеренное значение частоты вращения, = 4165 об/мин, [3].

Подставляем данные в формулу (59):

млн м3/сут

Эксплуатационная мощность ГТУ определяется на основе замера параметров перекачиваемого газа ЦБН. Внутренняя мощность ЦБН:


где - мощность, определяемая по измеренным параметрам природного газа до и после ЦБН,  = 13436 кВт, [3];

 - механические потери в подшипниках ЦБН, определяются при проектировании агрегата,  = 131 кВт, [3].

Таким образом получаем:

кВт.

Степень сжатия ЦБН также можно найти в характеристике нагнетателя - n =1,456, [3].

По измерениям на агрегате определяется относительная частота вращения п. Затем по расчетной характеристике ЦБН, представленной на схеме 1, определяют зону расположения hпол, К/К - 1, и уточненное значение hпол.


Данный метод распространяется на любые типы агрегатов и обладает наибольшей точностью.

Заключение

В данной работе представлен расчет и описание оборудования компрессорного цеха. В ходе работы подробно рассмотрен процесс работы КЦ, изучены различные устройства и агрегаты, получен навык в оптимальном выборе типа агрегата в зависимости от разумного использования ресурсов и достаточных гидравлических и технических характеристик.

Список использованной литературы

Технический паспорт полнонапорного нагнетателя 235-2. 2.Технический паспорт неполнонапорного нагнетателя 370-18-3.Технический паспорт нагнетателя ЦБК НЦ 16/76 - 1,44.

. Казаченко, А. Н. Эксплуатация компрессорных станций магистральных газопроводов [Текст] / А. Н. Казаченко. -М.: Нефть и газ, 1999. - 463 с.

РД 108.022.105-06. Газоперекачивающие агрегаты. Временный порядок проведения ремонтов [Текст]: Взамен РТМ 108.022.105-77: срок введ. в действие установлен с 14.06.06. - М., 2006. - 222 с.

Дятлов, В. А. Сооружение, эксплуатация и ремонт магистральных газопроводов [Текст] / В. А. Дятлов, В. М. Михайлов, Е. И. Яковцев. - М.: Недра, 1990.-221 с.

Справочник работника газовой промышленности [Текст] / под ред. М. М. Волкова. -М.: Недра, 1989.-358 с.

Федорченко, М. Ю. Управление перерабатывающим агрегатом ГТК-10-4 [Текст]: учеб. пособие / М. Ю. Федорченко. - Екатеринбург: УГТУ, 1998. -72 с.

Правила технической эксплуатации магистральных газопроводов [Текст]. - М.: ВНИИгаз, 2000. - 220 с.

Сальников, А. В. Дипломная работа. Правила оформления [Текст]: метод. указания / А. В. Сальников, Р. В. Агиней, М. М. Свирида. - Ухта: УГТУ, 2008. - 53 с.

Федорченко, М. Ю. Управление перерабатывающим агрегатом ГТК-10-4 [Текст]: учеб. пособие / М. Ю. Федорченко. - Екатеринбург: УГТУ, 1998. -72 с.

Проектирование и эксплуатация насосных и компрессорных станций [Текст]: учебник для вузов / А. М. Шамазов, В. Н. Александров, А. Н. Гольянов [и др.]. - М.: ООО Недра-Бизнесцентр, 2003. - 404 с.

Похожие работы на - Расчет оборудования компрессорного цеха

 

Не нашли материал для своей работы?
Поможем написать уникальную работу
Без плагиата!
Без нейросетей!