Расчет конструкции лифта

  • Вид работы:
    Курсовая работа (т)
  • Предмет:
    Другое
  • Язык:
    Русский
    ,
    Формат файла:
    MS Word
    226,16 Кб
  • Опубликовано:
    2015-02-25
Вы можете узнать стоимость помощи в написании студенческой работы.
Помощь в написании работы, которую точно примут!

Расчет конструкции лифта

Введение

Лифтами называются стационарные подъемники периодического действия, в которых перемещение грузов или пассажиров с одного уровня на другой производится в кабине, снабженной ловителями и движущейся по вертикальным направляющим, установленным в огражденной со всех сторон шахте с запирающимися дверями. По назначению лифты разделяются на пассажирские, грузовые с проводником или грузопассажирские, больничные, малые общего назначения, малые магазинные и специальные.

Пассажирские лифты, в свою очередь, по назначению могут быть служебно-хозяйственными, пожарными, индивидуальными и специальными. Больничные лифты предназначаются для перевозки больных на носилках, кроватях и пр. вместе с сопровождающими лицами: лифтером и медицинским персоналом.

Лифты грузовые с проводником или грузопассажирские служат для перевозки грузов с сопровождающими лицами. Лифты грузовые без проводника предусматривают перевозку только грузов без сопровождения их людьми. Малогрузовые лифты предназначаются для малых грузов: не более 100 кг. Область их применения чрезвычайно велика. К малым лифтам относятся лифты магазинного типа для обслуживания магазинов путем доставки товаров за прилавок магазина и малые лифты общего назначения. Лифты грузовые, пассажирские, больничные, малогрузовые и магазинные предусмотрены ГОСТ, определяющими скорости и основные размеры шахт и кабин для разных грузоподъемностей. Наряду с этими имеются лифты специального назначения: пожарные, вокзальные, автомобильные, театральные, лифты мясокомбинатов, судовые лифты, лифты различных специальных высотных сооружений. Эти лифты проектируются по специальным техническим заданиям и изготовляются в порядке единичного производства.

1. Назначение и конструкция

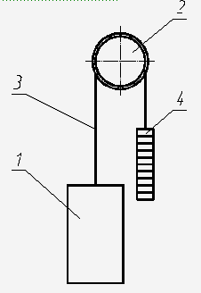
На рисунке 1 представлена схема лифта с канатоведущем шкивом, рассчитываемая в этой курсовой работе.

Рисунок 1 - Схема лифта

Лифтовая установка с верхним расположением машинного помещения состоит из следующих составных элементов: 1 - кабина лифта; 2 - канатоведущий орган (шкив); 3 - противовес; 4 - канат.

Из рисунка 1 видно, что кабина приводится в движение при помощи канатоведущего органа, связанного канатом с кабиной и противовесом. Подъемный механизм предназначается для перемещения кабины и противовеса. Лебедка состоит из канатоведущего шкива, червячного редуктора, тягового двигателя и тормозного устройства.

Подъемный механизм с канатоведущим шкивом имеет меньшие габариты и является при равных условиях более компактным, чем барабанные лебедки. Конструкции лебедок с канатоведущем шкивом не зависит от высоты подъема, а также расположение подъемного механизма наверху или внизу, поэтому они могут изготовляться серийно для любой установки.

Лебедки с канатоведущим шкивом повышают надежность, вследствие того, что при установке обеспечивается возможность применения большого числа канатов без существенного изменения габаритов лебедки. Кроме того, для них требуется двигатели с меньшей мощностью, чем для барабанов, при прочих равных условиях.

При лебедках с канатоведущем шкивом исключается возможность удара кабины или противовеса о верхнее перекрытие шахты в случае неисправности концевых выключателей, так как при достижении, например, кабиной самого верхнего положения противовес займет самое нижнее положение и встанет на упор или буфер, вследствие чего прекратится натяжение канатов, исчезнет сила трения, и канат будет буксовать на канатоведущем шкиве, кабина остановится на месте.

Лебедки с канатоведущими шкивами также не лишены недостатков. По сравнению с барабанными лебедками у них более интенсивное изнашивание канатов, а при значительном износе лунок канатоведущего шкива под канатами возникает скольжение последних. Значительное скольжение канатов может быть весьма опасным, поскольку против него нет никакой защиты. Для предотвращения скольжения канатов по лункам канатоведущего шкива необходимо вести тщательное наблюдение за износом лунок, выбирать правильно форму лунок и угол обхвата каната. Для уменьшения износов канатов необходимо, по возможности, избегать лишних перегибов и блоков. При необходимости установки блоков их выбирают диаметром не менее 500 мм.

Несмотря на эти недостатки, лебедки с канатоведущими шкивами по праву получили наибольшее распространение для всех стандартных грузоподъемностей и скоростей.

2. Расчет грузоподъемного механизма лифта

.1 Определение массы противовеса

Для уменьшения мощности двигателя и нагрузок на лебедку вес кабины и частично груза в большинстве лифтов уравновешиваются противовесом.

Вес противовеса Gп, Н, определяется по формуле

,

где mK- масса кабины, кг;- наибольшая масса поднимаемого груза, кг;

Ψ - коэффициент уравновешивания веса груза, принимаем ψ= 0,5 ;

g- ускорение свободного падения, м/с2

 Н.

Для удобства регулировки противовесы выполняют составными из грузов прямоугольной формы весом не более 0,1·Q, что обеспечивает точность регулировки момента на валу канатоведущего шкива 5 - 7%. Таким образом масса одного груза составит 12 кг и противовес будет состоять из 10 грузов.

2.2 Выбор каната

Очень важную роль на лифтах выполняют канаты. Канаты несут нагрузку независимо от того, перемещается кабина лифта или находится неподвижно. Число канатов для лифта с канатоведущим шкивом средней грузоподъемности до 1500 кг и скорости подъема до 2 м/с, принимаем равным четрём. Предварительно выбираем канат ЛК-О 10-Н-Г-160ГОСТ 3077-80, рисунок 2, со следующими параметрами:

диаметр D, м ………………… 0,01 ;

количество канатов на лифт n, шт………….. 4 ;

разрывное усилие каната в целом Р, Н………... 48216 ;

вес погонного метра Gк`, Н………………........4,165 ;

Определяем величину рабочего натяжения канатов S, Н


где Gk- вес канатов, Н;

 

где Н - высота подъема лифта, м.

 Н ,

 Н.

Коэффициент запаса прочности каната К определяем по формуле:

,


Условие прочности выполняется.

Рисунок 2 - Канат двойной свивки типа ЛК-О конструкции 6×19(1+9+9)+1о.с. по ГОСТ3077-80

2.3 Определение мощности двигателя

Необходимая мощность двигателя лебедкиNдв , кВт


где Рокр - окружное усилие на канатоведущем шкиве, Н ;

u - скорость движения кабины, м/с;

ηп- К.П.Д. червячной передачи лебедки, ηп = 0,85;

ηш - К.П.Д. канатоведущего шкива, ηш = 0,97.

Окружное усилие на канатоведущем шкиве Рокр , Н

,        

где W - дополнительные сопротивления движению кабины и противовеса, Н.

Дополнительные сопротивления движению кабины и противовеса W, Н, определяется по формуле

,         

где k - коэффициент учитывающий размеры кабины и коэффициент трения башмаков кабины о направляющие, k= 0,065 .

 Н ;

 Н.

Необходимая мощность двигателя

кВт .

Выбираем двигатель марки 4АС132М[3], рисунок 3, со следующей технической характеристикой:

мощность, кВт………….. 8 ;

частота вращения, с-1………..23,6 ;

К.П.Д.,%................. 79 ;

кратность момента:

) пускового, Н·м ……………85,26 ;

) максимального, Н·м …………………………. 88,2 ;

) минимального, Н·м ………………83,3 .

грузоподъемный лифт двигатель

Рисунок 3 - Двухскоростной лифтовый двигатель марки 4АС132М

2.4 Выбор шкива и расчет его геометрических параметров

На прочность каната влияют перегибы каната на канатоведущем шкиве. Чем меньше перегиб, то есть чем больше радиус канатоведущего шкива, тем больше срок службы.

Условия перегиба согласно правилам Ростехнадзора

,

где Dшк - диаметр канатоведущего шкива, м;k - диаметр каната, согласно п. 2.2 равен0,01 м;

[e] - коэффициент, регламентируемый нормами Ростехнадзора и зависящий от типа машины и режима работы, для средних грузовых лифтов коэффициент [e] ≥ 30.

Определяем минимальный диаметр Dшк, м, канатоведущего шкива

 м.

Диаметр шкива при верхнем расположении машинного помещения принимается как расстояние между центрами подвесок кабины и противовеса.

По ГОСТ 8824 - 58 размер кабины следовательно принимаем Dшк= 0,35 м.

Рабочая ширина b,мм канатоведущего шкива

,

где n - число канатов, n=4.

 м.

Принимаем b =0,04 м.

Форму ручья шкива принимаем таким образом, чтобы был обеспечен достаточный коэффициент трения между канатом и шкивом для подъема кабины или противовеса.

Тяговая способность канатоведущего шкива зависит от сил трения между канатом и шкивом, на это большое влияние оказывает профиль ручья шкива. При износе ручьев постоянной формы надежность всегда падает. Существует четыре основных профиля канатоведущих шкивов:

- полукруглый профиль;

полукруглый профиль с подрезом;

клиновой профиль;

клиновой профиль с подрезом.

Из приведенных выше профилей наиболее оптимальными параметрами обладает клиновой профиль с подрезом, так как с течением времени такой профиль переходит в полукруглый профиль с подрезом.

Рисунок 4 - Схема профиля ручья канатоведущего шкива

Ширина подрезкиBП, м ……. 0,006+0,20 ;

Допустимое смещение оси, м……… 0,0015 ;

Допустимое значение глубины ручьяLР, м….. 0,016+0,43 ;

Ширина ручьяBР, м……………. 0,012 ;

Угол скоса β0, град…………… 25 .

2.5 Выбор редуктора

Число оборотов тягового органа связано с диаметром шкива и скоростью кабины лифта

,

где vк - скорость движения кабины лифта, согласно исходным данным vк = 1 м/с;ш - диаметр шкива, м, Dш =0,35 м;

с-1 .

Необходимое передаточное число редуктора

 ,

.

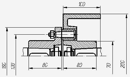
Выбираем редуктор Ч-100А [3], рисунок 6, со следующими параметрами:

передаточное число …………………..31,5 ;

межосевое расстояние, м ………………..0,1;

К.П.Д., % ………………………0,85;

максимальная частота вращения червяка, с-1……………...16,7;

номинальный крутящий момент, Н·м ……………. 462;

допускаемые радиальные консольные силы на концы валов, Н:

) входной …………………. 600 ;

) выходной …………………… 5600;

масса, кг ……………... 57;

Определим действительную скорость vд, м/с движения кабины

 ,

 м/с .

Отклонение скорости от заданной определим из условия

,


Условие выполняется.

Рисунок 5 -Червячный редуктор РЧН -100А

2.6 Выбор тормоза и муфты

Необходимо, чтобы тормоз лебедки мог удержать испытательный груз и обеспечить требуемую точность остановки. Замедления, которые имеют место при торможении не должны быть более допускаемых, по правилам ГГТН.

Необходимый тормозной момент Мт, НÌм для удержания испытательного груза определяется из условия

,

где β - коэффициент запаса тормозного момента, для данного случая β= 1,25 [1];

η0 - КПД механизмов лебедки.

,         

где ηр - КПД редуктора, ηр =0,85.

НÌм.

Выбираем тормоз ТКТ-200 [3] со следующими техническими параметрами:

тип магнита ……………………. МО200Б;

тормозной момент при ПВ 40%, Н·м …….………………..160;

масса тормоза, кг ………………………… 37.

Колодочный тормоз ТКТ-200 представлен на рисунке 6

Для тормоза ТКТ-200 выбираем втулочно-пальцевую муфту МУВП-1 [3] с тормозным шкивом со следующими техническими параметрами:

диаметр тормозного шкива, м ……………………. 0,2;

ширина, м………………………0,1;

момент инерции, кг·м2 …..………………… 2,4;

масса муфты, кг …………………… 13,5.

Втулочно-пальцевая муфта МУВП-1 представлена на рисунке 7

Рисунок 6 - Колодочный тормоз ТКТ-200

Рисунок 7 - Втулочно-пальцевая муфта МУВП-1

2.7 Тяговый расчет канатоведущего шкива

Рисунок 8 - Схема к расчету усилия на канатоведущем шкиве

При принятом ранее коэффициенте уравновешивания веса груза ψ = 0,5 и работе лифта с номинальными грузами, расчетным будет случай подъема полностью нагруженной кабины с отметки первого этажа.

Наибольшее натяжение подъемного каната S1,Н, (рисунок 8) со стороны кабины в момент пуска равно

,

где а - ускорение при пуске, м/с2 ;

Ускорение при пуске a, м/с2, определяется по формуле

 ,

где Мг - неуравновешенный момент от веса противовеса, НÌм;

Мп - пусковой момент двигателя, НÌм;

 - приведенный маховой момент, кгÌм2.

Неуравновешенный момент от веса груза на канатоведущем шкиве Мг , НÌм

,

НÌм .

Пусковой момент двигателя Мп , НÌм

 ,

где k - кратность пускового момента, k=2;

Мном- номинальный момент на валу электродвигателя, НÌм .

 ,

гдеNДВ- мощность электродвигателя, кВт;

ω- угловая частота вращения, с-1

Угловую частоту w, с-1, определяем по формуле

 ,

с-1 ,

НÌм,

НÌм .

Приведенный маховой момент, кг·м2 рассчитывается по формуле

 ,                           (16)

где - маховой момент якоря электродвигателя, кгÌм2;

 - маховой момент тормозного шкива, кгÌм2.

Н·м2 = 0,94 кг·м2

Ускорение при пуске а, м/с2 по формуле (11)

 м/с2 .

Тогда натяжение S1, Н, составит

 Н.

Натяжение S2, Н, во время пуска определяем по формуле

Н.

Наименьший допустимый коэффициент трения между канатом и шкивом

,         

где α - угол обхвата шкива канатом, α=3,14 (180˚)


Величина угла β0, град, см. рис. 2 составит

,)

где μ - коэффициент трения стального шкива о канат, μ=0,105

град 46 мин

Принимаем β0=25˚ [2].

Предельный момент на канатоведущем шкивеMпр , Н·м, определим по формуле

 ,

Н·м .

Предельное натяжение каната Sпр, Н, соответствующее этому моменту

,

Н.

Sн ≥ Sпр

Условие прочности каната выполняется

2.8 Расчет точности остановки кабины

При расчете точности остановки кабины и выбранном тормозном моменте ее тормозной путь S, м, может быть определен по формуле


где GДЧ- вес всех движущихся частей лифта, Н;- сопротивление движению кабины при торможении, Н;

Рокр.ш- окружное усилие на канатоведущем шкиве, Н

 ,

 Н.

Расчет сопротивления движению кабины при торможении производим для наиболее невыгодного случая - при центральном положении груза в кабине.

В этом случае величина W, Н, будет равна тормозному усилию, создаваемому тормозом и приведенному к кабине

,

где Мт- тормозной момент, создаваемый тормозом, НÌм.

 Н.

Приведенный вес движущихся частей лифта GДЧ, Н, определяется

,

где  - маховой момент вращающихся частей лебедки, кгÌм2

,

НÌм2= 0,649 кг·м2,

Н.

Тормозной путь S1, м, пустой кабины

 м

Тормозной путь S2 груженной кабины

 м

Установка этажных выключателей производится на оси О-О (рисунок 3), таким образом, чтобы площадка располагалась в середине суммарного пути S1+S2, проходимого кабиной при торможении. В соответствии с этим точность ее остановки Δ, м, будет равна

,

 м.

Рисунок 9 - Схема к расчету точности остановки кабины лифта

Таким образом, величина Δ не превосходит допускаемое значение Δ=0,05м согласно [4].

Литература

.        Павлов Н.Г. Лифты и подъемники. - М.: Машиностроение, 1965 г., 204 с.

.        Штремель Г.Х. Грузоподъемные машины. - М.: Высшая школа, 1963 г.

.        Вайсон А.А. Подъемно-транспортные машины строительной промышленности. Атлас конструкций. - М.: Машиностроение, 1976 г.

.        Госгортехнадзор»Правила устройства и безопасной эксплуатации грузоподъемных кранов» ПБ 10-382-00, 1999 г.

5. 

Похожие работы на - Расчет конструкции лифта

 

Не нашли материал для своей работы?
Поможем написать уникальную работу
Без плагиата!
Без нейросетей!