Розрахунок гідроприводу

  • Вид работы:
    Курсовая работа (т)
  • Предмет:
    География, экономическая география
  • Язык:
    Украинский
    ,
    Формат файла:
    MS Word
    769,58 Кб
  • Опубликовано:
    2014-09-25
Вы можете узнать стоимость помощи в написании студенческой работы.
Помощь в написании работы, которую точно примут!

Розрахунок гідроприводу

Міністерство освіти і науки України

Дніпродзержинський Державний технічний Університет

Кафедра: “Технології машинобудування”






Розрахунково-пояснювальна записка

до курсової роботи з предмету

“Гідравліка, гідропривід та гідропневмоавтоматика”

Варіант 9.1




Виконала ст. гр. ІМ - 11-1д

Ліпка І. Р.

Перевірив:

Молчанов В.Ф.




Дніпродзержинськ 2013

Вихідні данні

Цикл руху робочого циліндра

Живлення здійснюється від одного насоса. Насос без розвантаження.

Реверсивний розподільник з електричним керуванням. Також у системі застосовується пневмо-гідравлічний акумулятор.

Таблиця 1 Вихідні данні

Розрахункове навантаження, Н

Розрахунковій тиск МПа

Механічний К.К.Д. привода

Швидкість робочої подачі, м/с ∙ 10-2

Довжина ходу циліндра, м

Довжина трубопроводів, м




ШП

1РП

2РП

Повний

Робочий

Нагнітання

Зливання

12000

2,5

0,85

8,8

1,4

0,5

0,5

0,2

3,0

4,1


Зміст

Передмова

      Розробка і описання гідравлічної схеми гідроприводу

2       Гідравлічний розрахунок параметрів гідроприводу

         Динамічний розрахунок гідроприводу

Перелік посилань

Передмова

Під гідроприводом розуміють сукупність пристроїв (до числа яких входить один або декілька об'ємних гідродвигунів), призначені для приведення в рух механізмів і машин за допомогою робочої рідини під тиском. Як робоча рідина у верстатних гідроприводах використовується мінеральне масло.

Гідроприводи широко застосовуються в сучасному верстатобудуванні. Вони дозволяють істотно спростити кінематику верстатів, понизити їх металоємність, підвищити точність, надійність роботи, а також рівень автоматизації. Виробництво гідроприводів в промислово розвинених країнах розширюється.

Основні напрями розвитку вітчизняного верстатного гідроприводу полягають в поліпшенні енергетичних і експлуатаційних характеристик гідрообладнання, підвищенні його швидкодії, вживанні слідкуючого і пропорційного дистанційного керування, що розширюється, що забезпечують зв'язок сучасних електронних систем з вузлами гідроприводу.

Широке використання гідроприводів у верстатобудуванні визначається рядом їх істотних переваг перед іншими типами приводів і перш за все можливістю здобуття великих зусиль і потужностей при обмежених розмірах силових виконавчих двигунів. Це полегшує компоновку гідроприводів в механізмах. Завдяки малій інерційності рухливих частин гідроприводи мають високу швидкодію. Практика показує, що на гідромотор приходиться зазвичай не більше 5% моменту інерції механізму, що приводиться ним, а для гідроциліндра цей показник може бути ще краще, тому час їх розгону і гальмування не перевищує зазвичай декількох сотих доль секунди.

Гідравлічні приводи забезпечують за умови хорошої плавності руху широкий діапазон безступінчастого регулювання швидкості виконавчих двигунів.

Важлива гідність гідроприводів - можливість роботи в динамічних режимах при частих включеннях, зупинках, реверсах руху або змінах швидкості, причому якість перехідних процесів може контролюватися і змінюватися в потрібному напрямі. Цим пояснюється широке використання гідравліки у верстатах із зворотно-поступальним рухом робочого органу (шліфувальні, протяжні, строгання , довбівлі, хонінгуванні і ін.).

Гідропривід дозволяє надійно захистити систему від перевантаження, що дає можливість механізмам працювати по жорстких упорах, при цьому забезпечується точний контроль зусиль, що діють, шляхом регулювання тиску притиску. Ця властивість використовується в затискних і фіксуючих механізмах верстатів, в гідроприводах усунення зазорів, системах урівноваження і тому подібне

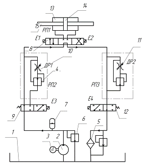
1.   Розробка і описання гідравлічної схеми гідроприводу

Розроблений гідропривід який зображено на рисунку 1 працює по наступній схемі: насос (2) який приводяться в рух за рахунок двигуна (3) засмоктує робочу рідину з баку (1) та нагнітає її в магістраль.

При включені електромагніта Е1 золотник на трипозиційнийному розподільнику РП1 (8) переміщається в положення 1, робоча рідина вільно проходить через розподільники РП2 (9) та РП1, потрапляє в циліндр (13) і тисне на поршень (14), за рахунок цього рухається шток (15), а із другої порожнини циліндру рідина через розподільники РП1 (8) і РП3 (12) та фільтр (5) вільно зливається у бак. Так завдяки цій схемі гідроприводу виконується швидкий підвід (ШП). гідропривід трубопровід тиск порожнина

Також для підтримки постійного тиску в схемі встановлено пневмо-гідро акумулятор (7).

Для здійснення робочих переміщень в цьому гідроприводі встановлено двопозиційні гідророзподільники РП2 (9), РП3 (12) та дроселя (10,11)

Рисунок 1. Схема гідроприводу

2. Гідравлічний розрахунок параметрів гідроприводу

. По заданій величині зовнішнього зусилля, яке розвивається на штоку гідроциліндра, з урахуванням характеру зусилля, вибираємо гідроциліндр відповідного типорозміру.

Визначаємо розрахунковій діаметр поршня гідроциліндра

 

де  - задане навантаження, Н; p - заданий розрахунковий тиск, Па;

 - механічний ККД гідроприводу;

α - відношення діаметрів штока та поршня  приймаємо .

 

D=100 мм - діаметр поршня;

d=D∙α = 100∙0,5= 50 мм - діаметр штока.

. З урахуванням того, що створення штовхаю чого зусилля, яке передається штоку гідроциліндра, робочу рідину під тиском слід подавати в його поршневу порожнину, ефективну площу визначаємо за формулою:

 

де D і d - відповідно стандартні діаметри поршня і штока

 

. Орієнтовній тиск  на виході з насоса, для створення максимального зусилля розрахуємо по формулі:

 

4. Розрахуємо орієнтовану подачу насоса


де  - задана швидкість ШП руху штока гідроциліндра

 

5. Орієнтовний тиск збільшуємо - на 10-20%, а орієнтовану подачу  - на 5-15%

 

 

Таке збільшення подачі  і орієнтованого тиску  насоса необхідне для врахування приблизної компенсації втрат тиску рідини на подолання сил тертя в трубопроводах, апаратах і витокові рідини із системи гідроприводу.

. З урахуванням уточнених розрахункових значень гідравлічних параметрів  і  підбираємо номінальну подачу  і номінальній тиск .

По цих параметрах вибираємо типорозмір насосів для гідроприводу [4, с. 22]

Встановлюємо насос Г11-23 для якого:

Тиск на виході: номінальний ;

максимальний ;

Подача

7. По гідравлічних характеристиках насоса  і  вибираємо гідравлічну апаратуру гідропривода:

а)      Трьохпозиційний гідравлічний розподільник з гідравлічним керуванням № 64А по гідросхемі [4, с. 103]:

діаметр умовного проходу

номінальна витрата масла

повна втрата тиску в розподільнику .

Розподільник типа Г72-33 [4, с. 111].

б)      Два двопозиційних гідравлічних розподільника з № 573 по гідро схемі [4, с. 105]:

діаметр умовного проходу

номінальна витрата масла

повна втрата тиску в розподільнику .

Розподільник типа Г72-33 [4, с. 111].

в)      Дросель Г55-13А [4, с. 186]

діаметр умовного проходу

номінальна

мінімальна .

г)       Запобіжний клапан Г54-23 [4, с. 157]

діаметр умовного проходу

повна втрата тиску .

витрати масла: номінальна

максимальна

мінімальна

тиск налаштування

д)      Зворотній клапан Г51-23 [4, с. 150]

діаметр умовного проходу  

витрати масла: номінальна

е)       Двуштоковий гідроциліндр [4, с. 75]

D=100 мм - діаметр поршня;

d= 50 мм - діаметр штока;

S=500 мм - хід поршня.

ж)      Пневмо-гідро акумулятор АРХ-1/16 [4, с. 43]:

місткість 1 дм3;

Тиск номінальний ;

Розмір отвору для під’єднання до гідросистемі М27×2

8. Вибираємо гідравлічний бак

 

Номінальна місткість бака становить .

9. Вибір фільтра [4, c.281]

В дану гідросистему встановлюємо фільтр С42-5, в окремому корпусі, з сітчастим фільтруючим елементом, в зливній магістралі:

пропускна спроможність 16-100 л/хв;

умовний прохід ;

номінальна тонкість фільтрації 40 мкм;

робочий тиск 1МПа;

повна втрата тиску .

10. Робочу рідину вибираємо згідно з рекомендаціями, що містяться в технічних даних з експлуатації устаткування гідроприводу [4, с. 10]

Вибираємо масло індустріальне ИГП-30 ГОСТ 101413-78. В’язкість  при температурі 50 .

11. Розрахунок трубопроводу

-       орієнтовний вибір швидкості руху рідини по трубопроводах

-       визначення розрахункового діаметру і підбір дійсного діаметру трубопроводу


Вибираємо трубопровід зі стальної труби ГОСТ 8734-75, для напорної лінії діаметр умовного проходу , розмір труби , , для зливної лінії діаметр умовного проходу , розмір труби  .

-       розрахуємо дійсну швидкість робочої рідини в трубопроводі:

в напорній магістралі:

 

в зливній магістралі:

 

-       визначаємо число Рейнольда

 

де u - коефіцієнт кінематичної в’язкості рідини

Температуру робочої рідини приймаємо рівною 50°С

для напорної магістралі:

 

для зливної магістралі:

 

Для напорної і зливної магістралей в яких число Рейнольда задовольняє таку умову Re<2300, тобто тут режим руху ламінарний, коефіцієнт гідравлічного опору λ розраховуємо за допомогою формули Дерсі-Вейсбаха

 

Для зливної магістралі, в якій число Рейнольда задовольняє умову Re<2300, тобто тут режим руху ламінарний, коефіцієнт гідравлічного опору λ розраховуємо за допомогою формули Дерсі-Вейсбаха

 

Втрати тиску в трубопроводах гідроприводу визначають по формулі

 

де  - питома вага робочої рідини при температурі 50 °С, Н/м3;

 - приведена довжина трубопроводу, м;

 - коефіцієнт гідравлічного опору по довжині;

 - умовний діаметр трубопроводу, м;

 - дійсна швидкість робочої рідини, м/с;

 - прискорення сили тяжіння, м/с2.

Питома вага робочої рідини

 

де  - щільність робочої рідини, кг/м3.

Щільність рідини при температурі 50 °С визначають і залежності

 

де  - щільність робочої рідини при температурі 20 °С,  кг/м3

 - коефіцієнт температурного розширення, ля мінеральних ;

;

 

;

 

 

Сумарна втрата тиску в трубопроводі

 

12. Втрати тиску в гідравлічних апаратах

 

де  - номінальний перепад тиску при номінальній втраті робочої рідини для даного апарату;  - втрати рідини для даного апарату.

а)      для розподільників

 

б)      для фільтра

 

13. Сумарні втрати тиску в гідравлічних апаратах і трубопроводі

 

Сумарна втрата тиску в гідравлічних апаратах

;

;

14. Сила тертя  в ущільненнях поршня і штока гідроциліндру

 

де - коефіцієнт тертя матеріалів в ущільнені поршня і штока по сталі, для ущільнення з гуми

, - ширина кільця поршня ущільнювача або манжети відповідно поршня і штока, м;

, - кількість елементів ущільнювачів на поршні і штоку;

;         

;    

 

15. Дійсний тиск на виході з насоса

 

Обчислене значення задовольняє умову

 

враховуючу, що

 

Потужність спожита гідроприводом

 

де  - КПД насоса.

3. Динамічний розрахунок гідроприводу

Характер руху виконавчих пристроїв істотно залежить від роботи апаратури управління і допоміжних пристроїв, які входять в систему. Так, спрацьовування розподільних і командних пристроїв є причиною коливань тиску і витрат, що викликають зміну динамічних характеристик, а наявність пневмогідравлічного акумулятора в системі, що є за своєю природою пневматичною пружною ланкою стабілізує ці характеристики. При цьому істотно змінюється їх характер і тривалість перехідних процесів.

Принципова схема гідравлічного виконавчого пристрою показана на рисунку 2. Слід враховувати, що величина протидія в порожнині зливу залежить від опору зливної траси, що є функцією швидкості перебігу робочої рідини по трубопроводах, а отже, і функцією швидкості переміщення поршня в робочому циліндрі. В період розгону і гальмування величина протидії в порожнині зливу змінюється в широких межах від 0до pmax

Тиск в робочій порожнині циліндра і перепад тиску на лінії підведення, які визначають розвинуте виконавчим пристроєм зусилля і швидкість переміщення поршня, також є величинами змінними, залежними від навантаження на штоку поршня, сил тертя і величини протидії.

Рівняння руху поршня виконавчого пристрою, що враховує співвідношення діючих сил, можна записати в наступному виді:

           (4.1)

де М - приведена до поршня маса рухомих частин і робочої рідини в трубопроводах і гідроциліндрі;  - прискорення поршня; х - поточне значення величини переміщення поршня; , і  - ефективні площі поршня з боку робочої порожнини і порожнини зливу;  і  - тиск в робочій порожнині і в порожнині зливу;  - постійна складова сил тертя; Р - постійна складова корисного навантаження на штоку поршня; Тв - сила в'язкого тертя;  - змінна складова корисного навантаження; С - коефіцієнт пропорційності; - швидкість поршня.

           (4.2)

де М - приведена до поршня маса рухомих частин циліндра, привідного механізму і маса рідини в напірному і зливному трубопроводах;  - маса рухомих частин циліндра і привідного механізму, кг (<250 кг);  і  - внутрішній діаметр відповідно напірного і зливного трубопроводів, мм;  і  - довжина відповідно напірного і зливного трубопроводів, мм;

Тиск в робочій порожнині гідроциліндра:

          (4.3)

Перепад тиску на лінії підведення

 

Де  - тиск рідини, створений насосом.

Підставляючи значення , отримуємо

                    (4.4)

Розхід рідини, що поступає в робочу порожнину гідравлічного циліндра, визначається залежністю:

             (4.5)

де  - коефіцієнт розходу лінії підведення ;  - площа мінімального прохідного перетину лінії підведення; ( - питома вага рідини; g- прискорення вільного падіння).

Швидкість переміщення поршня гідравлічного циліндра з розходом рідини пов'язана залежністю:

            (4.6)

Розхід робочої рідини, що поступає на злив:

          (4.7)

де  - коефіцієнт розходу лінії зливу, ;  - площа мінімального прохідного перетину трубопроводів зливної магістралі;  - перепад тиску, визначений опором зливної траси.

 

Якщо надлишковий тиск рідини в масляному баку , то

 

Тоді залежність прийме вигляд:

 

Враховуючи, що  отримуємо

            (4.8)

З формули (4.8) видно, що величина протитиску в порожнині зливу пропорційна квадрату швидкості поршня гідроциліндра. Підставляючи значення  в рівняння (4.4), знаходимо:

 

Після підстановки знайденого значення  в рівняння (4.6) і відповідних перетворень можна отримати рівняння руху поршня гідроциліндра, що враховує зміну перепадів тиску на лініях підведення і зливу, вплив сил тертя, корисного навантаження і пропускної спроможності трубопроводів:

                (4.9)

Рівняння (4.9) в загальному виді рішення не має. Воно може бути вирішене методами чисельної інтегрування із застосуванням ЕОМ.

В окремому випадку, якщо корисне навантаження, сили тертя і сили в'язкого тертя постійні або змінюються незначно, їх можна замінити деякими постійними середніми значеннями , ,  і рівняння (4.9) може бути вирішене в загальному вигляді. Таким рішенням зручно користуватися при попередніх розрахунках. Приймаючи, що

 - розрахункове навантаження, Н;

- середнє зусилля на подолання сил тертя поршня і штока гідроциліндра, Н;

 - середнє зусилля на подолання сил в'язкого тертя, Н;

 - коефіцієнт динамічної в'язкості, Н∙с/м2;

 - радіус поршня, м;

 - довжина поршня, м;

 - швидкість руху поршня, м/с;

 - відстань між поверхнями поршня і циліндра, виміряна по нормалі, м. Здійснюючи заміни перемінних складових в рівнянні (4.9) постійними величинами отримуємо диференціальне рівняння руху поршня.

Вирішуючи це рівняння на ЕОМ отримаємо залежності для визначення шляху переміщення х робочого органу, як функції часу t; швидкості переміщення x робочого органу, як функції часу t; прискорення переміщення а робочого органу, як функції часу t.

Це рівняння дозволяє визначити величини переміщення х, швидкості v і прискорення а поршня гідравлічного циліндра через його геометричні параметри, діючий тиск і величини сил опору руху, що дозволяє вести розрахунок по заданих динамічних характеристиках.

Контрольні точки для розрахунку на ЕОМ

P = 12000 Н - розрахункове навантаження;

p1 = 2319966 Па - тиск в полості нагнітання;

p2 = 17177 Па - тиск в зливній полості;

F1=F2= 5,887 ∙ 10-3 м2 - ефективна площа поршня в полості нагнітання та зливу;

С = 864 Н - сила тертя в ущільненнях поршня і штока гідроциліндру.

Перелік посилань

1. Башта Т.М. Гідравліка, гідромашини і гідроприводи.-М.: Машинобудування, 1982.-423с.

2. Гідроприводи і гідропневмоавтоматика верстатів/ В.А. Федорец, М.И. Педченко, А.Ф. Пичко й ін. Під ред. В.А.Федорца.- К.: Вища школа, Головне вид-во, 1967.-375с.

3. Бірюков В.Н. Гідравлічне устаткування металорізальних верстатів.-М.: Машинобудування, 1979.-112с.

4. Свєшников В.К., Усов А.А. Верстатні гідроприводи. Довідник. - 2 вид., пере-роб. і догк - М.: Машинобудування, 1988.-513с.

5. Навроцкий К.Л. Теорія і проектування гідро - і пневмоприводів. - М.: Машинобудування. 1991.-3 84с.

Похожие работы на - Розрахунок гідроприводу

 

Не нашли материал для своей работы?
Поможем написать уникальную работу
Без плагиата!
Без нейросетей!