Автоматизація технологічного процесу пневмопосточання в умовах шахти 'Щегловська-Глубока'

  • Вид работы:
    Курсовая работа (т)
  • Предмет:
    Другое
  • Язык:
    Украинский
    ,
    Формат файла:
    MS Word
    937,82 Кб
  • Опубликовано:
    2014-07-23
Вы можете узнать стоимость помощи в написании студенческой работы.
Помощь в написании работы, которую точно примут!

Автоматизація технологічного процесу пневмопосточання в умовах шахти 'Щегловська-Глубока'











КУРСОВИЙ ПРОЕКТ

Автоматизація технологічного процесу пневмопосточання в умовах шахти «Щегловська-Глубока»

Вступ

технологічний пневмопостачання компресорний автоматизація

На теперішній час встановлено, що близько 70% гірничих підприємств використовують пневматичну енергію під час ведіння гірничих робіт. Вона використовується на вугільних шахтах Донбасу з пластами крутого падіння, особливо небезпечних по газу, пилу й викидам, де застосування електроенергії заборонено, а також на шахтах з пластами пологого падіння при проходці виробіток у твердих гірничих породах, на копальнях з видобутку руд чорних і кольорових металів, при проведенні гірничих виробіток

Виробництво стислого повітря на гірничому підприємстві здійснюється компресорною станцією, що складається як правило з декількох турбокомпресорів. Параметром, що характеризує роботу турбокомпресора і приєднаних до нього споживачів є тиск стислого повітря. При зниженні тиску продуктивність робочого устаткування зменшується і відбувається погіршення техніко-економічних показників. Збільшення тиску вище за номінальний також небажано, тому що зростають утрати стислого повітря в атмосферу і, отже, також погіршуються економічні показники роботи турбокомпресорів.

Основні задачі автоматизації турбокомпересорної установки - забезпечення ії роботи з оптимальними техніко-економічними показниками за умови безпечності і високої культури обслуговування. При автоматизації процесу пневмопостачання необхідно ураховувати особливості конструкції, умови роботи і характеристики машин, що приймають участь у цьому процесі, як об'єктів автоматизації. Ці фактори визначають раціональний ступінь автоматизації, структуру системи, елементи, що підлягають автоматизації і застосовані для цього засоби.

При автоматизації процесу пневмопостачання вирішують задачі, що пов'язані зі створенням нормальних умов експлуатації і безаварійної роботи компресорної установки, а також із комплексною автоматизацією виробництв, що ними обслуговуються.

Від надійності роботи компресорних установок залежать продуктивність технологічних ланок, якість продуктів, що отримують та безпечність експлуатації обладнання.

Автоматизація процесу пневмопостачання забезпечить роботу турбокомпресорної установки з максимальним економічним ефектом і безпечністю експлуатації, запобіганням аварійних режимів, збільшить міжремонтний строк роботи, забезпечить часткове чи повне виключення обслуговуючого персоналу, підтримуватиме потрібний тиск для проведення оптимального технологічного процесу, виконуватиме операції з контролю і захисту. Протипомпажний захист повинен підвищити надійність роботи компресорної установки і знизити її енерговитрати.

1. Аналіз технологічного процесу пневмопостачання шахти як об'єкта автоматизації. мета проектування та вимоги до системи автоматизації технологічного процесу пневмопостачання шахти

У курсовому проекті як базова розглянута технологічна схема процесу пневмопостачання шахти «Щегловська - Глибока». Структурна схема пневмопостачання шахти приведена на рисунку 1.1.







Рисунок 1.1 - Структурна схема процесу пневмоспостачання шахти «Щегловська - Глибока»

На рисунку 1.1 позначені: 1 - станція пневмопостачання; 2, 3 - споживачі поверхні шахти; 4, 5, 6 - підземні споживачі пневмоенергії.

У підземних умовах енергія стислого повітря використовується для приводів: пневмосверл, бурових станків, насосів, бетономішалок, лебідок, відбійних і бурильних молотків. На поверхні шахти пневматична енергія використовується для видалення золи з котельних.

Станція пневмопостачання (компресорна станція) призначена для забезпечення пневматичною енергією споживачів шахти. У компресорній станції реалізується виробництво стислого повітря. При цьому енергія від приводу компресора передається потоку повітря. Електрична енергія перетворюється на пневматичну.

Технологічна схема компресорної станції пневмопостачання шахти «Щегловська-Глибока» представлена на рисунку 1.2.

Рисунок 1.2 - Технологічна схема компресорної станції пневмопостачання шахти «Щегловська-Глибока»

На рисунку 1.2 позначені: ДП - датчик потужності, ПАПДК - пускова апаратура приводного двигуна компресора, АД - асинхронний двигун з фазним ротором, СД - синхронний двигун, ТК - турбокомпресор, КЛ - протипомпажний клапан, ПКЛ - привід клапана, ПК - поршневий компресор.

На компресорній станції шахти «Щегловська-Глибока» для забезпечення пневматичною енергією споживачів шахти використовуються чотири компресори: два відцентрових - турбокомпресори (К-250-61-1-1 і ЦТК-275/9) і два поршневі (4М10-100/8 і 2М10-50/8) компресори (див. рис. 1.2). Для забезпечення кінцевого тиску в пневматичній мережі шахти 8-9 кгс/см2 використовується один турбокомпресор, другий турбокомпресор та поршневі компресори є резервними.

Основним устаткуванням компресорної станції є турбокомпресор К-250-61-1-1, технологічна схема якого приведена на рисунку 1.3.












Рисунок 1.3 - Технологічна схема турбокомпресора К-250-61-1-1

На рисунку 1.3 позначено: 1 - датчик контролю температури; 2 - датчик контролю тиску; 3 - датчик осьового зрушення; 4 - датчик перепаду тиску; 5 - датчик контролю потоку; 6 - датчик рівня масла; 7 - датчик продуктивності; 8 - датчик продуктивності і тиску противопомпажного регулювальника; 9 - датчик регулювальника тиску; ДЗВ1, ДЗВ2, ДЗН, ДДЗ, ДПК - відповідно електродвигуни засувок водяного охолодження, нагнітання, дросельної заслінки і противопомпажного клапана; РПД - регулювальник прямої дії;

ВП1 - ВП3 - вентилі продування; - о - о - - повітряпровід; - - маслопровід; - водопровід.

Основний параметр, що характеризує роботу компресорів і приєднаних до них споживачів, - це тиск стислого повітря. При зниженні тиску в пневмомережі приблизно пропорційно зменшується продуктивність робочого обладнання; при підвищенні тиску продуктивність пневмомашин зростає, але одночасно збільшуються непродуктивні витрати, обумовлені зростанням втрат в компресорах, витоків повітря в нещільності трубопроводів, зносу інструменту, а також - зниженням к. к. д. пневмодвигунів і т.д. Тому необхідно управляти тиском в системі пневмоспостачаня так, щоб забезпечити максимальну продуктивність споживачів стислого повітря при мінімальних витратах на його виробництво і транспортування. Для підтримки тиску на заданому рівні в умовах нерівномірного вжитку пневмоенергії унаслідок неодночасного включення споживачів і різного їх завантаження (витрати повітря) потрібно регулювати продуктивність компресорної станції в широких межах. У загальному випадку таке регулювання може бути здійснено дією на комунікації, компресор або його привід.

Робочі характеристики турбокомпресора приведені на рисунку 1.4.

Рисунок 1.4 - Робоча характеристика турбокомпресора

Робочий режим компресора знаходиться в точці A пересічення його характеристики 2 з характеристикою пневматичної мережі 1. Продуктивність відцентрового компресора сильно залежить від тиску мережі. Характеристики відцентрових компресорів мають максимум. Режим роботи компресора в крапці К буде критичним, параметри РК і QK, відповідні цьому режиму, - критичними.

Робочі режими в крапках, розташованих на правій гілці характеристики, є стійкими. Якщо із-за зменшення витрати повітря з мережі робочий режим виявиться в крапці, розташованій на лівій гілці характеристики, то робота компресора буде нестійкою і може виникнути явище помпажа, при якому спостерігаються падіння продуктивності і тиску, струси машини і повітропроводів.

Помпаж компресора виникає тоді, коли відбувається: зменшення продуктивності або збільшення відношення тисків; зміна характеристик газу (зменшення молекулярної ваги); зниження частоти обертання ротора; зниження початкового тиску газу; збільшення початкової температури газу; знос лабіринтових ущільнень, несиметрія потоку; збільшення опору байпаса; збільшення опору мережі (кінцевого тиску); неправильне налаштування захисту від помпажа; швидка перестановка клапанів.

При виникненні помпажа показання витрати газу і кінцевої його температури нестаціонарні. Коливання поширюються на всю систему компресор-мережа. Коливання можуть бути гармонійними (м'який помпаж) і імпульсними (жорсткий або циклічний помпаж). Момент виникнення і характер протікання коливального процесу при жорсткому помпажу не залежить від інерційних характеристик мережі і визначається головним чином її об'ємом, характеризується гістерезисними явищами.

Частота в основному визначається власною частотою системи компресорної мережі і складає 4..12 Гц. Спостерігається різке коливання потужності і витрати, стрибкоподібна зміна швидкості. Початок зривної зони практично не залежить від параметрів мережі. При помпаже яскраво виражені явища гістерезису при виході з нестійкої зони. При наближенні до кордону помпажа звук поступово стає глухіше. У момент входу в помпаж разом із звуком високого тону з'являються нижчі коливання, що викликають сильний шум і великі динамічні навантаження на елементи компресора.

Система автоматизації технологічного процесу пневмопостачання шахти повинна відповідати наступним вимогам:

Схемні рішення повинні бути універсальними для можливості застосування апаратур на компресорній станції при можливій їх модернізації;

Комплект апаратури повинен мати нормальне загально промислове виконання, так як риміщення компресорних станцій відповідно до ДСТУ-15150-69 відносяться до котегоріі 4. Температура навколишнього повітря повинна бути від 1 до 40°С і відносній вологості 80% при 25°С

Конструктивне оформлення комплекту апаратур повинно забезпечувати високу ремонтопридатність, тобто швидкий пошук несправних функціональних блоків в апаратурі, можливість доступу до них і швидку заміну.

Система пневмопостачання шахти має виконувати наступні функції:

.        Включення і відключення комплектного розподільного пристрою (КРУН) приводного електродвигуна компресорної станції;

. Контроль робочих параметрів компресора:

тиск повітря в нагнітальному трубопроводі;

витрату повітря;

температуру подшібників двигуна;

. Автоматичний захист компресорної установки від помпажа;

. Автоматичний захист перегріву підшипникових вузлів;

. Забезпечення робочої сигналізації:

наявність живлення пристрою

включений і відключений компресор

аварійного режиму роботи - режиму помпажа

попереджувальної - перегрів підшипникових вузлів

2. Критичний огляд відомих технічних рішень із автоматизації технологічного процесу пневмопостачання шахти

Для автоматизації технологічного процесу пневмопосточання існує апараратура УКАС-М. Ця апаратура призначається для компресорної установки з агрегатами продуктивністю від 100 до 500 м3/мін з приводом від синхронних двигунів з тиристорною або безщіткової системами збудження.

До складу комплекту апаратури УКАС-М входять:

щит управління турбокомпресорним агрегатом УКАС-АМ (один агрегат), що включає шафу ШЕС9102-53А3 (ШЕС9104-53А3), шафу ШЕС8503-00А2;

щит управління турбокомпресора УКАС-СМ (один на станцію), що включає шафу регулювання ШЕС8801-00А2 і шафа управління допоміжними приводами ШЕС9103-83А3;

пульт оператора ШЕС9006-00А2 (один агрегат);

щит апаратури регульованого електроприводу турбокомпресора (один агрегат);

збудливий пристрій синхронного електродвигуна (один агрегат);

первинні прилади теплотехнічного контролю, що встановлюються на турбокомпресора.

Структурна схема автоматизації технологічного процесу пневмопосточання приведена на рисунку 2.1. На рисунку 2.1 позначені: 1 - щит управління ШЕС8503-00А2; 2 - щит управління ШЕС9006-00А2; 3 - щит управління ШЕС8801-00АЗ; 4 - до блоків; 5 - щит управління ШЕС9103-83АЗ; 6 - резервний насос водяного охолоджування; 7 - вентилятор градирні; 8 - підігрівач масла; 9 - пусковий маслонасос; 10 - засувка нагнітання; 11 - дросельна заслінка; 12 - протипомпажний клапан; 13 - щит управління ШЕС9102-53А3; 14 - до блоків; 15 - пристрій управління електродвигуном; 16 - електродвигун компресора; 17 - компресор; 18 - насос водяного охолоджування; 19 - засувки на охолоджуючій воді; 20 - пристрій контролю і захисту турбокомпресора; БВА - блок вибору адрес; БС (Р), БС (А) - блок скидання регулювальника (агрегата); БЗП - блок завдання програми; БТР - блок таймера регулювальника; БП - блок живлення; БС - блок порівняння; БТА - блок таймера агрегату; БУМ - блок управління маслонасосів; БУВ - блок управління системою водяного охолоджування; БУП - блок управління програмою; БР - блок реле; БПА - блок попереджувальної і аварійної сигналізації.

Технічні принципи побудови апаратури УКАС-М в основному такі ж, як і в системах на основі релейно-контакторних елементів. Продуктивність компресора регулюється за допомогою дросельної заслінки ДР3 з сервоприводом.

Основна відмінність пристрою УКАС-АМ полягає в тому, що як апарат відробки алгоритму керування, регулювання і захисту компресорного установки використовується програмований контроллер. Логічна частина побудована на основі діодно-транзисторної логіки серії К511. Завдання режимів управління турбокомпресором виробляється за допомогою кнопкових перемикачів, встановлених на панелі блоку завдання програми.

Передбачені режими управління «Одиночний турбокомпресор», «Резерв», «Група компресорів». У режимі «Група компресорів» агрегат, що включається, вводиться в групу працюючих турбокомпресорів. Вибір порядкового номера агрегату в групі (черговість регулювання) також задається натисненням відповідних кнопкових перемикачів, причому черговість по номерах може бути прямою і зворотньою.

Рисунок 2.1 - Структурна схема автоматизації технологічного процесу пневмопостачання

Для сполучення логічної частини з вихідними елементами і датчиками (нормалізація рівня сигналів і гальванічної розв'язки ланцюгів) використовуються герконове реле і оптрони, котрі комутують відповідні ланцюги. Наприклад, через герконові або оптронні розв'язки підключають виносні кнопочні пости, кінцеві вимикачі, датчики технологічного контролю і автоматики турбокомпресорів.

Як вихідні елементи використовуються безконтактні реверсивні і нереверсивні тиристорні пускателі, а також звичайні електромагнітні контактори і реле.

3. Обґрунтування напряму автоматизації технологічного процесу пневмопостачання шахти

В даний час турбокомпресорні установки пневмопостачання шахти автоматизовані частково. При цьому:

Протипомпажний захист, здійснюється з використанням контролю співвідношення величин кількості всмоктуваного повітря і тиску в нагнітальному трубопроводі турбокомпресора. На деяких установках застосовані пристрої захисту, які засновані на контролі коливань струму в обмотці статора приводного електродвигуна.

Управління установкою (підготовка до пуску, пуск тощо) здійснюється, як правило, в ручному режимі.

Продуктивність турбокомпресорних установок не регулюється.

Здійснюється захист приводного електродвигуна турбокомпресорної установки від комутаційних перенапруг, короткого замикання і перевантаження.

Збір та зберігання архівної інформації про температуру у всіх необхідних точках, а також про витраті і тиску стисненого повітря здійснюється за допомогою застарілих електронних пишучих приладів.

Рівень часткової автоматизації не достатній для ефективної роботи турбокомпресорної установки і споживачів стисненого повітря

Технологічний процес пневмопостачання шахти має виконувати наступні функції:

Включення і відключення комплектного розподільного пристрою (КРУН) приводного електродвигуна компресорної станції;

Контроль робочих параметрів компресора:

тиск повітря в нагнітальному трубопроводі;

подачу компресора;

температуру подшібників двигуна;

частоту обертання ротора;

Автоматичний захист компресорної установки від помпажа;

Автоматичний захист перегріву підшипникових вузлів;

Забезпечення робочої сигналізації:

наявність живлення пристрою

включений і відключений компресор

аварійного режиму роботи - режиму помпажа

попереджувальної - перегрів підшипникових вузлів

Передача інформації в промислову мережу.

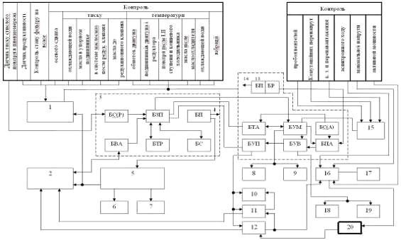
4. Алгоритмізація системи автоматизації технологічного процесу пневмопостачання шахти

Наведемо алгоритм роботи системи автоматизації технологічного процесу пневмопостачання шахти на рисунку 4.1.

Рисунок 4.1 - Алгоритм роботи системи технологічного процесу пневмопостачання шахти

Для початку роботи системи автоматизації треба подати напругу та почати процес опитування датчиків, заради виявлення дефекту у їх роботі (блок 2). Далі проводимо запуск компресорної установки, що супроводжується включенням електродвигуна (блок 4). Якщо запуск не був виконаний, знов проводимо ініціалізацію та опитування датчиків (блок 3).

Після успішного запуску компресорної установки продовжуємо роботу доки система не виявить параметри, які не відповідають нормальній роботі системи (блок 5). Якщо параметри роботи все ж не відповідають нормальній роботі (блок 6), то зупиняємо роботу компресорної установки (блок 7).

5. Обґрунтування та розробка схемотехнічних рішень по системі автоматизації технологічного процесу пневмопостачання шахти

Вибір промислової мережі для автоматизації технологічного процесу пневмопосточання шахти

В проекті прийнята промислова мережа Інтерфейс RS - 485 (інша назва - EIA/TIA-485) - один з найбільш поширених стандартів фізичного рівня зв'язку. Фізичний рівень - це канал зв'язку і спосіб передачі сигналу (1 рівень моделі взаємозв'язку відкритих систем OSI).

Мережа, побудована на інтерфейсі RS - 485, являє собою приймачі, з'єднані за допомогою кручений пари - двох скручених проводів. В основі інтерфейсу RS - 485 лежить принцип диференціальної (балансної) передачі даних. Суть його полягає в передачі одного сигналу по двох проводах. Причому по одному дроту (умовно A) йде оригінальний сигнал, а по іншому (умовно B) - його інверсна копія. Іншими словами, якщо на одному дроті «1», то на іншому» 0 «і навпаки. Таким чином, між двома проводами кручений пари завжди є різниця потенціалів: при «1» вона позитивна, при «0» - негативна.- 485 - напівдуплексний інтерфейс. Прийом і передача йдуть по одній парі проводів з поділом за часом. У мережі може бути багато передавачів, так як вони можуть відключаються в режимі прийому

Структурна схема системи автоматизації технологічного процесу пневмопосточання шахти

Для реалізації системи автоматизації технологічного процесу пневмопосточання була розроблена структурна схема. Структурна схема приведена на рисунку 5.2.

Рисунок 5.2 - Структурна схема системи автоматизації технологічного процесу пневмопосточання

На рис. 5.2 прийнято наступні позначення:

КУ - компресорна установка типу К250

Д - датчики (датчик темперратури підшипникових вузлів 1 тубопроводу, датчик темперратури підшипникових вузлів 2 тубопроводу, датчик тиску, датчик витрати повітря)

ПУ - пристрій управління;

БП - блок живлення;

ПУ - пост управління (щит управління турбокомпресора (один на станцію), що включає шафу регулювання і шафа управління допоміжними приводами);

ВП1, ВП2 - виконавчі пристрої;

БЗП - блок захисту від помпажу

Технічний опис прийнятої апаратури автоматизації технологічного процесу пневмопосточання шахти

Блок автоматичного управління

Наведемо структурну схему розробленого блоку управління турбокомпресорною установкою на рисунку 5.3

Рисунок 5.3 - Структурна схема розробленого блока управління пристрою автоматичного управління турбокомпресорною установки

На рисунку 5.3 вказано:

ДТ1 - датчик темперратури підшипникових вузлів 1 трубопроводу;

ДТ2 - датчик темперратури підшипникових вузлів 2 трубопроводу;

ДТП3-датчик тиску повітря в нагнітатільному трубопроводі;

ДВП4-датчик витрати повітря;

КПА-датчик пусковой апаратури турбокомпресорної установки;

БСЗ - блок узгодження;

БП - блок живлення;

ПУС - пульт керування та сигналізації;

МК - мікроконтролер;

БВК - блок виконання команд;

БПИ-блок передачі інформації

КРУН-високовольтна ячейка (6 кВ)

Розроблений блок управління ПАУТ установки виконує вмикання і вимикання турбокомпресорної установки, контролює температуру підшипникових вузлів 1 і 2 тубопроводу, тиск в нагнітатільному трубопроводі і витрату повітря; автоматично відключає компресорну установку при перегріві підшипникових вузлів, сигналізує про включення, виключення компресорного пристрої; включення, виключення пристрою керування; про спрацювання автоматичного захисту контролю перегріву підшипникових вузлів, формує та передає сигнал на ЄВМ Данна структурна схема (рис. 5.3) описує роботу розробленого блока управління пристрою автоматичного управління турбокомпресорною установки. В блок управління пристрою автоматичного управління турбокомпресорною установки входять: блок узгодження, блок живлення, мікроконтролер, пульт керування та сигналізації, блок передачі інформації та блок виконання команд.

Інформація про роботу установки формується в блоці датчиків, потім надходить до блоку узгодження, де вхідний аналоговий сигнал посилююється, потім посилений сигнал надходить на мікроконтролер для подальшої обробки. Також до мікроконтролера надходять дискретні сигнали, що перед тим, як попасти до МК проходять через оптрон, що робить ланку іскробезпечною.

Блок мікроконтролера призначений для обробки інформації, яка надходить на датчики, прийняття логічних рішень і формування керуючих сигналів

Блок сигналізації забезпечує оператора інформацією о роботі комплексу, одержаної з мікроконтролера, а також сигналізує про різні порушення роботи і аварійні ситуації.

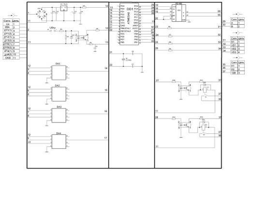
У відповідність структурної схеми розроблена принципова електрична схема блока управління пристрою автоматичного управління турбокомпресорною установки. Принципова електрична схема блока управління пристрою автоматичного управління турбокомпресорною установки наведена на рисунку 5.4.

Рисунок 5.4 - Принципова електрична схема блока управління пристрою автоматичного управління турбокомпресорною установки

В якості базового пристрою керування в розробляється пристрої був обраний мікроконтролер ATmega8. Для мікроконтролера ATmega8 при напрузі живлення 5В логічний нуль - це напруга від 0 до 1,3 В, а логічна одиниця - від 1,8 до 5 В.

Цифровий вихід приймача (RO) підключається до порту приймача UART (RX). Цифровий вхід передавача (DI) до порту передавача UART (TX). Оскільки на диференціальної стороні приймач і передавач з'єднані, то під час прийому потрібно відключати передавач, а під час передачі - приймач. Для цього служать керуючі входи - дозвіл приймача (RE) і дозволу передавача (DE). Так як вхід RE інверсний, то його можна з'єднати з DE і переключати приймач і передавач одним сигналом з будь-якого порту контролера. При рівні «0» - робота на прийом, при «1» - на передачу. Схема сполучення зображена на рисунку 5.5

Рисунок 5.5 - Схема зв'язку мікроконтролера і приймача RS-485

Як приймач RS-485, приймається мікросхема МАХ1480В, що містить в собі гальванічну розв'язку.

Дана схема живиться від зовнішнього джерела живлення (ІП) за допомогою блоку живлення (БП), який перетворює вхідну напругу в необхідне 5 В.

В якості DA1 приймається трехвиводний стабілізатор КР142ЕН5А

Напруга на вхід подається з Блоку Живлення Уніфікованого С12 (+12 В). Вбудована в DA1 захист обмежує вихідний струм на рівні 0.1… 0.2 А. Конденсатори С1, С4 встановлюються поблизу (0. 70 мм) від висновків стабілізатора DA1, для запобігання самозбудження стабілізатора. Ємність конденсатора С2 повинна бути в кілька разів більше, ніж ємність конденсатора СЗ. Необхідно, щоб при виключенні живлення вихідна напруга +5 В знижувалося за часом швидше, ніж вхідний +12 В (для цього і збільшують ємність конденсатора С2), інакше може вийти з ладу мікросхема DA1.

Схема підключення дискретного датчика, наведена на рисунку 5.6

Рисунок 5.6 - Схема підключення дискретного датчика

Для живлення ланцюга, прийнято вхідна напруга +12 В, що подається з Блоку Живлення Уніфікованого (БЖУ). Блоки живлення розраховані для експлуатації в умовах підземних виробок шахти, небезпечних по газу і пилу, в макрокліматичних районах з помірним, холодним і тропічним кліматом і виготовляються в кліматичному виконанні УХЛ і Т категорії відповідно до ДСТУ 15150-69.

Приймаємо блок живлення С12

Резистор R4 приймаємо рівними 1 кОм, а потужність розсіювання розраховуємо за формулою 2.1

= I ^ 2 * R (5.1)


Резистор R4 приймаємо 1 кОм: МЛТ - 0,125-1кОм ±5%.

Діод VD служить для захисту світлодіода оптопари від сплесків зворотного ЕДС, яка виникає в лінії зв'язку з датчиком. Застосовуємо діод типу КД522Б.

В якості транзисторної оптопари вибирається АОТ128А

Для зменшення сили струму з блоку живлення уніфікованого розрахуємо резистор R2, за формулою 5.2, потужність розраховуємо за формулою

= (Uбпу-Uвх) / Iвх (5.2)= (Uбпу-Uвх) / Iвх = (12-1.6) / 0,04 = 260 Ом_R2 = I ^ 2 * R = 0.416 Вт (5.3)

Приймаємо R2 - C1-4 0.5 Вт - 270 Ом ± 5%.

Для подачі дискретного сигналу на оптопару необхідно понизити сигнал з 12В до 1.6 В, для цього використовуємо дільник напруги і розрахуємо за формулою 5.3, рисунок 5.7

Рисунок 5.7 - Дільник напруги

=41.5 Ом


Приймаємо R3 - С1-4 1 Вт - 43 Ом±5%.

Для з’ясувавння вихідних сигналів на привід двигуна, застосовуємо транзисторну оптопару АОТ128А. Для включення використовується реле.

Реле герконовое EDR101A0500

Для посилення сигналу з термодатчиків, термопар застосовуємо операційний підсилювач LM358

У додатку А наведена специфікація вибраних елементів

Блок захисту від помажу

Структурна схема блока захисту від помпажу ПАУТ наведена на рисунку 5.8

Основним елементом пристрою є мікроконтролер, який призначений для обробки інформації від датчиків та органів управління, прийняття логічних рішень і своєчасного формування керуючого сигналу на відкриття - закриття протипомпажного клапана і світлоіндикація. Інформація в пристрій надходить від таких джерел: аналогова від датчика струму про величину сили струму в обмотці статора приводного електродвигуна турбокомпресора; аналогова від датчика температури повітря навколишнього середовища; дискретна від датчиків положення протипомпажного клапана.

Сигнали в мікроконтролер надходять через блок узгодження вхідного сигналу, де здійснюється: перетворення струмових сигналів від аналогових датчиків в сигнал напруги, для цього використовуються прецизійні резистори; здійснюється гальванічна розв'язка лінії зв'язку пристрою з контактними датчиками та органами управління за допомогою транзисторних оптопар; здійснюється захист мікроконтролера пристрою від можливих перенапруг у сполучних лініях датчиків за допомогою опе-раціонних підсилювачів, які охоплені негативним зворотним зв'язком з коефіцієнтом посилення рівним 1 і виконують роль «повторювача» вхідного сигналу.

Рисунок 5.8 - Структурна схема блока захисту від помпажу пристрою автоматичного управління турбокомпресорною установки

Блок узгодження вихідного сигналу призначений для перетворення вихідного сигналу мікроконтролера в сигнали управління пусковою апаратурою приводного електродвигуна протипомпажного клапана. Для керування роботою пристрою в схемі передбачені органи управління. До них відносяться: тумблер «Ручний - Автоматичний», кнопки «Відкриття протипомпажного клапана», «Закриття протипомпажного клапана», «Reset». Блок сигналізації призначений для Світлоіндикація про стан пристрою (вкл. - викл.), Про спрацюваннях пристрою при помпаж, про становище протипомпажного клапана (відкр. - закр.). Для передачі інформації між пристроєм захисту і ЕОМ диспетчера або оператора компресорної станції пристрій містить спеціальний адаптер передачі даних інтерфейсу RS-485.

Команда на відкриття протипомпажного клапана формується за відхиленням амплітуди поточних коливань струму статора приводного електродвигуна від заданої - уставки, величина якої визначається експериментальним шляхом і періодично коригується приблизно один-два рази на рік шляхом примусового створення предпомпажних коливань в турбокомпресорі. У пристрої програмно здійснюється коригування уставки спрацьовування захисту в залежності від температури повітря навколишнього середовища (як правило, літній або зимовий період часу року).

Відповідно до структурної схеми роботі розроблена функціональна схема блока захистну від помпажу пристрою автоматичного управління турбокомпресорною установки и приведена на рисунку 5.9.

Живлення пристрою здійснюється за допомогою трансформаторів TV1, TV2. Трансформатор TV1 забезпечує живлення мікроконтроллера МС і електромагнітних реле К1, К2 напругою +5В. Трансформатор TV2 забезпечує живлення операційних підсилювачів А1, А2 і блоку органів управління напругою +12В і -12В.

Рисунок 5.9 - Функціональна схема блока захисту від помпажу пристрою автоматичного управління турбокомпресорною установкою

Датчики положення засувки Bб1, Bб2 здійснюють перетворення кута положення засувки в електричний сигнал, який через обмежувальні резистори RS1, RS2 поступає на транзисторні оптопари VU1, VU2, а потім на мікроконтроллер. Датчик ВР здійснює перетворення активної подачі, споживаної привідним електродвигуном компресора, в електричний сигнал, датчик ВТ - температури повітря довкілля. З датчиків ВР і ВТ сигнал, через операційні підсилювачі А1, А2 поступає на мікроконтроллер.

Органи управління представлені: тумблером SA, кнопками SB1, SB2, SB3. З органів управління сигнал через обмежувальні резистори RS3, RS4, RS5, RS6 поступає на транзисторні оптопари VU3, VU4, VU5, VU6, а потім на мікроконтроллер.

Вихідний сигнал з мікроконтроллера через обмежувальні резистори RS7, RS8 поступає на транзистори TV1, TV2, а потім на електромагнітні реле К1, К2. Для забезпечення світлодіодної індикації вихідний сигнал з мікроконтроллера, поступає, через обмежувальні резистори RS9, RS10, RS11, RS12, RS13, RS14, RS15, на світлодіоди HL1, HL2, HL3, HL4, HL5, HL6, HL7.

Відповідно до структурної і функціональної схеми в роботі розроблена принципова електрична схема блока захистну від помпажу пристрою автоматичного управління турбокомпресорною установки. Принципова електрична схема блока захистну від помпажу пристрою автоматичного управління турбокомпресорною установки приведена на рисунку 5.10.

Основним елементом принципової електричної схеми є інтегральна мікросхема DD1 - мікроконтроллер ATmega16. Мікроконтроллер призначений для обробки інформації, ухвалення логічних рішень і формування управляючих сигналів. Перевагою мікроконтроллера ATmega 16 є наявність вбудованого аналого-цифрового перетворювача.

Для підключення до мікросхеми блоку противопомпажной захисту датчиків, що забезпечують вхідні сигнали для роботи мікросхеми, забезпечення живлення елементів схеми, виведення вихідних сигналів мікросхеми використовується роз'єм ГРПМШ-1-45.

До контактних ніжок роз'єму ХР1:1 і ХР1:2 підключається пристрій передачі даних з датчика активної подачі. Датчик активної подачі виробляє струмовий сигнал, пропорційний активній подачі, споживаній з мережі привідним високовольтним електродвигуном турбокомпресора. Для перетворення даного струмового сигналу в напругу використовується резистор R1. Приймаючи струм, відповідний максимальному значенню споживаної активної подачі, рівним 20мА, а максимальну вхідну напругу порта мікроконтроллера - 5В визначаємо

 Ом (5.4)

Відповідно до ряду номінальних значень опорів резисторів приймаємо R1=240 Ом.

Рисунок 5.10 - Принципова електрична схема блока захисту від помпажа пристрою автоматичного управління турбокомпресорною установки

Потужність на резисторі R1 визначимо по формулі

0,096 В (5.6)

Як резистор R1, по довідковим даним, приймаємо резистор МЛТ - 0,125-240 ±10%.

До контактних ніжок роз'єму ХР1:5 і ХР1:6 підключається пристрій передачі даних з датчика температури повітря навколишнього середовища. Приймаючи струм, відповідний максимальному значенню температури повітря навколишнього середовища, рівним 20мА, а максимальну вхідну напругу порта мікроконтроллера - 5В визначаємо

 Ом (5.7)

Відповідно до ряду номінальних значень опорів резисторів приймаємо R1=240 Ом.

Розсіювану потужність на резисторі R2 визначимо як

0,096 Вт (5.8)

Як резистор R2, по довідковим даним, приймаємо резистор МЛТ - 0,125-240 ±10%.

Для узгодження вхідних сигналів, що поступають з датчиків виміру подачі і температури, з портом мікроконтроллера, а також для захисту мікроконтроллера від непередбачених стрибків напруги і струму використовуються інтегральні мікросхеми DD2 і DD3. Як інтегральні мікросхеми DD2 і DD3 приймаємо операційні підсилювачі К140УД7, які охоплені негативним зворотним зв'язком з коефіцієнтом посилення рівним 1 і виконують роль «повторювача» вхідного сигналу.

З операційних підсилювачів DD2 і DD3 сигнал поступає на вхідні порти мікроконтролера - РА0, РА1, а потім за допомогою вбудованого аналого-цифрового перетворювача перетворюється в цифровий сигнал і обробляється мікроконтролером.

Живлення інтегральних мікросхем DD1, DD2, DD3 здійснюється за рахунок зовнішнього джерела живлення. Напруга живлення операційних підсилювачів К140УД7 - +12В і -12В підключається до контактних ніжок роз'єму ХР1:3, ХР1:4 відповідно. Напруга живлення мікроконтроллера ATmega16 - +5В підключається до контактної ніжки роз'єму ХР1:11.

Дискретні датчики положення засувки підключаються до контактних ніжок роз'єму ХР1:7…ХР1:10. Сигнал з цих датчиків поступає на блок узгодження, що складається з: обмежувальних резисторів - R3, R4, діодів - VD1, VD2, оптронів - VT1:1, VT1:2, обмежувальних резисторів ланцюга вихідного сигналу блоку узгодження - R9, R10.

Обмежувальні резистори R3, R4 розрахуємо по формулі

 (5.9)

де: Uд - напруга в ланцюзі датчика, Uд= 12В; IВХ.ОПТ - вхідний струм оптрона, IВХ.ОПТ=20мА.

Отже


Відповідно до ряду номінальних значень опорів резисторів приймаємо R3= R4=620 Ом.

Розсіювану потужність на обмежувальних резисторах R3, R4 визначимо по формулі

0,248 Вт (5.10)

Як обмежувальні резистори R3, R4, по довідковим даним, приймаємо резистор МЛТ - 0,25-620 ±10%.

Діоди VD1, VD2 необхідні для захисту світлодіодів оптронів від сплесків зворотньої ЕРС. Діоди мають бути розраховані на прямий струм не менший вхідного струму для оптрона. Для оптрона АОТ101 паспортне значення вхідного струму складає 20мА, отже, приймаємо малогабаритні діоди КД220 з прямим струмом до 2А.

Обмежувальні резистори вихідного сигналу блоку узгодження R9, R10 розрахуємо по формулі:

, (5.11)

де: UВИХ - вихідна напруга блоку узгодження. Приймаємо UВИХ = 5В. IВИХ - вихідний струм блоку узгодження. Приймаємо IВИХ =20мА.

Отже

 Ом

Відповідно до ряду номінальних значень опорів резисторів приймаємо R9= R10=240 Ом.

Розсіювану потужність на обмежувальних резисторах вихідного сигналу блоку узгодження R9, R10 визначимо по формулі

0,096 Вт (5.12)

Як обмежувальні резистори вихідного сигналу блоку узгодження R9, R10, по довідковим даним, приймаємо резистор МЛТ - 0,125-240 ±10%.

Вихідний сигнал з блоку узгодження дискретних датчиків поступає безпосередньо на мікроконтроллер.

Для управління роботою блоку протипомпажного захисту в схемі передбачені органи управління. До них відносяться: тумблер «Ручний - Автоматичний» - S1:1, кнопки «Відкриття засувки», «Закриття засувки», «Reset» - SB1, SB2, SB3 відповідно. Узгодження органів управління з мікроконтроллером здійснюється за допомогою блоків аналогічних блокам узгодження дискретних датчиків положення засувки з тією лиш відмінністю, що в цих блоках немає діодів для захисту від проти ЕРС, оскільки протяжність лінії зв’язку з органів управління менше 15 метрів. Отже, всі розрахунки і вибір елементів, приведені раніше для блоків узгодження дискретних датчиків справедливі і для блоків узгодження органів управління.

В ході обробки вхідних даних, що отримуються з датчиків і органів управління, мікроконтроллер приймає логічні рішення і формує управляючі сигнали. До вихідних сигналів мікроконтроллера відносяться: управління пусковою апаратурою приводу протипомпажної засувки, світлодіодна індикація режимів роботи апаратури і турбокомпресора.

Управління пусковою апаратурою приводу протипомпажної засувки здійснюється шляхом формування вихідних управляючих сигналів на портах мікроконтроллера PD0 і PD1. Вихідні сигнали з портів PD0, PD1 впливають на бази транзисторів VT4, VT5, тим самим, відкриваючи або закриваючи транзисторні ключі. При подачі сигналу високого рівня на базу транзистора VT4 або VT5 через нього починає протікати струм рівний струму спрацьовування реле К1:1 або К2:1, що призводить до замикання контакту реле К1:2 або К2:2. Виводи контактів реле К1:2 і К2:2 через роз'єм підключаються до реле контактора магнітного пускача, отже при їх замиканні в ланцюзі реле контактора магнітного пускача починає протікати струм спрацьовування реле магнітного пускача, відбувається комутація контактора магнітного пускача і пуск приводу протипомпажної засувки. Таким чином, за допомогою формування управляючих сигалів на портах мікроконтроллера PD0 і PD1 здійснюється відкриття (порт PD0) або закриття (порт PD1) протипомпажної засувки.

Розрахунок обмежувальних резисторів R15, R16 здійснений по формулі

, (5.13)

де: UВЫХ МК - вихідна напруга мікроконтроллера при формуванні сигналу високого рівня, прийнятий UВЫХ МК = 5В;  - втрати напруги на транзисторному і діодних ключах, розташованих усередині порту мікроконтроллера, прийнятий =1В; IБ - струм бази транзисторів VT4, VT5, необхідний для відкриття транзистора і протікання через нього струм спрацьовування реле К1:1 або К1:2.

Як реле К1:1 і К1:2 прийняте електромагнітне реле РЕС10, струм спрацьовування якого рівний 80мА.

Як транзистори VT4 і VT5 прийняті кремнієві транзистори КТ815. Виходячи з вихідної вольт - амперної характеристики транзистора КТ815 для протікання через нього струму 80мА на базу транзистора необхідно подати струм не менше 1мА, прийнято IБ=10мА.

Отже

 Ом

Відповідно до ряду номінальних значень опорів резисторів приймаємо R15= R16=390 Ом.

Розсіювану потужність на обмежувальних резисторах R15, R16 визначимо по формулі

0,039 Вт (5.14)

Як обмежувальні резистори R15, R16, по довідковим даним, приймаємо резистор МЛТ - 0,125-390 ±10%.

Для забезпечення світлодіодної індикації режимів роботи апаратури і компресора до портів мікроконтроллера PD2…PD7, PC0 підключені світлодіоди HL1…HL7.

Розрахунок обмежувальних резисторів R17, R23 виконуємо по формулі

 (5.15)

де: IСД - прямий струм світлодіода. Для світлодіода АЛ107Б прямий струм рівний 10мА.

Отже

 Ом

Відповідно до ряду номінальних значень опорів резисторів приймаємо R17… R23=390 Ом.

Розсіювану потужність на обмежувальних резисторах R17…R23 визначимо по формулі

0,039 Вт (5.16)

Як обмежувальні резистори R17…R23, по довідковим даним, прийнятий резистор МЛТ - 0,125-390 ±10%.

6. Розробка компонувальних рішень по системі автоматизації технологічного процесу пневмопосточання шахти

Відповідно до принципової електричної схеми була спроектована друкована плата


Рис. 6.1-Друкована плата блока захисту від помпажу пристрою автоматичного управління турбокомпресорною установкою

Процес виготовлення друкованої плати можна умовно розділити на п'ять основних етапів:

попередня підготовка заготовки (очищення поверхні, знежирення);

нанесення тим або іншим способом захисного покриття;

видалення зайвої міді з поверхні плати (травлення);

очищення заготівки від захисного покриття;

сверловка отворів, покриття плати флюсом, лудіння.

Етап попередньої підготовки заготовки є початковим і полягає в підготовці поверхні майбутньої друкованої плати до нанесення на неї захисного покриття. Весь процес зводиться до видалення оксидів і забруднень з поверхні плати з використанням різних абразивних засобів і подальшого знежирення.

Нанесення захисного покриття є найважливішим етапом в процесі виготовлення друкарських плат і саме ним на 90% визначається якість виготовленої плати. У ході даного етапу креслення друкарської плати переноситися на склотекстоліт уручну або за допомогою яких-небудь технічних засобів. Як фарбник можна використовувати розбавлений розчинником бітумний або який-небудь інший лак.

Наступним етапом виготовлення друкованої плати є хімічне травлення міді. У ході даного етапу друкована плата поміщається в хімічний реактив і у результаті реакції з не захищених фарбником поверхонь друкакованої плати відбувається травлення міді. Найбільш популярними розчинами для травління є:

Хлорне залізо (FeCl) - найвідоміший і популярніший реактив. Сухе хлорне залізо розчиняється у воді до тихий пір, поки не буде отриманий насичений розчин золотисто-жовтого кольору. Процес травлення в цьому розчині може зайняти від 10 до 60 хвилин. Час залежить від концентрації розчину, температури і перемішування. Перемішування значно прискорює протікання реакції. Також реакція прискорюється при підігріванні розчину. Після закінчення травлення плату необхідно промити великою кількістю води (для нейтралізації залишків кислоти). До недоліків даного розчину слід віднести утворення в процесі реакції відходів, які осідають на платі і перешкоджають нормальному протіканню процесу травлення, а також порівняно низьку швидкість реакції.

Персульфат амонія - світла кристалічна речовина, розчиняється у воді виходячи із співвідношення 35 г. речовини на 65 г. води. Процес травлення в цьому розчині займає порядка 10 хвилин і залежить від площі мідного покриття, що піддається травленню. Для забезпечення оптимальних розумів протікання реакції розчин повинний мати температуру порядка 40 градусів і постійно перемішуватися. Після закінчення травлення плату необхідно промити в проточній воді. До недоліків цього розчину відноситься необхідність підтримки необхідного температурного режиму і перемішування.

Розчин соляної кислоти (HCl) і перекису водню (H2O2) - при використанні даного розчину необхідно дотримуватись всіх запобіжних засобів при роботі з їдкими хімічними речовинами. Час травлення сильно залежить від перемішування і температури розчину і складає порядка 5-10 хвилин для добре перемішуваного свіжого розчину при кімнатній температурі. Після того травлення плату необхідно промити проточною водою. Даний розчин після травлення можна відновлювати додаванням H2O2. Недоліком даного розчину є необхідність строгого дотримання при роботі з ним всіх запобіжних засобів.

Після завершення травлення і промивання плати необхідно очистити її поверхню від захисного покриття. Зробити це можна яким-небудь органічним розчинником, наприклад, ацетоном.

Далі необхідно просвердлити всі отвори. Робити це потрібно гостро заточеним свердлом при максимальних зворотах електродвигуна. Прижимне зусилля в процесі свердління не має бути дуже великим, аби на зворотному боці плати не утворювалися горбки довкола отворів. Після сверловки потрібно обробити отвори.

Наступнім етапом є покриття плати флюсом з подальшим лудінням. Можна використовувати спеціальні флюси промислового виготовлення або просто покрити плату слабким розчином каніфолі в спирті. Лудіння можна виробляти двома способами: зануренням в розплав припою або за допомогою паяльника і металевого обплетення, просоченого припоєм. В першому випадку необхідно виготовити залізну ванну і заповнити її невеликою кількістю сплаву Розе або Вуда. Розплав має бути повністю покритий зверху шаром гліцерину щоб уникнути окислення припою. Плата занурюється в розплав, а потім виймається з одночасним видаленням надлишків припою ракелем з твердої гуми.

Техніка безпеки при травленні друкованої плати. При виготовленні друкованої плати застосовують різні хімічні реактиви. Вони легко випаровуються й отрутні, тому при роботі з ними потрібно виявляти обережність. Роботи проводити під витяжкою. При влученні реактивів на шкіру - негайно змити під проточною водою. Застосовувані розчинники, крім того вогненебезпечні і вибухонебезпечні, тому приміщення, у якому проводяться роботи з розчинниками і лаком повинні мати витяжну вентиляцію. Для запобігання шкіри від опіків повинен змінюватися спецодяг, а для захисту - окуляри.

7. Розробка експлуатаційних вимог до пристрою управління системи автоматизації технологічного процесу пневмопостачання шахти

Конструкція пристрою автоматичного управління турбокомпресорною установкою повинна забезпечувати безпеку та зручність виконання операцій, пов'язаних з управлінням компресорним обладнанням, і відповідати ергономічним вимогам стандартів системи «Людина - машина». Пульти управління компресорним обладнанням повинні відповідати вимогам ДСТУ-23000-78.

Пристрій автоматичного управління турбокомпресорною установкою повинен експлуатуватися відповідно до діючих «Правил технічної експлуатації електроустановок споживачів», «Правил безпеки при експлуатації електроустановок споживачів, а також посібником з експлуатації заводу-виготовлювача

Комплект апаратури повинен мати нормальне загально промислове виконання, так як риміщення компресорних станцій відповідно до ДСТУ-15150-69 відносяться до котегоріі 4. Температура навколишнього повітря повинна бути від 1 до 40° С і відносній вологості 80% при 25° С.

Пристрій автоматичного управління системи автоматизації технологічного процесу пневмопосточання шахти повинен виключати самовільне включення або виключення компресорного устаткування.

Компресорна установка повинна мати звукову та світлову сигналізацію в обсязі, відповідному нормам і правилам, затвердженим органами державного нагляду. Сигналізація повинна включатися при виході параметрів стиснення газу, режимів роботи систем охолодження і мастила за межі, встановлені стандартами і технічними умовами на конкретні види компресорів. Звукові сигналізатори повинні відповідати, вимогам ДСТУ 21786-76. Органи управління, засоби сигналізації повинні забезпечуватися знаками чи написами, що характеризують стан об'єкта управління. Поверхні огороджень, захисних пристроїв, а також елементи компресорного устаткування, що можуть служити джерелом небезпеки для працюючих, повинні мати знаки безпеки та сигнальні кольори за ДСТУ 12.4.026-76.

Персонал, обслуговуючий компресорні установки забезпечений всіма необхідними засобами захисту, що забезпечують електобезпеку його роботи. Порядок застосування цих засобів регламентується «Правилами застосування і випробування засобів захисту», використовуваних в компресорних установках. Засоби захисту, вживані в компресорних установках, розміщують в спеціально відведених місцях. Всі засоби захисту строго враховують. При експлуатації засобу захисту піддають періодичним випробуванням. На засоби захисту, що витримали випробування, ставлять штамп. Роботи в компресорних установках виконують по наряду, розпорядженню або у порядку поточної експлуатації. Вони проводяться з дотриманням організаційних і технічних заходів, виконання яких направлене на запобігання вибуху, пожежі, поразці і травмуванню людей.

До організаційних заходів відносять: оформлення роботи нарядом, розпорядженням або виробництво робіт, визначуваних переліком робіт, що виконуються у порядку поточної експлуатації; допуск до роботи; нагляд під час роботи; оформлення перерв і закінчення робіт. Бригада до виробництва робіт допускається після виконання необхідних відключень і всіх, організаційно-технічних заходів згідно наряду або розпорядженню. Перевірку готовності установки до виконання роботи здійснюють відповідальний керівник або виробник робіт спільно з тим, що допускає.

Після повного закінчення робіт, приведення компресорної установки в безпечний стан і робочого місця в порядок, бригада виводиться і оформляється закриття наряду підписами виробника і відповідального керівника робіт. При користуванні засобами обчислювальної техніки системи автоматизації кожен працівник повинен уважно і обережно поводитися з електропроводкою, приладами і апаратами і завжди пам'ятати, що зневага правилами безпеки загрожує і здоров'ю, і життю людини.

8. Обґрунтування факторів техніко-економічної ефективності прийнятих технічних рішень з автоматизації технологічного процесу пневмопостачання шахти

Явно, що при інших рівних умов окупність прийнятої автоматизації тим більше, чим значніше зниження собівартості продукції.

Окупність можна вирахувати після завершення робот по автоматизації даної ділянки виробництва, але дуже тяжко. Тому доцільно оперувати очікуваними зміненнями собівартості продукції і продуктивності процесу.

Встановлено, що найкращі умови окупності автоматизації створюються у неприливному процесі, в якому усякого роду непродуктивні утрати на холості і допоміжні операції, несуміщувані з робочим часом, мінімальні.

У переривистому (циклічному) виробництві, визначним параметром являється ритмічність роботи усіх елементів виробничого ланцюга. Це пояснюється, по крайній мірі, двома причинами:

перша складається у інерційності процесів, які протікають у ряду виробничих елементів. У перехідному режимі звичайно знижується якість продукції, продуктивність процесу і його економічність.

друга полягає у великої ролі транспортних засобів, які можуть забезпечити подачу необхідної сировини, відвід продукції тільки при ритмічної роботі усіх агрегатів, ділянок цеху.

Впровадження розроботанного в роботі пристрою автоматичного управління турбокомпресорною установкою технологічного процесу пневмопостачання шахти вирішує наступні завдання:

Зниження частоти і трудомісткості обслуговування;

Підвищення надійності експлуатації турбокомпресорних агрегатів і поліпшити контроль за технологічними процесом вироблення і споживання пнемвоенергіі;

Зменшення час простою пов'язаного з технологічним обслуговуванням;

Знизити споживання електроенергії компресорними агрегатами;

Скоротити обслуговуючий персонал турбокомпресорних станцій;

Висновки

У ході роботи був проведений аналіз технологічного процесу пневмопосточання шахти та компресорної установки як об’єкта автоматизації, сформульована ціль курсового проектування і вироблені потреби до системи автоматизації процесу. Зроблен критичний огляд відомих технічних рішень по автоматизації технологічного процесу пневмопостачання шахти, обґрунтовано подальше направлення автоматизації дослідженого процесу і сформульовані функції розробленого приладу автоматизації. Зроблена алгоритмізація системи автоматизації. Відбулось обґрунтування і розробка схематехнічного рішення приладу автоматизації, а саме проаналізована структурна схема системи автоматизації технологічного процесу, розроблені структурна схема пристрою управління, а також розроблена і принципіальна електрична схема розробляємого блоку. Проведені необхідні розрахунки елементної бази приладу, розроблено програмне забезпечення для управління приладом за допомогою мікроконтролеру. Опрацьовані заходи по безпечній і безаварійній експлуатації розробленого технічного рішення, вчинено техніко-економічне обґрунтування ефективності прийнятих рішень.

Перелік посилань

1. ДСТУ 3008-95. Документація. Звіти у сфері науки і техніки. Структура і правила оформлення. - К.: Держстандарт України, 1996.-32 с.

2. НПАОП 10.0-1.01-10. Правила безпеки у вугільних шахтах. Наказ Державного комітету України з промислової безпеки, охорони праці та гірничого нагляду №62 від 23.03.2010. -150 с.

3. Стаціонарні установки шахт. Під заг. ред. Б.Ф. Братченко. - М.: Недра, 1977. - 440 с.

4. Правила технічної експлуатації електроустановок споживачів. Затв. 25.07.2006 №258/ Міністерство палива та енергетики України. Х. Індустрія. 2007. - 272 с.

5. Правила устройства электроустановок. Спб. - Издательство ДЕАН. - 2003. - 928 с.

6. Правила технической эксплуатации электроустановок потребителей и Правила техники безопасности при эксплуатации электроустановок потребителей. Гл. Э3.2. Электроустановки во взрывоопасных зонах Главэнергонадзор. - М.: Энергоатомиздат, 1990, - 32 с.

7. Маренич К.М., Електрообладнання технологічних установок гірничих підприємств: підручник [для студентів вищих навчальних закладів] / К.М. Маренич, В.В. Калінін, Ю.В., І.Я. Лізан., В.В. Коломієць. - Донецьк, ДонНТУ - Харків, УІПА: 2009. - 392 с.

8. Мелькумов Л.Г. Автоматизация пневматического хазяйства шахт и рудников / Мелькумов Л.Г., Найман А.Е., Травкин Е.К. - М.: Недра, 1977. - 271 с.

9. Автоматизація технологічних процесів підземних гірничих робіт: підручник / А.В. Бубліков, М.В. Козарь, С.М. Проценко та ін.; за заг. ред. В.В. Ткачова. - Дніпропетровськ.: НГУ, 2012. - 304 с.

10.http://www.niikhemz.com.ua/18.htm

11.Автоматизация подземных горных работ / Под ред. Проф. А.А. Иванова - К.: Вища школа, 1987 - 328 с. Гаврилов П.Д., Гимельшейн Л.Я., Медведев А.Е. Автоматизация производственных процессов. Учебник для вузов. М.: Недра, 1985 - 215с

Похожие работы на - Автоматизація технологічного процесу пневмопосточання в умовах шахти 'Щегловська-Глубока'

 

Не нашли материал для своей работы?
Поможем написать уникальную работу
Без плагиата!
Без нейросетей!