|
Параметр
|
Значение, МПа
|
|
Максимальное рабочее давление на приемной линии магистральных
насосов при работающей НПС
|
2,5
|
|
Максимальное рабочее давление на приемной линии магистральных
насосов при неработающей НПС
|
2,9
|
|
Максимальное рабочее давление на выкиде станции (после
регуляторов давления)
|
3,0
|
|
Проектное максимальное давление в коллекторе до регуляторов
давления
|
4,9
|
1.3 Описание
принципиальной технологической схемы
Основной схемой технологического
процесса перекачки нефти для промежуточной НПС является перекачка «из насоса в
насос». Технологическая схема процесса представлена на рисунке 1.1.
Нефть перекачивается по нефтепроводу
УБКУА, поступает с НПС «Улу-Теляк» и подается на НПС «Нурлино».
Нефть поступает на НПС «Черкассы-2»
через приемную задвижку №233 расположенную в узле подключения станции. Узел
пуска и приема очистных устройств позволяет вести перекачку нефти как через НПС
«Черкассы-2», так и минуя ее. При перекачке нефти через НПС открыты задвижки NN
233, а задвижки NN 234, 235 - закрыты. При перекачке нефти, минуя НПС, открыты
задвижки NN 234, а задвижки NN 233, 235 - закрыты. Нефть проходит через
фильтры-грязеуловители NN 1,2,3, где она очищается. Перепады давления в
фильтрах-грязеуловителях необходимо регистрировать раз в 12 часов, а после
проведения работ на линейной части не реже одного раза в час. Значение
максимального перепада давления на фильтре-грязеуловителе принимается по
техническим требованиям завода-изготовителя.
Далее нефть поступает в
магистральную насосную. На участке трубопровода между
фильтрами-грязеуловителями и магистральной насосной на байпасе предусмотрена
система сглаживания волн давления (ССВД). При появлении волн давления ССВД
обеспечивает сброс части потока нефти с приемной линии магистральной насосной в
сборник нефти сброса от системы сглаживания волн давления и дренажа
ССВД срабатывает при скорости
повышения давления выше 0,3 МПа/с и при повышении давления в нефтепроводе на
величину не более 0,3 МПа, дальнейшее повышение давления в зависимости от
настройки ССВД, должно происходить плавно со скоростью от 0,01 до 0,03 МПа/с.
На участке трубопровода от магистральной насосной до магистрального
нефтепровода установлен узел регулирования давления для поддержания заданных
величин давления.
1.4 Описание блоков
В зале магистральных насосов,
расположены магистральные насосы перекачки нефти типа НМ 10000-210
производительностью 12500 м3 /час, напором 210 м - 4 шт.
Электродвигатели СТД-8000
магистральных насосов НМ 10000-210 расположены в отдельном зале, отделенным
брандмауэрной глухой стеной от помещения нефтяных насосов. Электродвигатели
выполнены не взрывозащищенном исполнение. Соединение насоса с электродвигателем
осуществляется с помощью промежуточного вала пластинчатой муфты.
В зале электродвигателей
расположены:
электродвигатель насоса СТД-8000
магистральных насосных агрегатов НМ-10000-210;
маслосистема насосных агрегатов,
расположенная в приямке зала;
бак масляный аккумулирующий БМ-3
объемом 0,8м3, расположенный на отметке 5,000 м.
Маслоустановка расположена в приямке
зала электродвигателей насосов НМ 10000-210.
Блок хранения масла расположен в
приямке зала электродвигателей насосов (резервуары емкостью 5 м3)
Узел САР (система автоматического
регулирования давления) относится
Основные параметры работы САР:
максимальное давление до
регулирующих заслонок, МПа - 5,0;
максимальное давление после
регулирующих заслонок, МПа - 3,0;
максимальная производительность, м3/час
- 12500;
максимальная производительность по
одному клапану, м3/час - 6250.
На приемном нефтепроводе НПС
установлены три горизонтальных фильтра-грязеуловителя Ф - 1,2,3 с Ду1400 мм и
Ру 4,0 МПа.
Система ССВД включает в свой состав
сборник нефти, выполненный в виде манифольда из труб Ду1200 мм объемом 285 м3,
емкости сбора утечек нефтесодержащих стоков.
Узел емкостей с погружными насосами
перекачек утечек, дренажей и сброса нефти ССВД расположен на наружной установке
и относится:
Основные параметры откачки:
максимальное давление, МПа - 0,43;
подача, м3/час - 80 [7].
2. Система автоматизации
нефтеперекачивающей станции
.1 Назначение системы
автоматизации
Технологический
процесс перекачки нефти характеризуется:
применением в
перекачке, пожаро - и взрывоопасных материалов и продук-тов;
высокой пожаро - и
взрывоопасностью при аварийных ситуациях.
Указанные факторы в
совокупности обуславливают необходимость
предъявления высоких требований к системе управления со стороны
технологического объекта управления в плане его функционально - алгоритмической
развитости и надежности функционирования.
Основными задачами автоматизации
насосного зала нефтеперекачивающей станции является поддержание основных
технологических параметров с целью обеспечения безостановочной работы станции.
Основным фактором, влияющим на
процесс нефтеперекачки, является давление. Нарушение режима перекачки может
привести к аварии магистральных насосных агрегатов.
.2 Программно-технический
комплекс автоматизации нефтеперекачивающей станции
Системы управления
в составе АСУТП и ПАЗ основана на использовании программно-технического
комплекса фирмы «SIEMENS AG», построенный на средствах «SIMATIC PCS7».
Этот комплекс
характеризуется:
наличием
искрозащищенных модулей ввода / вывода сигналов широкой номенклатуры,
обеспечивающих возможность прямого выхода на объект управления;
наличием
совокупности решений по сетевой технической структуре и программно-техническим
средствам распределенной АСУТП и ПАЗ, обеспечивающих ее эффективное
функционирование;
- наличием
программных и технических решений, обеспечивающих
эффективное поэтапное развитие и расширение АСУТП и ПАЗ;
- наличием удобного
интерфейса «технологический процесс - оператор - технолог - система
управления»;
относительно низкой
стоимостью.
Архитектурная схема системы
управления приведена на рисунке 2.1.
Консоль оператора, служащая для
организации интерфейса с технологическим персоналом, выполнены на базе
18-дюймовых сенсорных дисплеев с высокой разрешающей способностью. Быстрое
выведение изображений на дисплей не вызывает стрессовых ситуаций у оператора.
Каждая консоль позволяет оператору наблюдать до 16000 позиций, выводить на
дисплей до 300 графических панелей и регистрировать до 2300 трендов.
С точки зрения общей архитектуры
программируемых логических контроллеров (PLC) системы
противоаварийной защиты (ПАЗ) аналогичны контроллерам, выполняющим типовые
функции локального регулирования и связи с технологическим объектом. Однако они
имеют отличительные особенности: полностью независимы от основной
распределенной системы управления (DCS) и способны выполнять свои функции с очень высокой надежностью.
Средняя наработка на отказ типового контроллера станции управления DCS составляет 50 - 100
тыс. ч; для подсистемы ПАЗ, выполненной на базе PLC, она на порядок выше -
более 1 млн. ч.
PLC связаны с DCS через шину данных в соответствии с протоколом Industrial Ethernet. DCS может получать от PLC и отображать на своих
консолях как дискретную, так и аналоговую информацию, но не может влиять на их
работу. Информация в PLC для системы ПАЗ всегда поступает с объекта только от специально
выделенных для этих целей датчиков, автономных от датчиков, подключенных к DCS.
Рисунок 2.1 - Архитектура системы
управления
Для повышения надежности работы
системы управления предусмотрены меры по горячему резервированию ее основных
компонентов. Оба компьютера могут использоваться как для управления процессом
оператором, так и для ведения архива. В случае отказа одного из PC всегда есть возможность
воспользоваться вторым для решения необходимых задач. Для технологического персонала
предусмотрена возможность однотипного выполнения всех информационных и
управляющих функций с любого PC. Полностью дублирована скоростная шина данных DCS. Дублированы база
данных на жестком диске с использованием двух однотипных электронных блоков в станциях
оператора, а также источники питания и модули процессора во всех контроллерах
станций управления. Серьезное внимание в проекте уделено вопросам
бесперебойного энергоснабжения системы управления, надежного заземления, защиты
от статического электричества и вторичных проявлений грозовой деятельности.
Питание системы предусмотрено от блока бесперебойного электропитания (UPS) с аккумуляторной
поддержкой питания в течение 30 мин. при полном отключении всех внешних
источников питания [8].
Для совместной работы с контроллером
используется CASE - средство Siemens STEP 7 и SCADA - система WinCC той же фирмы.
STEP 7 имеет удобный интерфейс и богатые возможности по
програм-мированию контроллера. Для создания программы пользователя STEP 7 предлагает редактор
программ, содержащий следующие стандартные языки программирования IEC 1131-3: Statement List (STL), Ladder Diagram (LAD), Function Block Diagram (FBD). Содержит в себе все
пользовательские программы и все данные в блоках. Возможность вызова внутри
одного блока других блоков, как если бы они были подпрограммами, делает
возможным структурирование программы пользователя. Это значительно увеличивает
организационную ясность, понимание и легкость сопровождения программ ПЛК.
Открытая система визуализации фирмы Siemens WinCC позволяет легко и
просто интегрировать компоненты визуализации и обслуживания в создаваемые или
уже существующие системы технологического управления, избежав при этом
непомерных затрат на проектирование и написание программного обеспечения.
Для создания системы управления
используется SCADA - система WinCC 6.0 фирмы Siemens. В системе управления реализован ряд функций присущий большинству
подобных систем.
На главной мнемосхеме (рисунок 2.2)
отображаются все технологические объекты насосной нефтеперекачивающей стации.
Для более детального обзора каждого из объектов предусмотрен переход на экран
этого объекта нажатием на него на общей мнемосхеме.
При нажатии на позицию прибора на
экране появляется тренд соответствующего параметра. Размер и положение окна
тренда на экране могут быть изменены. При необходимости окно тренда может быть
закрыто. С помощью функциональных кнопок тренда можно просмотреть историю
выбранного параметра.
Изменения уставок регулируемых
параметров осуществляется в окне управления.
Рисунок 2.2 - Главный экран
мнемосхемы
Рисунок 2.3 - Экран схемы
магистрального агрегата №1
2.3 Функциональная схема
автоматизации основного технологического оборудования магистральной насосной
Функциональная схема автоматизации
магистрального насосного агрегата приведена на рисунке 2.4.
Защита МНА по параметрам
перекачиваемой жидкости обеспечивается датчиком избыточного давления и
техническими манометрами (позиция 1, 2-1, 2), контролирующими давление во
всасывающем и нагнетательном трубопроводах.
Давление во всасывающем трубопроводе
ниже минимально допустимого характеризует кавитационный режим работы насоса.
Защита по минимальному давлению всасывания осуществляется с выдержкой времени в
течении 15 секунд, благодаря чему исключается реакция защиты на кратковременное
снижение давления при включении насосов и прохождении по трубопроводу небольших
воздушных пробок. Манометр на всасывающем трубопроводе дает сигнал в схему
управления агрегатом, прерывая процесс запуска в случае отсутствия требуемого
давления после открытия задвижки на всасывающем трубопроводе. Датчик
избыточного давления на нагнетательном трубопроводе обеспечивает автоматическую
остановку агрегата, если давление на нагнетательном трубопроводе превышает
максимально допустимое по условиям механической прочности оборудования,
арматуры и трубопровода.
Система также контролирует давление
масла маслосистемы к подшипникам насоса и ЭД, контроль осуществляется
манометрами электроконтактными взрывозащищенными (позиция 16, 17).
Контроль за утечками из торцевых
уплотнений насосов, осуществляемый сигнализатором уровня утечек с поплавковой
камерой (позиция 10), необходим в связи с тем, что превышение допустимого
уровня утечек служит сигналом разрушения торцевых уплотнений.
Температурный контроль
осуществляется за всеми подшипниками насоса (позиция 3, 4) и электродвигателя
(позиция 6, 7), корпуса насоса (позиция 5), обмоток статора ЭД (позиция 8),
воздуха на выходе ЭД (позиция 9). Для контроля температуры применяются
термопреобразователи сопротивления. Температура подшипников МНА, а также
корпуса насоса требует постоянного контроля, т.к. в процессе непрерывной
перекачки нефти возможны нарушения в работе технологического оборудования
(отказ маслонасосов), из-за чего может произойти расплавление подшипников, как
следствие повысится вибрация, нарушится торцевое уплотнение. Это может привести
к выкиду нефти и возгоранию.
Контроль вибрации насоса и
электродвигателя позволяет установить нарушения в работе агрегата, вызываемые
некачественной сборкой, появлением дисбаланса, износом подшипников и др.
Контроль вибрации осуществляется на передних и задних подшипниках прибором
контроля вибрации АРГУС-М.
В таблице 2.1 представлен перечень
средств автоматизации МНА.
Таблица 2.1 - Перечень приборов
насосной НПС «Черкассы-2»
|
Позиционное обозначение
|
Наименование
|
Количество
|
|
1, 2-2
|
Манометр технический с радиальным штуцером МП4 - У
|
2
|
|
2-1
|
Преобразователь избыточного давления EJA430
|
1
|
|
3, 4, 5, 6, 7, 8
|
Термопреобразователь сопротивления платиновый ТСП 9204
|
6
|
|
9, 10
|
Термопреобразователь сопротивления медный ТСМ 9501
|
2
|
|
11
|
Сигнализатор уровня утечек с поплавковой камерой ДС - СУ1 - 01
|
1
|
|
12-1, 13-1, 14 - 1, 15-1, 16-1
|
Датчик вибрации НИЦ - 6
|
5
|
|
12-2, 13-2, 14-2, 15-2, 16-2
|
Блок согласующих усилителей MV
- 3M
|
5
|
|
16, 17
|
Манометр электроконтактный взрывозащищенный ДМ2005Cr1Ex
|
2
|
|
|
|
|
|
2.4 Выбор и обоснование
датчиков, преобразователей, контроллеров
На данном объекте автоматизации
используются средства контроля и регулирования фирмы Siemens. Приборы этой фирмы
удовлетворяют всем современным требованиям точности, надежности, удобства
эксплуатации и т.д.
Для измерения вибрации используется
система стационарного контроля «Аргус-М», существующая на станции.
Для определения дифференциального
давления используется датчик дифференциального давления и расхода Siemens Sitrans DS III, имеющий
унифицированный выходной сигнал 4…20 мА, основан на изменении электрического сопротивления
под воздействием давления среды.
Управление процессом происходит с
применением контроллеров Siemens S7-400H. Резервированные системы автоматизации SIMATIC S7-400H
предназначены для построения систем автоматического управления с повышенными требованиями
к надежности их функционирования, исключение простоев производства, связанных с
потерями материальных и денежных средств. SIMATIC S7-400H состоит из двух
идентичных подсистем, работающих по принципу ведущий-ведомый. Обе подсистемы
выполняют одну и ту же программу. Управление процессом осуществляет ведущая
подсистема. В случае отказа функции управления безударно переводятся на ведомую
подсистему.
3. Влияние наведенной
вибрации на состояние магистральных насосных агрегатов
В состав магистральных насосных
станций (МНС) входит несколько магистральных насосных агрегатов (МНА),
размещаемых в одном помещении и устанавливаемых каждый на своем отдельном
фундаменте. Фундамент МНА представляет собой сплошной железобетонный массив,
опирающийся на грунт. При проектировании, массогабаритные характеристики
фундаментов МНА подбираются таким образом, чтобы максимально снизить вибрацию,
передаваемую работающим агрегатом на грунт, и далее на соседние строительные
конструкции и агрегаты.
Однако, поскольку все МНА связаны
между собой и с коллектором приемовыкидными трубопроводами, то по этим
неопорным связям вибрация, возникающая при работе каждого МНА, передается на
другие агрегаты, как работающие, так и находящиеся в резерве или выведенные в
ремонт. Вибрация неработающего агрегата, вызванная работающими соседними
агрегатами, может быть классифицирована, как наведенная.
Основные узлы, определяющие вибрацию
агрегата:
- подшипники качения;
- роторы электродвигателя
насоса;
- подшипник скольжения
насоса;
- узел соединения валов
двигателя и насоса.
Среднеквадратическое значение (СКЗ)
наведенного виброускорения полевых подшипниковых узлов электродвигателей
неработающих МНА НПС «Черкассы-2», измеренные при работе других агрегатов в
различных комбинациях, приведены в таблице 3.1.
По величине виброускорения
подшипникового узла и известной массе агрегата можно рассчитать ориентировочную
величину силы F взаимодействия вкладыша подшипника скольжения с шейкой вала
ротора:
F = d∙M∙A, (3.1)
где d - коэффициент присоединенной массы;
M - масса агрегата, кг;
A - СКЗ виброускорения.
Таблица 3.1 - СКЗ наведенного
виброускорения полевых подшипниковых узлов электродвигателей МНА НПС
«Черкассы-2»
|
Агрегат работающий
|
Источники вибрации
|
Виброускорение, м/с2
|
Сила взаимодействия, Н
|
|
МНА №1
|
МНА №2 МНА №3
|
0,24
|
960
|
|
МНА №2
|
МНА №3
|
0,11
|
440
|
|
МНА №2
|
МНА №4
|
0,22
|
880
|
|
МНА №2
|
МНА №1 МНА №3
|
0,31
|
1240
|
|
МНА №3
|
МНА №1 МНА №4
|
0,30
|
1200
|
Коэффициент присоединенной массы d
определяет, какая часть массы агрегата взаимодействует через вкладыш
рассматриваемого подшипника с шейкой вала роторной системы.
Поскольку роторная система агрегата
опирается на четыре подшипника, то значение d может быть принято равным 0,25.
Масса агрегата M составляет около 16000 кг и складывается из масс
электродвигателя, насоса, заполненного нефтью и рамы. Массу отводов
магистрального трубопровода, соединенных с насосом в расчетах не учитываем.
Значения величины силы взаимодействия, рассчитанные по формуле (3.1), приведены
в таблице 3.1. Как видно из таблицы, сила взаимодействия вкладыша подшипника
скольжения и шейки вала ротора электродвигателя может достигать 1200 Н и выше.
На рисунке 3.1 представлены
1/3-октавные спектры виброускорения наведенной вибрации подшипниковых узлов
насосов (т. 1) и электродвигателей (т. 4) МНА НПС «Черкассы-2».

Рисунок 3.1 - Наведенная вибрация
полевых подшипников МНА НПС «Черкассы-2», находящихся в резерве: а - МНА №2
(работают МНА №1 и МНА №3); б - МНА №3 (работают МНА №1 и МНА №4)
Измерения виброускорения
неработающего МНА №2 производились при работающих МНА №1 и МНА №3. Измерения
спектров виброускорения неработающего МНА №3 производились при работающих МНА
№1 и МНА №4.
Сравнение спектров наведенной
вибрации, представленных на рисунке 3.1, со спектрами вибрации МНА, работающих
под нагрузкой, показывает, что в спектрах наведенной вибрации неработающих
агрегатов наблюдается такие же характерные подъемы, как и в спектрах вибрации
агрегатов, работающих под нагрузкой.
Эти подъемы вибрации вызваны
резонансами механической колебательной системы: насосный агрегат - рама с
элементами крепления к фундаменту - от приемо-выкидных трубопроводов к
коллектору.
Следовательно, в результате
распространении вибрации от работающих агрегатов к неработающим в последних
возбуждаются механические резонансы, которые и формируют спектры наведенной
вибрации неработающих агрегатов.
Очевидно, что для неработающего МНА,
вибрация которого вызвана внешними динамическими силами, характерно сложное
пространственное расположение роторной системы, состоящей из роторов
электродвигателя и насоса, соединенных упругой муфтой, и вкладышей подшипников.
Одновременное касание шеек валов роторов с вкладышами всех подшипников в этом
случае происходит крайне редко. Поэтому, значение коэффициента d равное 0,25,
принятое при расчетах сил взаимодействия по формуле (3.1), является
минимальным.
Таким образом, неработающие МНА
(обычно это МНА, выведенные в резерв или ремонт) постоянно находятся под
действием наведенных вибрационных нагрузок, возбуждаемых работающими соседними
агрегатами. Под воздействием таких нагрузок, роторная система и подшипники
неработающего агрегата постоянно совершает колебательные движения, вызывая
локальные повреждения трущихся поверхностей - шеек вала и вкладышей опорных
подшипников скольжения (в условиях отсутствия вращения слой смазки между шейкой
вала и вкладышем минимален и может вообще отсутствовать), а также наружного и
внутреннего колец радиально упорного подшипника.
Каждый раз после остановки агрегата
место контакта трущихся поверхностей будет изменяться, и еще один локальный
дефект будет появляться в новом месте. Результатом появления таких локальных
дефектов, является повышение вибрации на частотах соответствующих характерным
частотам дефектов подшипников скольжения и качения агрегата, и, следовательно,
снижение надежности работы агрегата и сокращение его ресурса.
Эффективное снижение наведенной
вибрации может быть обеспечено оснащением МНА средствами вибрационной защиты,
входящими в состав системы ВКС: опорными амортизаторами, защищающими агрегат от
вибрации, передаваемой по фундаментным конструкциям, и гибкими вставками на
приемо-выкидных трубопроводах, уменьшающих вибрацию, распространяющуюся через
коллектор насосной и трубопроводам вспомогательных систем [4].
3.1 Анализ систем
виброконтроля МНА
Система виброконтроля насосных
агрегатов «АРГУС-М»
Система контроля вибрации
обеспечивает контроль значений виброскорости в диапазоне 0 - 12 мм/с. Каждый
канал системы обеспечивает оперативное задание двух контрольных значений
виброскорости, при достижении которых выдаются предупредительный и аварийный
сигналы и их индикация. Вторичный блок системы состоит из четырёх модулей типа
MV-6M - по числу подпорных насосных агрегатов. Информация о текущих значениях
вибрации передается по ModBus - интерфейсу. На передней панели вторичного блока
расположены цветные светодиоды по количеству каналов в модуле. При уровне
виброскорости, меньшем уровня предупредительной уставки, соответствующие
светодиоды горят предупредительной уставки, светодиоды горят оранжевым светом,
а после истечения времени задержки (при условии, что все это время
предупредительный сигнал был непрерывным), срабатывает реле предупре-дительной
сигнализации. При этом включается прерывистая звуковая сигнализация, а
светодиоды горят зеленым светом. При превышении предупредительной уставки,
светодиоды горят оранжевым светом, а после истечения времени задержки (при
условии, что все это время предупредительный сигнал был непрерывным),
срабатывает реле предупредительной сигнализации. При этом включается
прерывистая звуковая сигнализация, а светодиоды горят оранжевым мигающим
светом. Для отключения звуковой сигнализации необходимо нажать кнопку
«Квитирование», после чего светодиод светит непрерывно.
Если уровень сигнала виброскорости
стал меньше уровня уставки до нажатия кнопки «Квитирование», звуковой и
предупредительный сигналы снимаются, а светодиод светит зелёным мигающим
светом. После нажатия кнопки «Квитирование» мигание светодиода прекращается.
При превышении уровня аварийной
уставки, соответствующий светодиод светится красным светом, включается
прерывистая звуковая сигнализация и по прошествии времени задержки (если всё
это время уровень сигнала превышал уровень уставки непрерывно), срабатывает
реле аварийной сигнализации и звуковая сигнализация становится непрерывной, а
светодиод горит прерывистым красным светом. Для отключения звуковой
сигнализации необходимо нажать кнопку «Квитирование», при этом звуковая
сигнализация отключается, а светодиод продолжает гореть прерывистым красным
светом.
Прибор «АРГУС-М» позволяет
контролировать такие параметры роторного оборудования, как виброскорость,
виброперемещение, осевой сдвиг ротора и температуру подшипниковых узлов
промышленных агрегатов. При выходе параметра за установленные пределы
осуществляется оповещение оператора (звуковая и световая сигнализация) и, при
необходимости, блокировка оборудования.
Шкаф системы контроля вибрации МНА
изображен на рисунке 3.2.
Для контроля уровня вибрации
подшипников используется прибор контроля «АРГУС-М», предназначенный для
контроля технического состояния промышленного оборудования по различным
параметрам, работающего во взрывоопасной среде. Диапазон измеряемых параметров
и приведенная погрешность представлены в таблице 3.2.
Прибор в зависимости от исполнения
состоит из одного, трех, четырех или пяти многоканальных модулей контроля
температуры (МТ-8М), виброскорости (МV-6M), смещения (МS-6) или модуля
аналоговых входов (МА-6), а так же модуля блока питания (MPw), смонтированных
на каркасе. В каждом контролируемом канале возможно задание двух контрольных
уставок. При выходе параметра за пределы уставки прибор выдает звуковые и
световые сигналы для оператора и сигналы блокировки в виде полной группы
«сухих» контактов реле (220 В; 0,2 А). Установленные значения уставок и текущее
значение контролируемого параметра выводятся на цифровой дисплей.
Рисунок 3.2 - Шкаф системы контроля
вибрации МНА «АРГУС-М»
Таблица 3.2 - Диапазон измеряемых
параметров и приведенная погрешность
|
Измеряемый параметр
|
Диапазон
|
Погрешность, %
|
0-200
|
1
|
|
Температура [датчик ТП (XK)],°С
|
0-500
|
1,5
|
|
Виброскорость, мм/с
|
0-12
|
5
|
|
Осевой сдвиг ротора, мм
|
0,5-2,5
|
0,5
|
Прибор осуществляет выдачу:
цифрового значения контролируемого
параметра через последовательный интерфейс RS-232, RS-485 по протоколу MODBUS
(допустимые скорости обмена: 4800, 9600, 19200, 38400 бод);
стандартных (±5 В, 0-10 В, 0-5 мА,
0-20 мА, 4-20 мА) сигналов значения контролируемого параметра по каждому каналу
контроля;
нормализованных сигналов мгновенного
значения виброускорения от 0 до 50 м/с2 (в диапазоне частот 3-5000
Гц) для спектральной вибродиагностики. Предусмотрена внутренняя
энергонезависимая фиксация пришедших аварийных сигналов.
Принцип действия прибора основан на
измерении электрических параметров датчиков, преобразовании их в цифровое
значение и сравнении его с двумя задаваемыми опорными значениями.
Функциональная схема модуля контроля
виброскорости представлена на рисунке 3.3.
Канал контроля виброскорости
состоит из датчика вибрации НИЦ - 6, устройства связи с объектом УСО МV - 6 и модуля
контроля MV - 6M.
В качестве датчиков вибрации
используются пьезоэлектрические однокоординатные вибродатчики НИЦ - 6 в
комплекте с УСО MV - 1, чувстви-тельный элемент которого испытывает сдвиговую
деформацию при механических нагружениях.
Принцип действия датчика вибрации
основан на использовании прямого пьезоэффекта с применением в качестве рабочего
вещества пьезокерамики, позволяющей на 30% повысить точностные характеристики
датчика, в частности температурную стабильность преобразования.
УСО МV - 1 - одноканальный
предварительный виброусилитель, который соединяется с модулем МV - 6M многожильным экранированным кабелем
длиной до 350 метров.
Модуль контроля вибрации MV -
6M
предназначен для усиления, фильтра-ции и преобразования сигнала, выдаваемого УСО,
в мгновенное значение виброускорения и среднеквадратичное значение (СКЗ)
виброскорости, оцифро-вывания этого значения и сравнения в цифровом виде с
контрольными уставками предупредительной и аварийной сигнализации. Он
обеспечивает индикацию принимаемых значений и состояния каждого канала, а также
выдает управляющие сигналы на цепи внешней автоматики и сигналы на включение
предупредительной или аварийной звуковой сигнализации.
Рисунок 3.3 -
Функциональная схема модуля контроля виброскорости
В состав каждого из
шести каналов аналоговой части модуля входят:
входной буферный
усилитель на элементе;
узел формирования СКЗ
виброскорости, состоящий из интегратора, полосового фильтра 10 Гц - 1 Гц и
детектора среднеквадратического значения, с выхода которого сигнал постоянного
тока после усиления поступает через аналоговый коммутатор на аналого-цифровой
преобразователь (АЦП) процессора;
узел формирования
сигнала виброускорения.
Любые каналы модуля
вибрации MV - 6M могут использоваться в
режиме измерения осевого смещения совместно с датчиками НИЦ-С1 и УСО МS - 1.1.
Для реализации этого режима сигнал с буферного усилителя через аналоговый
коммутатор поступает на АЦП процессора.
Каналы осевого смещения
включают в себя токовихревые датчики и одноканальные адаптеры УСО MS - 1.1,
подключаемые к модулям контроля смещения MS
- 6 (или вибрации MV - 6М).
Принцип работы
токовихревого датчика основан на изменении потерь колебательного контура при
изменении расстояния от катушки до металлической поверхности.
Токовихревой датчик
представляет собой малогабаритную медную катушку в защитном неметаллическом
кожухе. Для снижения чувствительности к влиянию на датчик и соединительные
провода наводок и помех с нерабочей стороны датчик помещен в металлический
экран. Для подсоединения к УСО MS -1.1 использован коаксиальный кабель.
Индуктивность катушки датчика и емкость кабеля образуют колебательный контур с
резонансной частотой около 1 МГц.
УСО MS - 1.1
представляет собой печатную плату, на которой распло-жены канал измерения
добротности датчика.
Функционально канал
состоит из генератора управляющих импульсов, коммутатора, управляемого
источника постоянного тока, резонансного контура, буферного усилителя высокой
частоты, высокочастотного выпрямителя, интегратора, ячейки памяти аналогового
сигнала, выходного каскада.
Источник тока по
сигналам, поступающим с генератора, осуществляет электрические возбуждение
контура датчика. В результате в датчике возникают затухающие колебания. Время
переходного процесса (затухания) зависит от добротности контура.
Продетектированный (выпрямленный) сигнал поступает на интегратор, емкость
которого перед каждым измерением разряжается коммутатором. На период измерения
выходной сигнал интегратора запоминается на ёмкости.
Модуль блока
питания содержит четыре печатные платы, имеющие функциональные различные
назначения.
Устройство
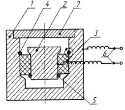
пьезоэлектрического датчика НИЦ - 6 представлено на рисунке 3.4.
1 - корпус; 2 - инерционное тело; 3
- пьезоэлемент; 4, 5 - упругие кольца;
- токовыводы; 7 - крышка
Рисунок 3.4 - Датчик
пьезоэлектрический НИЦ-6
Пьезоэлектрический датчик содержит
корпус 1, инерционное тело 2 и выполненный в виде втулки пъезоэлемент 3,
закрепленный между корпусом 1 и инерционным телом 2. Пьезоэлемент 3 в
изображенном варианте констру-ктивной схемы двум кромками опирается на опору,
выполненную в виде конической поверхности на корпусе 1 и инерционном теле 2.
Аналогичные кромки соответствующих противоположных торцов пьезоэлемента 3
опираются на дополнительно введенные разжимные упругие кольца 4 и 5,
установленные в кольцевые канавки на корпусе 1 и инерционном теле 2 и
защемленные между кромкой пьезоэлемента 3 и противоположной ей поверхностью
канавки. Пьезоэлемент 3 поляризован вдоль оси. Электрический сигнал,
генерируемый пьезоэлектрическим датчиком, снимается с помощью токовыводов 6.
Внутренний объем закрыт крышкой 7. Принцип действия датчика вибрации основан на
использовании прямого пьезоэффекта с применением в качестве рабочего вещества
пьезокерамики, позволяющей на 30% повысить точностные характеристики датчика, в
частности, температурную стабильность преобразования. Под воздействием
знакопеременного виброударного ускорения пьезоэлемент 3 испытывает деформацию
сдвига, и на его цилиндрических поверхностях образуется электрический заряд,
величина которого пропорциональна величине воздействующего ускорения.
Регистрация генерируемого заряда осуществляется токовыводами 6. Разжимные
упругие кольца 4 и 5 и средства для опоры в виде конических поверхностей на
корпусе 1 и инерционном теле 2 препятствуют перемещению пьезоэлемента 3 и
инерционного тела 2 при воздействии знакопеременного виброударного ускорения,
тем самым увеличивается конструкторский запас пьезоэлектрического датчика по
вибро-ударной прочности.
Техническим результатом является
повышение виброударной прочности (расширением рабочего амплитудного диапазона).
Датчик взрывозащищенный, вид
взрывозащиты - взрывонепроницаемая оболочка, маркировка по взрывозащите
1ExdllAT2.
Применение
предлагаемого комплекса позволяет: увеличить ресурс работы, сократить сроки
тех. обслуживания, обеспечить вывод агрегатов и оборудования в ремонт по
фактическому состоянию, снизить проф. заболевания, снизить количество
инцидентов и аварий, сократить количество обслуживающего персонала и ремонтных
бригад, повысить экологическую надёжность работы, улучшить культуру
производства [3, 10].
Система виброконтроля «СВКА».
Аппаратура виброконтроля «СВКА»
предназначена для преобразования механических колебаний в электрический сигнал,
для измерения среднеквадратических значений виброскорости и мгновенных значений
ускорения, а также непрерывного преобразования сигнала в унифицированный сигнал
постоянного напряжения и тока.
Устройство рассчитано на работу в
следующих условиях:
синусоидальной вибрации в трех
взаимно перпендикулярных направ - лениях с амплитудой виброускорения 100 м/с2
в диапазоне частот от 10 до 2000 Гц и амплитудой перемещения не более 0,35 мм;
ударов с амплитудой виброускорения
до 2000 м/с длительностью
мкс;
потребляемая мощность не более 30
Вт;
диапазон измерения СКЗ виброскорости
от 1 до 15 мм/с;
диапазон рабочих частот от 10 до
1000 Гц при неравномерности ампли - тудно - частотной характеристики (АЧХ) не
более ± 1дБ;
крутизна спада АЧХ измерительного
тракта за полосой пропускания, от - считываемая от уровня 0,9, не менее 20
дБ/октаву.
Устройство выдает выходной сигнал:
по постоянному напряжению от 0,1 В
до 5 В, про детектированному среднеквадратичным детектором в полосе рабочих
частот;
по постоянному току в шкале 4… 20
мА;
по переменному напряжению от 0,1 В
до (5 ± 1) В, пропорциональный мгновенным значениям виброскорости в полосе
рабочих частот.
Устройство состоит из вибропреобразователей,
распределительных коробок и электронного блока. В электронном блоке установлены
двенадцать измерительных блоков с взрывозащитой, один блок контроля индикации и
один блок питания. В распределительной коробке установлен согласующий
усилитель. Ячейка искрозащиты для каждого канала установлена в измерительном
блоке, т.е. электронный блок имеет входные искробезопасные цепи. Взрывозащита
обеспечивает работу вибропреобразователей и их согласующий зарядовый усилитель
(СЗУ) во взрывоопасной зоне.
Пьезоэлектрический
вибропреобразователь преобразует контролируемую вибрацию в электрический
сигнал.
Чувствительный элемент
вибропреобразователя состоит из монолитного биморфного пьезокерамического
элемента, выполненного из керамики типа ЦТС -83 Г.
Принцип действия
вибропреобразователя основан на использовании явления пьезоэффекта. При
воздействии вибрации пьезоэлемент деформируется под воздействием инерционной
силы, пропорциональной действующему ускорению. При этом на обкладках
пъезоэлемента или пьезомодуля появляется знакопеременный заряд,
пропорциональный в рабочей полосе частот действующему ускорению. Напряжение,
создаваемое этим зарядом, поступает на вход согласующего усилителя.
СЗУ необходим для согласования
выходного сопротивления вибропреобразователя с линией связи и вторичной
аппаратурой. СЗУ расположен в корпусе распределительной коробки. Электрический
сигнал с СЗУ поступает на вход электронного блока.
Измерительный блок
включает в себя следующие функциональные устройства:
- интегратор, который производит интегрирование
электрического сигнала и формирование амплитудно-частотной характеристики
канала измерения (виброускорение, информация о котором в виде электрического
сигнала имеется на выходе вибропреобразователя, есть производная по времени от
скорости, поэтому для получения информации о виброскорости необходимо
произвести интегрирование электрического сигнала виброускорения);
- фильтры верхних и
нижних частот (выполнены двухкаскадными и служат для выделения рабочей полосы
сигнала);
детектор
среднеквадратичный, он выделяет среднеквадратичное значение электрического
сигнала, пропорционального виброскорости;
- узел индикации,
служащий для индикации превышения уровня виброскорости свыше заданного для
данного контролируемого объекта;
установленные в
измерительной ячейке потенциометры R1 (авария) и R2 (предавария) для установки уровней срабатывания аварийного и
предаварийного сигнала.
интегратор;
фильтр высоких частот;
фильтр нижних частот;
детектор среднеквадратичный;
узел индикации.
Интегратор производит интегрирование
электрического сигнала и формирование амплитудно-частотной характеристики
канала измерения. Виброускорение, информация в виде электрического сигнала
имеется на выходе вибропреобразователя, есть производная по времени от
скорости, поэтому для получения информации о виброскорости необходимо
произвести интегрирование электрического сигнала виброускорения.
Фильтры верхних и нижних частот
выполнены двухкаскадными и служат для выделения рабочей полосы сигнала. Схемы
ФНЧ одновременно являются усилителями сигнала виброскорости.
Функциональная схема устройства
виброконтроля «СВКА» приведена на рисунке 3.5.
Узел индикации служит для индикации
превышения уровня виброскорости свыше заданного для данного контролируемого
объекта (аварийная и предупредительная сигнализация). Узел индикации в ячейке
измерительной установлены потенциометры R1 (авария) и R2 (предупреждение) для установки
уровней срабатывания аварийного и предупредительного сигнала.
Токовый преобразователь служит для
преобразования выходного сигнала по постоянному напряжению в сигнал по
постоянному току и выполнен на микросхеме АD694.
1…12-вибропреобразователь; 13…24 -
коробка распределительная; 25 - блок электронный в составе: 26…37 - блок
искрозащиты; 38…49 - блок измерительный; 50 - токовый преобразователь; 51 -
блок питания; 52, 53 - плата интерфейсная; 54 - блок контроля и индикации
Рисунок 3.5 - Функциональная схема
модуля виброконтроля «СВКА»
Блок контроля и индикации состоит из
платы контроля, платы реле и платы вольтметра. Плата контроля включает
следующие функциональные узлы:
задержки питания исполнительного
узла;
исполнительный;
задержки включения аварийной
сигнализации и индикации уровней «АВАР» и «ПРЕД»;
формирования напряжения для проверки
исправности сигнализации
«АВАР»;
формирования управляющего сигнала
проверки «ПРОВ»;
выбора канала.
Плата вольтметра включает узел
индикации уровня виброскорости. Блок задержки питания исполнительного узла
предназначен для задержки подачи напряжения питания на исполнительный блок для
предотвращения срабатывания реле R1, R2 во время переходных процессов при включении устройства.
Исполнительный блок предназначен для
срабатывания сигнализации «АВАР» и «ПРЕД». При этом происходит замыкание
контактов реле, выведенных на разъем «ЗАЩИТА» блока электронного.
Узел вольтметра предназначен для
регистрации уровня виброскорости и управления цифровыми индикаторами узла
индикации.
Узел выбора канала предназначен для
установки автоматического или ручного режима выбора измерительного канала и
состоит из генератора импульсов.
Индикаторы используются как шкала
регистрации уровня СКЗ виброскорости для одного из каналов («ВИБРОСКОРОСТЬ»),
номер которого показан на четвертом индикаторе («КАНАЛ»).
Узел формирования управляющих
сигналов проверки предназначен для формирования контрольного сигнала для
проверки электронного тракта аппаратуры и выполнен как генератор импульсов
прямоугольной формы.
Блок питания состоит из платы питания
и индикаторов управления передней панели блока питания.
Блок интерфейсный выполнен на основе
двух интерфейсных плат, соединенных одной лицевой панелью, на которой
установлены разъемы для подключения кабелей.
Плата интерфейсная предназначена для
преобразования аналоговых сигналов датчиков в цифровой код и их передачи на
интеллектуальные устройства верхнего уровня по стандартному интерфейсу по
протоколу Modbus RTU.
Диапазон входных аналоговых сигналов
составляет от 0 до 5 В. Электрические, входные сигналы платы соответствуют
требованиям стандарта RS - 485.
Основу платы интерфейсной составляет
микроконтроллер AduC812. Аналоговые сигналы в виде напряжения 0…5 В. поступают на
входы коммутатора МUХ. Под управлением микроконтроллера происходит их поочередное аналогово-цифровое
преобразование с помощью 12 - разрядного АЦП и запоминание результатов в ОЗУ
емкостью 32 К.
Для связи с внешней средой на плате
интерфейсной предусмотрен интерфейс RS - 485 (вилка DB9М) предназначен для передачи преобразованных в цифровой код
значений аналоговых сигналов, поступающих на вход платы через разъемы «входы».
На плате интерфейсной всего 8 измерительных каналов, поэтому при подключении 8
измерительных каналов (и меньшего количества) используется одна плата в блоке
интерфейсном. При использовании большего числа каналов в блоке интерфейсном
устанавливаются две платы. Питание осуществляется напряжением постоянного тока
+5 В., +15 В. [5].
Система контроля вибрации «КАСКАД».
Данный прибор предназначен для
непрерывного вибрационного контроля, защиты и вибродиагностики промышленного
оборудования [9].
Прибор может входить в состав
автоматизированных систем вибродиагностики промышленных объектов.
Прибор обеспечивает выполнение
следующих основных функций:
− индикация на передней панели
состояния превышения предуредительного и аварийного уровней вибрации;
− регулирование уровня
срабатывания предупредительной и аварийной сигнализации;
− запоминание факта
срабатывания аварийной сигнализации с пос-ледующим ручным сбросом;
− формирование сигнала для
управления внешними устройствами защиты при превышении установленных
предупредительного и аварийного уровня виброскорости;
− формирование выходных
сигналов напряжения и тока, пропорциональных уровню виброскорости
контролируемого объекта;
− обеспечение питанием
согласующего усилителя вибропреобразователя по искробезопасной цепи;
− индицирование неисправностей
(обрыв или короткое замыкание) линий связи с вибропреобразователем;
− измерение
среднеквадратического значения (СКЗ) виброскорости поли-гармонической вибрации
контролируемого объекта с непрерывной индикацией его значения на встроенном
цифровом и линейном индикаторах;
− осуществление автономного
контроля работоспособности блока.
Технические характеристики
вибропреобразователя. Режим работы прибора - непрерывный. Время задержки
срабатывания предупредительной и аварийной сигнализации устанавливается равным
2 ± 0,5 секунд. Уровень собственных шумов прибора не превышает 50 мкА по выходу
0÷5 мА [9].
В таблице 3.3 представлены
технические данные вибропреобразователя.
Таблица 3.3 - Технические данные и
характеристики вибропреобразователя
|
Наименование параметра
|
Значение физической величины
|
|
Диапазон рабочих частот, Гц
|
10÷1000
|
|
Диапазон измерения СКЗ виброскорости, мм⋅с-1
|
0,1-30
|
|
Номинальный коэффициент преобразования на базовой частоте 45 Гц,
мА /ммс-1
|
0,05
|
|
Отклонение коэффициента преобразования от номинального значения
не более, мА/ммс-1
|
±0,0025
|
|
Нелинейность амплитудной характеристики в диапазоне СКЗ
виброскорости%
|
±6
|
|
Диапазон рабочих температур,°С: - для вибропреобразователя; -
для согласующего усилителя
|
40 ÷ 120 -30÷60
|
|
Отклонение коэффициента преобразования, вызванное изменением
температуры окружающего воздуха, %/°С
|
0,05
|
|
Относительный коэффициент поперечного преобразования
вибропреобразователя не более, %
|
5
|
|
Установочный резонанс не менее, кГц
|
24
|
|
Напряжение питания, В
|
Дополнительная погрешность
измерения, вызванная изменение напряжения питания в пределах рабочих условий
применения не более ±1%.
Дополнительная погрешность
измерения, вызванная влиянием внешнего электромагнитного поля напряженностью до
80 А/м на вторичные блоки усилители, или напряженностью до 400 А/м на
пьезоэлектрические преобразователи, не более половины от основной погрешности.
Устройство и принцип работы прибора.
Прибор Каскад-система представляет собой комплект из вибропреобразователя и
вторичного блока, предназначенного для измерения и контроля
среднеквадратического значения (СКЗ) виброскорости агрегатов и оборудования.
Прибор позволяет автоматически
оповещать о превышении предупредительного и аварийного уровней виброскорости и
формировать сигналы типа сухой контакт в виде замыкания контактов внутренних
реле по каждому каналу. Эти сигналы могут быть использованы в системах
автоматики для отключения агрегата или для включения дополнительной звуковой
или световой сигнализации.
Пьезоэлектрический преобразователь
(далее датчик) вибропреобразователя устанавливается на контролируемом агрегате.
Измерение вибрации производится в осевом направлении датчика.
Датчик преобразует механические
колебания в электрический сигнал. Сигнал поступает на согласующий усилитель
встроенный в ВК-312. На рисунке 3.6 представлена функциональная схема системы
контроля вибрации «КАСКАД».
В согласующем усилителе сигнал
поступает на входной усилитель заряда с фильтрами, а затем на интегратор. С
выхода интегратора сигнал подается на преобразователь напряжение-ток. Параметры
этого преобразователя позволяют устанавливать вторичный блок на расстоянии до
1000 м от вибропреобразователя. Вибропреобразователь соединяется с вторичным
блоком двухпроводной линией.
Преобразователь «напряжение-ток»
модулирует ток в линии связи между вибропреобразователем и вторичным блоком
пропорционально мгновенному значению виброскорости. Одновременно по этой линии,
напряжение питания поступает от вторичного блока к вибропреобразователю. Такая
линия связи отличается высокой помехоустойчивостью и отсутствием перекрестного
влияния каналов друг на друга при прокладке нескольких пар связи в одной
оболочке.
Входным сигналом вторичного блока
является переменный ток, пропорциональный мгновенному значению виброскорости,
который по двухпроводной линии через барьер искрозащиты подается на
преобразователь «ток-напряжение».
Переменная составляющая напряжения с
выхода преобразователя через нормирующий усилитель поступает на детектор
средних квадратических значений (СКЗ). Узел уставок следит за СКЗ виброскорости
и обеспечивает замыкание нормально разомкнутых контактов предупредительного и
аварий-ного реле при превышении установленных уставок. Нормирующий усилитель
обеспечивает на выходе переменное напряжение в диапазоне 0÷3 В, пропорциональное
измеряемому СКЗ виброскорости. Выходной преобразователь напряжение-ток
обеспечивает на выходе постоянный ток, пропорциональный СКЗ виброскорости в
диапазонах 4÷20 мА у вторичного блока ВК - 321. Блок питания обеспечивает
стабилизированным питанием вторичный блок и вибропреобразователь[9].
Для сравнения систем виброконтроля
представлена таблица 3.4.
Таблица 3.4 - Сравнительная
характеристика систем виброконтроля СВКА, АРГУС - М и КАСКАД
|
Характеристика
|
СВКА
|
АРГУС-М
|
КАСКАД
|
|
Измеряемый параметр
|
Виброскорость
|
Виброскорость, осевой сдвиг ротора, температура
|
Виброскорость
|
|
Диапазон измерения виброскорости, мм/с
|
1-15
|
0-12
|
0,1-30
|
|
Диапазон рабочих частот, Гц
|
1-1000
|
1-1000
|
10-1000
|
|
Значение выходного сигнала: - по переменному напряжению, В - по
постоянному току, мА
|
0,1-5 4-20
|
±5 4-20
|
0-3 4-20
|
|
Интерфейс
|
RS-485
|
RS-232 RS-485
|
_____
|
|
Погрешность, %
|
5
|
5
|
5
|
Из таблицы видно, что наиболее
эффективным является система виброконтроля АРГУС-М. Преимуществом системы
АРГУС-М является возможность измерения комплекса параметров: виброскорость,
осевой сдвиг, температура. Следовательно, в системе автоматизации НПС
«Черкассы-2» необходимо использовать систему виброконтроля «АРГУС-М».
3.2 Алгоритм управления
насосного агрегата
Контролируемые параметры вибрации
могут участвовать в алгоритмах управления насосным агрегатом. Приведем алгоритм
управления насосного агрегата, включающий в себя алгоритм запуска насосного
агрегата на закрытую задвижку и технологическую защиту по вибрации в процессе
его работы.
Рисунок 3.6 - Схема технологического
объекта управления
При подаче сигнала «Пуск» подается
команда на открытие электрозадвижки HS1, установленной на всасывании насоса.
Если время открытия электрозадвижки превышает 30 секунд, подается сигнал
«авария».
После нормального открытия
электрозадвижки HS1 перед запуском электродвигателя проверяют: 1) давление воды
в системе охлаждения насоса;
) электрозадвижка на линии
нагнетания HS2 закрыта.
Если все параметры в норме, то
электродвигатель насоса запускается. После пуска насоса, контролируется
давление по максимальному значению. При достижении нормального давления
задвижка HS2 открывается.
При нажатии кнопки «СТОП» происходит
автоматическая остановка насосного агрегата и закрытие соответствующих
задвижек.
В процессе работы МНА возможно
возникновение вибрации насоса превышающая выше нормы. В это случае выключается
электродвигатель, подается сигнал авария и закрываются соответствующие
задвижки.
В случае возникновения аварийной
ситуации по любой причине срабатывает аварийная сигнализация, закрываются
открытые задвижки, и выключается электродвигатель насосного агрегата.
Согласно приведенной постановки
задачи построен формализованный граф переходов алгоритма управления, показанный
на рисунке 3.8.
Перечень сигналов графа переходов:
Xpusk - подача сигнала «ПУСК»;
Z30 - сигнал окончания
выдержки времени 30 секунд;
XP5 - отсутствует требуемое
давление на PS5 (манометр на входе насоса);
XPM - в норме давление масла в баке (PS8);
XPB - в норме давление воды в системе охлаждения (PS12);
XHS1O / XHS1Z - задвижка HS1 полностью открыта / закрыта;
XHS2O / XHS2Z - задвижка HS2 полностью открыта / закрыта;
XP6 - давление на PS6 (манометр на выходе
насоса) в норме;
Xvibr - превышение вибрации
выше нормы;
Xstop - нажата кнопка «СТОП»;
Ysb - нажата кнопка сброса аварии.
UHS1O / UHS1Z - управление открытием / закрытием задвижки HS1;
UHS2O / UHS2Z - управление открытием / закрытием задвижки HS2;
T30 - управление включением
таймера;
IC - управление аварийной сигнализацией;
UED - yправление ЭД насоса
Рисунок 3.7 - Граф переходов
алгоритма управления
По графу переходов выполнено
проектирование управляющей программы, обеспечивающей функционирование МНА в
соответствии с алгоритмом. Структура программы показана на рисунке 3.8.

БЛУ - блок логических условий; БП -
блок памяти; БВ - блок выходов
Рисунок 3.8 - Структурная схема УЛУ
с позиционной структурой
Структурные формулы отдельных
блоков:
cинтез блока памяти (БП):
= 9 - количество
элементов памяти (RS-триггеров).
синтез блока логических
условий (БЛУ):
Триггер T0: Триггер
T1:
Триггер T2: Триггер T3:
Триггер T4: Триггер T5:
Триггер T6: Триггер
T7:
Триггер T8: Триггер T9:
Триггер T10:
синтез блока выходов
(БВ):
а) на базе элементов
ИЛИ:
При написании программы
использовался язык FBD стандарта IEC 61131-3. Реализация программы на этом языке возможна в любом
контроллере, поддерживающим этот стандарт, в том числе в контроллерах SIEMENS.
Программа на языке FBD показана на рисунке 3.9.
Рисунок 3.9 - Программа управлением
МНА
Продолжение рисунка 3.9
Заключение
В результате проведенной работы была
описана АСУТП насосной НПС «Черкассы-2» на средствах SIMATIC PCS7 фирмы Siemens. Так же описана SCADA-система в WinCC 6.0 фирмы Siemens. Было рассмотрено
влияние наведенной вибрации на состояние магистральных насосных агрегатов.
Проведен анализ технических характеристик систем виброконтроля.
Установлено, что оперативную оценку
фактического технического состояния оборудования необходимо реализовать в
условиях автоматизации нефтеперекачивающих станций. Показано, что по тенденции
изменения среднего квадратического значения виброскорости от времени наработки
и с учетом изменения подачи можно определить время вывода оборудования в
ремонт.
Исследована и разработана структура
автоматизированного контроля и диагностирования технического состояния насосных
агрегатов нефтеперекачивающих станций на основе анализа эксплуатационных и вибрационных
параметров.
В работе рассмотрены используемые
устройства и принцип действия систем виброконтроля АРГУС - М, СВКР, КАСКАД.
На основе проведенного исследования
в данной работе был сделан выбор, что наиболее эффективным является система
виброконтроля АРГУС-М, система обеспечивает более точное измерение
виброскорости, осевого сдвига, температуры, повышается надежность
технологического процесса, который и установлен на магистральном насосном
агрегате НПС «Черкассы-2».
На языке программирования FBD можно реализовать
автоматическое управление технологическим процессом в нефтяной и газовой
промышленности.
Список использованных
источников
1 Технология, экономика и автоматизация процессов переработки
нефти и газа: учеб. пособие / под ред. С.А. Ахметова. - М., 2005 г., 736 с.
SCADA-продукты на российском
рынке // Мир компьютерной автоматизации.
г. - №3. - С. 25-33.
Аппаратура виброконтроля АРГУС-М. Руководство по эксплуатации.
Антропов А.Т. Программно-технический комплекс для автоматизации
нефте-перекачивающих станций. /Нефтяное хозяйство/, 2001. - №10 - с. 82-86.
Аппаратно-программные средства телемеханики и автоматики - АПСТМ и
А. Промышленные АСУ и контроллеры/, 2001. - №6 - с. 17-20, 21-23.
Вербило, А.С., Дунаевский, В.П., Субботин, М.И., Клименко, А.Н.
Аппаратура СВКА для контроля механического состояния компрессорных агрегатов //
Химическое и нефтегазовое машиностроение, 2000 г., №9, - С. 27-28.
Краковский, Ю.М., Лукьянов, А.В., Эльхутов, С.Н. Программный
комплекс вибродиагностики роторных машин // Контроль. Диагностика, 2001 г.,
№6.-С. 32-36.
7 Технологический регламент НПС «Черкассы-2.
Алексеев, А.А., Алексеев, М.А. Система автоматизации МНС
«Черкассы-2» на базе контроллеров Quantum. /Промышленные АСУ и контроллеры/, 2004 г. - №5 - С. 1-4.
9 Стационарная система контроля вибрации «КАСКАД» [Электронный
ресурс] - http://www.vicon.tru/kaskadru.html
10 ГОСТ Р 51330.3-99. Электрооборудование взрывозащищенное. Часть
2. Заполнение или продувка оболочки под избыточным давлением.