Автоматизация газоперекачивающего агрегата дожимной компрессорной станции 'Газпром добыча Уренгой'

  • Вид работы:
    Дипломная (ВКР)
  • Предмет:
    Другое
  • Язык:
    Русский
    ,
    Формат файла:
    MS Word
    1,12 Мб
  • Опубликовано:
    2015-04-07
Вы можете узнать стоимость помощи в написании студенческой работы.
Помощь в написании работы, которую точно примут!

Автоматизация газоперекачивающего агрегата дожимной компрессорной станции 'Газпром добыча Уренгой'

Федеральное государственное бюджетное образовательное учреждение

высшего профессионального образования

«Уфимский государственный нефтяной технический университет»

Кафедра автоматизации технологических процессов и производств







Дипломный проект

Автоматизация газоперекачивающего агрегата дожимной компрессорной станции «Газпром добыча Уренгой»

Студент гр. АГ 07-01А.С. Тохтобин

Руководитель канд. техн. наук, проф. В.С. Гриб

Консультанты:

по технологическому, техническому

и специальному разделам

канд. техн. наук, проф.В.С. Гриб

по охране труда и технике безопасности

канд. техн. наук, доц. А.А. Гилязов

по экономическому разделу

канд. экон. наук, доц. В.В. Бирюкова

Уфа 2012

РЕФЕРАТ

Объектом исследования является газоперекачивающий агрегат ГПА-Ц-16.

В процессе исследования рассмотрена технология работы газоперекачивающего агрегата ГПА-Ц-16, существующие средства автоматизации газоперекачивающего агрегата.

Цель работы - внедрение многозадачной системы контроля и управления Series-4 на газоперекачивающий агрегат ГПА-Ц-16, написание управляющей программы технологическим процессом на языке стандарта IEC 61131-3.

В результате исследований составлен граф переходов процесса пуска, нормального останова и выхода в режим «Магистраль» газоперекачивающего агрегата, написана управляющая программа для ПЛК.

Технико-экономические показатели подтверждают повышение экономических выгод от внедрения многозадачной системы контроля и управления Series-4.

Внедрение отсутствует.

Эффективность работы заключается в повышении надежности газоперекачивающего агрегата.

ОПРЕДЕЛЕНИЯ, ОБОЗНАЧЕНИЯ И СОКРАЩЕНИЯ

ГПА - газоперекачивающий агрегат

ВОУ - воздухоочистительное устройство

БК - байпасный клапан

СТ - силовая турбина

ТВД - турбина высокого давления

ТНД - турбина низкого давления

МСКУ - микропроцессорная система контроля и управления

ЛИС - локальные интеллектуальные системы

САУ и Р - система автоматического управления и регулирования

НО - нормальный останов

АО - аварийный останов

КЦ - компрессорный цех

ФСА - функциональная схема автоматизации

НСХ - нормальная статическая характеристика

ДПЭ - датчик пьезоэлектрический

ПАЗ - противоаварийная защита

Н - нагнетатель

ГТУ - газотурбинная установка

БЭАО - блок экстренного аварийного останова

ПО - программное обеспечение

ПЛК - программируемый логический контроллер

ОС - операционная система

SCADA      - Supervisory Control And Data Acquisition (диспетчерское управление и сбор данных)

ПНУ - пусковой насос уплотнения

ПНС - пусковой насос смазки

КС - камера сгорания

АЗ - агрегат зажигания

ПТЭ - правила технической эксплуатации

ПУЭ - правила устройства электроустановок

ППБ - правила пожарной безопасности

СЗЗ - санитарно-защитная зона

УЗД - уровень звукового давления

ЧДД - чистый дисконтированный доход

ИД - индекс доходности

ВНД - внутренняя норма доходности

СО - срок окупаемости

ВВЕДЕНИЕ

Современные газодобывающие предприятия представляют собой сложные комплексы технологических объектов, рассредоточенных на больших площадях, размеры которых достигают десятков и сотен квадратных километров. Технологические объекты (скважины, групповые измерительные установки, сепарационные установки, сборные пункты, установки комплексной подготовки газа, резервуарные парки) связаны между собой через продуктивный пласт и поток продукции, циркулирующей по технологическим коммуникациям. Добыча газа производится круглосуточно, по этому для нормального функционирования газодобывающего предприятия необходимо обеспечить надежную работу автоматизированного оборудования, дистанционный контроль за работой технологических объектов и их состоянием.

Одним из основных звеньев в системе транспорта газа является дожимная компрессорная станция (ДКС), которая обеспечивает необходимое давление газа перед технологическими цехами осушки установки комплексной подготовки газа (УКПГ) и межпромысловый транспорт газа с необходимым давлением к головным компрессорным станциям магистральных газопроводов. Основная функция ДКС - компримирование газа с целью увеличения производительности магистрального трубопровода.

Газоперекачивающий агрегат является по своей сути компрессором, приводимым в движение газовой турбиной. Компрессор как объект автоматического управления относится к классу потенциально опасных объектов, который характеризуется четко выраженными нелинейными рабочими характеристиками и лавинообразным нарастанием аварийных процессов. Наличие аварийных режимов для этого класса объектов заложено в самом принципе работы. Отличительными особенностями потенциально опасных объектов являются тяжелые, порой катастрофические, последствия аварий и физическая неспособность обслуживающего персонала своевременно среагировать и предотвратить аварию.

Главным аварийным режимом для центробежных компрессоров является помпаж, при котором скачкообразное изменение параметров происходит за сотые доли секунды, что находится на границе разрешающей способности обычной контрольно-измерительной и регулирующей аппаратуры. Таким образом, компрессор работает в достаточно узкой области допустимых параметров.

Газовая турбина, приводящая в движение компрессор, является ярко выраженным интегрирующим объектом, который всегда стремится к неограниченному наращиванию скорости вращения. Компрессор служит тормозом для турбины, который удерживает турбину от достижения аварийных скоростей вращения. В то же время производительность компрессора регулируется за счет изменения скорости вращения силовой турбины.

Внедрение системы контроля и управления Series-4 очень актуально, так как газоперекачивающий агрегат является сложным технологическим объектом и постоянно нуждается в мониторинге и регулировании технологических параметров объекта.

Цель - внедрение многозадачной системы контроля и управления Series-4 на газоперекачивающий агрегат ГПА-Ц-16, написание управляющей программы технологическим процессом на языке стандарта IEC 61131-3.

Задачами дипломного проекта являются:

изучение работы газоперекачивающего агрегата ГПА-Ц-16;

составление графа переходов процесса пуска, нормального останова и выхода в режим «Магистраль»;

написание управляющей программы для ПЛК с помощью программного пакета ISaGRAF.

При работе над дипломным проектом были использованы материалы компании ООО «Газпром добыча Уренгой».

1. Газовый промысел № 13 ООО «Газпром добыча Уренгой»

система контроль газоперекачивающий агрегат

1.1 Краткая характеристика структуры организации газового промысла № 13 ООО «Газпром добыча Уренгой»

Уренгойское газоконденсатное месторождение расположено на территории Ямало-Ненецкого автономного округа к западу от реки Пур с координатами 76-78° восточной долготы и 66-68° северной широты. На месторождении установлена продуктивность в верхнемеловых и нижнемеловых отложениях.

Основная по запасам верхнемеловая (сеноманская) залежь связана с верхней частью мощной (до 150 м) толщи преимущественно песчаных образований. Длина залежи 180 км, ширина от 23 до 50 км, площадь газоносности 4750 км2, пластовая температура изменяется от 27 °С в своде до 34 °С у контакта газ-вода. Залежь водоплавающая со слабым наклоном газо-водяного контакта в северном направлении, начальная отметка ГВК - 1235 м.

Начальное пластовое давление 12 МПа. Песчаники характеризуются хорошими коллекторскими свойствами: открытой пористостью 9-38% и проницаемостью от 10 до 1000 мД и более, что обеспечивает получение высоких дебитов газа.

Общие запасы сеноманской залежи Уренгойской площади утверждены ГКЗ в объеме 5226,8 млрд. м³.

1.2 Описание, состав технологического процесса и схемы ГПА-Ц-16


.2.1 Состав ГПА-Ц-16

Газоперекачивающий агрегат (ГПА) предназначен для транспортирования природного газа по магистральным газопроводам при рабочем давлении 5,5-7,4 МПа.

Агрегат состоит из отдельных функционально завершенных блоков и сборочных единиц полной заводской готовности, стыкуемых между собой на месте эксплуатации.

Газоперекачивающий агрегат представлен на рисунке 1.1.

- камера всасывания; 2 - всасывающие шумоглушители; 3 - воздухоочистительное          устройство; 4 - система подогрева циклового воздуха; 5 - утилизатор; 6 - шумоглушители выхлопа; 7 - диффузор; 8 - опора выхлопной части; 9 - турбоблок; 10 - блок маслоагрегатов

Рисунок 1.1 - Газоперекачивающий агрегат

Турбоблок включает в себя следующие сборочные единицы: контейнер, приводной двигатель НК-16СТ, установленный на подмоторной раме. Кроме того, в турбоблоке размещены отдельные сборочные единицы маслосистемы, системы обогрева, автоматического пожаротушения, обогрева циклового воздуха и автоматического управления агрегатом. Контейнер турбоблока является помещением для размещения основных сборочных единиц и систем агрегата. Обеспечивает определенный микроклимат для их эксплуатации и необходимые условия труда для обслуживающего персонала в период проведения ремонтных и регламентных работ. Контейнер при помощи герметичной перегородки разделен на два изолированных помещения отсек двигателя и отсек нагнетателя. Вентиляция отсека двигателя осуществляется вентиляторами, установленными в блоке вентиляции. Вентиляция отсека нагнетателя осуществляется вентилятором, установленным в верхней части этого отсека.

Воздухоочистительное устройство (ВОУ) предназначено для очистки от пыли и других механических включений циклового воздуха, поступающего из атмосферы в компрессор двигателя. ВОУ состоит из камеры, фильтрующих элементов, короба отсоса пыли, вентиляторов отсоса пыли, байпасных клапанов и решеток для подогрева циклового воздуха. Очистка воздуха производится в инерционно-жалюзийных сепараторах за счет резкого поворота потока в фильтрующих элементах. На задней стенке камеры размещены два байпасных клапана (БК). БК открываются автоматически при достижении разрежения в камере ВОУ 80 мм вод.ст. При снижении разрежения до 50 мм вод.ст. клапаны закрываются.

Камера всасывания служит для направления очищенного в ВОУ атмосферного воздуха к осевому компрессору двигателя. В проемы каркаса камеры установлен шумоглушитель, представляющий собой специальные щиты, заполненные теплоизоляционными звукопоглощающими матами из супертонкого базальтового волокна. В центральном проеме стенки установлены двустворчатые ворота, а на задней стенке - одностворчатые. Ворота служат для закатки и выкатки двигателя при его замене.

Блок промежуточный предназначен для формирования равномерного потока воздуха непосредственно перед входным направляющим аппаратом осевого компрессора двигателя. Блок состоит из каркаса и патрубка круглого сечения, выполненного из листовой нержавеющей стали.

Выхлопное устройство с шумоглушением служит для выброса выхлопных газов и снижения шума выхлопа двигателя. Устройство состоит из диффузора, проставки и шумоглушителя. Диффузор предназначен для плавного снижения скорости выхлопных газов и представляет собой цельносварную конструкцию, состоящую из каркаса, внутренние проемы которого заполнены звукопоглощающим материалом. Шумоглушитель пластинчато-щелевого типа. Пластины имеют обтекаемую форму. Сварной каркас пластины выполнен из гнутых профилей и обшит с двух сторон перфорированным стальным листом. Пространство между листами заполнено звукопоглощающим материалом.

Блок маслоохладителей предназначен для охлаждения масла, циркулирующего в системах смазки и уплотнения агрегата. Компоновка ГПА предусматривает установку двух блоков, в каждом из которых установлено по два аппарата воздушного охлаждения масла.

Блок вентиляции предназначен для размещения оборудования, обеспечивающего вентиляцию отсека двигателя и просос атмосферного воздуха через маслоохладители при отсутствии электроэнергии. Блок вентиляции включает в себя каркас, вентиляторы, патрубок и заслонки с гидроприводом. Центробежные вентиляторы подают очищенный воздух, отбираемый из отсека шумоглушителя ВОУ. Поворотные заслонки, предназначенные для открытия прохода, соединяющего блок вентиляции с всасывающим трактом двигателя, при этом закрыты. При отключении вентиляторов вентиляция отсека двигателя осуществляется за счет прососа воздуха из турбоблока через открытые заслонки, остановленные вентиляторы и далее на всас двигателя. Управление заслонками производится при помощи гидропривода.

Блок маслоагрегатов предназначен для размещения маслоагрегатов и арматуры маслосистемы, что позволяет производить их обслуживание при работе ГПА. Для вентиляции блока в нем предусмотрен вентилятор.

Блок фильтров топливного газа предназначен для очистки газа от возможных загрязнений в трубопроводах между станционным блоком подготовки топливного и пускового газа и входным в камеру сгорания двигателя. В блоке установлено два фильтра, обвязка которых позволяет включать в работу фильтры поочередно или оба одновременно. Степень фильтрации 10 мкм.

Блок пожаротушения служит для размещения установки автоматического газового пожаротушения. Автоматическая система пожаротушения обеспечивает противопожарную защиту отсеков двигателя и нагнетателя за счет своевременного обнаружения очага возгорания и последующего подавления его путем автоматической подачи огнегасящего вещества хладона 114В2.

Система обогрева предназначена для разогрева агрегата в холодное время года перед пуском и для обеспечения нормальных климатических условий при работе приборов и оборудования, установленных в отсеках контейнера. Обогрев осуществляется горячим воздухом, отбираемым от работающего двигателя за компрессором высокого давления (температура 280 °С). Отбираемый горячий воздух поступает в станционную систему обогрева, которая объединяет в единую сеть системы обогрева всех агрегатов, установленных на компрессорной станции. Обогрев ГПА при отсутствии в станционной сети горячего воздуха осуществляется от моторных подогревателей типа УМП-350.

Система подогрева циклового воздуха предназначена для предотвращения обледенения всасывающего тракта двигателя в диапазоне температур атмосферного воздуха от +7 до минус 10 °С. Подогрев циклового воздуха осуществляется подачей на вход воздухоочистительного устройства горячих газов из выхлопной шахты агрегата. Газы эжектируются сжатым воздухом, отбираемым из компрессора низкого давления двигателя. Горячая газовоздушная смесь направляется на распределительную решетку, установленную на входе в ВОУ. На таблице 1.1 приведены технические характеристики двигателя НК-16 СТ.

Таблица 1.1 - Технические характеристики двигателя НК-16 СТ

Наименование показателей

Величины

Максимальная мощность, кВт

16000

Эффективный КПД двигателя в режиме максимальной мощности, %

29

Максимальная мощность на выходном валу СТ, кВт

19200

Рабочий диапазон изменения частоты вращения приводного вала СТ на режиме максимальной мощности:


- максимальная частота, об/мин, не более

5300

- минимальная частота, об/мин, не менее

3975

Температура газов перед СТ, не более:


- на режиме максимальной мощности, ºС

630

- при запуске, ºС

500

Температура наружных поверхностей двигателя, ºС

200

Уровень вибрации двигателя, мм/сек

40


На таблице 1.2 приведены технические характеристики нагнетателя НЦ-16.

Таблица 1.2 - Технические характеристики нагнетателя НЦ-16

Наименование показателей

Величины

Производительность, приведенная к температуре газа 20 C° и давлению 0,101 МПа, м³/час

384,82

Производительность, приведенная к температуре газа 15 C° и давлению 0,101 МПа, м³/час

378,25

Давление начальное номинальное, МПа

5,17

Давление конечное номинальное, МПа

7,45

Степень сжатия

1,37-1,44

Политропный КПД, %, не менее

83

Температура газа на всасывание, ºС

15

Расчетное повышение температуры газа в нагнетателе при поминальном режиме, ºС

31

Обороты ротора нагнетателя и силовой турбины, об/мин

3750-5300

 

.2.2 Технологическая схема работы ГПА-Ц-16

В состав газоперекачивающего агрегата ГПА-Ц-16 входят: приводной газотурбинный двигатель ДГ90Л2, общая рама ГПА со вспомогательными агрегатами, механизмами, устройствами и коммуникациями, газоотвод с теплоизолирующим кожухом, трансмиссия, нагнетатель природного газа НЦ-16; комплект приборов и узлов, поставляемых совместно с агрегатом, комплект запасного инвентаря и принадлежностей (ЗИП) одиночный, комплект ЗИП групповой.

Очищенный природный газ из установки очистки по газопроводу Г-1000 через всасывающий патрубок поступает в центробежный нагнетатель, где происходит его сжатие и подача через нагнетательный патрубок в коллектор.

В качестве привода нагнетателя используется стационарный газотурбинный двигатель НК16-СТ, созданный на базе авиационного турбовентиляторного двигателя НК-8-2У, работающий на перекачиваемом газе, в котором свободная энергия преобразуется в мощность на выводном валу с помощью турбины нагнетателя.

Очищенный в воздухоочистительном устройстве атмосферный воздух поступает в компрессор двигателя, где сжимается и поступает в камеру сгорания. Одновременно через рабочие форсунки в камеру сгорания подается топливный газ. Из камеры сгорания газы направляются на лопатки турбины высокого давления (ТВД) и турбины низкого давления (ТНД). Механическая связь между турбиной и ротором нагнетателя осуществляется через промежуточный вал. Отработанные газы через газоотвод, пройдя утилизатор тепла и шумоглушитель, выбрасываются в атмосферу.

В обвязке каждого агрегата всасывающий трубопровод оборудован краном с гидропневмоприводом 1 (рисунок 1.2) для приема газа в нагнетатель и байпасным краном 4 для заполнения контура нагнетателя перед его пуском, а также для опрессовки нагнетателя.

Нагнетательный трубопровод оборудован:

-       краном 2 с гидропневмоприводом для выхода газа из нагнетателя и обратным клапаном в магистрали Г-700;

-       линией сброса газа на свечу с кранов 5, 5А перед краном 2, предназначенным для продувки контура нагнетания перед пуском ГПА или сброса газа на свечу при любых остановках агрегата, а также опрессовках;

-       пусковым трубопроводом подачи газа в пусковой контур с краном и обратным клапаном 6 в агрегатной линии рециркуляции газа Г-400, краном регулятором 6А «Mokveld».

На линии подачи топливного газа установлены:

-       топливный клапан «Amot»;

-       стопорный клапан;

-       кран 12 дистанционного управления;

-       штуцер с линией сброса газа на свечу с пневмокраном 9.

Схема обвязки ГПА-Ц-16 обеспечивает независимый вывод агрегатов на режим «Кольцо» по пусковому контуру, антипомпажную защиту каждого агрегата обеспечивает кран 6А «Mokveld» системы управления и противопомпажного регулирования фирмы «ССС». Вывод агрегата на режим «Магистраль» происходит при открытии крана 2 и закрытии крана 6.

При остановке агрегата происходит закрытие кранов 1,2,4 обвязки ГПА, а так же закрытие крана 12 и открытие крана 9 топливного трубопровода двигателя. После получения сигнала «АО со стравливанием» через открытие свечного крана 5 опрессовка нагнетателя выполняется через краны 4, 4р при плавном наборе давления и последующем сбросе газа на свечу через кран 5. Пуск станции осуществляется после вытеснения воздуха и набора рабочего давления. Пуск одного агрегата на режиме «Кольцо» осуществляется при открытых кранах 1, 2, 6, и 6А «Mokveld». После вывода агрегата на режим «Кольцо», прикрывается кран 6А «Mokveld», агрегат начинает работать в режиме «Магистраль».

Функции управления, защиты и автоматизации ГПА выполняет система агрегатной автоматики микропроцессорная система контроля и управления (МСКУ) 4510СГ, поставляемая комплектно с агрегатом. Система управления и противопомпажного регулирования фирмы «ССС», выполненная на базе програмно-технических средств (ПТС) Series-4, осуществляет пуск и остановку ГПА, автоматическую защиту, контроль технологических параметров, сигнализацию неисправностей и выдачу информации на центральный диспетчерский пункт (ЦДП). Программное обеспечение обладает следующими свойствами: функциональная достаточность, надежность, адаптируемость, модифицируем ость, модульность построения и удобство эксплуатации.

Конструктивно комплекс МСКУ 4510СГ агрегатного уровня размещается в специальном приборном блок-боксе, с искусственным микроклиматом, расположенным в непосредственной близости от укрытия агрегата.

Функциональные блоки цехового комплекса (локальные интеллектуальные системы (ЛИС)), в целях сокращения количества кабелей, размещаются в щитовой установки подготовки топливного и импульсного газов, щитовой установки очистки газа, щитовой комплектной трансформаторной подстанции (КТП) АВО газа.

В щитовых и аппаратной устанавливаются стойки ЛИС с размещенными в них модулями, источниками питания и клеммными колодками для подвода соединительного кабеля. В операторной расположен пульт оператора, предназначенный как для индивидуального управления ГПА так и группового управления совокупностью газоперекачивающих агрегатов, входящих в состав цеха, и общецеховым оборудованием.

В контейнерах ГПА-Ц-16 заводом предусмотрено углекислотное пожаротушение, а также контроль взрывоопасной концентрации на СН4.

Перед пуском агрегатов в эксплуатацию определяется рабочий режим (рабочая точка) в зависимости от выбранной производительности и приведенных оборотов, при этом потребляемая нагнетателем мощность не должна превышать номинальную более чем на 20%, то есть не более 19000 кВт, при температуре наружного воздуха выше минус 5 °С.

Для избежания попадания нагнетателя в зону неустойчивой работы рабочая точка должна лежать правее помпажной линии не менее чем на 10%. Это объясняется тем, что при уменьшении расхода газа до приблизительно 60% от расчетного из-за не сплошного течения в межлопаточных каналах, вызванного срывом потока на входе в рабочее колесо, и возрастанием влияния обратной закрутки в пределах каждого канала, рабочее колесо уже не может создать давление больше давления в диффузоре и напорной полости. Возникает течение в обратном направлении, что вызывает шум и сильные вибрации нагнетателя и его обвязки, увеличение оборотов, обратная раскрутка ротора при неисправности обратного клапана.

Причинами помпажа нагнетателя, кроме снижения расхода, могут быть: увеличение давления на выходе нагнетателя, пониженная частота вращения по отношению к параллельно работающим агрегатам, колебания давления в сети, неправильная или несвоевременная перестановка кранов в системе обвязки нагнетателя, попадание постороннего тела на защитную сетку или входной направляющий аппарат.

Главная опасность помпажных колебаний для ГПА большая вероятность повреждения упорного подшипника, возможность разрушения покрывающего диска рабочего колеса, сильные задевания и разработка зазоров в лабиринтных уплотнениях.

Защиту от помпажа каждого агрегата выполняют краны регуляторы 6A «Mokveld» на линии Г-400 по обвязке агрегатов ГПА-Ц-16.

2. Патентная проработка

Патентная проработка не проводилась в связи с тем, что задачей дипломного проекта является составление управляющей программы для ПЛК, не являющейся охрано-способным объектом.

3. Система автоматизации ГПА-Ц-16 на базе программно-технических средств «Series-4»

Комплекс «Series-4» в составе САУ и Р ГПА обеспечивает выполнение следующих функций:

-       управление ГПА и его вспомогательными механизмами и устройствами на всех режимах работы;

-       автоматическое регулирование параметров двигателя и нагнетателя, включая предельное регулирование ограничиваемых параметров;

-       непрерывный контроль, индикацию и регистрацию технологических параметров с представлением необходимой информации оператору.

 

3.1 Основные функции выполняемые САУ и Р ГПА-Ц-16


Функции логического управления: снятие запретов на срабатывание защит на остановленном агрегате с целью проверки и сдачи защит перед пуском ГПА; автоматическая проверка пусковой готовности; автоматическая защита ГПА по технологическим параметрам; автоматический пуск ГПА по заданному алгоритму с выводом на режимы «Кольцо» или «Магистраль»; автоматический пуск ГПА с заполненным контуром нагнетателя (после аварийного останова без стравливания газа) также с выводом на режимы «Кольцо» или «Магистраль»; автоматический ввод в режим «Магистраль» из режима «Кольцо» и автоматический вывод ГПА из режима «Магистраль» на режим «Кольцо»; управление режимом работы ГПА, задаваемым оператором, или в соответствии с командами, приходящими из САУ и Р верхнего уровня; автоматический нормальный останов (НО) по заданному алгоритму; автоматический аварийный останов (АО) со стравливанием и без стравливания газа по сигналам каналов защиты либо по команде оператора; экстренный аварийный останов ГПА по заданному алгоритму при отказе САУ и Р; автоматический перезапуск с интервалом 3 с вспомогательных механизмов после кратковременного (1-5 с) пропадания напряжения 380 В частотой 50 Гц; дистанционное управление исполнительными механизмами и вспомогательным оборудованием на работающем или неработающем агрегате; автоматическая перестановка в исходное положение кранов газовой обвязки перед пуском ГПА, после выбора режима работы; запрет выполнения команд оператора при работе агрегата в автоматическом режиме, если они не предусмотрены алгоритмами управления или регулирования; управление утилизатором тепла; управление исполнительными механизмами системы пожаротушения.

Функции регулирования: регулирования двигателя; регулирование (стабилизация) частоты вращения силовой турбины в соответствии с заданием, получаемым от оператора или заданием, получаемым от регулятора распределения нагрузки; автоматическое предельное регулирование (ограничение) по следующим параметрам: температуре продуктов сгорания по верхнему задаваемому пределу; частоте вращения вала турбокомпрессора высокого давления, давления воздуха за КВД по верхнему задаваемому пределу, приемистости двигателя; формирование выходного сигнала управления регулирующим топливным клапаном по минимальному из сигналов, сформированных контурами регулирования; функции антипомпажного регулирования; реализация функций антипомпажного регулирования и защиты нагнетателей должна обеспечивать расстояние между рабочей точкой нагнетателя и линией помпажа не менее заранее заданного и автоматически изменяющегося в зависимости от скорости приближения рабочей точки к линии помпажа; функции распределения нагрузки между ГПА (при работе нескольких ГПА в составе КЦ); участие в реализации функции распределения нагрузки при параллельной работе ГПА в общем, газопроводе; стратегия выживания; автоматический переход на резервный канал при потере сигнала от резервированных датчиков (частота вращения турбины нагнетателя); автоматический переход на специальные алгоритмы «Стратегии выживания», позволяющие обеспечить безопасность эксплуатации ГПА при исчезновении одного из следующих сигналов на входе системы: от датчика перепада давления на конфузоре нагнетателя, от датчика давления газа на входе или выходе нагнетателя, от датчика давления воздуха за осевым компрессором, от датчиков частоты вращения валов двигателя (при наличии независимой системы защиты двигателя от превышения допустимой частоты вращения валов двигателя на базе существующего ограничителя скорости вращения турбины).

Информационные функции: непрерывный контроль технологических параметров, в том числе измерение и представление по вызову оператора на экране панели управления значений, выбранных параметров в единицах физических величин с указанием знака данного параметра; вычисление косвенных параметров; представление на экране панели управления мнемосхем агрегата с указанием значений измеряемых параметров и положения исполнительных механизмов; постоянное представление в цифровом виде значений следующих параметров: температуры газа перед силовой турбиной (СТ), частоты вращения СТ и перепада давления «Масло-газ» в системе подшипников и сальников; автоматическое обнаружение, отображение и звуковая сигнализация отклонений технологических параметров от аварийных уставок; автоматическое обнаружение и отображение отклонений технологических параметров от предупредительных уставок; представление информации о невыполненных предпусковых условиях; представление информации об основных режимах работы агрегата: «Готов к пуску», «Пуск», «Работа», «НО», «АО»; запоминание сигналов, вызвавших аварийный останов, а также, значений основных технологических параметров агрегата при срабатывании аварийной защиты с возможностью ретроспективного анализа состояния агрегата (с дискретностью 1 с) за 60 с до начала аварии и 10 с после завершения АО; автоматическая передача в САУ и Р компрессорного цеха значений основных технологических параметров и других информационных сообщений.

Функции контроля: автоматический непрерывный контроль исправности цепей управления особо ответственными исполнительными механизмами и вспомогательным оборудованием ГПА; автоматический непрерывный контроль цепей аналоговых и особо ответственных дискретных датчиков; контроль состояния оборудования и отклонений технологических параметров от заданных предельных значений (уставок); автоматический контроль исправности основных программно-технических средств САУ и Р ГПА с сигнализацией отказа и защита от несанкционированного доступа.

Ниже приводится перечень входных и выходных сигналов САУ и Р ГПА.

Входные сигналы:

-       дискретные (от датчиков двухпозиционных сигналов типа «Сухой контакт»; датчиков двухпозиционных сигналов, соединенных с источником питания переменного тока 220 В, 50 Гц);

-       аналоговые (от термопреобразователей сопротивления и от преобразователей термоэлектрических);

-       от преобразователей с электрическим выходным сигналом постоянного тока 4..20 мА, (датчиков давления, перепада давления, уровня, загазованности, виброскорости, виброперемещения и осевого сдвига).

Выходные сигналы:

-       дискретные устройства обеспечивают коммутацию электрических цепей постоянного тока (220 В, 1 А), постоянного тока (24 В, 5 А), переменного тока (220 В, 50 Гц, 3 А), индуктивность нагрузки (до 4 Гн) и ее активное сопротивление (до 400 Ом);

-       аналоговые обеспечивают управления антипомпажным клапаном, управления топливным регулирующим клапаном.

3.2 Функциональная схема автоматизации ГПА-Ц-16

.2.1 Описание преобразователей нижнего уровня ГПА

На ГПА контроль и сигнализация осуществляется по большому числу параметров. Основные из них включены в систему аварийно - предупредительной защиты и сигнализации (рисунок 3.1).

К ним относятся: давление масла смазки, перепад давления между газом в полости нагнетателя и маслом уплотнения, температура подшипников компрессора, температура продуктов сгорания, частота вращения роторов, давление газа на входе и выходе компрессора, температура газа на входе и выходе компрессора и так далее.

Измерение давления топливного газа перед дозатором (позиция 6) и после дозатора (позиция 7) осуществляется с помощью датчика давления типа «Сапфир-22 ДИ».

Измерение температуры газа на входе нагнетателя (позиции 12-1, 12-2), выходе нагнетателя (позиции 13-1, 13-2) осуществляется с помощью термометра сопротивления марки ТСП-1187 в комплекте с преобразователем температуры AGM НМР-4002-17, выходной сигнал которых поступает на регулятор скорости турбины SIC и на антипомпажный регулятор UIC.

Для измерения оборотов ротора компрессора низкого давления (КНД), высокого давления (КВД) и ротора нагнетателя используются датчики скорости марки НН&А-280Z213 (позиции 24, 25, 26), закрепленные на агрегате и использующие частотный сигнал для передачи данных на регулятор скорости турбины SIC.

Одним из основных параметров системы управления является сигнал по расходу. Он используется не только в алгоритмах антипомпажной защиты, но и распределения нагрузки между агрегатами. Для измерения расхода газа применяется ультразвуковой расходомер Гиперфлоу-УС (позиции 18, 19, 20, 21, 22, 23).

Перечень измерительных приборов и преобразователей нижнего уровня указан в таблице 3.1.

Таблица 3.1 - Перечень первичных преобразователей нижнего уровня ГПА

Позиционное обозначение

Наименование

Количество

Примечание

1, 2, 3, 4, 5

Преобразователь давления STG 94L-E1G

5

ExiaIICT5

6, 7

Датчик давления «Сапфир-22 ДИ»

2

1ExdIIBT4

8

Преобразователь разности давлений Honeywell STD 930

1


9

Датчик разности давления ТЖИУ-406Д

1

1ExdIIBT4

10-1, 11-1

Термопреобразователь сопротивления ТСП-1187

5

1ExdIICT6

12-1, 13-1




14-1




10-2, 11-2

Преобразователь температуры AGM HMP-4002-17

5

1ExdIICT6

12-2, 13-2




14-2




15, 16

Термопреобразователь сопротивления ТСПУ-5081

2

1ExdIICT6

17

Преобразователь термоэлектрический ТХАУ-1172

1

1ExdIICT6

18, 19, 20

Расходомер ультразвуковой «Гиперфлоу-УС»

6

ExibIIAT6X

21, 22, 23




24, 25, 26

Датчик скорости HH&A-280Z21387

3

ExiaIICT5

27

Пусковая арматура

1


28, 29, 30

Ключ управления

17


31, 32, 33




34, 35, 36




37, 38, 39




40, 41, 42




43, 44





3.2.2 Датчик разности давлений ТЖИУ-406Д

Датчики избыточного давления ТЖИУ-406Д взрывозащищенного и не взрывозащищенного исполнения применяются для непрерывного преобразования значения избыточного давления газов и жидкостей, неагрессивных по отношению к титановым сплавам, в унифицированный выходной сигнал постоянного тока в системах контроля и управления давлением.

Особенности исполнения датчика давления ТЖИУ-406Д:

маркировка взрывозащиты «1ExdllВТ4», соответствует ГОСТ 22782.0-81, вид взрывозащиты - взрывонепроницаемая оболочка по ГОСТ 22782.6-81;

встроенный электронный гаситель пульсаций измеряемого давления;

устройство защиты от перенапряжений;

возможность перенастройки пределов измерений.

Технические характеристики датчика давления ТЖИУ-406Д указаны в таблице 3.2.

Таблица 3.2 Технические характеристики датчика давления ТЖИУ-406Д

Характеристики

Значения

Диапазон измеряемых давлений, МПа

0-0,04; 0-25

Выходной сигнал постоянного тока, мА

4..20; 0..5

Предел допускаемой погрешности, %

±0,15

Диапазон рабочих температур, ºC

от минус 60 до +80


Схема внешних электрических соединений датчика ТЖИУ-406Д представлена на рисунке 3.2.

а) двухпроводная б) четырехпроводная

Rн - сопротивление нагрузки, Ом; G - источник питания

Рисунок 3.2 - Схема электрических соединений датчика ТЖИУ-406Д

3.2.3 Преобразователь термоэлектрический ТХАУ-1172

Для измерения температуры различных сред корабельных энергетических установок и систем с преобразованием температуры в унифицированный электрический выходной сигнал постоянного тока 4..20 мА. В качестве первичных преобразователей используются термопреобразователи сопротивления с номинальной статической характеристикой (НСХ) преобразования 100П, 100М по ГОСТ6651-94 и термоэлектрические преобразователи с НСХ преобразования ХА (К), ХК(L), НН(N), ЖК(J) по ГОСТР 8.585-2001 с изолированным спаем. Технические характеристики термоэлектрического преобразователя ТХАУ-1172 приведены в таблице 3.3.

Таблица 3.3 - Технические характеристики термоэлектрического преобразователя ТХАУ-1172

Характеристики

Значения

Выходной ток, мА

4..20

Сопротивление нагрузки с линией связи, кОм, не более


- для напряжения питания 24 В

0,6

- для напряжения питания 36 В

1,2

Напряжение питания от источника постоянного тока, В

14-36

Потребляемая мощность, Вт, не более

1


Электрическая схема подключения преобразователей с унифицированным выходным сигналом представлена на рисунке 3.3.

БП - блок питания постоянного тока, напряжение 18…36В; Rн - сопротивление нагрузки для измерения; V - измерительный прибор; E - двухпроводная линия связи (витая пара)

Рисунок 3.3 - Электрическая схема подключения ТХАУ-1172


3.2.4 Измерительный преобразователь избыточного давления Сапфир-22 ДИ

Прибор предназначен для преобразования величины избыточного давления жидких и газовых сред в унифицированный токовый выходной сигнал дистанционной передачи, для работы в системах контроля, учета, регулирования технологическими процессами. В таблице 3.4 приведены технические характеристики датчика «Сапфир-22 ДИ».

Таблица 3.4 - Технические характеристики датчика «Сапфир-22 ДИ»

Характеристики

Значения

Выходной сигнал, мА

0..5;4..20

Верхние пределы измерений, МПа

0,16; 0,25; 0,4; 0,6; 1,0; 1,6; 2,5; 4,0; 6,0; 10,0; 16,0; 25,0; 40,0; 60,0

Погрешность измерения, %


Тип взрывозащиты

Взрывонепроникающая оболочка, маркировка 1ExdIIBT4

Напряжение питания постоянного тока, В

24-36


Схема внешнего электрического соединения датчика «Сапфир-22 ДИ» на рисунке 3.4.

ПР - преобразователь; G - источник питания; Rн - сопротивление нагрузки, Ом; Рисунок 3.4 - Схема внешнего электрического соединения датчика «Сапфир-22 ДИ»

3.2.5 Расходомер ультразвуковой «Гиперфлоу-УС»

Расходомер ультразвуковой «ГиперФлоу-УС» предназначен для измерения в рабочих условиях и приведенного к нормальным условиям расхода и количества природного газа и других газовых сред в напорных газопроводах диаметром от 100 до 1600 мм.

Рисунок 3.5 - Схема внешнего электрического соединения датчика «Сапфир-22 ДИ»

Расходомер предназначен для коммерческого и технологического учета расхода и количества газовых сред на промышленных и коммунальных объектах как автономное средство измерения, а также в составе автоматизированных систем учета и контроля или передачи информации в другие системы.

По принципу действия расходомер относится к времяимпульсным ультразвуковым расходомерам, работа которых основана на измерении разности времен прохождения зондирующих импульсов ультразвуковых колебаний между четными и нечетными датчиками пьезоэлектрическими ДПЭ по направлению скорости потока рабочей среды в измерительном газопроводе (первичном преобразователе), и против него (по V-, W-образному или по линейному пути) (рисунок 3.5).

Возбуждение и прием зондирующих импульсов производится пьезоэлектрическими датчиками, устанавливаемыми на измерительный трубопровод с измеряемым расходом. Попеременная коммутация режимов «прием-передача» пар датчиков обеспечивается блоком электронным.

Черный - W-образный путь ультразвукового луча; зеленый - V- образный путь ультразвукового луча; красный - линейный путь ультразвукового луча

Рисунок 3.6 - Принцип работы расходомера

.2.7 Противоаварийная защита

На функциональной схеме автоматизации также исполнены компоненты противоаварийной защиты, проведем краткое описание выбранных компонентов ПАЗ.

Система защиты по частоте вращения КВД, СТ предназначена для защиты газовой турбины, при превышении частоты вращения которой может произойти отрыв лопаток, разрушение замков и дисков, могут появиться осевые сдвиги и разрушения подшипников.

Защита по температуре газа на входе и выходе нагнетателя необходима для предотвращения осевых сдвигов, появлению вибрации, разрушению подшипников.

Защита по давлению газа на входе и выходе нагнетателя обеспечивает предотвращение появлению вредных вибраций, нарушению целостности работы нагнетателя. Перечень противоаварийной защиты приведен в таблице 3.5.

Таблица 3.5 - Перечень противоаварийной защиты

№ сценария защиты

№ позиции защиты

Условие срабатывания

Действие защиты

1

24

Превышение аварийной уставки по частоте вращения КВД

Закрытие стопорного клапана

2

25

Превышение аварийной уставки по частоте вращения СТ

Закрытие стопорного клапана

3

13-1

Закрытие стопорного клапана

4

1

Превышение аварийной уставки по P газа на входе

Закрытие стопорного клапана

5

2

Превышение аварийной уставки по P газа на выходе

Закрытие стопорного клапана

 

3.3 Многозадачная система контроля и управления Series-4

является специализированной иерархически распределённой многоуровневой управляюще-информационной цифровой системой, предназначенной для автоматизации не только ГПА, но и КЦ и КС в целом.

В агрегатный уровень системы входят: программно-аппаратный модуль GTCC для регулирования ГПА; программно-аппаратный модуль GTLC для сбора и логической обработки параметров и управления исполнительными механизмами (ИМ); датчики, нормирующие преобразователи; ИМ и клапаны; модули ввода-вывода IOM; модули расширения ЕIOM.

В цеховой уровень управления входят: программно-функциональный модуль регулирования параметров КЦ MPIC; станция оператора КЦ - Shop Operator Interface Station (SHOIS); датчики цехового уровня.

Агрегатный уровень обеспечивает: регулирование параметров ГПА в пределах заданных ограничений; предотвращение помпажа нагнетателей; задание режима ГПА в соответствии с выходными сигналами цехового модуля регулирования МPIC; участие в автоматическом пуске и останове ГПА; вывод его в магистраль и из неё.

Цеховой уровень управления обеспечивает: поддержание заданного значения расхода КЦ; распределение в заданном диапазоне нагрузки между агрегатами; связь с системой верхнего уровня.

Все программно-аппаратные модули располагаются на блок каркасе Multi Functional Chassis (MFC). Все модули выполняются дублированными, то есть с горячим резервированием, и занимают на каркасе по два гнезда. Для подключения аналоговых, дискретных и частотных сигналов контроллеры оснащаются аппаратными модулями связи Field Termination Assembly (FTA), где сигналы с датчиков нормируются и поступают в программно-аппаратные модули где фильтруются и преобразуются в цифровую форму.

Цифровая последовательная связь между модулями ПТС Series-4 (S4) и станцией оператора КЦ использует интерфейс RS-422, который предполагает наличие двух каналов связи, одного для передачи данных, второго для приёма. В соответствии с сформулированными во введении задачами система включает в себя: первичные и нормирующие преобразователи параметров; программно-технические средства S4; антипомпажный клапан, по одному на каждый нагнетатель; управляющие клапаны, воздействующие на расход топлива, для управления режимом работы приводной газотурбинной установкой (ГТУ), по одному на каждый агрегат; оснащённую мониторами станцию оператора (одна на КЦ).

В состав программного обеспечения входит ряд программ, каждая из которых имеет свои функции.

Перечень программ рассмотрен в таблице 3.6.

Таблица 3.6 - Перечень прикладных программ в ПТС Series-4

Прикладные программы

Функциональный модуль (реализация прикладной программы)

Примечание


обозначение

назначение


AS (Antisurge Module)

UIC (Multixarible Indicating Control Module)

Антипомпажный регулятор

Входит в состав программного обеспечения GTCC

GT (Gas Turbine Module)

SIC (Speed Indicating Control Module)

Управление расходом топлива агрегата

Входит в состав программного обеспечения GTCC

PC (Performance Control Module)

LSIC (Load Sharing Indicating Control Module)

Распределение нагрузки между нагнетателями

Входит в состав программного обеспечения GTCC


MPIC (Master Performance Indicating Control Module)

Регулирование параметров КЦ

Входит в состав программного обеспечения SHMC


SMPIC (Station Master Performance Indicating Control Module)

Регулирование КС в целом

Может входить в состав программного обеспечения SHCC


Модуль регулирования расхода топлива GT поддерживает частоту вращения нагнетателя, при нормальной работе в функции модуля также входит следующее: открытия топливного клапана Amot в зависимости от давления осуществление последовательности запуска турбины; понижение оборотов турбины при нормальном останове; ограничение max оборотов компрессора низкого давления (КНД); ограничение макчимальных и минимальных оборотов компрессора высокого давления (КВД); ограничение температуры продуктов сгорания; ограничение за осевым компрессором.(Gas Turbine/Compressor Control Module) - программно-аппаратный модуль регулирования ГПА, программное обеспечение которого включает в себя программы AS, GT и PC;(Shop Master Control Module) - программно-аппаратный модуль регулирования параметров компрессорного цеха либо группы ГПА.

SHCC (Shop Communication Control Module) - программно-аппаратный коммуникационный модуль КЦ. Модуль осуществляет связь между всеми уровнями управления КС - станционным, цеховым и агрегатным. Выполнены с «Горячим» резервированием и связаны с другими программно-аппаратными модулями своего КЦ и друг с другом резервированными скоростными каналами.

Все функции системы по регулированию выполняются при работе GT в режиме дистанционного управления. В этом режиме GT получает задание по оборотам нагнетателя от РС.

Модуль антипомпажного регулирования (АР) AS постоянно рассчитывает расстояние рабочей точки нагнетателя от помпажа и передаёт её цеховому контроллеру для осуществления противопомпажного регулирования и защиты, кроме того, AS рассчитывает девиацию (Dev) - расстояние до линии противопомпажного регулирования, и степень сжатия нагнетателя и передаёт их в регулятор нагрузки (РН) и служит для поддержания заданного давления на выходе агрегата, ввода-вывода, агрегата из трассы, поддержания переменных процесса в безопасных пределах. Если по каким либо причинам несмотря на работу противопомпажной защиты нагнетателя попадает в помпаж, то AS распознаёт его. Если в агрегате зарегистрирован помпаж, то в фиксируемом окне станции управления «Панель управления цеха» появится сообщение о регистрации помпажа. Модуль AS может находиться в одном из пяти рабочих статусов, описанные на рисунке 3.6.

Статусы модуля AS определяются на основании измеряемых параметров и команд управления от логического контроллера GTLC или операторской станции.

Модуль AS переходит в статус «Полный останов» сразу после включения электропитания или через статус «Холостой ход», после получения команды НО при нахождении модуля AS в статусе «Работа» или сразу после получения команды аварийный останов (АО) при нахождении модуля AS в статусах «Работа» или «Стоп».

После завершения останова антипомпажный клапан полностью открыт (при снятии питания с комплекса, клапан раскрывается автоматически).

Статус продувки выбирается тогда, когда получена команда на продувку в то время, когда модуль AS находится в статусе «Полный останов», либо в статусе «Ручное регулирование» (если это разрешено). При этом модуль AS принудительно закрывает антипомпажный клапан, что заставляет газ при продувке пройти через компрессор. Статус «Продувка» может использоваться при необходимости закрытия АПК в конце аварийного или нормального останова. В этом случае снятие питания с комплекса можно производить только при закрытом кране 6. При необходимости клапан может быть закрыт вручную.

Модуль AS автоматически переходит в статус «Работа» после запуска ГПА и будет находиться в данном статусе до перехода в статус «Ручное управление» или «Стоп». В статусе «Работа» модуль AS функционирует в соответствие с алгоритмами предотвращения помпажа и распределения нагрузки. Модуль AS закрывает клапан, если нет помпажной ситуации.

Модуль AS переходит из статуса «Работа» в статус «Стоп» тогда, когда значение расхода, давления или частоты вращения становится ниже заданной пороговой величины на период времени, превышающий заданный, или когда получен запрос на переход к режиму холостого хода. При этом модуль AS открывает клапан с постоянной скоростью.

Модуль AS может переходить в статус «Ручное управление» (если это разрешено) при проведении пуско-наладочных работ. При этом антипомпажный клапан дистанционно управляется оператором.

Модуль регулирования нагрузки (РН) всех агрегатов поддерживает одинаковое расстояние от линии помпажа Dеv, которая рассчитывается в противопомпажном регуляторе, и может быть отмасштабирована с помощью коэффициентов распределения нагрузки. Заданием на РН всех агрегатов, служит наибольшая DEV из всех передаваемых АР и выбираемая мастером. РН ограничивает давление на выходе нагнетателя на уровне 7,55 МПа.

Модуль регулирования КЦ - Мастер регулятор поддерживает давление на выходе КЦ. Диапазон изменения задания: 3,00-7,50 МПа.

При повышении задания (или когда давление выхода падает ниже задания) мастер посылает сигналы на увеличение оборотов всем работающим модулям РН.

Увеличение задания оборотов каждого агрегата будет осуществляться до достижения давления на выходе цеха заданной величины, до достижения предельного значения одного из ограничиваемых параметров.

Уменьшение задания по оборотам от мастера для каждого агрегата будет осуществляться до достижения давлением на выходе КЦ заданной величины, или до достижения минимальных регулируемых оборотов нагнетателя, или пока DEV не будет меньше 0,06.

Распределение между параллельно работающими ГПА осуществляется по заданному соотношению (равенству) расстояний рабочих точек нагнетателей от линии настройки всех АР, обеспечивая одновременное прибытие рабочих точек нагнетателей от линии настройки своих модулей АР и предотвращая тем самым рециркуляцию одного или нескольких нагнетателей до тех пор, пока есть возможность предотвращения её за счёт распределения нагрузки. Кроме того, повышение задания от мастера прекращается, если на выходе цеха давление станет превышать 7,50 МПа. Мастер переходит в режим ограничения и поддерживает это давление оборотами более активно пока давление не станет ниже 7,53 МПа и мастер контроллер не перейдёт в режим нормального регулирования.

Если давление превысит 7,55 МПа, то включается алгоритм ограничения давления перепуском газа через АПК. АПК всех агрегатов открывается до понижения давления до уставки не более 7,55 МПа.

 

3.4 Программно-аппаратный модуль AFM ПТС Series-4

- программно-аппаратный модуль, предназначен для выполнения различных функций, связанных с управлением агрегата.

Модуль АFM может содержать в себе два вида программного обеспечения: операционную систему управления прикладными программами и аппаратными средствами (FTOS 2 - Fault Tolerant Operating System), предназначенную для обработки входных и выходных сигналов объекта управления, самодиагностики AFM, включая обнаружение программных и аппаратных отказов, обмена информацией по последовательному каналу связи с пультом оператора ГПА - OIS (Series 4 Protocol); организации обмена по последовательному каналу связи с локальными системами автоматизации или средствами представления информации других фирм-изготовителей; обеспечения работы с отладочным средством (Series 4 Protocol); внутреннего обмена управляющих модулей (IOM) с расширителями ввода-вывода (EIOM), входящими в состав комплекса (I/O Bus); прикладное программное обеспечение для выполнения следующих функции управления, а именно: регулирования или ограничения основных параметров ГПА; управления расходом топлива; антипомпажного регулирования; распределения нагрузки между агрегатами; автоматического безударного ввода (вывода) ГПА в магистраль (из магистрали); логического управления и защиты ГПА и так далее.

Каждый из модулей AFM ориентирован на выполнение конкретных задач и может содержать до трех прикладных функций управления. АFM базируется на трех типах аппаратных модулей: IOM, EIOM, MPM./Output Module (IOM) - универсальный управляющий модуль, в котором устанавливается и выполняется программное обеспечение. IOM выполняют соответствующие алгоритмы управления, принимают и выдают (через «Дочерние платы» ввода-вывода - DC) входные и выходные сигналы и обмениваются информацией с системами управления более высокого уровня. Так же могут поддерживать несколько различных комплектов программного обеспечения, которые должны быть логически связаны друг с другом. В зависимости от установленного программного обеспечения модуль выполняет функции GTCC или GTLC.

К транспьютеру - сборщику нормализованных сигналов от датчиков, подключаются (рисунок 3.8):

-       FLASH память объемом до 1 Мб 32-х разрядных слов;

-       оперативное запоминающее устройство (ОЗУ) объемом до 128 Кб 32-х разрядных слов.

Центральным контроллером модуля является 32-х разрядный транспьютер Т805А фирмы Inmos, а контроллером ввода-вывода БИС фирмы Motorola-МС68332. Системная программа пользователя выполняется под руководством транспьютера. БИС формирует четыре последовательных канала, приемники-передатчики, которых не имеют гальванического разделения. К одному из портов (CPI) подключается ПЭВМ при отладке программы.

Кроме того, транспьютер управляет двумя последовательными каналами (PortA и PortB), которые имеют гальваническое разделение. Последовательные каналы PortA и PortB (интерфейс RS 422/RS 485) предназначены для связи с удаленными техническими средствами, в частности, с MOIS. К контроллеру ввода-вывода подключается: системный банк памяти (FLASH память объемом 512 Кб 16-ти разрядных слов); прикладной банк памяти (FLASH память объемом 512 Кб 16-ти разрядных слов); статическое ОЗУ объемом 128 Кб 16-ти разрядных слов. Контроллер ввода-вывода управляет работой последовательного канала RS 485 (Rx, Tx 332), к которому подключаются последовательные каналы модулей расширения ввода-вывода EIOM. Связь с входными и выходными сигналами осуществляется через «Дочерние платы» (DC). Одна или две «Дочерние платы» устанавливаются непосредственно на модуль IOM и тем самым определяют количество и типы сигналов, принимаемых модулем. DC управляются контроллером ввода-вывода.Input/Output Module (EIOM) - модуль расширения ввода-вывода. Для увеличения общего количества сигналов ввода-вывода имеется возможность подключения к модулям IOM по последовательной связи до восьми модулей EIOM. Связь с входными сигналами осуществляется модулем EIOM через такие же «Дочерние платы» (рисунок 3.9), как и IOM.

В качестве контроллера ввода-вывода используется интегральные микросхемы фирмы Motorola - МС 68332, к которым подключены:

-       системная FLASH память объемом до 512 Кб 16-ти разрядных слов; прикладная FLASH память объемом до 512 Кб 16-ти разрядных слов;

-       постоянное запоминающее устройство (ПЗУ) объемом 32 Кб 16-ти разрядных слов; статическое ОЗУ объемом 128 Кб 16-ти разрядных слов;

-       узел управления двумя дочерними платами, через который осуществляется прием и выдача входных-выходных сигналов, поступающих с дочерних плат.

Последовательный канал RS485 (Тх, Rх-332) МС 68332 через приемопередатчики используется для организации связи с контроллерными модулями GTLC, GTCC. По этому каналу передается (принимается) информация, поступающая от объекта управления через дочерние платы.

Помимо увеличения количества входов/выходов, EIOM выполняет первичную обработку входных - выходных сигналов (фильтрацию, калибровку, линеаризацию, контроль пороговых значений и так далее).Processor Module (MPM) - модуль коммуникационный (рисунок 3.10), предназначен для межпроцессорного обмена (Machine Communinication Control (MCC)).

Коммуникационный модуль обеспечивает: обмен информацией между модулями IOM, а именно GTCC и GTLC; связь САУ и Р с вышестоящим уровнем управления.

Центральным контроллером модуля является 32-х разрядный транспьютер Т805А фирмы Inmos. К транспьютеру подключаются:

-       FLASH память объемом 256 Кб, 32-х разрядных слов;

-       большая интегральная схема (БИС) транспьютера формирует четыре последовательных канала, приемники-передатчики которых не имеют гальванического разделения.

К первому и второму каналу транспьютера подключаются модули МРМ для обмена информацией между собой (в случае использования нескольких модулей МPМ в одном устройстве). Третий канал транспьютера выдает (принимает) информацию на (от) передатчик (приемников) девяти последовательных каналов. Для выбора номера канала предназначен регистр адреса и дешифратор, с помощью которых формируется сигнал, поступающий на приемник - передатчик одного из девяти каналов. Четвертый канал транспьютера используется для подключения ПЭВМ при отладке программы. Кроме этого в состав модуля МPМ включены схемы, формирующие четыре последовательных канала, которые имеют гальваническое разделение. При этом в качестве элемента гальванической развязки в каналах А и В используется - трансформатор (с частотой обмена до 10 МГц), в каналах Port A, Port B (с частотой обмена до 38,4 Кбод) - оптопара.

Электропитание модуля EIOM осуществляется от 2-х сетей 24 В, которые поступают на стабилизатор напряжения. На выходе стабилизатора формируется напряжение 5 В.

Блок экстренного аварийного останова (БЭАО) предназначен для реализации экстренного аварийного останова ГПА при полном отказе средств автоматики (одновременный отказ источников первичного электропитания) и управляется оператором от кнопки ЭАО, размещенной на пульте управления, либо автоматически. Алгоритм экстренного аварийного останова заключается во включении пусковых маслонасосов, перестановке топливных клапанов и основных агрегатных кранов в состояние, соответствующее аварийному останову.Turbine Сompressor Control (GTCC) - программно-аппаратный модуль регулирования агрегата (рисунок 3.11), в зависимости от загруженного пакета прикладных программ может выполнять до трех специализированных приложений (функциональных модулей).

Для каждого приложения устанавливается отдельный комплект программного обеспечения, например:

-       модуль управление расходом топлива (GT);

-       модуль антипомпажного регулирования (AS);

-       модуль распределение нагрузки между ГПА (PC).

Стандартные программы регулирования позволяют сконфигурировать модуль на любое частное применение. На него возложены функции автоматического регулирования ГПА.

Модуль решает различные задачи регулирования ГПА, в том числе, например: управление (по различным критериям) расходом топлива через двигатель; антипомпажное регулирование и защита нагнетателя; регулирование процесса; управление устройствами механизации двигателя.

Для выполнения указанных функций модуль GTСC включает в себя три функциональных программных модуля.

Gas Turbine Logic Control (GTLC) - программно-аппаратный модуль логического управления - предназначен для выполнения задач логического управления ГПА и его вспомогательными механизмами и устройствами.

В состав модуля GTLC входят один центральный модуль (рисунок 3.13) IOM (на котором имеется две дочерние платы) и до восьми модулей расширителя EIOM (две дочерние платы на каждом, обеспечивающие необходимое количество входов/выходов.

В модуль IOM загружаются программы, составленные на языке релейной логики, выполняющие конкретные функции по управлению ГПА.

Стандартными функциями модуля являются: выполнение последовательностей по пуску и останову агрегата; обеспечение аварийной защиты и сигнализации; осуществление контроля работы системы, а также координация функций, выполняемых другими модулями. Функции автоматического управления выполняет программно-аппаратный модуль логического управления GTLC. Логическая программа разбита на две функциональные группы, включающие анализ различных условий работы ГПА и исполнение управляющих команд в соответствии с заданным алгоритмом.

Перечень сигналов участвующих в обмене (см. рисунок 3.13) приведен в таблице 3.7.

 
Таблица 3.7 - Перечень каналов связи GTLC-GTCC

№ сигнала

Сигнал

№ сигнала

Сигнал

  1

Давление на всасывании нагнетателя

20

Дистанционное задание частоты вращения СТ

2

Давление в нагнетании нагнетателя

21

Статус функционального модуля GT

3

Температура на всасывании нагнетателя

22

Передача сигналов по частоте вращения СТ, ТВД, ТНД

4

Температура в нагнетании нагнетателя

23

Передача сигналов по температуре продуктов сгорания

5

Перепад давления на конфузоре нагнетателя

24

Передача сигналов по давлению за осевым компрессором

6

Положение АПК

25

Передача сигналов по положению топливного клапана

7

Управление АПК

26

Сигналы по управлению модулями AS, GT, PC в режимах автоматического пуска, НО и АО

8

Частота вращения СТ

27

Аналоговые и дискретные датчики ГПА, используемые в алгоритмах управления

9

Частота вращения ТВД

28

Дискретные датчики положения кранов и ИМ ГПА

10

Частота вращения ТНД

29

Управление вспомогательными ИМ ГПА

11

Температура продуктов сгорания

30

Управление стопорным клапаном

12

Давление воздуха за осевым компрессором

31

Управление крановой обвязкой ГПА

13

Температура наружного воздуха

32

Команда оператора на экстренный аварийный останов, сигналы неисправности модулей GTCC и GTLC

14

Положение топливного регулирующего клапана

33

Передача сигналов по давлению и температуре во всасывании и нагнетании нагнетателя

15

Резервный канал

34

Передача сигналов по положению АПК

16

Управление регулирующим клапаном

35

Статус функционального модуля AS

17

Передача сигнала по частоте вращения СТ

36

Упреждающие сигналы, устраняющие взаимовлияние связанных контуров регулирования AS и PC

18

Помпаж

37

Статус функционального модуля PC

19

Сигнал аварийного останова

38

Расстояние между рабочей точкой нагнетателя и линией настройки антипомпажного регулятора


3.5 Внутренняя программная структура контроллеров GTLC, GTCC


Контроллеры имеют два процессора. Конструктивно, как в GTCC так и в GTLC могут быть подключены EIOM (экстенденты).

В GTLC грузится программный пакет FTOS2 и приложение SEQUENCE, где задается время сканирования входных величин от датчиков агрегата, и составляет 240 мс.

Программа для логического контроллера (CPI), представляет собой язык релейной логики (Loadder logic). CPI находится на вспомогательном компьютере (РС 486, озу 512 кБ). Весь пакет загружается в одну директорию. Редактор работает в DOS. GTLC имеет 2 последовательных порта, их можно конфигурировать на протокол WOIS (связь со станцией оператора) и на протокол OIS (связь с другими контроллерами). Между GTLC и EIOM производится обмен данными по селективной связи (9 - пиновый разъем).

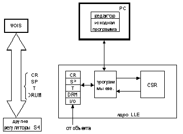
Программное ядро контроллера GTLC (рисунок 3.14) LLE содержит базу данных и исполняемую программу состоящую из регистров (CR, SP) с плавающей запятой (от минус 32762 до +32762); таймер (Т) (для формирования последовательности); барабан DRUM (16х16) (DRM); поле входов - выходов (I/O).

С этой базой работают все внешние контроллеры, WOIS. По окончании цикла, значения этой базы обновляются.

Существуют также отдельные подпрограммы (customer subroutine (CSR)). Это подпрограммы для перестановки кранов, подсчета моточасов и тому подобного. DRUM - логическое устройство для выполнения микропрограмм. Организация 16Х16, количество шагов (микропрограмм) барабана 16. Шаг выполняется по условиям выполнения элементами своих функций.

3.6 Устройство связи с объектом

Termination Assembly (FTA) - устройство связи с объектом предназначено для:

-       сопряжения комплекса «Series 4» с входными и выходными каналами объекта управления;

-       установки вторичных преобразователей для нормализации, гальванического разделения и усиления входных и выходных сигналов.

На FTA расположены клеммники, к которым подсоединяются кабели от датчиков и исполнительных механизмов.

Используются следующие типы FTA:

-       SFTA служит для подключения частотных до 6 входных и выходных дискретных сигналов к GTCC;

-       FTA-43 служит для подключения, запитывания, нормализации и гальванического разделения через вторичные преобразователи, 16 аналоговых входных сигналов от первичных преобразователей температуры (термопреобразователей сопротивления (ТС), термоэлектрических преобразователей (ТП), токовых сигналов величиной 4..20 мА) и датчиков, имеющих выходной сигнал 4..20 мА или 0..5 В;

-       FTA-52 служит для приема 19 сигналов от двухпозиционных датчиков объекта, и установки преобразователей для гальванического разделения и нормализации дискретных сигналов;

-       FTA-62 служит для гальванического разделения и усиления 18 выходных сигналов управления исполнительными механизмами технологического объекта с одновременным контролем исправности цепи управления (по требованию заказчика).

3.7 Построение системы МСКУ 4510-СГ


3.7.1 Порты последовательной связи

Обмен информацией между регуляторами осуществляется через порты последовательной связи. Для этого регуляторы соединяются по принципу «Общей шины». По этим каналам осуществляется передача команд на пуск и останов компрессоров, синхронизация работы регуляторов скорости и нагрузки с противопомпажными регуляторами, передача заданий от главного регулятора, и другие виды коммуникаций внутри САУ.

Все регуляторы нагрузки и антипомпажные регуляторы соединены между собой через порт 1, которые являются самым быстродействующим. Поэтому порту осуществляется передача информации от антипомпажных регуляторов регуляторами нагрузки. По порту 2 осуществляется связь всех регуляторов со станционным главным регулятором (рисунок 3.15).

По этому порту главный регулятор собирает данные о расстоянии рабочих точек каждого компрессора от границы помпажа для формирования заданий на перераспределение нагрузки между ГПА, которое он передаёт также по этому порту.

Порт 3 связывает регуляторы нагрузки с регуляторами скорости. К порту 4 подключается стандартный персональный компьютер, в который загружается программа Workstation Operator Interface Software (WOIS) .

Для подключения большого количества регуляторов к компьютеру требуется плата расширения портов (DigiBord). Обмен информацией между компьютером и системой управления производится по унифицируемому протоколу МODBUS. Через этот порт производится также ввод и корректировка параметров регуляторов с помощью программы TOOLBOX, как через рабочий компьютер, так и через подключаемый LAPTOP (переносной NoteBook), полключаемый к порту COM2 рабочего компьютера.

 

3.7.2 Пульт оператора

Пульт оператора предназначен для индивидуального управления ГПА при помощи операторской станции, а также для управления совокупностью (до 8) ГПА с любыми типами приводов, входящих в состав цеха и общецеховым оборудованием при помощи пульта оператора цехового уровня SHOIS (Shop Operator Interface Station).

В его функции входит обеспечение представления необходимой информации и выдачу команд управления с помощью программно-технического комплекса на базе ПЭВМ, организация обмена информацией с комплексами автоматики верхнего (нижнего) уровня, обеспечение информационных функций комплекса «Series 4», организация комфортного рабочего места оператора.

Индивидуальный пульт управления (ПУ) может содержать до 10 командных управляющих клавиш (согласованных с заказчиком), например: больше - меньше; НО; АО; экстренный аварийный останов; деблокировка экстренного аварийного останова; включение пиропатронов (для АСП).module (IM) - индикационный модуль представляет собой информационное цифровое 6 знаковое табло, на котором постоянно отображается один из параметров системы. Обычно комплекс содержит три IM, на которых, например, отображаются: частота вращения ТН, температура продуктов сгорания, перепад давления масло - газ.Operator Interface Station (MOIS) - станция контроля и управления ГПА (станция операторская) представляет собой аппаратно - программный модуль предназначенный для контроля и управления технологическим процессом в составе комплекса «Series 4».включает в себя персональный компьютер IBM PC (Pentium с ОЗУ не менее 16 Mб), работающий под управлением MS WINDOWS 95 (MS Windows 3.11 или MS Windows for Work Groups), пакет прикладных программ WOIS, а также технологический интерфейс оператора ГПА.

4. Разработка программы управления технологическим процессом ГПА-Ц-16

.1 Инструментальная система программирования промышленных контроллеров

Прикладное программное обеспечение (ПО) современных программируемых логических контроллеров (ПЛК), имеющих встроенную операционную систему, может быть разработано как с использованием традиционных инструментальных средств (компиляторы языков СИ, Паскаль, Фортран, Бейсик и т.д.), так и на основе специализированных языковых средств. Традиционная технология требует от разработчика знаний не только в области использования языков программирования, но и особенностей операционной системы, а также аппаратных возможностей данного контроллера и организации системы ввода/вывода. При этом разработанное ПО будет привязано только к данному типу контроллера и не может быть перенесено на другую аппаратно-программную платформу. Потребность в специальных платформах - независимых языках программирования - возникла давно. Она послужила причиной объединения усилий ведущих производителей контроллеров по разработке под эгидой Международной Электротехнической Комиссии (МЭК) стандартов на такие языки программирования ПЛК. Одной из первых реализации стала инструментальная система ISaGRAF.

4.1.1 Архитектура ISaGRAF

Система ISaGRAF состоит из двух частей: системы разработки ISaGRAF Workbench и системы исполнения ISaGRAF Target. Система разработки представляет собой набор Windows-приложений, интегрированных в единую инструментальную среду и работающих под операционной системой (ОС) Windows 95/98/NT.

Основу системы исполнения составляет набор программных модулей (для каждой целевой системы свой), выполняющих самостоятельные задачи, под управлением ядра ISaGRAF.

Ядро ISaGRAF реализует поддержку стандартных языков программирования, типового набора функций и функциональных блоков и драйверов ввода/вывода. Задача связи обеспечивает поддержку процедуры загрузки пользовательского ISaGRAF-приложения со стороны программируемого контроллера, а также доступ к рабочим переменным этого приложения со стороны отладчика системы разработки ISaGRAF. Взаимодействие систем разработки и исполнения осуществляется по протоколу MODBUS, что дает возможность доступа к данным контроллера не только отладчику ISaGRAF, но и любой системе визуализации и управления данными (SCADA). Драйверы устройств сопряжения с объектом организуют прозрачный доступ к аппаратуре ввода/вывода. Функции пользователя реализуют процедуры и алгоритмы функций. Системные функции предназначены для описания специфики конкретной (ОС), реализованной на данном типе контроллеров.

.1.2 Языки программирования, реализованные в ISaGRAF

В ISaGRAF заложена методология структурного программирования, позволяющая пользователю представить автоматизированный процесс в наиболее легкой и понятной форме. Стандартом IEC 61131-3 определяется пять языков: три графических (SFC, FBD, LD) и два текстовых (ST, IL) Помимо этих языков, ISaGRAF предлагает язык блок-схем (Flowchart). Все эти языки программирования интегрированы в единую инструментальную среду и работают с едиными объектами данных.

SFC - язык последовательных функциональных схем, с помощью которого программа представляется последовательностью шагов, разделяемых переходами. Язык хорошо приспособлен для программирования задач логического управления.

FBD - графический язык диаграмм релейной логики. Язык удобен для программирования задач, например, вычислительного характера, решение которых может быть представлено функциональной схемой, состоящей из таких блоков, как сложение, умножение, интегрирование и т. д.

LD - язык релейных (лестничных) диаграмм или релейной логики. Язык удобен для программирования несложных булевых операций и для решения задач в виде релейно-контактных схем автоматики.

ST - язык структурированного текста. Относится к классу языков высокого уровня, похожих на Паскаль, удобен для программирования сложных процедур, которые трудно описать графическими языками.- язык инструкций - язык низкого уровня, похож на Ассемблер и является высокоэффективным для небольших программ и для оптимизации отдельных частей сложных программ, если требуется высокое быстродействие.

Из выше перечисленных языков выбираем язык FBD, так как он наиболее приемлем как по уровню, так и по синтаксису, и удобен для реализации сложных алгоритмов и процедур.

4.1.3 Программирование контроллера

Работа начинается с создания проекта в ISaGRAF (File - New). В описании проекта можно указать автора проекта, его название. В самом проекте создается программа, при этом надо указать, какой язык программирования будет использоваться (Languare - New Program), тип программы (начальная, последовательная, конечная).

Перед тем как вводить текст программы, необходимо объявить используемые в ней переменные (Dictionary - Global variables) (по типу: булевые, аналоговые, таймерные, сообщения, функциональные блоки; по виду: внутренние, входные, выходные).

После ввода текста необходимо проверить программу на наличие ошибок (Files - Verify). И только после этого производят присоединение переменных ввода/вывода к платам и подсоединение переменных для наблюдения за изменениями сигналов.

 

4.1.4 Программирование на языке ST

ST (Structured Text) - текстовый высокоуровневый язык общего назначеня, по синтаксису ориентированный на Паскаль. Язык по умолчанию используется для описания действий внутри шагов и переходов.

ST программа - это список ST операторов. Каждый оператор заканчивается точкой с запятой.

Имена, используемые в исходном коде (идентификаторы переменных, константы, ключевые слова) разделены неактивными разделителями (пробелами, символами окончания строки и табуляции) или активными разделителями, которые имеют определенное значение (например, разделитель «>» означает сравнение «больше чем»). В текст могут быть введены комментарии. Комментарий должен начинаться с «(» и заканчиваться «)». Каждый оператор заканчивается точкой с запятой («;»).

Основные операторы языка ST:

-   оператор присвоения (variable:=expression);

-        вызов подпрограммы или функции;

         вызов функционального блока оператор условия (IF, THEN, ELSE);

         оператор выбора (CASE);

         итеративные (циклические) операторы (FOR, WHILE, REPEAT);

         управляющие операторы (RETURN, EXIT);

         специальные операторы для связи с такими языками как SFC.

Оператор присвоения:

«:=» - присваивает переменной значение некоторого выражения или константы: <переменная>:= <любое выражение или константа>.

Булевые операторы:

NOT, AND, OR, XOR.

Операторы сравнения:

<, >, =, <=, >=.

Оператор RETURN

RETURN завершает выполнение текущей программы. В блоке операций на языке SFC оператор RETURN обеспечивает конец выполнения блока.

Оператор IF-THEN-ELSE<условие> then <список операторов 1>: end_if;

4.2 Составление алгоритма и разработка программы пуска, нормального останова и выхода в режим «Магистраль» ГПА-Ц-16


.2.1 Запуск ГПА

Пуск осуществляется автоматически. При наличии предпусковых условий. На пульте управления нажать на кнопку «Пуск» и проконтролировать по индикации выход агрегата на режим «Кольцо» в следующей последовательности:

         звуковой сигнал в отсек двигателя и нагнетателя в течение 10 с;

         включение индикации «Алгоритм автоматического пуска»;

         включение питания электродвигателя стартера;

         включение пускового насоса смазки (ПНС);

         включение пускового насоса уплотнения (ПНУ);

         при достижении перепада давления «Масло-газ» больше 0,12 МПа открытие крана № 4;

         по истечении 20 с закрытие крана № 5;

         открытие крана № 1;

         закрытие крана № 4;

         открытие клапана Amot;

         включение индикации «Запуск ГПА»;

         сигнал на включение электродвигателя стартёра;

         полностью открыт АПК (клапан № 6а);

         включается зажигание в камере сгорания.

Турбина начинает раскручиваться. Если не раскрутилась за 30 секунд, то срабатывает аварийная сигнализация.

В момент срабатывания конечного выключателя раскрутки ТВД больше 2600 об/мин:

         снятие питания с электродвигателя стартёра;

         включение вентиляторов воздухоочистительного устройства (ВОУ);

         включение вентиляторов обдува двигателя;

         выключается агрегата зажигание (АЗ) в КС.

При увеличении оборотов ТВД до 5900 об/мин пусковая последовательность заканчивается:

         отключение индикации - «Запуск ГПА»;

         включение индикации - «Кольцо».

.2.2 Магистраль

Переход в режим «выход на магистраль»:

оператор выбирает на панели управление кнопку «Магистраль»;

режим «Кольцо» сменяется режимом «Переход кольцо-магистраль»;

- открывается кран 2;

- после прихода сигнала «Кран 2 открыт» закрывается кран 6а.

При полном закрытии крана 6а обобщенный режим «Переход кольцо-магистраль» сменяется режимом «Работа в магистраль».

4.2.3 Нормальный останов ГПА

Вывод ГПА в режим «Нормальный останов» осуществляется из режима «Кольцо» или «Магистраль» нажатием кнопки «Нормальный останов» на панели управление. При этом САУ отрабатывает следующую последовательность действий:

если ГПА находился в режиме «Работа в магистраль», происходит переход из магистрали в кольцо;

после того, как ГПА перейдет в кольцо включается «РЧВ вниз» и устанавливается таймер 300 секунд;

охлаждение двигателя продолжается 300 секунд, после чего устанавливается режим «Останов двигателя» и выдаются команды на закрытие крана 12 и СК, открытие крана 9;

после того, как закроется кран 12 и СК и обороты ТДВ снизятся до 1300 об/мин, а обороты СТ до 300 об/мин, закрываются краны 6 и 1 и включается 300-секундный таймер «Охлаждение узлов ГПА»;

устанавливается режим «Стравливание контура», открывается кран 5. Давление на входе и выходе нагнетателя устанавливается ниже 0,5 МПа;

по окончании стравливания выставляется режим «Охлаждение узлов ГПА», отключается ПНУ, вентиляторы воздухоочистительного устройства и обдува двигателя;

по достижению СТ нулевых оборотов отключается ПНС;

по достижению ТВД нулевых оборотов режим нормального останова ГПА оканчивается, устанавливается обобщенный режим «Холодный резерв без газа».

Выходные переменные^

Питание электропривода топливного клапана

Открыть клапан №6а

Открыть кран №1

Закрыть кран №1

Открыть кран №4

Закрыть кран №4

Открыть кран №5

Закрыть кран №5

Включить питание электропривода стартера

Включить электропривод вентиляторов ВОУ

Включить вентилятор обдува двигателя

Отключить электропривод вентиляторов ВОУ

Отключить вентилятор обдува двигателя

Включить ПНС

Включить ПНУ

Выключить ПНС

Выключить ПНУ

Включить электродвигатель стартера

Включить зажигание в камере сгорания

Отключить агрегат зажигания в камере сгорания

Включить индикацию «Алгоритм автоматического пуска»

Включить индикацию «Запуск ГПА»

Отключить индикацию «Запуск ГПА»

Включить индикацию «Кольцо»

Включить индикацию «Переход кольцо-магистраль»

Открыть кран №2

Закрыть клапан №6а

Включить индикацию «Работа в магистраль»

Включить индикацию «Нормальный останов»

Открыть клапан №6а

Закрыть кран №2

Включить «РЧВ вниз»

Включить индикацию «Останов двигателя»

Закрыть кран №12

Закрыть кран ск

Открыть кран №9

Закрыть кран №6

Закрыть кран №1

Включить индикацию «Стравливание контура»

Открыть кран №5

Включить индикацию «Охлаждение узлов ГПА»

Включить индикацию «Холодный резерв без газа»

Таймерные переменные.


Включить таймер на 10 секунд

Включить таймер на 20 секунд

Включить таймер на 30 секунд

Включить таймер на 300 секунд

Включить таймер «Охлаждение узлов ГПА» на 300 секунд

Входные переменные.


Команда «Пуск»

PUSK

Сигнал об окончании выдержки времени 10 секунд

Сигнал об окончании выдержки времени 20 секунд

Сигнал об окончании выдержки времени 30 секунд

Сигнал об окончании выдержки времени 300 секунд

Сигнал об окончании выдержки времени 300 секунд

Перепад давления в системе «Масло - газ» 0,12 МПа

dP_0.12

Кран №4 открыт

Кран №1 открыт

Кран №5 закрыт

Кран №4 закрыт

Кран Amot открыт

Частота вращения вала силовой турбины 2600 об/мин

n2600

Частота вращения вала силовой турбины 5900 об/мин

n5900

Команда «Магистраль»

Сигнал на открытие крана №2

Кран №2 открыт

Клапан №6а закрыт

Переход в режим «Кольцо»

Команда «Работа в магистраль»

Сигнал на открытие клапана №6а

Клапан №6а открыт

Сигнал на закрытие крана №2

Кран №2 закрыт

Переключение на кольцо

Частота вращения вала силовой турбины 300 об/мин

n300

Частота вращения вала ТВД 1300 об/мин

n1300

Давление на входе и выходе нагнетателя 0,5 МПа

dP_0.5

Частота вращения вала силовой турбины 0 об/мин

Частота вращения вала ТВД 0 об/мин



5. Охрана труда и техника безопасности

Темой данного дипломного проекта, как уже отмечалось выше, является автоматизация газоперекачивающего агрегата дожимной компрессорной станции «Газпром добыча Уренгой»

С целью обеспечения безопасности производства при монтаже и эксплуатации средств автоматизации, в данном разделе необходимо дать характеристику производственной среды, в которой производится автоматизация, сделать анализ производственных опасностей и вредностей. Безопасность производства и экологическая безопасность, на данном объекте, должны соблюдаться при всех видах работ, связанных с монтажом, обслуживанием и наладкой средств автоматизации. Несоблюдение требований охраны труда и техники безопасности на данном объекте может привести к производственным травмам, отравлениям.

Вследствие увеличения надёжности работы системы автоматизации рассматриваемый объект становится более безопасным и безвредным. При соблюдении техники безопасности во время всех видов работ исключается возможность возникновения аварийных ситуаций, взрывов, пожаров и получения производственных травм.

5.1 Анализ производственных опасностей и вредностей

Первичные датчики устанавливаются непосредственно на технологические объекты (трубопроводы, аппараты, емкости), где в процессе эксплуатации системы рабочей средой является природный газ, а вторичные приборы в операторной.

Производственные опасности и вредности могут быть обусловлены следующими факторами:

- отравление вредными веществами природного газа (таблица 5.1);

-  возможность взрыва и пожара при неисправностях и авариях, в результате возникновения смеси перекачиваемого газа с воздухом, нижний предел взрываемости которой - 5%, верхний - 15%, согласно ПОТ Р М-026-2003 «Межотраслевые правила по охране труда при эксплуатации газового хозяйства организаций» (таблица 5.2);

-       поражение электрическим током до 1 кВ в результате соприкосновения с токоведущими частями, при монтаже, ремонте и эксплуатации средств автоматизации в летний период времени;

- опасность прямых ударов молнии, что может привести к пожару и поражению обслуживающего персонала;

-   опасность получения механических травм у обслуживающего персонала при проведении работ по монтажу, наладке и ремонту измерительных преобразователей;

-  наличие в трубопроводе высокого давления (менее 6,5 МПа) при неправильном регулировании или неисправности регулятора может вызвать деформацию трубопровода;

- воздействие шума и вибрации от газоперекачивающего агрегата, как на приборы, так и на обслуживающий персонал (возникающей от пульсации давления перекачиваемого газа);

- недостаточное освещение в местах установки средств автоматизации, вызывающее повышенную утомляемость, замедление реакции.

Для поддержания пожаробезопасного режима эксплуатации ДКС, здания, помещения и сооружения классифицируются по взрыво- и пожаробезопасности НПБ 105-03 и ПУЭ (7 издание). Согласно этой классификации на дверях зданий, помещений и сооружений вывешиваются знаки с надписями соответствующей классификации (таблица 5.2).

Таблица 5.1 - Взрывопожароопасные и токсические свойства природного газа на дожимной компрессорной станции

Наименование показателей

Значения

Агрегатное состояние

Г

Класс опасности вещества

4

Температура самовоспламенения, ºС

537

Температура вспышки, ºС

-

Нижний концентрационный предел взрываемости, %

5

Верхний концентрационный предел взрываемости, %

15

Предельно допустимая концентрация вещества в воздухе рабочей зоны

300


Таблица 5.2 - Взрывопожарная и пожарная опасность, санитарная характеристика отсека нагнетателя ГПА

Наименования показателей

Значения

Категория взрывопожароопасной и пожарной опасности зданий и помещений (НПБ 105-03)

А

Класс взрывопожароопасной или пожарной зон (ПУЭиПБ 08-624-03)

В-1А

Категория и группа взрывопожароопасных смесей P51330.5-99, P51330.11-99

II-A, T1


5.2 Мероприятия по обеспечению безопасных и безвредных условий труда

В данном разделе приведены правила и требования, которые необходимо соблюдать, чтобы избежать воздействия вредных и опасных производственных факторов, рассмотренных ранее в разделе 5.1.

.2.1 Мероприятия по технике безопасности

К выполнению работ допускаются лица, обученные технологии проведения работ, правилам пользования средствами индивидуальной защиты, способам оказания первой помощи, не имеющие медицинских противопоказаний, аттестованные и прошедшие проверку знаний в области промышленной безопасности (согласно ПБ 08-624-03, ПБ 12-529-03, ПУЭ (7 издание)). Инструктажи допуска персонала к самостоятельной работе соответствуют требованиям ГОСТ 12.0.004-99.

Все работы, связанные с монтажом, наладкой, обслуживанием и ремонтом технических средств автоматизации, производятся в соответствии со следующими нормативно-техническими документами:

- «Правила технической эксплуатации электроустановок потребителей» (ПТЭ);

- «Правила устройства электроустановок» (ПУЭ, 7 издание);

-  «Правила технической эксплуатации магистральных газопроводов» BP Д 39-1.10-069-2002;

- «Правила пожарной безопасности в РФ» ППБ 01-03.

Для обеспечения безопасной работы в процессе монтажа, эксплуатации, ремонта и технического обслуживания контрольно-измерительных приборов и автоматики предусматривается следующее:

-  полная герметизация технологического процесса в соответствии с «Правилами устройства и безопасной эксплуатации сосудов, работающих, под давлением» ПБ 03-576-03;

-       приборы и средства автоматизации, устанавливаемые на технологическом оборудовании, имеют маркировку взрывозащиты lExdIIBT4 в соответствии ГОСТ 12.2.020-76;

-       применение малых напряжений для питания переносных электроинструментов и светильников, изолирование токоведущих частей и ограждение устройств, содержащих средства автоматизации.

Конструкция устройств комплекса обеспечивает защиту обслуживающего персонала от поражения электрическим током в соответствии с ГОСТ 12.2.003-74, ГОСТ 12.2.007-75, ГОСТ 26.205-83.

Каждое устройство комплекса имеет болт защитного заземления. Требования к заземлению определяется по ГОСТ 12.2.007-75. Питание электрической схемы ГПА осуществляется от внешнего источника трехфазного переменного тока напряжением 220/380 В частотой 50 Гц.

Для обеспечения безопасных условий труда принимаются следующие меры:

-  к работе допускаются лица, прошедшие инструктаж по технике безопасности и сдавшие экзамен в соответствии с ПУЭ (7 издание);

- защитная изоляция электрических устройств и токоведущих частей в соответствии с техническими условиями ( 0,5 МОм);

- все части устройств, находящихся под напряжением размещены в корпусах, обеспечивающих защиту обслуживающего персонала от прикосновения к деталям, находящихся под напряжением;

- корпуса устройств заземляются (4 Ом). Измерение сопротивления заземляющего устройства производится не реже одного раза в год.

5.2.2 Мероприятия по промышленной санитарии

В связи с тем, что в цехе производится очистка природного газа, необходимо уделять особое внимание мероприятиям по промышленной санитарии.

Для предупреждения от загрязнения кожи и органов дыхания газовым конденсатом и природным газом эксплуатационный персонал обеспечен соответствующей спецодеждой: рукавицами, обувью, шланговыми и изолирующими противогазами.

На каждом рабочем месте находятся в необходимом количестве дежурные противогазы, диэлектрические перчатки, резиновые коврики и медицинская аптечка. Кроме того, при проверке на загазованность и работе в местах возможного скопления газа (колодцах, резервуарах) персонал обеспечивается шланговыми противогазами ПШ1 или ПШ2, газоанализаторами. Противогазы хранятся вместе с инструментом предназначенным для устранения аварии в опломбированном ящике в операторной КИП и А.

В помещениях возможно повышение загазованности рабочих мест, как следствие необходима вентиляция. Для предотвращения образования ПДК природного газа используется приточно-вытяжная вентиляция с механическим побуждением. Предусмотрено две аварийно вытяжные установки, включаемые при достижении 20% нижнего предела взрываемости по метану от газоанализаторов.

Для ограничения воздействия шума и вибрации от газоперекачивающего агрегата на персонал при монтаже, эксплуатации, ремонте контрольно-измерительных приборов применяются дополнительные средства по звукоизоляции аппаратов и оборудования цеха. Также для ограничения воздействия шума на обслуживающий персонал предусмотрено применение звукоизолирующих наушников.

На рабочих местах слесарей КИП и А предусмотрено рабочее и аварийное освещение. Напряжение сети рабочего и аварийного освещения равно 220 В. Для аварийного и рабочего освещения предусмотрены светильники ВЗГ-200 (взрывозащищенное исполнение) с освещенностью равной 50 лк. Естественное освещение предусмотрено через оконные панели.

5.2.3 Мероприятия по пожарной безопасности

Общие требования к системе предотвращения пожара изложены в ППБ 01-03 «Правила пожарной безопасности в Российской Федерации». Категории взрывопожарной опасности зданий и помещений устанавливаются в соответствии с ВППБ 01-04-98 «Правила пожарной безопасности для предприятия и организаций газовой промышленности».

Система предотвращения взрыва на установке соответствует «ССБТ. Взрывобезопасность. Общие требования» ГОСТ 12.1.010-76 (1999).

Для обеспечения пожарной безопасности на рассматриваемом объекте предусмотрены следующие мероприятия:

-       датчики имеют маркировку взрывозащиты «0ExiaIICT6» и устанавливаются во взрывоопасных зонах помещений, соответствующих гл. 7.3.72 ПУЭ (7 издание);

-       монтаж искробезопасных цепей выполнен согласно главам 7.3.72, 7.3.117 ПУЭ (7 издание).

Взрыво- и пожароопасные помещения оборудованы системами автоматического пожаротушения и пожарной сигнализации. Каждый газоперекачивающий агрегат представляет собой блочную автоматизированную установку, все оборудование которой размещается в отдельных блоках. Пожарную защиту блоков агрегата обеспечивает автоматическая система пожаротушения (), которая поставляется вместе с агрегатами и включает в себя средства обнаружения пожара, системы сигнализации, управления, пожаротушения. При регламентных работах в отсеках нагнетателя и двигателя двери отсека должны быть открыты. Срабатывание агрегатной системы происходит: автоматически, дистанционно или вручную.

При возникновении пожара в отсеках двигателя или нагнетателя сигнал от пожарных датчиков, входящих в комплект МСКУ, приводит в действие систему пожаротушения. Электрический импульс поступает к пиропатронам клапанов соответствующих распределительных устройств и одновременно к пиропатронам головок баллонов с огнегасящим веществом, открывая их. Углекислый газ из баллонов выходит в коллектор, далее по трубопроводу поступает в помещение и распределяется насадками, установленными над оборудованием.

Автоматический пуск установки газового пожаротушения дублируется дистанционным и ручным по месту. Дистанционный пуск осуществляется от электрических кнопок установленных в блоке автоматики агрегатов и на главном щите. Дистанционное и местное включение установок пожаротушения необходимо производить, убедившись в отсутствии людей в защищаемом помещении. Входить в помещение после тушения пожара без изолирующего противогаза разрешается только после тщательного проветривания.

Взрыво- и пожароопасные помещения, здания и сооружения оборудованы аварийной вентиляцией, включаемой автоматически от сигнализаторов. Кроме автоматического включения систем аварийной вентиляции предусмотрено и ручное дистанционное их включение с расположением пусковых устройств у входной двери снаружи здания.

При срабатывании системы пожарной сигнализации происходит отключение приточной и вытяжной вентиляции, где произошло срабатывание. Электрические манометры и средства автоматизации имеют взрывоопасный уровень защиты, маркировку взрывозащиты - IExdIIBT4 и предназначены для применения во взрывоопасных зонах. Взрывонепроницаемая оболочка, в которую заключены все электрические части, выдерживают давление взрыва и исключают передачу взрыва в окружающею взрывоопасную среду. Шкаф МСКУ расположен в отдельном помещении КЦ в целях взрывобезопасности.

На площадке ДКС установлено четыре резервуара (емкостью 700 м3 каждый) хозяйственно-производственного и противопожарного запаса воды с огневым подогревом. Предусмотрена конструкция забора воды из резервуаров пожарными машинами. К резервуарам обеспечен свободный подъезд пожарных машин.

При обслуживании системы пожарного водоснабжения необходимо:

-       не допускать утечек воды в системе;

-       поддерживать необходимый температурный режим в блок-боксе насосной станции;

-       в пожарном резервуаре контролировать уровень воды и своевременно его пополнять.

Предусмотрена молниезащита здания КЦ двумя молниеприемниками высотою 25 метров согласно РД 34.21.122-87 (категория II, зона Б).

5.3 Мероприятия по борьбе с шумом

Данным подразделом решаются вопросы определения расчётным путём размеров санитарно-защитной зоны (СЗЗ) по шуму и расчёт уровней звукового давления (УЗД) рабочей зоне для ДКС. Паспортные данные ГПА-Ц-16 представлена в таблице 5.3.

Для снижения шума на ДКС проектом предусмотрена звукоизоляция газовой обвязки ГПА следующей конструкции:

-       маты из стекловолокна, МС-50, толщиной 40 мм;

-       лента ПВХ-БК 2 слоя;

-       лист алюминиевый, толщиной 1 мм.

Программа предусматривает расчёт СЗЗ по шуму с учётом мероприятий по защите от шума. Расчёт СЗЗ по шуму проводился на основании формулы:

 ,                            (5.1)

где r- расстояние до расчётной точки, м;

Ва - коэффициент затухания звука в атмосфере, Дб/км;

Ф - фактор направленности излучения источника, б/р;

U - пространственный угол, в котором излучается шум, U = 6,28 стедиан;

Ln - допустимый уровень шума для жилых посёлков, Дб;

Lp - уровень звуковой мощности источника, Дб;

L - суммарная эффективность средств шумопоглащения агрегата, Дб;

N - количество агрегатов.

Таблица 5.3 - Паспортные данные ГПА-Ц-16

Показатель

Среднегеометрические частоты, Гц


63

125

250

500

1000

2000

4000

8000

, Дб/км

0

0,3

1,1

2,8

5,2

9,6

25,0

83,0

Ф, б/р

1

4

1

1

2

2

4

1

, Дб/км

0

0,3

1,1

2,8

5,2

9,6

25,0

83,0

, Дб

122

122

114

116

115

113

110

104

L, Дб

7

14

26

34

39

42

43

41


Основными источниками шума на ДКС являются газоперекачивающие агрегаты.

Для уменьшения активных уровней звуковой мощности агрегатов на них применены шахтные (шумоглушители всасывания и выхлопа) средства шумоглушения разработанные и внедрённые заводом изготовителем Сумским НПО им. Фрунзе.

Результаты расчета санитарно - защитной зоны представлены в таблице 5.4.

Таблица 5.4 - Результаты расчёта СЗЗ по шуму

Среднегеометрические частоты

, Дб

L, Дб

, Дб/км

r, м

63

95

7

0

8

125

87

14

0,3

18

250

82

26

1

1

500

78

34

2,8

1

1000

75

39

5,2

1

2000

73

42

9,6

49

4000

71

43

25

1

8000

69

41

83

42


Из таблицы видно, что санитарно допустимые значения УЗД для рабочей зоны достигаются на расстоянии 18 м от источника шума. А ближайшие помещения с рабочими местами расположены на расстоянии около 60 м от самих ГПА (рисунок 5.1).

Следовательно, шумовое воздействие от агрегата не превысит санитарно - защитные нормы.

Рисунок 5.1 - План площадки ДКС

6. Расчет экономической эффективности внедрения системы автоматизации Series-4

 

.1 Методика расчета экономической эффективности инвестиций


Инвестиции - средства (денежные средства, ценные бумаги, иное имущество, в том числе и имущественные права, имеющие денежную оценку), вкладываемые в объекты предпринимательской и (или) иной деятельности с целью получения прибыли и (или) достижения иного полезного эффекта.

Различаются:

капиталообразующие инвестиции, обеспечивающие создание и воспроизводство фондов; состоят из капитальных вложений, оборотного капитала, а также, иных средств, необходимых для проекта;

портфельные инвестиции - помещение средств в финансовые активы.

Капитальные вложения - инвестиции в основной капитал (основные средства), в том числе затраты на новое строительство, расширение, реконструкцию и техническое перевооружение действующих предприятий, приобретение машин, оборудования, инструмента, инвентаря, проектно-изыскательные работы и другие затраты.

Анализ эффективности инвестиционного проекта основывается на моделировании денежных потоков, складывающихся в течении всего срока жизни проекта.

Проект - комплекс действий (работ, услуг, приобретений, управленческих операций и решений), направленных на достижение сформулированной цели.

Инвестиционный проект - обоснование экономической целесообразности, объема и сроков осуществления капитальных вложений, в том числе необходимая проектно-сметная документация. Эффективность инвестиционного проекта характеризуется системой показателей, отражающих соотношение затрат и результатов применительно к интересам его участников.

Необходимо различать понятия: экономическая эффективность и экономический эффект. Под экономическим эффектом в общем случае понимается величина экономии затрат в рублях в результате осуществления какого-либо мероприятия или их совокупности. В традиционных технико-экономических расчетах чаще всего используется величина годового экономического эффекта, то есть экономии средств за год. Под экономической эффективностью понимается относительная величина, получаемая в результате сопоставления экономического эффекта с затратами, вызвавшими этот эффект. Причем это может быть простое отношение эффекта к соответствующим затратам и более сложные отношения.

Денежный поток (поток реальных денег) складывается из всех притоков и оттоков денежных средств в некоторый момент времени (или на некотором шаге расчета).

Приток денежных средств равен величине денежных поступлений (результатов в стоимостном выражении) на соответствующем шаге. Отток равен платежам (затратам) на этом шаге.

Срок жизни проекта (расчетный период) должен охватывать весь жизненный цикл разработки и реализации проекта вплоть до его прекращения. Срок жизни проекта включает в себя следующие основные стадии (этапы): инвестиционную, эксплуатационную, ликвидационную.

Для оценки эффективности инвестиционных проектов применяется метод дисконтированной оценки, который базируется на учете временного фактора. Данный метод учитывает временной фактор с позиции стоимости денег в будущем. Данный метод учитывает временной фактор с позиции стоимости денег в будущем. В соответствии с методическими рекомендациями оценка эффективности инвестиционных проектов предусматривает расчет следующих показателей:

         чистый дисконтированный доход (ЧДД);

-        индекс доходности инвестиций (ИД);

         внутренняя норма доходности (ВНД);

         срок окупаемости инвестиций (СО).

Расчетный период разбивается на шаги, в пределах которых производится агрегирование данных, используемых для оценки финансовых показателей. Шаги расчета определяются их номерами (0, 1, …). Время в расчетном периоде измеряется в годах или долях года и отсчитывается от фиксированного момента, принимаемого за базовый (обычно в качестве базового принимается момент начала или конца нулевого шага).

Норма дисконта (приведения) отражает возможную стоимость капитала, соответствующую возможной прибыли инвестора, которую он мог бы получить на ту же сумму капитала, вкладывая его в другом месте, при допущении, что финансовые риски одинаковы для обоих вариантов инвестирования. Другими словами, норма дисконта должна являться минимальной нормой прибыли, ниже которой предприниматель счел бы инвестиции невыгодными для себя.

Для инвестиционного проекта в качестве нормы дисконта иногда используется ставка процента по долгосрочным ссудам на рынке капитала или ставка процента, которая уплачивается получателем ссуды.

Если рассчитанный ЧДД положителен, то прибыльность инвестиций выше нормы дисконта и проект следует принять. Если ЧДД равен нулю, то прибыльность равна норме дисконта. Если ЧДД меньше нуля, то прибыльность инвестиций ниже нормы дисконта и от этого проекта следует отказаться. При сравнении альтернативных проектов предпочтение должно отдаваться проекту с большим значением ЧДД.

Важнейшим показателем эффективности инвестиционного проекта является чистый денежный доход (другие названия ЧДД - интегральный экономический эффект, чистая текущая приведенная стоимость, чистая текущая стоимость, Net Present Value, NPV) - накопленный дисконтированный эффект за расчетный период. ЧДД рассчитывается по следующей формуле:

ЧДД=                                            (6.1)

где  - чистая прибыль, полученная в t-ом году от реализации инвестиционного проекта;

 - амортизационные отчисления в t-ом году;

 - инвестиции, необходимые для реализации проекта в t-ом году;

Е - норма дисконта (является экзогенно задаваемым основным экономическим нормативом) - это коэффициент доходности инвестиций;

 - коэффициент дисконтирования в t-ом году, позволяет привести величины затрат и прибыли на момент сравнения (t).

Если ЧДД > 0, проект следует принимать;

ЧДД = 0, проект ни прибыльный, ни убыточный;

ЧДД < 0, проект убыточный и его следует отвергнуть.

Метод чистого дисконтированного дохода не дает ответа на все вопросы, связанные с экономической эффективностью капиталовложений. Этот метод дает ответ лишь на вопрос, способствует ли анализируемый вариант инвестирования росту ценности фирмы или богатства инвестора вообще, но никак не говорит об относительной мере такого роста. А эта мера всегда имеет большое значение для любого инвестора. Для восполнения такого пробела используется иной показатель - метод расчета рентабельности инвестиций.

Индекс доходности дисконтированных инвестиций (другие названия - ИД, рентабельность инвестиций, Profitability Index, PI) - отношение суммы дисконтированных элементов денежного потока от операционной деятельности к абсолютной величине дисконтированной суммы элементов денежного потока от инвестиционной деятельности. ИД равен увеличенному на единицу отношению ЧДД к накопленному дисконтированному объему инвестиций.

Формула для определения ИД имеет следующий вид:

                                                                         (6.2)

Если ИД > 1 - проект эффективен;

ИД < 1 - проект неэффективен.

В отличие от ЧДД индекс доходности является относительным показателем, что позволяет осуществлять выбор одного проекта из ряда альтернативных, имеющих приблизительно одинаковое значение ЧДД.

Внутренняя норма доходности (другие названия - ВНД, внутренняя норма дисконта, внутренняя норма прибыли, внутренний коэффициент эффективности, Internal Rate of Return, IRR).

Внутренней нормой доходности называется такое положительное число Ев, что при норме дисконта Е = Ев ЧДД проекта обращается в 0, при всех больших значениях Е - отрицательна, при всех меньших значениях Е - положительна. Если не выполнено хотя бы одно из этих условий, считается, что ВНД не существует.

ВНД определяется из равенства:

.                                                         (6.3)

Величина ВНД, найденная из этого равенства, сравнивается с заданной инвестором величиной дохода на капитал . Если  - проект эффективен. Смысл расчета этого коэффициента при анализе эффективности планируемых инвестиций заключается в следующем: ВНД показывает максимально допустимый относительный уровень расходов при реализации проекта. Например, если проект полностью финансируется за счет ссуды коммерческого банка, то значение ВНД показывает верхнюю границу допустимого уровня банковской процентной ставки, превышение которой делает проект убыточным.

На практике любое предприятие финансирует свою деятельность, в том числе и инвестиционную, из различных источников.

За пользование авансированными финансовыми ресурсами предприятия уплачивают проценты, дивиденды, вознаграждения и т. п., то есть несут определенные обоснованные расходы на поддержание своего экономического потенциала. Показатель, характеризующий относительный уровень этих расходов, называют «ценой» авансированного капитала (СС). Этот показатель характеризует минимум возврата на вложенный в деятельность предприятия капитал, его рентабельность.

Для инвестиций справедливо утверждение о том, что чем выше норма дисконта Е, тем меньше величина интегрального эффекта, что как раз и иллюстрирует рисунок 6.1.

Рисунок 6.1 - Зависимость величины ЧДД от уровня нормы дисконта Е

Как видно из рисунка 6.1, ВНД - это та величина нормы дисконта Е, при которой кривая изменения ЧДД пересекает горизонтальную ось, т.е. ЧДД оказывается равным нулю.

Экономический смысл этого показателя заключается в следующем:

если ВНД > СС, то проект следует принять;

если ВНД < СС, то проект следует отклонить;

если ВНД = СС, то проект ни прибыльный, ни убыточный.

Точный расчет ВНД возможен только на компьютере или калькуляторе с встроенной функцией для расчета.

Если при решении равенства (6.3) функция ВНД имеет несколько корней, то данный критерий неприменим.

Начальный момент указывается в задании на проектирование (обычно это начало операционной деятельности). Момент окупаемости - это тот наиболее ранний момент, когда поступления от производственной деятельности предприятия начинают покрывать затраты на инвестиции.

Алгоритм расчета срока окупаемости Ток зависит от равномерности распределения прогнозируемых доходов от инвестиций. Если доход распределен по годам равномерно, то срок окупаемости рассчитывается делением единовременных затрат на величину годового дохода, обусловленного ими.

Если доход по годам распределен неравномерно, то срок окупаемости рассчитывается прямым подсчетом числа лет, в течение которых инвестиции будут погашены кумулятивным доходом.

Используя показатель срока окупаемости (Ток) при анализе, следует обратить внимание на ряд его недостатков:

- не учитывает влияния доходов последних периодов;

не обладает свойством аддитивности;

не делает различия между проектами с одинаковой суммой кумулятивных доходов, но различным распределением их по годам, если при расчете срока окупаемости использовать не дисконтированные величины.

Помимо рассмотренных выше показателей эффективности инвестиционных проектов в Методических рекомендациях предусмотрено применение нижеследующих показателей:

чистый доход;

потребность в дополнительном финансировании;

индексы доходности затрат и инвестиций.

Чистым доходом называется накопленный эффект за расчетный период (сальдо денежного потока).

Индекс доходности затрат - отношение суммы денежных притоков (накопительных поступлений) к сумме денежных оттоков (накопленным платежам).

Индекс доходности инвестиций - отношение суммы элементов денежного потока от операционной деятельности к абсолютной величине суммы элементов денежного потока от инвестиционной деятельности.

6.3 Расчёт экономической эффективности проекта

Основными факторами, обеспечивающие экономический эффект при внедрении новой техники являются:

экономия затрат на проведение ремонтов двигателей ГПА, выходящих в ремонт из-за возникновения помпажа;

дополнительная подача газа в газопровод в результате исключения остановов и простоев ГПА по причине помпажа;

экономия газа на запуск и останов;

работа компрессорной станции в любых режимах работы.

Цель расчета - определить экономическую эффективность внедрения системы контроля и управления Series-4 на газоперекачивающем агрегате дожимной компрессорной станции ООО «Газпром добыча Уренгой».

Исходные данные для расчета приведены в таблице 6.1.

Таблица 6.1 - Исходные данные для расчёта

Наименование показателей

До внедрения

После внедрения

Время простоя ГПА ДКС, ч Не добытый газ за период простоя ГПА, тыс.м3 Количество остановов ГПА, шт. Потери газа на пуски и остановы ГПА, тыс.м3

21,00 5 960,00 5,00 35,40

- - - -

Затраты на мероприятия, тыс.руб.: В том числе: Затраты на материалы и оборудование затраты на монтаж Стоимость капремонта газотурбинного двигателя, тыс.руб. (данные 01.01.2011) Себестоимость газа за 2012 год, тыс.руб. за тыс.м3 Цена газа за 2012 год, тыс.руб. за тыс. м3

-  - -  1439,200  -

1181,082  3,200 1,630  - 0,049 0,150


Стоимость внедряемой системы автоматизации определяется по каталогу от 01.01.2011 года (таблица 6.2).

 
Таблица 6.2 - Стоимость внедряемой системы автоматизации

Наименование оборудования

Тип

Стоимость, тыс.руб.

Количество, шт.

Сумма, тыс.руб.

Регулятор процесса Регулятор холодного перепуска Регулятор нагрузки Регулятор скорости Регулятор антипомпажный Преобразователь давления Переключатель резерва Преобразователь перепада давления Преобразователь температуры Клапан с шаговым приводом Термометр сопротивления Преобразователь давления Барьеры искробезопасности

Series 4 Series 4 Series 4 Series 4 Series 4 STG97LEIG EHS-CCC STD924EIH AGMHPM 4002-17 Mokveld ТСП-1187 STG94LEIG 728outputs 728sinputs

46,000 46,000 46,000 46,000 46,000 9,200 9,200 8,740 9,200 2,300 0,920 0,920 1,610

2 1 3 3 3 8 1 4 10 3 10 3 3

92,000 46,000 138,000 138,000 138,000 73,600 9,200 34,960 92,000 6,900 9,200 2,760 4,830

Итого, тыс.руб. 785,450


Зп = 785,450 тыс.руб.,

Зт = Зп·Кт = 785,450·0,02 = 15,709 тыс.руб.,

Зд = Зп ·Кд = 785,45·0,04 = 31,418 тыс.руб.,

Ззс = КЗС·Зп = 785,450·0,012 = 9,425 тыс.руб.,

Ззч=КЗП ·Зп=785,450·0,02 = 15,709 тыс.руб.,

ЗК = КК·Зп = 785,450·0,01 = 7,854 тыс.руб.,

Зм = КМ·Зп = 785,450·0,2 = 157,090 тыс.руб.

Накладные расходы по монтажу принимаем равным КНР = 70% к основной заработной плате рабочих, участвующих в монтаже. Монтаж ведут 4 слесаря пятого разряда в течении четырех дней и один сварщик тоже пятого разряда, продолжительность рабочего дня 8 часов. Часовая тарифная ставка слесаря пятого разряда 0,150 тыс.руб. Оплата по тарифу за три дня пяти рабочих составляет:

 = 73 тыс.руб.,

Знр = КНР·Ззп = 51,1 тыс.руб.,

Нпл = КПЛ·(ЗЗП+Знр) = 7,44 тыс.руб.

Сумма капитальных затрат:

К = Зп+Зт+Зд+Ззч+Зк+Зм+Ззп+Знр+Нпл = 1022787,44 тыс.руб.

Расчёт текущих издержек:

Зтр = КТР·К = 40,911 тыс.руб.

А = КА·К = 78,55 тыс.руб.

Сумма всех текущих издержек:

Зр=Зтр+ЗЗП+А= 192,45 тыс.руб.

Результаты расчета приведены в таблицах 6.3, 6.4, изменение денежных потоков наличности (рисунок 6.2) и определение внутренней нормы доходности (рисунок 6.3). Ставка дисконта 13%. Величина расчетного периода - 10 лет.

Таблица 6.3 - Расчет налога на имущество, тыс.руб.

Показатель

Год


1

2

3

4

5

6

7

8

9

10

Стоимость основных фондов на начало года

785,45

706,91

628,36

549,82

471,27

392,73

314,18

235,64

157,09

78,55

Амортизационные отчисления

78,55

78,55

78,55

78,55

78,55

78,55

78,55

78,55

78,55

78,55

Стоимость основных фондов на конец года

706,91

628,36

549,82

471,27

392,73

314,18

235,64

157,09

78,55

0,00

Среднегодовая стоимость основных фондов

746,18

667,63

589,09

510,54

432,00

353,45

274,91

196,36

117,82

39,27

Налог на имущество

14,92

13,35

11,78

10,21

8,64

7,07

5,50

3,93

2,36

0,79


Таблица 6.4 - Расчет эффективности проекта

Показатель

Год


0

1

2

3

4

5

6

7

8

9

10

Капитальные вложения, тыс.руб.

785,45

-

-

-

-

-

-

-

-

-

-

Выгоды, тыс.руб.

-

2913,0

2913,

2913,0

2913,0

2913,0

2913,0

2913,0

2913,0

2913,0

2913,0

Эксплуатационные затраты, тыс.руб.

-

192,5

192,5

192,5

192,5

192,5

192,5

192,5

192,5

192,5

192,5

в т.ч амортизация, тыс.руб.

-

78,55

78,55

78,55

78,55

78,55

78,55

78,55

78,55

78,55

78,55

Налог на имущество, тыс.руб.

-

14,92

13,35

11,78

10,21

8,64

7,07

5,50

3,93

2,36

0,79

Валовая прибыль, тыс.руб.

-

2705,7

2707

2708,8

2710,4

2712,0

2713,5

2715,1

2716,7

2718,2

2719,8

Налог на прибыль, тыс.руб.

-

541,1

541,4

541,8

542,1

542,4

542,7

543,0

543,3

543,6

544,0

Чистый операционный доход, тыс.руб.

-

2243,1

2244

2245,6

2246,8

2248,1

2249,4

2250,6

2251,9

2253,1

2254,4

Сальдо денежного потока от операционной деятельности, тыс.руб.

-

2321,6

2322

2324,1

2325,4

2326,7

2327,9

2329,2

2330,4

2331,7

2332,9

Сальдо денежного потока от инвестиционной деятельности, тыс.руб.

-785,5

-

-

-

-

-

-

-

-

-

-

Сальдо двух потоков (чистые денежные поступления проекта), тыс.руб.

-785,5

2321,6

2322

2324,1

2325,4

2326,7

2327,9

2329,2

2330,4

2331,7

2332,9

Коэффициент дисконтирования

1,00

0,88

0,78

0,69

0,61

0,54

0,48

0,43

0,38

0,33

0,29

Чистые дисконтированные денежные поступления проекта, тыс.руб.

-785,5

2054,5

1819

1610,7

1426,2

1262,8

1118,1

990,0

876,6

776,2

687,3

Чистые дисконтированные денежные поступления проекта нарастающим итогом, тыс.руб.

-785,5

1269,1

3088

4699,0

6125,2

7388,0

8506,1

9496,2

10372

11149

11836,2



Рисунок 6.2 - Изменение денежных потоков наличности

Рисунок 6.3 - Определение внутренней нормы доходности

Эффективность проекта указана в таблице 6.5.

Таблица 6.5 - Эффективность проекта

Показатель

Значение

1. Инвестиции, тыс.руб.

785,45

2. Расчетный период, лет

10

3. Годовые выгоды, тыс.руб.

2913,0

4. Ставка дисконтирования, %

13

5. Чистый дисконтированный доход, тыс.руб.

11836,2

6. Индекс доходности, дол.ед.

16,07

7. Внутренняя норма доходности, %

270

8. Срок окупаемости, лет

0,8


Как видно из расчетов, приобретение нового оборудования (системы автоматизации Series-4) для предприятия целесообразно, т.к. дисконтированный денежный поток по проекту положительный, внутренняя норма доходности выше цены капитала, индекс доходности больше 1. Данный проект является экономически эффективным.

 

ЗАКЛЮЧЕНИЕ

Газоперекачивающий агрегат является компрессором, приводимым в движение газовой турбиной. Компрессор как объект автоматического управления относится к классу потенциально опасных объектов, который характеризуется четко выраженными нелинейными рабочими характеристиками и лавинообразным нарастанием аварийных процессов. Наличие аварийных режимов для этого класса объектов заложено в самом принципе работы. Для своевременного вмешательства в работу газоперекачивающего агрегата, для проведения управляющих, регулирующих воздействий на объект в случае выхода за рабочие пределы технологических параметров было произведено внедрение системы автоматизации на базе программно-технических средств «Series-4».

В дипломном проекте решалась задача внедрения многозадачной системы контроля и управления Series-4 на газоперекачивающий агрегат ГПА-Ц-16, написание управляющей программы технологическим процессом на языке стандарта IEC 61131-3. В ходе проведения исследований были получены следующие результаты:

составлен граф переходов процесс пуска, нормального останова и выхода в режим «Магистраль» газоперекачивающего агрегата;

написана управляющая программа для ПЛК.

В качестве среды для программирования ПЛК был использован программный пакет ISaGRAF. Программа для ПЛК была написана на языке стандарта IEC 61131-3 - Structured Text (ST).

Автоматизированная система управления на базе Series-4 даёт возможность наиболее точно отслеживать все технологические процессы. Рассмотренный объём автоматизации с применением технических средств автоматизации обеспечивает надёжный контроль, управление и аварийную защиту ГПА-Ц-16.

Анализ экономической эффективности, в ходе которого была произведена оценка экономической эффективности от внедрения системы контроля и управления Serise-4, показал, что инвестиции будут возвращены за счёт доходов за 0,8 года, что свидетельствует об экономической эффективности проекта.

СПИСОК ИСПОЛЬЗУЕМЫХ ИСТОЧНИКОВ

1. Берман, Р.Я. Современные цеховые системы автоматизации газокомпрессорной станции / Р.Я. Берман, Р.Л. Вишнепольский, С.В. Кабаев, В.С. Тимофеев // Мир компьютерной автоматизации. - 1997. - № 3. - C. 93-96.

2. Елисеев, В.В. Комплекс МСКУ М на объектах газовой промышленности / В.В. Елисеев, В.А. Ларгин, Г.Ю. Пивоваров, В.И. Ященко // Промышленные АСУ и контроллеры. - 1999. - № 9. - C. 63-65.

3. Захаров, Н.А. Система управления мнемощитом компрессорной станции «Тулла» / Н.А. Захаров // Промышленные АСУ и котроллеры. - 1999. - № 10. C. 23-26.

5. Никоненко, И.С. Агрегатно-цеховой комплекс управления газокомпрессорным цехом / И.С. Никоненко, М.А. Балавин, В.Л. Швабский // Приборы и системы управления. - 1998. - № 10. - C. 15-19.

6. Продовиков, С.Н. Опыт автоматизации сложных промышленных объектов на примере газокомпрессорных станций / С.Н. Продовиков, А.А. Макаров, В.А. Бунин, А.Л. Черников // Современные технологии автоматизации. - 1997. - № 2. - C. 66-68.

7. Ревзин, Б.С. Газотурбинные установки с нагнетателями для транспорта газа / Б.С. Ревизин, И.Д. Ларионов. - М.: Недра, 1991. - 200 c.

8. Седых, З.С. Эксплуатация ГПА с газотурбинными приводами / З.С. Седых М.: Недра 1990. - 201 c.

ПРИЛОЖЕНИЕ А

Перечень демонстрационных листов

Название ВКР.

Цели и задачи проекта.

Технологическая схема ГПА-Ц-16.

Функциональная схема автоматизации

Расходомер ультразвуковой «Гиперфлоу-УС».

Программно-аппаратный модуль AFM ПТС Series-4.

IOM - Универсальный управляющий модуль.

EIOM - Модуль расширенного ввода\вывода.

Коммуникационный модуль MPM.

Структурная схема САУ и Р КС.

Граф переходов.

Программа на языке «ST», выход в режим «Магистраль».

Выводы.

ПРИЛОЖЕНИЕ Б

Листинг управляющей программы

CASE STEP OF

:        Uamot:= FALSE;a_o:= FALSE;_o:= FALSE;_z:= FALSE;_0:= FALSE;_z:= FALSE;_o:= FALSE;_z:= FALSE;_on:= FALSE;_on:= FALSE;_on:= FALSE;_off:= FALSE;_off:= FALSE;_on:= FALSE;_on:= FALSE;_off:= FALSE;_off:= FALSE;_go:= FALSE;_on:= FALSE;_off:= FALSE;_pusk:= FALSE;_on:= FALSE;_off:= FALSE;_on:= FALSE;_on:= FALSE;_o:= FALSE;a_z:= FALSE;_mag:= FALSE;_mag:= FALSE;a_o:= FALSE;_z:= FALSE;_on:= FALSE;_dv:= FALSE;_z:= FALSE;_z:= FALSE;_o:= FALSE;_z:= FALSE;_z:= FALSE;_on:= FALSE;_o:= FALSE;_ohl:= FALSE;_g:=FALSE;

T1:= t#0s;:= t#0s;:= t#0s;:= t#0s;:= t#0s;:= 1;

:        IF (pusk = TRUE) THEN_pusk:= TRUE;

T1:= t#0s; tstart(T1);

STEP:= 2;_IF;

:        IF (T1>t#10s) THEN(T1);_on:= TRUE;_on:= TRUE;_on:= TRUE;:= 3;_IF;

:        IF (dP0_12 = TRUE) THEN_o:= TRUE;:= 4;_IF;

:        IF (Xkr4_o = TRUE) THEN

Ukr4_o:= FALSE;:= t#0s; tstart(T2);

STEP:= 5;_IF;

:        IF (T2>t#20s) THEN(T2);a_o:= TRUE;:= TRUE;_z:= TRUE;_o:= TRUE;_z:= TRUE;:= 6;_IF;

:        IF (Xkr1_o = TRUE AND Xkr4_z = TRUE AND Xkr5_z = TRUE) THEN

Igpa_on:= TRUE;_z:= FALSE;_z:= FALSE;

Ukr1_o:= FALSE;a_o:= FALSE;:= FALSE;_on= TRUE;_go:= TRUE;:= t#0s; tstart(T3);:= 7;_IF;

:        IF (T3>t#30s) THEN:= 8;_IF;(n2600 = TRUE) THEN:= 9;_IF;

:        tstop(T30);_on:= TRUE;(Y = TRUE) THEN:= 0;_IF;

:        Ustar_on:= FALSE;_on:= TRUE;_on:= TRUE;_off:= TRUE;:= 10;

:        IF (n5900:= TRUE) THEN_off:= TRUE;_pusk:= FALSE;_on:= TRUE;:= 11;_IF;

:        IF (Stop:= TRUE) THEN:= 0;_IF;(Xmag:=TRUE) THEN_on:=TRUE;:=12;_IF;(Xper_no:=TRUE) THEN:=21;_IF;

:        IF (Xo_kr2:=TRUE) THEN_o:=TRUE;:=13;_IF;

:        IF (Xkr2_o:=TRUE) THEN_o:=FALSE;a_z:=TRUE;:=14;_IF;

:        IF (X6a_z:=TRUE) THENa_z:=FALSE;_mag:=TRUE;:=15;_IF;

         IF (Stop1:=TRUE) THEN:=0;(Xno_mag:=TRUE) THEN_mag:=TRUE;:=16;_IF;

:        IF (Xo_6a:=TRUE) THENa_o:=TRUE;:=17;_IF;

:        IF (X6a_o:=TRUE) THENa_o:=FALSE;:=18;_IF;

:        IF (Xz_kr2:=TRUE) THEN_z:=TRUE;:=19;_IF;

:        IF (Xkr2_z:=TRUE) THEN_z:=FALSE;:=20;_IF;

:        IF (Xgo_kol:=TRUE) THEN:=11;_IF;

:        Urvr_on:=TRUE;

T4:= t#0s; tstart(T4);:=22;

:        IF (T4>t#300s) THEN

tstop(T4);_on:=FALSE;_dv:=TRUE;_o:=TRUE;_z:=TRUE;_z:=TRUE;:=23;_IF;

:        IF (n300:=TRUE AND n1300:=TRUE) THEN

T5:= t#0s; tstart(T5);_z:=TRUE;_z:=TRUE;

Ukr9_o:=FALSE;_z:=FALSE;_z:=FALSE;:=24;_IF;

:        IF (T5>t#300s) THEN

tstop(T5);

Ukr6_z:=FALSE;_z:=FALSE;_o:=TRUE;_on:=TRUE;:=25;_IF;

:        IF(dP_0.5:=TRUE) THEN_o:=FALSE;_ohl:=TRUE;_off:=TRUE;_off:=TRUE;_off:=TRUE;:=26;_IF;

:        IF (nst:=TRUE) THEN_off:=TRUE;:=27;_IF;

:        IF (ntvd:=TRUE) THEN_g:=TRUE;:=0:_IF;_CASE;

Похожие работы на - Автоматизация газоперекачивающего агрегата дожимной компрессорной станции 'Газпром добыча Уренгой'

 

Не нашли материал для своей работы?
Поможем написать уникальную работу
Без плагиата!
Без нейросетей!