Приводной газотурбинный двигатель для энергоустановки
МИНИСТЕРСТВО
ОБРАЗОВАНИЯ УКРАИНЫ
«Харьковский
авиационный институт»
Кафедра
теории авиационных двигателей
Пояснительная
записка к курсовому проекту
ПРИВОДНОЙ
ГАЗОТУРБИННЫЙ ДВИГАТЕЛЬ ДЛЯ ЭНЕРГОУСТАНОВКИ
Выполнила:
студ. гр. 241
Недильская
Ю.М.
2011
СОДЕРЖАНИЕ
Введение
1. Выбор параметров и термогазодинамический расчет ГТД
1.1 Выбор и обоснование мощности и частоты вращения
газотурбинного привода
.2 Выбор и обоснование параметров расчетного режима
.3 Термогазодинамический расчет двигателя
. Согласование параметров компрессора и турбины
2.1 Выбор и обоснование исходных данных для согласования.
Проведение расчета
2.2 Результаты расчёта и формирование облика двигателя
. Газодинамический расчет компрессора
3.1 Газодинамический расчет компрессора на ЭВМ
4. Газодинамический расчет осевой турбины
.1 Выбор и обоснование исходных данных
. Расчет и профилирование ступени турбины
5.1 Выбор и обоснование исходных данных
6. Исследование эксплуатационных характеристик двигателя
6.1
Выбор исходных данных
6.2 Исследование дроссельной характеристики двигателя
7. Расчет центробежного нагнетателя природного газа
7.1 Исходные данные
7.2 Результаты расчета
. Проектирование входного и выходного устройств
.1 Расчет входного устройства
.2 Расчет выходного устройства
Заключение
Перечень ссылок
ВВЕДЕНИЕ
В настоящее время наряду с применением газотурбинных двигателей (ГТД) в авиации их
используют в наземных целях. Применяются такие установки:
нефте-газоперекачивающие установки с газотурбинным приводом, электрогенераторы
с газотурбинным приводом в наземном и морском (речном) транспорте, установки
для получения сжатого воздуха, используемого в технологических целях в
пневмосистемах, газоструйные установки для очистки взлетно-посадочных полос
аэродромов, транспортных путей от мусора и т.д.
Особое внимание в настоящее время в Украине уделяется разработке ГТД для
газоперекачивающей отрасли и энергетики. Наряду с применением конвертируемых
двигателей, используются специально разработанные ГТД для привода
газоперекачивающих агрегатов (ГПА) и дожимных компрессоров различной мощности,
а также для привода электрогенераторов.
Газотурбинные двигатели сочетают в себе комплекс свойств, обеспечивающих
возможность их широкого использования в наземных установках, основными из которых
являются: низкая стоимость, в особенности при применении авиадвигателей,
отработавших летный ресурс; малая удельная масса и габариты; широкий диапазон
климатических условий использования; возможность работы на различных типах
горючего; практически полная автоматизация работой двигателя.
Выбор двигателя для конкретного назначения определяется совокупностью
требований, в числе которых для стационарных двигателей главными являются
минимальная приведенная стоимость производимой двигателем единицы энергии.
Целью данного курсового проекта является проектирование газотурбинного
двигателя для привода ГПА, мощностью 6,65 МВт, на базе прототипа газотурбинной установки. Прототипом послужил
двигатель Д-336.
Для достижения этой цели в проекте поставлены и решены следующие задачи:
- термогазодинамический расчет;
- согласование параметров компрессора и турбины;
- газодинамический расчет компрессора и турбины;
профилирование ступени турбины;
- расчет входного и выходного устройств;
расчет эксплуатационных характеристик двигателя.
двигатель компрессор турбина газодинамический
1. ВЫБОР ПАРАМЕТРОВ И ТЕРМОГАЗОДИНАМИЧЕСКИЙ РАСЧЕТ ГТД
1.1 Выбор и обоснование мощности и частоты вращения
газотурбинного привода
Поскольку проектируемая установка будет использоваться в качестве привода
для газоперекачивающего агрегата, то нам нужно подобрать такие параметры
свободной турбины (ТС), чтобы получить частоту вращения на выходном валу и
мощность такую, которая соответствовала бы значению частоты вращения и
потребной мощности центробежного нагнетателя. В нашем случае при частоте
вращения ТС равной n=8200 об/мин и мощности 6,3 МВт был
подобран нагнетатель 6,3ГЦ2-206/37-55 с
такими параметрами:
N=6,3 МВт
n= 8200 об/мин
Выбор данного нагнетателя позволяет применять безредукторную схему для
передачи мощности с вала свободной турбины на вал потребителя т.к. их обороты
соответствуют друг другу. Это позволит существенно снизить стоимость установки
и компрессорных станций, на которых она будет применяться, поскольку редуктор
довольно дорогостоящий, материалоемкий, прецизионный механизм. Также вследствие
отсутствия необходимости в применении редуктора снизятся затраты на
обслуживание, эксплуатацию и ремонт данной установки как привода центробежного
нагнетателя.
1.2 Выбор и обоснование параметров расчетного режима
Выбор основных параметров двигателя оказывает сильное влияние на
эффективность его работы как силовой установки. Основным требованием к данному
двигателю является высокая экономичность (малые значения удельного расхода
топлива) и высокая удельная мощность.
Температура газа перед турбиной. Увеличение температуры газов перед
турбиной позволяет значительно увеличить удельную мощность двигателя и,
следовательно, уменьшить габаритные размеры и массу двигателя. Повышение
температуры газа перед турбиной улучшает также экономичность двигателя.
Для обеспечения надежности работы турбины при высоких значениях
температуры газа (Тг*>1250К) необходимо применять охлаждаемые
лопатки. Потребное количество охлаждающего воздуха зависит от температуры газа
и способа охлаждения турбины, что приводит к снижению удельной мощности и росту
удельного расхода топлива. Для получения нескольких вариантов расчета выбираем
Тг*=1184К, 1234К, 1284К,1334К,1384К.
Степень
повышения давления в компрессоре. Стремление получить двигатель с высокими
удельными параметрами требуется повышение значения степени повышения давления (
*) в компрессоре, но большее значение степени
повышения давления ограничивается усложнением конструкции, увеличением массы и
габаритов двигателя за счет роста количества ступеней компрессора. Выбор
высоких значений
* при проектировании приводит к получению малых высот
лопаток последней ступени компрессора и первых ступеней турбины. Это в свою
очередь приводит к росту потерь энергии из-за увеличения относительных
радиальных зазоров и понижения относительной точности изготовления лопаток. При
Тг*=1200...1600К оптимальное значение
* в
компрессоре, соответствующее максимальной удельной мощности, составляет 8...18.
При этом экономические значения, соответствующие минимуму удельного расхода
топлива, находятся в интервале 18...40. Для расчета выбираем
*=7;11;15,95;20;25.
КПД
компрессора и турбины. Величина изоэнтропического КПД многоступенчатого
компрессора по параметрам заторможенного потока зависит от степени повышения
давления в компрессоре и КПД его ступеней:
,
где
- среднее
значение КПД ступеней компрессора.
КПД
компрессора может быть представлен как произведение:
=
·
,
где
- КПД компрессора по параметрам заторможенного потока,
- механический
КПД компрессора, учитывающий потери в его опорах, обычно составляющий
=0,985…0,995[1].
На
расчетном режиме среднее значение КПД ступеней в многоступенчатых осевых
компрессорах двигателей лежит в пределах
=0,89..
0,9[1]. Принимаем
=0, 895.
Таким
образом, получаем:
Таблица
1.1-Зависимость общего КПД компрессора от значения
*
|
Величина
|
Значение
|
|
71115,952025
|
|
|
|
|
|
|
0,8590,8510,8450,8410,837
|
|
|
|
|
|
Для вычисления КПД охлаждаемых турбин рекомендуется использовать
следующую формулу:
где h *т
неохл - КПД неохлаждаемой турбины.
Неохлаждаемые турбины необходимо применять при температуре Т*г
≤1250 К. КПД неохлаждаемой турбины принимаем h* т неохл = 0,9. Тогда:
Таблица 1.2-Зависимость КПД турбины от значения
Тг*
|
Величина
|
Значение
|
|
Тг*,К
|
1184
|
1234
|
1284
|
1334
|
1384
|
|
0,8960,9000,8960,8900,883
|
|
|
|
|
|
Потери в элементах проточной части
Входное устройство двигателя является дозвуковым с криволинейным каналом.
Коэффициент восстановления полного давления для таких устройств составляет σВХ = 0,97…0,99. При наличии на входе в
двигатель пылезащитных устройств, потери полного давления существенно
возрастают: σВХ = 0,92…0,96.
Так как проектируемый приводной ГТД для ГПА, то его эксплуатация ведется
в наземных условиях, что требует установки системы сложных каналов подвода
воздуха (рабочего тела) к двигателю и установки средств пылеулавливаня. В связи
с такими условиями работы принимаем σВХ = 0,970.
Потери полного давления в камерах сгорания вызываются гидравлическим и
тепловым сопротивлением:
.
Гидравлическое
сопротивление определяется, в основном, потерями в дифузоре, фронтовом
устройстве, при смешении струй, при повороте потока (σгидр =0,93…0,97).
Принимаем sгидр= 0,94.
Тепловое
сопротивление возникает вследствие подвода тепла к движущемуся газу. Для
основных камер сгорания (КС) обычно lвх = 0.1…0.15 и sтепл³0.97…0.98. На рисунке 1.1 приведена
зависимость коэффициента теплового сопротивления sтепл от степени подогрева газа q при различных значениях приведенной скорости lвх на
входе в КС:
. Предварительно находим температуру воздуха на выходе
из компрессора по заторможенным параметрам:
,
где
Принимаем
lвх=0,15,
Тогда
величина коэффициента теплового сопротивления σтепл=
0,987.
Определяем
величину коэффициента потерь полного давления в камере сгорания: σкс =
0,94·0,987 = 0,931.
Потери
тепла в процессе горения связаны с неполным сгоранием. Они оцениваются
коэффициентом полноты сгорания hг. На расчетном режиме основных камер этот коэффициент
достигает значений hг=0.97…0.99.
Принимаем для КС hг=0,985.
Наличие
переходного патрубка между турбиной компрессора и силовой турбиной, оценивают
коэффициентом восстановления полного давления и выбирают в зависимости от формы
канала (sпт
=0,98…1,0).
Принимаем
sпт =
1,000.
Выходное устройство ГТУ, как правило, выполняют диффузорным. Коэффициент
восстановления полного давления обычно составляет sрн=0,97…0,99. Принимаем sрн = 0,980.
Выбор скорости истечения из выходного устройства стационарной ГТУ
характеризует потерянную кинетическую энергию на выходе из двигателя.
Следовательно, ее целесообразно уменьшать. С другой стороны, уменьшение
скорости на выходе Сс приводит к увеличению габаритных размеров
двигателях из-за большой площади среза выпускного канала. Выходная скорость
лежит в интервале Сс =80…120 м/с. Принимаем Сс = 79 м/с.
Потери мощности в опорах ротора и отбор мощности на привод
вспомогательных агрегатов учитывают hm=0,98…0,9. Принимаем hm=0,985.
Современные
двигатели имеют сложную систему охлаждения горячих частей (первые ступени
турбины). Необходимо также производить подогрев элементов входного устройства,
поскольку попадание в проточную часть двигателя льда может привести к
повреждению лопаток. Для всех этих нужд требуется воздух, отбираемый из-за
компрессора или какой-либо его ступени. Отбор сжатого воздуха оценивается
относительной величиной
Для расчёта принимаем
=0,081.
Целью
теплового расчета двигателя является определение основных удельных параметров (Nеуд
- удельной мощности, Се - удельного расхода топлива и расхода воздуха Gв).
Расчет выполняется с помощью ЭВМ, программа для расчета: GTD.ехе [1].
Программа
позволяет провести расчет нескольких вариантов с выявлением влияния различного
сочетания
и Тг* на удельные параметры двигателя и дает
возможность выбрать оптимальный вариант расчетных параметров. В данном случае
задаем по пять значений
и Тг*. Алгоритм расчета изложен в пособии для расчета
на ЭВМ. Исходные данные для расчета представлены в таблицах 1.1 и 1.2.
Файл
результатов термогазодинамического расчета 25 вариантов двигателя приведен в
таблице 1.3:
Таблица
1.3-Результаты термогазодинамического расчета
По
данным расчета строим графики зависимости Nеуд = f (
,Тг*), Се = f (
,Тг*)
(рисунок 1.2).
Выбираем
Тг*=1284 К, так как при этой температуре и
=15,95 достигается
высокая удельная мощность (Nеуд=212,2
кВтс/кг) и низкий удельный расход топлива
(Се=0,2277 кг/кВтч). Выбранные значения удовлетворяют небольшому
уменьшению в мощности( снижение по пологой части графика) и незначительное увеличение
удельного расхода.
Рисунок
1.2 - Графики зависимости Nеуд = f (
,Тг*), Се
= f (
,Тг*)
1.3
Термогазодинамический расчет двигателя
Для
определения основных удельных параметров (Nеуд - удельной
мощности, Се - удельного расхода топлива и расхода воздуха Gв),
выбранного варианта установки также выполняем термогазодинамический расчет на
ЭВМ. Файл результатов термогазодинамического расчета приведен в таблице 1.4.
Таблица
1.4-Результаты термогазодинамического расчета
В
результате проведенного термогазодинамического расчета были получены основные
удельные параметры двигателя и параметры, характеризующие работу его
узлов. Выбранные параметры цикла ГТД с увеличенным
и Тг*, позволяют повысить его удельную мощность и
эффективный КПД. Полученные данные являются исходными для согласования
параметров турбокомпрессора, для расчета компрессора и турбины.
2. СОГЛАСОВАНИЕ ПАРАМЕТРОВ КОМПРЕССОРА И ТУРБИНЫ
2.1 Выбор и обоснование исходных данных для согласования.
Проведение расчета
Формирование облика (проточной части) ГТД и ГТУ является одним из наиболее важных начальних этапов проектирования двигателя, непосредственно следующим за выполнением теплового расчета и предшествующим газодинамическим расчетам элементов
проточной части, частоты вращения роторов и числу ступеней каскадов лопаточных
машин.
Целью согласования является распределение работы между каскадами и ступенями
компрессора, ступенями турбины, определение основных размеров двигателя. Увязка
параметров турбокомпрессора позволяет обеспечить оптимальные геометрические и
газодинамические соотношения, определяющие облик двигателя в расчётных
сечениях, обеспечить нормальную загрузку ступеней турбины и допустимые
напряжения в лопатках турбины.
Проектируемый двигатель состоит из двухвального газогенератора и
свободной турбины. Исходными данными для расчета являются: полезная мощность на
валу двигателя, геометрические соотношения двигателя-прототипа, значения осевых
скоростей в основных сечениях двигателя и окружные скорости на периферии
рабочих колес первых ступеней каскадов компрессора, количество ступеней
каскадов компрессора и турбин, термогазодинамический расчет двигателя на
выбранном режиме. Эффективная мощность двигателя Nе = 6800 кВт.
В
ходе выполнения расчёта необходимо соблюдать основные ограничения,
обеспечивающие надёжную и экономичную работу. Среди них: относительная высота
лопаток последних ступеней компрессора и первых ступеней турбины, относительный
втулочный диаметр на выходе из компрессора, степень реактивности ступеней
компрессора, нагрузка на ступени турбины. Относительный втулочный диаметр
на выходе из компрессора высокого давления не должен
превысить значения 0.92 по той причине, что дальнейшее увеличение
связано с ограничениями минимального размера лопаток
последних ступеней. Уменьшение размера лопаток приводит к значительным
трудностям в получении приемлемых значений КПД компрессора вследствие
возрастания влияния радиальных зазоров, а также уменьшение числа Рейнольдса и
роста потерь при обтекании лопаток малого размера. Поэтому высоту лопатки, на
выходе из компрессора высокого давления, ограничивают величинами 12...20 мм.
Методика
увязки параметров компрессоров и турбин основана на подробном анализе
геометрических соотношений и параметров двигателя-прототипа, применении
уравнений связи компрессора и турбин (балансы расходов, мощностей, частот
вращения), оценке свойств проточных частей проектируемых турбин и компрессоров.
При согласовании основных узлов двигателя, в первую очередь учитываются
факторы, обеспечивающие максимально возможный уровень КПД узлов и достаточные
запасы устойчивой работы компрессоров во всем диапазоне их работы. Кроме этого,
придаётся большое значение вопросам получения приемлемого числа ступеней
компрессоров и турбин, повышенного ресурса и минимальной массы узлов.
Согласование
параметров компрессора и турбины проводится на ЭВМ с помощью программы
Slgt2.exe, и согласно инструкциям, изложенным в методическом пособии [2]. Для
возможности просмотра графического изображения получаемой проточной части ГТД в
комплект введена и программа графического сопровождения fogt.exe.
Некоторые
исходные данные, необходимые для расчёта, были получены при выполнении
термогазодинамического расчёта.
В
проектируемом двигателе: проточная часть КНД - с постоянным средним
диаметром; проточная часть КВД - с постоянным наружным
диаметром; ТВД и ТНД - с постоянным средним диаметром; свободная турбина - с
постоянным средним диаметром.
Также
для счёта требуются некоторые геометрические соотношения двигателя-прототипа:
Dср
твд/Dк квд = 1,13- отношение среднего диаметра ТВД на выходе к
наружному диаметру КВД на входе;
Dср
тнд/Dк кнд = 1,101 - отношение среднего диаметра ТНД на выходе
к наружному диаметру КНД на входе;
Dср
тс/ Dк кнд= 1,046 - отношение среднего диаметра свободной
турбины на выходе к наружному диаметру КНД на входе.
2.2
Результаты расчёта и формирование облика двигателя
Результаты
согласования параметров приведены в таблице 2.1. Облик проточной части
двигателя изображён на рисунке 2.1.
Таблица
2.1 - Результаты согласования компрессоров и
турбин
Рисунок.
2.1 - Схема проточной части двигателя
В результате расчета сформирован облик двигателя. Выбрана конструктивно
сложная схема ГТД с двухвальным газогенератором и свободной (силовой) турбиной.
Такая схема обеспечивает приемлемые значения параметров на нерасчетных режимах,
требует меньшей мощности запуска. КНД имеет форму проточной части с постоянным
средним диаметром, с 6 ступенями; КВД - с постоянным наружным диаметром, с 7
ступенями.
Компрессор низкого давления состоит из шести ступеней, малонагруженный
(
zc =0,2411), имеет значение
=0,8740.
Компрессор высокого давления состоит из семи ступеней,
средненагруженный (
zc =0,2665), имеет значение
=0,8860.
Относительный
диаметр втулки на выходе из последней ступени КВД
к = 0,9199, что не превышает допустимого,
к доп =0,92.
Турбина
высокого давления, одноступенчатая, высоконагруженная (Mz=1,664),
имеет значение
=0,8960, обеспечивается условие (h/D)г=0,074>0,065.
Турбина
низкого давления, одноступенчатая, средненагруженная (Mz=1,480),
имеет значение
=0,8611.
Силовая
турбина, двухступенчатая, средненагруженная (Mz=3,0), имеет значение
=0,9150, обеспечивается условие (h/D)т=0,2848<0,25.
Рассчитаны
значения: Т*, Р*, С в основных сечениях
двигателя, а также площади этих сечений.
Данные,
полученные при согласовании, станут основой для проектирования основных узлов
двигателя. Результаты согласования не являются окончательными, а будут изменяться
на дальнейших этапах расчёта при проектировании и доводке компрессора, турбин.
3. ГАЗОДИНАМИЧЕСКИЙ РАСЧЕТ КОМПРЕССОРА
В современных ГТД для осуществления процесса сжатия используются в
основном многоступенчатые компрессоры. Это обусловлено их высокими КПД,
возможностью изменения производительности, напорности этих компрессоров в очень
широких пределах за счет изменения числа ступеней и их диаметральных размеров.
Предварительный газодинамический расчет осевого компрессора обычно
представляет собой последовательный расчет всех его ступеней на среднем
радиусе. При этом предполагается, что параметры потока на среднем радиусе
ступени соответствуют осредненным по высоте лопатки параметрам ступени. Для
улучшения этого соответствия в качестве среднего радиуса принимают
среднегеометрический радиус ступени. Проектируемый компрессор 13-ти
ступенчатый.
Основной целью газодинамического расчета осевого компрессора является
окончательное получение геометрических размеров и количества ступеней при
сохранении π*к. Необходимо
эффективно распределить π*к, работу и КПД между ступенями компрессора.
Изменение
коэффициента затраченного напора
по
ступеням принимаем таким, чтобы наиболее загруженные были средние ступени, а ко
входу и выходу из компрессора значение
уменьшалось.
Первые ступени имеют большое значение удлинения лопаток h/b,
работают в ухудшенных условиях (возможная неравномерность поля скоростей,
температур и давлений) на входе в компрессор. На последних ступенях в
значительной степени на КПД ступени влияет величина относительных радиальных
зазоров. При малой высоте лопаток ступени существенно снижение КПД из-за
перетекания рабочего тела через радиальный зазор.
Распределение
остальных параметров выполнено в соответствии с рекомендациями, изложенными в [3].
Расходная
составляющая скорости уменьшается от входа к выходу для уменьшения концевых
потерь в последних ступенях и для того, чтобы иметь умеренные скорости на входе
в камеру сгорания. Во избежание падения КПД снижение Са в пределах ступени не
должно превышать 10…15м/с [3].
При
выборе характера изменения rк вдоль проточной части компрессора необходимо
учитывать, что рост температуры потока (а следовательно, и увеличение скорости
звука) позволяет выполнить ступени с более высокими степенями реактивности.
Газодинамический расчет компрессора выполнен при помощи программы gdrok.exe. Программа gdrok предназначена для газодинамического
расчета многоступенчатого осевого компрессора на среднем радиусе. Исходные
данные расчета заносятся в файл gdrok.dat, а результаты, получаемые с помощью
исполняемого файла gdrok.exe - в файл gdrok.rez. Программа gdrok имеет и
программу графического сопровождения gfk.exe, файл исходных данных которой
gfk.dat формируется при работе файла gdrok.exe. Использование файла gfk.exe при
выполнении расчетов обеспечивает возможность наглядного графического контроля
как исходного распределения параметров по ступеням так и получаемых результатов
расчета (формы проточной части компрессора, изменения параметров потока по
ступеням и треугольников скоростей ступеней на среднегеометрическом радиусе ).
3.1 Газодинамический расчет компрессора на ЭВМ
Исходные данные и результаты расчета приведены в соответствующих
таблицах.
Таблица 3.1 - Исходные данные для расчета компрессора на ЭВМ
Таблица 3.2 - Результаты расчета компрессора на ЭВМ
Ниже
представлены графики распределения
и
(рисунок 3.1);
и
(рисунок 3.2); С, Т, Т*, Р,Р*
(рисунок 3.3), построенные по значениям из таблицы 3.2.
Рисунок 3.1 - График изменения Са и Hz по ступеням компрессора
Рисунок 3.2 - График распределение КПД и степени реактивности по ступеням
компрессора
Рисунок 3.3
- График изменение
параметров Т, Т*, Р, Р*, С по тракту компресcора
Анализируя полученные графики распределения затраченного напора, по
ступеням видим, что напор распределен рационально. При распределении работ по ступеням компрессора учтены
особенности условий работы первых и последних ступеней компрессора.
Рисунок 3.4 - Схема проточной части компрессора
На рисунках 3.5-3.17
представлены планы скоростей компрессора для 13-ти ступеней.
Рисунок 3.5 - Планы скоростей компрессора для ступени №1
Рисунок 3.6 - Планы скоростей компрессора для
ступени №2
Рисунок 3.7 - Планы скоростей компрессора для ступени №3
Рисунок 3.8 - Планы скоростей компрессора для ступени №4
Рисунок 3.9 - Планы скоростей компрессора для ступени №5
Рисунок 3.10 - Планы скоростей компрессора для ступени №6
Рисунок 3.11 - Планы скоростей компрессора для ступени №7
Рисунок 3.12 - Планы скоростей компрессора для ступени №8
Рисунок 3.13 - Планы скоростей компрессора для ступени №9
Рисунок 3.14 - Планы скоростей компрессора для ступени №10
Рисунок 3.15 - Планы скоростей компрессора для ступени №11
Рисунок 3.16 - Планы скоростей компрессора для ступени №12
Рисунок 3.17 - Планы скоростей компрессора для ступени №13
Проведенный расчёт компрессора с использованием ЭВМ позволил получить:
геометрические параметры лопаточных венцов проточной части компрессора,
изменения Р,Р*, Т, Т* на среднем радиусе каждой ступени,
а также работу и степень повышения давления каждой ступени. Кроме того, были
уточнены окончательные размеры проточной части.
Все эти данные используются при проектировании решёток профилей
многоступенчатого компрессора.
Степень повышения давления pк*: p*к кнд=3,818, p*к квд =4,199, p*к S =15,95;
Частота вращения: nкнд=10592,8 об/мин, nквд=13510,9 об/мин;
Число ступеней : Zкнд=6, Zквд=7,
Работа компрессора: L*к =404230
кДж/кг;
КПД компрессора: hк*= 0, 8568.
Расчетные параметры не выходят за установленные пределы:
-
угол входа потока
относительный
втулочный диаметр
коэффициент
расхода
Параметры, полученные по результатам расчёта, удовлетворяют требованиям,
предъявляемым к современным многоступенчатым компрессорам. Полученный
компрессор обеспечивает заданный pк* и КПД, что
позволяет выполнить требования данного задания.
4. ГАЗОДИНАМИЧЕСКИЙ РАСЧЕТ ОСЕВОЙ ТУРБИНЫ
Широкое применение осевых газовых турбин в авиационных газотурбинных
двигателях обусловлено, прежде всего, их высокой энергоемкостью и
экономичностью. Именно эти преимущества газовых турбин наряду со сравнительной
простотой и надежностью и определили доминирующее положение газотурбинных
двигателей в авиации.
Современное состояние теории и практики проектирования осевых газовых
турбин обеспечивает возможность надежного определения параметров турбины на
расчетном режиме с достоверным учетом всех видов потерь механической энергии в
ее проточной части. При этом газодинамический расчет турбины усложняется, что
приводит к значительному увеличению объема вычислений. Поэтому мы выполним
газодинамический расчет газовой турбины на ЭВМ. Расчет выполняется в
соответствии с рекомендациями [4].
4.1 Выбор и обоснование исходных данных
Обычно газодинамический расчет многоступенчатой турбины выполняют при заданной форме проточной части.
Поскольку основные исходные данные для расчета турбины получают в результате
термогазодинамического расчета двигателя, компрессора и согласования параметров
его лопаточных машин, то к началу расчета проточная часть двигателя, а,
следовательно, и его турбины уже известны.
Для расчета турбины определим расход газа, через турбину:
.
Расчет
мощностей ступеней турбин:
кВт;
кВт;
кВт.
Так
как силовая турбина имеет две ступени:
= 3800
кВт;
= 3000 кВт.
Таблица 4.1-Файл исходных данных к газодинамическому расчету турбины
Таблица 4.2 - Результаты газодинамического расчета турбины
Рисунок
4.1 - Распределение
,
,
,
и
по ступеням турбины
Рисунок
4.2 - Распределение
,
,
,
,
и
по ступеням турбины
Рисунок 4.3 - Схема проточной части турбины
Рисунок 4.4 - Планы скоростей ТВД и ТНД
Рисунок 4.4 - Планы скоростей силовой турбины
В результате газодинамического расчёта турбины определены параметры
потока вдоль проточной части по среднему радиусу. Анализ результатов показал,
что:
на входе в РК ТВД был получен угол α1, который равен α1=16,1 град входящий в допустимые пределы (α1=15…22º).
- угол выхода потока газа из турбины равен a2= 83,7 град, что позволяет обеспечить небольшие
значения потерь полного давления газа на выходе из турбины.
на всех ступенях ступенях турбины были получены приемлемые КПД
= 0,901,
= 0,921,
= 0, 922,
= 0,921.
коэффициенты
загрузки ступеней находятся на допустимом уровне.
характерное
изменение основных параметров (
, Т* и Т,
Р* и Р) вдоль проточной части соответствует типовому характеру для газовых
осевых турбин;
степень
реактивности ступеней турбины во втулочных сечениях имеет положительные
значения:
;
;
;
.
частота
вращения вала силовой турбины равна частоте вращения нагрузки (нагнетателя) - nтс
= 8201 об/мин.
Для получения приемлемых результатов расчета геометрические размеры,
полученные в процессе согласования компрессора и турбины, были уточнены с
учетом формы проточной части двигателя-прототипа.
5. РАСЧЕТ И ПРОФИЛИРОВАНИЕ СТУПЕНИ ТУРБИНЫ
.1 Выбор и обоснование исходных данных
Расчет и построение решетки профилей первой ступени турбины проводится с
использованием ЭВМ и программoct.exe, gfrt.exe [5].
Проектирование элементов проточной части турбины для получения высоких
КПД должно выполняться с учетом изменений параметров газа по высоте лопатки,
при этом допустимо применять постоянные полные давления и температуры газа
перед ступенью турбины в радиальном и окружном направлениях. Рассчитывая
ступень турбины вполне достаточно определить параметры потока и треугольники
скоростей в пяти сечениях.
Применение
закона
и
значительно
упрощает технологию изготовления лопаток соплового аппарата и рабочих колес,
позволяет создавать хорошую рабочую базу для их монтажа в статоре и роторе. При
сопловые лопатки первой ступени турбины являются не
кручеными и имеют почти постоянный профиль по высоте, что способствует
организации внутреннего охлаждения.
Исходные
данные берутся из расчета турбины на ЭВМ.
Хорду
профиля лопатки b принимаем постоянной по высоте лопатки.
Геометрический (конструктивный) угол решетки
на входе
выбираем в зависимости от углов потока
и
.
Рисунок 5.1-Обобщенные зависимости для выбора углов на входе.
Геометрический
угол решетки
на выходе принимаем равным эффективному углу 
=
-
=
.
Поскольку
в первых ступенях современных турбин
(
)
, то
=0.
При
закрутке
=const угол
принимают
неизменным (const).
Радиус
скругления входной кромки находим по формуле:
R
=0.2…0.3 C
, где C
= C
·b (b- хорда лопатки в данном сечении).
Радиус
скругления выходной кромки принимаем постоянным по высоте лопатки: R
=0.4=const.
Результаты
расчета - в таблице 5.1 и 5.2. Решетки профилей рабочего колеса
турбины представлены на рисунках 5.2-5.6.Треугольники скоростей представлены
на рисунке 5.8. Изображение профилей лопатки в пяти
сечениях по высоте приведены на рис. 5.7.
Таблица 5.1 - Изменение параметров потока по радиусу
Таблица 5.2-Профилирование лопатки РК по радиусу
Рисунок 5.2 Профили рабочего колеса во втулочном сечении
Рисунок 5.3 -Сечения профиля рабочего колеса на относительном радиусе
0,964
Рисунок 5.4 -Сечения профиля рабочего колеса на относительном радиусе
0,927
Рисунок 5.5 -Сечения профиля рабочего колеса на относительном радиусе
0,890
Рисунок 5.6 -Профили рабочего колеса в периферийном сечении
Рисунок 5.7 -Изгиб профиля рабочей лопатки турбины
Рисунок 5.8 - Планы скоростей решетки профилей (сечение 1-5)
В результате профилирования рабочего колеса первой ступени турбины по
закону крутки a1=const и b2=const были построены треугольники
скоростей и решетки профилей на трех радиусах: втулочном, среднем и
периферийном.
На всех радиусах выполняется условие a2>55°, а на внутреннем радиусе скорость W2 > W1. Однако ∆β=122,8º, что больше допускаемого 120º, т.е. имеется местная диффузорность
канала. В связи с этим увеличен геометрический угол на входе до величины і = 10,07º,что позволяет утверждать о величине
диффузорности до 5%, что не требует корректировки профиля.
6. ИССЛЕДОВАНИЕ ЭКСПЛУАТАЦИОННЫХ ХАРАКТЕРИСТИК ДВИГАТЕЛЯ
Для исследования используем математическую модель ТВаД с двухвальным
газогенератором и свободной турбиной. Здесь число независимых переменных
определяется по формуле:
n=3zв+2,
где zв - число валов газогенератора моделируемого двигателя.
Независимые переменные:
.
Система
уравнений невязок для данного двигателя представлена ниже:
Здесь
первые четыре уравнения - балансы расходов через компрессоры, турбины
компрессоров и свободную турбину, следующие два - балансы мощностей на роторах
высокого и низкого давления, седьмое - условие неизменности геометрии сопла,
восьмое - условие закона (программы) регулирования.
В
системе уравнений невязок приняты следующие обозначения:
- расход
воздуха через компрессор высокого и низкого давления, кг/с;
,
,
- расход газа через турбину высокого давления,
турбину низкого давления и свободную турбину, кг/с;
-
перепуск воздуха за КВД или КНД;
- отбор
воздуха на нужды установки;
- отбор
воздуха на охлаждение турбин;
- работа
компрессора высокого и низкого давления, Дж/кг;
- работа
турбины высокого давления, турбины низкого давления и турбины силовой, Дж/кг;
Отметим,
что положение рабочей точки на характеристике компрессора, все параметры
газогенератора и основные данные одновального двигателя со свободной турбиной
при неизменных внешних условиях практически однозначно определяются одной
независимой переменной. Закономерности совместной работы узлов и обобщённые
характеристики этого двигателя аналогичны закономерностям совместной работы
узлов и характеристикам двигателя с одним управляющим фактором. Режим работы
газогенератора определяется одним параметром и поддерживается одним
регулятором.
Например,
если в качестве параметра принята частота вращения ротора газогенератора, то
осуществляется, как правило, её замкнутое регулирование: Gт→ nгг. Если
же в качестве параметра режима принять Тг*, то во многих
случаях осуществляется её косвенное регулирование путём изменения расхода
топлива. Закон изменения температуры газа Тг* и,
соответственно, Gт
выбирается из условия обеспечения потребной мощности. В данном случае
потребителем является генератор переменного тока, который регламентирует
величину потребной мощности нашего двигателя.
6.1 Выбор
исходных данных
Исходные данные для расчета:в р= 32,05- массовый расход
воздуха на входе в двигатель в кг/с,
Нр= 0 - расчетная высота полета в км,
Мн р=0 - расчетная скорость полета в числах Маха,
πк*=15,95- степень
повышения полного давления в компрессоре,
ηк*=0,8568 - расчетное значение КПД компрессора,
ηкнд*=0,8755 - расчетное значение КПД КНД,
Тг р*=1254
- расчетное значение полной температуры перед турбиной в К,
сс=79 - скорость истечения на срезе выходного насадка в м/с,
= 0,38 -
распределение общей работы компрессора между каскадами,
ηтвд*=0,896 - КПД ТВД,
ηтнд*=0,8615 - КПД ТНД
ηтс*=0,915 - КПД турбины свободной,
λu твд
р= 0,6406 - расчетное значение
приведенной окружной скорости на среднем диаметре ТВД,
λu тнд
р= 0,5742 - расчетное значение
приведенной окружной скорости на среднем диаметре ТНД,
λu тс
р= 0,4607 - расчетное значение
приведенной окружной скорости на среднем диаметре ТС,
Zтк=1
- число ступеней ТВД,тк=1 - число ступеней ТНД,тс=2 -
число ступеней ТС,
σвх=0,97 -
коэффициент восстановления полного давления во входном устройстве,
σкс=0,931 -
коэффициент восстановления полного давления в камере сгорания,
σрн=0,98 -
коэффициент восстановления полного давления реактивном насадке,
σпт=0,985-
коэффициент восстановления полного давления в переходном канале между КНД и
КВД,
ηг=0,99 -
коэффициент полноты сгорания,
ηmвд=0,985,ηmнд=0,985- механические КПД роторов ВД иНД,
=1,00
- коэффициент полноты расширения в
реактивном насадке,
nвд=13510,9- частота вращения ротора ВД в об/мин.,
nнд=10592,8- частота вращения ротора НД в об/мин.,
nтс=8201 - частота вращения ротора свободной турбины в
об/мин.,
Предусмотрен
отбор воздуха для охлаждения турбины компрессора и составляет
Значение
приведенной окружной скорости в ТВД, ТНД и свободной турбине вычисляем по
формуле:
,
соответственно.
и
,
6.2
Исследование дроссельной характеристики двигателя
Дроссельной
характеристикой называют зависимость основных данных и параметров двигателя от
частоты вращения ротора при заданных условиях на входе в двигатель и принятой
программе регулирования.
Исследуем
режимы, осуществляя дросселирование двигателя по программе:
Расчёт
проводим на восьми режимах, где относительная частота вращения n
изменяется вследствие уменьшения подачи топлива в основную камеру сгорания.
Дроссельную
характеристику мы будем получать с помощью учебных математических моделей
(УММ). Данный пакет программ позволяет проводить моделирование характеристик
для ГТД с двухвальным газогенератором и силовой турбиной. После работы с файлом
mgtu.dat (это файл исходных данных для расчета характеристики)
мы получаем файл mgtu.rez (результирующий файл после расчета характеристики);
для визуального представления данной характеристики используем программу Grafxdl.exe.
Исходные
данные для расчета дроссельной характеристики и результаты расчета представлены
в таблицах 6.1 и 6.2.
Таблица
6.1 - Исходные данные для расчета дроссельной характеристики
Таблица
6.2 - Результаты расчета дроссельной характеристики
Результаты расчета дроссельной характеристики в виде графических
зависимостей основных параметров двигателя от частоты вращения ротора приведены
на рисунках 6.1-6.6 соответственно.
Рисунок 6.1 - Характеристика КНД
Рисунок 6.2 - Характеристика КВД
Рисунок 6.3 - Зависимость мощности и удельного расхода топлива от
приведенных оборотов вращения ротора ВД
Рисунок 6.4 - Зависимость hе и ηкs от приведенных оборотов вращения ротора ВД
Рисунок 6.5 - Зависимость Т*г и aкс от приведенных оборотов вращения
ротора ВД
Рисунок
6.6 - Зависимость
и
от
приведенных оборотов вращения ротора ВД
Газогенератор
ТВаД со свободной турбиной имеет один регулирующий фактор Gт, следовательно, перейти с максимального режима на пониженные режимы
можно за счет уменьшения расхода топлива.
На
рисунке 6.3 представлены зависимости удельного расхода и мощности от
приведенных оборотов вращения ротора ВД. Анализируя графики, делаем следующие
выводы, что с уменьшением приведенных оборотов эффективный КПД падает.
Следовательно, удельный расход топлива Се растет.
Уменьшение расхода топлива
приводит к снижению температуры газа (рисунок 6.5). Уменьшение работы турбины
при снижении приведенных оборотов будет идти только вследствие уменьшения
температуры газа, так как степень понижения давления в турбине постоянна (при Fpc=const).
На
рисунке 6.6 видно, что запасы КВД при дросселировании резко возрастают. Рабочая
точка на характеристике КВД уходит от ГУР. Запасы устойчивой работы КНД при
дросселировании снижаются и линия рабочих режимов подходит к ГУР.
7. РАСЧЕТ
ЦЕНТРОБЕЖНОГО НАГНЕТАТЕЛЯ ПРИРОДНОГО ГАЗА
Одним
из важнейших узлов газотранспортных магистралей является компрессорная станция
(КС). Ее назначение - поддерживать давление газа в трубопроводе на уровне 5,5
МПа. Эти функции на КС выполняет газоперекачивающие агрегаты (ГПА), центральным
компонентом которых является нагнетатель природного газа. В данном узле
природный газ дожимается до требуемого давления и поступает в газопровод для
дальнейшей транспортировки.
Конструктивно
нагнетатель природного газа состоит из ходовой части (центробежная
компрессионная машина) и силового привода. В качестве привода используется
газотурбинная установка или электродвигатель. Обе части нагнетателя являются
самостоятельными узлами и разделены между собой герметичной преградой (стеной),
что надежно обеспечивает пожаробезопасность газотранспортного узла.
Центробежный
компрессор нагнетателя монтируется непосредственно в газовый трубопровод
(выходные патрубки изделия привариваются к стыкам газопровода). Такое положение
позволяет быстро произвести монтаж или ремонтные работы. Гильза с нагнетателем
удаляется и на ее место ставится другой агрегат.
Данный
курсовой проект предусматривает разработку нагнетателя газоперекачивающего агрегата
под данный тип двигателя. За основу был взят ГПА ГТК-10 производства ОАО
«Никтит», г. Санкт-Петербург, Россия.
При
расчете использовалась программа, которая была разработана на кафедре 201
Национального аэрокосмического университета им Н.Е. Жуковского «ХАИ».
Проведен
расчет двух вариантов проточной части ЦБК лопаточным и безлопаточным
диффузором. Параметры природного газа приведены к стандартным условиям воздуха
на входе. Используемый центробежный компрессор двухступенчатый, в данном
расчете получены геометрические параметры ступени. Также получены результаты
расчета геометрии профилей рабочего колеса и лопаточного диффузора. Построена
проточная часть ЦБК и решетки профилей.
7.1
Исходные данные
Исходные
данные приведены в таблице 6.1, результаты расчета в таблице 6.2 -6.3.
Таблица
7.1 - Исходные данные для расчета
|
N_gpa, МВт: 6.3 -
Потребляемая мощность, МВт
|
|
Q, м3/с: 206.4-
Производительность, м3/мин
|
|
n, об/мин: 8200.00 -
Частота вращения компрессора
|
|
P_кон, МПа: 5.49 - Конечное
давление
|
|
P_нач, МПа: 3.79 -
Начальное давление
|
|
Т_нач, К: 288.00 -
Температура газа, К
|
|
Тип диффузора :
безлопаточный и лопаточный.
|
|
Степень повышения давления
в нагнетателе: 1.45
|
7.2 Результаты расчета
Результаты расчета на ЭВМ предоставлены в таблице 6.2 и 6.3
Таблица 7.2 - Результаты расчета
безлопаточного диффузора.
|
Тип диффузора :
безлопаточный Результаты расчета: Политропический КПД нагнетателя : 0.820
Степень повышения давления в нагнетателе : 1.45 Количество ступеней : 2
Геометрия проточной части: Диаметр втулки на входе d0, мм : 172.63 Диаметр
покрывного диска на входе D0, мм : 306.15 Диаметр входа (средний) в лопатки
РК D1, мм : 315.34 Диаметр на выходе из РК D2, мм : 639.38 Диаметр на входе в
диффузор D3, мм : 703.32 Диаметр на выходе из диффузора D4, мм : 1118.91
Ширина проточной части на D1 b1, мм : 57.51 Ширина проточной части на D2 b2,
мм : 23.08 Ширина проточной части на D3 b3, мм : 30.00 Ширина проточной части
на D4 b4, мм : 30.00 Линейный размер Х, мм : 191.81 Угол наклона входной
кромки лопаток gamma, град : 15.00 Угол наклона покрывающего диска teta, град
: 12.00 Радиус покрывающего диска Rp, мм : 30.00 Радиус основного диска Rv,
мм : 70.00
|
|
Геометрия лопаточных
венцов: РК: Геометрический угол входа Beta1_g, град : 35.00 Геометрический
угол выхода Beta2_g, град : 55.00 Количество лопаток z2, шт. : 19 Радиус
кривизны средней линии Rл, мм : 713.34 Радиус разметочной окружности R0, мм :
591.14 Геометрия кольцевой камеры: Средний диаметр Dср, мм : 1152.48 Высота
h_max, мм : 171.24 Ширина b_sr, мм : 222.61 Радиус покрывающего диска Rp, мм
: 30.00 Радиус основного диска Rv, мм : 70.00
|
Таблица 7.3 - Результаты расчета лопаточного
диффузора.
|
Тип диффузора : лопаточный
|
|
Результаты расчета:
|
|
Политропический КПД
нагнетателя : 0.820
|
|
Степень повышения давления
в нагнетателе : 1.45
|
|
Количество ступеней : 2
|
|
Геометрия проточной части:
|
|
Диаметр втулки на входе d0,
мм : 172.63
|
|
Диаметр покрывного диска на
входе D0, мм : 306.15
|
|
Диаметр входа (средний) в
лопатки РК D1, мм : 315.34
|
|
Диаметр на выходе из РК D2,
мм : 639.38
|
|
Диаметр на входе в диффузор
D3, мм : 735.29
|
|
Диаметр на выходе из
диффузора D4, мм : 991.04
|
|
Ширина проточной части на
D1 b1, мм : 57.51
|
|
Ширина проточной части на
D2 b2, мм : 23.08
|
|
Ширина проточной части на
D3 b3, мм : 33.46
|
|
Ширина проточной части на
D4 b4, мм : 33.46
|
|
Линейный размер Х, мм :
191.81
|
|
Угол наклона входной кромки
лопаток gamma, град : 15.00
|
|
Угол наклона покрывающего
диска teta, град : 12.00
|
|
Радиус покрывающего диска
Rp, мм : 30.00
|
|
Радиус основного диска Rv,
мм : 70.00
|
|
Геометрия лопаточных
венцов:
|
|
РК:
|
|
Геометрический угол входа
Beta1_g, град : 35.00
|
|
Геометрический угол выхода
Beta2_g, град : 55.00
|
|
Количество лопаток z2, шт.
: 19
|
|
Радиус кривизны средней
линии Rл, мм : 713.34
|
|
Радиус разметочной
окружности R0, мм : 591.14
|
|
ЛД:
|
|
Геометрический угол входа
Alf1_g, град : 26.00
|
|
Геометрический угол выхода
Alf2_g, град : 37.53
|
|
Количество лопаток ЛД z3,
шт. : 23
|
|
Радиус кривизны средней
линии Rл, мм : 882.98
|
|
Радиус разметочной
окружности R0, мм : 575.57
|
|
Геометрия кольцевой камеры:
|
|
Средний диаметр Dср, мм :
1020.77
|
|
Высота h_max, мм : 263.91
|
|
Ширина b_sr, мм : 343.08
|
|
Радиус покрывающего диска
Rp, мм : 30.00
|
|
Радиус основного диска Rv,
мм : 70.00
|
Чертеж представлен на формате А3 (К201.КП.10О.241.01)
В результате проведенного расчета ЦБК нагнетателя природного газа были
получены геометрические параметры проточной части и лопаточных венцов.
Полученные размеры проточной части ЦБК и радиальные цилиндрические
лопатки рабочего колеса и лопаточного диффузора являются типичными для ЦБК
нагнетателей природного газа на линейных КС.
8. ПРОЕКТИРОВАНИЕ ВХОДНОГО И ВЫХОДНОГО УСТРОЙСТВ
При проектировании газотурбинных установок различного назначения и
области применения одним из этапов является аэродинамический расчет и
профилирование входных и выходных устройств.
При выборе конструктивной схемы и проектировании входных и выходных
устройств турбомашин необходимо учитывать требования, обусловленные назначением
и соображениями эффективности и надежности машины.
Так, например, к входному устройству предъявляются такие требования как:
- обеспечить равномерный поток, как в окружном, так и в радиальном
направлениях на входе в компрессор;
- подвод воздуха должен осуществляться с минимальными
гидравлическими сопротивлениями;
так как во входных устройствах часто располагают передний
подшипник, то корпус должен быть достаточно жесткий, чтобы не деформироваться
под действием статических и динамических нагрузок на подшипник.
Согласно основным требованиям, предъявляемым к выходным устройствам
газотурбинных установок, устройства должны:
- обеспечивать отвод рабочего тела из турбомашины в заданном
направлении с минимальными аэродинамическими потерями;
- обеспечить равномерное поле давлений за последней ступенью
турбины;
обеспечить стационарный устойчивый характер течения на всех
режимах работы;
обладать высокой жесткостью
Кроме того, выходные устройства должны обеспечить необходимую степень
глушения шума, производимого двигателем.
Целью данного расчета является определение геометрических размеров и
основных параметров, характеризующих работу входного и выходного устройств.
8.1 Расчет входного устройства
Входным устройством называется часть силовой установки, которая состоит
из воздухозаборника, переходных каналов, систем его регулирования и защиты от
попадания посторонних предметов. Основная функция ВУ - подача циклового
рабочего тела к компрессору ГТУ с минимальными искажениями полей скоростей и
давлений, а также с минимальными потерями полного давления на входе в
компрессор.
Формулы, используемые при расчете:
где
относительная площадь патрубка (степень поджатия
патрубка),
Fвх=В·Н;
- степень
поджатия коллектора;
-относительный
диаметр патрубка
Используемые
рекомендации к расчету:
(принимаем
2,7) при
»
=3,5…4
(принимаем 4);
=1,25...1,5
(принимаем 1,25);
относительная
протяженность входного устройства
выбирают
в пределах
1,5…2 (принимаем 1,6);
радиус
скругления коллектора R=0,25Do.
Исходные
данные берем из компрессора:
Do=0,6130
м - наружный диаметр проточной части компрессора;
d=0,3733 м -
втулочный диаметр;
ho=0,1199
- высота проточной части компрессора;
Площадь
в сечении - 0:
Осевое
расстояние от торцевой стенки патрубка до коллектора:
hк=2* ho=2*0,1199=0,3237.
Площади
Fк и Fвх:
Fк=4* Fo=4·0,1856=0,7423;
Fвх= Fк=0,7423.
Диаметр
коллектора:
Диаметр
патрубка:
Dn=
1,25∙Dк=1,25∙0,7303=0,9129м.
Толщина
патрубка:
Ширина
патрубка:
Осевая
протяженность:
L=
∙H=1,6·0,8131=1,301м.
Радиус
скругления лемнискаты:
R=0.25∙Do=0.25∙0,613 =0,1533м.
Схема входного устройства, построенная на основании проведенного расчёта представлена на
рисунке 8.1.
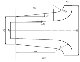
Рисунок 8.1 - Схема входного устройства
8.2 Расчет выходного устройства
Расчеты выполняются в соответствии с рекомендациями [6].
Целью данного расчета является определение геометрических размеров и
основных параметров, характеризующих работу выходного устройства.
Расчет выходного устройства производим с помощью программы DIFFUZOR.EXE.
Таблица 8.1 - Исходные данные для расчёта выходного устройства
|
Параметры
|
Размерность
|
Величина
|
|
D1
|
м
|
0,459
|
|
D2
|
м
|
0,779
|
|
=Dк/D2-1,8
|
|
|
|
=L/D2-1,35
|
|
|
|
nотп
|
-
|
2,101
|
Степень поджатия потока:
,
где
Таблица 8.2 - Результаты расчета выходного устройства
Рисунок 8.2 Чертеж выходного осерадиального диффузора
Рисунок 8.3 - График распределения степени расширения вдоль проточной
части
На основании выбранных данных была рассчитана конструктивная схема
входного устройства, которая обеспечивает равномерный подвод воздуха с
наименьшими потерями к компрессору.
На основании полученных результатов расчета был выбран один из вариантов
проектируемого диффузора, геометрические параметры которого обеспечивают
плавное изменение формы проточной части и необходимое значение степени
расширения, также обеспечиваеться заданная в термогазодинамическом разделе
скорость истечения с сопла Сс=79 м/с Полученный коэффициент полных
потерь равен 0,401.
ЗАКЛЮЧЕНИЕ
В результате выполнения курсового проекта был спроектирован ГПА
предназначенный для работы в газотранспортной сети.
В процессе проектирования были решены следующие задачи:
- произведен термогазодинамический расчет установки с выбором
оптимального варианта;
- произведено формирование облика ГТУ;
выполнен газодинамический расчет компрессора;
выполнен газодинамический расчет турбины и профилирование РК
ступени ТВД;
проведено исследование дросельной и климатической характеристики
ГТУ;
произведены проектировочные расчеты входного и выходного
устройств.
.Подобран центробежный нагнетатель по частоте вращения ТС и ее мощности.
В результате термогазодинамического расчета двигателя были получены следующие
параметры: удельный расход топлива Сеуд=0,2273 кг/кВт·ч, удельная мощность Nеуд=219кВт·с/кг.
Определены полные давления и температуры в характерных сечениях, а также
параметры основных узлов.
.При выполнении согласования были определены геометрические размеры и
основные газодинамические параметры компрессоров и турбин. Определены нагрузки.
Полученные данные лежат в допустимых пределах.
. В результате газодинамического расчета турбины спроектирован узел,
который по своим параметрам. Углы выхода потока из СА в абсолютном движении
превышают 15о, значит степени реактивности распределены удачно, а
угол выхода потока из РК последней ступени в абсолютном движении близок к
осевому (90о ). Выбран ресурс материала лопаток турбины до полного
разрушения в количестве 10000 часов. Произведен расчет лопаток турбины при
выбранном материале, что позволил определить коэффициенты длительной прочности,
которые превышают минимально допустимое значение, что соответствует
гарантированной выработке ресурса.
. Для профилирования ступени турбины применили закон a1(R)=const иb2(R)=const, это позволяет значительно упростить технологию
изготовления лопаток соплового аппарата и рабочих колёс. По результатам профилирования
видно, что на внутреннем радиусе скорость W2>W1, а углы a2>55 град и Db£120 град.
5. В результате расчета входного устройства были получены его
геометрические размеры, по которым можно определить возникающие в нем потери.
При проектировании диффузора были получены его геометрические параметры,
удовлетворяющие конструктивным требованиям.
ПЕРЕЧЕНЬ ССЫЛОК
1. Выбор параметров и термогазодинамический расчет ТВД, ТВВД
и ТВаД / В.П. Герасименко, Г.В. Павленко - Учебное пособие.- Харьков: Харьк.
авиац. Ин - т, 1984 г.
. Согласование параметров и определение основных размеров
турбин и компрессоров ГТУ/ Буслик Л.Н., Ковалев В.И.: Учеб. пособие. Харьков
1994г. 3бс.
. Газодинамический расчет осевого компрессора ГТД / Г.В.
Павленко. - Учеб. пособие. - Харьков: Нац. аэрокосмический университет
«Харьковский авиационный институт», 2002. - 57с.
. Газодинамический расчет осевой газовой турбины / Г.В.
Павленко.- Учеб. пособие. - Харьков: Нац. аэрокосмический университет
«Харьковский авиационный институт», 2006. - 62с.
. Профилирование лопаток авиационных турбин/ В.А. Коваль:
Учеб. пособие. Харьков 1986г. - 48с.
6. Анютин А.Н., Дегтярёв О.Д. Проектирование входных и выходных устройств
ГТУ. Учеб. пособие.