Гильотинные механические ножницы

  • Вид работы:
    Курсовая работа (т)
  • Предмет:
    Другое
  • Язык:
    Русский
    ,
    Формат файла:
    MS Word
    333,86 Кб
  • Опубликовано:
    2015-03-09
Вы можете узнать стоимость помощи в написании студенческой работы.
Помощь в написании работы, которую точно примут!

Гильотинные механические ножницы

Введение

В условиях конкуренции на мировом рынке черной металлургии одним из главных условий существования и получения стабильной прибыли на Ашинском металлургическом заводе является использование современных технологий в производстве, которые позволят снизить себестоимость и повысить качество продукции.

ОАО ‘’Ашинский металлургический завод"- компактное, современное, многопрофильное производство, входящее в пятерку лучших поставщиков толстолистового проката из углеродистых, низколегированных марок сталей. ОАО ‘’АМЗ’’ является лидером на рынке прокатного производства аморфных и нано кристаллических сплавов. Завод является одним из крупнейших в России производителей специальных сплавов для нужд предприятий оборонного комплекса, нефтегазовой, химической, атомной, авиационной и космической отраслей промышленности. Основным ремонтным подразделением на любом предприятии является Ремонтно-механический цех (РМЦ). Его назначение - изготовление и ремонт запасных частей для основного и вспомогательного оборудования. РМЦ, как правило, имеет большой станочный парк: токарные, фрезерные, шлифовальные, зубонарезные станки и т. д. Так же на территории РМЦ располагается сварочный участок, где выполняются работы по ремонту деталей (трещин, дефектов литья, наплавке износостойких покрытий и т. д). На базе такого цеха можно выполнять как простые, так и сложные ремонты.

В курсовом проекте рассмотрены гильотинные механические ножницы в условиях ОАО ‘’АМЗ’’ расположенных в РМЦ.

Основное назначение механической гильотины - рубка листового материала. Ножницы предназначены для выполнения прямолинейных резов, вырезы таким инструментом не выполняются.

Гильотинные ножницы - механическое устройство для резки материалов, имеющие в своей конструкции косой подвижный нож, двигающийся в одной плоскости без изменения угла наклона.

Целью курсового проекта является рассмотреть текущий ремонт гильотинных механических ножниц. В данном курсовом проекте рассматривается общая часть, в которой: описываются гильотинные ножницы, конструкция и работа гильотинных ножниц, кинематическая схема ножниц, характеристика смазки ножниц, технические условия на ремонтные работы; специальная часть: описания ремонта, технологические расчеты, приспособления применяемое при ремонте, охрану труда, технику безопасности при проведении ремонта ножниц.

гильотинный ножницы смазка ремонт

1. Общая часть

.1 Описания назначение, конструкции и работы гильотинных ножниц

Гильотинные ножницы - это первый и основной станок заготовительного производства для плоского металлического листа. Первый - потому, что с него начинается обработка листа. Основной - потому, что на гильотины приходится основной объем заготовительных операций. Другие разделительные операции (газовая, водная и лазерная резка) не могут сравниться с ножницами, как по производительности, так и по себестоимости.

Гильотина - это общее название механизмов служащих для обрубания кабелей, резки металлических листов, бумаги и других операций, связанных с рубящим движением. Для удержания материала во время реза, некоторые гильотины имеют в своем составе прижим - пресс с механическим или гидравлическим приводом. Пресс снижает эффект вытягивания материала из под ножа и рез получается ровнее.Кроме того, наличие прижима позволяет с успехом резать стопки материала.

Ножницы установлены в поточной линии поперечной резки полосы на листы мерной длины:

наибольшая ширина полосы 2350 мм;

толщина 8 мм;

предел прочности материала полосы 500 МПа;

ход нижнего ножа 135 мм, длина режущей кромки 2500 мм.

Ножницы включаются на резание оператором и останавливаются в исходном положении при помощи командоаппарата, установленного на тихоходном валу редуктора.

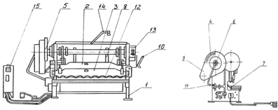
Ножи должны изготавливаться из стали марок 5XB2C, 6XB2C, 6XC, твердость ножей- HRC 55÷58, допуск плоскостности поверхностей - не более 0,1 мм на длинне 100 мм. Масса ножей 2800 кг, допускаемая разность размеров ножей в месте стыка не более 0,03 мм.На рисунке 1 показан общий вид гильотинных ножниц, а так же в таблице 1- техническая характеристика гильотинных ножниц.

Рисунок 1 Общий вид гильотинных ножниц

Ножницы состоят из:

- станина, 2- ножевая балка, 3- прижимная балка, 4- привод, 5- редуктор целендрический, 6-вал приводной, 7- задний упор, 8- уравновешиватель, 9- ограждение, 10- смазка,11- воздухопровод, 12- ограждение зоны реза, 13- установка БВК, 14- освещение линии реза, 15- ящик управления.

Таблица 1 - Техническая характеристика гильотинных ножниц

№ п/п

Наименование параметра

Величина параметра

1

Наибольшая толщина разрезаемого листа, мм

6

2

Наибольшая ширина разрезаемого листа, мм

2350

3

Расстояние от кромки неподвижного ножа до станины (вылет), мм

500

4

Число ходов ножа в мин

55

5

Угол наклона подвижного ножа, град.

1˚ 30мин

6

Ширина отрезаемой заготовки по упору наибольшая, мм.

900

7

Ход ножа, мм.

80

8

Число режущих кромок ножа, шт.

4

9

Расстояние между стойками в свету, мм.

2410

10

Номинальное усилие реза, кг.

20000

11

Габариты ножниц, мм.


12

Слева направо

3160

13

Спереди назад

1930

14

Высота над уровнем пола, мм.

2175

15

Масса ножниц, т.


Принцип работы основных узлов:

Станина - является базовым узлом, на котором крепятся все остальные узлы ножниц. Станина представляет собой сварную конструкцию, состоящую из двух стоек, связанных между собой швеллерами.

Привод ножниц - осуществляется от электродвигателя через клиноременную передачу на маховик, через зубчатые колоса и муфту включения на коленчатый вал.

Муфта включения - на левом конце коленчатого вала в ступице зубчатого колеса установлена шпоночная муфта включения. Втулки неподвижно посажены в ступице зубчатого колеса. Остальные детали соединены с коленвалом.

Ножевая балка-представляет собой сварную конструкцию Г-образной формы, усиленную ребрами. К ножевой балке крепится задний упор.

Прижим и решетка защитная - Во время работы ножниц разрезаемый лист прижимается к столу прижимной балкой. При движении ножевой балки вниз, прижимная балка под действием пружин отпускается и прижимает лист, причем в начале осуществляется прижим листа, а за тем начинается рез

Задний упор - устанавливается с тыльной стороны ножевой балки и служит упором для листа при поперечной резки. Задний упор состоит из двух цилиндрических резок, перемещаемых вручную маховиками, сидящими на валах шестерни, находящихся в зацеплении с рейками.

Уравновешиватель - служит для удержания ножевой балки в верхнем положении после каждого одиночного хода - при ремонте ножниц или смене ножей. Состоит из двух наборов пружин, установленных в станках, приваренных к верхнему швеллеру станины.

Тормоз - на правом конце коленчатого вала насажен тормоз периодического действия. Периодичность торможения достигается за счет эксцентрического расположения шкива по отношению к оси коленвала.

Электромагнитное управление - при нажатии на кнопку или педаль включается электромагнит, якорь которого поворачивает вилку с пальцем, освобождая зацепляющийся с ним хвостовик, связанный с рабочей шпонкой.

Ограждение ножниц - выполнено из листовой стали толщиной 1,6 мм и служит для ограждения вращающихся деталей ножниц. Ограждение состоит из четырех кожухов, которые закрывают шкив мотора и маховик клиноременной передачи, шестерни приводных валов и тормоз ножниц. Болтами М10 все кожуха прикреплены к станине.

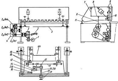
.2 Кинематическая схема гильотинных ножниц

Рисунок 2 Гильотинные ножницы

Главная кинематическая цепь (рисунок 2) состоит из:

- электродвигатель (M1), 2- клиноременная передача связанного с маховиком, 3-муфта-тормоз,4 -входной вал двухступенчатого цилиндрического редуктора,5-выходное колесо редуктора, 6 -рычаги, 7 -шатун (1),8- шатун (2),9 -прижимная балка, 11 -эксцентриковые оси,12-электродвиготель (М2),13-червячный редуктор, 14,15-звездочки,16- указатель ширины отрезаемой полосы, 17-вал, 18-две пары конических шестеренок,19- ходовые винты,20-упорная балка,21- маховик,22- карданная передача.

При включении электродвигателя M1 и муфты-тормоза механизм реза движется по траектории, как единое целое, поворачиваясь вокруг осей до соприкосновения прижимной балки с разрезаемым листом (или столом при отсутствии листа). После остановки прижимной балки ножевая балка с точки, начинает прямолинейное движение по направляющим. При этом в зависимости от толщины разрезаемого листа между ножами автоматически устанавливается необходимый зазор. При резке листа большей толщины прижимная балка остановится от поверхности стола выше и, соответственно, ножевая балка начнет прямолинейное движение с точки. На каждый миллиметр толщины листа увеличение зазора составляет приблезительно от 0,04 до 0,05 мм. При отсутствии листа зазор между ножами устанавливаете с помощью осей равным от 0,02 до 0,03 мм. При встрече верхнего подвижного ножа с листом (начало реза), возрастает усилие, часть которого через рычажную систему передается на прижимную балку, обеспечивая усилие прижима 25 % от усилия реза. Кинематическая цепь заднего упора включает в себя электродвигатель (М2), клиноременной передачей связанный с быстроходным валом червячного редуктора. На тихоходном валу редуктора смонтированы две звездочки.

Первая - цепной передачей связана с указателем ширины отрезаемой полосы, а вторая также цепью - с валом, через две пары конических шестеренприводящим во вращение ходовые винты, с которыми кинематически связана упорная балка.

.3 Характеристика смазки гильотинных ножниц

Централизованная смазка ножниц - основные трущиеся поверхности смазываются от ручной насосной станции через питатели. Через все установленные на ножницах индивидуальные масленки смазка производится при помощи ручного шприца. Шестерни привода смазываются путем закладывания смазки соответственно на зубья шестерен. В процессе работы ножницы нужно смазывать так, чтобы смазка поступала с боковых мест расположения подшипников. Выступающую из зазоров смазку нужно вытирать. Необходимо периодически проверять состояние масленок и маслопроводящих отверстий в деталях и обязательно их прочищать. Не реже одного раза в три месяца смазочные отверстия следует промывать чистым керосином.

Характеристика масла ЦИАТИМ-203:

Нефтяное трансформаторное масло, загущенное литиевым мылом технического осерненного асидола; содержит вязкостную и противозадирную присадки.

Область применения смазки Циатим 203: направляющие ножевой балки и пружины, оси шатунов, верхние вкладыши шатунов, оси коромысла привода прижима, муфта включения, опоры коренных шеек коленчатого вала, опоры промежуточного вала, зубчатые передачи, подшипники вала маховика, задний упор.

Основные эксплуатационные характеристики Циатима 203:

работоспособна при температуре от −50 до +100

превосходит ЦИАТИМ-201 по химической и коллоидной стабильностям, водостойкости и противоизносным характеристикам.

Характеристика смазки и рисунок смазки гильотинных ножниц указана в таблице 2 и рисунки 3.

Таблица 2 Характеристика смазки гильотинных ножниц

Наименования точек смазки

Номер позиций

Смазка

Режим



Вид

Тип


Направляющие ножевой балки и пружины

1

Ручная

Цитатим-203

Один раз в 3 месяца

Оси шатунов

2




Верхние вкладыши шатунов

3




Оси коромысла привода прижима

4




Муфта включения

5




Опоры коренных шеек коленчатого вала

6




Опоры промежуточного вала

7




Зубчатые передачи

8




Подшипники вала маховика

9




Задний упор

10





Рисунок 3 Смазки гильотинных ножниц

На рисунке 3 обозначены точки смазки: 1- направляющая ножевой балки и пружины, 2- оси шатунов, 3- верхние вкладыши шатунов, 4- оси коромысла привода прижима, 5- муфта включения, 6- опоры коренных шеек коленчатого вала, 7- опоры промежуточного вала, 8- зубчатые передачи, 9- подшипники вала маховика, 10- задний упор.

.4 Технические условия на ремонтные работы гильотинных ножниц

Приступая к работе на ножницах для резки листа необходимо:

) осмотреть механизм, убрать посторонние предметы с их стола, обтереть его от пыли и грязи;

) проверять крепление ножей;

) проверять зазор между ножами;

) произвести смазку согласно карте смазки;

) настроить ножницы на заданный режим.

По окончании работы следует выключить электропитание, обтереть ножницы и смазать маслом все неокрашенные места.

В процессе эксплуатации ножниц необходимо:

) контролировать работу тормоза, регулируя натяжение пружины;

) периодически проверять состояние поворотной шпонки муфты включения;

) регулярно проверять работу прижима от чего зависит качество реза, величину усилия;

) периодически проверять натяжение клиновых ремней;

При выполнении ремонтных и наладочных работ ножевая балка должна быть зафиксирована фиксаторами через специальные отверстия в стойках механизма.

Перечень основных проверок технического состояния механизма:

.Зазор между скользящими плоскостями ножевой балки 0,1 ÷ 0,25 мм и направляющими станины проверяется щупом не менее, чем в двух местах по длине направляющей с каждой стороны.

. Зазор между скользящими плоскостями прижима и направляющими станины 0,1 ÷ 0,3 мм, проверяется щупом по длине направляющих с каждой стороны 0,32 мм .

. Не плоскостность вертикальных опорных поверхностей под верхний и нижний ножи 0,06 мм на длине 1000 мм.

. Не параллельность вертикальной опорной поверхности верхнего ножа 0,1 мм ходу ножевой балки на длине 100 мм

. Биение маховика в радиальном направлении при его вращении 0,1 мм проверяется индикатором.

. Биение маховика в осевом направлении при его вращении 0,2 мм проверяется индикатором.

Условия на ремонт гильотинных ножей:

Разборка должна вестись соответствующими инструментами и приспособлениями, использование которых исключает порчу годных деталей.

Разборка ножей выполняется в таком порядке:

) отключить станок от электропитания;

) снять все щитки и кожухи;

) откручиваем болты;

) снимаем ножи.

Ремонтные работы: После полной разборки станка детали узлов промывают и сушат, а затем осуществляют технический контроль: детали подвергают внешнему осмотру, замеряют их размеры и проверяют геометрические формы. В результате контроля детали разделяются на группы: годные детали, требующие восстановления, и негодные. В процессе разборки производят дефектацию деталей и составляют дефектную (ремонтную) ведомость.

Для снятия ножей гильотины следует использовать следующие инструменты: 1) комплект гаечных ключей;

) отвертка плоская;

) молоток;

) стропы;

) кран мостовой.

Общие требования к гильотинным ножницам:

Похожие работы на - Гильотинные механические ножницы

 

Не нашли материал для своей работы?
Поможем написать уникальную работу
Без плагиата!
Без нейросетей!