Борьба с осложнениями при эксплуатации скважин – коррозия глубинно-насосного оборудования

  • Вид работы:
    Курсовая работа (т)
  • Предмет:
    Другое
  • Язык:
    Русский
    ,
    Формат файла:
    MS Word
    664,08 Кб
  • Опубликовано:
    2014-11-13
Вы можете узнать стоимость помощи в написании студенческой работы.
Помощь в написании работы, которую точно примут!

Борьба с осложнениями при эксплуатации скважин – коррозия глубинно-насосного оборудования

Министерство образования и науки Российской Федерации

Федеральное государственное бюджетное образовательное учреждение

высшего профессионального образования

Национальный минерально-сырьевой университет «Горный»

Кафедра разработки и эксплуатации нефтяных и газовых месторождений








Реферат

Борьба с осложнениями при эксплуатации скважин - коррозия глубинно-насосного оборудования









Санкт-Петербург

Оглавление

Введение

. Характеристика коррозионных процессов

.1 Типы коррозионных разрушений

.2 Электрохимическая коррозия в различных средах

.3 Особенности коррозионных процессов глубинно-насосного оборудования

. Методы защиты металлов от коррозии

.1 Защита от коррозии с помощью ингибирования

.2 Покрытия, как метод защиты металлов от коррозии. Пассивная защита

.3 Электрохимический метод предотвращения коррозии глубинно-насосного оборудования. Активная защита

.3.1 Применение станций катодной защиты

.3.2 Протекторная защита

Заключение

Список использованной литературы

Введение

Среди множества факторов, оказывающих негативное воздействие на состояние погружных металлических конструкций, коррозийный фактор не является определяющим. Предполагаемый срок эксплуатации глубинного оборудования, относительно наземного оборудования, невелик. Погружное оборудование выходит из строя гораздо чаще, чем наземное, для которого коррозийный износ является одной из решающих причин выхода из строя. На состояние и исправность подземного оборудования больше влияют факторы солеотложение и засорение механическими примесями [1].

Однако, всё чаще причиной отказов скважин становятся коррозионные процессы, разрушающие глубинное оборудование. Коррозия оборудования связана с воздействием сразу нескольких факторов - повышением обводненности продукции скважин, увеличением выноса солей и механических примесей, повышением скорости движения пластовой жидкости, увеличением токов и напряжений в кабельных линиях и глубинных электродвигателях [2].

Финансовые потери, связанные с коррозийным износом оборудования составлены не только расходами на ремонт и замену дорогостоящих деталей, но, так же, с уменьшением объемов добычи нефти в периоды ремонта. На некоторых предприятиях коррозия глубинно-насосного оборудования является причиной примерно 70 % отказов скважин, вышедших из строя по причине коррозии[1].

Поэтому повышение эксплуатационного срока скважинного оборудования невозможно без защиты оборудования от коррозии. Однако для обоснования выбора методов защиты оборудования необходимо применение научных подходов при изучении видов и причин коррозии.

В данной работе будут рассмотрены основные характеристики коррозионных процессов, их классификации по видам коррозионных разрушений, характеру взаимодействия металла со средой, условиям протекания. Так же, внимание будет уделено свойствам, причинам и особенностям протекания коррозионных процессов глубинно-насосного оборудования.

Вторая глава работы будет посвящена методам защиты глубинного оборудования от коррозии. Будут рассмотрены самые часто применяемые методы, приведены примеры борьбы с коррозией на определенных месторождениях, мнения ученных и инженеров-коррозионистов, высказанные по поводу защиты глубинного оборудования скважин в различных условиях, результат эксперимента, направленного на усовершенствование традиционных методов защиты.

1. Характеристика коррозионных процессов


Коррозия металлов - разрушение металлов вследствие физико-химического воздействия внешней среды, при этом металл переходит в окисленное (ионное) состояние и теряет присущие ему свойства.

По механизму коррозионного процесса различают два основных типа коррозии: химическую и электрохимическую.

Под химической коррозией подразумевают взаимодействие металлической поверхности с окружающей средой, не сопровождающееся возникновением электрохимических (электродных) процессов на границе фаз [3].

Механизм химической коррозии сводится к реактивной диффузии атомов или ионов металла сквозь постепенно утолщающуюся пленку продуктов коррозии и встречной диффузии атомов или ионов кислорода. Этот процесс имеет ионно-электронный механизм, аналогичный процессам электропроводности в ионных кристаллах. Примером химической коррозии является взаимодействие металла с жидкими неэлектролитами или сухими газами в условиях, когда влага на поверхности металла не конденсируется, а также воздействие на металл жидких металлических расплавов. Практически наиболее важным видом химической коррозии является взаимодействие металла при высоких температурах с кислородом и др. газообразными активными средами (H S, SO, галогены, водяные пары, CO и др.). Подобные процессы химической коррозии металлов при повышенных температурах носят также название газовой коррозии. Многие ответственные детали инженерных конструкций сильно разрушаются от газовой коррозии (лопатки газовых турбин, сопла ракетных двигателей, элементы электронагревателей, колосники, арматура печей и т.д.). Большие потери от газовой коррозии (угар металла) несет металлургическая промышленность. Стойкость против газовой коррозии повышается при введении в состав сплава различных добавок (хрома, алюминия, кремния и др.). Добавки алюминия, бериллия и магния к меди повышают ее сопротивление газовой коррозии в окислительных средах. Для защиты железных и стальных изделий от газовой коррозии поверхность изделия покрывают алюминием (алитирование).

Под электрохимической коррозией подразумевают процессы взаимодействия металлов с электролитами (в виде водных растворов, реже с неводными электролитами, например с некоторыми органическими электропроводными соединениями или безводными расплавами солей при повышенных температурах).

Процессы электрохимической коррозии протекают по законам электрохимической кинетики, когда общая реакция взаимодействия может быть разделена на следующие, в значительной степени самостоятельные, электродные процессы:

а) Анодный процесс - переход металла в раствор в виде ионов (в водных растворах, обычно гидратированных) с оставлением эквивалентного количества электронов в металле;

б) Катодный процесс - ассимиляция появившихся в металле избыточных электронов деполяризаторами [3].

Различают коррозию с водородной, кислородной или окислительной деполяризацией.

.1 Типы коррозионных разрушений

Равномерная коррозия протекает с одинаковой скоростью по всей поверхности металла (Рисунок 1); неравномерная - на различных участках поверхности металла с неодинаковой скоростью. При избирательной коррозии разрушаются отдельные компоненты сплава.

При коррозии пятнами диаметр коррозионных поражений большой глубины. Для язвенной коррозии характерно глубокое поражение участка поверхности ограниченной площади. Как правило, язва находятся над слоем продуктов коррозии. При точечной (питтинговой) коррозии наблюдаются отдельные точечные поражения поверхности металла, которые имеют малые поперечные размеры при значительной глубине. Сквозная - это местная коррозия, вызывающая разрушение металлического изделия насквозь, в виде свищей. Нитевидная коррозия проявляется под неметаллическими покрытиями и виде нитей. Подповерхностная коррозия начинается с поверхности, пи преимущественно распространяется под поверхностью металла, вызывая его вспучивание и расслоение.

При межкристаллитной коррозии разрушение сосредоточено по границам зерен металла или сплава. Этот вид коррозии опасен тем, что происходит потеря прочности и пластичности металла. Ножевая коррозия имеет вид надреза ножом вдоль сварного соединения в сильно агрессивных средах. Коррозионное растрескивание протекает при одновременном воздействии коррозионной среды и растягивающих остаточных или приложенных механических напряжениях [3].

Металлические изделия в определенных условиях подвергаются коррозионно-усталостному разрушению, протекающему при одновременном воздействии на металл коррозионной среды и переменных I механических напряжений.

Рис. 1 Характер коррозионных разрушений: I - равномерное; II - неравномерное; III - избирательное; IV - пятна; V - язвы; VI - точками или питтингами; VII - сквозное; VIII - нитевидное; IX - поверхностное; X - межкристаллитное; XI - ножевое; XII - растрескивание

1.2 Электрохимическая коррозия в различных средах

Различают следующие типы электрохимической коррозии, имеющие наиболее важное практическое значение:

. Коррозия в электролитах. К этому типу относятся коррозия в природных водах (морской и пресной), а также различные виды коррозии в жидких средах. В зависимости от характера среды различают [3]:

а) кислотную;

б) щелочную;

в) солевую;

г) морскую коррозию.

По условиям воздействия жидкой среды на металл этот тип коррозии также характеризуется как коррозия при полном погружении, при неполном погружении, при переменном погружении, имеющие свои характерные особенности.

. Почвенная (грунтовая, подземная) коррозия - воздействие на металл грунта, который в коррозионном отношении должен рассматриваться как своеобразный электролит. Характерной особенностью подземной электрохимической коррозии является большое различие в скорости доставки кислорода (основной деполяризатор) к поверхности подземных конструкций в разных почвах (в десятки тысяч раз). Значительную роль при коррозии в почве играет образование и функционирование макрокоррозионных пар вследствие неравномерной аэрации отдельных участков конструкции, а также наличие в земле блуждающих токов. В ряде случаев на скорость электрохимической коррозии в подземных условиях оказывает существенное влияние также развитие биологических процессов в почве.

. Атмосферная коррозия - коррозия металлов в условиях атмосферы, а также любого влажного газа; наблюдается под конденсационными видимыми слоями влаги на поверхности металла (мокрая атмосферная коррозия) или под тончайшими невидимыми адсорбционными слоями влаги (влажная атмосферная коррозия). Особенностью атмосферной коррозии является сильная зависимость ее скорости и механизма от толщины слоя влаги на поверхности металла или степени увлажнения образовавшихся продуктов коррозии.

. Коррозия в условиях механического воздействия. Этому типу разрушения подвергаются многочисленные инженерные сооружения, работающие как в жидких электролитах, так и в атмосферных и подземных условиях. Наиболее типичными видами подобного разрушения являются:

а) Коррозионное растрескивание; при этом характерно образование трещин, которые могут распространяться не только межкристаллитно, но также и транскристально. Примером подобного разрушения является щелочная хрупкость котлов, сезонное растрескивание латуней, а также растрескивание некоторых конструкционных высокопрочных сплавов.

б) Коррозионная усталость, вызываемая воздействием коррозионной среды и знакопеременных или пульсирующих механических напряжений. Этот вид разрушения также характерен образованием меж- и транскристаллитных трещин. Разрушения металлов от коррозионной усталости встречаются при эксплуатации различных инженерных конструкций (валов гребных винтов, рессор автомобилей, канатов, штанг глубинных насосов, охлаждаемых валков прокатных станов и др.).

в) Коррозионная кавитация, являющаяся обычно следствием энергичного механического воздействия коррозионной среды на поверхность металла. Подобное коррозионно-механическое воздействие может приводить к весьма сильным местным разрушениям металлических конструкций (например, для гребных винтов морских судов). Механизм разрушения от коррозионной кавитации близок к разрушению от поверхностной коррозионной усталости.

г) Коррозионная эрозия, вызываемая механическим истирающим воздействием другого твердого тела при наличии коррозионной среды или непосредственным истирающим действием самой коррозионной среды. Это явление иногда называют также коррозионным истиранием или фреттинг-коррозией.

.3 Особенности коррозионных процессов глубинно-насосного оборудования

Глубинно-насосный способ эксплуатации нефтяных скважин применяется в том случае, когда пластовая энергия недостаточна для подъема жидкости из пласта и обеспечения первоначальной производительности скважины [3].

Для подъема нефти из скважин используют поршневые насосы с приводом через колонну штанг от установленного на поверхности станка-качалки, погружные электроцентробежные насосы (ЭЦН), а также гидропоршневые и винтовые насосы. Глубинно-насосный способ с применением штанговых насосов получил среди других механизированных способов наибольшее распространение

При добыче слабоагрессивной и сильно обводненной нефти значительное число ремонтов скважины приходится на штанговую колонну, которая работает в условиях потока высоковязкой жидкости и больших циклических нагрузок. Большое число поломок штанг в этих условиях можно объяснить коррозионно-усталостным разрушением металла под воздействием агрессивной среды и значительных знакопеременных нагрузок. Остальное металлическое оборудование, если межтрубное пространство скважины достаточно герметично, заметных коррозионных повреждений в глубинно-насосных скважинах не имеет.

Когда из скважин добывают сероводородсодержащую нефть, возможно проявление различных видов коррозионного разрушения. Так, глубинно-насосные штанги подвергаются общей коррозии, коррозионно-механическому износу в условиях знакопеременных нагрузок, коррозии при трении колонны штанг о поверхность насосно-компрессорных труб (фреттинг-коррозия), наводороживанию под влиянием сероводорода. Штанговые насосы подвергаются фреттинг-коррозии при трении плунжера в цилиндре насоса, наводороживанию в условиях циклических ударных нагрузок (работа клапана насоса). Насосно-компрессорные трубы подвергаются коррозии с внутренней и внешней сторон [3].

Обсадная и насосно-компрессорная колонна в затрубном пространстве подвергаются общей коррозии под действием находящейся там нефти, коррозии в газовоздушной среде при непрерывной конденсации жидкой фазы. Опасный характер приобретает разрушение труб при попадании сюда кислорода воздуха через негерметичное устье скважины.

Аналогичный характер и распределение коррозии наблюдается в скважинах с глубинно-насосной эксплуатацией, имеющих очень низкий динамический уровень. Такие скважины, находящиеся на конечной стадии добычи нефти, работают, как правило, периодически. Для достижения более полной утилизации попутного газа в затрубном пространстве создают вакуум. Здесь весьма серьезным коррозионным повреждениям подвергаются обсадные и насосно-компрессорные трубы, поскольку на металлическую поверхность воздействует попеременно то агрессивная газовая среда, то попадающий в верхнюю часть скважин воздух Попеременному воздействию обводненной нефти и агрессивной газовоздушной среды подвергаются глубинно-насосные штанги [3].

В последние годы на нефтепромыслах страны вместо громоздких и металлоемких штанговых установок широкое распространение получили бесштанговые погружные электроцентробежные насосы (ЭЦН), которые позволяют непрерывно извлекать из скважины газожидкостной поток нефти. По распределению и характеру коррозии эти скважины аналогичны фонтанным. Специфической (эрозионной и фреттинг) коррозии могут подвергаться отдельные узлы электропогружных насосов. Хотя ЭЦН имеют длительный межремонтный период эксплуатации и выпускают их в коррозионно-стойком исполнении, выход погружных насосов из строя возможен при применении в них отдельных деталей в обычном исполнении, а также при нарушении ряда других технических условий их эксплуатации.

Практика эксплуатации подземного и наземного оборудования нефтяных скважин свидетельствует о сложной зависимости между коррозионной активностью добываемой из скважин жидкости и фактически наблюдаемой коррозией оборудования. Часто потенциально агрессивная система нефть-вода-газ из-за действия одного или нескольких неучтенных факторов может оказаться неагрессивной, и наоборот, слабоагрессивная среда при изменении условий добычи нефти и, следовательно, преимущественном проявлении других факторов может быть весьма коррозионно-активной.

Разнообразие процессов, приводящих к коррозийному износу и выходу из строя металлического оборудования, обуславливает и большое количество методик защиты оборудования от коррозии. В каждом конкретном случае инженеры-коррозионисты выбирают наиболее подходящий метод защиты, исходя из особенностей разрабатываемого месторождения, химического состава добываемого флюида и почв.


На нефтедобывающих предприятиях остро стоит проблема внутренней коррозии наземного оборудования и трубопроводов, а проблема коррозии подземного оборудования скважин не является актуальной, хотя как подземное, так и наземное оборудование контактируют с одной и той же нефтепромысловой жидкостью. Причины такого, на первый взгляд, парадокса, заключаются в следующем: сроки эксплуатации наземного оборудования в среднем на порядок больше, чем подземного, и выходит оно из строя в основном по причине коррозии. Подземное же оборудование «отказывает» обычно в течение первого же года эксплуатации по совокупности причин, среди которых доля коррозии обычно незначительна. Однако при стечении определенных обстоятельств могут возникнуть условия, когда доля отказов по причине коррозии начинает превалировать над отказами по другим причинам [1].

Одним из наиболее широко распространенных и обеспечивающих основную часть добычи нефти видов оборудования являются установки электроприводных центробежных насосов (УЭЦН) [2]. Среди основных факторов, приводящих к отказам УЭЦН при небольших наработках, преобладают солеотложение и засорение механическими примесями (рис. 2).

Рисунок  2. Распределение причин отказов УЭЦН при наработке до отказа до 180 .

Однако для скважин с длительным сроком работы оборудования возрастает доля отказов УЭЦН по причине коррозии оборудования (рис. 3). Коррозия оборудования связана с воздействием сразу нескольких факторов - повышением обводненности продукции скважин, увеличением выноса солей и механических примесей, повышением скорости движения пластовой жидкости, увеличением токов и напряжений в кабельных линиях и погружных электродвигателях. Поэтому повышение ресурса скважинного оборудования, в том числе УЭЦН, невозможно без защиты оборудования от коррозии. Однако для обоснования выбора методов защиты оборудования необходимо применение научных подходов при изучении видов и причин коррозии [2].

Рисунок 3 - распределение причин отказов УЭЦН при наработке до отказа свыше 300 суток: износ - 35%, коррозия - 22%, засорение - 14%, отложение солей - 29%.

В зависимости от характера коррозии и условий ее протекания применяются различные методы защиты. Выбор того или иного способа определяется его эффективностью в данном конкретном случае, а также экономической целесообразностью. Любой метод защиты изменяет ход коррозионного процесса, либо уменьшая скорость, либо прекращая его полностью. Далее будут рассмотрены методы защиты металлов от коррозии, применяемые в настоящее время для продления срока службы глубинного оборудования в условиях разработки и эксплуатации нефтяных месторождений.

.1 Защита от коррозии с помощью ингибирования

Скорость коррозии можно снизить изменением свойств коррозионной среды. Это достигается или соответствующей обработкой среды, в результате которой уменьшается ее агрессивность, или введением в коррозионную среду небольших добавок специальных веществ, так называемых замедлителей или ингибиторов коррозии.

Обработка среды включает в себя все способы, уменьшающие концентрацию ее компонентов, особенно опасных в коррозионном отношении. Так, например, в нейтральных солевых средах и пресной воде одним из самых агрессивных компонентов является кислород. Его удаляют деаэрацией (кипячение, дистилляция, барботаж инертного газа) или смазывают при помощи соответствующих реагентов (сульфиты, гидразин и т.п.). Уменьшение концентрации кислорода должно почти линейно снижать предельный ток его восстановления, а следовательно, и скорость коррозии металла. Агрессивность среды уменьшается также при ее подщелачивании, снижение общего содержания солей и замене более агрессивных ионов менее агрессивными. При противокоррозионной подготовке воды для уменьшения накипеобразования широко применяется ее очистка ионнообменными смолами.

Ингибиторы коррозии разделяют, в зависимости от условий их применения, на жидкофазные и парофазные или летучие. Жидкофазные ингибиторы делят в свою очередь на ингибиторы коррозии в нейтральных, щелочных и кислых средах. В качестве ингибиторов для нейтральных растворов чаще всего применяются неорганические вещества анионного типа. Их тормозящее действие связано, по-видимому, или с окислением поверхности металла (нитриты, хроматы), или с образованием пленки труднорастворимого соединения между металлом, данным анионом и, возможно, кислородом (фосфаты, гидрофосфаты). Исключение представляют в этом отношении соли бензойной кислоты, ингибирующий эффект которых связан, главным образом, с адсорбционными явлениями. Все ингибиторы для нейтральных сред тормозят преимущественно анодную реакцию, смещая стационарный потенциал в положительную сторону. До настоящего времени еще не удалось найти эффективных ингибиторов коррозии металлов в щелочных растворах. Некоторым тормозящим действием обладают лишь высокомолекулярные соединения [3].

В качестве ингибиторов кислотной коррозии применяются почти исключительно органические вещества, содержащие азот, серу или кислород в виде амино-, имино-, тиогрупп, а также в виде карбоксильных, карбонильных и некоторых других групп. Согласно наиболее распространенному мнению, действие ингибиторов кислотной коррозии связано с их адсорбцией на границе раздела металл - кислота. В результате адсорбции ингибиторов наблюдается торможение катодного и анодного процессов, снижающие скорость коррозии.

Примером успешной борьбы с коррозией методом ингибирования могут послужить решения инженеров-коррозионистов, сотрудников компании ООО «РН-Ставропольнефтегаз».

Состав пластовых флюидов на месторождениях «РН-Ставропольнефтегаз» обуславливает высокую коррозионную активность среды и значительную скорость коррозионного процесса.

На пяти скважинах «РН-Ставропольнефтегаза» в 2010 году проводился эксперимент по защите внутрискважинного оборудования от коррозии, вызываемой воздействием агрессивных факторов. В скважины закачивается ингибитор коррозии, который характеризуется повышенной плотностью[4].

Закачка ингибитора в скважины проводится в режиме постоянного дозирования в точке подачи реагента при помощи дозировочных установок. Так, закачка в скважины № 173 м/р Колодезное и № 101 м/р Зимняя Ставка проводится в режиме постоянного дозирования в точке подачи реагента при помощи дозировочных установок УБПР и УДПХ «Лозна» соответственно. Закачка в скважину № 175 м/р Зимняя Ставка производится в периодическом режиме при помощи дозировочной установки УДЭ начиная с 22 октября 2009 года в затрубное пространство в концентрации 25 г/т. Предварительные результаты эксперимента показывают, что ингибирование через затрубное пространство не защищает от коррозии ПЭД и протектор. При этом на м/р Зимняя Ставка достигнуто увеличение наработки на отказ более чем в 2 раза. По скважине № 222 м/р Восточное наработка на отказ оказалась меньше средней, произошел отказ по причине сквозной коррозии НКТ. Возможная причина отказа - неверно подобранная дозировка ингибитора. На сегодняшний день произведена корректировка дозировки.

В целом, защитный эффект по скважине № 101 м/р Зимняя Ставка составил 88%, по скважине № 173 м/р Колодезное - 89%[4].

Как уже было сказано, не все способы являются универсальными для всех месторождений. Ингибирование - сложный способ защиты, и его успешное применение в различных условиях требует широких познаний. Примером может послужить анализ коррозионных отказов погружного оборудования скважин на одном из нефтедобывающих предприятий ООО «НК «Роснефть».

Исследователи, учитывая основные факторы увеличения скорости коррозийных процессов на месторождении (основной причиной ускоренной коррозии корпусов ПЭД является форсированный отбор пластовой продукции, приводящий к увеличению скорости потока, интенсификации разгазирования добываемых флюидов), предложили применение ингибиторной защиты как превентивную меру, до внедрения других способов защиты. Следует отметить, что традиционные технологии ингибиторной защиты скважинного оборудования - закачка ингибитора через затруб или дозирование по капиллярным трубкам - в рассматриваемом случае малоэффективны. Первая технология - в силу того, что ингибитор не сможет достичь и защитить ПЭД, так как он находится ниже уровня приема насоса, вторая - в силу того, что спуск капиллярной трубки для подачи реагента на глубину подвески 2000 м и более по искривленным скважинам с узким кольцевым зазором между корпусом УЭЦН и эксплуатационной колонной весьма проблематичен: велики риски защемления канала или его перетирания с нарушением герметичности. Рассмотрены варианты ингибиторной защиты путем задавки ингибитора в призабойную зону пласта и подвешивания к основанию ПЭД погружного контейнера с твердым ингибитором. В результате лабораторных исследований подобраны ингибиторы для применения по технологии задавки в пласт и использования в погружном контейнере. Однако следует заметить, что рассматриваемые технологии также имеют свои ограничения: это и быстрый вынос ингибитора из пласта, и быстрый срыв пленки ингибитора с защищаемой поверхности металла при высоких дебитах и скоростях потока [1].

Использование ингибиторов коррозии является самым распространенным способом борьбы с коррозией скважинного оборудования. К сожалению, ингибиторная защита недолговечна, при этом использование ингибиторов коррозии имеет ограниченную эффективность, трудозатратно и часто требует технологических ухищрений. Часто ингибиторы коррозии плохо совместимы с ингибиторами солеотложений. Поэтому ингибиторная защита не может считаться надежным средством защиты от коррозии [5].

Поэтому, помимо технологий ингибиторной защиты предусматривается внедрение других методов, позволяющих снизить коррозионный износ и повысить тем самым сроки наработки глубинного оборудования.

2.2 Покрытия, как метод защиты металлов от коррозии. Пассивная защита

Защита металлов, основанная на изменение их свойств, осуществляется или специальной обработкой их поверхности, или легированием. Обработка поверхности металла с целью уменьшения коррозии проводится одним из следующих способов: покрытием металла поверхностными пассивирующими пленками из его трудно растворимых соединений (окислы, фосфаты, сульфаты, вольфраматы или их комбинации), созданием защитных слоев из смазок, битумов, красок, эмалей и т.п. и нанесением покрытий из других металлов, более стойких в данных конкретных условиях, чем защищаемый металл (лужение, цинкование, меднение, никелирование, хромирование, свинцование, родирование и т.д.).

Защитное действие большинства поверхностных пленок можно отнести за счет вызванной ими механической изоляции металла от окружающей среды.

Нанесенные на наружные поверхности корпусных деталей и узлов УЭЦН металлические покрытия на основе железа с добавлением легирующих элементов - хрома, никеля, кремния, молибдена, бора и углерода, имеющих более положительный электродный потенциал, чем потенциал основного металла корпуса УЭЦН, - являются хорошей защитой от коррозии, если в покрытии отсутствуют механические повреждения. В случае же каких-либо повреждений металлического защитного покрытия при монтаже УЭЦН, спуско-подъемных операциях образуется гальваническая пара: металлическое покрытие становится катодом по отношению к корпусу, корпус УЭЦН - анодом. В процессе электрохимической коррозии основной материал корпуса окисляется, распадаясь на положительно заряженные ионы в электролит - пластовую жидкость и электроны - происходит процесс окисления, анод - корпус растворяется. Избыточные электроны перетекают к катодному участку - к металлическому покрытию, имеющему более высокий электродный потенциал.

Таким образом, при работе гальванической пары «металлическое покрытие (КАТОД) / корпус УЭЦН (АНОД)» корпус разрушается [2].

Именно поэтому необходимо правильно подбирать пары «основной металл - покрытие», исходя из расчетов электрохимических потенциалов материалов. Максимальную разность электрохимических потенциалов между корпусом и покрытием имеет пара «монель металл - стальной корпус».

Решением проблемы подпленочной коррозии корпусных деталей и узлов УЭЦН может стать метод электрохимической защиты, то есть нанесение протекторного (анодного) покрытия на металлическое (типа алюминий, цинк, магний или их сплавы), имеющее электродный потенциал более отрицательный, чем потенциал металлического защитного покрытия, основного материала корпуса УЭЦН и обсадной трубы [2].

2.3 Электрохимический метод предотвращения коррозии глубиннонасосного оборудования. Активная защита


Активная электрохимическая защита подразделяется на два больших раздела: протекторная и, собственно, катодная защита с помощью станций катодной защиты (СКЗ). Оба вида с недавних пор с различным успехом применяются на нефтедобывающих предприятиях. Рассмотрим каждых из них в отдельности.

.3.1 Применение станций катодной защиты

Из всех методов защиты основанных на изменении электрохимических свойств металла под действием поляризующего тока, наибольшее распространение получила защита металлов при наложении на них катодной поляризации (катодная защита). Принцип катодной защиты основан на том, что как только поляризация катодных участков внешним током достигает потенциала анода, на всей поверхности металла устанавливается одинаковый потенциал, и локальный ток больше не протекает, то есть пока к металлу приложен внешний ток, он не может коррозировать.

Защита металла катодной поляризацией применяется для повышения стойкости металлических сооружений в условиях подземной (почвенной) и морской коррозии, а также при контакте металлов с агрессивными химическими средами. Она является экономически оправданной в тех случаях, когда коррозионная среда обладает достаточной электропроводностью, и потери напряжения (связанные с протеканием защитного тока), а следовательно, и расход электроэнергии сравнительно невелик. Катодная поляризация защищаемого металла достигается либо наложением тока от внешнего источника (катодная защита с использованием станций катодной защиты), либо созданием макрогальванической пары с менее благородным металлом (обычно применяются алюминий, магний, цинк и их сплавы). Он играет здесь роль анода и растворяется со скоростью, достаточной для создания в системе электрического тока необходимой силы (протекторная защита). Растворимый анод при протекторной защите часто называют “жертвенным анодом” [3].

Применение для катодной защиты метода приложения тока облегчает регулирование системы и часто дешевле, чем использование анодов - протекторов, которые, конечно, нуждаются в регулярных заменах.

На практике катодная защита редко применяется без дополнительных мероприятий. Требуемый для полной защиты ток обычно бывает чрезмерно велик, и помимо дорогостоящих электрических установок для его обеспечения следует иметь в виду, что такой ток часто будет вызывать вредный побочный эффект, например чрезмерное защелачивание. Поэтому катодная защита применяется в сочетании с некоторыми видами покрытий. Требуемый при этом ток мал и служит только для защиты обнаженных участков поверхности металла.

При рассмотрении вопроса о применении активных видов электрохимической защиты погружного оборудования, у ряда авторов возникают оправданные сомнения в эффективности использования традиционных станций катодной защиты.

На первый взгляд он представляется достаточно простым и эффективным [6]. Рядом исследователей были получены положительные результаты [7]. До сих пор с помощью СКЗ осуществлялась лишь защита обсадных колонн, и авторами исследований была предпринята попытка защиты с ее помощью погружного оборудования.

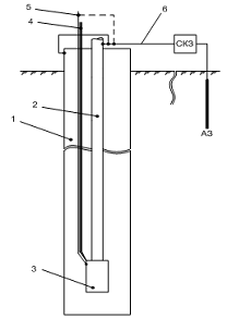
Для питания УЭЦН в межтрубное пространство скважины спущен четырехжильный кабель, одна из жил которого свободна. Через нее было принято решение бросить дренаж на корпус УЭЦН от наземной СКЗ, при соответствующей обвязке с традиционным анодным заземлением в стороне от устья скважины. Т.е., в принципе, обычная катодная защита, только обеспечена дополнительная точка дренажа на корпус погружного оборудования (рис. 4).

Рисунок 4 - Схема подключения катодной защиты к узлам скважины: 1 -обсадная колонна; 2 - НКТ; 3 - УЭЦН; 4 - питающий кабель ПЭД; 5 - свободная жила питающего кабеля; 6 - дренаж от СКЗ.

Впоследствии, кода эксперимент показал положительные результаты, устранив признаки электрохимической коррозии на узлах УЭЦН при их повторном поднятии, помимо использования четвертой жилы питающего кабеля был спущен самостоятельный дренажный кабель.

Идея позволила объективно продлить наработку до отказа погружного оборудования, что показывает практика. Однако этот метод может содержать не очевидный, на первый взгляд, но достаточно серьезный недостаток. По причине отсутствия данных по распределению потенциалов на дне скважины, есть вероятность, что защита погружного оборудования происходит за счет обсадной колонны скважины [6].

Согласно данных эксперимента [7], замеры потенциалов производились на поверхности у устья скважины. В первом случае СКЗ отключена и дренажный кабель к УЭЦН использовался в качестве сигнального. Во втором случае замер производился на дренажном кабеле при включенной системе ЭХЗ. В обоих случаях, а особенно во втором, данные замеров не являются достоверными, и судить по ним о защитном потенциале на дне скважины можно лишь косвенно, но не окончательно. Причина на то значительные потери в проводнике (порядка 2 км), а так же экранирующее влияние обсадной колонны.

Распределение потенциала по эксплуатационной колонне зависит от глубины и качества бетонного кондуктора, который, если и есть, то расположен, как правило, в верхней части скважины. В любом случае при погружении потенциал снижается и достигает минимума ко дну сооружения. На НКТ же, по причине дополнительного дренажа через корпус УЭЦН, минимальный уровень потенциала находится в средней области сооружения. Потенциал на самой УЭЦН близок или равен потенциалу НКТ в конечной точке по причине их технологического контакта [6].

Данное распределение строится на предположении и требует натурного подтверждения, однако здравый смысл, знание теоретических основ в области электрохимзащиты и большой опыт проведения электрометрических исследований позволяют авторам утверждать, что приведенное распределение максимально близко к реальности.

Из приведенных аргументов следует, что погружное оборудование при включенной системе ЭХЗ имеет более высокий потенциал относительно колонны, которая становится анодом и за ее счет осуществляется защита УЭЦН (а так же НКТ в нижней части скважины). Так как площадь поверхности колонны несоразмерно больше погружной установки, процесс отказа скважины по причине электрохимической коррозии проявится гораздо позднее, тогда как эффект от защиты погружного оборудования наблюдается раньше по причине его относительно небольшого срока эксплуатации.

По мнению автора, данной проблемы можно было бы избежать, если обеспечить на дне скважины надежный электрический контакт между сооружениями, который уравновесит их потенциалы. Однако технологически этого добиться не представляется возможным. Существующие случайные места соприкосновения конструкций по причине искривления скважины или отклонения погружной установки от оси имеют высокое сопротивление и не позволяют уравновесить потенциалы. Напротив, в этих местах наблюдается усиленная коррозия за счет большой плотности токов [6].

Уравновесить потенциалы с поверхности так же не представляется возможным по причине отсутствия контроля на дне скважины, и даже если технологически обеспечить контроль (доставить ко дну электрод сравнения и контрольные проводники на смежные конструкции), уравнять их потенциал и поддерживать в период эксплуатации достаточно проблематично. А по причине малого кольцевого зазора между конструкциями достаточно незначительной разности потенциалов для протекания интенсивного электрохимического процесса.

Из вышеизложенного авторы советуют ограничиться активной катодной защитой (от СКЗ) лишь обсадных колонн скважинных сооружений. Для защиты же погружного оборудования наиболее оправдано применение протекторной защиты. В этом случае электрохимический процесс происходит в цепи протектор-сооружение и обсадная колонна в нем не участвует.

Протекторная защита в области нефтепромыслового оборудования применяется на практике и имеет несомненный положительный результат, однако требует дополнительных исследований и экспериментов для достижения максимальной эффективности.

.3.2 Протекторная защита

Протекторная защита является разновидностью катодной защиты. К защищаемой конструкции присоединяют более электроотрицательный металл - протектор - который, растворяясь в окружающей среде, защищает от разрушения основную конструкцию. После полного растворения протектора или потери контакта с защищаемой конструкцией, протектор необходимо заменить.

Для изучения метода протекторной защиты глубинного оборудования можно воспользоваться данными лабораторного исследования, проведенного в 2005 году сотрудниками ООО НИЦ «ИПТЭР-Диагностика» и предприятия Уфагаз ООО «Газ-Сервис».

Классический метод катодной защиты предполагает использование гальванической связи коррозирующего металла с вспомогательным анодом. Разрабатываемый в ходе лабораторного исследования вариант протекторной защиты для подземного оборудования скважин исключает гальваническую (металлическую) связь расходуемого электрода с защищаемым оборудованием, что позволяет оптимизировать плотность тока по более значительной площади защищаемой поверхности и стимулировать в результате протекающих электрохимических реакций образование пассивирующих покрытий на поверхности металла труб НКТ в процессе самой защиты [8].

Исследователями предполагается, что нейтрализатором коррозионного износа может стать встречный процесс - образование твердой гладкой пассивирующей пленки магнетита в процессе катодной (протекторной) защиты.

Целью проведения лабораторного исследования были установление скорости коррозии образцов НКТ в экспериментальной жидкости и ее снижение при наличии протекторной защиты.

Два образца НКТ-73 мм длиной 140 мм поместили (рис. 5) в стаканы с раствором хлористого натрия плотностью 1,02 г/см3 (30 г/л), имитирующим пластовую воду. Внутрь одного образца концентрично поместили протектор - стержень длиной 150 мм и диаметром 30 мм, изготовленный из сплава МА-50.

Рисунок 5 - образцы НКТ: слева - с магниевым протектором, справа - контрольный.

Сплав содержал 95% магния и 5% алюминия. Расчетная площадь поверхности используемого протектора 155,4 см2. Температура экспериментальной жидкости в течение 17 дней эксперимента находилась в пределах 25…26 °С.

В стакане с образцом трубы без протектора видимых изменений в начальный период не наблюдалось. С течением времени на трубе появились следы ржавчины, раствор так- же окрасился в желто-коричневый цвет ржавчины [8].

В стакане с протектором сразу появились пузырьки (водорода), в начальный момент процесс протекал достаточно бурно, но постепенно, по мере установления электрохимического равновесия, количество пузырьков газа уменьшилось, и реакция протекала в спокойном режиме. Появился белый осадок гидрата окиси магния. В течение 17 суток протектор периодически взвешивали на аналитических весах. Данные взвешивания представлены в таблице 1.

Таблица 1. Результаты изменения веса образцов труб НКТ.


Визуальные наблюдения показали, что образец, подвергнутый воздействию коррозионно-активной жидкости, покрылся ржавчиной. Его вес, зафиксированный после очистки от ржавчины, заметно отличается от первоначального. Образец трубы, защищаемой магниевым протектором, практически не изменился и даже очистился от следов поверхностной ржавчины. Результаты расчета скорости коррозии представлены в таблице 2.

металлический коррозия защита ингибирование

Таблица 2 - Результаты определения скорости коррозии испытуемых образцов НКТ.

Проведенные лабораторные испытания позволили авторам сделать следующие выводы.

• Максимальный коррозионный износ происходит в первые 2 часа нахождения образцов в минерализованной жидкости.

• Насосно-компрессорные трубы, изготовленные из стали, подвергаются значительному коррозионному разрушению при контакте с пластовой жидкостью. Скорость коррозии, установленная лабораторными испытаниями, составляет 0,134 мг/см2 ч или 1,34 г/м2 ч.

• Вариант протекторной защиты без гальванической (металлической) связи между протек- тором и защищаемым металлом снижает скорость коррозии образцов стали.

• Установлены скорость растворения магниевого протектора (0,21 мг/см2•ч) и предполагаемый срок его действия (227 суток).

При катодной (протекторной) защите, в случае ионной связи между электродами, имеют место четыре электрохимические реакции: растворение протектора, восстановление растворенного кислорода, электролиз свободной воды и образование оксидной пленки (магнетит). Считалось, что при потенциалах, обеспечивающих возможность разложения воды, происходит потеря тока катодной защиты, сопровождающаяся ускоренным разрушением защитного покрытия и созданием условий для образования карбоната/бикарбоната, что является одним из условий появления растрескивания под напряжением.

Как показали проведенные лабораторные исследования, электролитическое воздействие приводит к появлению газовых пузырьков малого радиуса на поверхности защищаемого металла, с электрически заряженной поверхностью и, тем самым, устойчивых к схлопыванию.

Механизм очистки представляется авторам следующим образом. Создаваемые в результате электрохимических реакций газовые пузырьки Н2, формирующие на поверхности стальной колонны, обладающие хорошей проникающей способностью в жидкой среде и создающие на загрязненной (парафин, соли, гидраты и продукты коррозии) поверхности микровоздействия, нарушают сцепление загрязняющих микрочастиц со стальной поверхностью, обеспечивая разрушение загрязнений, их отрыв от стальной поверхности оборудования и облегчая их удаление восходящим потоком лифтируемой жидкости, а также поверхностно-активными веществами, образующимися в процессе электролиза воды. Применительно к скважинным условиям, на очищенной стальной поверхности образуется защитная с малой адгезией пассивирующая пленка магнетита F3O4, обеспечивающая иммунитет от коррозии и устранение дефектных зон вдоль колонны. Учитывая, что электрическое сопротивление оксидной пленки значительно больше сопротивления чистого металла, большая часть тока, шунтируя защищенные оксидной пленкой участки поверхности, потечет к новым участкам стальной поверхности, тем самым, обеспечивая защиту более удаленных участков от места расположения протектора, вверх по колонне НКТ. Очищающий и защитный эффекты проявляются на поверхностях насосного оборудования, имеющего достаточный электрический потенциал [8].

Процессы, происходящие в электропроводящей жидкости в процессе электролиза пластовых жидкостей, по мнению авторов, требуют дальнейшего внимания и изучения. Поскольку очищающее, защитное воздействие и их эффективность в скважинной жидкости зависят от многих пара- метров: ее плотности, температуры, вязкости, рН, содержания газа, наличия механических включений, давления и других факторов, важно уметь управлять процессом электролитической очистки непосредственно в процессе добычи. Полученные данные позволили исследователям разработать экспериментальный образец антикоррозионного протектора и предложить его в конструкциях скважинных устройств для снижения скорости коррозии.

На 17 осложненных коррозией и твердыми отложениями скважинах месторождений ТПП «Лангепаснефтегаз» в 2003-2004 гг. были установлены антикоррозионные протекторы изготовленные на производственной базе ООО «КогалымНИПИнефть» в соответствии с описанной выше методикой.

Разработанное и испытанное устройство, предназначенное для катодной поляризации подземной части нефтепромыслового оборудования, располагается между всасывающим клапаном насоса и фильтром. Одновременно устройство, исключая отрицательное влияние коррозионной среды на конструкцию насоса, предупреждает накопление солей и парафиногидратных отложений в проточной части насоса. На рисунке 5 изображен скважинный штанговый насос с устройством защиты от отложений [8].

Рисунок 5 - конструкция штангового глубинного насоса с антикоррозионным протектором.

Скважинный штанговый насос 1 содержит всасывающий клапан 9, цилиндр насоса 8, штанги 4, нагнета- тельный клапан 5, захватный шток 7 и плунжер 6, устройство 2, обеспечивающее электрохимическую защиту внутренней поверхности подземной части нефтепромыслового оборудования от отложений, расположенный между всасывающим клапаном насоса 9 и фильтром 3 и состоящее из корпуса 10, электрода 11, изготавливаемого из магниевого сплава МА 5, перфорированных центрирующих изоляторов - нижнего 12 и верхнего 13, присоединительных патрубков 14 и соединительных муфт 15.

По результатам промысловых испытаний стальных поверхностей корпуса протектора и труб НКТ, подвергшихся воздействию варианта протекторной защиты, установлено, что после их более чем двухсотсуточной эксплуатации цвет поверхности стали насосного оборудования был изменен черной пленкой, покрытой бело-серыми известковыми отложениями.

На поверхности защищаемой конструкции (насос, трубы НКТ) черная пленка, образовавшаяся в результате действия катодной защиты, усиливает пленку прокатной окалины, де лая два источника черной пленки практически не различимыми. При отсутствии действия протекторной защиты цвет поверхности НКТ меняется за счет красной ржавчины (гематита), которая указывает на активный процесс коррозии. Собранные образцы отложений на поверхности НКТ были подвергнуты рентгеноскопическому анализу [8]. Как оказалось, основным компонентом пленки, образующейся под действием катодной защиты, является магнетит (Fe3O4). Анализ бело-серых известковых отложений на поверхности оборудования выявил наличие солей натрия, магния и кальция, особенно карбонатов и сульфатов. Формируемая пленка придает пассивность стали, доступной коррозии или катодным реакциям, обеспечивая иммунитет от коррозии. Образование пленок магнетита ведет к блокировке дефектов поверхности и означает, что нет доступа электролита к поверхности, следовательно, нет условий для развития коррозии в дальнейшем.

В большинстве случаев при изучении катодной защиты не принимались во внимание процессы, происходящие на коррозируемых поверхностях, в частности, образование поверхностных пленок. Они важны не только при оценке работы системы катодной защиты и контроле коррозии, а также при изучении свойств этих пленок в процессе формирования твердых отложений любой природы. Результаты промысловых испытаний подтвердили эффективность устройств, позволивших в среднем на 30%, повысить межремонтный период проблемных скважин и отказавшись от применения ингибитора [8].

Приняв во внимание мнение авторов вышеописанного эксперимента, можно сделать вывод, что протекторная защита глубиннонасосного оборудования не является основным видом защиты от коррозийных процессов в силу малой освещенности вопроса и предпочтения инженерами-коррозионистами на местах химических методов защиты погружного оборудования. Авторами исследования разработан автономный антикоррозионный модуль, обеспечивающий защиту глубиннонасосного оборудования от коррозии, непосредственно в процессе добычи и обеспечивающий альтернативу химическим методам и не уступающий им в эффективности.

Заключение


В работе были рассмотрены основы теории коррозии, было уделено внимание различным классификациям коррозийных процессов. Более подробно был освещен вопрос возможных причин протекания коррозийных процессов на поверхности глубинно-насосного оборудования (таких, как содержание агрессивных компонентов в добываемом флюиде, обводненность скважин).

В ходе исследования научной литературы, были изучены методы защиты от коррозии, их теоретическое обоснование и примеры использования на практике.

По мнению многих авторов, менее энергозатратным и более доступным финансово методом является химический метод, подразумевающий использование ингибиторов коррозии. Метод является самым распространённым [4], но не всегда оказывает желаемый результат. Для его применения требуется основательная теоретическая база, обуславливающая правильный выбор ингибирующего раствора в связи факторами возникновения коррозии в конкретном случае.

Распространённым мнением является положительная оценка результатов вышеуказанного метода, применяемого совместно с другими методами защиты, например, протекторным. Такое сочетание методов, при правильном внедрении, позволяет добиться наилучшей защиты глубинно-насосного оборудования [6].

Методы активной катодной защиты глубинно-насосного оборудования с помощью СКЗ не вызывают доверия у исследователей. В некоторых случаях, использование СКЗ даже усиливает коррозию (в местах соприкосновения погружного оборудования с обсадной колонной), в связи с чем авторы предлагают не использовать СКЗ для защиты глубинно-насосного оборудования [6].

Большое внимание в работе было уделено исследованию протекторного метода противокоррозионной защиты. Были приведены результаты эксперимента, направленного на создание дополнительных электрохимических средств защиты глубинно-насосного оборудования, которые могут стать альтернативой химическому методу [8].

Подводя итоги, можно сделать вывод о насущности исследуемой проблемы и, как следствие, её широкой освещенности в научной литературе. Коррозия глубинно-насосного оборудования ежегодно приносит нефтедобывающим компаниям многомиллионные [1] убытки, и, следовательно, вопрос борьбы с ней остается открытым.

Соглашаясь с мнениями большинства авторов, можно заключить, что борьба с коррозией на ограничивается выбором одного единственного метода в данном конкретном случае, но подразумевает использованием многих методик одновременно, совокупности мер, направленных на продление эксплуатационного срока глубинно-насосного оборудования.

Список использованной литературы

1. А.А. Даминов. Коррозия подземного оборудования добывающих скважин, оборудованных УЭЦН, «Территория Нефтегаз», 2009, № 8.

. В.Н. Ивановский, Коррозия скважинного оборудования и способы защиты от нее, Коррозия ТНГ, 2011, № 1.

. Р.Л. Будкевич. Защита оборудования от коррозии. Учебное пособие, Альметьевский государственный нефтяной институт, 2007.

. С.Г. Степанов, Борьба с коррозией погружного оборудования на месторождениях ООО «РН-Ставропольнефтегаз». Инженерная практика, 2010, №6.

5. Н.А. Скрипко, ДЕЛЬТА 5+ «НЕОЦИНК» - эффективная защита НКТ в коррозионном фонде, Коррозия ТНГ, № 1, 2011(с.24-28).

. А.В. Валюшок, О катодной защите скважин и погружного оборудования, ООО НПВП «Электрохимзащита», г. Уфа, 2010.

. Вахитов Т.М., Хасанов Ф.Ф., Гарифуллин И.Ш., Акшенцев В.Г., Вахитова В.Г. Методы предупреждения коррозии скважинного оборудования в НГДУ «Уфанефть», Нефтяное хозяйство, 2004, №1 (c.75-77).

. В.Е. Андреев, А.С. Надршин, Э.Х. Шакирова, А.Р. Эпштейн, Электрохимический метод предотвращения коррозии глубинно-насосного оборудования, Нефтегазовое дело, 2005, №3.

Похожие работы на - Борьба с осложнениями при эксплуатации скважин – коррозия глубинно-насосного оборудования

 

Не нашли материал для своей работы?
Поможем написать уникальную работу
Без плагиата!
Без нейросетей!