|
№п/п
|
Наименование
аппарата и вид жидкости
|
Наличие
паровоздушного пространства
|
Рабочая
температура, оС
|
Температурные
пределы воспламенения
|
Заключение
о горючести среды в аппарате
|
|
|
|
|
tн оС
|
tв оС
|
|
|
1
|
2
|
3
|
4
|
5
|
6
|
8
|
|
1
|
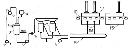
Смеситель-растворитель
|
да
|
50
|
-20
26
|
6
51
|
Образуется
ВОС, т.к. .
|
|
2
|
Насос
центробежный циркуляционный
|
нет
|
50
|
-20
26
|
6
51
|
Пожарная
опасность отсутствует, т.к. ВОС не образуется (отсутствует паровоздушное
пространство).
|
|
3
|
Окрасочная
камера
|
да
|
20
|
-20
26
|
6
51
|
Пожарная
опасность отсутствует, т.к. .
|
Примечание к таблице №1: температурные пределы
растворителя (ацетона) и глифталевой смолы взяты из описания технологического
процесса и составляют: Тнпв = -20 °С, Твпв = 6 °С для
первого и Тнпв = 26 °С, Твпв = 51 °С для второго вещества
соответственно.
Из проведенного анализа делаем вывод, что при
нормальном режиме работы в некоторых аппаратах данного технологического
процесса образуется паровоздушное пространство, и возможность образования
горючей среды существует, а именно, в смесителе-растворителе и в окрасочной
камере.
Оценим взрывоопасные концентрации в аппаратах с
горючими жидкостями путем сравнения их действительных концентраций с
концентрационными пределами распространения пламени:
,
где φр
- действительная (рабочая) концентрация горючего вещества, об. доли;
φн и
φв
- соответственно нижний и верхний концентрационные пределы распространения
пламени при рабочей температуре, об. доли (% об. или кг/м3).
Определить значения величин φн
и
φв
при температуре отличной от 25 0С, можно по формулам:
,
,
где tр
- температура среды в аппарате, 0С.
Концентрационные пределы распространения пламени
паровых смесей, состоящих из горючих и негорючих компонентов, оценивают по
формуле:
,
где
-
концентрационный предел распространения пламени (нижний или верхний) смеси, об.
доли;
- объемная доля
1-го горючего компонента в смеси;
- концентрационный
предел распространения пламени (нижний или верхний) i-го
компонента, об. доли;
- количество горючих
компонентов в смеси.
Внутри смесителя-растворителя происходит
растворение и разбавление полуфабриката при температуре 50 ˚С. В состав
горючего вещества входят: ацетон - 80 %, глифталевая смола - 20% (нелетучие
42,8%, ксилол 57,2%).
Найдем концентрацию паров в аппарате.
Относительное объемное содержание компонентов в
смеси: ацетон 80 %, глифталевая смола - 20 %, в т.ч. 11,44 % ксилола.
Подсчитаем концентрационные пределы
распространения пламени для глифталевой смолы:
· для ксилола при температуре 25 0С
-
об.
доли;
об.
доли.
об. доли;
об. доли.
Найдем концентрационные пределы для краски в
смесителе:
об. доли;
об. доли.
Так как температура в аппарате составляет 50 ˚С,
пересчитаем концентрационные пределы с учетом температуры:
об. доли;
об. доли.
Взрывобезопасные условия эксплуатации аппаратов
с перегретыми парами определяют из выражений:
Или
об. доли,
Или
об. доли.
Необходимо эксплуатировать данные аппараты выше
или ниже концентрационных пределов распространения пламени.
В аппаратах с нагретыми жидкостями концентрация
паров близка к насыщенной, т.е.
. Здесь
-
концентрация насыщенного пара при рабочей температуре жидкости, определяемая по
формуле:
где
-
давление насыщенного пара жидкости при рабочей температуре, Па;
- рабочее давление
паровоздушной смеси в аппарате.
В аппаратах со смесями давление насыщенных паров
компонентов над раствором определяют по закону Рауля (для идеальных растворов):
,
где
-
парциальное давление i-го
компонентов над раствором, Па;
- давление
насыщенного пара чистого i-го
компонента при данной температуре, Па;
- мольная доля i-го
компонента в растворе.
Для ацетона
Па
при Т=323 К (приложение 2 табл. 1 [6]).
Для ксилола
Па
при Т = 327,6 К (приложение табл. 2 [8]);
Па при Т = 313,2 К.
Па.
Относительное массовое содержание компонентов в
растворе и мольные доли компонентов для бинарных растворов производим по
формулам:
;
.
Для ацетона:
;
.
Для ксилола:
;
.
Тогда:
Па;
Па.
Суммарное давление насыщенного пара над
раствором:
Па.
Концентрация насыщенного пара над раствором:
об. доли.
Вывод: так как
,
то взрывоопасная концентрация смеси в смесителе-растворителе не образуется.
Так
как концентрация смеси выше верхнего предела распространения пламени,
следовательно при разбавлении смеси воздухом при уменьшении уровня жидкости в
смесителе-растворителе возможно образование взрывоопасных концентраций. В
результате вспышки взрывоопасных паров может произойти взрыв, в результате
которого наступит повреждение как самого аппарата, так и соседнего
технологического оборудования, и конструкций здания в целом с последующим
крупным пожаром. Максимальное
давление взрыва для данного вида жидкости определяем по формуле:
,
где Tвзр и Tнач -
температура продуктов горения при взрыве и начальная температура горючей смеси;
m,
n - количество молей в продуктах горения и в исходной смеси (по уравнению
реакции горения)
С3H6О+
4(O2+
3,76N2)®
3CO2+3H2O+4.3,76N2
- ацетон,
С8H10+
10,5(O2+ 3,76N2)® 8CO2+5H2O+10,5.3,76N2
- ксилол.
m = (3+3+4.3,76) .0,8 +
(8+5+10,5.3,76) .0,2 = 27,33 молей;= (1+4+4.3,76)
.0,8 + (1+10,5+10,5.3,76) .0,2 = 26,23 молей
Тогда:
МПа.
Вывод: в аппарате смеситель-растворитель следует
предусмотреть защиту от взрыва: взрывные клапаны, предохранительные мембраны,
разрывные мембраны.
Вывод: оценив пожарную опасность аппаратов при
их нормальной работе мы пришли к следующим выводам. Горючая среда имеется в
аппарате смеситель-растворитель, т.к в нем имеется свободное паровоздушное
пространство. Так как по условиям технологического процесса мы не можем
изменить рабочую температуру в аппарате. Предлагаю следующие мероприятия:
ведение негорючих (инертных) газов в
паровоздушное пространство аппарата;
уменьшение скорости изменения уровня жидкости
путем увеличения числа одновременно работающих аппаратов;
полное заполнения аппарата;
исключение или сокращение входа атмосферного
воздуха в опорожняемый аппарат путем устройства газовой обвязки синхронно
работающих аппаратов;
оснастить емкость смесителя-растворителя не
менее чем двумя датчиками уровня, т.к его вместимость более 3,5 м3,
один из которых предназначается для сигнализации верхнего предельного уровня.
Предлагаю заменить торцевое уплотнение
центробежного насоса на двойное торцевое уплотнение, предусмотреть
резервирование данных насосов. Оснастить насос по перекачке ацетона устройством
блокировки, исключающий пуск или прекращающий работу насоса при отсутствии
перемещаемой жидкости в его корпусе или отклонениях ее уровней в приемной и
расходной емкостях от предельно допустимых значений, средствами
предупредительной сигнализации при нарушении параметров процесса, влияющих на
безопасность. Установить запорную арматуру, устанавливаемую на нагнетательном и
всасывающем трубопроводах насоса, которая должна быть к нему максимально
приближена и находиться в зоне, удобной для обслуживания. На нагнетательном
трубопроводе установить клапан обратного действия или другого устройства для
предотвращения перемещения транспортируемого вещества обратным ходом. В
качестве затворной жидкости использовать нейтральные к перекачиваемой среде
жидкости. Применение ЛВЖ для этих целей не допускается.
Центробежные насосы с двойным торцовым
уплотнением оснастить системами контроля и сигнализации давления (утечки)
затворной жидкости, а также блокировками, отключающими насосы в случае
возникновения падения давления (утечки) при индивидуальной для каждого насоса
системе подачи затворной жидкости.
.3 Пожаровзрывоопасность
аппаратов, при эксплуатации которых возможен выход горючих веществ наружу без
повреждения их конструкций
К таким названным аппаратам относятся:
· аппараты с переменным уровнем жидкости
(дышащие)
· аппараты с открытой поверхностью
испарения;
· аппараты, периодически действующие.
Эксплуатация аппаратов с переменным уровнем
жидкости требует сообщения соответствующими устройствами их внутреннего объема
с окружающей средой.
Количество паров огнеопасных жидкостей,
поступающих в помещение из аппаратов, сообщающихся с атмосферой через
дыхательные трубы или открытые люки, зависит не только от физического свойства
жидкости, но и от числа малых и больших дыханий. Большим дыханием называют вытеснение
паров наружу или подсос воздуха внутрь аппаратов при изменении в нем уровня
жидкости (при наполнении и опорожнении). Под малым дыханием понимается
вытеснение паров наружу или подсос воздуха внутрь аппаратов при изменении
температуры в его газовом пространстве (при неизменном уровне жидкости).
Следует иметь в виду, что поступление воздуха в аппарат при его дыхании может
привести к разбавлению богатой смеси паров до горючей концентрации.
Взрывопожароопасные концентрации образуются при
остановке работы аппаратов или трубопроводов в результате неполного удаления
жидкостей, паров или газов из внутреннего объема системы, а при пуске аппаратов
и трубопроводов - в результате недостаточного удаления воздуха.
Непосредственными причинами образования
взрывоопасных концентраций при остановке аппаратов являются:
· неполное удаление из аппарата
огнеопасных жидкостей
· недостаточная продувка водяным паром
или инертным газом внутреннего пространства аппаратов и трубопроводов от
оставшихся жидкостей и паров
· негерметичное отключение от
подлежащих остановке аппаратов соединенных с ними трубопроводов с огнеопасными
жидкостями или газами.
Просачиваясь через негерметичные задвижки, пары
жидкостей постепенно накаливаясь, могут образовать взрывоопасные концентрации
даже в полностью опорожненных и правильно продутых аппаратах и трубопроводах.
По условию нам необходимо рассмотреть следующие
аппараты: смеситель-растворитель и насос центробежный циркуляционный.
Смеситель-растворитель с мешалкой и
водяным обогревом.
Это дышащий аппарат с подвижным уровнем жидкости
периодического действия.
Выход горючих веществ без повреждения
оборудования возможен через дыхательную систему во время большого и малого
дыханий, а также по причине небольших утечек горючих веществ через прокладки,
швы, разъёмные соединения и др. места
Взрывоопасная концентрация паров в
"дышащем" аппарате с подвижным уровнем жидкости образуется при
выполнении условия (с небольшой переоценкой опасности (с запасом)):
р
tвсп
(з.т) ,
где tвсп
(з.т) - температура вспышки в закрытом тигле.
В нашем случае в аппарате обращаются ацетон и
ксилол:
для ацетона tраб
=
50 ˚С > tвсп
=
-18 ˚С, для ксилола tраб
=
50 ˚С > tвсп
=
26 ˚С,
т.е. в аппарате возникает взрывоопасная
концентрация. Выходящие пары через дыхательное устройство будут образовывать
зону взрывоопасной концентрации.
Количество горючих паров, выходящих из
сообщающегося с атмосферой ("дышащего") аппарата за один цикл
"большого дыхания", определяют по формуле:
,
где
-
количество выходящих паров из заполняемого жидкостью аппарата, кг/цикл;
- объем
поступающей в аппарат жидкости, м
;
- рабочее давление
в аппарате, Па;
- концентрация
насыщенного пара в аппарате, об. доли;
- молекулярная
масса пара, кг/кмоль;
,31 Дж/(кмоль
)
- универсальная газовая постоянная.
м3,
где
-
степень заполнения аппарата.
Молекулярная масса смеси (приложение табл. 3
[8]):
кг/кмоль.
Тогда:
кг/цикл.
Объем зоны, в которой может образоваться
взрывоопасная концентрация паров при выходе газа, определяют по формуле:
,
где
-
объем местной зоны ВОК, м
;
- нижний
концентрационный предел распространения пламени, кг/м
;
- коэффициент
запаса надежности, обычно принимаемый равным 2;
m - масса горючих
веществ, поступающих в помещение из аппарата, кг (m=Gб).
Пересчитаем концентрационный предел
распространения пламени из объемных долей в килограммы в кубическом метре
используя формулу:
кг/м
,
где
-
нижний концентрационный предел распространения пламени, об. доли;
М - молекулярная масса смеси, кг/кмоль;
- молярный объем
(м
/кмоль)
при рабочих условиях, определенный по формуле:
м
/кмоль,
где
-
молярный объем при нормальных условиях;
Па - давление при
нормальных физических условиях;
- рабочее давление
паровоздушной смеси.
м
.
При выходе из аппарата взрывоопасной смеси с
воздухом в помещение повышается взрывопожароопасность. Для снижения этой
опасности следует предусмотреть следующие технические мероприятия:
· обеспечить постоянство объема
газового пространства (это техническое решение может быть осуществлено путем
устройства газовой обвязки двух или более аппаратов;
· установить на дыхательном патрубке
аппарата дыхательный клапан для герметизации паровоздушного пространства в
периоды простоя аппарата, т. е. в промежутки времени между операциями
наполнения или опорожнения. Дыхательный клапан позволяет поддерживать
определенные избыточное давление и вакуум в аппарате, обеспечивая минимальные
потери летучих компонентов за счет испарения, но не препятствует большим и малым
"дыханиям";
· предусмотреть устройство систем
улавливания паров. Для этой цели могут использоваться адсорбционные,
абсорбционные, холодильные и компрессорные установки;
· вывести дыхательные трубы за пределы
помещения, или присоединить их к системе улавливания;
· снизить количество паров,
поступающих в воздушное пространство, что достигается применением понтонов.
Вывод: исходя из проделанных расчетов, мы можем
сказать, что образование паровоздушной смеси, способной к горению, возможно
также и снаружи аппаратов данного технологического производства при их
нормальной работе и при неисправности вытяжной вентиляции.
Насос центробежный циркуляционный.
Это герметичный аппарат периодического действия,
работающий под давлением.
В герметичных аппаратах с горючими жидкостями
взрывоопасные концентрации паров образуются при выполнении двух условий:
. Имеется свободное пространство, в которое
попадает воздух или по условиям ведения технологического процесса подается
окислитель.
. Выполняется соотношение:
.
При нормальных условиях работы, в нашем случае,
отсутствует свободное пространство. Взрывопожароопасные концентрации могут
образовываться при остановке работы аппарата.
Выход горючих веществ без повреждения
оборудования возможен по причине небольших утечек горючих веществ через
капиллярные каналы в прокладках, сальниках, сварных швах и др. местах.
Интенсивность утечек паров и газов из
работающего под давлением герметичного оборудования определяют по формуле:
,
где
-
интенсивность выхода паров из аппарата, работающего под давлением, кг/с;

- коэффициент,
учитывающий степень износа оборудования, изменяется в пределах от 1 (новое
оборудование) до 2 (изношенное оборудование);
- коэффициент,
зависящий от давления среды в аппарате, значения
приведены
в табл. 6 приложения [8];
- внутренний
свободный объем оборудования, заполненный паром под давлением, м
.
Для предотвращения образования взрывоопасной
концентрации паров смеси в помещении необходимо:
· герметизация соединений;
· при остановке аппаратов производить
очистку и продувку водяным паром;
· устройство локальных установок
автоматического пожаротушения.
.4 Анализ
возможных причин повреждения аппаратов, разработка необходимых средств защиты
Необходимым условием обеспечения эффективной и
безопасной эксплуатации технологического оборудования является его прочность.
Под прочностью понимается способность материала сопротивляться разрушению, а
также необратимому изменению формы (пластические деформации) при действии
внешних нагрузок.
Возможны следующие основные комбинации
нарушений, приводящие к повреждению технологического оборудования:
превышение расчетных нагрузок при сохранении
расчетной прочности оборудования;
снижение расчетной прочности оборудования при
сохранении расчетных нагрузок;
одновременное нарушение расчетных нагрузок и
расчетной прочности оборудования.
Причины повреждений технологического
оборудования принято классифицировать следующим образом:
повреждения в результате механических
воздействий;
повреждения в результате температурных
воздействий;
повреждения в результате химических воздействий.
Под механическими воздействиями понимают такие
воздействия, которые возникают в результате превышения расчетных нагрузок на
оборудование при сохранении его расчетной прочности.
Наиболее характерным механическим
воздействием является чрезмерное внутреннее давление, возникающее в
аппарате при:
· переполнении аппарата жидкостями;
· нарушении материального баланса
(поток веществ входящих в систему не соответствует потоку веществ выходящих из
системы), возможно при неполном открытии задвижек, а также при несоответствии
производительности насосов и компрессоров расходу продукта;
· наличии в аппарате и трубопроводах
отложений и пробок;
· из-за отсутствия условий
своевременного удаления вытесняемой паровоздушной смеси (при наполнении
аппарата). Чаще всего это происходит при загрязнении или обледенении
огнепреградителя, когда пропускная способность дыхательной системы не
соответствует скорости налива;
· нарушении температурного режима
работы вследствие перегрева жидкостей, что обусловлено отсутствием или
неисправностью контрольно-измерительных приборов, недосмотром обслуживающего
персонала, воздействием высоконагретых соседних аппаратов, повышением
температуры окружающей среды и т. п.
При резких изменениях величины давления в
аппаратах (гидравлические удары), связанных с резким торможением движущегося
потока жидкости в результате вибраций от случайных ударов движущимся
транспортом, возникают динамические нагрузки, которые вызывают образование
внутренних напряжений в конструкциях аппарата значительно выше тех, которые
могут возникнуть от статических нагрузок.
Повреждение технологического оборудования может
произойти в результате образования не предусмотренных расчетом температурных
перенапряжений в материале стенок аппаратов и трубопроводов, а также в
результате ухудшения механических характеристик металлов при низких или высоких
температурах.
Температурные перенапряжения в материале
аппаратов наступают, когда есть препятствия линейному изменению отдельных
элементов или конструкции в целом.
Температурные напряжения наблюдаются при жестком
креплении трубопроводов, наличии в аппаратах биметаллических конструкций или
конструктивных элементов, находящихся под воздействием неодинаковых температур,
в толстостенных конструкциях и при местных изменениях температур в материале
аппарата.
Обращающиеся в технологическом процессе вещества
и окружающая среда вступают в химическое взаимодействие с материалом, из
которого изготовлено технологическое оборудование, вызывая его разрушение.
Разрушение материала в результате взаимодействия с соприкасающейся с ним средой
называется коррозией.
Разрушающему действию коррозии наиболее
подвержены слабые места производственного оборудования: швы, разъемные
соединения, прокладки, места изгибов и поворотов труб.
Различают химическую и электрохимическую
коррозию.
Химическая коррозия наблюдается в среде жидких
диэлектриков или газов, нагретых до высоких температур. Это
окислительно-восстановительный химический процесс, к которому относят
кислородную, сероводородную, серную и водородную, а также некоторые другие виды
коррозии в аппаратах с температурными режимами от 200 оС и выше.
Электрохимическая коррозия представляет собой
процесс растворения металлов в электролитах в результате действия образующихся
гальванических пар.
Образование повышенного давления в
аппаратах.
Повышение давление может произойти в результате
нарушения материального баланса в смесителе-растворителе, если расход краски
будет меньше расхода полуфабриката с бензолом. Это возможно при образовании
пробок в расходной линии; из-за отсутствия условий своевременного удаления
вытесняемой паровоздушной среды (при наполнении аппарата), причиной этого
случая может быть загрязнение огнепреградителя, когда пропускная способность
дыхательной системы не соответствует скорости налива; уменьшении расхода
продукта при его неизменном поступлении; перекрытии расходных линий задвижками;
переполнении емкостей при отсутствии переливных линий или автоматики.
Величину перепада давления в линиях для
преодоления сопротивления и создания необходимой скорости продукта
определяют
по формуле:
,
а общее давление из выражения:
,
где
-
потери давления при увеличении сопротивления линий, Па;
-
конечное давление в системе при увеличении сопротивления линий, Па;
-
коэффициент i-го местного
сопротивления;
- коэффициент
сопротивления трения, определяемый в зависимости от режима движения продукта; d
- внутренний диаметр трубопровода, м;
-
скорость движения продукта в трубопроводе, м/с;
-
длина трубопровода, м;
- плотность
продукта при рабочей температуре, кг/м
.
Повышение давление может произойти в результате
нарушения материального баланса в центробежном насосе при несоответствии
производительности насосов и компрессоров расходу продукта, при увеличении
сопротивления в расходных линиях, а также в силу некоторых других причин. Любое
изменение в расходе должно сопровождаться изменением производительности насоса
или компрессора. Если насос будет работать с той же производительностью, а
расход снижен, возникает повышенное давление в аппарате. Чтобы избежать этого
явления за насосом устанавливают на линии манометры или автоматические
регуляторы давления, которые при повышении давления в системе уменьшают число
оборотов вала центробежных насосов, а при уменьшении давления автоматически
увеличивают их производительность.
Опасное давление может возникнуть при работе
насоса во время закрытых задвижек трубопровода. Такая ситуация может возникнуть
при несвоевременном открывании задвижки на линии, в которую подается продукт,
неполное открывание задвижки или отключение линии.
Повышение давление также может произойти от
повышения температуры подогрева в смесителе-растворителе из-за недосмотра
обслуживающего персонала, нарушения условий ведения технологического процесса,
при неисправных контрольно-измерительных приборах.
Конечное давление в аппаратах с насыщенными
парами жидкостей и наличием жидкой фазы при изменении температуры определяют из
выражения:
,
где
-
давление насыщенного пара при температуре
,
Па.
Определим насколько увеличится давление внутри
смесителя-растворителя при увеличении рабочей температуры на 20 0С.
Суммарное давление насыщенного пара над
раствором при рабочей температуре 50 0С составляем
Па
(см. пункт 2.2).
Для ацетона
Па
при Т=343 К (приложение 2 табл. 1 [6]).
Для ксилола
Па
при Т = 327,6 К (приложение табл. 2 [8]);
Па при Т = 349,1 К.
Па.
Па;
Па.
Суммарное давление насыщенного пара над
раствором:
Па.
Па.
При увеличении температуры внутри аппарата на 20
0С давление в нем увеличивается практически в 2 раза. Это говорит о
том, что при относительно небольшом повышении температуры давление сильно
возрастает, что может привести к повреждению оборудования.
Повышение давление также может произойти в
насосе от повышения температуры поступающего вещества.
Приращение давления в герметичном аппарате,
полностью заполненном жидкостью, при повышении температуры определяют по
формуле:
,
где
-
коэффициент объемного расширения жидкости, К
;
-
коэффициент объемного сжатия жидкости, м
/Н
(Па
);
-
коэффициент линейного расширения материала стенок аппарата, К
;
-
изменение температуры в аппарате, 0С.
При проведении технических расчетов можно пользоваться
упрощенной формулой (погрешность расчета не превышает 5-7%):
.
При повышении температуры краски на 10 0С,
приращение давления будет:
МПа,
где, для ацетона,
К
;
Па
.
МПа.
При увеличении температуры всего на 10 0С,
давление в насосе увеличится по сравнению с рабочим давлением в 14 раз. Это
говорит о том, что при относительно небольшом повышении температуры давление
резко возрастает, что может привести к повреждению оборудования.
Произведем расчет предохранительного клапана
для смесителя-растворителя.
) избыточное давление срабатывания
предохранительного клапана исходя из избыточного рабочего давления в аппарате
(пункт 2.4 [8]):
МПа,

МПа.
2) молекулярная масса продукта
кг/кмоль.
) плотность среды в аппарате при давлении
срабатывания предохранительного клапана и рабочей температуре:
кг/м3,
где
-
рабочая температура среды в аппарате, 0С;
- абсолютное
давление срабатывания клапана, МПа.
4) давление на выходе в отводящий трубопровод Рвх
= 0,14 МПа, принимаем
Рвх = Рс,
где Рс - абсолютное давление среды в
закрытой системе, куда производится сбрасывание парогазовой среды, МПа.
) определяем коэффициент
,
для жидкостей принимают равным единице.
) определяем необходимую площадь проходного
сечения предохранительного клапана (м2) при максимальной
производительности аппарата по парогазовой среде во время аварийной ситуации:
м2 =
29,8 см2,
где
-
максимальная производительность аппарата по парогазовой среде, кг/с;
-
коэффициент расхода среды через клапан (величина
составляет
в среднем 0,16-0,17).
Образование динамических воздействий
в аппаратах.
В центробежном насосе может возникнуть
гидравлический удар в результате быстрого закрывания или открывания вентилей на
трубопроводах, при больших пульсациях подаваемой насосами жидкости, при резком
изменении давления.
Приращение давления в трубопроводе при
гидравлическом ударе определяют по формуле Н.Е. Жуковского:
,
где с - скорость распространения ударной волны:
,
где
-
плотность жидкости при рабочей температуре, кг/м
;
d - внутренний
диаметр трубы, м; Е - модуль упругости материала трубы, Па (см. табл. 14 и 19
приложения); s - толщина стенки
трубы, м;
- уменьшение
скорости движения жидкости в трубопроводе, м/с:
,
где
-
начальная скорость движения продукта в трубопроводе, м/с;
-
конечная скорость движения продукта в трубопровод, м (часто
=0).
Для предотвращения возможности возникновения
гидравлического удара на трубопроводах устанавливают медленно закрывающиеся
задвижки, воздушные колпаки и предохранительные клапаны, автоматически
открывающиеся при повышении давления выше нормативного.
Образование температурных
напряжений.
В нашем случае отсутствует возможность
образования температурных напряжений.
Образование химического износа
(коррозии).
В нашем случае отсутствует возможность
образования коррозии, так как продукт, обращающийся в производстве, не обладает
коррозийными свойствами.
2.5 Анализ
возможности появления характерных технологических источников зажигания
Источники воспламенения, встречающиеся в
условиях производства, весьма разнообразны по причинам появления, по своей
природе, а также по своим параметрам. Нагретое тело может быть источником
воспламенения для данного горючего вещества в том случае, когда: а) температура
тела выше температуры самовоспламенения соприкасающейся с ним горючей среды; б)
количество тепла, которое может отдать нагретое тело при охлаждении его от
начальной температуры до температуры самовоспламенения горючей среды,
достаточно для нагревания горючего вещества до воспламенения; в) длительность
действия источника воспламенения не меньше периода индукции горючей среды.
Причиной воспламенения горючих веществ могут
служить источники тепла, необходимые для осуществления технологического
процесса, то есть огневые печи, тепловое проявление химических реакций,
тепловое проявление механической энергии, тепловое проявление электрической
энергии и т.д. Установить наличие указанных источников воспламенения не
представляет трудности. Но чаще всего пожары возникают от таких источников
воспламенения, наличие которых не связано с нормальным функционированием
производства. Такие источники воспламенения выявить значительно сложнее.
Большинство указанных источников воспламенения образуется в результате
нарушения противопожарного режима обслуживающим персоналом, а также ремонтными
и монтажными бригадами, из-за нарушения установленных параметров
технологического регламента, при неисправностях производственных аппаратов.
Специфичными источниками воспламенения при
производстве краски могут быть случаи самовозгорания ацетона или глифталевой
смолы, разряды статического электричества, неисправности и несоответствие
электропривода к мешалкам смесителей и расходных емкостей.
Тепловое проявление
механической энергии.
В смесителе-растворителе, а также в насосе
возможны перегревы подшипников.
Температуру подшипника при работе с перегрузкой
и недостаточном охлаждении определяют по формуле:
,
где Тв - температура окружающей среды
(воздуха), К;тр - мощность сил трения при работе подшипника, Вт;
a - коэффициент теплообмена между поверхностью
подшипника и средой, Вт/(м2К);- поверхность корпуса подшипника, м2.
Величину Qтр определяют по формуле:
,
где
f - коэффициент трения;- радиальная сила, действующая на подшипник, Н;- диаметр
шейки вала, м;- число оборотов вала, об/мин.
Если
температура подшипника не превышает 80 % температуры самовоспламенения
обращающихся в производстве веществ, то возможность воспламенения горючей среды
отсутствует.
Чтобы
избежать перегрева подшипников целесообразно вместо нагревающихся сверх нормы
подшипников скольжения применять подшипники качения; систематически смазывать
подшипники теми сортами масла и в том количестве, которое установлено правилами
эксплуатации для данного подшипника, при строгом соблюдении сроков смазки. Для
контроля за температурой подшипников можно покрывать их поверхность термочувствительными
красками, изменяющими свой цвет при нагревании.
Также
источником зажигания в смесителе-растворителе могут быть искры от механических
ударов при работе мешалки.
Источником
зажигания в сушильной камере могут стать искры от ударов инструментов при
чистки отложений в помещении окрасочной камеры, на поверхностях воздуховодов.
Поэтому следует применять искробезопасные инструменты.
Тепловое проявление
электрической энергии.
Также источником воспламенения может быть
тепловое проявление электрической энергии. Источники воспламенения от теплового
проявления электрической энергии могу возникнуть при несоответствии
электрооборудования (электродвигателей, силовых электрических сетей) характеру
воздействующей на него среды; в случае несоблюдения правил устройства и
эксплуатации электрооборудования; при неисправностях и повреждениях, вызываемых
механическими причинами, при перемещении ацетона, а также действием химически
активных веществ, влаги и т.п. Тепловое действие электрического тока может
проявиться в виде электрических искр и дуг, чрезмерного перегрева двигателей,
контактов, отдельных участков электрических сетей и электрического
оборудования, а также аппаратов при перегрузках и больших переходных
сопротивлениях, в виде перегрева в результате теплового проявления токов
индукции и самоиндукции, при искровых разрядах статического и атмосферного
электричества, в результате нагревания вещества и материалов от диэлектрических
потерь энергии.
Перегрузка электрических сетей и машин
вызывается увеличением механической нагрузки на электродвигатели, а также
подключением к электрическим сетям дополнительных токоприемников, на которые
сети не рассчитаны. Увеличение силы тока в сетях и машинах приводит к выделению
большого количества тепла, воспламенений изоляции. Опасные последствия
перегрузки наблюдаются при неправильно выбранной или неисправной защите сетей
плавкими вставками или автоматами.
Переходные сопротивления возникают чаще всего в
местах, где провода и кабели некачественно присоединяются к машинам и аппаратам
или токопроводящие жилы соединяются друг с другом холодной скруткой, а также в
местах плохого контакта. В местах переходных сопротивлений выделяется
значительное количество тепла. От нагрева мест переходных сопротивлений могут
загореться электроизоляция, а также рядом находящиеся горючие вещества.
Меры пожарной профилактики:
· устройство заземляющих устройств;
· контроль скорости перемещения
жидкости;
· недопущение падения струи жидкости с
высоты.
Опасно нагретые
поверхности аппаратов.
В технологическом процессе используется
сушильная камера терморадиационного действия с газообогревательными закрытыми
панелями. Максимальная температура обогреваемой поверхности панели в сушильной
камере автомобилестроительного завода 300 ˚С, что не превышает 80 %
температуры самовоспламенения глифталевой смолы и ацетона, поэтому угроза
самовоспламенения отсутствует.
В качестве мер пожарной профилактики при
использовании данной сушилки следует предусмотреть:
· автоматический контроль за температурным
режимом;
· автоматическое регулирование подачи
топлива при изменении температуры в сушильной камере;
· исключение попадания раскаленных
кусочков керамики на сгораемый материал;
· безопасное расположение панелей,
контроль за состоянием их поверхности.
Сушильная камера располагается в одном помещении
с окрасочной камерой. Следует разделить эти два процесса противопожарной
преградой.
2.6 Возможные
пути распространения пожара
Наличие больших объемов легковоспламеняющейся
жидкости в цехе окраски автомобильных деталей может привести к тому, что пожар
может принять значительные размеры.
Условиями распространения горения являются:
розливы по территории цеха ацетона; разветвленная сеть промышленной канализации
при неэффективности гидравлических затворов в колодцах; отсутствие линий стравливания
паровоздушных смесей из аппаратов; разветвленная сеть трубопроводов при
отсутствии на них гидравлических затворов.
Распространение пожара при окраске металлических
деталей автомобилей происходит по поверхности окрашенных изделий; отложениям
лакокрасочного материала на внутренних поверхностях окрасочной камеры,
воздуховодов, оборудования и конструкций; по воздуховодам вытяжной,
рециркуляционной и приточной систем вентиляции; поверхности разлившихся
лакокрасочных материалов; транспортерам для перемещения изделий; через дверные,
оконные и технологические проемы.
Наличие в больших количествах лакокрасочных
материалов вблизи окрасочной камеры, окрашиваемых изделий и оборудования,
взрывы в окрасочной камере и в цехах окраски способствует распространению пожара
при окраске.
В смесителе растворителе может единовременно
находится до 3,18 м3 краски. Возможная средняя температура пожара
может достигать 1500 оС. При повреждении аппаратов возможно
растекание легковоспламеняющихся жидкостей по всей площади помещения (1 литр
ЛВЖ растекается на площади 1 м2). Поэтому следует ограничить розлив
жидкостей, предусмотрев противопожарные местные преграды в виде глухих бортиков
и обвалований.
Чтобы предотвратить распространение огня по
производственным коммуникациям, а также для защиты дыхательной линии применяют
сухие огнепреградители, в виде гравийных затворов, состоящих из твердых
измельченных материалов, автоматические задвижки и заслонки, водяные завесы,
перемычки, засыпки и т. п.
Произведем расчет гравийного огнепреградителя
для защиты дыхательной линии смесителя-растворителя.
.Составляют уравнение сгорания в воздухе 1 моля
горючего вещества и определяют концентрацию компонентов в исходной горючей
смеси стехиометрического состава:
и
,
где
-
концентрация горючего компонента в исходной смеси стехиометрического состава,
об. доли;
- количество молей
одного компонента в смеси;
- количество
компонентов в смеси;
- концентрация
воздуха в сходной смеси.
С3H6О+
4(O2+
3,76N2)®
3CO2+3H2O+4.3,76N2
- ацетон,
С8H10+
10,5(O2+ 3,76N2)® 8CO2+5H2O+10,5.3,76N2
- ксилол.
m = (1+4+4.3,76) .0,8 +
(1+10,5+10,5.3,76) .0,2 = 26,23 молей.
об. доли и
об.
доли.
2. Определяют удельную газовую постоянную
исходной смеси
, а так же её
удельную теплоемкость
и коэффициент
теплопроводности
.
Дж/кг.К;
кДж/(кг.К);
Вт/(м.К).
м/с (табл. 1
приложения [8]).
3. Определяют критический диаметр каналов в слое
гранул (гравия):
мм,
где
-
удельная газовая постоянная исходной смеси, Дж/(кг∙К);
-
температура исходной смеси, 0С;
-
коэффициент теплопроводности исходной смеси, Вт/(м∙К);
-
нормальная скорость распространения пламени, м/с;
-
удельную теплоемкость исходной смеси, Дж/(кг∙К);
-
давление исходной смеси, Па.
. Определяют фактический диаметр каналов в слое
гранул
:
мм,
где
-
коэффициент безопасности; обычно принимают 
.
. Определяют диаметр гранул (гравия) насадки
огнепреградителя
:
м (таблица пункт
2.1 [8]).
. Принимают высоту слоя гранул в
огнепреградителе Н:
м.
Вывод. Для предотвращения распространения пожара
в помещении смесителя-растворителя необходимо предусмотреть локальную
автоматическую установку пожаротушения.
3. Расчет
категории производственного помещения по взрывоопасной и пожарной опасности
3.1 Выбор и обоснование расчетного варианта
При расчете критериев взрывопожарной опасности в
качестве расчетного следует выбирать наиболее неблагоприятный вариант аварии
или период нормальной работы аппаратов, при котором в образовании горючих
паровоздушных смесей участвует наибольшее количество паров, наиболее опасных в
отношении последствий сгорания этих смесей.
Количество поступивших в помещение веществ,
которые могут образовать горючие паровоздушные смеси, определяется, исходя из
следующих предпосылок:
а) происходит расчетная авария одного из
аппаратов, содержащего наибольшее количество самого пожароопасного вещества;
б) все содержимое аппарата поступает в
помещение;
в) происходит одновременно утечка веществ из
трубопроводов, питающих аппарат, по прямому и обратному потокам в течение
времени, необходимого для отключения трубопроводов.
Расчетное время отключения трубопроводов
определяют в каждом конкретном случае, исходя из реальной обстановки, и должно
быть минимальным с учетом паспортных данных на запорные устройства, характера
технологического процесса и вида расчетной аварии.
Расчетное время отключения трубопроводов следует
принимать равным:
времени срабатывания системы автоматики
отключения трубопроводов согласно паспортным данным установки, если вероятность
отказа системы автоматики не превышает 0,000001 в год или обеспечено
резервирование ее элементов;
120 с, если вероятность отказа системы
автоматики превышает 0,000001 в год и не обеспечено резервирование ее
элементов;
300 с при ручном отключении;
г) происходит испарение с поверхности
разлившейся жидкости; площадь испарения при разливе на пол определяется (при
отсутствии справочных данных), исходя из расчета, что 1 литр смесей и
растворов, содержащих 70 % и менее (по массе) растворителей, разливается на
площади 0,5 м2, а остальных жидкостей - на 1 м2 пола
помещения;
д) происходит также испарение жидкости из
емкостей, эксплуатируемых с открытым зеркалом жидкости, и со свежеокрашенных
поверхностей;
е) длительность испарения жидкости принимается
равной времени ее полного испарения, но не более 3600 с.
Свободный объем помещения определяется как
разность между объемом помещения и объемом, занимаемым технологическим
оборудованием. Если свободный объем помещения определить невозможно, то его
допускается принимать условно, равным 80 % геометрического объема помещения.
Определение категории помещения
окрасочной камеры.
Определение категорий помещений следует
осуществлять путем последовательной проверки принадлежности помещения к
категориям, приведенным в табл. 1 [2], от высшей (А) к низшей (Д).
В помещении в технологическом процессе
применяется ацетон. По температуре вспышки ацетона Твсп = -18 0С
определяем категорию производства - А.
3.2 Расчет избыточного давления для горючих
паров легковоспламеняющихся жидкостей
1. Избыточное давление DР
для индивидуальных горючих веществ, состоящих из атомов С, Н, О, N, Сl, Вr, I,
F, определяется по формуле:
где Рmax - максимальное давление
взрыва, развиваемое при сгорании стехиометрической паровоздушной смеси в
замкнутом объеме. При отсутствии данных допускается принимать Рmax
равным 900 кПа. В нашем случае Рmax = 572 кПа;
Р0 - начальное давление, кПа
(допускается принимать равным 101 кПа);- масса паров легковоспламеняющихся
жидкостей, вышедших в результате расчетной аварии в помещение, кг;- коэффициент
участия горючих паров в горении, который может быть рассчитан на основе
характера распределения паров в объеме помещения согласно приложению Д.
Допускается принимать значение Z по таблице А.1 [2]. Z = 0,3;св -
свободный объем помещения, м3;
rп - плотность пара
при расчетной температуре tp, кг × м-3,
вычисляемая по формуле:
где М - молярная масса, м3 ×
кмоль-1;0 - мольный объем, равный 22,413 м3 ×
кмоль-1;р - расчетная температура, °С.
Сст - стехиометрическая концентрация
паров ЛВЖ, % (объемных), вычисляемая по формуле
где
-
стехиометрический коэффициент кислорода в реакции сгорания;С, nH,
nО, nX - число атомов С, Н, О и галоидов в молекуле
горючего;
Кн - коэффициент, учитывающий негерметичность
помещения и неадиабатичность процесса горения. Допускается принимать Кн
равным трем.
Массу горючих веществ
,
выходящих наружу при полном разрушении аппарата, определяют по формуле:
,
где
-
масса веществ, выходящих из трубопроводов соответственно до момента отключения
задвижек и после их закрытия, кг.
Для аппаратов с жидкостями массу горючих веществ
определяют по формуле:
,
где
-
производительность 1-го насоса (или пропуская способность 1-го трубопровода),
питающего аппарат, м
/с;
-
продолжительность отключения i-го
побудителя расхода, с; n
- число побудителей расхода, питающих аппарат;
-
соответственно длина (м) и сечение (м
)
j -го участка
трубопровода (от аварийного аппарата до запорного устройства), из которого
происходит истечение жидкости;
- плотность
жидкости при рабочей температуре среды в аппарате, кг/м
;
k - число участков
трубопроводов, примыкающих к аварийному аппарату.
Произведем расчеты:
С3H6О+
4(O2+ 3,76N2)® 3CO2+3H2O+4.3,76N2;
;
%, об.;
кг/м3;
м3.
Так как у нас окрасочная камера на 2 рабочих
места, то:
кг,
где
м3/с;
м2.
Из аппарата вылилось 0,2544 м3 или
254,4 л ацетона. Расчетная площадь разлива ацетона составляет (1 литр
разливается на 1 м2) 254,4 м2. Площадь пола помещения F =
95 . 20 = 1900 м2.
Масса жидкости, испарившейся с поверхности
разлива определяется по формуле:
,
где W - интенсивность испарения, кг ×
с-1 × м-2;и -
площадь испарения, м2;
Т - время испарения.
Интенсивность испарения W для не нагретых выше
расчетной температуры (окружающей среды) ЛВЖ при отсутствии данных допускается
рассчитывать W по формуле:
где h - коэффициент,
принимаемый по таблице А.2 [2] в зависимости от скорости и температуры
воздушного потока над поверхностью испарения, h = 3,5;
Рн - давление насыщенного пара при
расчетной температуре жидкости tр, кПа.
Рн = 133,3 . 180,08 = 24
кПа (табл.1 приложение 2 [6]);
кг/(с.м2).
Тогда:
кг.
Так как масса испарившейся жидкости больше массы
разлившейся жидкости, то:
кг.
Определим время испарения разлившегося ацетона:
с.
С учетом вентиляции массу m горючих паров
легковоспламеняющихся жидкостей, нагретых до температуры вспышки и выше,
поступивших в объем помещения, следует разделить на коэффициент К, определяемый
по формуле:
,
где А - кратность воздухообмена, создаваемого
аварийной вентиляцией, с-1;
Т - продолжительность поступления горючих паров
легковоспламеняющихся жидкостей в объем помещения, с.
.
Тогда масса испарившейся жидкости в помещении
будет:
кг.
Тогда избыточное давление равно:
кПа = 436 Па.
Вывод:
,
следовательно помещение окрасочной камеры следует отнести к категории
"В1-В4" (пожароопасность).
3.3 Определение категорий помещений В1-В4
Определение категорий помещений В1-В4
осуществляют путем сравнения максимального значения удельной временной пожарной
нагрузки на любом из участков с величиной удельной пожарной нагрузки,
приведенной в таблице Б.1 [2].
При пожарной нагрузке, включающей в себя
различные сочетания (смесь) легковоспламеняющихся, горючих, трудногорючих
жидкостей, твердых горючих и трудногорючих веществ и материалов в пределах
пожароопасного участка пожарная нагрузка Q, МДж, определяется по формуле:
,
где Gi - количество i-того материала
пожарной нагрузки, кг;
- низшая теплота
сгорания i-того материала пожарной нагрузки, МДж ×
кг-1.
Удельная пожарная нагрузка g, МДж ×
м-2, определяется из соотношения:
,
где S - площадь размещения пожарной нагрузки, м2
(но не менее 10 м2).
Для ацетона
Дж/кг
(табл. 25 приложения [8]).
МДж.
МДж/м2.
Вывод: категория помещения цеха с окрасочной
камерой В4.
Заключение
В курсовом проекте на основании исследования
технологического процесса окраски автомобильных деталей проведен анализ
пожарной опасности технологического процесса.
Выявлены причины образования горючей среды
внутри аппаратов при нормальном режиме, а также во время аварийной ситуации
(при повреждении аппарата); технологические источники зажигания, возможные пути
распространения пожара, определены расчетным путем категории помещений по
взрывопожарной опасности. Проведен расчет огнепреградителя на дыхательной линии
смесителя-растворителя. На основе этого анализа предложены
пожарно-профилактические мероприятия (в конце каждого параграфа).
Литература
1. Федеральный закон №123-ФЗ от
22.07.2008 г. Технический регламент о требованиях пожарной безопасности.
. СП 12.13130.2009.
Определение категорий помещений, зданий и наружных установок по взрывопожарной
и пожарной опасности.
. ГОСТ 12.1.044-89*. ССБТ.
Пожаровзрывобезопасность веществ и материалов. Номенклатура показателей и
методы их определения. (ИСО 4589-84).
. ГОСТ Р 12.3.047-98. ССБТ.
Пожарная безопасность технологических процессов. Общие требования. Методы
контроля.
. Алексеев М.В., Волков О.М.,
Шатров Н.Ф. Пожарная профилактика технологических процессов производств. - М.:
ВИПТШ МВД СССР, 1986.
. В.П. Назаров, В.М.
Сонечкин. Методические указания к выполнению курсового проекта по дисциплине
"Пожарная профилактика технологических процессов". - М.: ВИПТШ МВД
СССР, 1989. - 86 с.
. Горячев С.А., Молчанов
С.В., Назаров В.П., Панасевич Л.Т., Петров А.П., Рубцов В.В., Швырков С.А.
Пожарная безопасность технологических процессов. Часть 2, - М.: Академия ГПС
МЧС России, 2007.
. Горячев С.А., Клубань В.С.
Задачник по курсу "Пожарная профилактика технологических процессов".
- М.: ВИПТШ МВД РФ, 1996. - 121 с.
. Горячев С.А., Обухов А.И.,
Рубцов В.В., Швырков С.А. Основы технологии, процессов и аппаратов
пожаровзрывоопасных производств. - М.: Академия ГПС МЧС России, 2003.
. Пожаровзрывоопасность
веществ и материалов и средства их тушения: Справ. изд.: в 2 книгах; кн. 1 / A.
H. Баратов, А. Я.
Корольченко, Г. Н. Кравчук и др. - М., Химия, 1990. - 496 с.
. Пожаровзрывоопасность
веществ и материалов и средства их тушения: Справ. изд.: в 2 книгах; кн. 2 / A.
H. Баратов, А. Я.
Корольченко, Г. Н. Кравчук и др. - М., Химия, 1990. - 384 с.