|
Габариты ТС с
грузом или без груза
|
Допустимая
величина
|
|
Длина:
|
|
|
автопоезда,
седельного автопоезда
|
20
|
|
Ширина:
|
|
|
ТС с
изотермическим кузовом
|
2,6
|
|
автомобилей с
односкатной ошиновкой
|
2,75
|
|
других ТС
|
2,55
|
|
Высота
|
4
|
|
Выступ груза
|
2
|
Допустимые габаритные параметры ТС удовлетворяют требованиям
Указа Президента РБ №613 от 26.11.2010 г.
2.2 Рулевое управление
Основные требования в отношении конструкции и
функционирования систем рулевого управления, которыми оснащаются транспортные
средства, устанавливают Правила ЕЭК ООН №79. Главное требование, которое
предъявляется к системе рулевого управления, заключается в наличии жесткого
механического соединения между органом рулевого управления, как правило рулем,
и ходовыми колесами в целях направления транспортного средства по заданной
траектории. Это механическое соединение, при условии его проектирования с
запасом прочности, должно исключать возможность поломки.
Рулевое управление должно быть спроектировано,
сконструировано и установлено таким образом, чтобы:
· до испытания на удар, описанном выше, ни
на одном из участков поверхности рулевого управления, которые обращены к
водителю, не было опасных неровностей или острых граней с радиусом кривизны
менее 2,5 мм;
· после испытания на удар, на том участке
поверхности рулевого управления, который обращен к водителю, не было никаких
острых или неровных граней, которые могли бы увеличить опасность или
серьезность ранений водителя. Допускаются незначительные трещины и разрывы на
поверхности.
На рулевом управлении не должно быть элементов или
вспомогательных приспособлений, включая приводы сигнальных приборов и элементы
обшивки, за которые могут зацепиться одежда водителя в обычных условиях
управления транспортным средством.
Основные эксплуатационные требования, согласно которым и
проводится проверка технического состояния рулевого управления, изложены в СТБ
1641-2006.
Суммарный люфт в рулевом управлении в регламентированных
условиях испытаний не должен превышать предельных значений, установленных
изготовителем в эксплуатационной документации, а при отсутствии таких данных не
должен превышать: 10° для легковых автомобилей и созданных на их базе агрегатов
грузовых автомобилей и автобусов; 20° для автобусов; 25° для грузовых
автомобилей.
Суммарный люфт в рулевом управлении - это угол
поворота рулевого колеса от положения, соответствующего началу поворота
управляемых колес в одну сторону, до положения, соответствующего началу их
поворота в сторону, противоположную положению, примерно соответствующему
прямолинейному движению транспортного средства.
Начало поворота управляемого колеса - это угол
поворота управляемого колеса на (0,06±0,01)°, измеряемый от положения
прямолинейного движения.
При проверке суммарного люфта должны выдерживаться следующие
условия испытаний:
· шины управляемых колес должны быть чистыми
и сухими;
· управляемые колеса должны находиться в
нейтральном положении на сухой ровной горизонтальной асфальто- или
цементобетонной поверхности;
· испытания автомобилей, оборудованных
усилителем рулевого привода, проводятся при работающем двигателе.
Значение суммарного люфта в рулевом управлении определяют по
углу поворота рулевого колеса между двумя зафиксированными положениями в
результате двух или более измерений.
Натяжение ремня привода насоса усилителя рулевого управления
и уровень рабочей жидкости в бачке должны соответствовать требованиям,
установленным изготовителем транспортного средства в эксплуатационной
документации.
При органолептической проверке рулевого управления
проверяется выполнение следующих нормативных требований:
· вращение рулевого колеса должно
происходить без рывков и заеданий во всем диапазоне угла его поворота,
неработоспособность усилителя рулевого управления (при его наличии на
транспортном средстве) не допускается;
· самопроизвольный поворот рулевого колеса
от нейтрального положения при неподвижном состоянии транспортного средства с
усилителем рулевого управления и работающем двигателе не допускается;
· максимальный поворот рулевого колеса
должен ограничиваться только устройствами, предусмотренными конструкцией
транспортного средства;
· не предусмотренные конструкцией
перемещения деталей и узлов рулевого управления относительно друг друга или
опорной поверхности не допускаются; резьбовые соединения должны быть затянуты и
зафиксированы способом, предусмотренным изготовителем транспортного средства;
· применение в рулевом механизме и рулевом приводе
деталей со следами остаточной деформации, трещинами и другими дефектами не
допускается.
Повреждение и отсутствие деталей крепления рулевой колонки и
картера рулевого механизма, а также не предусмотренное изготовителем
транспортного средства в эксплуатационной документации, повышение подвижности
деталей рулевого привода относительно друг друга или кузова (рамы) не
допускаются.
Не допускается подвижность рулевой колонки в плоскостях,
проходящих через ее ось. Рулевая колонка должна надежно соединяться с
сопрягаемыми деталями, не иметь повреждений. Устройство фиксации положения
рулевой колонки с регулируемым положением рулевого колеса, а также устройство,
предотвращающее несанкционированное использование транспортного средства,
должны быть в работоспособном состоянии.
Рулевое управление автомобиля-тягача МА-5440А8-320-011
удовлетворяет всем вышеизложенным требованиям.
2.3 Тормозные системы. АБС
Основным документом, содержащим требования к тормозным
системам, является Правила ЕЭК ООН №13.
Тормозная система должна противостоять старению и коррозии.
Тормозные накладки не должны содержать асбест.
Седельный тягач МАЗ-5440А8-320-011 относится к транспортным
средствам категории N3. Транспортные средства данной категории должны
быть оборудованы системами рабочего, аварийного и стояночного торможения.
Полуприцеп МАЗ-931010-2020 относится к транспортным средствам
категории О4. Прицепы и полуприцепы данной категории должны иметь
рабочую тормозную систему (непрерывного или полунепрерывного типа) и на случай
отсоединения от тягача - стояночный тормоз. При этом стояночный тормоз должен
быть таким, чтобы он приводился в действие лицом, стоящим на дороге.
Если механическое транспортное средство допущено к буксировке
прицепа О3 или О4, то рабочая тормозная система прицепа
должна приводится в действие одновременно со срабатыванием рабочей, аварийной
или стояночной системами буксирующего транспортного средства.
Рабочая тормозная система должна позволять контролировать
направление движения транспортного средства, останавливать его надежным и
быстрым способом, тормозное усилие должно быть регулируемым. Водитель должен
осуществлять торможение со своего места, не отрывая рук от руля. Рабочая
тормозная система должна воздействовать на все колеса транспортного средства,
распределять свое усилие между передними и задними осями, симметрично
распределять усилие относительно продольной оси (исключение составляют
транспортные средства, оборудованные АБС).
Аварийная тормозная система должна обеспечивать остановку на
достаточно коротком расстоянии при отказе рабочего тормоза. Тормозное усилие
должно быть регулируемым. Водитель должен осуществлять торможение со своего
места, хотя бы одной рукой контролируя направление движения.
Стояночное торможение должно обеспечивать неподвижность
транспортного средства на подъеме и спуске, при отсутствии водителя за счет
поддержания заторможенного состояния при помощи только механических устройств.
В транспортных средствах категории М и N такая система должна приводиться в
действие с места водителя. Для категорий О3 и О4 должна
приводиться в действие только снаружи.
Тормозные системы должны автоматически останавливать прицеп
при разрыве сцепки с тягачом.
Требования к АБС. АБС - элемент рабочего тормоза, который во
врем торможения автоматически регулирует тормозную силу одного или нескольких
колес для предотвращения их блокировки.
АБС состоит из: датчика, регулятора, модулятора.
Датчик - элемент предназначенный для определения и передачи
регулятору информации о вращение колеса.
Регулятор - предназначен для оценки информации,
предоставляемой датчиком, и передачи сигнала модулятору
Модулятор - для изменения силы торможения в зависимости от
сигналов, передаваемых регулятором.
Для транспортных средства категории N3, которым
разрешено буксировать прицепы О4, АБС является обязательным.
О неисправности системы водитель должен предупреждаться при
помощи желтого предупреждающего сигнала (немигающего). Этот сигнал загорается в
момент срабатывания АБС и гаснут, если в системе нет неисправностей. Если
транспортное средство буксирует прицеп, оборудованный АБС, то для прицепа
должен быть отдельный предупреждающий сигнал.
Колеса транспортного средства могут иметь непосредственное
или косвенное управление АБС.
Непосредственное - тормозная система изменяется в
соответствии с показаниями датчика, расположенного на этом же колесе.
Косвенное - регулируется от датчиков, расположенных на других
колесах. На полуприцепе два колеса с разных сторон на одной оси должны иметь
непосредственное, а остальные косвенное.
Кроме вышеперечисленных тормозных систем, транспортные
средства категории N3, которым разрешено буксировать прицепы
(полуприцепы) категории О4, должны быть оборудованы вспомогательной
тормозной системой.
Вспомогательная тормозная система предназначена для
уменьшения энергонагруженности рабочей тормозной системы. Она реализует функцию
замедления транспортного средства без торможения.
Вспомогательная тормозная система должна иметь несколько
уровней эффективности: нижний уровень рассчитан на порожние транспортные
средства, а максимальный уровень - на полностью загруженные.
Нормативные требования к тормозным системам, проверяемые
дорожным или стендовым методом, приведены в СТБ 1641-2006:
) Стояночная тормозная система при полной массе должна
обеспечивать неподвижное состояние транспортных средств на уклонах:
· до 16% включительно - для транспортных
средств всех категорий с полной нагрузкой;
· до 23% включительно - для транспортных
средств категорий М1, М2, и М3в снаряженном
состоянии;
· до 31% включительно - для транспортных
средств категорий N1, N2, и N3в снаряженном
состоянии (в т.ч. с прицепами).
) Седельный тягач с полуприцепом должен сохранять
устойчивость. Критерием устойчивости сложит тормозной фактор k=0,8…1,2.
Сохранение устойчивости автопоезда при торможении
определяется по формуле:
где
- тормозной фактор;
- расстояние между сцепным шкворнем и центром
осей п/п, м;
- высота центра тяжести полуприцепа, м;
- масса автотранспортного средства, т;
- статическая нагрузка на поверхность дороги
всех колес п/п, Н;
- значение PR для максимальной массы п/п, Н.
Рассчитаем тормозной фактор:
Исходя из того, что критерий устойчивости превышает
нормативный, следовательно автопоезд при торможении является неустойчивым.
Седельный тягач МАЗ-5440А8-320-011 имеет ABC, рабочую
тормозную систему с пневматическим двухпроводным приводом, стояночный тормоз
механического типа, а также аварийную и вспомогательную тормозные системы.
Полуприцеп МАЗ-931010-2020 имеет рабочую и стояночную
тормозные системы.
Нормативы эффективности торможения транспортных средств в
соответствии с Правилами ЕЭК ООН приведены в таблицах 2.3.1 и 2.3.2.
Таблица 2.3.1 - Нормативы эффективности торможения
транспортных средств рабочей и аварийной тормозных систем при проверках на
стендах
|
Категория ТС
|
Усилие на
органе управления, Н, не более
|
Удельная
тормозная сила гт, не менее
|
|
|
рабочей
тормозной системы
|
аварийной
тормозной системы
|
|
N2,
N3
|
700 6003
|
0,43 0,452
|
0,19 0,202
|
|
О2(кроме
оборудованных рабочими тормозами инерционного типа), О3, О4
|
-
|
0,40 0,432
|
0,20 0,212
|
Таблица 2.3.2 - Нормативы эффективности торможения
транспортных средств рабочей и аварийной тормозных систем при проверках
в дорожных условиях (начальная скорость торможения - 40 км/ч)
|
Категория ТС
|
Усилие на
органе управления, Н, не более
|
Тормозной путь
ТС Sт, м, не более
|
Установившееся замедление
Jуст, м/с2, не менее
|
Время
срабатывания тормозной системы tср, с, не более
|
|
|
рабочей
тормозной системы
|
аварийной
тормозной системы
|
рабочей
тормозной системы
|
аварийной
тормозной системы
|
|
|
N1,
N2, N3
|
700 6001
|
18,3 19,52
|
33,8 35,02
|
5,0
|
2,2
|
0,6 0,82
|
Таким образом, рассматриваемый автопоезд соответствует
международным требованиям в плане оборудования тормозными системами. Все
установленные тормозные системы в свою очередь также соответствуют
международным стандартам.
2.4 Шины и колеса
В отношении конструкции и эксплуатации шин АТС применяются
Правила ЕЭК ООН №30 и №54.
Шина состоит из каркаса, протектора, брекера, бортов и
боковин (рисунок 2.4.1).
Седельный тягач МАЗ-5440-320-011 имеет рессорную переднюю
подвеску. На автомобиле устанавливается 6 дисковых колес. Способ крепления
колес - шпилечный. Колеса автомобиля имеют шины размером 315/80R22,5, где 315 -
ширина в мм, 80 - высота профиля в%, R-буквенный индекс радиальной шины; 22,5 -
обозначение номинального диаметра обода в дюймах.
Полуприцеп МАЗ-931010-2020 имеет рессорно-балансирную 2-осную
двухскатную подвеску. На полуприцепе устанавливается 4 +1 (запасное)
бездисковых колес. Колеса полуприцепа имеют шины размером 385/65R22,5.
На транспортных средствах в процессе их эксплуатации не
допускается отсутствие хотя бы одного болта или гайки крепления колес, а также
несоблюдение моментов их затяжки.
Подшипники ступиц колес должным быть отрегулированы в
соответствии с указанием завода-изготовителя.
Ступицы должны свободно и равномерно вращаться в обоих направлениях.
Тип и размеры дисков колес должны соответствовать требованиям
изготовителя.
Не допускается наличие трещин и деформаций.
Требования к шинам содержаться в Правилах ЕЭК ООН №30 и №54:
Размер, модель, допустимая нагрузка и тип рисунка протектора
выбираются в соответствии с требованиями изготовителя транспортного средства.
Запрещается установка шин с отремонтированными местными
повреждениями на передних осях всех механических транспортных средств.
Если применяются шины с шипами противоскольжения, то они
должны быть установлены на всех осях транспортного средства.
Не допускается установка на одной оси и сдвоенных колесах
одной оси шины различной конструкции и с различным типом рисунка протектора.
Шины не должны иметь местных повреждений, которые обнажают
корд, а также местных отслоений протектора.
Не допускается инородные предметы между сдвоенными шинами.
Не допускается замена золотников заглушками, пробками и т.д.
Высота рисунка протектора шин прицепов и полуприцепов должна
быть такой же, как и у применяемых с ними тягачей.
Шина считается непригодной к эксплуатации, если появился 1
индикатор износа на дне канавки протектора при равномерном износе шины или 2
индикатора в различных сечениях, при неравномерном износе.
Не допускается наличие трещин, следов их устранения сваркой.
Таким образом, установленные на тягаче и полуприцепе колеса и
шины соответствуют международным требованиям.
2.5 Сцепные устройства
Регламентируются правилом №55 ЕЭК ООН.
Все детали механического сцепного устройства или его
элементов, повреждение которых может привести к отсоединению транспортного
средства от прицепа, должны быть изготовлены из стали.
Механические сцепные устройства или их элементы должны быть
безопасными в эксплуатации, а сцепка и расцепка должны обеспечиваться одним
человеком без использования специальных инструментов. За исключением сцепных
устройств класса Т, для сцепки прицепов, максимальная технически допустимая
масса которых превышает 3,5 т, допускаются только автоматические сцепные
устройства.
Механические сцепные устройства или их элементы
разрабатываются и изготавливаются таким образом, чтобы при их обычной
эксплуатации, а также надлежащем обслуживании и замене изнашивающихся деталей
они продолжали удовлетворительно функционировать и сохраняли характеристики,
предписанные настоящими Правилами.
Все механические сцепные устройства или их элементы
разрабатываются таким образом, чтобы они обеспечивали эффективное механическое
запирание и чтобы в закрытом положении они блокировались по меньшей мере одним
дополнительным механическим приспособлением.
В качестве альтернативы может быть предусмотрено не менее
двух отдельных приспособлений, обеспечивающих работоспособность устройства,
причем каждое из них должно быть сконструировано таким образом, чтобы оно
обеспечивало эффективное механическое запирание.
Сила сжатия пружины может использоваться только для закрытия
устройства и предотвращения воздействия вибрации, приводящей к перемещению
элементов устройства в такое положение, в котором они могут открыться или
разблокироваться.
Несрабатывание или отсутствие какой-либо одной пружины не
должно приводить к открытию или разблокированию всего устройства.
К любому устройству или его элементу должны прилагаться
монтажные и эксплуатационные инструкции, содержащие достаточную информацию для
любого компетентного лица относительно их правильной установки на транспортном
средстве и их надлежащей эксплуатации. В случае устройств и их элементов,
поставляемых для установки заводом-изготовителем транспортного средства или
заводом-изготовителем кузова в качестве первоначального оборудования, монтажные
инструкции могут не прилагаться, однако завод-изготовитель транспортного
средства или кузова несет ответственность за предоставление пользователю транспортного
средства необходимых инструкций, касающихся правильной эксплуатации сцепного
устройства или его элемента.
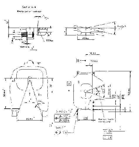
Седельный тягач МАЗ-5440А8 оборудован опорно-сцепным
устройством класса G. Опорно-сцепные устройства представляют собой сцепные
устройства плоского типа, оборудованные автоматическим стопорным
приспособлением и устанавливаемые на тягаче для соединения со шкворнем
опорно-сцепного устройства диаметром 50 мм, установленным на полуприцепе. На
полуприцепе МАЗ-931010-2020 установлен шкворень опорно-сцепного устройства
класса H.
Внешний вид и основные размеры стандартных опорно-сцепных
устройств приведены на рисунке 2.5.1 Также на рисунке показаны углы поворота,
которые должно обеспечивать опорно-сцепное устройство класса G.
Рисунок 2.5.1 - Размеры стандартных опорно-сцепных устройств
Размеры стандартных опорно-сцепных устройств приведены в
таблице 2.5.1.
Таблица 2.5.1 - Размеры стандартных опорно-сцепных устройств,
мм
|
Класс
|
G50-1
|
G50-2
|
G50-3
|
G50-4
|
G50-5
|
G50-6
|
|
H
|
140-159
|
160-179
|
180-199
|
200-219
|
220-239
|
240-260
|
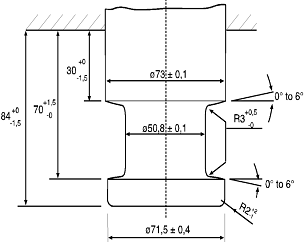
Размеры шкворней опорно-сцепных устройств класса H50 и
требования к ним приведены на рисунке 2.5.2.
Рисунок.2.5.2 - Размеры шкворней опорно-сцепных устройств
класса H50
2.6 Зеркала заднего вида
Вид зеркал, характеризуемых одним из следующих сочетаний
характеристик и функций:
класс 1 - внутренние зеркала заднего вида плоские или
сферические;
класс 2 - основные внешние зеркала заднего вида сферические;
класс 3 - основные внешние зеркала заднего вида плоские или
сферические (допускается меньший радиус кривизны, чем для зеркал класса 2);
класс 4 - широкоугольные внешние зеркала заднего вида
сферические;
класс 5 - внешние зеркала бокового обзора сферические.
Класс зеркала указывается в маркировке на сертифицированных
зеркалах заднего вида римскими цифрами.
Количество и тип зеркал для транспортных средств класса N3
представлен в таблице 2.6.1
Таблица 2.6.1 - Количество и тип зеркал для N3
|
Категория ТС
|
Класс зеркал
|
Наличие
|
Количество
|
|
N3
|
I
|
допускается
|
1 внутри
|
|
II
|
1 слева, 1
справа
|
|
III
|
запрещено
|
-
|
|
IV
|
допускается
|
1 слева, 1
справа
|
|
V
|
обязательно
|
1 слева, 1
справа
|
|
VI
|
обязательно
|
1 сперери
|
Внешние зеркала заднего вида должны просматриваться через ту
часть ветрового стекла, которая очищается стеклоочистителем. Исключение М2,
М3, зеркала класса VI. Зеркал не должны выступать за кузов ТС
больше, чем это необходимо для обеспечения полей обзора.
Если нижний край зеркала находится на высоте менее 2 м от
поверхности земли, то оно не должно выступать за габарит более 0,25 м.
Внутреннее зеркало заднего вида должно регулироваться
водителем с места. Внешние зеркала со стороны водителя должны регулироваться
при закрытой двери, но окно может быть открыто.
Наличие трещин на ветровых стеклах АТС в зоне очистки
стеклоочистителем половины стекла, расположенной со стороны водителя, не
допускается.
Не допускается наличие дополнительных предметов или покрытий,
ограничивающих обзорность с места водителя (за исключением зеркал заднего вида,
деталей стеклоочистителей, наружных и нанесенных или встроенных в стекла
радиоантенн, нагревательных элементов устройств размораживания и осушения
ветрового стекла).
В верхней части ветрового стекла допускается крепление полосы
прозрачной цветной пленки шириной не более 140 мм, а на АТС категори N3
- шириной, не превышающей минимального расстояния между верхним краем ветрового
стекла и верхней границей зоны его очистки стеклоочистителем.
Светопропускание стекол, в том числе покрытых прозрачными цветными
пленками, должно соответствовать ГОСТ 5727.
Поля обзора зеркал представлены на рисунках 2.6.1 - 2.6.5.
Рисунок 2.6.1 - Поле обзора зеркала класса I
Рисунок 2.6.2 - Поле обзора зеркала класса II
Рисунок 2.6.3 - Поле обзора зеркала класса IV
Рисунок 2.6.4 - Поле обзора зеркала класса V
Рисунок 2.6.5 - Поле обзора зеркала класса VI
Зеркала установленные на МАЗ-5440А8-320-011 показаны на рисунке
2.6.6
Рисунок 2.6.6 - Внешний вид зеркал МАЗ-5440А8-320-011
2.7 Система освещения и световой сигнализации.
Светоотражающие устройства
В процессе производства все световые приборы проходят
процедуру утверждения на соответствие определенным правилам ЕЭКООН, а затем
транспортные средства в целом (со смонтированными световыми приборами)
проверяются на соответствие Правилу ЕЭКООН №48.
Запрещается установка световых приборов и светоотражателей с
огнями красного цвета - спереди и белого цвета - сзади (исключение: фонарь
заднего хода, подсветка номера, светоотражающий фон номерного и опознавательных
знаков).
Электрическая схема должна обеспечивать одновременное
включение и выключение передних и задних габаритных огней, контурных огней,
боковых габаритных огней и подсветки номера. При этом могут быть включены фары
дальнего, ближнего света и противотуманные фары.
Не допускается изменение предусмотренного
заводом-изготовителем месторасположения фар.
Не допускается установка дополнительных оптических элементов,
не предусмотренных конструкцией транспортного средства.
Требуемое количество, цвет и расположение световых приборов и
светоотражающих устройств указаны в таблице 2.7.1.
Таблица 2.7.1 - Световые приборы и светоотражающие
устройства
|
Наименование
|
Расположение и
количество
|
Цвет излучения
|
Наличие
приборов на АТС в зависимости от категорий
|
|
Фара дальнего
света
|
2 или 4 спереди
|
Белый
|
Обязательно для
категорий М, N. Запрещено для категории О
|
|
Фара ближнего
света
|
2 спереди
|
Белый
|
|
|
Передняя
противотуманная фара
|
2 спереди
|
Белый или
желтый
|
Допускается для
категорий М, N. Запрещено для категории О
|
|
Фара заднего
хода
|
1 сзади
(допускается 2)
|
Белый
|
Обязательно для
категорий: М1; М2, М3, N, О2, О3,
О4 - длиной ≤ 6 м. Допускается для O1
|
|
2 сзади
(допускается 4)
|
Белый
|
Обязательно для
категорий М2, М3, N, О2, О3, О4
- длиной > 6 м.
|
|
Указатель
поворота:
|
|
|
передний
|
2 спереди
|
Желтый
|
Обязательно для
категорий М, N. Запрещено для категории О
|
|
задний
|
2 сзади
|
Желтый
|
Обязательно
|
|
боковой
|
2 сбоку
|
Желтый
|
Обязательно для
категорий М, N. Запрещено для категории О
|
|
Фонарь сигнала
торможения
|
2 сзади
|
Красный
|
Обязательно
|
|
Габаритный
огонь:
|
|
|
передний
|
2 спереди
|
Белый
|
Обязательно для
категорий М, N. Обязательно для категории О шириной > 1,6 м. Для остальных
прицепов - допускается.
|
|
задний
|
2 сзади
|
Красный
|
Обязательно
|
|
Задняя
противотуманная фара
|
1 или 2 сзади
|
Красный
|
Обязательно
|
|
Боковой
габаритный огонь
|
2 сбоку (с
каждой стороны)
|
Желтый
|
Обязательно на
ТС > 6 м, за исключением грузовых автомобилей без кузова. Допускается для
других ТС.
|
|
при
группировании, комбинировании или совмещении с задним габаритным, контурным
огнями или сигналом торможения
|
|
Красный
|
|
|
Контурный
огонь:
|
|
|
передний
|
2 спереди
|
Белый
|
Обязательно для
ТС шириной > 2,1 м. Допускается для ТС шириной от 1,8 до 2,1 м и для
грузовых автомобилей без кузова
|
|
задний
|
2 сзади
|
Красный
|
|
|
Фонарь
освещения заднего государственного регистрационного знака
|
Достаточное для
освещения номерного знака
|
Белый
|
Обязательно
|
|
Дневной ходовой
огонь
|
2 спереди
|
Белый
|
Обязательно для
категорий М, N. Запрещено для категорий О
|
|
Переднее
светоотражающее устройство
|
2 спереди
|
Белый
|
Обязательно для
категории О и ТС с убирающимися фарами. Допускается для других ТС
|
|
Боковое
светоотражающее устройство:
|
Не менее 2
сбоку
|
Желтый
|
Обязательно для
категорий M, N длиной > 6 м. Обязательно для категории О. Допускается для
других ТС.
|
|
при
группировании с задними габаритным, контурным огнями, задним противотуманным
фонарем, сигналом торможения или красным боковым габаритным фонарем
|
|
Красный
|
|
|
Заднее
светоотражающее устройство: не треугольной формы
|
2 сзади
|
Красный
|
Обязательно для
категорий М и N. Для категории О - допускается (при группировании с другими
световыми приборами задней световой сигнализации).
|
|
треугольной
формы
|
2 сзади
|
Красный
|
Обязательно для
категорий О. Запрещено для категорий М, N
|
|
Контурная
маркировка:
|
|
|
боковая
|
1 и более
|
Белая или
желтая
|
Запрещено для
категории М1 и О1. Обязательно для ТС длиной > 6 м
следующих категорий: N2 максимальной массой > 7,5 т; N3
(за исключением грузовых автомобилей без кузова, неукомплектованных
транспортных средств и тягачей для полуприцепов); О3 и О4.
Для остальных ТС - допускается
|
|
задняя
|
1 и более
|
Красная или
желтая
|
Запрещено для
категории М1 и О1. Обязательно для ТС шириной > 2,1
м следующих категорий: N2 максимальной массой > 7,5 т; N3
(за исключением грузовых автомобилей без кузова, неукомплектованных
транспортных средств и тягачей для полуприцепов); О3 и О4.
Для остальных ТС - допускается
|
Фары должны соответствовать Правилам ЕЭК ООН №31, №98, №112.
На автопоезде установлены все предусмотренные Правилами ЕЭК
ООН световые приборы и светоотражающие устройства. Все они соответствуют
требованиям международных стандартов.
Рисунок 2.7.1 - Световые приборы и устройства на
МАЗ-5432А3-320
- фары дальнего и ближнего света; 2,3 - указатели
поворота (передние и боковые);
- габаритные огни
На транспортных средствах, перевозящих крупногабаритный и
тяжеловесный груз, должны быть установлены опознавательные знаки «Автопоезд»,
«Транспортное средство большой грузоподъёмности» и «Транспортное средство
большой длины» в соответствии с Основными положениями по допуску транспортных
средств к эксплуатации и обязанностями должностных лиц по обеспечению
безопасности дорожного движения и Правилами дорожного движения.
Опознавательные знаки для автомобилей включают: буквы и
цифры, включенные в опознавательные знаки, упомянутые в пункте 1 настоящего
приложения, должны помещаться в легко доступном месте и быть удобочитаемыми;
кроме того, они должны быть нанесены таким образом, чтобы из было трудно
изменить или устранить.
Запрещается изменять размеры, форму, обозначение, цвет и
размещение номерных знаков, наносить на них дополнительные обозначения или
закрывать их, они должны быть чистыми и достаточно освещенными.
На соответствующих транспортных средствах устанавливаются
следующие опознавательные знаки:
Рисунок 2.7.2 - Автопоезд
Рисунок 2.7.3 - Транспортное средство большой длины
два прямоугольника желтого цвета размером 500 х 200 мм с
каймой красного цвета высотой 40 мм из светоотражающего материала.
Транспортное средство большой длины, знак должнен размещаться
сзади в форме прямоугольника желтого цвета размером 1200 х 300 мм с каймой
красного цвета высотой 40 мм) из светоотражающего материала. На знаке черным
цветом наносится изображение грузового автомобиля с прицепом и отмечается их
общая длина в метрах. В форме прямоугольника желтого цвета размером 1200 х 300
мм с каймой красного цвета высотой 40 мм) из светоотражающего материала. На
знаке черным цветом наносится изображение грузового автомобиля с прицепом и
отмечается их общая длина в метрах;
Крупногабаритный груз - в виде щитка размером 400 Х 400 мм с
нанесенными по диагонали красными и белыми чередующимися полосами шириной 50 мм
со световозвращающей поверхностью;
Рисунок 2.7.4 - Крупногабаритный груз
Рисунок 2.7.5 - Транспортное средство большой
грузоподъёмности.
Рисунок 2.7.6-Знак опасности
Рисунок 2.7.8 - Опасный груз
2.8 Устройства измерения и ограничения скорости.
Контрольные устройства
Требования к устройствам измерения и ограничения скорости
регламентируются Правилами ЕЭК ООН №39, №68, и №89:
Средства измерения скорости (спидометры) и пройденного пути
должны быть работоспособны.
Дисплей спидометра должен быть расположен непосредственно в
поле зрения водителя, и его показания должны быть четко различимы как в
дневное, так и в ночное время. Диапазон показываемых скоростей должен быть
достаточно большим для того, чтобы включать максимальную скорость для данного
типа транспортного средства, указанную заводом-изготовителем.
Спидометры, предназначенные для транспортных средств
категории N, должны иметь цену делений 1, 2, 5 или 10 км/ч.
Автотранспортные средства (транспортные средства на жесткой
раме и тягачи для полуприцепов) максимальной массой более 12 т должны быть
оборудованы устройством ограничения скорости в соответствии с техническими
требованиями Правил №89 ЕЭК6 с поправками. Это устройство должно
быть отрегулировано таким образом, чтобы скорость не могла превышать 90 км/ч, с
учетом технического допуска устройства.
Седельный тягач МАЗ-6422А8-320 оборудован средствами
измерения и ограничения скорости, соответствующими международным требованиям.
Рисунок 2.8.1 - общий вид панели МАЗ-5440А8-320
Антипробуксовочная система - электрогидравлическая система автомобиля,
предназначенная для предотвращения потери сцепления колес с дорогой посредством
контроля за буксованием ведущих колёс.
Данная система существенно позволяет упростить управление
автомобилем на влажной, сырой трассе. Предназначается для ликвидации потери
тяги посредством контроля над пробуксовкой ведущих колёс. В реальном времени, с
помощью датчиков, отслеживается скорость вращения колёс и если вдруг
обнаруживается начало пробуксовки одного из них, то система вычисляет наилучший
вариант восстановления сцепления с дорогой и обеспечивает уверенную
управляемость и максимально эффективный разгон автомобиля.
Система использует те же датчики, и частично те же механизмы,
что и антиблокировочная система, и система помощи при экстренном торможении,
поэтому автомобили, оборудованные противобуксовочной системой, так же
оборудованы АБС.
В случае срабатывания антипробуксовочной системы, на
приборной панели светится контрольная лампа. При необходимости
антипробуксовочная система контроля тяги автомобиля имеет возможность
отключения.
Как правило, на автомобилях, оборудованных антипробуксовочной
системой, существует возможность временно её отключать. Но при обычном вождении
этого делать настоятельно не рекомендуется, так как система помогает сохранить
сцепление с дорогой и, как следствие, управляемость при разгоне.
Система навигации удобна в эксплуатации и быстро направляет
водителя прямо в пункт назначения. Текущее месторасположение автомобиля
определяется навигатором автоматически, при помощи глобальной системы позиционирования
(GPS), с точностью до 10 метров. Используя эту информацию, система рассчитывает
оптимальный маршрут до пункта назначения. Инструкции предоставляются визуально,
в виде стрелок на мониторе, или четких голосовых команд через звуковую систему.
Также при оснащении автомобиля такой системой водитель можете
просматривать цифровую карту местности, имеющую функцию увеличения масштаба с
высоким разрешением (от 1000 км до 100 м).
При расчете оптимального маршрута система навигации ссылается
на текущие данные о дорожной ситуации для того, чтобы избежать потенциальных
препятствий.
Тахограф - контрольный бортовой регистрирующий прибор в
составе транспортного средства, предназначенный для контроля и регистрации
таких параметров как: скорость движения, пробег автомобиля, периоды труда и
отдыха водителя. Принцип работы тахографа основан на обработке электрических
сигналов, поступающих с импульсного датчика пути / скорости, устанавливаемого
на коробке передач. Переключение режимов работы тахографа осуществляют водители.
Параметры автоматически регистрируются на персональном диаграммном диске для
каждого водителя.
Его наличие на автомобиле способствует развитию у водителей
навыков безопасного и экономичного управления. Аварийность снижается в среднем
в 2 раза. Исключаются конфликты между водителями и инспекторами. При
расследовании причин аварий можно с секундной точностью восстановить ход
событий и избежать ошибочных обвинений. Обработка записей на диаграммных дисках
позволяет автоматизировать учет работы водителей и автомобиля, а также
оптимизировать их работу и снизить эксплуатационные расходы на 25-30%.
Применение тахографов решает следующие задачи:
исключает несанкционированные поездки, т.к. весь маршрут
(скорость-пробег-время) непосредственно записывается на диске;
повышает безопасность движения;
увеличивает ресурс двигателя, шин, тормозных механизмов и
автомобиля в целом, благодаря соблюдению предписанных режимов движения;
обеспечивает социальную и правовую защиту водителей, что
достигается документированием на диаграммных дисках всего объема выполненных
работ;
оптимизирует маршруты перевозок и графиков движения, по
результатам сравнительного анализа записей режимов движения;
введение на своем автопредприятии объективной системы
подсчета заработной платы по фактическому объему выполненных работ;
объективный расчет с заказчиком за фактически выполненную
работу по перевозке грузов и простои по различным причинам;
беспрепятственное участие в перевозочных процессах как по
территории России, так и Европейского Сообщества;
помогает производить объективную оценку профессиональных
качеств водителей.
Чем кривая ровнее, тем меньше водитель разгоняется и
тормозит, реже переключает передачи, т.е. едет равномерно, меньше расходует
топлива и экономит ресурс автомобиля.
Есть два вида тахографа: цифровой и электронный.
Принципиальное отличие цифрового тахографа от электронного - это наличие
энергонезависимой памяти, способной хранить информацию в течении 1 года, и
очень серьёзная защита от несанкционированного доступа к данным, записанным в
память.
Рисунок 2.11.1 - Цифровой тахограф
.9 Защитные устройства.
Требования к предним противоподкатным защитным устройствам
(ППЗУ) устанавливаются правилами №93 ЕЭК ООН, применяются для транспортных средств
категории
,
.
ППЗУ состоят из поперечного элемента, который крепится к раме
авто. В качестве ППЗУ могут использоватся элементы кузова или шасси, форма и
характеристики которых соответсвуют требованиям для ППЗУ:
должны обладать прочностью;
высота элемента 100 мм (
),
-120 мм;
концы не должны загибаться вперёд;
не должно быть острых граней;
все закругления min R=2,5 мм;
устройство может быть сконструировано т.о., чтобы установить
в разных положениях по высоте, при этом должны быть надёжные средства
блокировки и усилие для изменения положения устройства не более 40 да Н;
внешняя поверхность должна быть ровной или иметь
горизонтальные рифления;
заклёпки и головки болтов не должны выступать не более 10 мм.
ППЗУ устанавливаются таким образом, чтобы расстояние от
защитного устройства до передней поверхности ТС не превышало 400 мм. Это
расстояние может быть уменьшено на величину допустимой деформации при лобовом
столкновении. Дорожный просвет max 400 мм, но по краям, начиная от
транспортного средства, может быть и больше. После лобового столкновения
дорожный просвет должен быть не более 450 мм. Ширина ППЗУ не должна превышать
ширину брызговиков не более чем на 100 мм.
Требования к задним противоподкатным защитным устройствам
(ЗПЗУ) устанавливаются правилами №58 ЕЭК ООН. ЗПЗУ обязательны для установки на
ТС
(исключение седельные
тягачи, прицепы для перевозки длинномерных грузов).
Защитное устройство состоит либо из поперечного защитного
элемента, или элементов кузова или шасси, которые по своим характеристикам
подходят под ЗПЗУ. Требования ЗПЗУ аналогичны требованиям ППЗУ.
Ширина не должна превышать длину самой длинной задней оси и в
то же время должна быть не короче её более чем на 100 мм с каждой стороны.
Высота поперечного сечения min 100 мм. Концы не должны загибаться назад или
иметь острые выступы. Дорожный просвет по всей длине не более 550 мм.
Требования к боковым противоподкатным защитным устройствам
(БПЗУ) устанавливаются правилами №73 ЕЭК ООН.
БПЗУ - это специальный элемент ограждения или часть кузова,
устанавливается вдоль боковых бортов. БПЗУ не должны увеличивать габаритную
ширину ТС и не должны стоять более чем на 120 мм.
Внешняя поверхность должна быть гладкой и сплошной от
передней до задней части. Отдельные части могут выступать не более чем на 10
мм.
БПЗУ может состоять из одной поверхности или отдельных полос.
Полосы не должны отстоять друг от друга не более 300 мм. Ширина полос: min 50
мм (
), 100 мм (
). Передний край должен
быть цельным по всей высоте, он должен загибаться внутрь на 100 мм (уголок).
Верхний край не должен быть более чем на 350 мм ниже той части ТС, которую
пересекают плоскость касательная к внешней поверхности наружней шины. Если эта
плоскость не пересекает (шины выступают за габарит), то верхний край должен
быть не более 90 мм от земли.
БПЗУ могут монтироваться на АКБ, топливные баки, баллоны при
условии если это оборудование отвечает требованим по отношению к размерам. БПЗУ
не должны использоваться для крепления приводов тормозной системы и иных
пневматических, гидравлических шлангов.
2.10 Стекла
Требования, предъявляемые к стеклам, регламентируются
Правилом №43 ЕЭК ООН «Единообразные предписания, касающиеся официального
утверждения безопасных стекол и стекловых материалов»
Стекла автомобиля должны обладать требованиям:
Все материалы для остекления, включая материалы для
производства лобовых стекол, должны изготавливаться таким образом, чтобы в
случае столкновения, опасность телесных повреждений была минимальна. Материалы
для остекления должны быть достаточно устойчивы к происшествиям, возникающим
при нормальном движении автомобиля, к атмосферным и температурным условиям,
химическому воздействию, воспламенению и износу поверхности.
Безопасные стекломатериалы, кроме того, должны быть
достаточно прозрачными, не должны давать заметных искажений предметов, видимых
через лобовое стекло, и не должны искажать цвет используемых дорожных знаков и
сигналов. В случае раздробления лобового стекла, водитель все равно должен
четко видеть дорогу, чтобы суметь благополучно затормозить и остановить
транспортное средство.
Светопропускание стекол, обеспечивающих видимость для
водителя, должно быть не менее:
· 75% - для ветровых
стекол;
· 70% - для стекол, не
являющихся ветровым, определяющее переднюю обзорность: стекол дверей и передних
боковых.
Ветровые стекла, окрашенные в массе и тонированные, не должны
искажать правильное восприятие белого, желтого, красного, зеленого и голубого
цветов.
Не допускается наличие трещин на ветровых стеклах АТС в зоне
очистки стеклоочистителем половины стекла, расположенных со стороны водителя.
Не допускается наличие дополнительных предметов или покрытий,
ограничивающих обзорность с места водителя (за исключением зеркал заднего,
деталей стеклоочистителей, наружных или встроенных в стекла радиоантенн,
нагревательных элементов устройств размораживание и осушения ветрового стекла).
В верхней части ветрового стекла допускается крепление полосы
прозрачной, цветной пленки шириной не более 140 мм, а на АТС категорий М3,
N2, N3 - шириной, не превышающей минимального расстояния
между верхним краем ветрового стекла и верхней границей зоны его очистки
стеклоочистителем.
В соответствии с Правилом №43 ЕЭК ООН все стекла
подразделяются на классы (таблица 2.14).
Таблица 2.14 - Классы стекол
|
Тип
|
Класс
|
Характеристика
|
|
Ветровое
|
I
|
Упрочненное
стекло
|
|
II
|
Обычное
многослойной безосколочное стекло
|
|
III
|
Обработанное
многослойное безосколочное стекло
|
|
IV
|
Стекло из
стеклопластика
|
|
-
|
V
|
Стекло с
постоянным коэффициентом пропускания света менее 70%
|
|
VI
|
Двойное стекло,
со степенью менее 70%
|
|
VII
|
Упрочненое стекло
для ТС, которые не могут развивать скорость более 40 км/ч
|
|
VIII
|
Жесткое,
пластиковое стекло, где вероятность удара головой исключена
|
|
IX
|
Гибкое
пластиковое стекло
|
|
X
|
Жесткое двойное
пластиковое стекло
|
Стекла установленные на МАЗ-5440А8-320-011 соответствуют
международным стандартам.
2.11 Требования экологической безопасности
Автомобиль МАЗ 5440А8-320-011 относится к категории Евро - 3.
Эта категория подразумевает собой следующие нормы:
) для категорий М1, М2 максимальной массой не более 3,5 т, N1
с двигателями с принудительным зажиганием (бензиновыми, газовыми) и дизелями
удельные нормативы выбросов устанавливаются на уровне нормативов выбросов,
предусмотренных Правилами ЕЭК ООН №83-05 с исправлениями 1-3, дополнениями 1-5
(уровень выбросов А), Правилами ЕЭК ООН №24-03 с дополнением 1 (только для
дизелей);
) для категории М1 максимальной массой свыше 3,5 т, М2, М3,
N1, N2, N3 с дизелями и газовыми двигателями удельные нормативы выбросов
устанавливаются на уровне нормативов выбросов предусмотренных Правилами ЕЭК ООН
№49-04 (уровень выбросов А), Правилами ЕЭК ООН №24-03 с дополнением 1 (только
для дизелей);
) для категории М1 максимальной массой свыше 3,5 т, М2, М3,
N2, N3 с бензиновыми двигателями удельные нормативы выбросов устанавливаются на
уровне нормативов выбросов при испытаниях, предусмотренных Правилами ЕЭК ООН
№49-03 (испытательный цикл ETC);
) для категории М1 максимальной массой свыше 3,5 т, М2, М3,
N1, N2, N3 повышенной проходимости с дизелями удельные нормативы выбросов
устанавливаются на уровне нормативов выбросов, предусмотренных Правилами ЕЭК
ООН №96-01 с дополнениями 1, 2, Правилами ЕЭК ООН №24-03 с дополнением 1
(только для дизелей).
Допустимые уровни внутреннего шума автотранспортных средств
приведены в таблице 2.10.1.
Таблица 2.10.1 - Допустимые уровни внутреннего шума
автотранспортных средств
|
ТС
|
Допустимый
уровень звука, дБА
|
|
|
до 01.01.2014
|
после
01.01.2014
|
|
Автомобили для
перевозки грузов
|
|
|
|
Категории N2,
N3
|
82
|
81
|
|
Категории N2,
N3 (седельные тягачи, грузовые автомобили (при наличии спального места)
|
80
|
78
|
|
Полуприцепы,
предназначенные для перевозки пассажиров
|
80
|
79
|
|
Транспортные
средства с пневматическим приводом управления тормозными системами при
истечении воздуха из пневмоаппаратов в кабину (пассажирское помещение) после
их срабатывания
|
70
|
3.
Выбор варианта размещения груза в кузове транспортного средства
.1
Выбор устойчивого варианта размещения грузов
Рисунок 3.1 - Силы, действующие на груз
) При торможении должно выполняться условие:
, (3.1)
где a - длина груза;- высота груза.
) При разгоне должно выполняться условие:
. (3.2)
) При повороте должно выполняться условие:
, (3.3)
. (3.4)
Силы, действующие на груз, определяются исходя из следующих
соотношений:
, (3.5)
, (3.6)
, (3.7)
, (3.8)
где
коэффициент ускорения продольного направления при
торможении,
;
коэффициент ускорения продольного направления
при разгоне,
;
коэффициент ускорения поперечного направления,
;
коэффициент ускорения, вертикальное снизу,
Рассмотрим следующее расположение грузов:
Груз 1 (Дерево):
кН;
кН;
кН;
кН.
При торможении:
При разгоне:
При повороте:
Так как во всех случаях
, то груз при данном варианте размещения считается устойчивым.
Суммарный запас устойчивости при размещении первого груза по
первому варианту составит:
Произведем поворот груза на 90є.
При торможении:
При разгоне:
При повороте:
Так как во всех случаях
, то груз при данном варианте размещения считается устойчивым.
Суммарный запас устойчивости при размещении первого груза по
второму варианту составит:
Груз 2 (Металл):
кН;
кН;
кН;
кН.
и торможении:
При разгоне:
При повороте:
Так как во всех случаях
, то груз при данном варианте размещения считается устойчивым.
Суммарный запас устойчивости при размещении второго груза по
первому варианту составит:
Произведем поворот груза на 90є
При торможении:
При разгоне:
При повороте:

Суммарный запас устойчивости при размещении второго груза по
второму варианту составит:
Исходя из полученных данных, выбирается наиболее устойчивый
вариант размещения грузов. В случае если в обоих вариантах размещения грузов
, то выбирается вариант с
наибольшим значением
.
Для первого груза (Дерево):
;
;
Ввиду того что
, то выбирается второй
вариант устойчивого размещения груза.
Для второго груза (Металл):
;
;
Ввиду того что
, то выбирается второй
вариант устойчивого размещения груза.
3.2
Выбор оптимального размещения груза с учетом допустимых нагрузок на ось
Необходимо определить оптимальное размещение центра тяжести
системы грузов с учетом допустимых нагрузок на ось.
По устойчивому варианту размещения получаем: а1=
2,08 м, а2= 2,14 м, а по схеме полуприцепа (рисунок 1.4) находим
необходимые для дальнейшего расчета значения,
= 13,9 м, lб
= 7,9 м;п = 13,9 - 12 = 1,9 м;з = 12 - (6,96 + 1,88/2) =
4,1 м.
Масса двух грузов:
Найдем массу от грузов, приходящуюся на передние и задние оси
из уравнений:
где
- грузоподъемность, т.
Выразим
и
:
Составим уравнение момента относительно шкворня:
Составим уравнение момента относительно задних осей:
Выразим x1 и x2:
Находим оптимальное размещение центра тяжести по формуле:
Выражая из этой системы
и
, получаем:
Критерием выбора будет суммарный изгибающий момент,
действующий на раму полуприцепа:
В случае, когда грузы расположены вплотную:
В случае, когда один из грузов расположен над центром тяжести
задней оси:
Поскольку
по второму варианта получился меньше
по первому варианту, то
выбираем второй вариант, когда один из грузов расположен над центром тяжести
задней оси.
4. Расчет крепления грузов в кузове транспортного
средства
После того как мы выбрали вариант размещения груза в
полуприцепе нужно его закрепить.
Рассчитаем нагрузку, которую выдержат борты:
Принимаем наименьше значение - 50 кН.
Принимаем наименьшее значение - 31 кН.
Рассмотрим крепления груза методом блокировки (рисунок 4.1).
Рисунок 4.1 - Схема крепления груза способом блокировки: 1 -
центр тяжести, 2 - груз, 3 - блокировочное устройство
где
- кинематический коэффициент трения материалов
(таблица 4.1).
Таблица 4.1 - Кинематический коэффициент трения
материалов
|
Материал
нагружной поверхности груза
|
Сцепление
материалов
|
|
сухое
|
мокрое
|
|
дерево - дерево
|
-
|
0,25
|
|
металл - дерево
|
-
|
0,2
|
Рассчитаем для первого груза (дерево):
для переднего борта:
(0,8 - 0,25 ∙ 1) ∙ 7,51 ∙ 9,81 = 40,52 кН
< 50 кН.
для заднего борта:
(0,5 - 0,25 ∙ 1) ∙ 7,51 ∙ 9,81 = 18,42 кН
< 31 кН.
для боковых бортов:
(0,5 - 0,25 ∙ 1) ∙ 7,51 ∙ 9,81 = 18,42 кН
< 54,86 кН.
Условие выполняется, поэтому груз закрепляется методом
блокировки.
Рассчитаем для второго груза (металл):
для переднего борта:
(0,8 - 0,2 ∙ 1) ∙ 9,13 ∙ 9,81 = 53,74 кН
> 50 - 40,52 = 44,26 кН.
для заднего борта:
(0,5 - 0,2 ∙ 1) ∙ 9,13 ∙ 9,81 = 26,87 кН
> 31 - 18,42 = 14,29 кН.
для боковых бортов:
(0,5 - 0,2∙ 1) ∙ 9,13 ∙ 9,81 = 26,87 кН
< 54,86 - 18,42 = 9,57 кН.
Поскольку условия крепления не выполняется, то груз нельзя
закрепить методом блокировки, поэтому выбираем второй метод закрепления груза -
метод прижатия. Для этого метода нужно рассчитать количество стяжных ремней:
где
- достигаемая сила натяжения ремня;- коэффициент
передачи ремня (с одной трещеткой - 1,5);
б - вертикальный угол между грузом и стяжным ремнем (рисунок
4.2).
Рисунок 4.2 - Определение угла б
Из того, что b = 1,75 м, d = 2,48 м, h = 1,88 м, определим угол
:
Для крепления груза будем использовать стяжные ремни PowerLash
20000, (рисунок 4.3).Технические характеристики стяжного ремня приведены в
таблице 4.2.
Рисунок 4.3 - Стяжной ремень PowerLash 20000
Таблица 4.2 - Технические характеристики стяжного ремня
|
Ширина ленты,
мм
|
Плотность тенты
LC, daN
|
Длина ремня, м
|
|
75
|
20000
|
10
|
В соответствии с формулой (4.9) произведем расчет количества
ремней:
Для закрепления 2 груза принимаем 5 ремней.
Заключение
В ходе курсовой работы были собраны все технические характеристики
седельного тягача МАЗ-5440А8-320-011 и полуприцепа МАЗ-931010-2020. Также были
приведены требования к основным системам и агрегатам транспортныхсредств для
международных автомобильных перевозок.
Седельный тягач МАЗ-5440А8-320-011 и полуприцеп
МАЗ-931010-2020 удовлетворяют требованиям перевозки грузов при международных
перевозках. Были рачитаны основные силы, воздействующие на грузы, находящиеся в
полуприцепе. Исходя из рассчитанных данных было выбрано оптимально расположение
грузов в полуприцепе и методы их закрепления. Грузы в полуприцепе располагаются
раздельно. В качестве крепления грузов используется два метода. Метод
блокирования для первого груза и прижимной метод для второго.
Литература
1 Автомобильный справочник. - М.: За рулём, 2004.
- 991 с.
2 Бойкачёв М.А. и др. Оформление курсовых и
дипломных работ. - Гомель: УО «БелГУТ», 2005.
Конвенция о дорожном движении. - Вена,
1968.
Пойченко В.В. и др. Современные грузовые
автотранспортные средства. Справочник. - М.: «Доринформсервис», 2004. - 592 с.
Правила ЕЭК ООН.
Прокофьев М.В. Автомобильные
транспортные средства. Международные требования к конструкции и эксплуатации. -
М.:Триада ЛТД, 2005. -120 с.
СТБ 1280-2004. Дорожные транспортные
средства. Требования к безопасности и техническому состоянию и методы проверки.
- Мн.: БелГИСС, 2004. -25 с.