Космическая радиосвязь прочно заняла свое
место в системах связи всего мира. Растет число спутников связи, работающих на
различных космических орбитах, осваиваются новые диапазоны частот.
Системы спутниковой связи дают возможность
пропустить огромный объем информации. С помощью только одного ретранслятора на
ИЗС можно обеспечить передачу информации на расстоянии до 15000 км, а с помощью
трех ИЗС возможна организация почти что глобальной системы связи.
Оптимальным местом для размещения
ретранслятора является геостационарная орбита, удаленная от поверхности Земли
на 36000 км, так как ИЗС при этом «зависают» и практически не меняют своего
местоположения относительно неподвижной точки на Земле. Одним из преимуществ
такой орбиты является отсутствие у антенны земной станции (ЗС) системы слежения
за спутником.
Для обслуживания полярных и приполярных
районов применяются эллиптические орбиты, низко и среднерасположенные круговые
орбиты. Антенны земных станций для таких систем связи имеют систему слежения за
спутником, что значительно увеличивает стоимость антенны ЗС, делает ее более
сложной в обслуживании, снижает надежность работы всей системы связи.
В настоящие время наибольшие перспективы развития имеют
спутниковые системы связи и телевидения, работающие через активный
ретранслятор, находящиеся на искусственном спутнике Земли (ИСЗ), который может
находится на эллиптической или геостационарной орбите.
Радиосвязь и телевизионное вещание через ИСЗ, находящегося на
геостационарной орбите, позволяет осуществить индивидуальный прием на простые,
дешевые антенны; так как у них отсутствует система слежения. Антенны имеют
небольшие габариты и вес, и может быть установлена в любом доступном месте.
Данный курсовой проект предусматривает разработку структурной
схемы такой антенны, электрические и конструктивный расчет элементов, расчет
электрических характеристик.
Искусственный спутник Земли, находящийся
на стационарной орбите, предназначен для ретрансляции телевизионных сигналов на
линии Земля - ИСЗ - Земля. Спроектировать передающую антенну, установленную на
борту спутника. Технические параметры представлены в таблице 1.1.
|
Средняя рабочая
частота, , ГГц4
|
|
|
Коэффициент
усиления приёмной антенны, , дБ46
|
|
|
Мощность
сигнала на входе наземного приёмника, , дБ Вт110
|
|
|
Мощность
бортового передатчика, , Вт47
|
|
|
, %22
|
|
Протяжённость радиолинии ИСЗ - Земля составляет 40000 км.
Фидерный тракт, подводящий сигналы СВЧ к облучателю,
представляет собой прямоугольный волновод стандартного сечения (ПВ).
Диапазон работы передающего (приёмного устройства) и
соответственно антенны (
) указан в таблице 1.1.
Допустимый КБВ в тракте питания облучателя составляет
.
Потери в атмосфере Земли не учитывать.
2. Требования, предъявляемые к спутниковым антеннам
Передающая антенна, находящиеся на борту ИСЗ должна иметь
малые габариты, вес, высокую механическую прочность, с тем что бы выдержать
перегрузки при запуске ИСЗ, короткий фидерный тракт.
Электрические характеристики:
Достаточно высокий коэффициент усиления, низкий уровень
боковых лепестков, с тем чтобы не создавать помех наземным службам,
радиорелейным линиям связи и т.д. По этой же причине ограничивается мощность
бортового передатчика. Ширина главного лепестка диаграммы направленности
определяется размерами зоны обслуживания и составляет 1-2 градуса. Поляризация
излучения может быть линейной или круговой. Приемная антенна располагается на
крышах зданий, балконах, или на Земле. Условия приема жесткие, т.е. происходят
на уровне помех, поэтому нужно применять все меры повышающие соотношение сигнал
шум. Отсюда следуют требованиям к электрическим характеристикам приемных
антенн:
очень низкий уровень, особенно первых боковых лепестков, и
низкий уровень дальнего и заднего боковых излучений. Это нужно потому, что все
помехи принимаются боковыми и задними лепестками. Приемную антенну следует
ставить в местах исключающих попадание на нее мешающих станций, работающих в
этом диапазоне частот, а также других источников СВЧ излучения;
коэффициент усиления приемной антенны не ограничивается и
может достигать 45-50 дБ, однако очень узкий (доли градусов) главный лепесток
не желателен; т.к. из-за вибрации антенн можно потерять ИСЗ.
Кроме того, коэффициент усиления приемной антенны
определяется уровнем сигнала в месте приема. Если эта зона уверенного приема,
то условия менее жесткие, т.к. уровень сигнала на входе приемника большой, и
требуется не высокий коэффициент усиления. Габариты, вес антенны в этом случае
будут не велики. Упрощается конструкция приемного устройства.
В зоне неуверенного приема сигнал на входе приемника очень
слабый, поэтому антенна должна быть рассчитана оптимальным способом.
Оптимизируется антенна по минимальному уровню ближних боковых лепестков, т.к.
они определяют шумы и помехи в тракте приема.
. Общие сведения и принцип действия зеркальной
антенны
Зеркальными антеннами называют антенны, у которых поле в
раскрыва формируется в результате отражения электромагнитной волны от металлической
поверхности специального рефлектора (зеркала). Источником электромагнитной
волны обычно служит какая-нибудь небольшая элементарная антенна, называемая в
этом случае облучателем зеркала или просто облучателем. Зеркало и облучатель
являются основными элементами зеркальной антенны.
Зеркало обычно изготовляется из алюминиевых сплавов. Иногда
для уменьшения парусности зеркало делается не сплошным, а решетчатым.
Поверхности зеркала придается форма, обеспечивающая формирование нужной
диаграммы направленности. Наиболее распространенными являются зеркала в виде
параболоида вращения, усеченного параболоида, параболического цилиндра или
цилиндра специального профиля. Облучатель помещается в фокусе параболоида или
вдоль фокальной линии цилиндрического зеркала.
Рассмотрим принцип действия однозеркальной антенны.
Электромагнитная волна, излученная облучателем, достигнув проводящей
поверхности зеркала, возбуждает на ней токи, которые создают вторичное поле,
обычно называемое полем отраженной волны. Для того чтобы на зеркало попадала
основная часть излученной электромагнитной энергии, облучатель должен излучать
только в одну полусферу в направлении зеркала и не излучать в другую полусферу.
Такие излучатели называют однонаправленными.
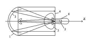
Принцип
действия простейшей зеркальной антенны приведен на рисунке 3.1:
Рисунок 3.1 - Однозеркальная антенна
- зеркало, 2 - облучатель, 3 - сферический фронт волны
облучателя, 4 - плоский фронт волны облучателя, 5 - диаграмма направленности
облучателя, 6 - диаграмма направленности зеркала.
Точечный облучатель (например, маленький рупор),
расположенный в фокусе параболоида, создает у поверхности зеркала сферическую
волну. Зеркало преобразует ее в плоскую, т.е. расходящийся пучок лучей
преобразуется в параллельный, чем и достигается формирование острой диаграммы
направленности.
. Расчёт параметров облучателя
Пирамидальный рупорный облучатель представляет собой
излучатель в виде волновода, к отверстию которого прилегает рупор. Так как
площадь раскрыва рупора больше площади отверстия волновода, то направленность
излучателя намного возрастает. А постепенное расширение рупора при увеличении
размера «а» приближается к 337 Ом. Кроме того, фазовая скорость в рупоре
постепенно снижается до скорости волн в свободном пространстве, а это приводит
к снижению коэффициента отражения, увеличению КБВ в тракте питания.
Рисунок 4.1.1 - Рупорный облучатель
Диаграмма направленности должна быть одинаковой в плоскости
«Е» и «Н» и иметь главный лепесток трапециидальной формы с круглыми спадами
уровня на краях. Для этого надо сделать раскрыв рупора прямоугольной формы с
соотношениями сторон
(3.1)
Размер
прямоугольного раскрыва:
(3.2)
длина волны
отсюда длина рупора
- угол раскрыва;
, тогда
подставим значения в выражение (3.2):
Размер
рассчитывается из соотношения (3.1):
В процессе движения волны в пирамидальном рупоре фронт
преобразуется из плоского в сферический. Фазовый центр полученных волн
находится в точке пересечения расширяющихся сторон рупора. Поле в раскрыве
вследствие изменения формы фронта волны становится несинфазным, это снижает
направленные свойства антенны.
Коэффициент бегущей волны рассчитываем по формуле:
(3.3)
где модуль коэффициента отражения
можно приближенно выразить следующей формулой:
(3.4)
а длина волны в волноводе:
из выражения (3.4) имеем:
отсюда для (3.3)

Теперь вычислим КБВ на кратных частотах
и
.
Так как полоса пропускания
, то 
Соответственно длины волн для верхних и нижних частот
Если принять фазу поля в центре раскрыва за 0, то в точке
, равной
фаза поля будет:
(3.5)
Из
полученных данных находим КБВ для «Н» и «В» по формуле (3.3), подставив
Значение модуля коэффициента отражения
и
:
КБВН=0,977; КБВВ=0,986
Расчёт диаграммы направленности пирамидального
рупорного облучателя
При расчете ДН рупора исходят из того, что амплитудное
распределение в раскрыве рупора принимается таким же как в питающем его
волноводе с войной Н10. Это означает, что в плоскости вектора «Н»
амплитуда изменяется по косинусу при удалении от центра рупора, а в плоскости
«Е» амплитуда остается неизменной. При этом предполагается, что поле в раскрыве
синфазно.
В этом случае диаграмма направленности в плоскости «Е» имеет
вид:
(3.2.1)
Данные расчетов сведем в таблицу.
Таблица 4.2.1 - Значения
в плоскости «Е»
|
0102030405060708090
|
|
|
|
|
|
|
|
|
|
|
|
10,8180,4080,032-0,156-0,176-0,122-0,064-0,029-0,017
|
|
|
|
|
|
|
|
|
|
|
|
100110120130140150160170180
|
|
|
|
|
|
|
|
|
|
|
|
-0,020-0,031-0,041-0,038-0,0210,0020,0130,0060
|
|
|
|
|
|
|
|
|
|
|
5. Расчёт геометрических размеров антенны
Коэффициент направленного действия
Коэффициент усиления передающей антенны рассчитывается по
формуле:
где Lдоп=2 дБ - затухание в атмосфере
и
- потери в фидерном тракте приемной и
передающей антенны, принимаемые по 1 дБ
Мощность передатчика выражается в дБ
Тогда из выражения (5.1.1):
или
Используя связь коэффициента усиления и коэффициента направленного
действия, а также принимаемая КПД= 0,85 рассчитываем КНД:
Геометрические размеры зеркала
Радиус раскрыва зеркала определяется из соотношения:
(5.2.1)
здесь ν - коэффициент
использования поверхности зеркала, можно принять равным 0,4÷0,5;
ST - площадь облучателя и крепёжных деталей
(теневая), рассчитывается исходя из геометрических размеров.
Приближенный расчет площади теневой поверхности:
тогда из выражения (5.2.1):
По диаграмме направленности облучателя определяется
оптимальная угловая апертура, Ψопт которая отсчитывается на
уровне 10% мощности излучения от максимума (0,316 от напряженности поля), такой
уровень поля по краю зеркала обеспечивает достаточно низкий уровень боковых
лепестков. Принимаем Ψопт=300.
Далее рассчитываем фокусное расстояние:
Полученную величину необходимо откорректировать, чтобы
выполнялось равенство:
(5.2.2), отсюда
для полученного n рассчитаем фокусное расстояние по выражению
(5.2.2):
Форма сечения параболического зелкала рассчитывается по
формуле:
(5.2.3)
Подставляя в выражение (5.2.3) различные значения x, получаем форму сечения параболического
зеркала.
Таблица 5.2.1 - Значения x и y(x),
рассчитанные по выражению (5.2.3)
|
x
|
0
|
0,01
|
0,02
|
0,03
|
0,04
|
0,05
|
0,06
|
0,07
|
0,08
|
0,1
|
|
y(x)
|
0
|
0,187
|
0,264
|
0,324
|
0,374
|
0,418
|
0,458
|
0,495
|
0,529
|
0,561
|
0,591
|
Часть отраженных от зеркала лучей, на пути которых,
расположен облучатель, перехватываются этим облучателем. В результате в тракте
питания облучателя возникает отраженная волна. Данное явление называется
реакцией зеркала на облучатель. Наиболее простым и эффективным способом
устранения реакции зеркала на облучатель является установка компенсирующей
пластины у вершины зеркала, диаметром d:
на расстоянии от зеркала t:
Расчёт диаграммы направленности антенны
Поле излучения, создаваемое зеркалом можно найти, зная
наведенный облучателем на его поверхность ток. Вместо тока на освещенной
стороне зеркала можно рассматривать поле в плоскости раскрыва, которое
изменяется электрическими и магнитными эквивалентами поверхностными токами,
либо распределением источников тока элементов Гюйгенса. Отсюда два метода
расчета направленности излучения антенны: токовый и апертурный (по полю).
Апертурный состоит в том, что первоначально находится поле в
раскрыве зеркала (в апертуре), а затем, путём использования принципа
эквивалентности токов, находится поле излучения, создаваемое этим раскрывом.
Поле в раскрыве обычно находится с помощью законов геометрической
оптики, т.е. на основе представлений о падающем и отраженном лучах. В
соответствии с этими законами считают, что влна отражается от криволинейной
поверхности так, как если бы она падала на плоскость, касательную к поверхности
зеркала в рассматриваемой точке. Это верно, если длинна волны стремится к нулю,
что на практике не выполняется. Однако если R0 >>λ, ошибки становятся незначительными.
Представление амплитудного распределения (АР) возбуждающего
поля в виде точной аналитической функции приводит к громоздким вычисениям при
расчёте ДН. В случае осесимметричной или мало отличающейся от неё ДН лучшие
результаты даёт аппроксимация АР поля в раскрыве степеннвм рядом следующего
вида:
(5.3.1)
если ограничиться только первыми тремя членами полинома (5.3.1),
ДН зеркала может быть выражена:
(5.3.2)
Рассчитаем коэффициенты а0, а1, а2,
для этого решим систему уравнений:
(5.3.3)
здесь а0 равно
,
где φ0 = Ψопт=300, а
находим из выражения (3.2.1),
получаем
во второе уравнение системы линейных уравнений подставим
. Функция
рассчитывается при j=0,5Ψопт по формуле:
Подставим значения в СЛУ (5.3.3):
В результате решения СЛУ получаем: а0 =0,03 а1
=0,2 а2 =0,77
В формуле (5.3.2) Λ1, Λ2, Λ3 - лямбда-функции от аргумента и, связанные с функциями Бесселя
соотношением
, где
Значения Λ1, Λ2, Λ3 находим из приложения
[1], литература 3. Подставляем их в выражение (5.3.2) и рассчитываем ДН зеркала
(таблица 5.3.1).
Таблица 5.3.1 - Расчётные значения для построения ДН антенны
|
θ
|
и
|
Λ1
|
Λ2
|
Λ3
|
F(θ)
|
|
0
|
0
|
1
|
1
|
1
|
1
|
|
1
|
1,138
|
0,795
|
0,909
|
0,994
|
0,957
|
|
2
|
2,275
|
0,439
|
0,652
|
0,735
|
0,691
|
|
3
|
3,412
|
0,119
|
0,348
|
0,487
|
0,422
|
|
4
|
-0,097
|
0,089
|
0,233
|
0,17
|
|
5
|
5,683
|
-0,105
|
-0,038
|
-0,038
|
-0,043
|
|
6
|
6,815
|
-0,010
|
-0,074
|
-0,077
|
-0,071
|
|
7
|
7,946
|
0,060
|
-0,040
|
-0,039
|
-0,032
|
|
8
|
9,074
|
0,057
|
0,020
|
0,018
|
0,022
|
|
9
|
10,1
|
0
|
0
|
0
|
0
|
График ДН параболической антенны изображен на рисунке 5.3.1.
По рассчитанной ДН антенны определим ширину главного
лепестка:
Уровень первого бокового лепестка (по таблице 5.3.1, или по
графику ДН):
Заключение
Зеркальные антенны применяют в различных диапазонах волн: от
оптического до коротковолнового, особенно широко в сантиметровом и дециметровом
диапазонах. Эти антенны отличаются конструктивной простотой, возможностью
получения различных ДН, хорошими диапазонными свойствами и др.
Основным препятствием к широкому внедрению линзовых антенн
является их большая стоимость, связанная с высокой точностью изготовления, и
относительная сложность конструкции. Однако они представляют большой
принципиальный интерес и в дальнейшем найдут более широкое применение.
зеркальный
антенна облучатель спутниковый
Литература
1.
Драбкин
А.Л., Зузенко В.Л., Кислов А.Г., Антенно-фидерные устройства. - М.: Советское
радио, 1974.
2.
Кочержевский
Г.Н., Ерохин Г.А., Козырев Н.Д., Антенно-фидерные устройства. - М.: Радио и
связь, 1989.
3.
Седов
В.М., Волков В.Г., Задание на курсовой проект и методические указания по его
выполнению по дисциплине Распространение радиоволн и антенно-фидерные устройсва.
- М., 1991.