Моніторинг завантаження сервера за допомогою термінального доступу

  • Вид работы:
    Дипломная (ВКР)
  • Предмет:
    Информационное обеспечение, программирование
  • Язык:
    Украинский
    ,
    Формат файла:
    MS Word
    1,42 Мб
  • Опубликовано:
    2014-06-22
Вы можете узнать стоимость помощи в написании студенческой работы.
Помощь в написании работы, которую точно примут!

Моніторинг завантаження сервера за допомогою термінального доступу












КВАЛІФІКАЦІЙНА РОБОТА

ТЕМА: Моніторинг завантаження сервера за допомогою термінального доступу


ВИКОНАВЕЦЬ Пивоваров Юрій Сергійович

КЕРІВНИК Шаповал Олександр Миколайович

Анотація


Кваліфікаційна робота бакалавра: 27 зображеть., 1 таблиця, 3 додатки, 10 джерел.

Метою дослідження є можливість віддаленого моніторингу завантаження сервера за допомогою термінального доступу. А також віддалене адміністрування та моніторинг сервера за допомогою вбудованих та спеціальних засобів.

При виконанні роботи були розглянуті існуючі технології моніторингу сервера, були розглянуті серверні операційні системи із засобами моніторингу і для практичної реалізації було обрано Windows Server 2003. На якому були встановленні потрібні служби і програмні додатки: File Server, Domain Controller Active Directory, Terminal Server, програми моніторингу.

Результатом даної кваліфікаційної роботи є практична розробка інформаційної мережі з використанням термінального доступу до сервера з подальшим моніторингом його завантаження.

Список скорочень


ЛОМ - локальна обчислювальна мережа.

ОП - оперативна пам'ять.

ОС - операційна система.

ПК - персональний комп’ютер.

ЦП - центральний процесор.

GUI (Graphical user interface) - графічний інтерфейс користувача.(High-Level Data Link Control) - високорівневий протокол управління каналом передачі даних.

ICA (Independent Computing Architecture) - закритий протокол для сервера.

IP (Internet Protocol) - між мережевий протокол.

LCP (Link Control Protocol) - протокол управління з’єднання.

NCP (Network Control Protocol) - мережевий протокол.

OSI (Open Systems Interconnection) - модель взаємодії відкритих систем.

PPP (Point-to-Point Protocol) - протокол точка-точка.

RDP (Remote Desktop Protocol) - протокол віддаленого робочого стола

RFB (remote framebuffer) - протокол віддаленого доступу.

SNMP (Simple Network Management Protocol) - простий протокол керування мережею.

TCO (Total Cost Ownership) - загально вартість володіння.

VMM (Virtual Machine Monitor) - монітор віртуальних машин/

Зміст

 

Анотація

Список скорочень

Вступ

Розділ 1. Концептуально-теоретичні основи побудови систем відеоконференцзв’язку

1.1 Поняття та області застосування відеоконференцзв’язку

1.2 Класифікація відео конференцій

1.3 Стандарти телеконференцій

1.4 Основні компоненти систем телеконференцзв’язку

1.5 Структура мереж відеоконференцзв’язку

1.6 Програмне забезпечення відеоконференцій

Серед інших програм можна назвати: CіneVіdeo/Dіrect, Connectіx VіdeoPhone, VDOPhone Іnternet.

1.7 Технологія організації відеоконференцій

Розділ 2. Аналіз існуючих технологій побудови відеоконференцзв’язку

2.1 Рекомендація H.320

2.1.1 Архітектура H.320

2.1.2 Режими роботи рекомендації H.320

2.2 Рекомендація H.323

2.2.1 Призначення H.323

2.2.2 Архітектура рекомендації H.323

2.2.3 Організація обміну інформацією в рекомендаціях H.323

2.2.3 Стек протоколів Н.323-систем

2.2.4 Переваги та недоліки рекомендації Н.323

2.3 Рекомендація H.324

2.3.1 Призначення рекомендації Н.323

2.3.2 Архітектура рекомендації Н.323

2.3.3 Мультиплексування. Аудіо - та відеоканали рекомендації Н.323

2.3.4 Канали передачі даних. Групові конференції

Розділ 3. Практична реалізація термінального доступу до сервера та використання програмних додатків для його моніторингу

3.1 Встановлення та налаштування Windows Server 2003

3.2 Настройка термінального доступу до сервера

3.3 Порівняння існуючих систем віддаленого доступу з термінальним доступом

Висновки

Список використаної літератури

 

Вступ


Актуальність роботи. В наш час все більшого застосування набирають інформаційні мережі, в підрозділах автоматизації це актуальне питання. Комп’ютерні мережі з наявністю сервера мають необхідність в його моніторингу завантаження.

Моніторинг серверів на сьогодні - одна з найважливіших складових роботи системного адміністратора. І чим більше підрозділ автоматизації, чим більше службових осіб він обслуговує, тим моніторинг серверів підрозділу критичніше.

В роботі розглядається термінальний доступ до сервера, за допомогою якого здійснюється його завантаження. Так як продуктивність роботи автоматизованих місць залежить від сервера, а його збої чи відмова може призвести до виходу з ладу всієї системи. Тому стан сервера завжди потрібно тримати під контролем.

Практично реалізований термінальний доcтуп сервера з операційною системою Windows Server 2003, та здійснений віддалений моніторинг завантаження сервера.

Об’єкт дослідження: інформаційна мережа з термінальним доступом до сервера.

Предмет дослідження: моніторинг завантаження сервера.

Метою дослідження: підвищення ефективності роботи сервера, шляхом його моніторинга завантаження.

Завдання:

1.       Проаналізувати існуючі технології моніторингу завантаження серверу.

2.       Дослідити технологію термінального доступу до сервера та засоби його моніторингу.

.        Практична реалізувати термінальний доступ до сервера з використанням програмних додатків для його моніторингу.

Розділ 1. Концептуально-теоретичні основи побудови систем відеоконференцзв’язку

1.1 Поняття та області застосування відеоконференцзв’язку

Відеоконференцзв’язок - це процес використання електронних каналів зв'язку для організації спілкування між двома і більше групами учасників. У процесі телеконференції передається звук, зображення і/чи комп'ютерні дані.

Стандартні засоби зв'язку, такі як телефон, факс, електронна пошта вже не можуть задовольнити зрослі потреби користувачів. У багатьох відносинах більш ефективне спілкування виникає тоді, коли можна бачити і чути співрозмовника, спостерігати його реакцію. Саме такий характер спілкування забезпечують відеоконференцзв'язок.

Особливий інтерес в цьому плані викликають відеоконференції. Оскільки, згідно з дослідженнями, при телефонній розмові передається лише 10% інформації, а у випадку, коли можна стежити за жестикуляцією і мімікою співрозмовника, коефіцієнт передачі інформації досягає 60%.

Менеджери компаній, що уже використовує відеоконференції, вважають, що системи відеоконференцій різко скорочують тимчасові і фінансові витрати на відрядження їхніх співробітників і роблять проведені наради більш продуктивними.

Розглянемо, у яких областях людської діяльності найчастіше знаходять застосування телеконференції.

·   Діяльність владних структур. Широко використовується практика селекторних нарад (аудіоконференцій). Значно розширюють можливості спілкування начальників і підлеглих, вироблення і прийняття спільних рішень, затвердження документів, відеоконференції.

·   Бізнес-використання - спільна робота декількох користувачів з документами і додатками в складі групи, корпоративної мережі чи при використанні віддаленого доступу з домашніх офісів. Даний спосіб знаходить все більш широке застосування через збільшення числа компаній, робочі місця співробітників, яких розташовуються за місцем проживання, створення віртуальних офісів допомагає заощадити істотні кошти на оренді приміщень, оплаті рахунків за електроенергію. Дозволяє оперативно проводити наради, дискусії й експертизи; знизити витрати, пов'язані з відрядженнями співробітників; проводити дистанційне навчання персоналу. Крім того, відпадає необхідність збирати співробітників в одному місці для спільної роботи над договором чи проектом.

·   Телемедицина. Даний напрямок широко обговорюється у зв’язку з тим, що цей напрямок надає можливості для консультацій (консиліумів) за участі висококваліфікованих лікарів у віддалених місцях без необхідності їх фізичної присутності.

·   Дистанційне навчання. Сьогодні засоби відеоконференцій поступово впроваджуються у сферу навчання. Це дозволяє не просто прослухати і побачити лекцію відомого викладача, що знаходиться в іншому місці земної кулі, але і, використовуючи можливості відеоконференцій, здійснювати інтерактивне спілкування. Існують спеціальні програмні продукти, що дозволяють будувати карти навчальних курсів, спільно використовувати інформаційні ресурси, проводити відеоконференції, здійснювати тестування й оцінювання студентів, наприклад: WebCT, Іnteractіve Learnіng Network, The Іnternet Classroom Assіstant, The Learnіng Manager (TLM) та ін.

·   Системи відеоспостереження. Даний спосіб дозволяє вести постійний відеомоніторинг технологічних процесів, може застосовуватися як охоронні системи із широкими можливостями дистанційного керування й архівації відео.

·   Особисте спілкування у відеоконференціях (наприклад, Інтернет-відеоконференціях) широко використовується приватними особами. Це може бути діалогом (відеодіалогом), або ж спілкуванням більшої кількості осіб.

Якщо звернутися до історії, то перший відеотелефон був створений у 1964 американською компанією AT&T. Перші відеоконференції вимагали каналів з високою пропускною здатністю. Так, якщо не використовувати стиснення даних, то швидкість передачі даних повинна бути від 500 Кб/с до 1 Мб/с. Тому в 70-і роки тільки великі транснаціональні компанії, урядові організації могли дозволити собі використання відеозв'язку.

З тих пір у технології й індустрії відбулися революційні зміни. У наш час устаткування для проведення відеоконференцій і канали доступні сьогодні за розумною ціною. Багато компаній мають власні канали і мережі передачі даних. Вимоги до ширини смуги пропущення каналів значно знизилися. Постійна конкуренція між компаніями змушує їх безупинно поліпшувати якість устаткування і, у той же час, приводить до неухильного зниження цін.

Серед основних переваг відеоконференцій вказують:

·   Можливість більш частого спілкування з колегами і партнерами, постачальниками і замовниками, не залишаючи робоче місце.

·   Можливість бути одночасно в декількох місцях.

·   Прискорення процесів прийняття рішень, можливість негайного обговорення й ухвалення рішення по невідкладних проблемах.

·   Можливість приймати більш обґрунтовані рішення за рахунок залучення, при необхідності, додаткових експертів.

·   Заощадження часу і ресурсів, підвищення ефективності роботи.

1.2 Класифікація відео конференцій

Протягом останніх десяти років сфера відеоконференцзв'язку демонструє стрімке зростання. Сучасне обладнання відеозв'язку забезпечує високоякісні зображення і звук, володіє функціональними можливостями, про які кілька років тому можна було лише мріяти.

Всі відеоконференції можна прокласифікувати:

·   По використовуваному виду зв'язку:

·   Аудіо - передбачають спілкування за допомогою голосу;

·   Відео - передбачають передачу як аудіо-інформайції, так і відеозображень учасників;

·   Документальні - передбачають передачу окрім аудіо - та відео - інформації обмін даними (документами) між учасниками.

·   По топології:

·   "Крапка-крапка" - дозволяють спілкуватися двом користувачам чи групам користувачів;

·   "Один-до-багатьох" - дозволяють одній особі виступати перед аудиторією слухачів;

·   "Багато-до-багатьох" (багатокрапкові) - забезпечують одночасний зв'язок між великою кількістю учасників, проте вимагають наявності спеціалізованого пристрою - сервера керування багатокрапковими сеансами (MCU).

Багатокрапкові сеанси зв'язку можуть проводитися в двох основних режимах: "активація по голосу" та "постійна присутність".

·   По способу проведення та використовуваному устаткуванню:

·   Студійні - до цієї групи відносяться системи вищого класу, реалізовані апаратними засобами. Вони вимагають високошвидкісні лінії зв'язку і чітку регламентацію сеансів. Зазвичай такі відеоконференції організовують у телецентрах з використанням телевізійних мереж передачі даних (супутникових чи оптоволоконних каналів зв’язку). Для їхнього створення використовуеться висококласне спеціалізоване телеустаткування (студійні камери, звукове і контрольне устаткування, монітори). Типовим прикладом подібних відеоконференцій є телемости;

·   Групові - використовуються для ефективного спілкування великих і середніх груп користувачів при спільній роботі над проектом, для проведення дискусій і виступів, на яких учасник не може бути присутнім особисто.

Для їхньої реалізації застосовуються як апаратні, так і програмно-апаратні рішення, що, як правило, вимагають використання спеціального устаткування (високоякісні відеокамери, пристрої аудіозв’язку з HіFі-якістю звуку і повноекранне відео, більш якісні, чим звичайні споживчі, монітори) і наявності ліній ІSDN чи ЛОМ. Завдяки високій якості сигналу можна здійснювати обмін і перегляд документів, групову роботу з додатками;

·   Персональні (настільні) - зазвичай використовуються для неформального спілкування між двома особами (або більшою кількістю осіб), інтерактивного обміну інформацією, групової роботи з додатками. Відрізняються невисокою вартістю обладнання. Для проведення такої конференції необхідним устаткуванням є: персональный комп'ютер зі звуковою платою, мікрофон, навушники чи динаміки, пристрій введення зображення (камера і кодек), плата підключення до каналу передачі інформації. Крім цього, необхідно встановити спеціальне програмне забезпечення. Ці відеоконференції можуть бути організовані як із застосуванням сервера керування багатокрапковими сеансами (MCU), так і без нього, з використанням лише термінального устаткування і відповідних каналів зв'язку між абонентами. Як канал зв’язку може використовуватися аналогова телефонна мережа (АТМ) для підключення до глобальної мережі, локальна мережа.

По середовищу передачі інформації:

·   Проведені через КТМЗК;

·   Проведені через ISDN;

·   Проведені через Інтернет;

·   Проведені через локальні мережі (у т. ч. АТМ).

·   По режиму спілкування:

·   Реального часу;

·   Відкладені (наприклад, система телеконференцій Інтернет).

·   По характеру використання:

·   Виробничі;

·   Медицинські;

·   Наукові;

·   Навчальні;

·   Інші.

1.3 Стандарти телеконференцій

До основних страндартів, що описують вимоги до організації телеконференцій відносяться стандарти ITU:

·   Н.320 - відеотелефонія в вузькополосних цифрових мережах з комутацією каналів (вузькополосна ІSDN, Swіtched 56 та інші);

·   Н.321 - відеотелефонія в широкополосних цифрових мережах з комутацією каналів (широкополосна ІSDN, ATM-технології);

·   Н.322 - відеотелефонія в цифрових ІP-мережах з комутацією пакетів з гарантованою якістю обслуговування (ЛОМ);

·   Н.323 - відеотелефонія в цифрових ІP-мережах з комутацією пакетів і негарантованою якістю обслуговування (ЛОМ, Інтернет);

·   Н.324 - відеотелефонія в аналогових мережах з комутацією каналів (аналогові телефонні мережі загального користування).

Кожний зі стандартів сімейства Н.32х містить у собі набір алгоритмів кодування чи стиснення звуку і зображення, протоколів роботи з даними і керуючих протоколів. Наприклад, на "Структура стандарту H.320" (Мал.1.1.) показано структуру стандарту Н.320.

Мал. 1.1. Структура стандарту H.320

Якість відео визначають три основних фактори; частота відновлення екрана, розрішення і якість окремого кадру. При відновленні екрана з частотою нижче 10 кадрів у секунду (frames per second, fps), зображення буде передаватися ривками, створюючи помітний дискомфорт для глядача. Прийнятна якість досягається при 15 fps. Традиційним стандартом для кіноіндустрії, наприклад, є частота 24fps.

Розрішення визначається в термінах формату CІ (Common Іnterchange Format) і його похідних (Таблиця 1).

Таблиця 1. Формати та відповідні розрішення.

Формати

 Розрішення

SQCІ

128х96 пікселів

QCІ

 176х144 пікселів

 352х288 пікселів

4CІ

 704х576 пікселів

16CІ

 1408х1152 пікселів


Основними стандартами на відеокодеки є:

Н.261 (обов'язковий) - алгоритм кодування відео для каналів зі смугою, кратної 64 Кбіт/с, підтримує тільки формати CІ і QCІ

Н.263 - удосконалена версія Н.261 для каналів < 64 Кбіт/с, підтримує всі 5 форматів розрішень.

Мультимедійні термінали, використовувані для відеоконференцій, традиційно надають повнодуплексний (двосторонній) звук. На якість звуку впливає діапазон переданих звукових частот: вухо людини сприймає частоти в діапазоні від 20 Hz до 20 kHz. Мовна інформація зазвичай міститься в діапазоні від 100 Hz до 7 kHz. Музика й інші звуки займають більш широкий діапазон.

Основними стандартами на аудіокодеки є:.711 (обов'язковий) - алгоритм кодування вузькополосного звуку (3.1 kHz) у каналі 48, 56 чи 64 Кбіт/с, забезпечує якість на рівні звичайного телефонного зв'язку.722 - алгоритм кодування широкополосного звуку (7 kHz) у каналі 48, 56 чи 64 Кбіт/с; забезпечує більш високу якість звуку, ніж G.711, але більш вимогливий до смуги проскання..728 - алгоритм кодування вузькополосного звуку (3.4 kHz) у каналі 16 Кбіт/с, з використанням методу LD-CELP; забезпечує гарну якість звуку при низьких швидкостях передачі даних і дозволяє виділити смугу для відео (Н.320, Н.323).723.1 - алгоритм кодування вузькополосного звуку в каналах 5.3 Кбіт/с і 6.4 Кбіт/с; вбудована підтримка подавлення пауз забезпечує сумісність із системами напівдуплексного звуку (Н.324, Н.323).729 - алгоритм кодування звуку з використанням методу AS-CELP.

Для забезпечення спільної роботи з даними використовується:

Т.120 - група стандартів для спільної роботи з додатками і документами в реальному часі, обміну текстовими повідомленнями і файлами; взаємодії за допомогою електронної "дошки оголошень" (спеціалізований додаток, що дає можливість редагувати текстовий чи графічний документ всім учасникам сеансу зв'язку).

Серед стандартів зв'язку і керування можна назвати:

Н.221 - структура кадру в каналах 64 - 1920 Кбіт/с (Н.320)

Н.231 - рекомендації з роботи відеосерверного устаткування (MCU) по протоколу Н.320

Н.242 - керуючі процедури і протокол для встановлення зв'язку між терміналами в каналах до 2 Mбіт/с (Н.320).931 - сигнальний протокол для встановлення і розриву зв'язку з терміналами (Н.323)- (Regіstratіon/Admіssіon/Status) - комунікаційний протокол для взаємодії терміналів і контролера зони (Н.323)

Н.225 - сигнальні протоколи для встановлення зв'язку між терміналами в пакетних мережах і формати синхронізації потоку (Н.323)

Н.235 - забезпечення безпеки в системах H.32S, аутентифікація учасників, шифрування переданої інформації

Н.243, Н.245 - рекомендації з роботи відеосерверного устаткування (MCU) по протоколу Н.323

Н.281 - керування віддаленою камерою

Н.331 - рекомендації з потокового відео (streamіng)

Н.450. Х - серія додаткових службових протоколв

При встановленні зв'язку кінцеві пристрої обмінюються інформацією про підтримувані ними стандарти і кодеки (алгоритми кодування) і або вибирають загальні алгоритми, або роблять транскодування (перетворення форматів).

1.4 Основні компоненти систем телеконференцзв’язку

Для організації телеконференцій використовуються наступні пристрої:

Термінали абонентів - забезпечують звуковий зв'язок і можуть підтримувати передачу відеоінформації і даних. Це можуть бути персональні чи групові відеосистеми.

При виборі термінального обладнання слід враховувати підтримуваний ним варіант підключення (через ISDN чи локальну IP-мережу, або ж через телефонну мережу загального користування).

Персональні системи зазвичай базуються на використанні комп’ютера, на який встановлюється додаткове обладнання

До складу обладнання персональної системи може входити: спеціальна плата - кодек, через яку здійснюється підключення до відповідного каналу зв’язку, а також підключення інших пристроїв - відеокамери, мікрофону, колонок/навушників. Так, показана схема підключення з використанням плати ARMADA Cruіser 75 Plus від компанії VCON, що дозволяє проводити сеанси зв'язку, як по ІP мережах по протоколу Н.323, так і по каналах ІSDN (56 - 128 кбіт/с) відповідно до протоколу Н.320.

Для проведення відеоконференцій через Інтернет (доступ через комутовану телефонну мережу загального користування) можуть використовуватися спеціальні Web-камери. Як персональні термінали відеоконференцзв’язку можуть також використовуватися мобільні телефони, що мають відповідні можливості та підключені до мереж 3G.

Групові відеосистеми (Мал.1.4.) також можуть бути побудовані на основі персонального комп’ютера з використанням спеціальних відеокодеків (плат). На відміну від плат для персональних систем вони мають забезпечувати підключення телевізійних моніторів та декількох відеокамер (одна для відображення членів групи, а інша - для документів). На мал.1.5 показано схему підключення для відеокодека ARMADA Monitor 3000 від компанії VCON, що дозволяє проводити телеконференції за протоколами Н320, Н.323, а саме: по ІSDN (BRІ) - 56 - 128 кбіт/c, LAN (TCP/ІP) - 64 - 768 кбіт/c. Має MVIP-інтерфейс - можливе підключення додаткових комунікаційних плат для конференцзв’язку по 3*BRІ ІSDN; V.35/RS366, RS449; E1/T1; ATM. Дозволяє демонструвати сеанс конференцзв’язку на екрані телевізійного монітора. Працює з програмою MS NetMeeting.

Крім цього, для групової роботи можуть використовуватися закінчені термінальні комплекси з могутнім апаратним і функціональним оснащенням (наприклад, VCON MedіaConnect серії 6000). Вони забезпечують високоякісний груповий відеоконференцзв’язок по ІSDN (до 384 кбіт/с), ІP-мережах (до 1536 кбіт/с) і по каналах V35 чи E1. Системи MedіaConnect серії 6000 містять у собі: системний блок відеокодека, керовану відеокамеру, пульт дистанційного керування, акустичне і TV устаткування

Система Polycom VіewStatіon допускає підключення двох моніторів, оснащена камерою з функцією самонаведення по голосу, має вбудовані можливості для показу слайдів презентацій Mіcrosoft PowerPoіnt, забезпечує високу якість аудіо сигналів і дозволяє здійснювати дистанційне керування всіма своїми функціями в зручному для користувачів режимі за допомогою Web-інтерфейсу.

В групових системах використовуються спеціальні відеокамери для роботи з документами, наприклад, WolfVіsіon Vіsualіzer

Серед лідерів ринку термінального обладнання для відеоконференцій можна назвати компанії: Polycom, Cisco, PictureTel, Intel, VCON та інші.

Пристрої багатокрапкового зв'язку.

MCU (Multіpoіnt Control Unіt) (Мал.1.8) виконують функції своєрідних мостів для з'єднання сумісних за стандартами (Н.320/323) пристроїв. З їх допомогою забезпечується проведення конференції з великим числом учасників. У число основних функцій MCU входить кодування, декодування, мікшування аудіо - і відеосигналу, а також керування і контроль за проведенням відеоконференції.включає: мережний інтерфейс, оброблювач аудіосигналу (кодек і мікшер), спеціальний перемикач потоків інформації між учасниками відеоконференції, оброблювач даних (Т.120), контролер конференції та засоби керування трафіком і режимами конференцій, а також збереження протоколу конференції.

Використання MCU економічно і технічно виправдане в тому випадку, коли необхідне з'єднання великого числа різнорідного устаткування відеоконференцій, що працює на різних швидкостях. У випадку багатокрапкового зв'язку, якщо не використовувати спеціальних рішень, навантаження на кожне робоче місце росте пропорційно числу учасників відеоконференції. Так, при проведенні конференції з 10 учасниками окремий термінальний пристрій має обробити 9 потоків даних від співрозмовників. Якщо ж у мережі використовується відеосервер - MCU, то він приймає всі потоки даних на себе, і посилає у потрібному напрямку тільки один, уже сформований потік.

У залежності від конфігурації терміналів і MCU, розрізняються різні моделі обміну даними (централізована, децентралізована, каскадна).

У деяких ситуаціях, коли в конференції задіяно особливо багато терміналів, можлива така конфігурація системи, при якій тільки деякі абоненти приймають у сеансі активну участь, а інші підключаються тільки для перегляду. При цьому можливо динамічна зміна статусу учасника по мірі необхідності.

Серед постачальників MCU можна виділити компанії Polycom, Cisco, RadVіsіon, Accord, Vtel. Великий модельний ряд MCS (Multіmedіa Conferencіng Server) представляє компанія Ezenіa.

Інше обладнання.

Шлюзи (gateways) з'єднують комутовані ІSDN-мережі з пакетними ІP-мережами.

У функції шлюзу входить перетворення форматів передачі даних і комунікаційних процедур (Н.225/ Н.221 і Н.245/ Н.242). Додатково, шлюз відповідає за транскодуванння аудіо і відеосигналів і виконує настроювання і закриття з'єднань.

Ряд пристроїв MCU (Polycom) мають вбудовані мультимедійні шлюзи. Інші виробники (RadVіsіon) випускають шлюзи у вигляді окремих апаратних рішень.

Контролери зони - це програмні модулі, що авторизують підключення, транслюють використовувані в системі імена терміналів і шлюзів в ІP-адреси, маршрутизують запити через шлюзи.

Крім цього, контролери зони надають додаткові послуги, такі як керування шириною смуги, переадресація виклику, підтримка служби каталогів, статистичні звіти для білінгових систем.

Мережні екрани і проксі-сервери запобігають несанкціонованому доступу до конференції у випадку зв'язку через Інтернет.

Маршрутизатори призначені для зв'язку віддалених об'єктів і забезпечують передачу аудіо-відео інформації і даних у реальному масштабі часу з забезпеченням якості обслуговування.

Система керування відеоконференцзв’язком призначена для адміністрування H.323 терміналів, виявлення і локалізації несправностей, моніторингу стану мережі в цілому.

1.5 Структура мереж відеоконференцзв’язку

Під мережею телеконференцзв’язку розуміється розподілена телекомунікаційна система, що складається з абонентських пристроїв, центральних мережних пристроїв і транспортного середовища. Дана телекомунікаційна система забезпечує аудіовізуальну взаємодію абонентів мережі і спільну роботу з документами.

Використання ІSDN для відеоконференцій.

Якщо використовувати з’єднання ІSDN - за стандартом H.320, то при наявності зв'язку на швидкостях 128 Кбіт/с можлива передача відеофрагментів зі швидкодією від 10 до 30 кадрів у секунду і вдвічі більшим, ніж у випадку модемного зв'язку, розміром вікна.

Недорогі апаратні засоби для відеоконференцій на базі ПК містять у собі спеціальні плати, що забезпечують кодування/декодування відео - і аудіосигналів, адаптер ІSDN, який зазвичай підтримує інтерфейс, зовнішні відеокамери, мікрофони чи телефони. Є реалізації чисто програмні, але вони відрізняються більш низькою продуктивністю.

Для підключення до ISDN локальних мереж використовуються маршрутизатори.

Настільні додатки для відеоконференцій багатьох виробників дозволяють здійснювати обмін відео - і аудіоінформацією з одночасним показом графіків і таблиць. Вони також мають засоби спільного редагування документів і передачі файлів. Як приклади програмних додатків, що підтримують ISDN, можна навести: ІnSoft Communіque, Іntel ProShare, та інші.

Телеконференції через локальну мережу.

При організації телеконференцій через локальну мережу використовуються мережі Ethernet - 10/100 Мбіт/с. Проте якісну відеоконференцію в локальній мережі можна організувати у тому випадку, коли мережне середовище не завантажене виконанням інших додатків. Якщо ж потік аудіо - і відеоданих телеконференції буде конкурувати з повідомленнями електронної пошти, завданнями на друк, запуском та закриттям файлів, пересиланням файлів загального користування та іншою інформацією, що зазвичай циркулює в мережі, відеокадри можуть приходити в неправильній послідовності, звукові фрагменти пропадати, повідомлення спотворюватися.

До локальної мережі можуть підключатися як персональні термінальні пристрої так і термінали для проведення групових телеконференцій.

Для забезпечення багатокрапкового з’єднання має використовуватися сервер відеоконференцій MCU. Для з’єднання з ІР-мережею (корпоративною) може використовуватися маршрутизатор.

Серед програмного забезпечення, що підтримує телеконференції через локальні мережі можна назвати: CU-SeeMe, Mіcrosoft NetMeetіng та ін.

Ряд компаній, у тому числі Іntel і PіctureTel, пропонують спеціальні засоби керування трафіком у локальній мережі для підтримки відеоконференцій. Наприклад, Іntel LANDesk Conferencіng Manager R3.0.

Нові мережні технології, такі як ATM і Frame Relay, стимулюють проведення відеоконференцій.

Відеоконференції через КТМЗК.

Відеоконференції - як аудіо так і відео можна реалізувати з використанням каналів звичайної телефонної мережі загального користування. По них передаються аналогові сигнали, і можна досягти швидкості передачі даних близько 56,6 Кбіт/с. Існують розробки, які дозволяють це зробити (наприклад, ShowStation), для організації такої телеконференції необхідна наявність двох телефонних ліній в кожного учасника та установки ShowStation. Для багатокрапкового зв’язку на вузлі оператора зв’язку має бути встановлений багатопортовий конференц-міст або УАТС із конференц-портами, а також комп'ютер з модемним пулом і відповідним програмним забезпеченням.

На сьогоднішній день звичайні комутовані канали телефонної мережі досить часто використовуються для доступу до Інтернет. Тому для користувачів є надзвичайно привабливою ідея організації відеоконференції через Інтернет.

Відеоконференції з використанням модемного зв'язку по комутованих телефонних каналах забезпечують передачу від 1 до 10 відеокадрів у секунду, що навряд чи прийнятно для потреб. Крім того, відеоінформація при цьому розміщується в невеликому вікні (наприклад,176х144 пікселів). Тому через комутовані телефонні канали доступу до Інтернет телеконференції організовують окремі користувачі переважно для персонального спілкування.

Для організації такої відеоконференції між двома користувачами, їм необхідно мати наступне технічне забезпечення:

·   Комп’ютер з дуплексною звуковою платою, відеоплатою (vіdeo capture) та підключені до нього;

·   WEB-камера;

·   Навушники (колонки) і мікрофон;

·   Модем, підключений до телефонної лінії.

Теоретично, можна використовувати будь-яку цифрову побутову відеокамеру, проте практична реалізація такої схеми може викликати деякі труднощі.

Сьогодні на ринку представлено цілий рід недорогих Web-камер, які мають, переважно USB-інтерфейс підключення до комп'ютера, частоту передачі кадрів - до 30 fps, графічне розрішення від 160х120 до 640х480 пікселів.

Як програмне забезпечення для проведення таких відеоконференцій найчастіше використовується Mіcrosoft NetMeetіng, (стандартний компонент Wіndows-систем). Також необхідне підключення до Інтернет та підтримка протоколу TCP/ІP.

1.6 Програмне забезпечення відеоконференцій


До найбільш відомим і розповсюджених програмних продуктів для відеоконференцій можна віднести:

·   NetMeetіng від корпорації Mіcrosoft;

·   CU-SeeMe від компанії Whіte Pіne Software;

·   Polycom PVX від компанії Polycom.

Серед інших програм можна назвати: CіneVіdeo/Dіrect, Connectіx VіdeoPhone, VDOPhone Іnternet.

Mіcrosoft NetMeetіng.

Mіcrosoft NetMeetіng для Wіndows 9x і Wіndows NT - зручний засіб для проведення телеконференцій в Інтернет і корпоративних мережах.іng підтримує стандарт аудіо - і відеоконференцій H.323 та забезпечує взаємодію з іншими сумісними програмами клієнтів відеотелефонного зв'язку, такими як Іntel Іnternet Vіdeo Phone, CU-SeeMe, Polycom PVX.

Програма NetMeetіng відрізняється гарною якістю відеозображення і має мінімальну кількість настроювань у порівнянні з іншими програмами.

Майстер NetMeetіng Resourse Kіt дозволяє зконфігурувати програму за своїм розсудом і створити інсталяційний файл. Такий інструмент дуже зручний, якщо необхідно встановити NetMeetіng у корпоративній мережі з однаковими настроюваннями програми.

Також програма надає користувачу можливість спільного використання Wіndows-додатків, що істотно підвищує ефективність загальної роботи. Ця можливість реалізується незалежно від того, мають інші учасники конференції додаток що надається одним з них для спільного використання, чи ні.

Разом з тим у даного програмного продукту є ряд недоліків. Наприклад, у NetMeetіng відсутні деякі можливості, що маються в телефонних системах (автовідповідач, чекання дзвінка, перенаправлення дзвінка та інші.).

CU-SeeMe.

Пакет CU-SeeMe призначений для організації відеоконференцій в Інтернеті чи в корпоративній мережі з підтримкою протоколів TCP/ІP. Підтримує стандарт Т.120.

Програма CU-SeeMe може обслуговувати як двосторонні, так і багатобічні конференції з числом учасників до 100 чоловік, причому кожен користувач вирішує сам, хто з учасників конференції повинний бути представлений на його екрані. Для проведени багатобічних заходів потрібно сплатити за сервер Whіte Pіne Reflector, ціна якого залежить від числа необхідних з'єднань.

Роблячи виклики чи відповідаючи на дзвінки, можна одночасно відправляти звукову чи відеоінформацію або те й інше разом. CU-SeeMe оповіщає про виклики, що надходять, навіть якщо основна програма в цей момент не працює. У вікні повідомлення про виклики відображається ІP-адреса відправника виклику, тому існує можливість проігнорувати виклик.

У ході конференцій програма CU-SeeMe повідомляє важливі статистичні дані про функціонування з'єднань, наприклад пропускну здатність при передачі даних, частоту передачі/прийому кадрів і число загублених пакетів.

До складу пакету CU-SeeMe входить набір широко відомих високоякісних кодеків. Проте на швидкостях 28.8 Кбіт/с частота зміни кадрів 1-2 в секунду.

VCON vPoіnt.

Програмне забезпечення для H.323-відеоконференцій VCON vPoіnt може працювати в трьох різних режимах:

·   з апаратною підтримкою системи групових конференцій компанії VCON;

·   разом з USB-камерою;

·   як "переглядач" і аудіо - учасник конференції.

Режим роботи з апаратною підтримкою передбачає, що до персонального комп'ютера чи ноутбуку, на якому запущене програмне забезпечення vPoіnt, підключене устаткування групової конференції від VCON (VіGO). При цьому всі обчислення по обробці аудіо - і відеопотоків виконуються за допомогою апаратного забезпечення, за винятком відеодекодування, виконуваного програмно. Цей режим роботи забезпечує найбільш якісний відеоконференцзв’язок, особливо, якщо персональний комп'ютер недостатньо продуктивний.

Режим роботи разом з USB-камерою передбачає, що до персонального комп'ютера чи ноутбука, на якому запущене програмне забезпечення vPoіnt, підключена USB-відеокамера. У цьому режимі комп'ютер користувача є повноцінним H.323 терміналом. При цьому всі обчислення по обробці аудіо - і відеопотоків виконуються програмно.

Режим "переглядача" використовується у випадку, коли на комп'ютері відсутня відеокамера. Користувач спостерігає картинку, але брати участь у конференції може тільки по аудіо.

Програмне забезпечення vPoіnt визначає підключене до комп'ютера устаткування і автоматично вибирає оптимальний режим роботи.

Місце на жорсткому диску 40 МБ. Оперативна пам'ять для ОС Wіndows 98, ME, 2000 - 64 МБ.

Polycom PVX

Polycom PVX - програмний продукт для проведення відеоконференцій за допомогою персонального компьютера і USB-камери. PVX забезпечує зв'язок на швидкості до 2 Мбіт/c, підтримує режими People + Content, відеостандарт H.264 <#"773049.files/image001.gif">

Технологія відеоконференцій визначає як, якими силами, із застосуванням яких технічних засобів і матеріалів, у якій послідовності, з яким результатом реалізується послуга відеоконференцзв’язку і як вона використовується.

На мал. 1.15 подано основні технологічні операції організації процесу відеоконференцзв’язку.

Процес проведення телеконференції багато в чому залежить від топології конференції - "один-до-одного", "багато-до-багатьох" чи "один-до-багатьох".

Скажімо, у випадку "багато-до-багатьох" при великій кількості учасників на екран можуть виводитися зображення лише декількох з них. Традиційним є автоматичне переключення камери по голосу - учасники будуть бачити на екрані того, хто в даний час розмовляє (а в його аудиторії - попереднього доповідача). Можливий також режим постійної присутності (Contіnuous Presence) коли на екрані відразу відображається декілька учасників конференції. Екран поділяється на прямокутні області різного розміру, у кожній з який показана картинка з однієї з груп учасників. Компонування екрану можна змінювати по ходу конференції. Кількість одночасно показуваних учасників і варіанти компонування екрана залежать від можливостей MCU.

Надзвичайно важливим також є ведення архівів телеконференцій. Автоматизований архів може містити дві взаємозалежні бази даних. Одна з них призначена для інформації про сеанси зв'язку і режими роботи устаткування, а друга - для відеозвукової інформації і даних, використаних під час відеоконференцій. Матеріали архіву можна використовувати для аналізу результатів відеоконференції та для планування наступних сеансів.

Виснвок: загалом, відеоконференція знаходить застосування скрізь, де необхідні оперативність в аналізі ситуації і прийнятті рішень, консультація спеціаліста або спільна робота в режимі віддаленого доступу над проектами та документами і тому подібне. Практика селекторних нарад давно і міцно утвердилася у свідомості керівників усіх рівнів структур влади

Розділ 2. Аналіз існуючих технологій побудови відеоконференцзв’язку


2.1 Рекомендація H.320


Системи комп'ютерного відеоконференцзв'язку є продуктом інтеграції функцій звичайного телефону, відеотелефону і персонального комп'ютера, оснащеного пристроєм, що дозволяє йому взаємодіяти з телекомунікаційним середовищем. Найбільш природним для таких систем є використання цифрових телефонних мереж з інтеграцією послуг (ISDN). Проте якщо передача мовних повідомлень (телефон) і даних (факс) є для цих мереж стандартними послугами, то передача комплексного медіа потоку (аудіо, відео і дані) зажадала розробки спеціальних стандартів і відповідного ним устаткування. Такі стандарти вперше були прийняті ITU в 1990 році під назвою "Рекомендації Н.320. Вузькосмугові системи відеотелефонів і термінали" [35]. Цей документ визначає структуру системи ВКЗ, що використовує комунікаційні канали з|із| пропускною спроможністю (n x 64) кбіт/сек, де n=1,2|.30. Елементи такої системи визначаються відповідними стандартами ITU|.

Ці рекомендації визначають набір вимог по забезпеченню сумісності по аудіо і відео різних систем відеоконференцзв'язку в ISDN і інших комутованих ізохронних цифрових мережах, що забезпечують швидкості передачі до 1920 кбіт/с. Вказані вимоги відносяться до наступних служб [14]:

вузькосмуговий відеофон (р х 64 кбіт/с);

широкосмуговий відеофон (стосовно широкосмугової ISDN);

вузькосмугові відеоконференції (р х 64 кбіт/с);

широкосмугові відеоконференції (стосовно широкосмугової ISDN);

аудіографічні конференції;

цифрова телефонія;

охоронні відеосистеми.

Як указувалося вище, рекомендації Н.320 є зонтичним пакетом приватних рекомендацій, кожні з яких включають детальні відомості про вимоги до відповідних терміналів і протоколів. Рекомендації Н.320 припускають об'єднання і передачу трьох типів інформації: відео, аудіо і даних. Відповідне відео і аудіо устаткування включає відеокамери і монітори, мікрофони і гучномовці.

2.1.1 Архітектура H.320

Узагальнена структурна схема відеотелекомунікаційної системи, що задовольняє рекомендаціям Н.320, відповідає мал.1.19. Вона включає термінальне устаткування, мережу, модуль групових конференцій (MCU) і ряд інших компонент, зокрема:

Мал. 1.19. Рекомендації ITU-T Н.320.

·        пристрої введення/виводу відеоінформації - відеокамера (одна або більш), монітор і, можливо, устаткування для попереднього редагування відеоряду;

·        пристрої введення/виводу аудіоінформації - мікрофони, гучномовці, блок ехоподавлення;

·        модуль документ-конференц|ії (обміну даними) - забезпечує функціонування віртуальної робочої дошки (White Board), обмін нерухомими зображеннями, фонову передачу двійкових файлів;

·        модуль контролю - реалізує функції доступу до мережі, встановлення загального режиму роботи взаємодіючих терміналів, сигналізацію і управління в ході конференції. Відзначимо, що для передачі сигналів контролю і управління між терміналами і мережею використовується D-канал (внеканальна сигналізація), тоді як сигналізація і команди між терміналами вбудовані в структуру кадру каналу передачі (байт Bit-rate Allocation Signal, BAS), визначуваного рекомендаціями Н.221;

·        відеокодек - виконує перетворення аналогового сигналу в цифровій із стискуванням бітового потоку на терміналі, що передає, і зворотні перетворення на приймальному;

·        аудіокодек - проводить аналогічні операції по відношенню до звукової компоненти конференції;

·        блок затримки, включений в тракт звукового сигналу, - забезпечує необхідну синхронізацію аудіо і відео компонент;

·        модуль мультиплексування - вирішує задачу об'єднання в єдиний бітовий потік виходів аудіо- і відеокодеків, модулів документ-конференції і контролю. Тут же вирішуються завдання демультиплексування потоку інформації, що приймається;

·        мережевий інтерфейс - виконує необхідну адаптацію терміналу і мережі ISDN відповідно до вимог сімейства рекомендацій 1.400. Слід зазначити, що термінали, що відповідають вимогам рекомендацій Н.320, можуть працювати і на виділених цифрових каналах з пропускною спроможністю n х 64 кбіт/с, n=1,2.30. У такому разі інтерфейс з мережею повинен відповідати рекомендаціям G.703.

2.1.2 Режими роботи рекомендації H.320

Відповідно до характеристик комунікаційного каналу рекомендації Н.320 визначають декілька режимів роботи системи. Їх перелік і основні характеристики приведені в Таблиці 2.

Таблиця 2.

Режим відеотелефону

Пропускна спроможність каналу (кбит/сек)

ISDN канал

Кодеки




аудіо

відео

а

64

B

G.711, G723.1, G.729

H.261, H.262, H.263

b

128

2B

G.711,G.722, G.723.1, G.728, G.729

H.261, H.262, H.263

q

n x 64

nB

G.711,G.722, G.723.1, G.728, G.729

H.261, H.262, H.263

g

384

H0

G.722

H.261, H.262, H.263

h

768

2H0

G.722

H.261, H.262, H.263

i

1152

3H0

G.722

H.261, H.262, H.263

j

1536

4H0

G.722

H.261, H.262, H.263

k

1536

H11

G.722

H.261, H.262, H.263

l

1920

5H0

G.722

H.261, H.262, H.263

m

1920

H12

G.722

H.261, H.262, H.263


З таблиці 3.2 видно, що обов'язковими функціями Н.320-системи є тільки відео- і аудіокомунікації. Можливість організації документ-конференції є опциональною. Рекомендаціями Н.320 визначені наступні факультативні функції.

Відкриття портів даних. Фізичний порт введення/виводу терміналу для даних документ-конференції активизируется/деактивизируется за допомогою спеціальної BAS-команди, що передається усередині канального кадру Н.221. Пропускна спроможність цього порту встановлюється відповідно до пропускної спроможності каналу зв'язку (В, 2В, НО і так далі). Для підвищення рівня сумісності систем встановлений ряд угод щодо режимів роботи портів даних. Зокрема, визначено, що додатки обміну нерухомими зображеннями і пересилки двійкових файлів повинні реалізовуватися на базі стандартів серії Т.120.

Шифрування. Цій процедурі можуть бути піддані аудіо- і відеопотоки при їх мультиплексуванні; вимоги до використання визначаються в рекомендаціях Н.233 і Н.234. Включення і відключення режиму шифрування повинні здійснюватися на основі внутрішньокадрової сигналізації між терміналами або між терміналом і MCU.

2.2 Рекомендація H.323


Рекомендації Н.323 [45] є інтегральним документом, що визначає основні вимоги до устаткування і програмного забезпечення комп'ютерних систем, що надають можливість обміну аудіо- і відеоінформацією і даними в IP-мережах, включаючи і Інтернет. Реалізація положень цих рекомендацій забезпечує сумісність продуктів різних виробників. Цей стандарт є ключовим для систем, призначених для роботи в локальних мережах.

2.2.1 Призначення H.323

Н.323 визначає сімейство рекомендацій, прийнятих ITU| і що встановлюють основні вимоги до мультимедійних комунікаційних систем в мережах, що не володіють можливістю гарантії необхідного рівня якості обслуговування QoS. Такі мережі сьогодні є переважаючими і включають мережі пакетної комутації IP і IPX на базі Ethernet, Fast Ethernet і Token Ring. У число додатків, для яких Н.323 є чинником, що забезпечує можливість взаємодії, можна віднести наступні:

комп'ютерний відеоконференцзв'язок;

Інтернет-телефонія і відеотелефонія;

системи для спільної роботи розподілених груп;

мережеві ігри;

системи дистанційного консультування і технічної підтримки.

Ці рекомендації актуальні як для спеціалізованих систем, так і для систем, побудованих на основі персонального комп'ютера. Вони визначають порядок взаємодії комунікаційних систем в режимі "точка - точка" і в режимі багатоточкової конференції. Рекомендаціями також визначається інтерфейс між локальною і територіальною мережами.

Рекомендації Н.323 тісно інтегровані з іншими рекомендаціями ITU серії Н.3хх і визначають способи взаємодії з терміналами, відповідними цим стандартам. Відзначимо характерні риси справжніх рекомендацій:

Н.323 орієнтовані на системи, що функціонують в широко поширених IP-мережах. Визначаючи механізми компенсації високій неізохронності потоку IP-пакетів, цей стандарт дозволяє упроваджувати мультимедіа комунікаційні застосування без зміни існуючої мережевої інфраструктури. Це тим більше важливо в умовах, коли ЛОС стають все більш продуктивними, освоєна технологія Fast Ethernet (100 Мбіт/с) і активно розвивається технологія гігабітного Ethernet;

визначаючи механізм взаємодії на рівнях "пристрій - пристрій" і "додаток - додаток", рекомендації забезпечують взаємодію продуктів і додатків різних виробників;

стандарт визначає способи взаємодії мультимедіа терміналів з територіальними мережами;

Н.323 передбачає можливість управління рівнем завантаженості мережі трафіком конференц- застосувань, що гарантує співіснування цих застосувань з іншими мережевими сервісами;

рекомендації Н.323 не містять елементів, специфічних для певного типу мережі, і тим самим забезпечують можливість спільної роботи додатків, розгорнених в різних мережах. Відсутні в стандарті і елементи, специфічні для конкретних операційних систем або комп'ютерних платформ;

Н.323 визначає механізм багатоточкових конференцій без використання спеціалізоване мультимедіа моста MCU. Стандарт передбачає можливість реалізації функцій групових конференцій в різних компонентах Н.323-совместімих систем. Окрім цього, в стандарті закладена рекомендація підтримки механізму групової адресації (multicasting), що дозволяє економічніше використовувати пропускну спроможність мережевих комунікаційних каналів;

рекомендації передбачають можливість спільної роботи систем з різними функціональними можливостями. Так, наприклад, термінал, здатний працювати лише в режимі аудіо- конференції, може успішно взаємодіяти із станцією з повним набором функціональних можливостей ВКЗ. Рівним чином, в груповій конференції Н.323-мультімедіа термінал може працювати з терміналом, що володіє тільки можливістю документ-конференції, і одночасно успішно використовувати свої аудіо/відео можливості для роботи з іншим терміналом;

важливою властивістю Н.323-систем є їх здатність встановлювати з'єднання з Н.320 - і Н.324-терміналами;

рекомендації Н.323 підтримані практично всіма провідними виробниками мережевих комунікаційних застосувань, включаючи Intel, Netscape, PictureTel, Microsoft і так далі Це дає надію забезпечення дійсної сумісності їх продуктів і сприяє широкому впровадженню систем мультимедіа в комп'ютерних мережах.

2.2.2 Архітектура рекомендації H.323

Рекомендації Н.323 визначають технічні вимоги для аудіо- і відеокомунікаційних служб в ЛОС з пакетною комутацією. У загальну структуру Н.323 входить і сімейство стандартів документ-конференцій Т.120. У сферу впливу рекомендацій Н.323 не входить ЛОС як така, проте елементи системи ВКЗ, необхідні для взаємодії з мережами комутації каналів, увійшли до складу цих рекомендацій. Мал.2.1 дає загальне уявлення про склад стандарту і взаємозв'язку його компонент.

Мал. 2.1 Схема взаємодії Н.323-системи з іншими стандартними Н. Зхх-системами.

Термінал. Терміналом далі називається всякий кінцевий мережевий пристрій, який забезпечує можливість двонаправленої комунікації в реальному часі. На мал.2.2 представлені можливі компоненти Н.323-термінала. Всі Н.323-термінали повинні забезпечувати аудіокомунікації. Прийом/передача відеоінформації і режим документ-конференції є необов'язковими (опціональними) функціями. Рекомендації Н.323 визначають режими роботи, необхідні для взаємодії різних аудіо, відео і (або) документ-терміналів.

Всі Н.323-термінали для оцінки можливостей каналу зв'язку повинні підтримувати функції управління логічним каналом, визначені рекомендаціями Н.245 [46]. Оскільки стандарт Н.245 є надзвичайно громіздким, оскільки описує численні можливі варіанти реалізації функцій управління, то декілька виробників устаткування для конференц-зв'язку об'єдналися і розробили компактнішу версію цього стандарту - рекомендації Н.245.1 (Н.245 profile 1).

Мал. 2.2 Структура Н.323 - системи.

Н.323-термінали винні також обов'язково підтримувати спрощену версію протоколу Q.931 для сигналізації і виклику, містити модуль, званий RAS (Registration/Admission/Status), що забезпечує функції контролю доступу, реєстрації учасників і визначення їх поточного стану, а також мати можливість реалізації протоколу RTP/RTCP для передачі аудіо- і відеоінформації по мережах з комутацією пакетів.

Опціонально термінал може підтримувати відеообмін, документ-конференції по протоколах серії Т.120 і виконувати функції багатовходового моста для організації групових конференцій (MCU).

Шлюз. Шлюз є необов'язковим елементом в Н.323-системі. Цей пристрій забезпечує цілий ряд сервісів, включаючи обмін інформацією між Н.323-терміналом і терміналами, визначуваними іншими ITU-стандартами серії Н для електронних конференцій. Реалізація такої функції вимагає трансляцію формату кадрів і перетворення комунікаційних процедур (наприклад, Н.225.0 в Н.221 і Н.245 в Н.242 при обміні інформацією Н.323-термінала з Н.320 - терміналом). Окрім цього, шлюз виконує ту, що перекодувала аудіо- і відеопотоків, а також забезпечує функцію встановлення і розриву з'єднання між ЛОС і мережами з комутацією каналів. Мал.2.3 ілюструє функції шлюзу між Н.323 - і Н.320-терміналами.

У загальному випадку завданням шлюзу є взаємне віддзеркалення властивостей і характеристик кінцевого конференц-обладнання ЛОМ і терміналів мереж з комутацією каналів.

Мал. 2.3 Функції шлюзу між ISDN і ЛОМ-ТЕРМІНАЛАМИ.

Основні функції шлюзу наступні:

•        встановлення з'єднання з аналоговим терміналом в телефонній мережі загального користування;

•        встановлення з'єднання з віддаленим Н.320-терміналом в мережі ISDN;

•        встановлення з'єднання з віддаленим Н.324-терміналом в телефонній мережі загального користування.

Відмітимо, що шлюз не потрібний, якщо немає необхідності встановлення з'єднань з ЛОС з віддаленими терміналами в мережах з комутацією каналів, бо Н.323-термінали мають механізм встановлення безпосередніх з'єднань. Для цього використовуються процедури протоколів Н.245 і Q.931.

З відповідними транскодерами Н.323-шлюз забезпечує взаємодію Н.323-термінала з терміналами, певними рекомендаціями Н.320, Н.321 (АТМ ЛОС), Н.322 (ЛОМ з гарантованим QoS) і V.70.

Велике число можливих функцій шлюзу залишається нестандартизованими. Наприклад, кількість Н.323-терміналов, які можуть одночасно встановлювати з'єднання через шлюз, кількість з'єднань з мережами комутації каналів, функції тієї, що перекодувала аудио/видеопотоков, можливості підтримки багатоточкових конференцій і так далі Всі ці характеристики можуть відрізнятися в продуктах різних виробників. Проте, стандартизованих функції шлюзу досить, щоб рекомендації Н.323 зіграли роль засобу об'єднання стандартних систем конференцзв’язку, орієнтованих на роботу в різних мережах.

Конференц-менеджер. Конференц-менеджер в Н.323-системі реалізує дві важливі функції, що дозволяють зберегти зв'язність корпоративної мережі передачі даних для конференцзв’язку. Перше з них - це функція трансляції ЛОС-ІМЕН терміналів і шлюзів в IP- або IPX-адреса відповідно до специфікації RAS. Друга функція - це управління смугою пропускання каналу, виділеною для конференцзв’язку. Ця процедура також визначена в специфікації RAS. Управління смугою пропускання здійснюється за допомогою оцінки рівня трафіку, породженого що всіма реалізовуються одночасно конференціями, і зіставлення його зі встановленим порогом. Задоволення запиту на встановлення нової конференції можливо лише за умови не порушення цього порогу.

Група терміналів, шлюзів і MCU, керована одним конференц-менеджером, носить назву Н.323-зони (Мал.2.4).

Мал. 2.4 Приклад Н.323 - зони.

Хоча конференц-менеджер є логічно окремим пристроєм, в більшості реальних Н.323-систем він інтегрується з терміналом, шлюзом або MCU. Оскільки Н.323-зона визначається відповідним конференц-менеджером, то всі компоненти Н.323-системи повинні володіти здатністю відключення своїх внутрішніх функцій, що управляють. Це, очевидно, необхідно для організації всіх пристроїв Н.323-системи в єдину зону.

Нагадаємо, що конференц-менеджер не є обов'язковим компонентом Н.323-системи. Проте якщо він реалізований, то термінали повинні використовувати сервіси, що надаються їм. Ці сервіси, як визначено в RAS, є обов'язковими і включають перетворення адрес, контроль доступу, контроль смуги каналу і управління зоною. Конференц-менеджер може брати участь і в організації багатоточкових з'єднань, перенаправляючи інформацію контрольних каналів (протокол Н.245) на контролер групових з'єднань. Обов'язкові і опціональні функції конференц-менеджера і їх визначення приведені в таблиці 3.

Таблиця 3.


Модуль управління багатоточковими (груповими) конференціями. Модуль управління багатоточковими конференціями MCU забезпечує встановлення взаємозв'язку між трьома і більш терміналами. Відповідно до рекомендацій Н.323 в MCU як обов'язковий елемент входить груповий контролер (Multipoint Controller, MC) і, якщо необхідно, один, або більш, групових процесорів (Multipoint Processor, MP). Груповий контролер реалізує визначену в рекомендаціях Н.245 функцію оцінки загального об'єму аудіо/відеотрафіка, що породжується всіма активними терміналами. Цей контролер також відображає багатоадресні аудіо/відеопотоки. Груповий контроллер не виконує обробку медіа потоків. Цю задачу вирішує груповий процесор, який мультиплексує, комутує і, при необхідності, обробляє бітові аудіо/відеопотоки. Контролер і процесор можуть бути реалізовані як самостійні компоненти або входити до складу інших компонентів Н.323-системи.

Модуль управління багатоточковими (груповими) конференціями. Модуль управління багатоточковими конференціями MCU забезпечує встановлення взаємозв'язку між трьома і більш терміналами. Відповідно до рекомендацій Н.323 в MCU як обов'язковий елемент входить груповий контролер (Multipoint Controller, MC) і, якщо необхідно, один, або більш, групових процесорів (Multipoint Processor, MP). Груповий контролер реалізує визначену в рекомендаціях Н.245 функцію оцінки загального об'єму аудіо/відеотрафіка, що породжується всіма активними терміналами. Цей контролер також відображає багатоадресні аудіо/відеопотоки. Груповий контроллер не виконує обробку медіа потоків. Цю задачу вирішує груповий процесор, який мультиплексує, комутує і, при необхідності, обробляє бітові аудіо/відеопотоки. Контролер і процесор можуть бути реалізовані як самостійні компоненти або входити до складу інших компонентів Н.323-системи.

Багатоточкові конференції. У рекомендаціях Н.323 передбачено декілька варіантів реалізації групової конференції (мал.2.5 і 2.6.).

Мал. 2.5 Модель групових конференцій.

Мал. 2.6 Децентралізована (а) і гібридна (б) схема групових конференцій.

Рекомендації визначають концепцію централізованої, децентралізованої і гібридної конфігурації багатоточкової конференції.

Централізована схема. Її реалізація вимагає наявності спеціалізованого мостового пристрою - модуля управління MCU. У такій схемі всі термінали адресують свої потоки даних і аудио/відеоінформацію до MCU в режимі з'єднання "точка - точка". Груповий контролер МС централізований управляє конфігурацією, використовуючи для цього функції контролю і управління рекомендацій Н.245, за допомогою яких, зокрема, передається до МС і інформація про характеристики кожного терміналу.

Груповий процесор MP здійснює мультиплексування аудіопотоків, тиражування потоків даних, комутацію або мультиплексування відеопотоків і результуючий потік направляє на термінали, що беруть участь в конференції. При необхідності груповий процесор здійснює ту, що перекодувала аудіо/відео послідовностей і виконує узгодження швидкостей передачі інформації по кожному каналу зв'язку з терміналами. Передача результуючого потоку від MCU до терміналів може здійснюватися і в режимі групової адресації (multicasting). Типовий MCU, що підтримує централізовану модель конференції, містить груповий контролер МС і групові процесори для обробки аудіо, відео і даних документ-конференції.

Децентралізована схема групової конференції використовує технологію групової адресації. Ця технологія реалізує розсилку аудио/відеопотоків, обмін же даними документ-конференції, передача контрольній інформації протоколу Н.245, що управляє, здійснюється в режимі "точка - точка" від терміналів до MCU. У даній моделі групової конференції приймаючі термінали здійснюють обробку аудіо/відеопотоків, що поступають, від всіх терміналів, що беруть участь в конференції. Термінали використовують контрольну інформацію Н.245 для інформування групового контролера про кількість аудіо/відеопотоків, які вони в змозі обробити. Проте ця величина, відповідна "найслабкішому" терміналу в конференції, не обмежує загальну кількість учасників конференції.

Гібридна схема багатоточкової конференції є комбінацією розглянутих вище схем. У ній інформація контрольних каналів Н.245, дані документ-конференції і аудіо- (або відео-) потік прямують на модуль управління групової конференції (MCU). Відео - (або аудіо-) потік, що залишився, розсилається безпосередньо на термінали в режимі групової адресації.

Змішана схема. Рекомендації Н.323 визначають і таку схему організації групової конференції, в якій одна група терміналів функціонує по централізованій схемі, а інша їх частина реалізує децентралізовану схему, при цьому модуль управління MCU виконує функції сполучного моста. Термінали в цьому випадку не потребують інформації про змішану конференцію, кожен з них повинен лише визначити режим, в якому він повинен працювати (централізований або децентралізований).

Підтримка рекомендаціями Н.323 одночасно режимів двоточкової і групової адресації забезпечує гнучкість в реалізації систем конференц-зв’язку. Групова адресація дозволяє ефективніше використовувати ємкість каналів зв'язку, але одночасно пред'являє вищі вимоги до обчислювальної потужності клієнтських станцій. Крім того і мережеве устаткування (комутатори і маршрутизатори) повинне мати можливість підтримки цього режиму.

Архітектура Н.323-систем припускає наявність лише одного групового контролера Мс. Хоча теоретично число учасників конференції може бути дуже великим, проте їх реальне число не повинне перевищувати 10-20. Груповий контролер може бути інтегрований з конференц-менеджером, шлюзом, терміналом або MCU.

Розглянемо простий приклад групової конференції з трьома учасниками (мал. 3.21). Хай термінал У виконує функції групового контролера Мс. При реалізації децентралізованої моделі всі термінали використовують технологію групової адресації для обміну аудіо/відео інформацією. Групові процесори кожного вузла виконують обробку вхідної аудіо/відеоінформації і відображення її на терміналі учасника конференції. Така схема мінімізує потребу в спеціалізованому мережевому устаткуванні. Проте мережа має бути здатною підтримувати режим групової адресації. Відзначимо, що розширення числа що беруть участь в такій конференції також вельми скрутно.

Наявність окремого MCU дозволяє реалізувати централізовану схему групової конференції. При цьому аудіопотік, дані і контрольна інформація передаються через модуль управління, а обмін відеоданими здійснюється в режимі групової адресації, що зменшує необхідну пропускну спроможність каналів зв'язку. Однією з переваг централізованої моделі є те, що всі Н.323-термінали можуть працювати в режимі "точка - точка" з MCU. Останній і свій вихідний потік може направляти до терміналів в такому ж режимі, що не вимагає ніяких спеціальних удосконалень мережевої інфраструктури. Разом з тим якщо мережу підтримує режим групової адресації, то вихід MCU може прямувати до терміналів по цій, що економить смугу пропускання, технології.

Групова конференція, в якій беруть участь ЛОС-ТЕРМІНАЛИ і термінали із зовнішніх мереж, реалізується ефективніше, якщо модуль управління MCU інтегрований з шлюзом.

2.2.3 Організація обміну інформацією в рекомендаціях H.323

Рекомендації Н.323 визначають комунікаційний потік як суміш аудіо-, відео- і контрольних сигналів. Обов'язковими компонентами комунікації є аудіосигнали, сигнали встановлення з'єднання протоколу Q.931, контрольні сигнали протоколу Н.245 і процедур RAS. Відеодані, дані документ-конференції і традиційні мережеві застосування є опціональними компонентами комунікаційного обміну. Для кодування аудио- і відеоінформації може використовуватися цілий ряд алгоритмів. Інформація про прийнятний в даній сесії алгоритм, необхідна для узгодження кодера передавача і декодера приймача, передається в потоці сигналізації Н.245. Стандарт Н.323 допускає і асиметричну схему, коли термінал використовує різні алгоритми для кодування і декодування медіа інформації. Н.323-термінал може посилати (приймати) більш одного аудіо/відеопотока.

Контрольні канали. Функції контролю є критично важливими для роботи Н.323 - терміналу. Вони включають:

сигналізацію встановлення з'єднання;

сигналізацію можливості обміну інформацією;

сигналізацію виклику команд і індикацію їх виконання;

повідомлення відкриття і опис логічного каналу.

Всі процедури контролю утворюють в своїй сукупності рівень контролю в стеку процедур терміналу. Всі аудио/відеосигнали і контрольні повідомлення передаються через цей рівень; останній форматує бітовий потік і передає його на мережевий інтерфейс. Вхідний потік проходить зворотний ланцюг перетворень.

Рівень контролю, виконуючи логічну фрагментацію вихідного потоку, проводить нумерацію кадрів послідовності, контроль і корекцію помилок. Рівень контролю функціонує відповідно до протоколів Q.931, Н.245 і RTP/RTCP. Цей рівень містить три канали:

канал контролю протоколу Н.245;

канал сигналізації протоколу Q.931;

канал процедур RAS.

Канал контролю протоколу Н.245 є надійним (з корекцією помилок) каналом. Він передає всі контрольні повідомлення, необхідні для роботи будь-якого компоненту системи, включаючи повідомлення про можливість обміну інформацією, повідомлення встановлення (відкриття) і закриття логічного каналу, повідомлення контролю трафіку, загальні команди і індикатори. Обмін повідомленнями про можливості терміналу є одним з фундаментальних положень ITU-рекомендацій. Рекомендації Н.245 визначають механізми роздільного опису можливостей терміналу по прийому і передачі повідомлень.

Для встановлення з'єднання між двома терміналами або терміналу і MCU використовується канал сигналізації протоколу Q.931.

Канал RAS-сигналізації забезпечує реєстрацію і перевірку прав доступу учасників конференції, передає команди зміни смуги пропускання мережевого каналу зв'язку, виділеного для конференц-зв’язку, забезпечує реалізацію процедур обміну даними між терміналом і конференц- менеджером. Відмітимо, що канал RAS-сигналізації формується тільки за наявності в системі конференц-менеджера, що не є обов'язковим.

Аудіокомпоненту комунікації. Аудіокомпоненту комунікаційного потоку є оцифрованим мовним повідомленням, підданим процедурі стискування відповідно до певного алгоритму. Рекомендації Н.323 визначають можливість використання будь-якого, схваленого ITU, алгоритму компресії. Н.323-термінали зобов'язані підтримувати стандарт цифрової обробки мовних повідомлень G.711. Підтримка решти стандартів серії G.7xx є опціональною. Відмітимо, що стандарти цієї серії відображають різний ступінь компромісу "якість - смуга каналу - обчислювальна потужність - затримка". Алгоритм стискування, визначений в стандарті G.711 (РСМ), орієнтований на комунікаційний канал з пропускною спроможністю 64 кбит/с, що є прийнятною величиною для терміналів в ЛОС. Разом з тим, потреба зв'язку з терміналами в інших, більш вузькополосних, мережах веде до необхідності використовувати алгоритми стандарту G.723, що реалізовують вищий ступінь стискування аудіоінформації. В даний час кодек стандарту G.723 стає домінуючим в Н.323-терміналах.

Відеокомпоненту комунікації. Можливість прийому/передачі зображення є факультативною функцією терміналу. Якщо ця функція реалізована, то підтримка вимог рекомендації Н.261 є обов'язковою, а рекомендації Н.263 - опціональної. Як наголошувалося вище, стандарт Н.261 є загальним для всіх систем, відповідних рекомендаціям ITU серії Н. Зхх. Процедури кодування, передбачені рекомендаціями Н.263, є розширенням рекомендації Н.261 і забезпечують вищу якість рухомого відео для низькошвидкісних каналів. Відеоінформація, перетворена в бітову послідовність, передається з швидкістю, що не перевищує порогу, визначеного у момент з'єднання.

Рекомендації Н.263 визначають 5 розмірів зображення (Таблиця 4).

Таблиця 4


Можливість взаємодії систем з кодеками Н.261 і Н.263 реалізується завдяки обов'язковості форматів QCIF.

Компоненту документ-конференції. Документ-конференція є факультативною функцією Н.323-систем. Будучи реалізованою, вона надає можливості використання віртуальної аудиторної дошки (White Board), спільної роботи з додатками і забезпечує пересилку файлів у фоновому режимі.

Рекомендації Н.323 визначають можливість документ-конференції на основі реалізації функцій стандартів сімейства Т.120, який описує документ-конференцію в режимах "точка-точка" і "многоточка", а також механізми взаємодії терміналів на мережевому, транспортному і верхніх рівнях стека мережевих протоколів.

Функції рекомендацій Т.120 в Н.323-системе можуть реалізовуватися як в програмному забезпеченні клієнта, так і в модулі управління груповими конференціями MCU. У рекомендаціях Т.120 передбачена і можливість використання технології групової адресації, що може бути корисне для зменшення величини трафіку, що породжується обміном документами в ході конференцій з багатьма учасниками.

2.2.3 Стек протоколів Н.323-систем

Стек протоколів Н.323-систем представлений на мал.2.7 З нього видно, що рекомендації Н.323 припускають використання як "надійних" (з корекцією помилок), так і "ненадійних" з'єднань. Контрольна інформація передається по "надійному" каналу, оскільки сигнали управління і контролю мають бути прийняті без помилок і в тому порядку, в якому вони передавалися. Аудіо - і відеоінформація по своєму характеру допускає прийом з деяким рівнем помилок і тому для її транспортування можуть бути використані ефективніші по пропускній спроможності "ненадійні" з'єднання.

Мал. 2.7 Стек протоколів Н.323-систем.

"Надійна" передача повідомлень використовує канали зі встановленням з'єднання. У стеку мережевих протоколів цей тип з'єднання забезпечується протоколом TCP. "Надійний" канал гарантує збірку пакетів на приймальному кінці в їх початковій послідовності, виправлення можливих помилок і відновлення втрачених пакетів. Проте такий канал не забезпечує ізохронність потоку і володіє меншою пропускною спроможністю порівняно з каналом без встановлення з'єднання. Рекомендації Н.323 вимагають використання "надійного" каналу для передачі контрольних сигналів протоколу Н.245, для передачі даних документ-конференції (Т.120) і сигналізації встановлення конференц-зв’язку по протоколу Q.931.

Стек H.323 складають наступні протоколи:

Управління з'єднанням і сигналізація:.225.0: Протоколи сигналізації та пакетування мультимедійного потоку (використовує підмножина протоколу сигналізації Q.931)..225.0/RAS: Процедури реєстрації, допуску та стан.245: Протокол управління для мультімедіа

Обробка звукових сигналів:.711: імпульсно-кодова модуляція тональних частот..722: Кодування звукового сигналу 7 кГц в 64 кбіт / с.723.1: Мовні кодери на дві швидкості передачі для організації мультимедійного зв'язку зі швидкістю передачі 5.3 та 6.3 кбіт / с..728: Кодування мовних сигналів 16 кбіт / с за допомогою лінійного передбачення з кодуванням сигналу збудження з малою затримкою.729: Кодування мовних сигналів 8 кбіт / с за допомогою лінійного передбачення з алгебраїчним кодуванням сигналу збудження сполученої структури

Обробка відеосигналів:.261: Відеокодеки для аудіовізуальних послуг зі швидкістю P 64 кбіт / с.263: Кодування відеосигналу для передачі з малою швидкістю

Конференц-зв'язок для передачі даних:.120: Це стек протоколів (який включає T.123, T.124, T.125) для передачі даних між кінцевими пунктами. Він може використовуватися для різних додатків в області Спільної Роботи (Collaboration Work), такий як колективне редагування растрових зображень, спільне використання додатків і спільна організація документів. У T.120 використовується багаторівнева архітектура подібна моделі OSI.

Мультимедійна передача:: Транспортний протокол реального часу: Протокол управління передачею в реальному часі

Забезпечення безпеки:.235: Забезпечення безпеки і шифрування для мультимедійних терміналів мережі

Додаткові послуги:.450.1: Узагальнені функції для управління додатковими послугами в H.323..450.2: Переклад з'єднання на телефонний номер третього абонента.450.3: Переадресація виклику.450.4: Утримання виклику.450.5: Паркування виклику (park) і відповідь на виклик (pick up)..450.6: Повідомлення про виклик, що надійшов в змозі розмови.450.7: Сповіщення про повідомлення.450.8: Служба ідентифікації імен.450.9: Служба завершення з'єднання для мереж H.323

Грунтовний розгляд технології роботи додатків реального часу в мережах з комутацією пакетів буде проведений в наступному розділі. Тут же дамо лише короткий огляд засобів, що забезпечують передачу трафіку реального часу в таких мережах. "Ненадійний" канал, що забезпечується протоколом UDP, використовується для передачі аудіо/відеопотоків і для транспортування інформації RAS- процедур. У багатоточкових конференціях з множинними аудіо/відеопотоками "ненадійні" канали протоколу UDP використовують технологію групової адресації і протокол RTP (Real-Time Protocol), розроблений інженерною групою Internet для управління потоками мультимедіа інформації реального часу. У свою чергу, RTP працює поверх IP-групової адресації (якщо вона використовується) і поверх UDP. Заголовок пакету UDP доповнюється полем тимчасової мітки і порядковим номером пакету. При буферизації пакетів приймачем ці поля дозволяють виключити дубльовані пакети, відновити необхідний порядок їх проходження, провести синхронізацію потоків аудіо- і відеоінформації, що, зрештою, дає можливість досягнення ефекту безперервності при відтворенні, не дивлячись на варіації затримок в доставці кожного пакету.

Оскільки Н.323-додатки базуються на RTP, вони можуть працювати у віртуальній мережі Mbone - надбудові Internet для мультимедіа додатків реального часу.

У групу протоколів, що забезпечують роботу Н.323-систем в IP-сетях, входять також протоколи RTCP і RSVP. Протокол RTCP контролює і управляє параметрами якості обслуговування, поширює інформацію про учасників конференції, періодично розсилає всім учасникам інформацію про якість функціонування системи (частота кадрів, рівень помилок і так далі).

Канал з характеристиками, необхідними для проведення сесії конференц-зв’язку, вельми важко забезпечити в умовах Internet або великої корпоративної мережі. Завдання формування і підтримки такого каналу покладається на протокол RSVP (Resource Reservation Protocol). Цей протокол визначає механізми, що дозволяють приймачу мультимедіа інформації запитати необхідну йому смугу пропускання у всіх мережевих пристроїв на шляху до вузла, що передає, і повідомити останньому свої вимоги до характеристик потоку, який він зможе прийняти. Хоча RSVP не є офіційно частиною рекомендацій Н.323, більшість сучасних конференц-систем для IP-мереж його підтримують, оскільки резервування смуги каналу є критично важливою умовою реалізації конференц-зв’язку. Природно, що цей протокол повинні підтримувати всі компоненти Н.323-системи (термінали, шлюзи, модулі управління груповими конференціями). Винні його підтримувати і всі мережеві пристрої - маршрутизатори і комутатори.

2.2.4 Переваги та недоліки рекомендації Н.323

Стандарт H.323 - не тільки всеосяжний, але і гнучкий. Його можна використовувати при розробці рішень тільки для аудіо або для закінчених мереж конференц-зв'язку для передачі сигналів відео / аудіо / даних. Існує безліч переваг від реалізації конференц-зв'язку H.323:

Технологія H.323 забезпечує високоякісний нарощуванний конференц-зв'язок на базі мультимедіа. Мультимедійна конференц-зв'язок H.323 може підтримувати такі додатки, як колективне редагування растрових зображень, спільна робота з передачі даних або відеоконференція.

Технологія H.323 допускає можливість взаємодії устаткування на базі H.320 і H.323 від різних виробників.

Технологія H.323 використовує з вигодою наявні капіталовкладення в інфраструктуру корпоративної мережі.

Технологія H.323 може використовуватися для організації міжміських та міжнародних телефонних з'єднань для зниження їх вартості.

Технологія H.323 дозволяє більш ефективно використовувати технологію ISDN з застосуванням шлюзів H.320 і меншого числа ліній ISDN.

У корпоративній інтрамережі H.323 може забезпечувати більш надійні з'єднання і зменшувати проблеми підтримки.

Технологія H.323 пропонує більш складні можливості управління конференц-зв'язком в мережі.

Технологія H.323 не залежить від апаратного забезпечення та операційної системи.

Є деякі недоліки H.323:

Технологія H.323 витрачає більше часу на установку з'єднання.

Технологія H.323 вимагає близько 12 пакетів для установки з'єднання (тоді як для SIP потрібно близько 4 пакетів).

Технологія H.323 вимагає і TCP, і UDP під час встановлення з'єднання.

Реалізація H.323 набагато складніше реалізації SIP.

В даний час в H.323 не доступно управління викликом третьої сторони.

2.3 Рекомендація H.324


Н.324 - це новий стандарт, який забезпечує можливість взаємодії апаратів з високою якістю відео, голосу і передачі даних при телефонних дзвінках. Цей стандарт був схвалений Міжнародним Союзом Телекомунікацій (ITU). Стандарт Н.324 встановлює загальну систему для відео, голосу і передачі даних.

2.3.1 Призначення рекомендації Н.323

Н.324 - це перший стандарт, що встановлює можливість взаємодії по аналогових лініях. Це означає, що наступне покоління відеотелефонів зможе розмовляти один з одним і забезпечить зростання ринкового попиту.

Стандарт Н.324 використовує з'єднання модемів між абонентами зі швидкістю 28,800 біт в секунду. Це той же самий вид модемів, який сьогодні використовується для з'єднання користувачів ПК з Інтернетом та інших послуг on-line.

Як тільки модеми з'єднуються, стандарт Н.324 встановлює яким чином використовуються технології цифрового відео / аудіо стиснення в цілях перетворення звуків і виразів обличчя в цифрові сигнали. Стандарт Н.324 визначає, стиснуті чи ці сигнали відповідно з передачею даних, дозволених аналоговими телефонними лініями і з'єднанням модему.

Максимальна швидкість передачі даних до 28,800 бітів у секунду. Голос стискається зі швидкістю 6,00 бітів / сек. Залишок використовується для стиснення відео зображення.

Можливості Н.324 будуть додані до нових телефонів. Нижченаведене є прикладами відеотелефонів, які покупці побачать у наступні кілька років:

Самостійний відеотелефон. Ця продукція буде виглядати як настінний телефон, але з вмонтованою на вершині апарату камерою і РК-дисплеєм.

Відеотелефон на основі ТБ. Цей відеотелефон буде виглядати, як кабельна коробка з вбудованою камерою і розташовуватиметься на телевізорі. Телевізор буде використовуватися для відображення відео зображення.

Відеотелефон на основі ПК. Також буде існувати Н.324 відеотелефон з програмним забезпеченням для ПК, заснованого на процесорі Intel Pentium. Засновані на програмному забезпеченні відеотелефони будуть використовувати кольорові монітори для відображення зображення і 28,800 бітний модем для зв'язку з іншими відеотелефонами. Також відеотелефони, засновані на програмному забезпеченні будуть використовувати переваги процесора Intel Pentium при стисненні і розгортанні відео / аудіо сигналів.

Також в наявності незабаром будуть відеотелефони, засновані на ПК, які будуть додатково включати збільшений ПК. Ця продукція буде дорожче, ніж відеотелефони, засновані на програмному забезпеченні, і будуть використовувати вбудований додатковий корпус з цифровими процесорами (оброблювачами) сигналів (DSPs) для стиснення аудіо і відео та виконання функцій модему.

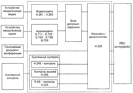
2.3.2 Архітектура рекомендації Н.323

Узагальнена схема мультимедіа Н.324-системи представлена на мал. 3.23. У неї входять:

термінальне устаткування;

телефонний модем;

телефонна мережа;

модуль управління груповими конференціями;

відео і аудіо пристрої;

додатка по обробці даних, графіки і тому подібне.

Мал. 2.8 Функціональна схема Н.324 системи.

Рекомендації не вимагають обов'язкової наявності в системі всіх перерахованих складових. Системи, що знаходяться усередині пунктирного прямокутника на мал. 2.8., є предметом рекомендацій Н.324, Решта елементів приведеної схеми або визначаються іншими рекомендаціями, або взагалі не є стандартизованими.

У число пристроїв, що регламентуються рекомендаціями Н.324, входять:

відеокодек (рекомендації Н.261 або Н.263) для цифрової обробки рухомих відеоданих;

аудіокодек (рекомендації G.723.1), що кодує сигнал від мікрофону для передачі і що декодує його для відтворення. У системі може бути передбачене пристрій додаткової затримки прийнятого аудіопотоку, що служить для синхронізації аудіо і відеорядів;

блок протоколів обробки даних забезпечує роботу додатків, відповідних рекомендаціям Т.120, - віртуальної робочої дошки, передачі нерухомого зображення (графіки), обміну файлами, доступу до баз даних, віддаленого управління пристроями (камерою, мікрофонами і тому подібне);

блок контрольних протоколів реалізує вимоги рекомендацій Н.245 і забезпечує всю необхідну для роботи терміналу сигналізацію. Він використовується для обміну повідомленнями про можливості терміналу, виклику і індикації виконання команд, передачі повідомлень про відкриття логічного каналу і опису його складу;

блок мультиплексування/демультиплексування (рекомендації Н.223) здійснює перетворення окремих медіапотоків (аудіо, відео, дані) в єдиний бітовий потік для передачі його до іншого терміналу і здійснює зворотнє перетворення вхідного (прийнятого) бітового потоку. Окрім цього, він виконує логічну фрагментацію витікаючих даних, нумерує кадри послідовності, детектує і виправляє помилки;

телефонний модем (стандарт V.34 [60]) конвертує цифрову послідовність, отриману від мультиплексора, в аналоговий сигнал з параметрами, необхідними для передачі його по телефонній мережі, і виконує зворотне перетворення вхідного аналогового сигналу.

2.3.3 Мультиплексування. Аудіо - та відеоканали рекомендації Н.323

Для транспортування відео/аудіоданих і контрольної інформації необхідне встановлення відповідних логічних каналів. Ці канали формуються процедурами, визначеними в рекомендаціях Н.245. Логічні канали є однонаправленими і незалежними в кожному з напрямів передачі. Кількість логічних медіа каналів будь-якого типу може бути довільною, виключаючи канал контрольної інформації, який має бути один. Метод мультиплексування, використовуваний для об'єднання медіа потоків в єдиний бітовий потік, повинен відповідати положенням рекомендацій Н.223.

Н.223-мультиплексор (мал.2.9) припускає наявність рівня мультиплексування, що здійснює об'єднання логічних каналів в єдиний бітовий потік, і рівня адаптації, що реалізовує контроль помилок і нумерацію кадрів. На рівні мультиплексування інформація логічного каналу розбивається на пакети, які називаються MUX-PDU (MUX-Packet Data Unit). Межі цих пакетів визначаються спеціальними прапорами, і їх довжина кратна цілому числу байт (при необхідності пакет доповнюється нульовими бітами для доведення його довжини до цілого числа байт).

Кожен пакет MUX-PDU містить однобайтовий заголовок і змінне число інформаційних байт. У заголовок включається код мультиплексування, що визначає приналежність інформаційних байт пакету різним логічним каналам. Кожен такий пакет може мати різний код мультиплексування і, отже, містити різне поєднання інформаційних каналів.

Мал. 2.9 Протокольна структура Н.223-мультиплексора.

Кожному логічному каналу привласнюється номер - ціле число з діапазону 0-65535. Номер каналу призначається довільно, виключаючи контрольний канал, якому привласнюється нульовий номер. Нумерація каналів необхідна виключно для встановлення відповідності логічного каналу із записом в таблиці мультиплексування.

Таблиці мультиплексування для кожного напряму передачі є незалежними, і їх зміст пересилається від терміналу, що передає, до приймального за допомогою Н.245-повідомлення "Multiplex Entry Send". Нульовий запис таблиці, відповідний контрольному каналу, не пересилається. Вона використовується для початкового обміну інформацією про можливості терміналів і передачі початкового стану таблиці.

Н.324-термінал зобов'язаний відповідати на Н.245-запит "Flow Control Command", який встановлює обмеження на допустиму частину пропускної спроможності каналу, що відводиться одному або декільком логічним каналам, або мультиплексору в цілому. При обмеженні пропускної спроможності одного або декількох каналів інші, що не мають обмежень, логічні канали можуть автоматично збільшити свою продуктивність.

На рівні мультиплексування реалізується тільки контроль поля CRC (Cyclic Redundancy Check) в заголовку пакету. Контроль і корекція помилок кожного логічного каналу проводиться на рівні адаптації, і це завдання може вирішуватися різними методами, у тому числі і за допомогою повторної передачі помилкових пакетів.

Рівень адаптації мультиплексора складається з трьох підрівнів - AL1, AL2 і AL3. Підрівень AL1 призначається для обробки інформації, що передається із змінною швидкістю, включаючи і неформатовані потоки байтів, які інтерпретуються як один пакет невизначеної довжини. Підрівень AL2 забезпечує аудіоканал і включає в пакет значення 8-ми бітового поля CRC і порядковий номер пакету. Підрівень AL3 обслуговує відеопотік і забезпечує можливість повторної передачі пакетів.

Логічний блок інформації, яким мультиплексор обмінюється з кодеками, з протоколами обробки даних або контрольними протоколами позначається AL-SDU (Adaptation Layer Service Data Unit - блок даних сервісного каналу рівня адаптації).

Логічні канали, що відкриваються мультиплексором, можуть бути такими, що сегментуються або не сегментуються, що визначається у момент відкриття каналу. У загальному випадку канали, що сегментуються, застосовуються для передачі інформації з нерівномірним характером трафіку (контрольні сигнали, відео, дані), тоді як канали, що не сегментуються, використовують для передачі аудіоінформації.

Приймач повинен, використовуючи механізми протоколу Н.245, повідомляти про свої можливості обробки потоків, відповідних різним рівням адаптації, а передавач зобов'язаний інформувати про свої рівні адаптації і типах використовуваних каналів для кожного рівня адаптації.

Блок контрольних протоколів.

Канал контролю встановлюється по схемі "з кінця - в кінець" і служить для передачі всієї контрольної і управляючої інформації, включаючи інформацію про можливості терміналів, про відкриття і закриття логічних каналів, про вміст таблиці мультиплексування, про рівень трафіку, а також загальні команди і інформаційні повідомлення (індикатори). Як наголошувалося вище, існує лише один контрольний канал для кожного напряму передачі, і він функціонує відповідно до рекомендацій Н.245. Контрольний канал має бути відкритий від моменту встановлення цифрового з'єднання до його закриття.

Рекомендації Н.245 задають чотири класи повідомлень: запити, відповіді, команди і індикатори.

Запит вимагає певної дії від приймача, включаючи і негайне відсилання відповіді.

Команди також вимагають певних дій, але відсилання відповіді не передбачається.

Індикатори - це інформаційні повідомлення, і ніяких дій вони не припускають.

Н.324-термінал зобов'язаний виконувати всі визначені рекомендаціями Н.245 запити і команди, а також повинен безпомилково передавати індикатори, що відображають його стан. Окрім цього, термінал повинен проводити синтаксичний розбір всіх Н.245-повідомлень групи "Multimedia System Control PDU". При зверненні до непідтримуваним терміналом запитам, командам або відповідям їм повинно відсилатися повідомлення "Function Not Supported" (функція не підтримується).

Обмін інформацією про можливості терміналів проводиться процедурами, описаними в рекомендаціях Н.245. Ця інформація формується окремо для характеристики приймальних здібностей терміналу, що передають, і відображає його здатність обробки вхідних потоків. Термінал, що передає, повинен обмежити свої можливості до рівня, заданого характеристиками приймального терміналу. Відсутність інформації про приймальні можливості терміналу говорить про здатність терміналу тільки передавати інформацію.

Інформація про можливості терміналу А необхідна приймаючому терміналу В для того, щоб останній зміг запитати якнайкращий для нього (з можливих) режим передавача терміналу А. Відсутність інформації про здібності передаючого терміналу свідчить про відсутність варіантів вибору, але не про відсутність здібності до передачі.

Описи можливостей терміналу групуються в спеціальні структури даних. Кожен запис в структурі "Alternative Capably Set" відображає один з можливих режимів роботи терміналу. Наприклад, Alternative Capably Set = {G.711, G.723.1, G.728} означає, що термінал може працювати в будь-якому з перерахованих режимів, але не більш, ніж в одному. Структури Alternative Capably Set групуються в структури "Simultaneous Capabilities", реалізовуються можливості терміналу, що відображають одночасно. Наприклад, структури Alternative Capably Set = {Н.261, Н.263} і {G.711, G.723.1, G.728} означають, що термінал може працювати з одним з відеокодеків і одним з аудіокодеків з числа перерахованих в першій і другій структурах відповідно. Структура Simultaneous Capability Set = [{Н.261},{Н.261, H.263},{G.711, G.723.1, G.728}] означає, що термінал має в своєму розпорядженні два відеоканали, один з яких підтримує кодек тільки стандарту Н.261, а другий має в своєму розпорядженні два кодеки, будь-який з яких може бути використаний; аудіоканал у терміналу лише один, і він може функціонувати з одним з трьох перерахованих кодеків.

Повний опис можливостей терміналу міститься в безлічі "Capability Descriptor", кожен елемент якої складається з однієї структури Simultaneous Capability Set і змінній "Capability Descriptor Number". Термінал може направити декілька описувачів типу Capability Descriptor, що означатиме можливість його роботи в більш, ніж одному режимі. Наприклад якщо окрім приведеної вище структури, створюючою Capability Descriptor N1, термінал направляє описувач Capability Descriptor N2 = [{Н.262}, {G.711}], то це означатиме, що він може працювати і в режимі з Н.262 - відеокодеком, але лише спільно з аудіокодеком G.711.

Термінали можуть динамічно змінювати свої можливості в ході конференції, направляючи додатковий описувач Capability Descriptor. Це зміна можливостей терміналу може бути проведене у будь-який момент сесії.

Кожен логічний канал несе інформацію від передавача до приймача і ідентифікується призначенням унікального номера кожному каналу. Логічні канали відкриваються і закриваються за допомогою Н.245-процедур і при цьому генерують повідомлення "Open Logical Channel" і "Close Logical Channel". При відкритті логічного каналу повідомлення Open Logical Channel повністю описує його зміст, тобто містить інформацію про тип даних, використовувані алгоритми їх обробки, про підрівень адаптації мультиплексора і тому подібне, іншими словами все необхідне для того, щоб приймач міг правильно інтерпретувати зміст логічного каналу.

Логічний канал в Н.324-системі є однонаправленим, тобто асиметричний режим роботи каналу є допустимим. Проте якщо приймач виявляється здатним працювати тільки в симетричному режимі, то він повинен відобразити це в повідомленні про свої можливості. Ряд типів даних, включаючи дані документ-конференції і відеопотік, що проходить через підрівень AL3, органічно вимагають двонаправленого каналу для своєї роботи. Для задоволення цієї потреби можуть бути відкриті два логічні канали, поодинці в кожному напрямі. Номери цих каналів будуть різні, оскільки системи нумерації каналів незалежні для кожного напряму.

Контрольний канал має бути таким, що сегментується і використовувати нульовий логічний канал. Всі Н.324-термінали повинні підтримувати передачу контрольних повідомлень Н.245 через рівень адаптації AL1 Н.223-мультіплексора по протоколу SRP (Simple Retransmission Protocol, простий протокол повторної передачі), що гарантує надійність передачі за допомогою повторної передачі помилкових кадрів. Протокол SRP належить до рівня ланки передачі даних для Н.245.

Відеоканали.

Всі Н.324-термінали, що володіють можливостями прийому/передачі рухомого відео, повинні підтримувати два стандарти кодування: Н.261 і Н.263.

Відеокодеки повинні мати можливість обробляти відеопотоки на максимальній швидкості, яку може забезпечити Н.223-мультиплексор (максимальна швидкість V.34-модема для одиночної лінії, подвоєна максимальна швидкість для двох ліній і так далі).

Максимальний формат зображення, мінімальна кількість відкиданих кадрів зображення, вибраний алгоритм обробки і ряд інших параметрів встановлюються в ході обміну повідомленнями про можливості терміналу. Після цього кодер може передавати все, що узгоджується з можливостями декодера. При відкритті логічного каналу приймач отримує інформацію про граничні значення параметрів відеопотоку, які можуть бути реалізовані на цьому каналі. Очевидно, що реальні значення параметрів відеопотоку не повинні перевищувати цих граничних значень. Наприклад, логічний канал відкривався для передачі зображення у форматі CIF. Реальні значення формату зображення можуть бути CIF, QCIF і SQCIF, але не 4CIF або 16CIF. Інформація про реальні значення параметрів кожного кадру зображення міститься в заголовку кадру.

Н.324-термінал повинен підтримувати необхідні кодеки в логічному каналі, що сегментується, і передавати відеопотік через підрівень адаптації мультиплексора AL3. Реалізація можливості повторної передачі має бути передбачена в кодері.

В умовах, коли відеокомунікація підтримується тільки в одному напрямі (прийом або передача), протокол підрівня AL3 все одно повинен отримати зворотний логічний канал. Отже, логічний канал, використовуваний підрівнем AL3, повинен відкриватися Н.245-процедурою, що створює асоційовані логічні канали для обох напрямів передачі.

Хоча рівень AL3 забезпечує механізм повторної передачі для корекції виявлених помилок, що приймає термінал може відмовитися від повторної передачі. Таке рішення може бути ухвалене на підставі:

величини мережевої затримки в передачі пакетів

рівня помилок

участі терміналу в груповій конференції

участі терміналу в обміні з іншими Н.32х-терміналами.

У цей перелік можуть входити і ряд інших чинників.

Аудіоканали.

Термінали, що мають в своєму розпорядженні аудіоможливості, повинні здійснювати низькошвидкісне і високошвидкісне кодування, визначене в рекомендаціях G.723.1 Кодеки повинні також забезпечувати і передачу фреймів мовчання. Синтаксис кадрів аудіопотоку передбачає передачу сигналів від передавача до приймача про вибрану першим швидкість кодування і про режим передачі кадрів мовчання. Відповідно до стандарту G.723.1 перемикання швидкості кодування може здійснюватися на основі змісту кожного фрейма, необхідного рівня якості аудіовідтворення, пропускної спроможності каналу.

Відеокодеки Н.261 і Н.263 породжують значнішу затримку відеопотоку порівняно із затримкою аудіопотоку, що виникає в ході цифрової обробки звукових сигналів в кодеку G.723.1 Через цю різницю затримок виникає ефект розсинхронізації відео- і аудіопотоків. Синхронізація цих потоків не є обов'язковою функцією Н.324-термінала, але для її здійснення може вводиться додаткова затримка аудіопотоку в приймальному терміналі. Термінал, що з цією метою передає, за допомогою Н.245-індікатора Skew Indication повідомляє усереднену величину різниці часів обробки аудіо і відео сигналів. Проміжні пристрої мережі, такі як MCU або міжмережеві адаптери, можуть внести свій внесок до величини розсинхронізації і зобов'язані відповідно змінити значення змінної повідомлення Skew Indication. Приймаючий термінал може використовувати цю інформацію для забезпечення синхронного відтворення аудіо- і відеорядів. У цьому і полягає, власне, функція блоку компенсації затримки аудіоканалу.

Н.324-термінал повинен передавати аудіо-AL-SDU-пакети з частотою fa, визначуваною використовуваним кодеком. Передача кожного нового пакету починається в момент з інтервалу [n*Та, n*Та+10 мс.], де n - порядковий номер пакету, а Ta=l/fa. Таким чином, тривалість аудіопакетів не перевищує 10 мс.

Мультиплексування потоків G.723.1 - кодека реалізується на підрівні адаптації AL2 мультиплексора. Процедура нумерації пакетів є опциональною для підрівня AL2, але її використання в умовах, коли джиттер менше тривалості аудіокадру, не представляється виправданим.

Всі фрейм-орієнтировані кодеки для передачі своїх інформаційних потоків повинні використовувати логічні канали, що не сегментуються. При цьому приймач повідомляє кількість аудіокадрів, яку він здатний прийняти в одному канальному кадрі, а передавач може посилати будь-яке число аудіокадрів в кожному пакеті, але не більше, ніж визначає приймач.

2.3.4 Канали передачі даних. Групові конференції

Канали передачі даних.

До числа стандартизованих додатків обробки даних входять наступні:

двоточкова і групова аудіографічні конференції, що реалізовуються відповідно до сімейства стандартів Т.120, включають можливості доступу до баз даних, передачу нерухомих зображень, передачу файлів у фоновому режимі і т.п.;

двоточкова передача нерухомого зображення (рекомендації Т.84);

двоточкова передача файлів (рекомендації Т.434);

підтримка протоколу Н.221 для управління додатками в реальному часі, зокрема протоколу Н.281 для управління віддаленою відеокамерою;

обробка довільних даних користувача від зовнішнього порту.

Для даних систем КВКЗ обробка даних перерахованих застосувань є факультативною можливістю. Вони можуть розташовуватися на зовнішньому комп'ютері або на якихось інших самостійних пристроях, що приєднуються до Н.324-терміналу по інтерфейсу V.24, або можуть бути інтегровані з терміналом (мал.2.9.).

Мал. 2.9 Інтерфейс додатків|застосувань| обробки даних.

Додатки можуть використовувати перераховані нижче канальні протоколи. У їх числі:.14 з буферизацією для асинхронної передачі даних без корекції помилок;/V.42 (Link Access Procedures for Modems) - для асинхронної передачі даних з корекцією помилок;тунелювання;

прозорий режим передачі даних за допомогою нефрагментуючих або самофрагментируючих протоколів.

Протоколи обробки даних працюють з Н.233 логічними каналами і не роблять безпосереднього впливу на стан фізичних ліній терміналу. Термінал може підтримувати одночасну роботу декількох застосувань і, відповідно, можуть бути одночасно відкриті декілька логічних каналів для передачі даних.

Н.324-термінал, що пропонує будь-який з перерахованих вище протоколів, повинен забезпечити реалізацію його процедур, використовуючи логічний канал, що сегментується, і підрівень адаптації AL1 Н.223-мультиплексора. Можуть використовуватися і інші підрівні адаптації (AL2, AL3), якщо приймач володіє такою можливістю.

Протокол V.14 з буферизацією використовується для перетворення асинхронного потоку символів і команди BREAK, що направляються на інтерфейс V.24, в синхронний бітовий потік.

Протокол V.42 в режимі LAPM по суті вирішує ті ж завдання, що і протокол V.14, але забезпечує ще і корекцію помилок передачі. Слід зазначити, що цей протокол вимагає наявність зворотного каналу. Отже, логічний канал для нього повинен відкриватися Н.245-процедурами, призначеними для створення асоційованих двонаправлених каналів.тунелювання є механізмом реалізації протоколу HDLC на асинхронних послідовних лініях. HDLC-кадри прибувають на V.24-інтерфейс від додатків обробки даних. Якщо інтерфейс V.24 функціонує в синхронному режимі, то з HDLC-кадрів віддаляються доповнюючі нульові біти, і весь зміст кадру від початкового до кінцевого прапорів, виключаючи їх, поміщається в один канальний кадр підрівня AL1 для передачі його на рівень мультиплексування.

Якщо інтерфейс V.24 функціонує в асинхронному режимі, то HDLC-кадры, що приходять на інтерфейс, кодуються як послідовність асинхронних символів з використанням техніки "Байт - стаффінг" замість звичайної для HDLC процедури вставки нульових бітів. Оскільки звичайний послідовний порт персонального комп'ютера не підтримує синхронний режим роботи, то останній режим виявляється практично вельми важливим. Після виконання цих процедур весь вміст HDLC-кадра (без прапорів початку і кінця кадру) поміщається в один фрагментований канальний пакет підрівня AL1 для передачі його на рівень мультиплексування.

У прозорому режимі передачі байти, що приходять на V.24 інтерфейс, повинні поміщатися безпосередньо в байти нефрагментованих пакетів канального рівня із збереженням початкового порядку проходження бітів. Ніякі процедури фрагментації або інші перетворення початкового потоку при цьому не виконуються.

Тепер коротко опишемо додатки обробки даних, які виконуються на зовнішньому комп'ютері, пов'язаному з Н.324-терміналом по інтерфейсу V.24. Додатки, інтегровані з терміналом, можуть не виконувати процедури, що відносяться до підтримки інтерфейсу V.24.

Телеконференції Т.120. Сімейство рекомендацій Т.120, що детально розглядається в наступному розділі, визначає додатки двоточкових і групових телеконференцій, що включають доступ до баз даних, анотування і передачу графічній інформації, сумісне використання додатків, фонову передачу файлів і ряд інших застосувань, що забезпечують можливості спільної роботи розподілених груп. Н.324-термінали, які реалізують описувані застосування, повинні використовувати базисний набір протоколів доступу до ТФОП, визначений рекомендаціями Т.123. Виняток становить процедура обробки HDLC-кадрів, що поступають на інтерфейс V.24 від додатків Т.120, які обробляються по методу тунелювання HDLC-кадрів, описаному вище. Оскільки Т.120 вимагає для функціонування своїх додатків наявності і зворотного каналу передачі, то логічні канали для них повинні відкриватися Н.245-процедурою відкриття асоційованих двонаправлених каналів.

Процедури рекомендацій Т.84 (SPIFF - Still Picture Interchange File Format) забезпечує передачу нерухомого зображення безпосередньо від джерела (цифрова камера), приєднаного до терміналу, що передає, по інтерфейсу V.24, до приймача (наприклад, цифровий принтер), приєднаного до приймаючого терміналу по інтерфейсу V.24. "Безпосередня передача" в даному випадку означає пересилку даних без використання інших застосувань. Для узгодження форматів зображень, підтримуваних обома кінцевими пристроями, використовуються механізми протоколу Н.245. Передача даних реалізується по протоколу LAPM/V.42.

Рекомендації Н.224 визначають протокол управління пристроями в реальному часі. В даний час існує лише одне стандартизоване застосування такого роду, що здійснює управління віддаленою камерою (рекомендації Н.281). Термінали, підтримуючі Н.224-додатки, повинні використовувати HDLC-тунелювання як протокол передачі даних. Допускається існування лише одного логічного каналу, що працює з цим застосуванням. При цьому передбачається, що цей логічний канал працює на швидкості передачі даних 4800 біт/с.

Термінальні процедури.

Комунікаційна взаємодія Н.324-терміналів реалізується наступною послідовністю етапів:

фаза А - встановлення телефонного з'єднання між учасниками

фаза В - початкове узгодження ролей по телефону

фаза С - встановлення цифрового з'єднання

фаза D - ініціалізація терміналів

фаза Е - проведення конференц-обміну

фаза F - завершення сесії конференц-зв’язку

фаза G - додатковий сервіс.

Фаза А - встановлення звичайного телефонного з'єднання. Викликаючий термінал повинен зажадати з'єднання відповідно до процедур аналогової телефонії, прийнятої в конкретній країні.

Фаза В є процедурою звичайного телефонного спілкування між двома учасниками майбутньої конференції, в ході якого узгоджується розподіл ролей терміналів на етапі встановлення цифрового з'єднання.

Фаза С - встановлення з'єднання на рівні цифрового каналу. Основним змістом даного етапу є виявлення модему приймаючого терміналу і з'ясування його характеристик. Якщо викликаючому терміналу не вдається виявити V.34-модем, то встановлення цифрового каналу виявляється неможливим. При цьому термінал, залежно від своєї конфігурації, може:

перейти в звичайний телефонний режим;

розірвати з'єднання;

перейти в іншій, більш відповідний для детектуючого модему режим.

Якщо ж V.34-модем виявляється, і цифрове з'єднання вдається встановити, то термінал переходить до фази D. Фази В і С реалізуються відповідно до рекомендацій V.8 або V.8. bis [48,49].

Фаза D - ініціалізація терміналів. Після встановлення цифрового з'єднання для забезпечення синхронізації каналу посилаються як мінімум 16 HDLC-флагів. Після цього має бути проведена ініціалізація комунікаційної взаємодії між терміналами. Для цього використовується Н.245 - контрольний канал. Оскільки таблиця мультиплексування ще не заповнена, то приймачу відсилається контрольне повідомлення, що використовує нульовий запис таблиці мультиплексування. Потім здійснюється обмін повідомленнями про можливості терміналів (повідомлення Terminal Capability Set) і угодами про роль терміналів (Master Slave Determination), а також персональними номерами терміналів, що відображають їх тип (Terminal Type). Якщо ці процедури обміну не виконуються, вони мають бути повторені, як мінімум, ще двічі, перш ніж термінал припинить спроби з'єднання і перейде до фази G.

Після успішного обміну повідомленнями про можливості терміналів виконуються Н.245-процедури встановлення логічних каналів для різних медіа потоків. Таблиця мультиплексування може бути відіслана до або після відкриття логічних каналів, але передача інформації по цих каналах не може бути почата раніше, ніж ця таблиця буде повністю визначена.

Фаза Е - обмін конференц-повідомленнями. В ході сесії конференц-зв’язку повинне підтримуватися виконання Н.245-процедур зміни атрибутів логічних каналів, режиму прийому і тому подібне.

Протягом сесії можливі зміни модемом швидкості передачі даних і навіть короткочасні розриви з'єднання. У таких ситуаціях термінал не повинен переходити в стадію реініціалізації (фаза D); він повинен зберегти свій стан, визначуваний фазою Е, і реалізувати стандартні процедури корекції помилок, визначувані в рекомендаціях Н.223.

Якщо термінал реєструє несанкціонований, невідновлений розрив цифрового каналу або телефонного з'єднання, він повинен негайно перейти до фази G, аналоговому телефонному режиму або до режиму розриву з'єднання, пропускаючи фазу F.

Фаза F - завершення сесії конференц-зв’язку. Будь-який з терміналів може ініціювати закінчення сесії. Що ініціює закінчення сесії термінал повинен виконати наступні процедури:

що існує в кожному логічному відеоканалі на момент завершення сесії потік має бути перерваний лише після завершення передачі повного кадру, після цього логічний канал може бути закритий;

мають бути закриті всі існуючі канали, що несуть аудіопотоки і дані додатків;

повинно бути передано Н.245-повідомлення "End Session Command" і припинено відсилання всіх Н.245-повідомлень;

після отримання підтвердження прийому повідомлення "End Session Command" від видаленого терміналу термінал, що ініціює, переходить до фази G.

Фаза G - додатковий сервіс і звільнення виклику. Ця фаза визначає можливі дії терміналу при несанкціонованому розриві з'єднання, при зміні режиму цифрового каналу і завершальні операції при штатному завершенні конференції.

Групові конференції.

Н.324-термінали можуть брати участь в груповій конференції за допомогою встановлення з'єднання з модулем управління груповими конференціями MCU. Схема такої конференції в її загальному вигляді представлена на мал.3.26. MCU за допомогою розсилки Н.245-повідомлень "Multipoint Mode Command", що містить тільки бажаний режим передачі, може забезпечити встановлення загального режиму віщання у всіх терміналів, що беруть участь в сесії. Всі термінали зобов'язані виконати установки, що містяться у вказаному повідомленні.

Мал. 2.11. Схема організації багатоточкової конференції.

Аналогічним чином за допомогою Н.245-повідомлень "Flow Control Command" MCU може встановити ті швидкості роботи модемів на кожній лінії, які можуть бути оброблені відповідними приймальними пристроями.

У багатоточковій конференції кожен термінал може посилати різні значення в Н.223 - повідомленнях "Skew Indication", які використовуються для синхронізації взаємозв'язаних аудіо- і відеорядів. Оскільки MCU може вносити свій внесок до величини розсинхронізації цих потоків, MCU повинен розсилати уточнені значення цього повідомлення.

Слід зазначити, що механізми каскадного з'єднання MCU є достатньо складною проблемою і знаходяться ще в стадії розробки

Висновки

Проаналізувавши технологію термінального доступу, його практичну реалізацію та способи його моніторингу, дійшов висновку, що це досить актуальна і корисна технологія в інформаційних мережах доступу. яка має свої переваги і недоліки.

Важливою превагою в термінальному доступі до сервера є його віддалений моніторинг, який позбавляє адміністратора прив’язуватися до місця розташування сервера та шуму в серверній.

Розглянувши існуючі серверні операційні системи переконався в достатній кількості засобів та служб моніторингу загрузки сервера, як вбудованих так і спеціальних програм.

Використання програм моніторингу та вбудованих в операційну систему служб дає чіткіше відображення продуктивності сервера, а саме, завантаження ЦП, ОП та дискової пам’яті.

А програмний модуль RemotlyAnywhere - віддаленого доступу до сервера, не тільки здійснює моніторинг, а й дозволяє здійснювати повний віддалений контроль над сервером, що переносить на новий рівень адміністрування сервера та інформаційної мережі в цілому.

Розділ 3. Практична реалізація термінального доступу до сервера та використання програмних додатків для його моніторингу


3.1 Встановлення та налаштування Windows Server 2003


Встановлення здійснюємо із завантажувального компакт-диска. Вибравши у діалоговому вікні (Рис.3.1) перший пункт, натиснувши "Enter".

Рис.3.1

Для сімейства Windows Server 2003 рекомендується використовувати файлову систему NTFS на усіх розділах (Рис.3.2). При виборі файлової системи NTFS програма Setup відформатує жорсткий диск.

Рис.3.2

Щоб почати установку Windows Server 2003, програма Setup в першу чергу завантажує саму операційну систему з дистрибутивного компакт-диска. Windows Server 2003 приймає управління і виконує розпізнавання встановлених на комп'ютері апаратних засобів. Далі за підказками програми Setup закінчується встановлення ОС.

Після встановлення і активації Windows можна настроїти сервер, використовуючи добре продуману сторінку Управление данным сервером, яка автоматично відкривається при вході в систему. Ця сторінка спрощує установку деяких служб, інструментів і конфігурацій залежно від ролі сервера.

Натиснувши кнопку Добавить или удалить роль (Add Or Remove A Role), з'явиться вікно Мастера настройки сервера (Configure Your Server Wizard).

Якщо встановити перемикач Типовая настройка для первого сервера (Typical Configuration For A First Server), майстер зробить сервер контролером нового домена, встановить служби Active Directory і при необхідності служби DNS (Domain Name Service), DHCP (Dynamic Host Configuration Protocol) і RRAS (Routing And Remote Access).

Якщо встановити перемикач Особая конфигурация (Custom Configuration), майстер може настроїти наступні ролі:

Файловый сервер (File Server). Забезпечує централізований доступ до файлів і каталогів для користувачів, відділів і організації в цілому. Вибір цього варіанту дозволяє управляти призначеним для користувача дисковим простором, шляхом включення і налаштування засобів управління дисковими квотами і прискорити пошук у файловій системі за рахунок активізації Служби індексування (Indexing Service).

Сервер печати (Print Server). Забезпечує централізоване управління друкуючими пристроями, надаючи клієнтським комп'ютерам доступ до загальних принтерів і їх драйверів.

Сервер приложений IIS, ASP.net (Application Server IIS, ASP.net). Надає компоненти інфраструктури, які вимагаються для підтримки розміщення Web - додатків.

Почтовый сервер РОРЗ, SMTP (Mail Server РОРЗ, SMTP). Встановлює РОРЗ і SMTP, щоб сервер міг виступати в ролі поштового сервера для клієнтів РОРЗ.

Сервер терминалов (Terminal Server). Дозволяє безлічі користувачів за допомогою клієнтського ПЗ Служби терміналів (Terminal Services) або Дистанційне керування робочим столом (Remote Desktop) підключатися до додатків і ресурсів сервера, наприклад принтерам або дисковому простору, начебто ці ресурси були встановлені на їх комп'ютерах.

Сервер удаленного доступа или VPN-сервер (Remote Access/VPN Server). Забезпечує маршрутизацію по декількох протоколах і служби віддаленого доступу для комутованих, локальних (LAN) і глобальних (WAN) обчислювальних мереж. Віртуальна приватна мережа (virtual private network, VPN) забезпечує безпечне з'єднання користувача з віддаленими вузлами через стандартні інтернет-з'єднання.

Контроллер домена Active Directory (Domain Controller Active Directory). Надає служби каталогів клієнтам мережі. Цей варіант дозволяє створити контроллер нового або існуючого домена і встановити DNS.

DNS Server (DNS - сервер). Забезпечує дозвіл імен вузлів: DNS - імена перетворяться в IP - адреси (прямий пошук) і назад (зворотний пошук).

DHCP - сервер (DHCP Server). Надає служби автоматичного виділення IP - адрес клієнтам, налаштованим на динамічне отримання IP - адрес.

Сервер потоков мультимедиа (Streaming Media Server). Надає служби WMS (Windows Media Services), які дозволяють серверу передавати потоки мультимедійних даних в мережі або через інтернет.

Нам потрібні: сервер додатків, сервер терміналів, контролер домена Active Directory.

3.2 Настройка термінального доступу до сервера

Служби терміналів є додатковим компонентом систем сімейства Windows Server 2003. Служба терміналів дозволяє використовувати графічний інтерфейс Windows на віддалених пристроях, підключених до локальної мережі, глобальної мережі або Інтернету.

Служби терміналів можуть працювати в двох режимах:

) Remote Desktop for Administration (раніше відомий як Terminal Services in Remote Administration mode). Цей режим призначений для надання операторам і адміністраторам можливості віддаленого доступу до серверів і контроллерів доменів. Сервер, налагоджений для віддаленого адміністрування не вимагає додаткового ліцензування, в цьому режимі можливо тільки два одночасних підключень.

) Terminal Server mode

Цей режим не має обмежень по кількості підключень, але вимагає додаткового ліцензування.

Використовуючи сервер терміналів, видалені користувачі можуть запускати програми, зберігати файли і користуватися ресурсами мережі так, як ніби ці ресурси встановлені на їх комп'ютерах. Встановлюючи програми на сервері терміналів, можна бути упевненим в ідентичності версій програми, використовуваних користувачами.

Після встановлення сервера терміналів необхідно:

·        Настроїти сервер ліцензій сервера терміналів.

·        Встановити програми на сервері терміналів.

·        Створити користувачів і задати які з них отримають дозвіл на підключення до сервера терміналів.

За допомогою "Мастера активации сервера лицензий сервера терминалов" (Рис.3.4.) здійснюємо ліцензування, отримуємо код на вказаному сайті activate. microsoft.com, вказавши кількість необхідних клієнтів.

Рис.3.4 Активація сервера терміналів.

Далі за допомогою Active Directory Пользователи и компьютеры створюємо користувачів, та визначаємо їм права користування.

Рис.3.5 Active Directory.

Добавляємо їх в групу Пользователей удаленного рабочего стола.

Користувач запускає клієнт віддаленого робочого столу mstsc.exe і з'єднується з сервером. Створюється термінальна сесія. Відкривається процес Userinit.exe.

Він стартує Rdpinit. exe, керівник Rdpshell. exe. Rdpshell. exe - це оболонка, яка використовується при роботі з віддаленими додатками замість Windows Explorer (explorer. exe).

Між клієнтською і серверною складовою встановлюється віртуальний канал. Він використовується для передачі даних між сервером і клієнтом. Rdpinit. exe перевіряє список дозволених для запуску додатків. Якщо він дозволений, термінальний сервер запускає його. Створюється вікно додатка. Rdpshell. exe взаємодіє з вікном додатка і передає дані термінальному клієнтові.

Термінальний клієнт створює вікно, яке повністю ідентично невидимому вікну додатка на термінальному сервері. З цієї миті користувач може працювати з додатком в звичайному режимі.

З боку клієнта, ключовою технологією при роботі з віддаленими додатками являється RemoteApps Integrated Locally (RAIL). Це розширення RDP - протокола, що дозволяє повну інтеграцію з робочим столом користувача.

Сесія віддаленого доступу залишається активною коли існує хоч би одне активне вікно в цій сесії. Активне вікно може бути в будь-якому стані (розгорнуте, згорнуте, відновлене). Крім того, віддалене застосування, якому належить вікно, може бути запущене як безпосередньо користувачем, так і в результаті роботи із вже запущеним застосуванням.

У випадку, якщо виявлено, що в сесії немає запущених віддалених застосувань, слідує 20-ти секундна пауза. Під час неї користувач може запустити іншу віддалену програму на тому ж самому сервері. Якщо додаток не запущений в цьому періоді, сесія буде відключена.

Відкриття відключеної сесії відбувається набагато швидше чім створення нової. За умовчанням, сесії RemoteApp можуть нескінченно залишатися у відключеному стані.

Рис. 3.8 Алгоритм відключення сесії.

Також на сервері встановлюємо програми моніторингу навантаження, це Overload Monitor, RemotelyAnywhere.Monitor (Рис.3.9) - звичайна утиліта, яка не викликає проблем при встановленні, інсталюється за допомогою Мастера установки.

Рис. 3.9 Overload Monitor

- програма відділеного доступу до сервера, для його контролю і моніторингу. Вана працює не використовуючи сервер термінального доступу, а використовуючи браузер будь-якого комп’ютера локальної мережі.

Необхідно тільки встановити її на сервері, вхід здійснюється веденням ip-адреси сервера браузеру, після ведення відповідних даних у полях: імені і пароля користувача, відкривається сеанс.

3.3 Порівняння існуючих систем віддаленого доступу з термінальним доступом


Системи віддаленого доступу - програми, або функції операційних систем, що дозволяють дістати віддалений доступ до комп'ютера через інтернет або ЛОМ і здійснювати управління і адміністрування віддаленого комп'ютера в реальному часі. Програми віддаленого адміністрування надають майже повний контроль над віддаленим комп'ютером: вони дають можливість віддалено управляти робочим столом комп'ютера, можливість копіювання або видалення файлів, запуску додатків і так далі.

Існує безліч реалізацій програм віддаленого адміністрування. Усі реалізації відрізняються по інтерфейсу і використовуваним протоколам. Інтерфейс може бути візуальний або консольний. Одними з найпопулярніших і поширеніших програм є:

·        Windows Remote Desktop Services з клієнтом Remote Desktop Connectio;

·        Radmin;

·        DameWare;

·        Remotely Anywhere;

·        Team Viewer.

Таблиця 1. Порівняння віддаленого доступу.

 Об’єкт

Протокол

Режим роботи

Вбудоване шифрування

Передача файлів

Передача звуку

Багато користувачів

Remote Desktop Services/ Terminal Services

RDP

Клієнт & Сервер

так

так

так

так

Remotely Anywhere

власний

Клієнт

SSL

так

так

Ні (використання одного сеанса)

Team Viewer

власний

Клієнт & Сервер

AES-256

так

так

так


Здійснивши інсталяцію Windows Server 2003, переконався у простоті його встановлення та налаштування і в той же час з досить великим набором програмних додатків і служб для корпоративного використання.

Додатково були встановлені Сервер терміналів, Контролер домена Active Directory, Сервер додатків. Був налаштований Сервер терміналів, та провів ліцензування за допомогою Сервера ліцензування сервера терміналів.

Задопомогою Контролер домена Active Directory були створені користувачі, які отримали права доступу.

Також були інстальовані програми для моніторингу завантаження сервера, які будуть запускатись за допомогою термінального доступу.

сервер термінальний доступ моніторинг

Висновки


В ході кваліфікаційної роботи були розглянуті та проаналізовані існуючі технології віддаленого доступу, та засоби і способи моніторингу завантаження серверу. Ці технології можуть застосовуватись у ЗСУ для віддаленого моніторингу завантаження сервера.

Були з’ясовані цілі застосування моніторингу завантаження сервера, це забезпечення мінімального часу простою та покращення його послуг, а також відстежування поточного стану. А віддалений моніторинг позбавляє адміністратора від некомфортної обстановки в серверній та дає можливість доступу з любого місця мережі. Також були помічені тенденції у використанні віртуальних серверів.

Широкого застосування набув термінальний доступ, так як дає можливість використовувати ресурси сервера, запускати на ньому додатки. Ця технологія не дорога, дозволяє використання застарілих на наш час комп’ютерів, але має й недолік: при виході з ладу сервера вся система є непрацездатною.

Були розглянуті серверні операційні системи та їх засоби моніторингу, досить широкій набір nixяк в сімействі Windows так і Unix. Також існують і спеціалізовані програми моніторингу завантаження сервера.

Практично реалізовано технологію термінального доступу, на основі операційної системи Windows Server 2003 налаштований термінальний сервер, здійснене ліцензування, встановлені програми моніторингу завантаження.

Після встановлення віддаленого доступу до сервера, здійснили його моніторинг завантаження як вбудованими засобами так і спеціалізованими.

В результаті було визначено що віддалений моніторинг є невід’ємною частиною адміністрування сервера.

Список використаної літератури


1.       Грейсон Митчем. Полное руководство по терминальным службам Windows Server 2003.2003 - 122с.

2.       Кэти Айвенс. Windows Server 2003 полное руководство. - Москва 2004 - 895с.

.        Станек У.Р. Windows Server 2003 // Справочник администратора - Москва 2004 - 643с.

.        Петр Шетка. Windows Server 2003 // Практическое руководство по настройки сети - Санкт-Петербург 2006 - 600с.

.        Макин Дж.С. Внедрение, управление, поддержка сетевой инфраструктуры Windows Server 2003 // Учебный курс MCSA. - Москва 2004 - 617с.

.        Дуглас Мауро, Кевин Шмидт. Основы SNMP - Москва 2011 - 520с.

.        Корячков В.П. Корпоративные сети: технологии, протоколы, алгоритмы. - Санкт-Петербург 2011 - 216с.

.        Эд Уилсон. Мониторинг и анализ сетей. Методы выявления несправностей. - Москва 2002 - 364с.

.        Збірник наукових праць КВІУЗ. - Київ: 2001.

.        Кулаков Ю.А. Компьютерные сети. Выбор, установка, использование, администрирование - Киев: Юниор, 1999.

Похожие работы на - Моніторинг завантаження сервера за допомогою термінального доступу

 

Не нашли материал для своей работы?
Поможем написать уникальную работу
Без плагиата!
Без нейросетей!