Расчет сечений кабельных линий

  • Вид работы:
    Курсовая работа (т)
  • Предмет:
    Физика
  • Язык:
    Русский
    ,
    Формат файла:
    MS Word
    67,84 Кб
  • Опубликовано:
    2014-07-25
Вы можете узнать стоимость помощи в написании студенческой работы.
Помощь в написании работы, которую точно примут!

Расчет сечений кабельных линий

1. Расчет сечений кабельных линий


Выбор сечений кабельных линий необходим для определения их сопротивлений и дальнейшего расчета токов КЗ. Выбор КЛ производим по нагреву и проверяем по термической стойкости:


Допустимый ток:


Выбираем кабель с алюминиевыми жилами марки АПвБВнг сечением жилы 70 мм2 для кабельных линий W2 и W3 по таблице 1.3.5 [1] для данного кабеля: Iдоп = 135 А, Rо = 0,42 Ом/км, Хо = 0,086 Ом/км.

2. Расчет токов короткого замыкания


Расчет токов КЗ будем проводить в соответствии с методами рассмотренными в дисциплине «Переходные процессы в системе электроснабжения».

Выбираем базисные условия:

Sб = 100 МВА;

UбI = 110 кВ;

UбII = 10 кВ;

UбIII = 0,4 кВ.

Определяем базисные токи:

,


Составим эквивалентную схему замещения системы электроснабжения:

Рисунок 1 - Эквивалентная схема замещения электрической системы

Расчет элементов схемы замещения:

Система:


Линия W1:


Сопротивление трансформаторов Т1 и Т2 определяется для крайних положений РПН, т.е. для максимального и минимального режимов работы:


где  - напряжения КЗ, %, при крайних положениях РПН трансформатора по таблице 3.1 [5].

Трансформаторы Т3, Т4, Т5, Т6:


Двигатель М1:


EМ1 = 0,9 o.e. - для асинхронного двигателя.

Двигатель М2:


EМ1 = 1,1 o.e. - для синхронного двигателя.

Нагрузка: ES1 = 0,85 о.е.

S2 = 0,85 о.е

Р1 = 0,85 о.е

Р2 = 0,85 о.е


Линии W2, W3



Рассчитаем ток КЗ для точки К1:

Рисунок 2 - Схема замещения для точки K1


Упрощаем схему зам

Рисунок 3 - Упрощенная схема замещения для точки К1


Упрощаем схему замещения:

Рисунок 4 - Упрощенная схема замещения для точки К1


Рассчитаем ток КЗ для точки К2:

Рисунок 5 - Упрощенная схема замещения для точки К2

Для расчета КЗ в точке К2 будем использовать данные найденные при расчете КЗ в точке К1, и получим следующие токи:


Рассчитаем ток КЗ для точки К3:

Рисунок 6 - Схема замещения для точки K3


Упрощаем схему замещения:

Рисунок 7 - Упрощенная схема замещения для точки K3


Рассчитаем ток КЗ в точке К4:

Для расчета КЗ в точке К4 будем использовать данные найденные при расчете КЗ в точке К3, и получим следующие токи:

Рисунок 8 - Упрощенная схема замещения для точки K4


Таблица 1 - Расчетные токи короткого замыкания

Место КЗ.

U, кВ

При РПН тр-ра в минимальном режиме

При РПН тр-ра в максимальном режиме

Точка К1

110

8850 А

8880А

Точка К2

10

11320А

18740А

Точка К3

10

4730А

5740А

Точка К4

0,4

49440А

52680А

 

3. Выбор устройств релейной защиты и автоматики


Для защиты одиночных линий 110 кВ с односторонним питанием принимаем:

) от междуфазных КЗ - трехступенчатая дистанционная защита;

) от КЗ на землю - трехступенчатая токовая защита нулевой последовательности.

Для двухобмоточного трансформатора Т1 с мощностью S= 25МВА, предусмотрены устройства релейной защиты от следующих видов повреждений и ненормальных режимов работы:

1) дифференциальная токовая защита без выдержки времени;

) защиту от внешних КЗ - МТЗ, которая одновременно является резервной для дифференциальной токовой защиты;

) защиту от перегрузок;

) Газовая защита от межвитковых замыканий и снижения уровня масла.

Для защиты кабельной линии W2 используются:

) от междуфазных КЗ - 2-х ступенчатая токовая защита (токовая отсечка и МТЗ)

) от ОЗЗ используется токовая защита нулевой последовательности.

Для защита трансформатора Т3 с мощность 2,5 МВА предусматривается:

1) от междуфазных КЗ на выводах и части обмоток: ВН - токовая отсечка; от КЗ в обмотках НН, вводах и внешних КЗ - МТЗ;

2) от КЗ на землю используется специальная защита нулевой последовательности.

Для асинхронного двигателя М1 мощностью Рн = 800 кВт выбраны следующие виды защит:

1)  Токовая отсечка от междуфазных КЗ на выводах и в обмотках статора;

2)       защита от перегрузок;

)         защита от снижения напряжения.

)         защита от однофазных замыканий на землю в обмотке статера.

4. Расчет защиты асинхронного двигателя

Исходные данные:

P=800 кВт; U=10 кВ; kпуск=5;

cosφ=0,85; ή=0,9; k(3)мин=11320 А, k(3)мах=18740А.

Выбираем следующие виды защит:

от междуфазных повреждений в статоре (токовая отсечка);

от перегрузок;

от снижения напряжения.

Рисунок 9 - Двухрелейная двухфазная защита на реле типа РТ-84

Расчет токовой отсечки

Первичный ток срабатывания токовой отсечки выбирается по условию отстройки от пускового тока электродвигателя  по формуле:


где - коэффициент отстройки для реле РТ-84;

- номинальный ток АД М1, определяемый по выражению:


Выбираем трансформатор ТПЛ-10, с kта=100/5.

Ток срабатывания реле токовой отсечки:

,

где  при включении реле на токи фаз ТТ;

 - коэффициент трансформации трансформаторов тока;

 - первичный ток срабатывания защиты.

Определим коэффициент чувствительности:


где  - минимальное значение тока двухфазного КЗ;

 - ток срабатывания реле защиты;

Коэффициент чувствительности должен быть больше или равен 2.

Расчет защиты от перегрузок

Данный вид защиты выполнен на индукционном механизме реле РТ-84, с ; время уставки принимается равным времени пуска.

Ток срабатывания защиты:


Ток срабатывания реле:         


Время срабатывания защиты:


Коэффициент защиты от перегрузок не определяется, т. к. она не предназначена для действия при КЗ.

Расчет токовой защиты нулевой последовательности

Данный вид защит применяется тогда, когда ток замыкания на землю больше 10 А, так как течет емкостной ток Iс, что ведет к выгоранию изоляции и переходу замыкания на землю в другой вид короткого замыкания.

Трансформаторы тока в данной защите - трансформаторы тока нулевой последовательности, реагирующие только на токи нулевой последовательности. В качестве реле используется реле РТЗ-51, которое реагирует на токи нулевой последовательности.

При выполнении защиты на реле РТЗ-51 и превышении током уставки значения 5А в ячейке следует установить два трансформатора тока нулевой последовательности и соединить их вторичные обмотки последовательно.

Ток срабатывания данной защиты отстраивается от емкостных токов, которые задаются, по формуле:


где kб - коэффициент броска, для реле РТЗ-51 kб =3¸4; принимаем kб = 3,5;

k отс = 1,2 - коэффициент отстройки;

Iс - емкостной ток присоединения.

Первичный ток срабатывания защиты принимается равным расчетному:

Iсз= Iсз.расч.

Значение емкостного тока определяется следующим образом:

,

где Iс.прис - собственный емкостной ток электродвигателя, таблица 13.1 [6];

Iс.л - собственный емкостной ток КЛ, входящей в зону защиты. Значения емкости фазы статора электродвигателя относительно земли принимаются по данным завода-изготовителя.

Собственный емкостной ток КЛ, входящей в зону защиты, определяется по выражению:


где l - длина линии, км; m - число кабелей в линии;

Iс.уд = 3·I0.уд - собственный емкостной ток единичной длины КЛ, зависящий от сечения кабеля, А/км, таблица 10.1 [6].

Для повышения чувствительности трансформатор тока нулевой последовательности имеет обмотку подмагничивания, ампер-витки которой смещают рабочую точку в линейную область кривой намагничивания, тем самым увеличивается ток в реле.

Защита от снижения напряжения

Напряжение срабатывания первой ступени защиты выбирается по условию обеспечения самозапуска ответственных электродвигателей и возврата реле при восстановлении напряжения после отключения КЗ и принимается: = 70 В.

Выдержка времени первой ступени защиты отстраивается от действия токовых отсечек электродвигателей и принимается = 0,5 с.

5. Расчет защиты кабельной линии W2 10 кВ


Исходные данные:

k(3)махК2=18740 А, k(3)минК3=4730А,

k(3)махК3=5740 А, k(3)минК4=49440 А

Кабельная линия W2 выполнена кабелям марки АПвБВнг(А) - LS-10 сечением жилы 70 мм2, длиной 800 м, для данного кабеля: Iдоп = 135 А, Rо = 0,42 Ом/км, Хо = 0,086 Ом/км.

Выбираем следующие виды защит:

Для защиты КЛ W3 от междуфазных КЗ используется 2-х ступенчатая токовая защита: 1 ступень - токовая отсечка; 2 ступень - МТЗ.

Для защиты от однофазных замыканий на землю используется токовая защита нулевой последовательности (ТЗНП).

Рисунок 10 - Схема токовой отсечки

Токовая отсечка выполняется на реле типа РТ-40. Ток срабатывания защиты отстраивается от тока короткого замыкания, протекающего по КЛ в максимальном режиме работы линии и определяется по формуле:


где: Kотс = 1,3 - коэффициент отстройки для РТ-40;

Время срабатывания первой ступени защиты (ТО) отстраивается от времени срабатывания разрядников и принимается равным tсз = 0,1 с.

Для определения зоны LI, защищаемой первой ступенью, построим график зависимости токов в реле при трехфазных КЗ от расстояния.

Рисунок 11 - Определение длины зоны, защищаемой первой ступенью ТО

Из рисунка 11 видно, что токовая отсечка защищает около 71% линии.

Расчет МТЗ

Ток срабатывания максимальной токовой защиты:


где Iраб.мах - максимальный рабочий ток принимается равным предельно допустимому току кабельной линии, = 135 A;

Определим коэффициент самозапуска двигательной нагрузки Kзап.

Для этого составим расчетную схему замещения (рисунок 12).


Сопротивление элементов схемы в именованных единицах:

;

;

;

.

Ток самозапуска:

.

Коэффициент самозапуска:


Ток срабатывания МТЗ:        


Выбираем трансформатор тока типа ТПЛ-10 с KТА = 600/5.

Ток срабатывания реле:


Выбираем реле РТ-40/6.

Коэффициент чувствительности МТЗ как основной:

,

где Iр.min - ток в реле при двухфазном КЗ в конце защищаемого участка в минимальном режиме работы системы; определяется по выражению:


Определим коэффициент чувствительности МТЗ как резервной защиты:


Время срабатывания МТЗ:

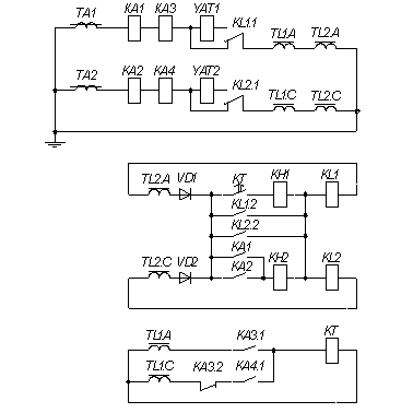
Рисунок 13 - Принципиальная схема двухступенчатой токовой защиты с независимой характеристикой выдержки времени

Рассмотрим в качестве примера КЗ в конце КЛ.

При КЗ в конце линии сработает реле КА3 (КА4) - это МТЗ. Происходит увеличение тока в линии и, соответственно, тока во вторичных обмотках трансформаторов тока ТА. При достижении величины вторичного тока свыше уставки реле КА3 (КА4), своими контактами КА3.1 (КА4.1) создаст цепь питания реле времени КТ от вторичной обмотки промежуточного трансформатора TL1.A (TL1.C). Реле времени начинает отсчет времени, по истечении которого реле КТ замкнет свой контакт, который создает цепь питания катушки реле KL1 (KL2) от вторичной обмотки промежуточного трансформатора TL2.А (TL2.С). Реле KL1 (KL2) сработает, своими контактами KL1.1 (KL2.1) производит дешунтирование катушки отключения YAT1 (YAT2). Выключатель отключит поврежденную линию.

6. Расчет защит трансформатора Т3 10/0,4 кВ


Исходные данные:

Трансформатор 10/0,4 кВ; S=2,5 МВА

k(3)мин=49440 А, k(3)мах=52680А.

Выбираем следующие виды защит:

- двухступенчатая токовая защита от междуфазных КЗ: ТО и МТЗ.

- защита нулевой последовательности от КЗ на землю на стороне 0,4 кВ.

Расчет токовой отсечки

Ток срабатывания защиты:

,

где = 1,3 для реле РТ-40;

Рисунок 14 - Схема защиты трансформатора 10/0,4 кВ

сечение замыкание трансформатор дешунтирование

Ток срабатывания реле:         

.

Выбираем трансформатор тока по номинальному току:

.

.

Выбираем трансформатор тока типа ТПЛ-10 с коэффициентом трансформации .

Ток срабатывания реле:

.

Выбираем реле типа РТ-40/50.

Коэффициент чувствительности токовой отсечки:

,

где .

Время срабатывания токовой отсечки tс.з. = 0,1 с.

Расчет МТЗ

Ток срабатывания максимальной токовой защиты:

,

где = 1,2 коэффициент отстройки для реле РТ-40;

kв = 0,85 коэффициент возврата для реле РТ-40.

Ток срабатывания реле:

.

Выбираем реле РТ-40/20.

Коэффициент чувствительности МТЗ:

,

где .

Время срабатывания МТЗ:

.

 

Расчет защиты нулевой последовательности

Для трансформатора Y /Y0 ток срабатывания защиты выбирается из условия отстройки от максимального тока небаланса в нулевом проводе:

,

где - номинальный ток трансформатора, приведенный к стороне 0,4 кВ:


Трансформатор тока выбираем по току небаланса :

.

Выбираем трансформатор тока с коэффициентом трансформации KТА = 1000/5.

Ток срабатывания реле:

.

Выбираем реле РТ-40/10.

Время срабатывания защиты нулевой последовательности можно не согласовывать с защитами от однофазных КЗ на землю отходящих линий » 0,1 с.

Список литературы

1. Правила устройства электроустановок. - 7-ое изд. перераб. и доп. - М.: Энергоатомиздат, 2003.

2. Шабад М.А. Расчеты релейной защиты и автоматики распределительных сетей. - Л.: Энергоатомиздат, 2003.

3. Кривенков В.В., Новелла В.Н. Релейная защита и автоматика систем электроснабжения. - М.: Энергоатомиздат, 1981.

4. Электрическая часть станций и подстанций: Учебник для вузов/А.А. Васильев, И.П. Крючков, Е.Ф. Наяшкова и др.; Под ред. А.А. Васильева. - М.: Энергия, 1980. - 608 с., ил.

5. Биткин И.И. Руководство по решению задач. Йошкар-Ола, 2001.

6. Биткин И.И. Релейная защита и автоматика систем электроснабжения. Учебное проектирование. Учебное пособие. / Мар. гос. ун-т. - Йошкар-Ола, 2000. - 132 с.


Не нашли материал для своей работы?
Поможем написать уникальную работу
Без плагиата!
Без нейросетей!