Цифровой таймер для насоса

  • Вид работы:
    Курсовая работа (т)
  • Предмет:
    Информатика, ВТ, телекоммуникации
  • Язык:
    Русский
    ,
    Формат файла:
    MS Word
    190,11 Кб
  • Опубликовано:
    2014-02-09
Вы можете узнать стоимость помощи в написании студенческой работы.
Помощь в написании работы, которую точно примут!

Цифровой таймер для насоса

Министерство образования и науки Украины










Пояснительная записка к курсовому проэкту

Цифровой таймер для насоса













2013

Реферат

В данном курсовом проэкте рассмотрен принцип работы цифрового устройства, разработан алгоритм его работы, а также принципиальная схема. Расчитаны размеры печатной платы, и параметры отдельных элементов. На отдельных чертежах представлены схемы: структурная, принципиальная, печатная, сборочный чертёж, а также корпус устройства. Составлен перечень элементов. Расчитан источник питания, рекомендуемый для использования, совместно с данным устройством.

цифровой таймер насос плата

 Содержание


Введение

. Анализ технической задачи и предметной области

. Описание принципа построения и работы устройства

.1 Разработка структурной схемы и алгоритма функционирования устройства

.2 Разработка принципиальной схемы

2.3 Разработка печатной платы

.4 Организация электрического питания

3. Технологический маршрут изготовления устройства

Выводы

Список используемой литературы

Введение

Устройства способные облегчить жизнь в быту, уже давно заполнили наши дома. Данное устройство, как раз одно из таких, и предназначено для периодического запуска и остановки насоса, подающего воду из колодца в резервуар, обеспечивающий водой водопровод в частном доме. Процесс полностью автоматизирован, и нет необходимости постоянно следить за уровнем воды в резервуаре - устройство контролирует и поддерживает заданный уровень воды в ёмкости. Использование микроконтроллера позволило повысить его надёжность, а также построить малогабаритную, и легко повторяемую конструкцию.

1. Анализ технической задачи и предметной области

Конструктивно оборудование устройства состоит из датчика который, должен срабатывать при достижении максимального уровня воды, микроконтроллера с коммутационным блоком, служащих для обработки сигнала с датчика и установки продолжительности непрерывной работы насоса и продолжительности паузы от его выключения до повторного включения, а также блока вывода информации. Исполнительная часть устройства представлена реле, контакты которого и должны включать или выключать питание насоса.

Питание осуществляется источником постоянного тока 9-12вольт, например, сетевым блоком питания. В схеме таймера предусмотрена защита от переполюсовки, а также снабжена стабилизатором напряжения, дабы избежать выхода из строя компонентов схемы, при неправильном подключении, или скачками напряжения, поэтому блок питания можно использовать самый простой. Таймер потребляет ток не более 500мА.

2. Описание принципа построения и работы устройства

.1 Разработка структурной схемы и алгоритма функционирования устройства

Схема электрическая структурная дает полное представление о функционировании проектируемого устройства. Определяет общий состав и организацию связей между функционирующими узлами.

Разрабатывая структурную схему, следует использовать принципы системного подхода, которые представляют такие положения:

выполняется функциональная декомпозиция общей задачи проектирования на отдельные задачи.

проектируемое устройство представляет собой совокупность функциональных узлов и процессов, которые взаимодействуют между собой, и направлены на достижение определённой цели.

проектируемое устройство представляется в виде иерархической системы, которая описывается несколькими уровнями детализации.

При разработке схемы цифрового таймера для насоса определяем основные блоки:

Датчик;

Микроконтроллер;

Коммутационный блок;

Блок ключа;

Дешифратор;

Исполнительный элемент;

Индикатор времени.

Датчик представляет собой обычный выключатель к которому прикреплён рычаг с поплавком, который предназначенный для автоматического выключения насоса.

Микроконтроллер - это почти микрокомпьютер в которому имеется и ОЗУ и ПЗУ. Собственно он и является мозговым центром данного устройства. Его роль в данном устройстве - производить вычисления, а также генерацию логических сигналов.

Коммутационный блок- это самовозвратные кнопки, задающие время, и режим работы насоса.

Блок ключа содержит в себе транзисторный ключ, который предназначен для включения электромагнитного реле, которое при поступлении в его обмотку напряжения включает насос.

Дешифратор - это цифровая микросхема, которая превращает формируемый микроконтроллером двоичный трёхрозрядный код номера знакоместа в сигналы, подаваемые на катоды индикаторов для их поочерёдного включения.

Элементом исполнения в схеме, является реле, включающее насос.

Элементами индикации являются трёхрозрядные индикаторы, которые показывают состояние работы устройства.

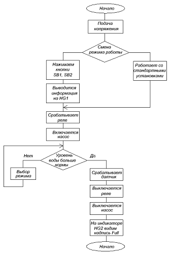
Структурная схема разрабатываемого устройства изображена на рисунке 2.1.1

Рисунок 2.1.1 -Схема электрическая структурная

Согласно данной структурной схемы, разработаем алгоритм функционирования устройства.

На рисунке 2.1.2 изображен алгоритм функционирования данного устройства.

Продолжительность непрерывной работы насоса, и продолжительность паузы от его выключения, до повторного включения устанавливают при помощи двух кнопок. Эти значения сохраняются в энергонезависимой памяти микроконтроллера, поэтому нет необходимости повторно их установить после каждого выключения и следующего включения питания.

При включении питания, таймер начинает работу с формирования паузы, что защищает насос от выхода со строя в результате многократного включения и выключения за короткий промежуток времени. На светодиодных индикаторах отображается время, которое осталось до включения насоса(при выдержке паузы), или до его выключение(во время выключения).

Дешифратор преобразует сформированный микроконтроллером двоичный код номера знакоместа в сигналы, подающиеся на индикатор. Также насос останавливается и при срабатывании датчика максимального уровня. Это сопровождается выводом на индикатор надписи FULL. Включается насос при помощи электромагнитного реле, которое срабатывает после того как с выхода микроконтроллера выходит сигнал логической единицы на вход транзисторного ключа, который подаёт напряжение на обмотку реле.

Рисунок 2.1.2 - Алгоритм функционирования устройства

2.2 Разработка принципиальной схемы

Принципиальная схема определяет полный состав элементов, которые входят в состав данного устройства, связей между ними, что даёт детальное представление о принципе работы узла.

В состав устройства входят такие основные элементы: микроконтроллер DD1, дешифратор DD2, светодиодные индикаторы HG1-HG2, датчик уровня SF1, транзисторный ключ VT1, электромагнитное реле KU1, стабилизатор напряжения DA1, установочные тактовые кнопки SB1-SB2. Схема устройства представлена чертеже.

Тактовая частота микроконтроллера задаётся кварцевым резонатором ZQ1. На двух трёхразрядных семиэлементных светодиодных индикаторах с общими катодами(HG1,HG2) во время работы таймера отображается время, оставшееся до включения насоса(при выдержке паузы) или до его выключения(во время подачи воды).Индикация динамическая. Дешифратор DD2 с выходами, которые выполнены согласно схеме с открытым коллектором, преобразует формируемый микроконтроллером трёхразрядный двоичный код номера знакоместа в сигналы, которые подаются на катоды индикаторов для их поочерёдного включения. Насос останавливается после срабатывания датчика, в роле которого может служить любой микровыключатель с прикреплённым к нему рычагом с поплавком. Для большей надёжности стоит установить ещо один микровыключатель, который размыкает цепь питания таймера, если датчик SF1по какой-либо причине не сработает.

Все детали устройства смонтированы на печатной плате из фольгированного с двух сторон стеклотекстолита. Неиспользованные участки фольги с обеих сторон платы соединены с цепью 9-12 вольт, и служат дополнительным общим проводом.

Плата расчитана на детали поверхностного монтажа, кроме кварцевого резонатора ZQ1, стабилизатора DA1, индикаторов HG1-HG2, кнопок SB1-SB2, реле KU1, разъема для программирования XP1, датчика-выключателя SF1 и конденсаторов C3,C6.Тип реле-JRC-23F. Сопротивление его катушки-167 Ом, рабочее напряжение -5 вольт. Контакты рассчитаны на коммутацию переменного напряжения до 125 вольт при нагрузке мощности не более 62,5 В*А. Насос, или другое устройство, мощность которого превышает возможности этого реле, можно включить при помощи другого реле или контактора, рассчитанного соответствующий ток и напряжение. Реле KU1 в этом случае будет промежуточным. На плате установлен штыревой разъём XP1, контакты которого соединены с выводами микроконтроллера согласно схеме на рисунке 2.2.1

Рисунок 2.2.1 - Распиновка разъёма

Его назначение- подключение програматора к микроконтроллеру, уже установленного на плату. В таблице на рисунке 2.2.2 показано, как должны бать запрограмированы разряды конфигурации микроконтроллера. Они задают его работу с кварцевым резонатором частотой больше 8 МГц и задержку старта программы на 16000 циклов. Для защиты информации в EEPROM микроконтроллера от случайного повреждения в процессе повышения напряжения питания, порог срабатывания внутреннего детектора напряжения (BODLEVEL) установлен 1.8 вольт.

Рисунок 2.2.2 - Значение разрядов конфигурации микроконтроллера

При загрузке в програмную память микроконтроллера кодов с файла Pump-Control.hex, который есть в приложении, продолжительность работы насоса и продолжительность паузы можно независимо изменять от 0 до 60 минут с шагом 1 секунды.

Таймер потребляет от источника питания 9-12 вольт, ток не более 500 миллиампер.

В устройстве применены конденсаторы электролитические К50-35, К50-6, керамические К53-15, и импортные чип-конденсаторы для поверхностного монтажа GRM 21. Микросхемы STU 7805 в качестве стабилизатора входного напряжения, или аналогичная по параметрам отечественного производства КР142ЕН5А, микроконтроллер AT-tiny2313-20sl, дешифратор 74LS145D. Чип-светодиод красного цвета ARL-0603URC-100mcd. Два светодиодных индикатора Е30361. Электромагнитное реле JRC-23F. Чип-резисторы Р1-16, Р1-12. Самовозвратные тактовые кнопки TS-A3PS-130. Два выключателя SWR-51/L, один в качестве датчика, другой - контрольный. Импортный диод шотки MBR0520LT. Транзистор IRML2803. Кварцевый резонатор HC49-U-10 МГц и разъемы штыревые для подключения блока питания и программатора PLS 6, PLS1, BLS 1.

Расчет нагрузочного резистора для светодиода выполняем по формуле:


Где Rn- сопротивлении, Ом;

Принимаем Uпотр. 2В для ARL-0603 URC-100.потр.- ток, потребляемый светодиодом. Принимаем Iпотр-0,02А для данного типа.

Сопротивление загрузки Rn составляет:


Принимаем резистор Р1=16 500 Ом.

Схема соединения светодиода и нагрузочного резистора показана на рисунке 2.2.3

Рисунок 2.2.3- Соединение светодиода с нагрузочным резистором .

.3 Разработка печатной платы

Печатная плата - это листовой материал, вырезанный по размерам, на котором содержатся отверстия и рисунок, которые обеспечивают в будущем электрические и механические соединения навесных элементов.

Согласно условиям производства, изготовление печатной платы выполняем электрогальваническим методом. На первом этапе конструирования выбирается держатель печатной платы. Принимается печатная плата с габаритными размерами 110*82.5 мм, площадь которой составляет 9075мм2. В качестве материала печатной платы используется стеклотекстолит, который менее подвержен короблению. Толщина печатной платы выбирается из рекомендуемого ряда, предварительно принимаем Нм=1,5мм.

Предварительно принимаем двустороннюю печатную плату первого класса точности. В соответствии с ГОСТ 262465-89 выбираем первый класс проводникового рисунка, для которого ширина проводника и расстояние между проводниками, контактными площадками и проводником составляет tmin=S=0,5мм; расстояние от края просверленного отверстия до края контактной площадки вм=0,3мм и отношение минимального диаметра металлизированного отверстия к толщине платы y=0,5мм.

Принимаем толщину проводникового слоя печатного проводника ср=35мкм. Тогда для выбранного класса точности предельное рабочее напряжение составляет Up=100В, предельный ток Iпр=2600мА и погонное сопротивление - 1,1мОм/мм.

При топологическом проектировании разрабатываются рисунок печатной платы. Принимается шаг координатной сетки 2,54мм; выбирается минимальное расстояние между радиоэлементами 2,54мм. Принимаются допуски на межцентровое расстояние отверстий для крепления элементов 0.1мм. Расчет диаметров монтажных отверстий проведем поформуле:


где dн - диаметр монтажных отверстий, мм;

dв - диаметр вывода элемента, мм.

Наиболее допустимыми являются следующие диаметры отверстий: 0,7; 0,9; 1,1; 1,3; 1,5; 1,8мм. Все отверстия должны размещаться в зоне контактных площадок.

Проведем расчет диаметров отверстий для отдельных элементов схемы.

Сначала рассчитаем диаметры отверстий для интегральных микросхем (так как толщина выводов интегральных микросхем одинакова, расчет проведем в комплексе для всех микросхем). Согласно справочным данным диаметр вывода микросхем DD1=0,4мм, DD2= 0.7мм, DA1=0.8мм. Подставив значения в формулу, получим:

 мм

мм

мм

Принимаем стандартное значение с вышеперечисленного ряда dDD1 =1,1мм, dDD2 =1,5мм, dDА1 =1,5мм. Рассчитаем диаметр отверстия для конденсаторов типа К50-35. В соответствии со справочными данными, диаметр вывода конденсатора типа К50-35 d=0,8мм. Подставив значения в формулу, получим:

мм

Принимаем стандартное значение с вышеперечисленного ряда dн =1,5мм. Для кварцевого резонатора согласно справочным данным диаметр вывода составляет dв=0,8мм. Произведём расчот:

 мм

Принимаем стандартное значение с вышеперечисленного ряда dн =1,5мм. Расчитаем диаметры отверстий для тактовых кнопок TS-A3PS-130, диаметр их выводов составляет 0.6мм:

мм

Принимаем стандартное значение с вышеперечисленного ряда dн=1,3мм. Расчитаем диаметры отверстий для светодиодных индикаторов E30361, реле JRC-23F, и разъема для программирования. Диаметр их выводов составляет 1мм.

мм

Принимаем стандартное значение с вышеперечисленного ряда dн=1,8мм.

Допуски на параметры печатной платы:

 на габаритный размер печатной платы - 0,5мм;

 на толщину печатной платы - 1,5 мм;

 на погрешность расположения отверстий относительно координатной сетки, меньше 0,005мм;

 на диаметр контактных площадок 0,1мм.

Контактные площадки рассчитываются с учетом технологических факторов.

Согласно ГОСТ 262465-89 минимальный диаметр контактной площадки двусторонней печатной платы, изготовленной электрогальваническим методом, составляет


где Д к min - минимальный диаметр контактной площадки, мм;

ПО - минимальная площадь контактной площадки, мм;- максимальный диаметр металлизированного отверстия, мм.

При изготовлении отверстий сверлением ПО=2,5мм

мм

мм

мм

Максимальный диаметр контактной площадки рассчитаем по формуле


где Д к max - максимальный диаметр контактной площадки, мм;

Сз=0,44мм, обусловлено погрешностью из-за растекания краски и растяжения сетки.

мм

мм

Печатные проводники должны иметь допустимую в производстве ширину, минимальное значение которой определяется, прежде всего, адгезионными свойствами материала основы и гальваностойкостью оксидированного слоя фольги. Для проводников на двусторонней печатной плате минимальная ширина проводника высчитывается по формуле


где Вmin - минимальная ширина проводника, мм;

Взад - заданная ширина проводника, мм. Взад=0,5мм;

ср - толщина проводникового слоя, мм.

 мм

Согласно ГОСТ 262465-89 максимальная ширина проводника для двусторонней печатной платы, изготовленной электрогальваническим методом


где Вмах - максимальная ширина проводника, мм;

С - принимаем за 0,12мм первого класса точности рисунка.

 мм

Принимаем: минимальную ширину проводника Вmin=0,8мм, максимальную ширину проводника Вмах=1мм.

При расчете ширины печатных проводников необходимо учитывать следующее:

 нагрев печатного проводника в нормальных условиях не должен превышать 3530К. Это ограничение сохраняется при условии


где Ідоп - допустимый ток, для шин питания микросхем, А. Ідоп=0,1А;

i - минимальная плотность тока, А/мм2. і=20А/мм2.

 мм

Так как Вміп=0,8мм, то есть 0,8мм > 0,14мм, то условие нагрева выполняется.


где ρп - удельное сопротивление материала, Ом;- длинный проводник на печатной плате, см;

ΔU - падение напряжения в проводнике, В.

 мм

Таким образом , при Вmіn=0,8мм падение напряжения составляет


Для длинного проводника

 В або

 %

Условие выполняется 0,35% < 1..2%.

Допустимое рабочее напряжение, при расстоянии между проводниками S=2,5мм, Uдоп=100В, является большим Uр=12В.


где Спар - паразитная емкость между двумя печатными проводниками, пФ;

Спог - погонная емкость проводника, пФ/см;- длина взаимного перекрытия проводников, см.

Погонную емкость проводника рассчитаем по формуле


где Кn - погонный коэффициент;

ε - диэлектрическая проницаемость, ε=6пФ/см.

Для проводников одинаковой ширины В=1мм и расстояния между ними

S=2,5мм, Кп=0,14.

 пФ/см

 пФ

Для проводников одинаковой ширины В=0,8мм и расстояния между ними S=2,5мм, Кп=0,1.

 пФ/см

 пФ

Допустимое значение Спар в случае использования ИМС устанавливает

Допустимое значение Спав=80пФ. Так как 5,88пФ и 4,2пФ < 80пФ, то условие выполняется: Спар < Спар.зад.

Паразитная взаимоиндукция между печатными проводниками характеризуется коэффициентом взаимоиндукции М, который определяется по формуле:


где М - коэффициент взаимоиндукции между печатными проводниками, мГн;- расстояние между двумя печатными проводниками, мм;и t2 - ширина проводника первого и второго соответственно, мм.

 мГн

Индуктивность печатного проводника определяется согласно формуле


где L - индуктивность печатного проводника, мкГ;пог - погонная индуктивность, мкГ.

Для проводника шириной В=1мм погонная индуктивность Lпог=0,0143мкГ/см, тогда

 мкГ

Мощность потерь печатной платы определяется по формуле


где Рn - мощность потерь печатной платы, Вт;- частота напряжения питания схемы, при постоянном токе питания f=1Гц;- напряжение питания схемы, В;

С - емкость печатной платы, мкФ;

tgδ - тангенс угла диэлектрических потерь.


где F - суммарная площадь печатных проводников, мм2;

Н - толщина печатной платы, мм.

 мкФ

 Вт

Таким образом, потери мощности несущественные.

На основании проведенных расчетов можно сделать следующие выводы: печатная плата имеет отверстия диаметром 1.1; 1.3; 1.5; 1.8мм; минимальная ширина печатного проводника 0,8мм, максимальная 1мм; индуктивность печатного проводника составляет 1,001м.

Таким образом, потери мощности несущественные.

На основании проведенных расчетов можно сделать следующие выводы: печатная плата имеет отверстия диаметром 1,3; 1,5; 1,8мм; минимальная ширина печатного проводника 0,8мм, максимальная 1мм; индуктивность печатного проводника составляет 1,001м.ний на рисунку 2.

2.4 Организация электрического питания

Для эксплуатации устройства, рекомендуется подключить к нему стационарный блок питания, понижающий 220В до 12 вольт постоянного напряжения. Поскольку схема таймера потребляет всего 500мА и имеет встроенный стабилизатор напряжения, нет необходимости усложнять схему блока питания, поэтому воспользуемся схемой представленной ниже на рисунке 2.4.1.

Рисунок 2.4.1 - принципиальная схема блока питания

Исходные данные:

номинальное значение Uoн= 12 В;

выпрямленный ток Io= 0,5 А;

 коэффициент пульсации выпрямленного напряжения нагрузки Кп.п.=1%;

напряжение сети U=220B;

частота сети fc= 50 Гц;

рабочий диапазон температурТ∆окр = - 60 +80 ;

Порядок расчета:

.Определяем мощность нагрузки:

он=Uон*Ioон=12*0,5Вт.

2. Коэффициент пульсации выпрямленного напряжения на конденсаторе С7 фильтра принимаетсяКв вх.-5÷15%. Принимаем Кв вх=15%.

. Коэффициент сглаживания части фильтра оставшейся в соответствии с необходимостью обеспечить Кв вх=1% должно составлять q=Кв вх=%Кп.п=15/1=15.

. поскольку q=15<25 выбираем в качестве части фильтра .

Напряжение на схеме выпрямления U0 с учетом падения напряжения на С - фильтре определяется выражением:

U0=Uо н[1+0,01(∆Uф/Uо н\)% ]

В соответствии с мощностью:


Таким образом:

о= Uо н [1+0,01(∆Uф/ Uо н)%]

Uо=12(1+0,01*10)=13,1 В.

Тогда приблизительное значение:

п р и п=3,5 I0

Iп р и п=3,5*0,5=1,75А;

Iп р.ср=I0/2

Iп р.ср= 0,25А;

Uобр и. п=1,5Uо

Uобр и. п=1,5*13,1=19,65В.

В соответствии с этими данными выбираем диоды типа КД552Б со следующими параметрами при внешней температуре - 60+1300С:

п р.ср max=5А> Iп р.ср;

Uобр и.max=200B> Uобр и п

Iп р.и max=6 Iп р.ср max

Iп р.и max=6*5 - 30А> Iп р.и проил;

Uпр ср=1В.

Таким образом ,Nпосл=1.

Электрический расчет выпрямителя:

.        Активное сопротивление обмоток трансформатора, приведенный к вторичной обмотке rгр :

 (2.4.1)

где:

Кrс - коэффициент, зависящий от схемы выпрямления;магнитная индукция в магнитопроводе;- частота сети;

σ-количество несущих сердечников,несущих обмоток


. Дифференционное сопротивление определяем:

(2.4.2)


3.Активное сопротивление выпрямителя определяем:

R0=2rдиф+rгр (2.4.3)

R0=2*0,66+0,78=2,11Ом

. Индуктивность рассеивания на витках трансформатора:

 (2.4.11)


5. Отношение между активным и реактивным сопротивлением фазы выпрямителя (tgφ) определяется.

tgφ= (2.4.4)gφ=

. Вспомогательный коэффициент определяется:

tgφ= (2.4.5)

где: m-коэффициент схемы, равний числу импульсов выпрямленного напряжения

tgφ=

7. Расчетные коэффициенты B, D, F и H: B=1,35; D=1,85; F=4,2; H=29000.

. Уточняются значения Iпр.и

 (2.4.6)

lпр.и=

lпр.и=1,05<5,5А

Таким образом диод КД522Б по току выбран верно

. Электрические параметры трансформатора определяются с помощью определенных в п 7 расчетных коэффициентов, т.т. U2=BU(2.4.7)

U2=1,35*13,1=17,68;

I2= (2.4.8)2=1=(2.4.9)1=г=1.5*Po=1,5Uo lo(2.4.10)г=1.5*13,1*0,5=9,83 Вт

10. Проверка выбранного диода по обратному напряжению определяется по формуле:

обр и=1,4U2(2.4.11)

Uобр и= 1,41*17,68=25В<200В

Таким образом, диод КД522Б по обратному напряжению выбран верно.

11Входная ёмкость фильтра

Co=(2.4.12)

где: Кп.вх%- коэффициент пульсаций выпрямленного напряжения на входе фильтра С7

Кп.вх=15%

Co=(2.4.13)

Принимается ближайшее значение С7=3300 мкФ. По положению 4 выбираем конденсатор К50-6 с Uраб=50В, причем значение Uраб определяет неравенство

Uроб<√2U2

Uроб=1,41*17,68=25<100В

12 Коэффициент пульсаций, соответствующий выбранному С.

Кп.вх% =(2.4.14)

Кп.вх%=

3. Технологический маршрут изготовления устройства

Технологический маршрут изготовления устройства состоит из следующих операций:

) вырубка платы;

) очистка поверхности;

) нанесение рисунка;

) химическое травление;

) удаление защитного слоя;

) покрытие сплавом "Розе";

) установка навесных элементов;

) электромонтаж;

) выходной контроль.

Выводы

В ходе выполнения комплексного курсового проекта было выполнено техническое задание и предметная область, описаны принципы построения. Разработана схема электрическая структурная.

Определены типы и серии элементов устройства. Разработана принципиальная схема для цифрового таймера. Рассмотрена организация электрического питания. Разработан алгоритм функционирования устройства. На основе схемы электрической принципиальной, расчитаны размеры печатной платы и корпус устройства.

Список используемой литературы

1. Полупроводниковые приемно-усилительные устройства: Справ. Радиолюбителя/ Р.М. Терещук, К.М. Терещук, С.А. Седов. - 4-е изд., стер. - Киев: Наук. Думка, 1988. - 800 с.: ил.

2. Мощные полупроводниковые приборы: Диоды: Справочник/ Б.А. Бородин, Б.В. Кондратьев, В.М. Ломакин и др.; Под ред. А.В. Голомедова. - М.: Радио и связь, 1985. - 400 с., ил.

3. Радиодетали , радиокомпоненты и их расчёт.; Под ред. А.В. Коваля. - М.: "Сов. радио", 1977. - 368 с., ил.

4. Радиодетали и узлы: Учеб. пособие для спец. вузов "Конструирование и производство радиоаппаратуры"/ А.Д. Фролов. - М.: Высш. школа, 1975. - 440 с., ил.

5. В помощь радиолюбителю: Сборник. Вып. 71/ Сост. В.Г. Борисов. - М.: ДОСААФ, 1980. - 80 с., ил.

6. В помощь радиолюбителю: Сборник. Вып. 83/ Сост. Н.Ф. Назаров - М.: ДОСААФ, 1983. - 78 с., ил.

7. Электрические машины и источники питания радиоэлектронных устройств: Учебник для техникумов. - М.:Энергоатомиздат, 1990. - 368 с., ил.

8. Промислова електроніка та мікросхемотехніка: теорія і практикум. За ред. А.Г. Соскова. - К.: Каравела, 2003. - 368 с.


Не нашли материал для своей работы?
Поможем написать уникальную работу
Без плагиата!
Без нейросетей!