Расчет следящей системы
Содержание
1. Исходные данные
2. Выбор типоразмера двигателя и расчет редуктора
.1 Предварительная оценка передаточного
числа редуктора
.2 Расчет редуктора с цилиндрическими колёсами
.3 Проверка пригодности двигателя с учетом редуктора
. Расчет усилителя мощности
. Передаточная функция разомкнутой
нестабилизированной системы
.1 Функциональная схема разомкнутой
нестабилизированной системы
.2 Структурная схема и передаточная
функция двигателя с учетом редуктора и нагрузки
.3 Оценка общего коэффициента передачи
5. Коррекция следящей системы с
использованием локальных обратных связей
.1 Исходная ЛАЧХ
.2 Коррекция с помощью ЖОС
. Определение параметров
предварительного усилителя
. Моделирование следящей системы и построение графиков
переходного процесса и ошибок при линейной и синусоидальной заводках
. Принципиальная схема следящей системы
1. Исходные
данные
двигатель редуктор линейный синусоидальный
wнм=2.71 рад/c - наибольшая скорость вращения
исполнительного вала при равномерной заводке и амплитуда скорости при синусной
заводке.
eнм = 13.2
рад/c2 - амплитуда ускорения исполнительного вала при
синусной заводке.
Мнс = 1.25 Н.м - статический
момент сухого трения на исполнительном валу.
Jн = 26.9*10(-3) кг.м2 - момент инерции
нагрузки исполнительного вала.
qск=10 -
суммарная ошибка системы при равномерной заводке со скоростью wнм.
qд =20 -
динамическая погрешность при синусной заводке при амплитудных значениях
скорости wнм и ускорения eнм.
hip = 0.97 - КПД i-ой ступени редуктора.
jз > p/4 - запас по фазе разомкнутой
системы.
Tр = 0.1с - максимально допустимое
время регулирования.
s% - максимальная величина перерегулирования < 15°.
Таблица 1
|
N
|
wнм (р/с)
|
eнм (р/с2)
|
Мнс (Н×м)
|
Jн (кг×м2)* 10^(-3)
|
tр (c)
|
qск
|
qд
|
|
A12
|
2.71
|
13.2
|
1.25
|
26.9
|
0.1
|
1.0
|
2.0
|
qд
- без учета статической погрешности.
КПД одной пары зацепления редуктора hip = 0,97.
серия двигателей ЭМ-М. f = 400 Гц.
УМ - двухтактный транзисторный усилитель в классе В.
ИУ - бесконтактные сельсины БД-160А и БС-155А в трансформаторном режиме.
f = 400 Гц, Ки = 40 В/рад.
Тахогенератор: ТГ-5А. f =
400 Гц. Ктг = 1,17×10-2 В×с/рад, Jтг = 10-7
кг×м2.
2. Выбор типоразмера двигателя и расчет редуктора.
Ptr1:=2*Mns*Wnm Ptr1 := 6.7750 Вт:=(2*Jn*Enm+Mns)*Wnm Ptr2 := 5.312033600 Вт:=2*(Jn*Enm+Mns)*Wnm Ptr :=
8.699533600 Вт
Тогда самым оптимальным будет асинхронный двигатель ЭМ-8М.
Его технические характеристики приведены в табл. 2
Таблица 2
|
Тип
|
Uн,
B
|
Рн, Вт
|
Mп×10-3, р/с
|
wн, р/с
|
Jя ×10-8 кг×м
|
Rу, Oм
|
xу, Oм
|
D, мм
|
|
ЭМ-8М
|
80
|
8,22
|
31,4
|
206
|
58,1
|
81,4
|
4
|
.1 Предварительная оценка передаточного числа редуктора
Диапазон допустимых значений передаточных чисел редуктора определяется
корнями квадратного уравнения iр1 и iр2:
(1)
где
тогда решая уравнение (1) относительно ip получаем диапазон допустимых
значений передаточных чисел редуктора [91.39542527, 212.3663658].
Примем ip=170.
Проверка выбранного передаточного числа редуктора:
-
условие по скорости
;
170*2.71<1.2* 418.8017484 условие выполнено
-
условие по моменту
(Jdv+Jn/(ip^2*Kpd))*Enm*ip+Mn/(ip*Kpd)<
1.2*Mn т.е.7377841656e-2<.2355291026e-1 условие выполнено
условие по перегреву
; (2)
:=.1962742522e-1;
sqrt((Jdv+Jn/(ip^2*Kpd))^2 *
Enm*ip^2*0.5+Mns^2/(ip^2*Kpd^2))=9298370221e-2-> условие выполнено
.2 Расчет редуктора с цилиндрическими колесами
Передаточное число каждой пары зацепления in-1,n определяется как отношение числа
зубьев ведомой шестерни (in) к числу зубьев ведущей (in-1):
Передаточное
число редуктора определяется как произведение передаточных чисел всех пар
зацеплений:
Рис.
1
Для
последней ступени редуктора выбираем in,n-1=10
Для
минимизации приведённого к валу двигателя момента инерции редуктора будем
рассчитывать передаточные числа ступеней пар зацеплений с использованием
соотношения:
С
учетом того, что i1,2 <
i3,4 <..<
in-1,n
получаем передаточные числа:
i1,2=1.107265672,
i3,4=1.854818960, i5,6=2.327663134, i7,8=3.765295059, i9,10=10 и так мы
получили пяти ступенчатый редуктор.
Рассчитываем
модуль зуба m= (sqrt((0.02635*Mns)/(Ksi*Rn)))=>
m=.2869560071 из стандартной шкалы модулей (по ГОСТу)
m=0.3 мм
Тогда
число зубьев на ведущих шестернях равно 26, т.к. D= 8.0 mm, а
диаметр и число зубьев ведомых шестерен равно соответственно: D2 := 8, Z2 :=
27; D4 := 15, Z4 := 50; D6 := 19, Z6 := 63; D8 := 30, Z8 := 100; D10 := 80, Z10
:= 267.
Расчет
моментов инерции колес редуктора
тогда
момент инерции колес равен:
J1 :=.9289061159e-8
кг/м2 J6 :=.2955468114e-6 кг/м2
J2 :=.9289061159e-8
кг/м2 J7 :=.9289061159e-8 кг/м2
J3 :=.9289061159e-8
кг/м2 J8 :=.1836948130e-5 кг/м2
J4 :=.1148092581e-6
кг/м2 J9:=.9289061159e-8 кг/м2
J5 :=.9289061159e-8
кг/м2 J10 :=.9289061159e-4 кг/м2
Где b - толщина колеса равна 3 мм, а r= 7.7 * 103 кг/м3
Приведённый момент к валу двигателя редуктора:
ред
= 8393511764e-7 кг/м2= 8587340257
2.3 Проверка пригодности двигателя с рассчитанным редуктором
-
условие по скорости
;
ip2*Wnm<1.2*Wnm
т.е. 452.5488281<502.5620981 à условие
выполнено.
условие
по моменту
((Jdv+Jn+Jред+Jtg)/(ip2^2*Kpdred))*Enm*ip2+Mn/(ip2*Kpdred)<=1.2*Mn
т.е.
2613277749e-2<.2355291026e-1à условие
выполнено.
sqrt((Jdv+Jред+Jtg+Jn/(ip2^2*Kpdred))^2*Enm*ip2^2*0.5+Mns^2/(ip2^2*Kpdred^2))<=Mn
т.е.
8906929114e-2<.1962742522e-1-> условие выполнено.
3. Расчет усилителя мощности
Схема двухтактного транзисторного УМ, работающего в классе B, представлена на рис. 2.
УМ нагружен на обмотку управления двигателя. Нагрузка замещается
последовательно включёнными активным Rу и
реактивным Xу сопротивлениями. Входной сигнал на переменном токе
поступает от предварительного усилителя, в качестве которого используется
операционный усилитель К140УД7. Напряжение насыщения и допустимое минимальное
сопротивление нагрузки операционного усилителя составляют Us=11,5B и Rк
min=2kOм.
Рис. 2
Комплексный коэффициент усиления УМ на несущей частоте w0=2×p×f0 (f0=400 Гц):

Upumax = 5В, тогда Kum := 16, Uunom:=80В.Tr1:=0.9:KpdTr2:=0.9 КПД трансформаторов Тр1 и Тр2 соответственно.
КПД коллекторной цепи Kpdk:=1/(0.1+(1/Kpd2))=8256880735
Общая мощность нагрузки коллекторной цепи
=
63.99497659
Наибольшая
мощность, выделяемая на переходе к-э транзистора
Где
Pk:=Py/Kpdk à P := 24.02655843Вт
Выбираем
транзистор КТ855В, его технические характеристики приведены в табл. 3.
Таблица
3
Uкэ, B
|
Iк, A
|
b
|
Ркэ, Вт
|
|
КТ 855 В
|
150
|
5,0
|
25
|
40/1,2*
|
Напряжение питания U0<0,5UКЭ.ДОП
Примем напряжение питания равным U0 := 72.00В
Коэффициент трансформации Тр2:
n2
= 1.903077509э:=0.1*Ry/n2^2, Rэ = 1.604217239 Ом. Примем Rэ равным 2Ом.
Амплитуда
токов коллектора и базы:
:=
2.152917421 А, Ibmax =8611669684e-1 А.
Амплитуда
входного напряжения транзистора:
àUvxtr :=
4.305834842 В.
Коэффициент трансформации Тр1:
n1
:=.9568521871
Ivxmax:=Ibmax*n1à Ivxmax :=.8240094972e-1А.
Входное
сопротивление усилителя
Rvxus =
60.67891228 Ом, т.к. входное сопротивление получилось меньше 2кОм, то необходимо
на входе предварительного усилителя поставить эмитторный повторитель.
4. Передаточная функция разомкнутой нестабилизированной
системы
4.1 Функциональная схема разомкнутой нестабилизированной
системы
Для системы с асинхронным двигателем эта схема представлена на рис. 3. В
нее входят измерительное устройство ИУ, предварительный усилитель ПУ, усилитель
мощности УМ, двигатель ДВ, редуктор Р и нагрузка Н.
Рис. 3.
В расчетах принимаем ИУ, ПУ, УМ и Р безинерционными элементами с
соответствующими коэффициентами передачи: Киу; Кпу; Кдм;
Кр=1/ip.
.2 Структурная схема и передаточная функция двигателя с учётом редуктора
и нагрузки
Динамика асинхронных двигателей в пределах скоростей
<wдв < (1,1...1,2) wном =(1.1…1.2)* 418.8017484
аппроксимируется системой уравнений
где
b:=Mp/Uyn=.3925000000e-3 (н*м/в);
a:=(Mp-Mn)/Wn=.2811013761e-4
(н*м/(р/с));
Mном:=г*Mп=.1962742522e-1(н*м)
щном:=г*щx=418.8017484(р/с)
Tdv - постоянная
времени двигателя
Будем
искать связь
, для этого приравняем:
.
Перенесем
все слагаемые, содержащие
в левую часть уравнения, а остальные в правую часть,
затем разделим уравнение на
:
.
Обозначим
, тогда уравнение можем переписать в следующем виде:
Tdv:=((Jdv+Jn+Jp+Jtg)/(ip^2*Kpdred))/a=.3996585280e-1(с/р)
Kdv:=b/a=
13.96293414(р/с)/в - коэффициент передачи двигателя по напряжению.:=1/a=
35574.35449(р/с)/(н*м) - коэффициент передачи двигателя по моменту.
Для
уравнения применим преобразование Лапласа.
На рис. 4 показана структурная схема асинхронного двигателя с учётом
редуктора и нагрузки:
Рис. 4. Структурная схема двигателя с
учетом редуктора и нагрузки
.3 Оценка общего коэффициента передачи разомкнутой системы
Оценка общего коэффициента передачи разомкнутой системы проводится исходя
из требований по точности к желаемой системе.
Передаточная функция разомкнутой системы с асинхронным двигателем имеет
вид:
где
.
Величина
общего коэффициента передачи системы Кр определяет точность системы
при отработке типовых входных воздействий системы. Задать тот или иной
коэффициент можно изменением коэффициента передачи предварительного усилителя Кпу.
В
режиме равномерной заводки ошибка системы dсист складывается из трех составляющих:
· ошибки измерителя рассогласования dизм,
· статической ошибки dст,
· кинетической ошибки dкин.
Люфтом редуктора в расчетах пренебрегаем.
Ошибка измерителя (у нас измерителем является измеритель на сельсинах)
складывается из:
· технологической погрешности, которая рассчитывается по
формуле:

dсп - ошибка сельсина-приемника;
· погрешности
от реакции якоря (связанной с тем, на какой усилитель нагружен двигатель, у нас
- это операционный усилитель, входное сопротивление которого
очень большое, поэтому погрешность очень маленькая,
таким образом, будем считать, что ее нет);
· динамической
погрешности (связанной со скоростями изменения угла) - не будем учитывать.
Тогда для ошибки системы можем записать:
Для
нахождения ошибки системы изобразим структурную схему (рис. 5) замкнутой
системы с двигателем, учетом редуктора и нагрузки (см. рис. 4). При этом введем
обозначение
.
Рис.
5
Рассмотрим
статическую ошибку данной системы:
Будем
считать все входы постоянными, то есть
- это
режим включения.
В
установившемся режиме (с использованием теоремы о предельном переходе и
принципа суперпозиции) ошибка определяется по следующему соотношению:
Значит,
Определим
ошибку системы при равномерной заводке, то есть определим кинетическую ошибку
системы:
Будем
считать все входы постоянными, то есть
это
режим, когда вал сельсин-датчика вращаем с постоянной скоростью.
Но
сигнал по другому входу остается постоянным:
В
установившемся режиме (с использованием теоремы о предельном переходе и
принципа суперпозиции и общих формул, рассчитанных выше) ошибка определяется по
следующему соотношению:
Тогда
коэффициент усиления оценивается по следующему соотношению:
то
есть полученное соотношение, в зависимости от класса точности сельсинов
измерителя рассогласования (см. таблицу 3), даёт возможность оценить три возможных
значения Кр.
Таблица
3. Классы точности сельсинов
|
I класс
|
II класс
|
III класс
|
|
Сельсин датчик
|
±0,25°
|
±0,5°
|
±1,0°
|
|
Сельсин приёмник
|
±0,25°
|
±0,5°
|
±0,75°
|
Вычислив
по формуле (11) для 3 разных классов, подставим
значения
в соотношение (12) и получим три оценки Кр:
Сельсин
3-го класса не подходит. Тогда получаем два значения Kp которые равны
соответственно:
Kp1 :=
242.7766786 и Kp2 := 535.8340540
Динамическая
ошибка dдин(t)
системы определяется при отработке синусоидального воздействия с параметрами
эквивалентной синусоиды
.
Рассчитаем
параметры эквивалентной синусоиды:
Отсюда
видно, что
, значит, мы можем определить параметры эквивалентной
синусоиды:
Тогда
Щ= 4.870848708(1/с) и A =.5563712121(р)
Динамическая
ошибка меняется во времени по гармоническому закону с амплитудой
, Поэтому в расчете амплитудное значение этой ошибки
связано с параметрами эквивалентной синусоиды в виде:
.
Это
соотношение определяет положение модуля частотной характеристики на частоте W:
=24.04914574
Полученные
соотношения (13-14) задают на логарифмической амплитудно-частотной характеристике
(ЛАЧХ) разомкнутой системы три контрольных точки (см. рис. 6). Причём на
частоте w= 1 [1/c] откладываются 2 точки, определяемые (13) и одна
точка на частоте w = W.
ЛАЧХ
разомкнутой нескорректированной системы строится согласно выражению:
где
,
При
этом значение
выбирается так, чтобы ЛАЧХ разомкнутой
нескорректированной системы проходила выше контрольных точек.
Тогда из графика (Рис.6) видно что лучше всего принять Kp2 := 535.8340540àKp:=535.8340540
Рис. 6.
После
оценки требуемого значения
определим
частоту среза wср путем
решения уравнения:
Частота
среза определяется в точке пересечения ЛАЧХ оси частот.
wср=114.4461294(р/с)
5. Коррекция следящих систем с использованием локальных обратных связей
.1 Исходная ЛАЧХ
Исходная ЛАЧХ разомкнутой системы, проходящая выше контрольных точек,
характеризуется требуемым минимально допустимым коэффициентом передачи и
частотой среза wср,
которая определяет полосу пропускания системы и её быстродействие. Время
переходного процесса (ПП) системы оценивается по формуле
В
техническом задании (ТЗ) указано время ПП -
. Таким
образом, видно, что время ПП системы, вычисленное с учетом выше полученного
значения частоты среза удовлетворяет времени ПП, заданному в ТЗ.
Это
означает, что
- это время, за которое переходной процесс (ПП),
должен входить в 5% зону установившегося значения. То есть, чтобы соотношение
(16) выполнялось необходимо иметь:
.
.2
Коррекция с помощью ЖОС
Коррекция
в системе с асинхронным двигателем осуществляется с помощью жесткой обратной
связи (ЖОС), передаточная функция которой имеет вид
. При коррекции вводится дополнительный
предварительный усилитель КПУ1.
K3:=.5882352941e-2
Для
расчета
необходимо знать
, а
коэффициент усиления предварительного усилителя рассчитывается из соотношения:
. Тогда получаем:
Kpu2:=Kp/(Ki*Kum*Kdv*(1/ip))=> Kpu2 := 10.19348220
Значит,
K2:= 2277.294730(р/с)/в
В
скорректированной системе для обеспечения требуемого запаса по фазе на частоте
среза реализуют
Введение
жёсткой обратной связи уменьшает постоянную времени исходной системы:
,
где
КПУ2 = КПУ исходной системы.
Исходя
из выражения, можно определить
:
Kos:=(Tdv*Kp-1)/(Kpu2*Kum*Kdv*Ktg)=.7662062013(1/р)
Найдем
передаточную функцию охваченной части.
То
есть, охватывая при помощи ЖОС
, которое
является инерционным звеном, мы уменьшаем его коэффициент усиления и постоянную
времени.
Kpck:=K1*K2*K3/(1+K2*Kos*Ktg)= 25.02136025(1/р)
Tdvck:=Tdv/(1+K2*Kos*Ktg)=.1866249435e-2(с/р)
Из
соотношения видно, что постоянная времени скорректированной системы
уменьшилась в
- раз по
сравнению с
исходной нескорректированной системы. Во столько же
раз уменьшается и общий коэффициент усиления разомкнутой системы:
Отсюда
находится
Kpu1:=1+Kpu2*Kum*Kdv*Ktg*Kos=
21.41506493(1/р)
Lck(w) = 54.58060622-20 * ln(w)/ln(10)-20 * ln((.3482886954e-5*w^2+1)^(1/2))/ln(10)
Рис.
7. ЛАЧХ скорректированной системы
Частота
среза скорректированной системы.
421.2466800(р/с)
Запас
по фазе на частоте среза разомкнутой скорректированной системы равен
Значит,
условие, которое требует, чтобы запас по фазе разомкнутой системы был больше
, выполнено.
Следует обратить внимание, что полоса пропускания системы,
скорректированной с помощью жёсткой обратной связи, расширяется и,
следовательно, растет быстродействие системы.
На
рис. 9 показаны ФЧХ исходной нескорректированной системы и ФЧХ системы (рис
9.а) после введения жёсткой обратной связи, где учтено значение
.
Рис.
8.
Рис.
8а.
6.
Определение параметров предварительного усилителя
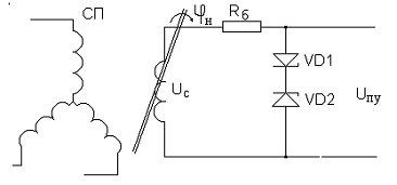
Сигнал с сельсина приёмника (СП) проходит через ограничитель, показанный
на рис. 9. Он состоит из балластного резистора Rб и двух встречно
включенных стабилитронов VD1 и VD2.
Рис. 9
Выбор Rd и типа стабилитрона должен
обеспечивать ограничение Uпу по модулю до 10 В. По этой причине
выбираем стабилитрон, напряжение стабилизации которого не превышает 10 В.
Выберем стабилитрон Д814А, данные для которого приведены в таблице 4.
Таблица 4.
|
Тип
|
Напряжение стабилизации, В
|
Ток стабилизации, мА
|
Максимальный прямой ток, мА
|
Предельная мощность, мВт
|
Прямое падение напряжения, В при токе 50 мА
|
|
Д814Б
|
8-9,5
|
40
|
100
|
340
|
1
|
Оценим величину Rб, исходя из условия ограничения тока через
стабилитрона при максимальном напряжении, снимаемом с выхода СП:
Выберем
Rб из номинального ряда Rb := 750.0(Ом).
Здесь
Uст - напряжение стабилизации; Iст - ток стабилизации; Uст мax = 36 В.
Ограничитель
в линейной зоне не влияет на величину коэффициента передачи измерителя
рассогласования.
Предварительный
усилитель удобно строить на двух операционных усилителях типа К140УД7. На
первом усилителе (D1) имеется два входа. На первый вход поступает сигнал
с измерительного устройства. При этом реализуется коэффициент передачи
По
второму входу реализуется коэффициент передачи по тракту обратной связи:
Зададимся
величиной R0 = 10 кОм.
Тогда
можем вычислить R1 и R2
:=R0/Kpu1=
466.9609937 выберем R1 из номинального ряда R1=560(Ом).:=R0/Kos=13051.31697
выберем R2 из номинального ряда R2=1500(Ом).
Рис.
10
На
втором операционном усилителе (D2) реализуется передаточная функция устройства,
компенсирующего фазовый сдвиг несущей частоты на обмотке управления
асинхронного двигателя:

Зададимся
величиной R3 = 10 кОм.
Предположим,
что коэффициент передачи упругого звена
, тогда R4
= 10 кОм.
Из
выражения
можем
найти
выберем
из номинального ряда:
.
Из
выражения
можем
получить
:
Выберем
из номинального ряда:
.
Постоянная
времени С1×R3 вводится
для ограничения усиления высокочастотных помех усилителя.
Если
входное сопротивление усилителя мощности менее 2 кОм, то на выходе
предварительного усилителя ставится эмиттерный повторитель на транзисторе VT1.
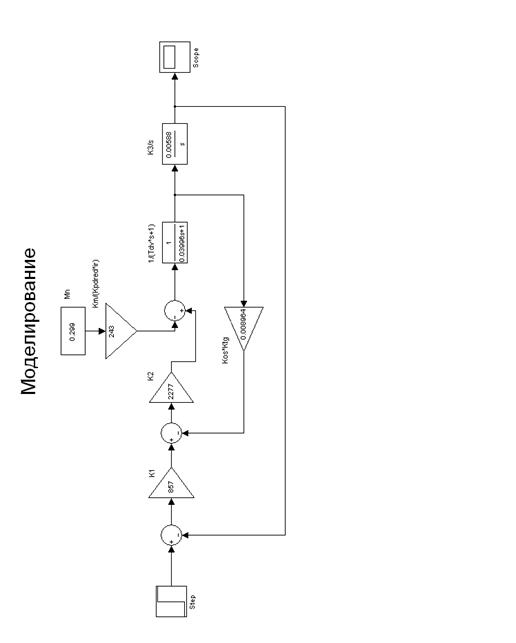
7. Моделирование следящей системы и построение графиков переходного
процесса и ошибок при линейной и синусоидальной заводке
На рис. 12 представлена схемы моделирования следящей системы: схема для
снятия переходного процесса (на вход системы подается скачок с единичной
амплитудой):
для
снятия ошибки при равномерной заводке (на вход системы подается
линейнонаростающий сигнал):
для
снятия ошибки при синусоидальной заводке (на вход системы подается
гармонический сигнал с параметрами эквивалентной синусоиды):
0.556*sin(4.87*t)
График
переходного процесса в системе изображен на рис. 13. Необходимо проверить
перерегулирование, значение которого по ТЗ не должно превышать
.
График
ошибки при равномерной заводке изображен рис. 15
Значение
ошибки не должно превышать заданного значения, то есть график ошибки не должен
выходить за заданный коридор величиной
.
Из
полученного графика видно, что ошибка не выходит за коридор
,5*10^(-3)[рад]=
то есть требуемое условие выполнено.
График ошибки при синусоидальной заводке изображен рис. 14.
Значение
ошибки не должно превышать заданного значения, то есть график ошибки не должен
выходить за заданный коридор величиной
.
Из
полученного графика видно, что ошибка не выходит за коридор
*10^(-3)[рад]=
то есть требуемое условие выполнено.
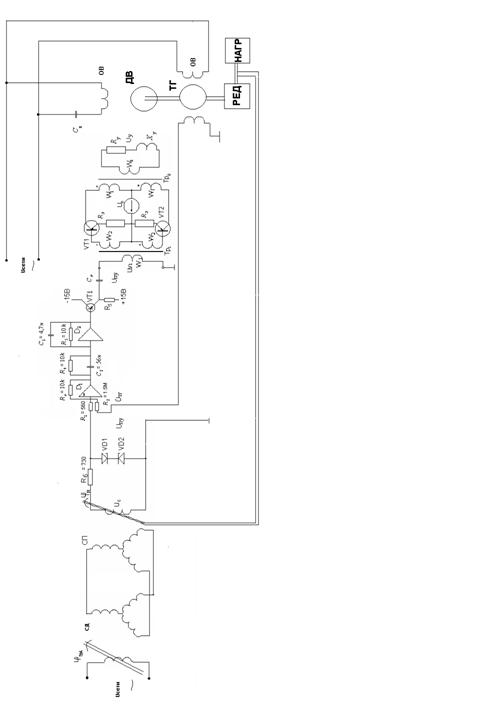
8. Принципиальная схема следящей системы
Принципиальная схема следящей системы изображена на рис. 11.
Рис. 11
Рисунок 12. Переходной процесс
Рисунок 13. Динамическая ошибка
Рис. 14 Кинетическая + статическая ошибки.