Проектирование и расчет трассы радиорелейной линии

  • Вид работы:
    Курсовая работа (т)
  • Предмет:
    Информатика, ВТ, телекоммуникации
  • Язык:
    Русский
    ,
    Формат файла:
    MS Word
    194,05 Кб
  • Опубликовано:
    2014-05-21
Вы можете узнать стоимость помощи в написании студенческой работы.
Помощь в написании работы, которую точно примут!

Проектирование и расчет трассы радиорелейной линии

Министерство информационных технологий и связи РФ

Федеральное агентство связи

УрТИСИ ГОУ ВПО СибГУТИ










Курсовой проект

Проектирование и расчет трассы радиорелейной линии

Альбом МЕ-01.013.ПЗ


Студента 4 курса МЕ-01 группы
Маркова Ивана Васильевича

Преподаватель - руководитель

Папаев А.Б.




Екатеринбург, 2014

Задание для курсового проектирования

Исходные данные

Вариант. №013

Тип аппаратуры: РАДИУС-ДС-8

Длинна РРЛ: L = 130 км.

Длинна интервала: R0 = 32 км.

Вертикальный градиент:  = - 12·10-8 1/м

Стандартное отклонение: σ = 11·10-8 1/м

Потери в сосредоточенных элементах: аэл = 0,8 дБ

Погонные потери ап = 0,12 дБ/м

Вид модуляции: Квадратурная фазовая модуляция QPSK

Скорость передачи: В = 8,448 Мбит/с

Мощность сигнала на выходе передатчика: 26 дБм

Чувствительность приемника при пороговом уровне сигнала: -88 дБн

Диаметр антенны: 1,75 м


Пояснительная записка содержит

. Введение; 2. Выбор трассы, определение структуры проектируемой РРЛ; 3. Расчет интервала РРЛ; 4. Выводы по проделанной работе; 5. Список литературы.

Графическая часть проекта содержит два листа чертежей А4.

Содержание

Введение

1. Выбор трассы. Определение структуры проектируемой РРЛ

1.1 Требования, предъявляемые при выборе трассы РРЛ

.2 Определение типа РРЛ

.3 Структура проектируемой РРЛ

.4 Определение количества интервалов на участке РРЛ

.5 Составление схемы размещения станций на участке

. Расчет интервала РРЛ

.1 Построение профиля интервала

.2 Определение высот подвеса антенн

.3 Определение устойчивости связи

2.4 Определение процента времени, в течение которого V<Vmin из-за интервенционных замираний

.5 Расчет величины Тд(Vmin)

2.6 Расчет уровня сигнала на входе приемника

Выводы по проделанной работе

Список литературы

радиорелейный приемник трасса сигнал

Введение

Одним из основных видов средств связи являются радиорелейные линии прямой видимости, которые используются для передачи сигналов многоканальных телефонных сообщений, радиовещания и телевидения, телеграфных и фототелеграфных сигналов, передача газетных полос. Все виды сообщений передаются по РРЛ на большие расстояния с высоким качеством и большой надежностью.

Аппаратура приёмопередающая "Радиус-8" предназначена для организации как многоствольных аналоговых и цифровых телевизионных, телефонно-телевизионных и телефонных линий, так и многоствольных (до 4) цифровых линий внутризонового звена единой автоматизированной системы связи.

СВЧ-оборудование "Радиус-ДС-8" предназначено для зоновых цифровых и аналоговых сетей связи и может заменить оборудование второго поколения типа "Курс-8", "Ракита-8", сохраняя совместимость на уровне антенно-волноводного тракта. На радиорелейных линиях "Радиус-8" с числом стволов до 8 в одной системе резервирования могут работать совместно цифровые и аналоговые стволы в диапазоне частот 7,9...8,4 ГГц и с пропускной способностью до 34 Мбит/с. Широкое использование современной элементной базы, микрополосковой СВЧ-технологии обеспечивает низкую потребляемую мощность и хорошие эксплуатационные характеристики. В составе смешанной системы "Радиус-8" на линиях может применяться унифицированное оконечное оборудование "Рапира" и оборудование "Радуга". Приёмопередающая аппаратура "Радиус-8" состоит из двух видов комплектов.

Первый комплект включает в себя два сопряжённых по частоте (НВ и ВН) статива ПмПд-8Р Зг2.000.182 (с Зг2.000.182 по Зг2.000.182-15), предназначенные для работы на одном пролёте РРЛ. Второй комплект аппаратуры содержит только один статив ПмПд-8Р Зг2.000.182 (сЗг2.000.182-16 по Зг2.000.182-47). На текущий момент разработана приёмопередающая аппаратура, выполненная в симплексном варианте (статив приёмника Пм-8Р и статив передатчика Пд-8Р). Данный симплексный вариант позволяет удешевить подачу телевизионного сигнала в одну сторону.

В состав каждого комплекта поставки кроме перечисленной аппаратуры входит эксплуатационная документация согласно ведомости эксплуатационных документов Зг2.000.197 ЭД и с каждым стативом поставляется комплект запасных частей и принадлежностей (ЗИП) согласно Зг2.000.182 ЗИ.

Оборудование статива размещено в малогабаритном металлическом каркасе. Управление и контроль приемо-передающей аппаратурой радиорелейных линий (РРЛ) осуществляет оператор центральной станции с ЭВМ типа IBM-РС.

1. Выбор трассы. Определение структуры проектируемой РРЛ

.1 Требования, предъявляемые при выборе трассы РРЛ

Обеспечение связью населенных пунктов с учетом перспективы их развития.

Обеспечение высокого и стабильного по уровню и по времени принимаемого сигнала. Надежность и качество связи должна удовлетворять нормам.

Релейные станции располагаются зигзагообразно во избежание интерференционных замираний.

Необходимо обеспечить удобство электроснабжения, подъездные пути, возможность реализации продукции связи.

Радиорелейные станции по возможности располагаются на естественных возвышенностях с целью снижения высоты подвеса антенн.

Радиорелейные станции по возможности располагаются вдали от аэродромов. Запрещается использование плодородных пахотных земель.

.2 Определение типа РРЛ

Тип РРЛ определяется исходя из протяженности трассы, а так же исходя из скорости передачи цифровых сигналов. Протяженность проектируемой трассы составляет 130 км., а скорость передачи 8,448 Мбит/с. Следовательно данная линия является линией местной связи.

.3 Структура проектируемой РРЛ

Составим структуру проектируемой РРЛ

Определим количество участков проектируемой РРЛ

Участком называется расстояние между двумя узловыми станциями или между оконечной и ближайшей узловой, а в случае если участок один, то между оконечными.

 (1)

где L1 - длина эталонного участка линии связи

L-длина всей линии связи, L=130кмколичество участков

.

Выбираем n=1

Определим длину участка проектируемой РРЛ


 (2)

.

.4 Определение количества интервалов на участке РРЛ

Интервал называется расстояние между двумя соседними станциями.

Количество интервалов на участке РРЛ определяется по формуле (3):

 (3)



Принимаем следующие длины пролетов: L1=35 км, L2=35 км, L3=35 км, L4=5 км.

.5 Составление схемы размещения станций на участке

Рисунок 1. Схема размещения станций.

2. Расчет интервала РРЛ

.1 Построение профиля интервала

Профилем интервала называется вертикальный разрез местности с указанием на нем леса, высотных строений и т.д.

Высотные отметки профиля интервалов в метрах и относительная координата даны в таблице 1.

Таблица 1.

Ki

0

0.1

0.2

0.3

0.4

0.5

0.6

0.7

0.8

0.9

1

h, м

73

57

68

68

66

65

61

55

61

77

83

yi, м

0

7,2

12,8

16,8

19,2

20

19,2

16,8

12,8

7,2

0

(y+h),м

73

64,2

80,8

84,8

85,2

85

80,2

71,8

73,8

84,2

83


Расчет линии условного нулевого уровня (ЛУНУ).

Расчет произведем по формуле (4):

 (4)

где а - радиус земли (6370 км.);

yi - соответствующая координата ЛУНУ;- расстояние от начала отсчета до интересующей нас точки.

Для удобства расчетов преобразуем формулу (4) в формулу (5):


результаты расчета занесем в таблицу 1

По данным расчета строим профиль интервала.

Для этого выберем масштаб и строим ЛУНУ.

По горизонтали в 1 см=2 км.

По вертикали в 1 см=10м.

Расстояние h+y откладываем в соответствии с теми же координатами Ki, а затем соединяем полученные точки ломаной линией.

Профиль интервала построен.

.2 Определение высот подвеса антенн

Определяем относительную координату наивысшей точки профиля интервала по формуле (6):

, (6)

где  - расстояние до наивысшей точки профиля


Определим просвет интервала Н0, м. при распространении радиоволн в свободном пространстве, по формуле (7):

 (7)

где λ = 3,75 см. - средняя длинна волны

 м.

Статистика показывает, что примерно 50% рабочего времени, работа происходит не в условиях свободного пространства, а в условиях положительной рефракции, т.е. распространение радиоволн происходит с небольшим огибанием земной поверхности, поэтому реальный просвет становится больше чем в свободном пространстве, и такой интервал называют открытым, а увеличение просвета характеризует приращение просвета ΔН(q). Определим приращение просвета ΔН(q) при положительной рефракции характерной для 50% рабочего времени, по формуле (8):

 (8)

Где q - вертикальный градиент

 м.

Слишком большой просвет быть не должен т.к.

1) Возрастает опасность интерференционных замираний, когда в точку приема приходит основной сигнал и отражается от земли или тропосферы в противофазе с основным.

) Недостатком большого просвета является удорожание антенных опор и необходимости сигнального освещения мачт и дополнительные потери в фидерах.

Рекомендуемый просвет Н, м. выбираем в пределах, по формуле (9):

 (9)

 м.



Определим высоту подвеса антенны по чертежу профиля интервала

От наивысшей точки профиля интервала вертикально вверх откладываем полученную величину Н. Через полученную точку проводим прямую линию так чтоб высоты подвеса антенн были примерно одинаковыми.

Определим относительный просвет интервала P(q), по формуле (10):

 (10)


.3 Определение устойчивости связи

Для расчета устойчивости связи необходимо рассчитать минимально допустимый множитель ослабления.

Множитель ослабления зависит от параметров аппаратуры и от коэффициента ослабления антенно-волноводного тракта (АВТ).

Определим потери в АВТ по формуле (11):

 (11)

где аЭЛ = 0,8 дБ - потери в сосредоточенных элементах

аn = 0,12 дБ/м - погонное затуханиеВЕР 0 - длинна вертикального фидера.ВЕР = 0 так как приемное и передающее оборудование совмещено с антенной.ГОР - длинна горизонтального фидера.

Выбираем LГОР = 0,5 м для каждой станции.

 дБ.

Определим минимально допустимый множитель ослабления , дБ по формуле (12):

 (12)

где  = -88 дБн - чувствительность приемника при пороговом уровне сигнала (BER = 10-3).

 = 26 дБм - мощность сигнала на выходе передатчика.

λ = 3,75 см - длинна волны.

 - затухание в свободном пространстве определяется по формуле (13):

 (13)

- коэффициент усиления приемопередающей антенны определяется по формуле (14):

 (14)

где D = 1,75 м - диаметр антенны.

12896


Определим параметры сферы для оценки влияния экранирующего действия препятствия.

Для этого от наивысшей точки профиля интервала вертикально вниз откладываем расстояние, равное просвету свободного пространства H0. Через полученную точку проводим линию параллельную прямой соединяющей антенны до пересечения с профилем интервала.

Определим ширину препятствия r, км.

Значение ширины препятствия r определяем как длину отрезка между точками пересечения горизонтальной прямой с линией профиля

= 15,6 км

Определим относительную величину препятствия L, км., по формуле (15):

 (15)


Определим параметр , характеризующий радиус кривизны препятствия, по формуле (16):

 (16)


Определяем относительный просвет интервала для Vmin доп.

(q0) = -1.9

Определяем вспомогательный параметр A, необходимый для дальнейшего расчета устойчивости связи, по формуле (17):

 (17)


Определяем параметр ψ, необходимый для расчета процента времени в течение, которого множитель ослабления V < Vmin, доп., из-за экранирующего действия препятствия, по формуле (18):

 (18)


Если ψ > 5.2, то. экранирующее действие препятствия не вызывает срыва связи на интервале T0(Vmin)= 0.

2.4 Определение процента времени, в течение которого V<Vmin из-за интервенционных замираний

Определим процент времени , % в течение, которого V < Vmin доп, из-за интерференционных замираний, по формуле (19):

Выбираем коэффициент отражения от подстилающей поверхности Ф = 0.6

 (19)

,68дБ = 20lgx -= 0,0018

Т.к. подкоренное выражение отрицательно и равно - 0.26, значит, срыва связи из-за интерференционных замираний не будет.

.5 Расчет величины Tд(Vmin)

Величина Tд(Vmin) учитывается на ЦРРЛ работающих на частотах выше 8 ГГц.

По известному значению Vmin определяем максимально-допустимую интенсивность дождей для данного пролета.

= 200 мм/год

По графику в зависимости от номера климатического района определяем Tд от Vmin.д = 0,0001%, т.к. район Урала сухопутный район.

Расчет допустимого времени срывов связи для всей линии.


Определим допустимое время срывов связи для одного интервала по формуле (20):

 (20)


Определение времени в течении которого коэффициент ошибок 10-3 по формуле (21):

 (21)

Определим параметр Ттр по формуле (22):тр - это процент времени когда реальный множитель ослабления меньше Vmin допустимого из-за свойств тропосферы.


где  параметр учитывающий вероятность возникновения замираний с перепадом диэлектрической проницаемости воздуха  рассчитывается по формуле (23):

 (23)

МГц £ f £ 20 ГГц


Определим допустимую устойчивость связи Удоп, % по формуле (24):

Устойчивость связи - разность между 100% и временем срыва связи.

 (24)


Определим расчетную устойчивость связи Урасч, % по формуле (25):

 (25)


.6 Расчет уровня сигнала на входе приемника

Расчет уровня сигнала на входе приемника делается по основному уровню радиосвязи по формуле (26):

 (26)



Определим минимальную мощность сигнала на входе приемника по формуле (27):

 (27)


Выводы по проделанной работе

При выполнении данного проекта были сделаны следующие выводы:

) Так как скорость передачи информации В=8,448 Мбит/с и длина трассы L=130 км, то РРЛ является внутризоновой.

) На трассе были размещены три промежуточных РРС.

) Определили минимально допустимый множитель ослабления (-54,28 дБ).

) Произвели расчет допустимого и расчетного времени срывов связи; устойчивости связи.

) Минимальная мощность на входе приёмника: 26дБм.

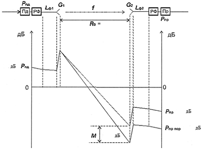
Рисунок 4 - Диаграмма уровней




Список литературы

1. Макавеева М.М. Радиорелейные линии связи. - М.: Радио и связь, 1988. - 312 с.

. Мордухович Л.Г. Радиорелейные линии связи. Курсовое проектирование: Учеб. Пособие для техникумов. - М.: Радио и связь, 1989. - 160 с.

Похожие работы на - Проектирование и расчет трассы радиорелейной линии

 

Не нашли материал для своей работы?
Поможем написать уникальную работу
Без плагиата!
Без нейросетей!