Оптимізація штучного охолодження при зварюванні таврової балки з легованих сталей
Реферат
Пояснювальна записка містить: стр.85, рисунків 35, таблиць 17.
Ключові слова: штучне охолодження при зварюванні, активна зона,
зварювання з тепловідводів, післязварювальна обробка, швидкість охолодження
сталі, термообробка зварних конструкцій, вібраційна обробка, температурні поля
при зварюванні, структурна діаграма, діаграми анізотерміческого перетворення
аустеніту, гідравлічні форсунки, зварювальний стан.
Об'єкт дослідження - процес регулювання штучного охолодження при
зварюванні.
Мета роботи - оптимізація умов штучного охолодження при зварюванні
легованих сталей. Для регулювання швидкості охолодження сталей, яке дозволяє
змінювати структурні перетворення сталей при зварюванні.
У роботі було використано метод дослідження - теоретичний.
В результатах роботи було визначено за допомогою чого регулювати штучне
охолодження при зварюванні легованих сталей і був розроблений стан для
зварювання таврових балок зі штучним охолодженням.
Визначено в роботі температурні поля при зварюванні, швидкості охолодження
при зварюванні сталей. Були побудовані графіки швидкостей охолодження легованих
сталей. Визначено деформації при зварюванні таврової балки без штучного
охолодження і з ним.
Зміст
Реферат
Зміст
Введення
1. Застосування штучного охолодження для зниження залишкових
деформацій і напруг легованих сталей
.1 Активна зона і її зв'язок з температурним полем, що
виникають при зварюванні
1.2 Методи регулювання зварювальних деформацій і напруг
.3 Відомі способи зварювання із тепловідведенням
.4 Класифікація легованих сталей
.5. Застосування таврових балок в промисловості
. Методика дослідження
.1 Розміри таврової балки
.2 Способи і режими зварювання
.3 Характеристика обраних сталей
.4 Вибір способу охолодження сталей
.5. Розрахунок швидкостей охолодження після зварювання
.6. Розрахунок деформацій таврових балок
3. Впливи штучного охолодження при зварюванні на швидкість
охолодження обраних сталей
3.1 Температурні поля при зварюванні тавра
3.2 Температурні поля при зварюванні тавра з використанням
штучного охолодження
.3 Визначення швидкості охолодження для сталей після
зварюванні тавра
. Оптимізація умов штучного охолодження при зварюванні
таврової балки з легованих сталей
.1 Оптімізація умов штучного охолодження при зварюванні
таврової балки з обраних сталей
4.2 Визначення деформацій після зварюванні таврової балки
4.3 Впливи штучне охолодження при зварюванні таврової балки
на деформації
.4. Розробка зварювального стенду з штучним охолодженням
таврових балок
5. Охорона праці та безпека у надзвичайних ситуаціях
5.1 Дослідження шкідливих та небезпечних аерозолів при
зварюванні таврових балок із сталей різного хімічного складу
Висновки
Список використаних джерел
Введення
Однією з основних проблем, з якими доводиться стикатися при виготовленні
зварних конструкцій, є проблема усунення зварювальних напруг і деформацій, які
в більшості випадків істотно негативно впливають на експлуатаційно-технологічні
показники виробів, погіршують зовнішній вигляд і т.д. Тому проблема усунення
зварювальних напруг і деформацій варто давно і не повністю вирішена на
сьогоднішній день. Це можна пояснити складністю процесу освіти зварювальних
напруг і деформацій, а також наявністю великої кількості різноманітних зварних
конструкцій і застосовуваних при їх виготовленні технологій зварювання.
Особливо гостро проблема виникнення зварювальних напруг і деформацій при
виготовленні зварних таврових балок. Які схильні до деформацій подовжньому
прогину, кутовий деформацією і ін. Усунення зварювальних напруг і деформацій у
таких конструкціях є досить складним завданням, для виконання якої пропонується
безліч різних способів [1, 2, 3].
Методи післязварювальної обробки зварних виробів, спрямовані на зниження
зварювальних напруг і деформацій, є найбільш трудо- і енергоємними. Витрати на
післязварювальну обробку можуть становити до 50 % загальних трудовитрат на
виготовлення виробу.
Однією з основних принципових можливостей зменшення зварювальних напруг і
деформацій стосовно таврових балках є регулювання теплового стану зварного
з'єднання. Найбільш широке поширення отримали такі способи регулювання
теплового стану зварного з'єднання, як застосування зварювання концентрованим
джерелами нагрівання, використання мідних охолоджуваних підкладок і т.д.
Але при зварюванні легованих сталей з використання штучного охолодження
виникають гартівні структурі в зварювальному шві та в околошовній зоні.
Необхідно дослідити вплив штучного охолодження на структуру легованих сталей і
необхідно оптимізувати штучне охолодження при зварюванні легованих сталей.
Мета і завдання дослідження. Мета магістерської роботи полягає в
оптимізації штучного охолодження при зварюванні таврової балки з легованих
сталей.
Для досягнення поставленої мети необхідно вирішити наступні завдання:
. Провести аналіз літературних даних впливу штучного охолодження при
зварюванні на зварні конструкції.
. Вибрати спосіб штучного охолодження при зварюванні.
. Визначити вплив штучного охолодження при зварюванні таврової балки на
швидкість охолодження легованих сталей.
. Розробити стенд для зварювання таврової балки зі штучним охолодженням.
Об'єкт дослідження - процес регулювання штучного охолодження при
зварюванні.
Предмет дослідження - є штучне охолодження при зварюванні легованих
сталей.
1. Застосування штучного охолодження для
зниження залишкових деформацій і напруг легованих сталей
.1 Активна зона і її зв'язок з
температурним полем, що виникають при зварюванні
Зварювання є одним з основних технологічних процесів у промисловості та
будівництві при виробництві металоконструкцій. Застосування останніх наукових
досягнень дозволить підвищити ефективність зварювальних робіт та якість зварних
конструкцій.
При виробництві зварних конструкцій важливою проблемою є виникнення
зварювальних деформацій і напруг, які знижують експлуатаційні характеристики
конструкцій, служать причиною їх передчасного руйнування, погіршують зовнішній
вигляд і т.д.
Виникнення деформацій і напруг обумовлено інтенсивним локальним нагрівом
при зварюванні плавленням і швидкою зміною температурного поля. Розширюється
при нагріванні метал відчуває вплив з боку холодного металу, крім того, при
зварюванні відбуваються різноманітні структурні перетворення і зміна механічних
і теплофізичних властивостей металу. Спільна дія цих чинників призводить до
виникнення напруг і деформацій.
При зварюванні протяжних швів, за винятком кінцевих ділянок поперечні
напруги близькі до нуля і тому будемо розглядати тільки поздовжні напруження
[4, 1, 2, 5].
За умовами рівноваги площі епюри розтягуючих і стискаючих напружень
повинні бути рівні. Т.к. реактивні напруги утворюються як компенсація
розтягуючих напружень, що виникають в активній зоні, то для їхнього зниження
необхідно знизити напруження в активній зоні або її ширину, отже, регулюючи
розміри активної зони можна знизити реактивні напруги і залишкові деформації в
зварних конструкціях.
Багато відомих методів розрахунку зварювальних напружень [4, 1] і
деформацій дозволяють стверджувати, що поле напружень пов'язано з температурним
полем. Згідно [1] існує дві зони пластичної деформації: високотемпературна, при
Т ³ 0,5 Тпл. і низькотемпературна Т < 0,5 Тпл. Основний внесок у
формування деформації формозміни вносить низькотемпературна деформація, зона
розвитку якої для низьколегованих сталей існує в проміжку між ізотермами 100 -
500 С.
Основна причина зварювальних деформацій - нерівномірний нагрів при
зварюванні. При нагріванні волокна, закріплені холодними ділянками, відчувають
пластичну деформацію укорочення. В процесі охолодження нижче температури появи
пружних властивостей виникає пластична деформація подовження, яка зростає по певним
законом і компенсує пластичну деформацію укорочення [4]. Таким чином,
вважається, що високотемпературна деформація не впливає на формування
залишкового поля деформацій і причиною утворення залишкових деформацій є
пластичні деформації укорочення.
Ширина активної зони визначає величину фіктивної усадочної сили, яка в
свою чергу визначає величину залишкових деформацій і напружень у зварному
з'єднанні. Таким чином, ширини розмірів активної зони призводить до зменшення
усадочною сили Рус і величини залишкових деформацій і напруг.
Розміри активної зони залежать від товщини металу, що зварюється,
жорсткості зварного з'єднання, параметрів режиму зварювання та інших умов[4].
Для регулювання розмірів зони 2bп в більшості випадків неможливо змінити
товщину металу, що зварюється або жорсткість зварної конструкції т.к. ці
параметри визначаються конструкцією вироби і задані технічними умовами. Тому
регулювання розмірів активної зони раціонально здійснювати за допомогою зміни
температурного поля при зварюванні.
В роботі [1] пропонується оцінювати розміри активної зони по смугам
плинності - слідами пластичної деформації, які виявляються на шліфованої
поверхні деяких матеріалів. Автор також наводить зв'язок форми різних смуг
плинності з температурним полем, що підтверджує зв'язок розподілу поля
деформацій і напруг з температурним полем при зварюванні. При зварюванні більш
складних з'єднань внапуск, таврових тепло між деталями буде поширюватися
нерівномірно, залежно від їх товщини, отже, і ширина зони пластичної деформації
в кожному елементі буде різною.
Для низьковуглецевих і низьколегованих сталей при зварюванні встик ширина
зони пластичних деформацій може бути визначена наближено за висловом [13]:
. (1.1)
1.2 Методи регулювання зварювальних
деформацій і напруг
Зменшення небажаних і створення бажаних напружень в зварних конструкціях,
зниження пластичних деформацій - одна з найважливіших задач. Для вирішення
даного завдання слід проаналізувати принципово можливі шляхи зниження залишкових
напруг і деформацій і визначити їх ефективність і технологічність.
Змінюючи термічний цикл зварювання можна частково знизити напруження і
деформації, обумовлені структурними перетвореннями.
Зменшення пластичної деформації досягається застосуванням різних заходів.
Заходи попередження залишкових деформацій:
• регулювання теплового стану металу зварного з'єднання при зварюванні,
• активне навантаження зварюваних елементів в процесі зварювання,
• компенсація деформацій.
• механічний вплив на зварне з'єднання зовнішніми силами,
• тепловий вплив на зварне з'єднання.
Регулювання теплового стану металу зварюваного вироби має на меті знизити
кількість введеної теплоти або перерозподілити її так, щоб знизити величину
залишкової пластичної деформації.
Для зменшення введеної теплоти можуть застосовуватися концентровані
джерела нагріву і зварювання з тепловідводів. Для перерозподілу теплоти у
виробі застосовують зварювання з підігрівом або тепловідведенням.
Активне навантаження деталей в процесі зварювання має на меті створити
деформації і напруження розтягування, які потім компенсуються стискають
зварювальними напруженнями і деформаціями.
Створення попереднього розтягування досягається різними способами. Для
створення розтягування достатньо докласти розтягуюче зусилля до зони 2bп.
Розтягування досягається додатком механічного навантаження [4], нагріванням
зварюваних елементів або зварюванням елементів, один з яких створює напруження
розтягу в іншому (зварювання фланця в отвір).
Компенсація деформацій виникають при зварюванні включає раціональне
конструювання зварного вузла, розробку оптимальної послідовності накладання
зварних швів, створення перед зварюванням деформацій, зворотних по знаку
зварювальним та ін.
Раціональне проектування зварного вузла полягає в проектуванні такого
з'єднання у якого зварні шви розташовані якомога ближче до центру ваги перерізу
або симетричні щодо центральних осей перерізу. Це призводить до зменшення
згинальних моментів або їх взаємної компенсації. Для компенсації згинальних
моментів важливе значення має послідовність накладення зварних швів тому
виконання кожного шва змінює жорсткість конструкції.
Створення деформацій зворотних по знаку зварювальним досягається
зварюванням попередньо зігнутих деталей (компенсацією прогину) і зварюванням
пластин з розвалом.
Ще одним способом зменшення зварювальних деформацій є зварювання із
застосуванням різних затискних пристосувань, в цьому випадку тимчасові
знижуються завдяки фіксації деталей, а залишкові деформації знижуються
внаслідок збільшення пластичних деформацій подовження, що розвиваються при
охолодженні деталей в жорсткому пристосуванні. Теоретично в разі застосування
абсолютно жорсткого пристосування усадкова сила знижується на 7-30%. У реальних
умовах усадкову силу можна знизити на 10-15% [6].
До заходів виконуваних після зварювання відносяться статичне
навантаження, прокатка зварних з'єднань, вібраційна обробка, термообробка,
термічна і механічна правка, градієнтна обробка та ін. [4].
Статичне навантаження полягає в додатку після зварювання до зварному
з'єднанню поздовжніх розтягуючих навантажень, які компенсують стискають
зварювальні напруги. Застосування статичного навантаження обмежено певною
групою конструкцій і величиною прикладеного зусилля.
У разі прокатки зварного з'єднання зона пластичної деформації піддається
пластичної осаді по товщині і відбувається рівномірне подовження металу, що
компенсує деформації укорочення.
Вібраційна обробка полягає у створенні в зварному з'єднання змінних
напруг певної величини за допомогою механічних вібраторів. При цьому
відбувається зменшення залишкових пластичних деформацій укорочення але за
кожний наступний цикл зниження деформації буде відбуватися на меншу величину.
Однак відсутні теоретично обґрунтовані рекомендації щодо режимів віброобробки,
що призводить до обмеженого застосування способу на практиці.
Термообробка зварних конструкцій є найбільш поширеним способом зняття
залишкових напруг і деформацій. Найбільш поширеною є відпустка виробів
(загальна або місцева). При нагріванні, витримці і охолоджуванні відбувається
перехід напруг з пластичної деформації в пружну. Місцева відпустка
відрізняється від повної локальним нагрівом вироби.
Термічна правка в основному застосовується для балкових і листових
конструкцій. При цьому для балкових конструкцій забезпечують нагрів в
результаті якого створюється зворотний зварювальному прогин [4].
При аналізі існуючих способів боротьби зі зварювальними напруженнями і
деформаціями видно, що вони різко розрізняються як по виду впливу (механічне,
термічне і ін.) так і за часом дії (до зварювання - раціональне проектування:
під час зварювання - вибір оптимальних параметрів режиму, зварювання
концентрованими джерелами нагрівання, зварювання з охолодженням і т.д.: після
зварювання - правка, прокатка, віброобробки і т.д.).
Тепловідведення від зварного з'єднання відбувається природним (конвекція,
радіація) або штучним шляхом. Природне тепловідведення залежить від температури
навколишнього середовища, швидкості руху повітря, ступеня чорноти зварного
з'єднання, шорсткості його поверхні і т.д.. Т.к. втрати тепла від природного
тепловідведення незначні то застосовується штучний тепловідвід.
Під зварюванням з тепловідводів розуміється зварювання з навмисним
примусовим відводом із зони зварювання теплоти, що вводиться в зварне з'єднання
джерелом нагрівання з використанням спеціальних охолоджувальних пристроїв -
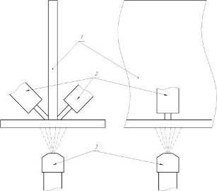
теплопоглинателів (рис.1.1.) Введена джерелом нагрівання теплота q
розподіляється на розплавлення основного металу і присадки і поширюється у
виріб згідно законам теплопровідності qізд., а потім йде з поверхні виробу за
рахунок природної тепловіддачі qe, і штучного тепловідведення qи, в
технологічну оснастку і тепловідвідні пристрої, які можуть бути розташовані з
лицьової 1 або зворотної 2 сторони виробу. Таким чином, будь-який спосіб зварювання,
при якому здійснюється інтенсифікація тепловідведення від виробу, може
вважатися способом зварювання із штучним тепловідведенням. Згідно з
теоретичними розрахунками
М.М. Рикалін відношення теплоти, необхідної для повного проплавлення до
теплоти, що вводиться у виріб при стиковому зварюванні тонких аркушів -
термічний ККД не може перевищувати 48,4% [7], а інше тепло не бере участь в
утворенні зварного з'єднання, але призводить до розвитку зварювальних напружень
і деформацій (паразитне тепло).
Рис. 1.1. Схема зварювання з примусовим тепловідводом
- зварювані деталі, 2 - оснастка
Таким чином контрольований відвід тепла з зварного з'єднання дозволяє
зменшувати зварювальні деформації і напруження.
Природний тепловідвід при зварюванні в нормальних умовах істотно не
позначається на температурному полі при зварюванні і тому необхідно
застосовувати спеціальні заходи з інтенсифікації тепловідводу - штучний
охолодження.
.3 Відомі способи зварювання із
тепловідводом
В роботі [8] запропоновано класифікацію способів охолодження зварюваємого
металу за різними ознаками: за агрегатним станом теплопоглинателей, за
суміщенням функцій, по температурі і ін.
Найбільш поширеними в промисловості, а також найбільш простими є мідні та
мідно-флюсові підкладки, а також тепловідвідні притиски. Для підвищення
ефективності тепловідведення і стабілізації тепловідвідних властивостей
застосовують мідні та мідно-флюсові підкладки з примусовим охолодженням. Для
цього в підкладках виконують канали для циркуляції охолоджуючого агента -
тосола, води та ін. Однак при використанні мідних підкладок і притисків
відводиться ними потік тепла в значній мірі залежить від якості теплового
контакту між підкладкою і виробом. Для його підвищення в роботі [8] пропонується
використовувати мідні підкладки, покриті шаром полуди або рідкого скла. Однак
промислове використання пропонованих заходів підвищення тепловідвідних
властивостей підкладок утруднено.
Також відомі тепловідвідні підкладки, в яких інтенсифікація відводу тепла
здійснюється за рахунок безпосереднього контакту охолоджує середовища з металом
охолоджуваного зварного виробу [9]. В якості охолоджувального середовища
пропонується використовувати повітря, інертний газ, рідина, в тому числі і
воду.
Відомо ще декілька різних способів примусового відведення тепла. Так, в
роботі [1] запропоновано пристрій для охолодження лицьової поверхні зварного
з'єднання, в якому використовується як охолоджуючого агента вода безпосередньо
контактує з металом. Поруч авторів як теплопоглинателів запропоновано
використання пористих матеріалів таких як скло - і мінераловата, різні порошки
та інші, просочених водою і також безпосередньо контактують з металом зварного
вироби [10, 11, 8]. В роботі [8] проведено аналіз різних факторів, таких як
щільність використовуваних пористих матеріалів, ступеня заповнення їх водою,
наявність не охолоджуваних ділянок та ін на ефектність і технологічність даного
способу охолодження.
Відомі способи примусового відведення тепла за допомогою так званих теплопоглинальних
паст. Ці пасти, що наносяться перед зварюванням у зону термічного впливу або
подаються на закристалізувався метал шва слідом за рухомою дугою, забезпечують
ефективний знімання тепла (до 2.23 кДж / г) не залежно від форми, площі та
просторового положення нагрітої поверхні. Найбільш ефективні з цих паст містять
до 70 ... 80% води і різні технологічні добавки.
Також в літературі описані більш екзотичні способи охолодження.
Наприклад, в роботі [12] описаний спосіб примусового охолодження зварного
виробу за допомогою струменя рідкого азоту з температурою 196 ° С. Існують й
інші варіанти охолодження, такі як охолодження околошовної зони із
застосуванням сухого льоду та ін. однак вони не знаходять широкого застосування
в промисловості через високу вартість обладнання і низькою технологічності цих
способів.
1.4 Класифікація легованих сталей
Класифікація легірованих сталей [13]
• низьколеговані
• середньолеговані
• високолеговані
До низьколегованої відноситься сталь, легована одним або декількома елементами,
якщо зміст кожного з них не перевищує 2%, а сумарний вміст легуючих добавок не
більше 5%. Низьколеговані сталі поділяються на низьковуглецеві конструкційні,
теплотривкі і середньовуглецевого стали[14].
Низьколегована низьковуглецевий конструкційна сталь з реакції на
термічний цикл зварювання мало відрізняється від звичайної низьковуглецевої
сталі. Різниця в основному полягає в дещо більшою схильності до утворення
гартівних структур в металі шва і околошовної зони при підвищених швидкостях
охолодження. Додаткове легування стали марганцем, кремнієм та іншими елементами
сприяє утворенню в зварних з'єднаннях гартівних структур. Тому режим зварювання
більшості цих сталей обмежується більш вузькими межами погонною енергії, ніж
при зварюванні низьковуглецевої сталі [14].
До середньолегованих відносяться сталі, леговані одним або декількома
елементами при сумарному їх утриманні 2,5-10%. Головною і загальною
характеристикою цих сталей є механічні властивості. Так, тимчасовий опір їх
становить 588-1960 МПа, що значно перевищує аналогічний показник звичайних
вуглецевих конструкційних сталей. При високих міцнісних властивостях
середньолеговані стали після відповідної термообробки по пластичності і
в'язкості не тільки не поступаються, але в ряді випадків і перевершують
маловуглецеву сталь. При цьому середньолеговані стали мають високу стійкість
проти переходу в крихкий стан. Тому їх застосовують для роботи в умовах ударних
і знакозмінних навантажень, низьких і високих температур, в агресивних
середовищах [14].
Високолеговані називають сталі на основі заліза, леговані одним або
декількома елементами в кількості 5-55%. Високолеговані сплави поділяють на дві
великі групи: а) сплави на залізонікелевій основі і б) сплави на нікелевій
основі. До залізонікелевих віднесені сплави, структура яких є твердим розчином
хрому та інших легуючих елементів в залізонікелевій основі (сума змістів нікелю
і заліза більше 65% при приблизному відношенні нікелю до заліза 1:1,5). До
нікелевих віднесені сплави, структура яких є твердим розчином хрому та інших
легуючих елементів в нікелевій основі (вміст нікелю не менше 55%) [14].
Фазові перетворення при термічній обробці сталей і їх зварюванні
протікають в змінних температурно-часових умовах, тому для аналізу їх кінетики
доцільно використовувати діаграми анізотерміческого перетворення аустеніту
(рис.1.2). Рейковий мартенсит так само називають пакетним, масивним,
дислокаційних, ні делегованим, комірчастим, бездвойніковим,
високотемпературним, ненаправленим утворюється в загартованих маловуглецевих
низько - та середньо-легованих сталях. Кристали рейкового мартенситу мають
форму рейок, рейки об'єднуються в пакети, причому в одному колишньому зерні
аустеніту.
Результати аналізу літературних даних показують, що використання
примусового (штучного) охолодження при зварюванні легованих сталей, веде до
підвищення швидкостей охолодження зварних з'єднаннях, в яких утворюються
гартівні структури. Необхідно оптимізувати штучного охолодження при зварюванні
легованих сталей, для усунення гартівних структур.
1.5 Застосування таврових балок в
промисловості
Балки знайшли широке застосування в сучасній будівельної індустрії та
промисловості при виробництві металоконструкції. Балки, що володіють підвищеною
жорсткістю, дозволяють істотно підвищити міцність металоконструкції. Балка дає
можливість розвантажити металоконструкцію, так як її підвищена жорсткість
дозволяє значно зменшити перетин інших елементів конструкції.
Таврових балка - це конструкція, що складається з полиці і стінки.
Вироблення таврових балок здійснюється двома способами: зварним і прокатним.
Прокатну таврову балку виготовляють на металургійних комбінатах на спеціальних
прокатних станах, коли сталевому розігрітому зливка надають форму тавра. Такі
балки ще називають гарячекатані. Зварену таврову балку виробляють шляхом
зварювання полки і стінки в єдину таврову конструкцію. І прокатні
(гарячекатані) і зварні балки мають як свої плюси, так і мінуси [15].
До недоліків гарячекатаної таврової балки слід віднести її високу
металомісткість через надмірно потовщеною стінки і як наслідок цього -
збільшення загальної маси металоконструкції. Другий істотний недолік прокатної
балки - це її розміри. На сучасних вітчизняних прокатних станах можливо
випускати таврові балки з шириною полиці не більше 400 мм. До того ж,
технологія виробництва таких балок дозволяє випускати їх тільки певної довжини,
згідно ГОСТу або ТУ [15]. Головними недоліками зварних таврових балок є:
використання додаткової арматури для створення ребер жорсткості і значно більші
трудовитрати при її виготовленні.
Але в той же час використання додаткових ребер жорсткості дозволяє значно
зменшити товщину стінки і знизити її загальну металоємність. У слідстві
зменшення металоємності зварної балки знижується і ціна балки, при цьому
повністю зберігаються незмінними всі механічні характеристики таврової балки.
Крім того, полегшена зварна таврова балка дозволяє знизити і загальну вагу
металоконструкції, отже можна буде ще заощадити і на пристрої фундаменту під
майбутнє швидке збудування будинка (БМЗ) [15]. Найважливішими плюсами зварної
балки є те, що вона виготовляється під індивідуальне замовлення, згідно з
технічним завданням. Технологія зварної таврової балки дозволяє виробляти їх з
шириною полиці від 102мм до 600мм з товщинною 10-41 мм, і висотою стінки від
150 мм до 915 мм з товщинною 6-25 мм, що неможливо технологічно для прокатної
балки.
2. Методика дослідження
.1 Розміри таврової балки
Необхідно вибрати розміри таврової балки для подальшого дослідження.
Балка неповинна мати великі товщини стінки і полиці, так як тоді сама таврових
балка буде менше деформована після зварювання. Розміри таврової балки: висота
400 мм, ширина 200 мм, довжина 15 м, товщини полки 12 мм і стінки 10 мм.
Загальний вид таврової балки представлений на рис. 2.1.
Рис. 2.1. Загальний вид таврової балки
2.2 Способи і режими зварювання
При виготовленні таврових балок зварні шви з'єднують полку зі стінкою, їх
виконують автоматичним дуговим зварюванням під шаром флюсу або в середовищі
захисних газів. Похилим електродом можна накладати одночасно два шви. Виконання
шва "в човник" дозволяє отримувати більш якісні зварні з'єднання,
проте доводиться повертати балку після виконання кожного шва. Для повороту
використовують двухстійкові, ланцюгові і кільцеві кантувателі. Зібрану балку з
прихопленими вихідними планками у вигляді тавріків укладають мостовим краном
під обертач або на зварювальний стенд. Зварювальні установки комплектують
зварювальними тракторами або підвісними голівками в залежності від габаритів
балок.
Зварювання тавра виконуємо механізованим зварюванням у захисних газах.
Захисний газ аргон. Розрахунок режимів зварювання в захисних газах виконується
відповідно [16].
Визначаємо силу струму:
(2.1)
Таблиця 2.1. Рекомендовані діаметри електродного дроту
|
Товщина зварюваного метала
|
0.6-1
|
1-2
|
2-4
|
5-8
|
8-12
|
12-18
|
|
Діаметр дроту, мм
|
0.5-0.8
|
0.8-1
|
1-1.2
|
1.6-2
|
2
|
2-2.5
|
Таблиця 2.2. Залежність величини зварювального струму від діаметра
електродного дроту
|
Діаметр дроту, мм
|
0,8
|
1,0
|
1,2
|
1,6
|
2,0
|
2,5
|
|
Межі струму , А
|
50-100
|
70-120
|
90-150
|
140-300
|
260-500
|
300-700
|
|
Щільність струму , А/мм2
|
100
|
85
|
80
|
70
|
65
|
60
|
Із
таблиць обираєм dэл=2 мм,
=65 А/мм2
Оптимальна
сила струму діаметром дроту 2 мм
[16].
Напруга
на дузі визначаємо за формулою:
(2.2)
Швидкість
зварювання визначаємо за формулою:
(2.3)
Для визначення коефіцієнта А можно використовувати табл. 2.3.
Таблиця 2.3. Залежність коефіціента А от діаметра зварювального дроту
|
dэл, мм
|
2
|
3
|
4
|
5
|
|
А, А∙м/ч
|
(11-13) (13-16) (18-22)
(22-30)
|
|
|
|
Погонна енергія зварювання:
(2.4)
= 0.75
(при механізованому зварюванні в захисних газах).
Дж/м
Швидкість подачі електродного дроту визначається за формулою:
(2.5)
де
- коефіціент наплавлення 10 г/А∙ч.,
γ=7,8- питома вага наплавленого металу, г/ см3.
2.3 Характеристика вибраних сталей
Для
подальших досліджень вибираємо чотири легованих сталей 09Г2С, 15ХГ, 16ГС, 12ХМ.
Хімічний
склад цих сталей зазначен в табл.2.4. Механічні властивості в табл.2.5.
Таблиця
2.4. Хімічний склад в % сталей
|
Сталі
|
C
|
Si
|
Mn
|
Ni
|
S
|
P
|
Cr
|
Cu
|
Mo
|
|
09Г2С
|
до 0.12
|
0.5 - 0.8
|
1.3 - 1.7
|
до 0.3
|
до 0.04
|
До 0.035
|
до 0.3
|
до 0.3
|
-
|
|
15ХГ
|
0.12 - 0.18
|
0.17 - 0.37
|
0.4 - 0.7
|
до 0.3
|
до 0.035
|
до 0.035
|
0.7 - 1
|
до 0.3
|
-
|
|
16ГС
|
0.12 - 0.18
|
0.4 - 0.7
|
0.9 - 1.2
|
до 0.3
|
до 0.04
|
до 0.035
|
до 0.3
|
до 0.3
|
-
|
|
12ХМ
|
до 0.16
|
0.17 - 0.37
|
0.4 - 0.7
|
до 0.3
|
до 0.025
|
до 0.025
|
0.8 - 1.1
|
-
|
0.4 - 0.55
|
Таблиця 2.5. Механічні властивості при Т=20oС сталей .
|
Сталь
|
Сортамент
|
σв
|
σT
|
Ψ
|
KCU
|
|
-
|
МПа
|
МПа
|
%
|
кДж / м2
|
|
09Г2С
|
Лист, ГОСТ 5520-79
|
430-490
|
265-345
|
21
|
590-640
|
|
15ХГ
|
Лист, ГОСТ 5520-79
|
450-490
|
275-325
|
55
|
|
|
16ГС
|
Лист, ГОСТ 5520-79
|
450-490
|
275-315
|
21
|
590
|
|
12ХМ
|
Лист, ГОСТ 5520-79
|
430-550
|
235-245
|
18-22
|
490-590
|
Холодні тріщини найчастіше виникають через загартованість сталі при
швидкому охолодженні та насиченні металу шва і зони термічного впливу воднем.
Для оцінки схильності металу до появи холодних тріщин найчастіше
використовується вуглецевий еквівалент Секв, яким можна користуватися як
показником, котрий характеризує зварюваність, при попередній оцінці останньої.
Для цієї мети існує ряд рівнянь. Найпоширенішим і прийнятним для сталей, які
використовуються у машинобудуванні, є наступне:
Знаходим еквівалент вуглицю для сталі 09Г2С
Знаходим
еквівалент вуглицю для сталі 15ГХ.
Знаходим
еквівалент вуглицю для сталі 16ГС.
Знаходим
еквівалент вуглицю для сталі 12ХМ.
Сталь
16ГС не схильна до холодних тріщін, сталі 09Г2С, 15ХГ менш схильні до холодних
тріщин, а сталь 12ХМ можливість появи холодним тріщинам.
Діаграми
анізотерміческого перетворення аустеніту сталей 09Г2С, 15ХГ, 16ГС, 12ХМ
представлені на рис.2.2, рис.2.3.
Рис.2.2.
Діаграма анізотерміческого перетворення аустеніту (а) і структурна діаграма (б)
низьколегованої сталі 15ХГ
Рис.2.3.
Діаграми аіізотерміческого перетворення аустеніту сталей:
(а)
09Г2С, (б) 16ГС, (в) 12ХМ
Оптимальні
швидкості охолоджень сталей 09Г2С, 15ХГ, 16ГС, 12ХМ представлені в табл. 2.6.
Таблиця
2.6. Оптимальний інтервал швидкості охолодження для сталей 09Г2С, 15ХГ, 16ГС,
12ХМ
|
Сталь
|
Оптимальний інтервал
швидкості охолодження
|
Кількість мартенситу,%,
відповідне межам ΔVопт
|
НВ, відповідна межам ΔVопт
|
|
ΔVопт, Сє /с
|
За якими властивостями
обраний (при +20 єС)
|
По какой пробе выбран
|
|
|
|
09Г2С
|
1,0-15
|
(при - 60 єС) ан>3
|
Валиковая (S = 12 мм)
|
-
|
215-185
|
|
15ХГ
|
2,4-16
|
ан>4 (при -70° С)
|
Валиковая (S = 20 мм)
|
-
|
200-225
|
|
16ГС
|
1,0-8,5.
|
(при - 60 є С) ан>2
|
Валиковая (S = 12 мм)
|
-
|
170-210
|
|
12ХМ
|
2-100
|
Ψ≥40
|
И МЕТ-1
|
0-50
|
155-275
|
2.4 Вибір способу охолодження сталей
Проведений аналіз літературних даних показав, що для запобігання або
повного усунення деформацій і напруг за допомогою регулювання теплового стану
зварного з'єднання запропоновано безліч різних способів. З них найбільш
ефективні, як показують експериментальні дані в роботах [7, 8], засновані на
безпосередньому контакті охолоджуючого агента (а саме води і з'єднань, що
містять воду в своєму складі) з охолоджуваним металом.
Для примусового охолодження металу шва і околошовной зони таврової балки
безпосередньо в процесі зварювання з метою зниження рівня залишкових напруг і
деформацій, в даній роботі пропонується пристрій, схема якого зображена на
рис.2.4.
Рис.2.5. Схема охолодження таврової балки
-Таврова балка, 2-Зварювальна головка, 3-Форсунка
В якості охолоджувального агента в пропонованому пристрої
використовується технічна вода, яка у вигляді розбризканої струменя подається
на зварюваний метал під зварювальної ванни.
При душирование високотемпературного металу в системах рідинного
охолодження застосовують компактні і розбризканих струменя охолоджуючої рідини.
Існує безліч різних способів розпилювання рідин. Нижче наведено короткий опис
деяких з них:
Гідравлічне розпилювання. При цьому способі розпилювання рідина дробиться
за рахунок тиску нагнітання при вільному розпаді струменя (плівки або первинних
великих крапель), що випливають з великою швидкістю з соплового отвору
розпилювача. Розпилюють пристрою, за допомогою яких реалізується цей спосіб,
широко відомі під назвою гідравліческіх форсунок.
Гідравлічне розпилювання - саме економічне (2 ... 4 кВт на 1 т рідини),
проте створюваний при цьому розпил досить грубий, утруднено регулювання витрати
рідини при заданій якості дроблення, а також розпилювання високов'язких рідин в
холодному стані. Однак цей спосіб найбільш широко поширений внаслідок його
порівняльної простоти.
Пульсаційне розпилювання - полягає в тому, що обурення, що викликають
дроблення струменя (плівки) рідини, посилюється за рахунок пульсацій тиску та
зміни витрат, які створюються періодичним перекриттям прохідних каналів (або
соплового отвори) розпилювача. Пульсації тиску призводять до збільшення
поверхневої енергії струменя, швидкою втратою нею стійкості і як наслідок до
більш тонкому розпилювання, ніж при перших трьох способах. Пульсаційне
розпилювання може поєднуватися з будь-яким з розглянутих вище способів, тобто
може бути реалізовано пульсаційно-гідравлічне, пульсаційної-механічне,
пульсаційної-пневматична розпилювання і т.д.
Рис. 2.6. Схеми гідравлічних форсунок
При цьому переваги того чи іншого способу доповнюються підвищенням якості
та однорідності дріблення, що відбувається в ряді випадків без збільшення
енерговитрат і при незначному ускладненні конструкції розпилювача. Для
розпилювання охолоджуючої рідини на зварюваний виріб найбільш доцільне
застосування гідравлічного способу розпилювання, так як він є найбільш
поширеними. Використовувані в даному способі розпилювачі - форсунки прості у
виготовленні і вимагають мінімальних витрат енергії на одержання розпилу
рідини. До них відносяться такі види форсунок: струменеві, відцентрові,
відцентрово-струминні, ударноструйні та ін. Коротка характеристика деяких
форсунок наведена нижче:
Струменеві форсунки - представляють собою насадку з одним або декількома
циліндричними або конічними соплами (рис. 2.6., А), з якого випливає струмінь
рідини, що розпадається на краплі щодо великого розміру і утворює факел з малим
кореневим кутом (близько 5 ... 20 ° ) і значною далекобійністю. Форсунки цього
типу дають дуже нерівномірний розпил, який кілька вирівнюється із збільшенням
відстані від форсунки. Щільність зрошення максимальна на осі факела і при
видаленні від неї різко зменшується.
Відцентрові форсунки (див. рис. 2.6., Б, в). У цих форсунках створюється
закрутка подається через неї рідини. В сопловому каналі, уздовж його стінки,
рідина рухається у вигляді обертається плівки, а центр заповнює так званий
повітряний вихор. При витіканні з сопла рідинна плівка розпадається, утворюючи
факел у вигляді порожнього конуса. За способом отримання закрутки потоку рідини
відцентрові форсунки діляться на тангенціальні, форсунки з завіхрітелем -
шнеком і спіральні (евольвентні).
Відцентрово-струменеві форсунки (див. рис. 2.6., Г, д). Форсунки цього
класу відрізняються від відцентрових наявністю двох потоків підводимої рідини.
Частина рідини підводиться тангенціально в камеру закручування або проходить по
гвинтових периферійним каналам вставки утворюючи обертовий потік, а інша
частина - через центральний отвір вставки, утворюючи суцільну струмінь. При
взаємодії цих потоків обертається рідина закручує центральну струмінь,
створюючи єдиний потік, який на виході з сопла утворює факел у вигляді
суцільного конуса. Ударно-струменеві форсунки (див. рис. 2.6., Е, ж). У цих
форсунках розпорошення відбувається поза корпусу насадки, а за рахунок удару
струменя об відбивач, розташований навпроти соплового отвора. В залежності від
конструкції відбивача утворюється факел у вигляді одиночного полого конуса або
у вигляді декількох конусів, як би вставлених один в одного.
Рис. 2.7. Розподілу рідини в розпорошуючи гідравлічних форсунок
а - струменева; б - відцентрова; в - відцентрово-струменева; г -
ударно-струменева.
Короткий порівняльний аналіз характеристик наведених вище видів
гідравлічних форсунок:
а) При рівних значеннях діаметра сопла і тиску рідини перед форсункою
найбільш тонкий розпил створюють відцентрові форсунки, більш грубий -
відцентрово-струменеві. Самий грубий розпил у струменевих форсунок.
б) Відцентрові форсунки найменшою продуктивністю. При рівних значеннях
діаметра сопла і тиску рідини перед форсунками різних видів, продуктивність
відцентрових в 2,5 - 3,5 рази менше.
в) Максимальна рівномірність розподілу рідини забезпечують
відцентрово-струменеві форсунки (рис. 2.7., в). Розподіл рідини в розпорошуючи
інших форсунок (з одиночним факелом) значно гірше. Різниця лише в тому, що
відцентрові і ударноструйние створюють порожнистий конус (див. рис. 2.7., б,
г), тобто максимально зрошується периферійна зона, а струменеві максимально
зрошують центр факела (див. рис. 2.7., а). При застосуванні багато факельних
форсунок розподіл поліпшується, але і в цьому випадку найкращою рівномірністю
характеризується сукупний запал багато соплова відцентрово-струменева форсунка.
г) Кореневий кут факела у більшості форсунок може варіюватися в дуже
широких межах (30 - 120 °); виняток становлять однофакельние струменеві
форсунки, у яких він дорівнює 5 - 20 °.
д) По конструктивної складності найбільш простими є струйні форсунки.
Далі йдуть нерегульовані відцентрові і відцентрово-струменеві форсунки.
Найбільш складними є ударно-струменеві форсунки.
Можна зробити висновок, що для охолодження зварюваного вироби найбільш
раціонально використовувати відцентрово-струменеві форсунки. Щодо малий
коефіцієнт витрати у відцентрово-струменевих форсунок дозволить більш точно
варіювати витратою охолоджувальної рідини шляхом зміни перепаду тиску на
форсунці.
2.5 Розрахунок швидкостей охолодження після
зварювання
Для управління фазово-структурними перетвореннями в металі зварного
з'єднання необхідно виконати оцінку теплового стану в умовах струминного
охолодження. Для цього встановимо аналітичні залежності для розподілу
температур при зварюванні з охолодженням, для автоматичного зварювання в
захисних газах.
Приймається схематизація теплових процесів при зварюванні відповідно до
аналітичної теорією, розробленої Фроловим В.В [17].
Розглянемо зварювання тавра як наплавлення валика на полицю і на стінку.
Охолоджуємо водою з нижнього боку полки тавра, і необхідно розглянути тільки
наплавлення валика на полицю. Уявімо наплавлення валика на полицю як схему
потужного швидкодвіжущіхся точковий джерела теплоти в нескінченній пластині з
тепловіддачею на поверхні і не повним вирівнюванням температури по товщині 12
мм.
Рис. 2.8. Розрахункова схема розповсюдження теплоти при однопрохідному
дуговому зварюванні
Точковий джерело теплоти постійної потужності q рухається з постійною
швидкістю v в напрямку осі х (рис. 2.8). Разом з джерелом теплоти переміщається
рухома система координат xyz, початок якої впорюємося з місцем розташування
центру джерела теплоти, точкою О. Потрібно визначити температуру деякої точки з
координатами (х, у).
У граничному стані процесу поширення теплоти при нагріванні пластини
потужним швидкорухающіхся лінійним джерелом з урахуванням поверхневої
тепловіддачі температура точки з координатами (х, у) відносного центру джерела
зварювального теплоти (точка О) розраховується за залежністю [17]:
(2.7)
де
- коефіцієнт поверхневої температуроотдачі, К0-функція
Бесселя 1-го роду нульового порядку, q-ефективна потужність.
Для
визначення ефективної потужності для наплавлення валика на полицю
використовуємо формулу:
(2.8)
Для визначення теплової потужності стоку тепла скористаємося формулою:
(2.9)
де q - тепло, одержуване металом; Qдж - повна теплова потужність джерела
нагрівання; с - питома теплоємність охолоджуючої середовища (для води з = 4,18
103 Дж/кг*K), Q - витрата охолоджуючої середовища, кг/с, температура кипіння
охолоджуючої рідини (для води 100 °С); початкова температура охолоджуючої
рідини.
(2.10)
При сталому русі струменя рідини, безперервно минає з сопла, витрата
рідини Q буде дорівнює добутку площі вихідного перетину отвору сопла Fc на
швидкість витікання v. Площа вихідного перерізу отвору сопла:
(2.11)
де dc - діаметр вихідного перерізу отвору сопла, м.
Швидкість v, м / с, закінчення струменя пов'язана з тиском р закінчення
МПа
(2.12)
Витрата рідини, м2/с, таким чином, дорівнює:
(2.13)
Для перекладу витрати в розмірність [кг/с] в формулу (2.13) додаємо
коефіцієнт 103.
(2.14)
Необхідний тиск охолоджувальної рідини можна визначити за формулою:
(2.15)
де
щільність охолоджуючої рідини,
напруга на дузі,
струм
дуги.
ефективний ККД процесу нагріву вироби дугою,
термічний ККД процесу. Для наплавлення валика на лист
термічний ККД дорівнює 0.484, для наплавлення валика на поверхню масивного
вироби - 0.368 [17].
Швидкість
охолодження визначається за номограми, наведеної на рис. 2.9.
Рис.
2.9. Розрахунковий графік для визначення миттєвої швидкості охолодження при
наплавленні валика на лист [17]
Спочатку
необхідно визначити критерій
(2.16)
Тн - температура Предварительно нагрева металла
Тm - температура наименьшей устойчивости аустенита, ° С
По рис. 2.9. находим безразмерного критерия ω.
Скорость охлаждения при наплавки валика на письмо определяется по формуле
[17]
(2.17)
2.6 Розрахунок деформацій таврових балок
Після зварювання поздовжнього шва таврової балки виникають усадкова сила
Рус, яка створює вкорочення балки, і момент від сили Рус на плечі е відносно
центра ваги перерізу, який викликає вигин балки дивись рис. 2.10.
Рис. 2.10 Поздовжній прогин таврової балки
Поздовжній прогин балки перебувати за формулою [18]:
(2.18)
Де
J-момент інерції тавра, L-довжина таврової балки,
- усадкова сила при зварюванні, е-ексцентриситети
програми усадочною сили по відношенню до відповідних центральних осях
поперечного перерізу балки.
В
загальному вигляді фіктивна усадкова сила при вирішенні термомеханічної
завдання визначається:
(2.19)
З (2.19) видно, що при відомих властивостях основного металу і товщині
для оцінки усадочною сили необхідно визначити розміри активної зони 2bп.
Для розрахунку активної зони 2bп використовуємо формулу [17]:
(2.20)
При зварюванні у вільному стані таврових з'єднань кутовими швами виникає
кутова деформація. На рис. 2.11 показана кутова деформація в таврових з'єднань.
Величина кутової деформації дорівнює кутку β.
Рис. 2.11 Кутова деформація в таврових з'єднань
С.А. Кузьмінов рекомендує визначати кутову деформацію при зварюванні
встик і в тавр маловуглецевих і низьколегованих сталей по номограмі (рис. 2.12)
в залежності від умов зварювання та розрахункової товщини δР.
Рис 2.12. Номограма для визначення кутової деформації при зварюванні
3. Впливи штучного охолодження при зварюванні
обраних сталей
.1 Температурні поля при зварюванні тавра
Для розрахунку термічних полів скористаємося програмним пакетом Mathcad
14. Сам розрахунок представлений в книзі [17]. Як видно на схемі рис. 2.5 сток
тепла безпосередньо відбирає тепло з полиці тавра. Необхідно визначимо ефективну
теплову потужність для полиці тавра для подальших розрахунків. Джерело теплоти
в зварювальній ванні є зварювальний пальник механізованого зварювання в
захисному газі, який всаджує ефективну теплову потужність в зварювальну ванну.
Розрахунками ефективну теплову потужність для однієї зварювального пальника при
зварюванні таврової балки.
(3.
1)
-розраховані
в пункті 2.2.,
-ККД для механізованого зварювання в захисних газах
одно 0.75%
Знайдемо
ефективну теплову потужність преходящую в полку тавра, використовуємо формулу
(2.8),
= 12 мм,
= 10мм.
Знайдемо
ефективну теплову потужність преходящую в стінку тавра.
(3.2)
Для
розрахунку теплових полів використовуємо формулу.
Необхідно
знати теплофізичні властивості сталей які в табл. 3.1
Таблиця 3.1 теплофізичні властивості металов [18]
|
Метал
|
Властивості при 20 °С
|
|
ρ
кг/м3
|
сρ Дж/(м°С)
|
λ
Вт/(м-°С)
|
-100
|
0
|
|
Алюминий:
|
|
|
|
|
|
|
чистый
|
2710
|
902
|
236
|
243
|
236
|
|
дюралюминий (96 % А1 + + 4
% Си + следы Mg)
|
2790
|
881
|
169
|
124
|
160
|
|
Силумин (87 % А1 + 13 % Sі)
|
2660
|
871+
|
162
|
139*
|
158
|
|
Бериллий
|
1850
|
1758
|
219
|
382
|
218
|
|
Медь:
|
|
|
|
|
|
|
чистая
|
8930
|
386
|
398
|
421
|
401
|
|
алюминиевая бронза (90 %
Си+ 10 % АІ)
|
8360
|
420
|
56
|
-
|
49
|
|
бронза (89 % Си+11 % Zn)
|
8800
|
343+
|
24,8*
|
-
|
24*
|
|
латунь (70 % Си+30 % Zn)
|
8440
|
377
|
109
|
90
|
106
|
|
медно-никелевый сплав (60 %
Си+ 40 % Ni)
|
8920
|
410*
|
22,2
|
19*
|
22,2
|
|
Золото
|
19300
|
127
|
315
|
331
|
318
|
|
Железо:
|
|
|
|
|
|
|
чистое
|
7870
|
455
|
81,1
|
96,7
|
83,5
|
|
армко
|
7860
|
455
|
73,2
|
82,9
|
74,7
|
|
серый чугун
|
|
|
|
|
|
|
(С=З %)
|
7570
|
470+
|
29,2
|
-
|
28,5
|
|
углеродистая сталь:
|
|
|
|
|
|
|
С=0,5 %
|
7840
|
465
|
49,8
|
-
|
50,5
|
|
С =1,0 %
|
7790
|
470
|
43,2
|
-
|
43,0
|
|
С=:1,5 %
|
7750
|
470
|
36,7
|
-
|
36,8
|
|
хромистая сталь
|
|
|
|
|
|
|
Сг=5 %
|
7830
|
460
|
36,1*
|
-
|
36,3*
|
|
Сг 13 %
|
7740
|
460
|
26,8
|
-
|
26,5
|
|
Сг - 17 % (АІ5І-430)
|
7710
|
460
|
22*
|
-
|
22
|
|
Сг = 26 %
|
7650
|
460
|
22,6
|
|
22,6
|
|
хромо-никелевая сталь
|
|
|
|
|
|
|
(18-20 % Сг+8-12 % Ni)
|
7820
|
460
|
15,2
|
12,2
|
14,7
|
|
(17-19 % Сг+9-13 % Ni)
|
7830
|
460
|
14,7
|
11,8
|
14,3
|
|
никелевая сталь:
|
|
|
|
|
|
|
Ni=1 %
|
7900
|
460
|
45,5
|
40,8
|
45,2
|
|
Ni = 3,5 %
|
7910
|
460
|
36,5
|
30,7
|
36,0
|
|
Ni = 25 %
|
8030
|
460
|
13
|
-
|
-
|
|
Ni= 35 % (чнвар)
|
8110
|
460
|
13,8
|
10,9
|
13,4
|
|
Ni=44 % (42 % железа)
|
8190
|
460
|
15,8
|
-
|
15,7*
|
|
Ni = 50 %
|
8260
|
460
|
19,6
|
17,3
|
19,4
|
|
Метал
|
Властивості при 20 °С
|
|
ρ
кг/м3
|
сρ Дж/(м-°С)
|
λ
Вт/(м-°С)
|
-100
|
0
|
|
(Мn= 12-13 % + Ni=30%)
|
7800
|
487
|
13,6*
|
-
|
-
|
|
Мn = 0,4%
|
7860
|
440
|
51 ,2*
|
-
|
-
|
|
вольфрамовая сталь (W=5-6
%)
|
8070
|
430
|
18,7
|
-
|
18,4*
|
|
Свинец
|
11340
|
128
|
35,3
|
37,2
|
35,5
|
|
Магний
|
1730
|
1020
|
156
|
160
|
157
|
|
Молибден
|
9590
|
255
|
138
|
146
|
139
|
|
Никель:
|
|
|
|
|
|
|
чистый
|
8900
|
444
|
91,4
|
144
|
94
|
|
хромель Р (90 % Ni + 10 %
Сг)
|
8670
|
440
|
18*
|
-
|
17*
|
|
нихром (80 % Ni + 20 % Сг)
|
8310
|
440
|
12,7
|
-
|
12,3
|
|
железо (99 % Ni + 0,6 % Fе)
|
8900
|
410*
|
69,5
|
-
|
-
|
Вибрані стали 09Г2С, 15ХГ, 16ГС, 12ХМ відносяться до низьколеговані
сталям схожі по хімскладу до низьковуглецевої сталі. З табл. 3.1 видно що стали
09Г2С, 15ХГ, 16ГС, 12ХМ відносяться до вуглецевої сталі С = 0,5%. Для сталей
09Г2С, 15ХГ, 16ГС, 12ХМ Сρ = 465 Дж / (кг ° С), λ
= 0,49 Вт / (см ° С),
а-коефіцієнт температуропровідності дорівнює а = 8 ∙ 10-6 м2 / с, α
- коефіцієнт повної
поверхневої тепловіддачі дорівнює α = 6 ∙ 10-5 Дж/мм2 ∙ К.
Був, зробив розрахунок теплових полів в програмному пакеті Mathcad 14 для
сталей 09Г2С, 15ХГ, 16ГС, 12ХМ. Розрахунок представлений на рис. 3.1.
Як видно на рис 3.2 для зварювання тавра використовуємо дві зварювальні
пальники які одночасно створив дві зварювальних ванн. При цьому температурні
поля накладаються один на одного. На рис. 3.3 видно зміщення температурних
полів. Це зміщення залежить від товщини стінки полиці. На рис 3.4 пердставлені
температурні поля при наплавленні двох валиків на лист толщиной 12 мм. Два валика
зміщені один від одного на товщину стінки тавра 10 мм.
Побудуємо температурні поля виникають на стінки тавра. Для цього
розглянемо зварювання стінки тавра як наплавлення валика на кромку листа.
Скористаємося тією ж формулою що і при розрахунку наплавлення валика на лист.
Результат представлений на рис. 3.5.
Рис. 3.1. Теплові поля при наплавлені валіка на лист толщиной 12мм,
температура у кельвинах
Рис. 3.2. Схема зварювання тавра 1-виріб тавр 2-зварювальні головки
Рис 3.3 Схема розподілу температурних полів при накладення двох швів при
зварюванні тавра. b'T1- ширіна температурного поля для першого шва b'T2- ширіна
температурного поля для другого шва
Рис. 3.4 Температурні поля при наплавленні двох валиків на лист

.2 Температурні поля при зварюванні тавра c
використанням штучного охолодження
Для визначення теплової потужності стоку тепла необхідно розчесати тиску
охолоджувальної рідини:
де
- с - для води с=4,18 103 Дж/кг*K,
,
0,75,
0,484,
1000 кг/м3
-2мм
5.4 кг/м2
(для
води 100°С);
20°С
Розрахункова витрата води для тиску води 5.57 атм.
=0,32
кг/с
Визначення теплової потужності стоку тепла
=1081 Вт
Визначаємо температурні поля при зварюванні таврової балки зі штучним
охолодженням за формулою:
(3.3)
Результат розрахунками в програмному пакеті Mathcad 14. Температурні поля
при зварюванні таврової балки зі штучним охолодженням, для полиці тавра
представлені на рис. 3.6, а для стінки тавра на рис. 3.7.
Рис. 3.6. Температурні поля на полиці при зварюванні таврової балки зі
стоком тепла 1081Вт
.3 Визначення швидкості охолодження для сталей
після зварюванні тавра
зварювальний деформація напруга сталь
Розглянемо швидкість охолодження сталей тільки для однієї зварювальної
ванни. Як видно на малюнках 2.2, 2.3. інтервал температур перетворень структур
від 100 є С до 700 є С. Температура найменшій стійкості аустеніту для сталей
09Г2С, 16ГС Тm = 400 є С, для стали 15ХГ Тm = 380 є С, для стали 12ХМ Тm = 450
є С.
Для
визначення швидкості охолодження не обходимо знайти критерій
за формулою (2.16).
Знайдемо
критерій
для сталей 09Г2С, 16ГС:
=1
З
номограми рис. 2.9. знаходимо безрозмірний критерій ω, де y/δ = 0.
ω = 0,8
Знайдемо
критерій
для стали 15ХГ:
=1,14
ω=0,75
Знайдемо
критерій
для стали 12ХМ:
=0,96
ω=0,85
Визначимо швидкість охолодження низьколегованих сталей після зварювання
тавра.
Швидкість охолодження для сталей 09Г2С, 16ГС:
=9,5 єС/с
Швидкість охолодження для сталі 15ХГ
8,9 єС/с
Швидкість
охолодження для сталі 12ХМ
12,27
єС/с
Знайдену швидкість охолодження для обраних сталей розглянемо на діаграмах
анізотерміческого перетворення аустеніту рис. 3.8, 3.9, 3.10, 3.11.
Рис.3.8 Швидкість охолодження сталі 09Г2С на діаграмі перетворення
аустеніту
Рис.3.9 Швидкість охолодження сталі 15ХГ на діаграмі перетворення
аустеніту
Рис.3.10 Швидкість охолодження сталі 16ГС на діаграмі перетворення
аустеніту
Рис.3.11 Швидкість охолодження сталі 12ХМ на діаграмі перетворення
аустеніту
Визначаємо швидкість охолодження низьколегованих сталей після зварювання
тавра зі штучним охолодженням за формулою:
(3.4)
Швидкість
охолодження для сталей 09Г2С, 16ГС
=12,39
єС/с
Швидкість охолодження для сталі 15ХГ
10,43
єС/с
Швидкість охолодження для сталі 12ХМ
16,8 єС/с
Знайдену швидкість охолодження після зварювання із штучним охолодженням
розглянемо на діаграмах анізотерміческого перетворення аустеніту рис. 3.12,
3.13, 3.14, 3.15.
Рис.3.12. Швидкість охолодження сталі 09Г2С на діаграмі перетворення
аустеніту
111
- Швидкість охолодження після зварювання тавра зі штучним охолодженням
1111
- Швидкість охолодження після зварювання тавра без штучного охолодження
Рис.3.13. Швидкість охолодження сталі 15ХГ на діаграмі перетворення
аустеніту
111
- Швидкість охолодження після зварювання тавра зі штучним охолодженням
1111
- Швидкість охолодження після зварювання тавра без штучного охолодження
Рис.3.14 Швидкість охолодження сталі 16ГС на діаграмі перетворення
аустеніту
111
- Швидкість охолодження після зварювання тавра зі штучним охолодженням
1111
- Швидкість охолодження після зварювання тавра без штучного охолодження
В обраних сталях після зварювання без штучного охолодження не переходить
аустеніт в мартенсит.
У сталях 09Г2С, 16ГС і 15ХГ після зварювання із штучним охолодженням не
утворюється мартенсит це видно на рис. 3.12, 3.13, 3.14.
А в сталі 12ХМ після зварювання із штучним охолодженням, можливо,
утворюється мартенсит як видно на рис. 3.15.
4. Оптимізація умов штучного охолодження при
зварюванні таврової балки з легованих сталей
.1 Оптімізація умов штучного охолодження при
зварюванні таврової балки для обраних сталей
У пункті 2.5 видно для регулювання штучного охолодження необхідно
розглянути формулу стоку тепла (2.9). У формулі (2.9) тільки можна регулювати
витрату охолоджуючої рідини. Витрата залежить від тиску охолоджувальної рідини.
Для визначення тиску охолоджувальної рідини необхідно поєднати формули
(2.9), (2.14), (2.16), (2.17) в одну (4.1).
(4.1)
Швидкість охолодження для полки таврової балки перебувати за формулою:
(4.2)
Знаючи
оптимальну швидкість охолодження сталі можна знайти тиску охолоджувальної
рідини за формулою:
(4.3)
Де
для всіх сталей с=41,8 Дж/кг∙K,
,
0,75,
1000
кг/м3
-2мм ,
=12мм,
=10мм,
(для
води 100°С);
20°С, Тн=20°С.
Знайдемо оптимальне умова охолодження сталей 09Г2С, 15ХГ, 16ГС, 12ХМ при
зварюванні з штучним охолодженням таврової балки. За формулою (4.3) знайдемо
необхідний тиск води для оптимальної швидкості охолодження сталей.
Оптимальна швидкість охолодження стали 09Г2С в табл. 2.6, w = 15 є С/с. У
пункті 3.3 для сталі 09Г2С визначено безрозмірний критерій ω
= 0,8, Тm = 400 є С
Знаходимо тиск води для оптимальної швидкості охолодження стали 09Г2С.
=14,6
кг/м2
Оптимальна швидкість охолодження стали 15ХГ в табл. 2.6, w = 16 є С / с.
У пункті 3.3 для сталі 15ХГ визначено безрозмірний критерій ω
= 0,75, Тm = 380 є С
Знаходимо тиск води для оптимальної швидкості охолодження стали 15ХГ:
=27,3
кг/м2
Оптимальна швидкість охолодження стали 16ГС в табл. 2.6, w = 8,5 є С / с,
але на рис. 2.3 видно що оптимальна швидкість 14 є С / с. У пункті 3.3 для
сталі 16ГС визначено безрозмірний критерій ω = 0,8, Тm = 400 є С
Знаходимо тиск води для оптимальної швидкості охолодження стали 16ГС:
=11,26
кг/м2
Оптимальна швидкість охолодження стали 12ХМ в табл. 2.6, w = 2-100 єС/с,
але на рис. 2.3 видно що оптимальна швидкість 12 єС/с. У пункті 3.3 для сталі
12ХМ визначено безрозмірний критерій ω = 0,8, Тm = 450 є С
Знаходимо тиск води для оптимальної швидкості охолодження стали 12ХМ.
Для
оптимізації штучного охолодження при зварюванні легованих сталей необхідно
знайти тиску охолоджувальної рідини. Знайдені тиску води для оптимальних
швидкостей охолодження запишемо в табл. 4.1
Таблиця. 4.1 Потрібний тиск води для обраних сталей
|
Стали
|
09Г2С
|
15ХГ
|
16ГС
|
12ХМ
|
|
Необхідний тиск води p,
кг/м2
|
14,6
|
27,3
|
11,26
|
2,09
|
Температурні поля при зварюванні з оптимальним штучним охолодженням для
сталей 09Г2С, 15ХГ, 16ГС, 12ХМ представлені на рис. 4.1, 4.2, 4.3, 4.4
Рис. 4.1. Температурні поля полки при зварюванні з оптимальним штучним
охолодженням для стали 09Г2С
Рис. 4.2. Температурні поля полки при зварюванні з оптимальним штучним
охолодженням для стали 15ХГ
.2 Визначення деформацій після зварюванні
таврової балки
Метод визначення деформацій таврової балки після зварюванні представлений
в пункті 2.6. Визначимо деформації після зварюванні таврової балки без штучного
охолодження.
Знайдемо активну зону на полиці таврової балки при зварюванні для сталей
09Г2С, 15ХГ, 16ГС, 12ХМ.
(4.4)
-
Температура при наплавленні валика на лист = 573 К
=6.7 см
Знайдемо
активну зону на стінки таврової балки при зварюванні для сталей 09Г2С, 15ХГ,
16ГС, 12ХМ:
(4.5)
=3,3см
Загальна усадкова сила для полиці і стінки таврової балки для двох
пальників визначається за формулою:
(4.6)
Визначимо
усадкову силу для стали 09Г2С.
=2600Н
Визначимо
усадкову силу для стали 15ХГ.
=2375Н
Визначимо
усадкову силу для стали 16ГС.
=2450Н
Визначимо
усадкову силу для стали 12ХМ.
=1847Н
Визначимо момент інерції таврової балки. Розміри таврової балки
представлені на рис. 2.1. На рис. 4.1 представлена схема поперечного перерізу таврової
балки.
Рис. 4.1. Схема поперечного перерізу таврової балки
Визначаємо центра тяжіння поперечного перерізу балки:
(4.7)
F= δ2ּB+
δ1ּH1=1.2ּ20+1ּ38,8=62,8 ñì=Í-δ2=40-1.2=38.8 см
Знаходимо моменти інерції щодо осі х:
(4.8)
(4.9)
(4.10)
3458+7350=10808ñì4
Çíàõîäèìî ìîìåíòè
³íåðö³¿ ùîäî îñ³
ó:
(4.11)
(4.12)
(4.13)
Çíàõîäèìî ìîìåíòè
³íåðö³¿
(4.14)
Çíàõîäèìî ïîçäîâæí³é
ïðîãèí òàâðîâî¿
áàëêè äëÿ ñòàëè
09Ã2Ñ
=29ñì
Çíàõîäèìî ïîçäîâæí³é
ïðîãèí òàâðîâî¿
áàëêè äëÿ ñòàëè
15ÕÃ
=26,85ñì
Çíàõîäèìî ïîçäîâæí³é
ïðîãèí òàâðîâî¿
áàëêè äëÿ ñòàëè
16ÃÑ
=27,7ñì
Çíàõîäèìî ïîçäîâæí³é
ïðîãèí òàâðîâî¿
áàëêè äëÿ ñòàëè
16ÃÑ
=20,8ñì
Âèçíà÷àºìî
êóòîâó äåôîðìàö³þ
ïî ä³îãðàìå íà
ðèñ. 4.2
Ðèñ 4. 2. Íîìîãðàìà
äëÿ âèçíà÷åííÿ
êóòîâèé äåôîðìàö³¿
ïðè çâàðþâàíí³ñâ
= 40ì/ãîä
Çíàõîäèìî ïàðàìåòð
äëÿ îáðàíèõ ñòàëåé.
4218Äæ/ñì3
Êóòîâà äåôîðìàö³ÿ
ðàâíà β=0,012 ðàä=0,76º
4.3 Âïëèâ øòó÷íîãî
îõîëîäæåííÿ ïðè
çâàðþâàíí³ òàâðîâî¿
áàëêè íà äåôîðìàö³¿
Âèçíà÷èìî äåôîðìàö³¿
ï³ñëÿ çâàðþâàíí³
òàâðîâî¿ áàëêè
ç øòó÷íîãî îõîëîäæåííÿ.
Âèçíà÷èìî îïòèìàëüíèé
ñòîê òåïëà äëÿ
ñòàëè 09Ã2Ñ. Òèñêó
âîäè âèáèðàºìî
ç òàáë. 4.1.
=0,53 êã/ñ
=1772 Âò
Âèçíà÷èìî îïòèìàëüíèé
ñòîê òåïëà äëÿ
ñòàëè 15ÕÃ.
=0,72 êã/ñ
=2407 Âò
Âèçíà÷èìî îïòèìàëüíèé
ñòîê òåïëà äëÿ
ñòàëè 16ÃÑ.
=0,467 êã/ñ
=1561,6 Âò
Âèçíà÷èìî îïòèìàëüíèé
ñòîê òåïëà äëÿ
ñòàëè 12ÕÌ.
=0,2 êã/ñ
=668,8 Âò
Çíàéäåìî
àêòèâíó çîíó
äëÿ ïîëêè òàâðîâî¿
áàëêè ïðè çâàðþâàíí³
äëÿ ñòàë³ 09Ã2Ñ
=4.2ñì
Çíàéäåìî
àêòèâíó çîíó
äëÿ ïîëêè òàâðîâî¿
áàëêè ïðè çâàðþâàíí³
äëÿ ñòàë³ 15ÕÃ
=3,3ñì
Çíàéäåìî
àêòèâíó çîíó
äëÿ ïîëêè òàâðîâî¿
áàëêè ïðè çâàðþâàíí³
äëÿ ñòàë³ 16ÃÑ
=4,5ñì
Çíàéäåìî
àêòèâíó çîíó
äëÿ ïîëêè òàâðîâî¿
áàëêè ïðè çâàðþâàíí³
äëÿ ñòàë³ 12ÕÌ
=5,7ñì
Âèçíà÷èìî
óñàäêîâó ñèëó
äëÿ ñòàëè 09Ã2Ñ.
=1951Í
Âèçíà÷èìî
óñàäêîâó ñèëó
äëÿ ñòàëè 15ÕÃ.
=1568Í
Âèçíà÷èìî
óñàäêîâó ñèëó
äëÿ ñòàëè 16ÃÑ.
=1911Í
Âèçíà÷èìî
óñàäêîâó ñèëó
äëÿ ñòàëè 12ÕÌ.
=1667Í
Çíàõîäèìî ïîçäîâæí³é
ïðîãèí òàâðîâî¿
áàëêè äëÿ ñòàëè
09Ã2Ñ
=22,5ñì
Çíàõîäèìî ïîçäîâæí³é
ïðîãèí òàâðîâî¿
áàëêè äëÿ ñòàëè
15ÕÃ
=17,7ñì
Çíàõîäèìî ïîçäîâæí³é
ïðîãèí òàâðîâî¿
áàëêè äëÿ ñòàëè
16ÃÑ
=21,6ñì
Çíàõîäèìî ïîçäîâæí³é
ïðîãèí òàâðîâî¿
áàëêè äëÿ ñòàëè
12ÕÌ
=17,7ñì
Çíàõîäèìî ïàðàìåòð
äëÿ ñòàëè 09Ã2Ñ.
3110Äæ/ñì3
Ïî íîìîãðàììå
ðèñ 4.2 β=0,008 ðàä=0,5º
Çíàõîäèìî ïàðàìåòð
äëÿ ñòàëè 15ÕÃ.
2700Äæ/ñì
Ïî íîìîãðàììå
ðèñ 4.2 β=0,005 ðàä=0,31º
Çíàõîäèìî ïàðàìåòð
äëÿ ñòàëè 16ÃÑ.
3200Äæ/ñì3
Ïî íîìîãðàììå
ðèñ 4.2 β=0,085 ðàä=0,54º
Çíàõîäèìî ïàðàìåòð
äëÿ ñòàëè 12ÕÌ.
3800Äæ/ñì3
Ïî íîìîãðàììå
ðèñ 4.2 β=0,09 ðàä=0,57º
Ðåçóëüòàòû ðàñ÷åòà
âíîñèì â òàáë.
4.2
Òàáëèöÿ 4.2. Äåôîðìàö³¿
ï³ñëÿ çâàðþâàííÿ
òàâðîâî¿ áàëêè
ç ëåãîâàíèõ ñòàëåé
|
Ñòàë³
|
09Ã2Ñ
|
15ÕÃ
|
16ÃÑ
|
12ÕÌ
|
|
Ïîçäîâæí³é
ïðîãèí ï³ñëÿ çâàðþâàííÿ
òàâðîâî¿ áàëêè,
ìì
|
290
|
268
|
277
|
208
|
|
Ïîçäîâæí³é
ïðîãèí ï³ñëÿ çâàðþâàííÿ
³ç øòó÷íèì îõîëîäæåííÿì
òàâðîâî¿ áàëêè,
ìì
|
225
|
177
|
216
|
177
|
|
Äîïóñêàåìèé
ïðîãèí áàëêè
íà 1ì, ìì
|
2
|
|
Ñòàë³
|
09Ã2Ñ
|
15ÕÃ
|
16ÃÑ
|
12ÕÌ
|
|
Äîïóñêàåìèé
ïðîãèí áàëêè
íà 15ì, ìì
|
30
|
|
Êóòîâà
äåôîðìàö³ÿ ï³ñëÿ
çâàðþâàííÿ òàâðîâî¿
áàëêè, º
|
0,67
|
|
Êóòîâà
äåôîðìàö³ÿ ï³ñëÿ
çâàðþâàííÿ ³ç
øòó÷íèì îõîëîäæåííÿì
òàâðîâî¿ áàëêè,
º
|
0,5
|
0,31
|
0,54
|
0,57
|
|
|
|
|
|
|
|
|
4.4 Ðîçðîáêà
çâàðþâàëüíîãî
ñòåíäó ç øòó÷íèì
îõîëîäæåííÿì
òàâðîâèõ áàëîê
Ó ïóíêò³ 2.1 âèäíî,
ùî äîâæèíà òàâðîâî¿
áàëêè äóæå âåëèêà
15ì. Äëÿ âèãîòîâëåííÿ
òàâðîâèõ áàëîê
òàêî¿ äîâæèíè
íåîáõ³äíî äîâãèé
ïðîë³ò öåõó. Ïåðåì³ùåííÿ
ï³ä ÷àñ âèãîòîâëåííÿ
äåòàëåé ³ ãîòîâî¿
òàâðîâî¿ áàëêè
ïî öåõó ðåêîìåíäóºòüñÿ
íà ðîëüãàíã³.
Íà ðèñ. 2.5 âèäíî
ùî îõîëîäæóº ôîðñóíêà
ðóõàºòüñÿ áåçïîñåðåäíüî
ç³ çâàðþâàëüíèìè
ãîëîâêàìè. Íåîáõ³äíî
ðîçðîáèòè òàêèé
çâàðþâàëüíèé
ñòåíä, ùîá çâàðþâàëüí³
ãîëîâêè ç îõîëîäæóþ÷îþ
ôîðñóíêîþ ï³ñëÿ
çâàðþâàííÿ òàâðîâî¿
áàëêè íå ïîâåðòàëèñÿ
â ïî÷àòêîâó òî÷êó
çâàðþâàííÿ. Öå
çíèæóº øâèäê³ñòü
âèãîòîâëåííÿ
áàëêè, òàê ÿê 15
ìåòð³â âèêîíóºòüñÿ
çâàðþâàííÿ ³
ùå 15 ìåòð³â íà çâîðîòíèé
øëÿõ. Îõîëîäæóþ÷à
ôîðñóíêà æîðñòêî
çàêð³ïëåíà äî
çâàðþâàëüíèõ
ãîëîâîê, òàê æå
ðîçòàøîâàíà
ï³ä òàâðîâî¿ áàëêîþ
ïðè çâàðþâàíí³,
³ íèæíÿ ïîâåðõíÿ
áàëêè (ïîëêó) íàëåæíà
áóòè íå çàêðèòîþ
äëÿ îõîëîäæåííÿ
âîäîþ.
Äëÿ âèð³øåííÿ
âèùå ïåðåë³÷åíèõ
ïðîáëåì íåîáõ³äíî
âèêîðèñòîâóâàòè
çâàðþâàëüíèé
ñòàí, ÿêèé áóâ
ðîçðîáëåíèé äëÿ
çâàðþâàííÿ òàâðîâèõ
áàëîê ç³ øòó÷íèì
îõîëîäæåííÿì.
Çâàðþâàëüíèé
ñòàí ïðåäñòàâëåíèé
íà ðèñ. 3.16.
Ðèñ. 3.16 Çâàðþâàëüíèé
ñòàí ç³ øòó÷íèì
îõîëîäæåííÿì
äëÿ òàâðîâî¿ áàëêè
Äëÿ çâàðþâàííÿ
òàâðà âèêîðèñòîâóþòüñÿ
ìåõàí³çîâàíèé
àâòîìàò äëÿ äóãîâîãî
çâàðþâàííÿ ÏÄÃÎ-601.
Õàðàêòåðèñòèêà
àâòîìàòà ÏÄÃÎ-601
â òàáë. 3.2
Òàáëèöÿ 3.2. Õàðàêòåðèñòèêà
àâòîìàòà ÏÄÃÎ-601
|
Íàéìåíóâàííÿ
ïàðàìåòðà
|
Çíà÷åíèÿ
|
|
Íàïðóãà
æèâëåííÿ, Â
|
27
|
|
×àñòîòà,
Ãö
|
50
|
|
Íîì³íàëüíèé
çâàðþâàëüíèé
ñòðóì, À
|
630
|
|
Íîì³íàëüíà
çâàðþâàëüíà
íàïðóãà, Â
|
44
|
|
Ìåæ³
ðåãóëþâàííÿ
çâàðþâàëüíîãî
ñòðóìó, À*
|
150-1000
|
|
ijàìåòð
ñòàëåâèì ñóö³ëüíèì
äðîòó, ìì
|
1,2-2,0
|
|
ijàìåòð
ïîðîøêîâîãî äðîòó,
ìì
|
1,2-3,2
|
|
Ìåæ³
ðåãóëþâàííÿ
øâèäêîñò³ ïîäà÷³
åëåêòðîäíîãî
äðîòó, ì / ÷
|
60-820
|
|
Ìåæ³
ðåãóëþâàííÿ
÷àñó ïîïåðåäíüî¿
ïðîäóâêè ãàçó,
ñåê, (ò³ëüêè â ðåæèì³
"Äîâã³ øâè")
|
0,2-1,2
|
|
Ìåæ³
ðåãóëþâàííÿ
÷àñó ïðîäóâêè
ãàçó ï³ñëÿ çâàðþâàííÿ
(çàøèòà çâàðþâàëüíî¿
âàííè), ñåê, (ò³ëüêè
â ðåæèì³ "Äîâã³
øâè")
|
0,2-2,0
|
|
Ìåæ³
ðåãóëþâàííÿ
÷àñó çàòðèìêè
â³äêëþ÷åííÿ âèïðÿìëÿ÷à
(âèë³ò äðîòó), ñåê
|
0,2-1,5
|
|
Ìåæ³
ðåãóëþâàííÿ
÷àñó íàðîñòàííÿ
øâèäêîñò³ ïîäà÷³
åëåêòðîäíîãî
äðîòó â³ä ì³í³ìàëüíîãî
äî âñòàíîâëåíîãî
çíà÷åííÿ (ì'ÿêèé
ñòàðò), ñåê
|
0,2-2,0
|
ϳñëÿ ñêëàäàííÿ
òàâðîâó áàëêó
òðàíñïîðòóþòü
ïî ðîëüãàíãó ³
ïîòðàïëÿº ïî íàïðÿìíèõ
â çâàðþâàëüíèé
ñòàí. Ðîëüãàíã
ñêëàäàºòüñÿ ç
îïîð ³ ðóõîìèõ
ðîëèê³â. Çâàðþâàëüíèé
ñòàí ñêëàäàºòüñÿ
ç ïîðòàëó ÿêèé
ñòî¿òü íà îïîðàõ.
Äî ïîðòàëó çàêð³ïëåíèé
çâàðþâàëüíèé
àâòîìàòè. Ó íèæí³é
÷àñòèí³ çâàðþâàëüíîãî
ñòàíó ðîçòàøîâàíèé
áëîê îõîëîäæåííÿ
ïðè çâàðþâàíí³.
Òðàêòîð ñâàðî÷íûé
äâóõäóãîâîé,
2õ630À, ÏÂ-100%, d2mm, ìèêðîïðîöåññîðíûé
áëîê óïðàâëåíèÿ,
ïëàâíàÿ íåçàâèñèìàÿ
ðåãóëèðîâêà ñêîðîñòåé
ïîäà÷è ïðîâîëîêè
è ñêîðîñòè ïåðåìåùåíèÿ
òðàêòîðà, öèôðîâàÿ
èíäèêàöèÿ ïàðàììåòðîâ
ñâàðî÷íîãî ðåæèìà,
õðàíåíèå íàñòðîåííûõ
ðåæèìîâ â ïàìÿòè
áëîêà óïðàâëåíèÿ.
Ïîñìîòðåòü
îïèñàíèå a ôîðìàòå
.pdf <#"728921.files/image171.gif"> (5.2)
(5.3)
äå
Êç - êîåô³ö³ºíò
øâèäêîñò³ ïëàâëåííÿ
ìåòàëó, ì3/(À∙ñ),
àñ
- êîåô³ö³ºíò, äîð³âíþº
;
Ê2 - êîåô³ö³ºíò
îêèñíî¿ çäàòíîñò³
çàõèñíîãî ãàçó
(ñåðåäîâèùà), ùî
çàëåæèòü â³ä ïàðö³àëüíèõ
òèñê³â ãàç³â,
ùî ì³ñòÿòü êèñåíü;ï.ï
- øâèäê³ñòü ïîäà÷³
åëåêòðîäà, ì/ãîä;ý
- ïåðåòèí åëåêòðîäà,
ìì2;
[Ñ]ð - ð³âíîâàæíà
êîíöåíòðàö³ÿ
âóãëåöþ â ìåòàë³,
ïðè ð³âíîâàç³
â ñèñòåì³ ìåòàë-ãàç
(Ñð=0,09%);- êîåô³ö³ºíò
îêèñëåííÿ ³-ão
åëåìåíòà;
Êñ - êîåô³ö³ºíò
îêèñëåííÿ âóãëåöþ;-
êîåô³ö³ºíò, ùî
õàðàêòåðèçóº
öèêë çâàðþâàííÿ;ñð
- ñåðåäí³é çâàðþâàëüíèé
ñòðóì, À.
ßêùî çâàðþâàëüíèé
ñòðóì, íàïðóãà
íà äóç³, âèòðàòà
ãàçó é ³íøèõ
ïàð³â-ìåòð³â ïðèéíÿò³
ïî â³äïîâ³äíèõ
ðåêîìåíäàö³ÿõ
[24], òî çíà÷åííÿ
Ê1 é K2 ìîæóòü áóòè
âèçíà÷åí³ ç òàáë.5.2.
Òàáëè÷íèé ìåòîä
ïîëÿãຠâ ðîçðàõóíêó
êîìïëåêñíîãî
ïàðàìåòðà Êm ³
âèçíà÷åíí³ ïî
òàáëèö³ êîåô³ö³ºíò³â
ïåðåõîäó ëåãóþ÷èõ
åëåìåíò³â (äèâ.
òàáë. 6.3), ÿê³ ïîâ'ÿçàí³
ç Êm íàñòóïíèì
ñï³ââ³äíîøåííÿì
(5.4)
Òàáëèöÿ 5.2.Êîåô³ö³ºíòè
äëÿ òàáëè÷íîãî
ìåòîäó ðîçðàõóíêó
ñêëàäó ìåòàëó
|
çàõèñíèé
ãàç
|
êîåô³ö³ºíòè
|
õàðàêòåð
ïåðåíîñó åëåêòðîäà
|
|
Ê1
|
Ê2
|
|
|
³äêðèòîþ
äóãîþ
|
1,33
|
0,75
|
ñ êîðîòêèì
çàìèêàííÿì
|
|
ÑÎ2
|
1,33
|
0,85
|
òå æ
|
|
ó ïîòîö³
ïîâ³òðÿ
|
1,33
|
1,2
|
òå æ
|
|
â ïîòîö³
ïàðè
|
1,05
|
1,5
|
êðóïíîêàïåëüíèé
ÊÇ
|
|
â àðãîí³
|
1
|
0,05
|
ñòðóìèííèé
|
|
Àã+<20% Î2
|
1
|
*òå æ
|
|
|
Àã+<5%Î2+ÑÎ2
|
1
|
òå æ
|
òå æ
|
|
ÑÎ2+Î2(äî
20% Î2)
|
1,33
|
*³ç ÊÇ
|
|
Ïðèì³òêè * - ïàðö³àëüí³
òèñêè Î2 è ÑÎ2 ó
âèõ³äí³é ñóì³ø³
çàõèñíèõ ãàç³â.
Ãðàôîàíàë³òè÷íèé
ðîçðàõóíîê çàñòîñîâóºòüñÿ,
êîëè íåìຠâèñîêèõ
âèìîã äî òî÷íîñò³
ðîçðàõóíêó [24]. ³í
ïðèïóñêຠâèçíà÷åííÿ
êîìïëåêñíîãî
ïàðàìåòðà Êò
³ çíàõîäæåííÿ
êîåô³ö³ºíò³â
ïåðåõîäó ëåãóþ÷èõ
åëåìåíò³â ïî íîìîãðàì³
(ðèñ. 5.2).
Ðèñ. 5.2. Íîìîãðàìà
äëÿ ðîçðàõóíêó
êîåô³ö³ºíòà ïåðåõîäó
ηý
Òàáëèöÿ 5.3.Êîåô³ö³ºíòè
ïåðåõîäó ëåãóþ÷èõ
åëåìåíò³â
|
Êò
|
Êîåô³ö³ºíòè
ïåðåõîäó ëåãóþ÷èõ
åëåìåíò³â
|
|
ηTi
|
ηAl
|
ηSi
|
ηÌn
|
ηV
|
ηÑã
|
ηÑ
|
|
1
|
2
|
3
|
4
|
6
|
7
|
8
|
|
0,1
|
0,018
|
0,023
|
0,102
|
0,14
|
0,285
|
0,43
|
0,057
|
|
0,13
|
0,0235
|
0,03
|
0,129
|
0,174
|
0,34
|
0,49
|
0,073
|
|
0,17
|
0,0305
|
0,0385
|
0,162
|
0,216
|
0,4
|
0,56
|
0,0935
|
|
0,2
|
0,036
|
0,045
|
0,0185
|
0,244
|
0,44
|
0,605
|
0,108
|
|
0,28
|
0,049
|
0,062
|
0,24
|
0,322
|
0,525
|
0,68
|
0,145
|
|
0,4
|
0,069
|
0,086
|
0,31
|
0,392
|
0,61
|
0,75
|
0,195
|
|
0,5
|
0,085
|
0,105
|
0,36
|
0,446
|
0,662
|
0,79
|
0,232
|
|
0,6
|
0,1
|
0,124
|
0,404
|
0,49
|
0,705
|
0,82
|
0,267
|
|
0,7
|
0,115
|
0,141
|
0,44
|
0,53
|
0,735
|
0,84
|
0,3
|
|
0,8
|
0,128
|
0,16
|
0,476
|
0,565
|
0,76
|
0,86
|
0,327
|
|
0,9
|
0,143
|
0,175
|
0,505
|
0,59
|
0,78
|
0,87
|
0,353
|
|
1,0
|
0,156
|
0,19
|
0,53
|
0,615
|
0,795
|
0,885
|
0,38
|
|
1,4
|
0,206
|
0,25
|
0,61
|
0,695
|
0,845
|
0,915
|
0,46
|
|
1,6
|
0,228
|
0,28
|
0,64
|
0,72
|
0,86
|
0,925
|
0,49
|
|
2,0
|
0,27
|
0,32
|
0,695
|
0,76
|
0,885
|
0,935
|
0,55
|
|
2,4
|
0,307
|
0,36
|
0,73
|
0,79
|
0,905
|
0,95
|
0,59
|
|
3,0
|
0,356
|
0,415
|
0,77
|
0,83
|
0,92
|
0,96
|
0,645
|
|
3,4
|
0,386
|
0,445
|
0,79
|
0,845
|
0,93
|
0,96
|
0,77
|
|
4,0
|
0,424
|
0,485
|
0,82
|
0,865
|
0,94
|
0,965
|
0,705
|
|
4,4
|
0,45
|
0,51
|
0,83
|
0,875
|
0,945
|
0,965
|
0,73
|
|
5,0
|
0,48
|
0,54
|
0,85
|
0,89
|
0,95
|
0,97
|
0,75
|
|
5,4
|
0,5
|
0,56
|
0,86
|
0,9
|
0,955
|
0,97
|
0,765
|
|
6,0
|
0,527
|
0,585
|
0,87
|
0,905
|
0,96
|
0,975
|
0,785
|
|
7,0
|
0,565
|
0,62
|
0,89
|
0,92
|
0,965
|
0,98
|
0,81
|
|
8,0
|
0,597
|
0,65
|
0,9
|
0,93
|
0,97
|
0,985
|
0,83
|
|
10,00
|
0,65
|
0,7
|
0,92
|
0,94
|
0,975
|
0,99
|
0,86
|
|
12,00
|
0,69
|
0,74
|
0,93
|
0,95
|
0,98
|
0,99
|
0,88
|
|
14,0
|
0,72
|
0,77
|
0,94
|
0,96
|
0,98
|
0,99
|
0,895
|
|
18,0
|
0,77
|
0,81
|
0,955
|
0,985
|
0,985
|
0,99
|
0,915
|
|
22,0
|
0,8
|
0,87
|
0,96
|
0,97
|
0,99
|
0,995
|
0,93
|
|
30,0
|
0,85
|
0,88
|
0,97
|
0,98
|
0,99
|
0,995
|
0,95
|
|
40,0
|
0,88
|
0,9
|
0,98
|
0,985
|
0,995
|
1,0
|
0,96
|
|
60,0
|
0,92
|
0,935
|
0,985
|
0,99
|
0,995
|
1,0
|
0,975
|
|
100,0
|
0,95
|
0,96
|
0,99
|
0,995
|
1,0
|
1,0
|
0,98
|
Ðîçðàõóíîê Êò
çä³éñíþºòüñÿ
ïî ôîðìóë³:
(5.5)
äå
Ê6 - êîåô³ö³ºíò,
ùî çàëåæèòü â³ä
çàõèñíîãî ñåðåäîâèùà.
Òàáëèöÿ
5.4.Çíà÷åííÿ êîåô³ö³ºíò³â
Êi è Ài äëÿ äåÿêèõ
åëåìåíò³â
|
Êîåô³ö³ºíòè
|
Çíà÷åííÿ
êîåô³ö³ºíò³â
äëÿ ðîçðàõóíêó
êîíöåíòðàö³¿
â ìîëüíèõ ÷àñòêàõ
(ó âàãîâèõ îäèíèöÿõ)
|
|
Si
|
Mn
|
Cr
|
Ti
|
Al
|
C
|
Fe
|
|
10(1,0)
|
7,6(0,18)
|
2,3(0,04)
|
5,3(3,0)
|
6,1(-)
|
18,8(4,4)
|
(-)
|
|
Êi
|
1(0,88)
|
1(3,44)
|
1(3,25)
|
1(1,8)
|
1(-)
|
1(0,375)
|
(0,0016)
|
Êîåô³ö³ºíòè
ïåðåõîäó áóäåìî
çíàõîäèòè ïî
òàáëè÷íîìó ìåòîäó.
ϳñëÿ ðîçðàõóíêó
êîåô³ö³ºíòà ïåðåõîäó
ìîæíà âèçíà÷èòè
ñê³ëüêè òîãî
÷è ³íøîãî åëåìåíòà
ì³ñòèòüñÿ â ïîâ³òð³
íàñòóïíèì ÷èíîì.
Çíàõîäèìî ïðèñóòí³ñòü
åëåìåíòà ó çâàðíîìó
øâ³ ç îáë³êîì
êîåô³ö³ºíò³â
ïåðåõîäó ïî 6.1. Âèçíà÷àºìî
¿õí³é çì³ñò ó
çâàðþâàëüíîìó
ôàêåë³ ó % (íà ïðèêëàä³
ìàðãàíöþ):
ÑÀ = Mn∑ - [Mn]= %, (5.6)
äå Mn∑ = Mnïð + Mnîñí. ì
- ñóìàðíèé âì³ñò
ìàðãàíöþ, %ïð - ê³ëüê³ñòü
Mn ó çâàðþâàëüíîìó
äðîò³ àáî åëåêòðîä³,
%îñí. ì - âì³ñò Mn â
îñíîâíîìó ìåòàë³,
%.
Ïîò³ì öå çíà÷åííÿ
ïîòð³áíî ïåðåâåñòè
ìã/ì3. Âèçíà÷àºìî
âàãó íàïëàâëåíîãî
ìåòàëó, ã:
í = Fø∙Lø∙γ, (5.7)
äå Fø - ïëîùà øâà,
ñì2;ø - äîâæèíà
øâó, ñì;
γ - ù³ëüí³ñòü
îñíîâíîãî ìåòàëó
- 7,8 ã/ñì3.
Çíàþ÷è âàãó
íàïëàâëåíîãî
ìåòàëó ³ äîëþ
åëåìåíòà â ÇÀ,
ìåòîäîì ïðîïîðö³¿
âèçíà÷àºìî ê³ëüê³ñòü
åëåìåíòó â ìã
ó ïîâ³òð³. Ïðèéìåìî
äëÿ ðîçðàõóíêó
îáñÿã ïðèì³ùåííÿ
Vïîì = 25920 ì3 (ñòàíäàðòí³
ðîçì³ðè, 72õ72õ5 ì),
òîä³ âèçíà÷àºìî
ñê³ëüêè åëåìåíòà
ó ìã ì³ñòèòüñÿ
â 1ì3.  ê³íö³ ïîð³âíþºìî
îòðèìàíå çíà÷åííÿ
ç ÃÄÊ (äèâ. òàáë.
5.1). ßêùî îòðèìàíå
çíà÷åííÿ âèùå
ÃÄÊ, òî íåîáõ³äíî
âèêîðèñòîâóâàòè
á³ëüø åôåêòèâí³
çàñîáè âåíòèëÿö³¿
³ ³íäèâ³äóàëüíîãî
çàõèñòó îðãàí³â
äèõàííÿ.
Ïðè çâàðþâàíí³
åëåêòðîäîì, ùî
ïëàâèòüñÿ, ó çàõèñíèõ
ãàçàõ ó ÇÀ ïåðåõîäèòü
0,5...2,0 % ìàñè çâàðþâàëüíîãî
äðîòó. Õ³ì³÷íèé
ñêëàä ùî óòâîðèòüñÿ
ÇÀ íà 80...90 % îáóìîâëåíèé
ñêëàäîì çâàðþâàëüíèõ
ìàòåð³àë³â [27].
Çðîáèìî ïðîãíîç
ñêëàäó çâàðþâàëüíîãî
ôàêåëà ïðè çâàðþâàííÿ
ñòàëåé . Õ³ì³÷íèé
ñêëàä ñòàëåé
íàâåäåíèé ó òàáë.2.4.
Õ³ì³÷íèé ñêëàä
çâàðþâàëüíîãî
äðîòó ó òàáë.
5.5.
Äëÿ ðîçðàõóíêó
â³çüìåìî çâàðåíèé
øîâ-êóòîâ³é òàâðîâî¿
áàëêè, òîâùèíè
îñíîâíîãî ìåòàëó
12 ìì ïðèéìàºìî
ä³àìåòð åëåêòðîäíîãî
äðîòó 2 ìì. Çâàðþâàííÿ
âèêîíóºòüñÿ
â çàõèñíîìó
ãàç³ (àðãîí) çà
îäèí ïðîõ³ä.
Çíàéäåìî íåâ³äîì³
çíà÷åííÿ äëÿ
(5.1) ³ (5.2).
Òàáëèöÿ 5.5. Õ³ì³÷íèé
ñêëàä äðîòó
|
Ñòàë³
|
Äð³ò
|
C
|
Si
|
Mn
|
Ni
|
Cr
|
Mo
|
|
09Ã2Ñ
|
Ñâ-08Ã2Ñ
|
äî 0.11
|
0.7 - 0.95
|
1.8 - 2.1
|
äî 0.25
|
äî 0.2
|
-
|
|
15ÕÃ
|
Ñâ-08ÕÃ2Ñ
|
äî 0.11
|
0.7 - 0.95
|
1.7 - 2.7
|
äî 0.25
|
0.7 - 1
|
-
|
|
16ÃÑ
|
Ñâ-12ÃÑ
|
äî 0.14
|
0.6 - 0.9
|
0.8 - 1.1
|
äî 0.3
|
äî 0.2
|
-
|
|
12ÕÌ
|
äî 0.1
|
0.12 - 0.3
|
0.35 - 0.6
|
äî 0.3
|
0.9 - 1.2
|
0.5 - 0.7
|
Êîåô³ö³ºíòè
Ê1=1, Ê2=0,05 ïðèéíÿò³
ïî òàáë. 5.2
γ= Fïð/(Fïð+Fí)=
Fïð/Fø; n=1-γ‚
Fí= k2/2+1,05ê, Fïð= 0,73∙K∙K
ê=6ìì Fí=24,3 ìì2, Fïð=26,28
ìì2
γ=26,28 /(26,28 +24,3)=0,52
n=1-0,52=0,48
Çâàðþâàëüíèé
ñòðóì:
Øâèäê³ñòü
ïîäà÷³ äðîòó:
Ïðèéìåìî,
ùî ÷àñòêà ó÷àñò³
îñíîâíîãî ìåòàëó
â ìåòàë³ øâà ñòàíîâèòü
52%, äîëÿ ó÷àñò³ åëåêòðîäíîãî
ìåòàëó 48%. Ïëîùà
ïåðåòèíó åëåêòðîäà:
Fý=π∙R2=12,5 ìì2.
Âèçíà÷àºìî
êîìïëåêñíèé
ïàðàìåòð äëÿ ìàðãàíöþ:
Êîìïëåêñíèé
ïàðàìåòð äëÿ õðîìó:
Êîìïëåêñíèé
ïàðàìåòð äëÿ êðåìí³þ:
Ïî
òàáë. 5.3 çíàõîäèìî
â³äïîâ³äí³ çíà÷åííÿ
êîåô³ö³ºíò³â
ïåðåõîäó ηMn =0,49,
ηCr=0,885, ηSi =0,61, Òàêèì
÷èíîì, ÷èì ìåíøå
êîåô³ö³ºíò ïåðåõîäó,
òèì á³ëüøå çì³ñò
åëåìåíòà ó çâàðþâàëüíîìó
ôàêåë³.
Âèçíà÷èìî çì³ñò
Mn, Cr, Si, ó øâ³ â ñòàë³
09Ã2Ñ ïî (5.1):
[Mn] = γ∙[Mn]0∙η0+n∙[Mn]Ý∙ηMn=0,52∙2,1+0,48∙1,7∙0,49=
1,49 %
[Cr] = γ∙ [Cr]0∙η0+n∙[Cr]Ý∙ηCr=0,52∙0,2+0,48∙0,3∙0,885=0,24
%.
[Si] = γ∙[Si]0∙η0+n∙[Si]Ý∙ηSi=0,52∙0,95+0,48∙0,8∙0,61=0,72
%
Âèçíà÷àºìî
¿õí³é çì³ñò ó
çâàðþâàëüíîìó
ôàêåë³ ó %, çíàþ÷è
êîåô³ö³ºíò ïåðåõîäó
åëåìåíò³â.
ÑÀ = Mn∑ - [Mn]=3,8-1,49=2,31 %.ÑÀ = Cr∑
- [Cr]=0,5-0,24=0,74 %.ÑÀ = Si∑ - [Si]=1,75-0,72=1,03 %.
Ðîçðàõóºìî ïî
ïðîïîðö³¿ âì³ñò
åëåìåíò³â ó çâàðþâàëüíîìó
ôàêåë³ â ìã/ì3.
í = Fø∙Lø∙γ,
ø=1,68ñì2ø=1500ñìí =1,68∙1500∙7,8=19656ãïîì
= 25920 ì3
Îòðèìàºìî Mn≈
17 ìã/ì3, Cr≈ 2 ìã/ì3, Si≈7,8
ìã/ì3.
Âèçíà÷èìî çì³ñò
Mn, Cr, Si, ó øâ³ â ñòàë³
15ÕÃ:
[Mn] = γ∙[Mn]0∙η0+n∙[Mn]Ý∙ηMn=0,52∙0,7+0,48∙2,7∙0,49=
0,99 %
[Cr] = γ∙ [Cr]0∙η0+n∙[Cr]Ý∙ηCr=0,52∙1,1+0,48∙1∙0,885=0,99
%.
[Si] = γ∙[Si]0∙η0+n∙[Si]Ý∙ηSi=0,52∙0,37+0,48∙0,95∙0,61=0,48%
Âèçíà÷àºìî
¿õí³é çì³ñò ó
çâàðþâàëüíîìó
ôàêåë³ ó %, çíàþ÷è
êîåô³ö³ºíò ïåðåõîäó
åëåìåíò³â.
ÑÀ = Mn∑ - [Mn]=3,4-0,99=2,4 %.ÑÀ = Cr∑
- [Cr]=2,1-0,99=0,2 %.ÑÀ = Si∑ - [Si]=1,32-0,48=0,84 %.
Îòðèìàºìî Mn≈
18 ìã/ì3, Cr≈ 1,5 ìã/ì3, Si≈6,37
ìã/ì3.
Âèçíà÷èìî çì³ñò
Mn, Cr, Si, ó øâ³ â ñòàë³
16ÃÑ:
[Mn] = γ∙[Mn]0∙η0+n∙[Mn]Ý∙ηMn=0,52∙1,2+0,48∙1,1∙0,49=
0,88 %
[Cr] = γ∙ [Cr]0∙η0+n∙[Cr]Ý∙ηCr=0,52∙0,3+0,48∙0,2∙0,885=0,24
%.
[Si] = γ∙[Si]0∙η0+n∙[Si]Ý∙ηSi=0,52∙0,7+0,48∙0,9∙0,61=0,62%
Âèçíà÷àºìî
¿õí³é çì³ñò ó
çâàðþâàëüíîìó
ôàêåë³ ó %, çíàþ÷è
êîåô³ö³ºíò ïåðåõîäó
åëåìåíò³â.
ÑÀ = Mn∑ - [Mn]=2,3-0,88=1,42 %.ÑÀ = Cr∑
- [Cr]=0,5-0,24=0,26 %.ÑÀ = Si∑ - [Si]=1,6-0,24=1,36 %.
Îòðèìàºìî Mn≈
10 ìã/ì3, Cr≈ 1,9 ìã/ì3, Si≈10,3
ìã/ì3.
Âèçíà÷èìî çì³ñò
Mn, Cr, Si, ó øâ³ â ñòàë³
12ÕÌ:
[Mn] = γ∙[Mn]0∙η0+n∙[Mn]Ý∙ηMn=0,52∙0,7+0,48∙0,6∙0,49=
0,5 %
[Cr] = γ∙ [Cr]0∙η0+n∙[Cr]Ý∙ηCr=0,52∙1,1+0,48∙1,2∙0,885=1,08
%.
[Si] = γ∙[Si]0∙η0+n∙[Si]Ý∙ηSi=0,52∙0,37+0,48∙0,3∙0,61=0,28%
Âèçíà÷àºìî
¿õí³é çì³ñò ó
çâàðþâàëüíîìó
ôàêåë³ ó %, çíàþ÷è
êîåô³ö³ºíò ïåðåõîäó
åëåìåíò³â.
ÑÀ = Mn∑ - [Mn]=1,3-0,5=0,8 %.ÑÀ = Cr∑
- [Cr]=2,3-1,08=1,22 %.ÑÀ = Si∑ - [Si]=0,67-0,28=0,39 %.
Îòðèìàºìî Mn≈
6 ìã/ì3, Cr≈ 9 ìã/ì3, Si≈2,9
ìã/ì3.
Ðîçðàõîâàí³
êîíöåíòðàö³¿
çàâàðþâàëüíèõ
àåðîçîë³â ïðè
çâàðþâàííÿ ëåãîâàíèõ
ñòàë³é çàïèøåìî
ó òàáë. 5.6
Òàáëèöÿ. 5.6. Êîíöåíòðàö³ÿ
çâàðþâàëüíèõ
àåðîçîë³ ïðè çâàðþâàííÿ
ëåãîâàíèõ ñòàë³é
|
|
ÏÄÊ, ìã/ì3
|
|
Ñòàë³
|
Mn
|
Cr
|
Si
|
Mn
|
Cr
|
Si
|
|
09Ã2Ñ
|
17
|
2
|
7,8
|
0,2
|
0,01
|
2
|
|
15ÕÃ
|
18
|
1,5
|
6,37
|
|
|
|
|
16ÃÑ
|
10
|
1,9
|
10,3
|
|
|
|
|
12ÕÌ
|
6
|
9
|
2,9
|
|
|
|
 òàáëèö³ 5.6 áà÷èìî
ùî ïðè çàâàðþâàííÿ
òàâðîâèõ áàëîê
äîâæåííîþ 15 ì ç
ëåãîâàíèõ ñòàëåé
âì³ñò ìàðãàíöþ,
õðîìó, òà êðåìí³þ
ïåðåâèùóº ÃÄÊ.
Òîìó òðåáà ïðèä³ëèòè
óâàãó ïðîåêòóâàííþ
âåíòèëÿö³¿, ìîæëèâî,
íàâ³òü çì³íèòè
¿¿, ÿêùî âîíà íå
â çìîç³ çàáåçïå÷èòè
îïòèìàëüí³ óìîâè
ïðàö³.
Âèñíîâîê
Çàñòîñóâàííÿ
ëåãîâàíèõ ñòàëåé
äîçâîëÿº ñòâîðèòè
äîñêîíàë³ø³ òà
åêîíîì³÷í³ çâàðí³
êîíñòðóêö³¿.
Äëÿ óñóíåííÿ
çàëèøêîâèõ çâàðþâàëüíèõ
äåôîðìàö³é çàñòîñóâàëè
â äàí³é ðîáîò³
øòó÷íå îõîëîäæåííÿ
ïðè çâàðþâàíí³
òàâðîâî¿ áàëêè.
Àëå âèêîðèñòàííÿ
øòó÷íîãî îõîëîäæåííÿ
ïðè çâàðþâàíí³
ëåãîâàíèõ ñòàëåé
âèíèêຠãàðò³âí³
ñòðóêòóðè â çâàðþâàëüíîìó
øâ³ òà â îêîëîøîâí³é
çîí³.
Áóëè ðîçðàõîâàí³
øâèäêîñò³ îõîëîäæåííÿ
ï³ñëÿ çâàðþâàííÿ
òàâðîâî¿ áàëêè
³ç ñòàëåé 09Ã2Ñ,
15ÕÃ, 16ÃÑ, 12ÕÌ. Òàêîæ
äëÿ öèõ ñòàëåé
áóëè ïîáóäîâàí³
òåìïåðàòóðí³
ïîëÿ ïðè çâàðþâàíí³
áåç øòó÷íîãî
îõîëîäæåííÿ, à
òàê ñàìî òåìïåðàòóðí³
ïîëÿ ïðè çâàðþâàíí³
ç øòó÷íèì îõîëîäæåííÿì.
Ó ìàã³ñòåðñüê³é
ðîáîò³ áóâ ðîçðîáëåíèé
ìåòîä îïòèì³çàö³¿
óìîâ øòó÷íîãî
îõîëîäæåííÿ ïðè
çâàðþâàíí³ òàâðîâî¿
áàëêè ç ëåãîâàíèõ
ñòàëåé. Äëÿ îïòèì³çàö³¿
øòó÷íîãî îõîëîäæåííÿ
ïðè çâàðþâàíí³
ñòàëåé 09Ã2Ñ, 15ÕÃ,
16ÃÑ, 12ÕÌ, áóëî âèçíà÷åíî
òèñêó îõîëîäæóâàëüíî¿
ð³äèíè. Ðîçðàõîâàí³
ï³ñëÿ çâàðþâàëüí³
äåôîðìàö³¿ ï³ñëÿ
çâàðþâàííÿ ³
ï³ñëÿ çâàðþâàííÿ
ç øòó÷íèì îõîëîäæåííÿì.
Ñïèñîê âèêîðèñòàíèõ
äæåðåë
1. Ãåäðîâè÷
À. È. Ïëàñòè÷åñêàÿ
äåôîðìàöèÿ ïðè
ñâàðêå. - Ëóãàíñê:
Èçäàòåëüñòâî
Âîñòî÷íîóêðàèíñêîãî
ãîñóäàðñòâåííîãî
óíèâåðñèòåòà,
1998. - 237 ñ.
2. Ëîáàíîâ
Ë. Ì., Ñàâ÷åíêî
Â. À., Ïàâëîâñêèé
Â. È., Ïàùèí À. Í.,
Ñåí÷åíêîâ È. Ê.,
×åðâèíêî Î. Ï., Ãàáèåâà
Ã. À. Ìàòåìàòè÷åñêàÿ
ìîäåëü äëÿ îïðåäåëåíèÿ
âçàèìíûõ ïðîäîëüíûõ
ñìåùåíèé ýëåìåíòîâ
êîíñòðóêöèé
ïðè ñâàðêà. / àâòîìàòè÷åñêàÿ
ñâàðêà, ¹3, 1998, ñ. 5-9, 13
. Ëîáàíîâ
Ë. Ì., Êàñàòêèí
Á. Ñ., Ïàâëîâñêèé
Â. È. Ïðèìåíåíèå
òåïëîîòâîäÿùèõ
ïàñò äëÿ ðåãóëèðîâàíèÿ
òåðìîäåôîðìàöèîííûõ
ïðîöåññîâ
. Á.
Ñ. Êàñàòêèí, Â.
Ì. Ïðîõîðåíêî, È.
Ì. ×åðòîâ Íàïðÿæåíèÿ
è äåôîðìàöèè
ïðè ñâàðêå. - Ê.: Âèùà
øê. Ãîëîâíå èçä-âî,
1987. - 246 ñ.
. Íåäîñåêà
À. ß. Îñíîâû ðàñ÷åòà
ñâàðíûõ êîíñòðóêöèé.
- Ê.: Âèùà øê. 1988 ã. -
117 ñ.
6. Ãåäðîâè÷
À.È., Æèäêîâ À.Á.
Ðåñóðñîñáåðåãàþùèå
ìåòîäû ðåãóëèðîâàíèÿ
äåôîðìàöèé è
íàïðÿæåíèé â
ñâàðíûõ ìåòàëëîêîíñòðóêöèÿõ:
Ìîíîãðàôèÿ. - Ëóãàíñê:
- èçä-âî ÂÍÓ èì.
Â. Äàëÿ, 2002. - 96 ñ.: òàáë.
12. èë. 45. áèáëèîãð.
32 èñò.
. Ðûêàëèí
Í. Í. Ðàñ÷åòû òåïëîâûõ
ïðîöåññîâ ïðè
ñâàðêå. Ì.: Ìàøãèç,
1951.-296ñ., èë.
8. Ãåäðîâè÷
À. È., Æèäêîâ À. Á.
Ñâàðêà òîíêîëèñòîâûõ
ìåòàëëîêîíñòðóêöèé
ñ ïðèíóäèòåëüíûì
îõëàæäåíèåì.
- Ëóãàíñê: Èçäàòåëüñòâî
Âîñòî÷íîóêðàèíñêîãî
ãîñóäàðñòâåííîãî
óíèâåðñèòåòà,
1999. -24ñ.
. À.Ñ.
1655745 À1 ÑÑÑÐ ÌÊÈ Â23Ê
37/06. Ìåäíî-ôëþñîâàÿ
ïîäêëàäêà. /Êàëþæíûé
Â. Â., Ãåäðîâè÷ À.
È., ×åðíîìîðîâ
Ì. È., Ñîëîñåíêîâà
È. À. - Îïóáë. 15.06.91, áþë.
¹22.
. À.Ñ.
1066765 ÑÑÑÐ ÌÊÈ Â23Ê
28/00. Ñïîñîá óìåíüøåíèÿ
äåôîðìàöèé è
íàïðÿæåíèé â
ñâàðíûõ êîðïóñíûõ
êîíñòðóêöèÿõ.
/Àñòàõîâ Ë Ñ Æóðàâëåâ
Þ. À., Óòþøåâ Ð. È.,
Ñòðåïåòîâ Â. È.,
Âàñèëüåâ Ë. Ë. Ñåíè-í
Â. Â., Ìîðãóí Â. À.,
Ïðîõîðîâ Ì. À., Âîþø
Ä. Ï. - Îïóáë. 1984 áþë.
¹2.
. À.Ñ.
1066767 ÑÑÑÐ ÌÊÈ Â23Ê
34/04. Óñòðîéñòâî
äëÿ îõëàæäåíèÿ
èçäåëèé â ïðîöåññå
ñâàðêè. / Àñòàõîâ
Ë. Ñ., Æóðàâëåâ Þ.
À., Äóáñêè-õ Þ. À.,
Óòþøåâ Ð. È., Ñòðåïåòîâ
Â. È., Âàñèëüåâ Ë.
Ë., ÑåíèíÂÃâ;
. Ïðîõîðîâ
Í. Ï., Ïîëóõèí Â.
Ì. Ðàñ÷åòíûé àíàëèç
âëèÿíèÿ ìåñòíûõ
ñòîêîâ òåïëîòû
íà ñíèæåíèå ïðîäîëüíûõ
äåôîðìàöèé ïðè
ñâàðêå ïëàñòèí
âñòûê. // Ñâàðî÷íîå
ïðîèçâîäñòâî.
- 1992, ¹1. -
13. <http://profznanie.com/stal.html>
. <http://m-svarka.ru/p/glava-vi-svarka-uglerodistih-i-legirovannih-staley/svarka-legirovannih-staley.htm>
. <http://thermasteel.com.ua/customers/articles/beams_advantages/>
16. Ìåòîäè÷åñêèå
óêàçàíèÿ ê êóðñîâîìó
ïðîåêòèðîâàíèþ
ïî äèñöèïëèíå
«Ñâàðêà ïëàâëåíèåì»
äëÿ ñòóäåíòîâ,
îáó÷àþùèõñÿ
ïî íàïðàâëåíèþ
«Ñâàðêà» (âñåõ ôîðì
îáó÷åíèÿ) / Cîñò.
À. È. Ãåäðîâè÷. - Ëóãàíñê:
Èçä-âî ÂÍÓ èì.
Â. Äàëÿ, 2006. - 42 ñ.
17. Òåîðèÿ
ñâàðî÷íûõ ïðîöåññîâ:
Ó÷åá. äëÿ âóçîâ
ïî ÒÇÇ ñïåö. «Îáîðóä.
è òåõíîëîãèÿ
ñâàðî÷í. ïð-âà»/
Â. Í. Âîë÷åíêî, Â.
Ì. ßìïîëüñêèé,
Â. À. Âèíîêóðîâ
è äð.; Ïîä ðåä. Â. Â.
Ôðîëîâà. - Ì.: Âûñø.
øê., 1988.
. Íàïðÿæåíèÿ
è äåôîðìàöèè
ïðè ñâàðêå / Á. Ñ.
Êàñàòêèí, Â. Ì.
Ïðîõîðåíêî, È. Ì.
×åðòîâ.- Ê. : Âèùà
øê. Ãîëîâíîå èçä-âî,
1987.- 246 ñ.
. ÓÎÍÃ
X. Îñíîâíûå ôîðìóëû
è äàííûå ïî òåïëîîáìåíó
äëÿ èíæåíåðîâ:
Ïåð. ñ àíãë. / Ñïðàâî÷íèê.
- Ì.: Àòîìèçäàò,
1979. - 216 ñ.
20. Ñâàðêà
â ìàøèíîñòðîåíèè.
Òîì 3. Ïîä ðåä. Â.À.
Âèíîêóðîâà. - Ì.:
Ìàøèíîñòðîåíèå,
1979. - 567 ñ.
21. Ëåâ÷åíêî
Î.Ã. Ñïîñîáè òà
çàñîáè ëîêàë³çàö³¿
³ íåéòðàë³çàö³¿
çâàðþâàëüíèõ
àåðîçîë³â: Àâòîðåô.
äèñ. äîêò. òåõí.
íàóê: 05.26.01 / ÍÍIJÎÏ.
- Ê., 2002. - 35 ñ.
22. Ëåâ÷åíêî
Î. Ã. Âëèÿíèå òåõíîëîãè÷åñêèõ
ðåæèìîâ ñâàðêè
â ÑÎ2 êîíñòðóêöèîííûõ
ñòàëåé íà âûäåëåíèå
àýðîçîëÿ // Àâòîìàò.
ñâàðêà. - 1992. - ¹ 9-10. - Ñ.
31-33.
23. Ãåäðîâè÷
À.È. è äð. Ñâàðêà
àóñòåíèòíîé
ñòàëè 10Õ13Ã18ÄÓ (ÄÈ-61Õ)
ïðè èçãîòîâëåíèè
äèçåëü- è ýëåêòðîïîåçäîâ
íà Õ/Ê «Ëóãàíñêòåïëîâîç»
// Ñâàðùèê. - 2002. - ¹6 (28).
- Ñ. 10-11.
24. Ïåðåìèòüêî
Â.Â., Ëåáåäåâ Á.Ä.
Ðàñ÷åòíûå ìåòîäû
â ñâàðêå ïëàâëåíèåì:
Ó÷åáí. Ïîñîáèå.-
Äíåïðîäçåðæèíñê,
1998.- 248ñ.
. Åð¸ìèí
Ë.Ï., Ãðèøàãèí Â.Ì.,
Äåìåíêîâà Ë.Ã.
Îáðàçîâàíèå
ñâàðî÷íûõ àýðîçîëåé
è èõ âëèÿíèå íà
áåçîïàñíîñòü
æèçíåäåÿòåëüíîñòè
ñâàðùèêîâ // Áåçîïàñíîñòü
æèçíåäåÿòåëüíîñòè
ïðåäïðèÿòèé â
ïðîìûøëåííî ðàçâèòûõ
ðåãèîíàõ: Ìàòåðèàëû
VIII Ìåæäóíàðîäíîé
íàó÷íî-ïðàêòè÷åñêîé
êîíôåðåíöèè
- ò. 2 - Êåìåðîâî, ÊóçÃÒÓ,
12 íîÿá. 2009. - Êåìåðîâî:
Èçä-âî ÊóçÃÒÓ,
2009. - c. 75-78 (60811433).
26. Áóêè
À.À. Ìîäåëèðîâàíèå
ôèçèêî-õèìè÷åñêèõ
ïðîöåññîâ äóãîâîé
ñâàðêè. Ì.: Ìàøèíîñòðîåíèå,
1991. 288 ñ.
27. Ëåâ÷åíêî
Î. Ã. Ïðîöåññû îáðàçîâàíèÿ
ñâàðî÷íîãî àýðîçîëÿ
// Àâòîìàòè÷åñêàÿ
ñâàðêà. - 1996. - ¹4 (517). - C.
17-21.
Ðàçìåùåíî
íà Allbest.ru