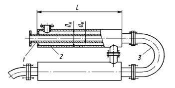
Конструкции кожухотрубчатого испарителя
Конструкции
кожухотрубчатого испарителя
1.
Теоретические основы процесса ректификации
Рис. 1. Диаграмма изменения составов жидкости и пара от
температуры t-x-у
Ректификация представляет собой процесс многократного
частичного испарения жидкости и конденсации паров. Процесс осуществляется путем
контакта потоков пара и жидкости, имеющих различную температуру, и проводится
обычно в колонных аппаратах. При каждом контакте из жидкости испаряется
преимущественно легколетучий или низкокипящий компонент, которым обогащаются
пары, а из паров конденсируется преимущественно труднолетучий или высококипящий
компонент, переходящий в жидкость. Такой двухсторонний обмен компонентами,
повторяемый многократно, позволяет получить, в конечном счете, пары,
представляющие собой почти чистый низкокипящий компонент. Эти пары после
конденсации в отдельном аппарате образуют дистиллят (ректификат) и флегму -
жидкость, возвращаемую для орошения колонны и взаимодействия с поднимающимися
парами. Пары получают путем частичного испарения снизу колонны остатка,
являющегося почти чистым высококипящим компонентом. Достаточно высокая степень
разделения однородных жидких смесей на компоненты может быть достигнута путем
ректификации. Сущность процессов, из которых складывается ректификация, и
получаемые при этом результаты можно проследить с помощью t-х-у
диаграммы изменения составов жидкости и пара от температуры (рис. 1).
Нагрев исходную смесь состава х1 до
температуры кипения получим находящийся в равновесии с жидкостью пар (точка b).
Отбор и конденсация этого пара дают жидкость состава x2, обогащенную
низкокипящим компонентом (х2 > х1).
Нагрев эту жидкость до температуры кипения t2, получим пар
(точка d), конденсация которого дает жидкость с еще большим содержанием
низкокипящего компонента, имеющую состав х3, и т. д. Проводя,
таким образом, последовательно ряд процессов испарения жидкости и конденсации
паров, можно получить в итоге жидкость (дистиллят), представляющую собой
практически чистый низкокипящий компонент.
Аналогично, исходя из паровой фазы, соответствующей составу
жидкости x4, путем проведения ряда последовательных процессов
конденсации и испарения можно получить жидкость (остаток), состоящую почти
целиком из высококипящего компонента.
В простейшем виде процесс многократного испарения можно
осуществить в многоступенчатой установке, в первой ступени которой испаряется
исходная смесь. На вторую ступень испарения поступает жидкость, оставшаяся
после отделения паров в первой ступени, на третьей ступени испаряется жидкость,
поступившая из второй ступени (после отбора из последней паров) и т.д.
Аналогично может быть организован процесс многократной
конденсации, при котором на каждую следующую ступень поступают для конденсации
пары, оставшиеся после отделения от них жидкости (конденсата) в предыдущей
ступени.
При достаточно большом числе ступеней таким путем можно
получить жидкую или паровую фазу с достаточно высокой концентрацией компонента,
которым она обогащается. Однако выход этой фазы будет мал по отношению к ее
количеству в исходной смеси. Кроме того, описанные установки отличаются громоздкостью
и большими потерями тепла в окружающую среду.
Значительно более экономичное, полное и четкое разделение
смесей на компоненты достигается в процессах ректификации, проводимых обычно в
более компактных аппаратах - ректификационных колоннах.
Процесс ректификации осуществляется путем многократного
контакта между неравновесными жидкой и паровой фазами, движущимися относительно
друг друга.
При взаимодействии фаз между ними происходит массо- и
теплообмен, обусловленные стремлением системы к состоянию равновесия. В
результате каждого контакта компоненты перераспределяются между фазами: пар
несколько обогащается низкокипящим компонентом, а жидкость - высококипящим
компонентом. Многократное контактирование приводит к практически полному
разделению исходной смеси.
Таким образом, отсутствие равновесия (и соответственно
наличие разности температур фаз) при движении фаз с определенной относительной
скоростью и многократном их контактировании являются необходимыми условиями
проведения ректификации.
1.1
Описание технологической схемы ректификационной установки
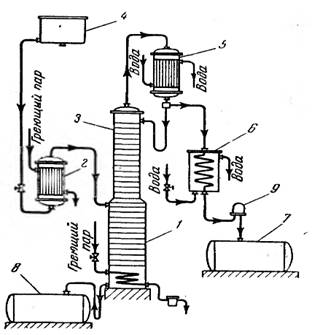
Рассмотрим технологическую схему ректификационной установки
(рис 2).
Рис 2. Технологическая схема ректификационной установки
Исходная смесь из расходной емкости РЕ центробежным
насосом подается в подогреватель П, где нагревается до температуры
кипения и поступает на питающую тарелку ректификационной колонны РК.
Стекая по тарелкам жидкость, попадает в куб, из которого поступает в
кипятильник К. Из кипятильника пары жидкости поступают в нижнюю часть
колонны и двигаются навстречу исходной смеси, барботируя через нее и обогащаясь
низкокипящим компонентом. Выходя из колонны пары, попадают в дефлегматор Д и
конденсируются. Дистиллят поступает в разделитель Р, где разделяется на
два потока: одна часть в качестве флегмы возвращается в колонну и стекает по
тарелкам вниз, обогащаясь при этом высококипящим компонентом, а другая часть
поступает в холодильник Х1, охлаждается и попадает в приемную емкость ПЕ2.
По мере работы часть жидкости из куба отводится в холодильник Х2 и
поступает в приемную емкость ПЕ1 в качестве кубового остатка.
1.2
Классификация ректификационных установок
В промышленности применяют колпачковые, ситчатые, насадочные,
пленочные трубчатые колонны и центробежные пленочные ректификаторы. Они
различаются в основном конструкцией внутреннего устройства аппарата, назначение
которого - обеспечение взаимодействия жидкости и пара. Это взаимодействие
происходит при барботировании пара через слой жидкости на тарелках (колпачковых
или ситчатых) либо при поверхностном контакте пара и жидкости на насадке или
поверхности жидкости, стекающей тонкой пленкой.
Рис. 3 Типовые конструкции колонн: а) тарельчатая
колпачковая; б) ситчатая: 1 - куб колонны; 2 - колонна
Тарельчатые колпачковые колонны (рис. 3а) наиболее часто
применяют в ректификационных установках.
Пары с предыдущей тарелки попадают в паровые патрубки
колпачков и барботируют через слой жидкости, в которую частично погружены
колпачки. Колпачки имеют отверстия или зубчатые прорези, расчленяющие пар на
мелкие струйки для увеличения поверхности соприкосновения его с жидкостью.
Переливные трубки служат для подвода и отвода жидкости и регулирования ее
уровня на тарелке. Основной областью массообмена и теплообмена между парами и
жидкостью, как показали исследования, является слой пены и брызг над тарелкой,
создающийся в результате барботажа пара. Высота этого слоя зависит от размеров
колпачков, глубины их погружения, скорости пара, толщины слоя жидкости на
тарелке, физических свойств жидкости и др. Следует отметить, что, кроме
колпачковых тарелок, применяют также клапанные, желобчатые, S-образные,
чешуйчатые, провальные и другие конструкции тарелок.
Рас. 4. Клапанные тарелки: а, б - с круглыми колпачками; в-с
пластинчатым клапаном; г - балластная; 1 - клапан; 2 - кронштейн-ограничитель;
3 - балласт
Клапанные тарелки (рис. 4) показали высокую эффективность при
значительных интервалах нагрузок благодаря возможности саморегулирования. В
зависимости от нагрузки клапан перемещается вертикально, изменяя площадь живого
сечения для прохода пара, причем максимальное сечение определяется высотой
устройства, ограничивающего подъем. Площадь живого сечения отверстий для пара
составляет 10-15% площади сечения колонны. Скорость пара достигает 1,2 м/с.
Тарелки, собранные из S-образных элементов, обеспечивают
движение пара и жидкости в одном направлении, способствуя выравниванию концентрации
жидкости на тарелке. Площадь живого сечения тарелки составляет 12 - 20% от
площади сечения колонны. Коробчатое поперечное сечение элемента создает
значительную жесткость, позволяющую устанавливать его на опорное кольцо без
промежуточных опор в колоннах диаметром до 4,5 м.
Чешуйчатые тарелки подают пар в направлении потока жидкости.
Они работают наиболее эффективно при струйном режиме, возникающем при скорости
пара в чешуях свыше 12 м/с. Площадь живого сечения составляет 10% площади
сечения колонны. Чешуи бывают арочными и лепестковыми; их располагают на
тарелке в шахматном порядке. Простота конструкции, эффективность и большая
производительность - преимущества этих тарелок.
Пластинчатые тарелки собраны из отдельных пластин,
расположенных под углом 4-9° к горизонтам. В зазорах между пластинами проходит
пар со скоростью 20-50 м/с. Над пластинами установлены отбойные щитки,
уменьшающие брызгоунос. Эти тарелки отличаются большой производительностью,
малым сопротивлением и простотой конструкции.
К провальным относят тарелки решетчатые, колосниковые,
трубчатые, ситчатые (плоские или волнистые без сливных устройств). Площадь
живого сечения тарелок изменяется в пределах 15 - 30%. Жидкость и пар проходят
попеременно через каждое отверстие в зависимости от соотношения их напоров.
Тарелки имеют малое сопротивление, высокий к. п. д., работают при значительных
нагрузках и отличаются простотой конструкции.
Прямоточные тарелки обеспечивают длительное контактирование
пленки жидкости с паром, движущимся со скоростью 14 - 45 м/с. Площадь живого
сечения тарелки достигает 30%.
Рис. 5 Ситчатая тарелка: а - схема устройства колонны; б -
схема устройства тарелки; 1 - корпус; 2 - тарелка; 3 - переливная труба; 4 -
стакан
Ситчатые колонны (Рис. 3б) применяют главным образом при
ректификации спирта и жидкого воздуха. Допустимые нагрузки по жидкости и пару
для них относительно невелики, и регулирование режима их работы затруднительно.
Массо- и теплообмен между паром и жидкостью в основном происходят на некотором
расстоянии от дна тарелки в слое пены и брызг. Давление и скорость пара,
проходящего через отверстия сетки, должны быть достаточны для преодоления
давления слоя жидкости на тарелке и создания сопротивления ее отеканию через
отверстия. Ситчатые тарелки (рис. 5) необходимо устанавливать строго
горизонтально для обеспечения прохождения пара через все отверстия тарелки, а
также во избежание стекания жидкости через них. Обычно диаметр отверстий
ситчатой тарелки принимают в пределах 0,8 - 3,0 мм.
Насадочные колонны получили широкое распространение в
промышленности (Рис.). Они представляют собой цилиндрические аппараты,
заполненные инертными материалами в виде кусков определенного размера или
насадочными телами, имеющими форму, например, колец, шаров для увеличения
поверхности фазового контакта и интенсификации перемешивания жидкой и паровой
фаз.
Рис. 6 Насадочная ректификационная колонна с испарителем: 1 -
корпус; 2 - насадка; 3 - опорная решетка; 4 - перераспределитель флегмы; 5 -
патрубок для слива кубового остатка; 6 - испаритель; 7 - ороситель
Массо- и теплообмен в колоннах с насадкой характеризуются не
только явлениями молекулярной диффузии, определяющимися физическими свойствами
фаз, но и гидродинамическими условиями работы колонны, которые определяют
турбулентность потоков. В зависимости от скорости потока в колонне возможны три
гидродинамических режима: ламинарный, промежуточный и турбулентный, - при
которых поток пара является сплошным, непрерывным и заполняет свободный объем
насадки, не занятый жидкостью, в то время как жидкость стекает лишь по
поверхности насадки. Дальнейшее развитие турбулентного движения может привести
к преодолению сил поверхностного натяжения и нарушению граничной поверхности между
потоками жидкости и пара. При этом газовые вихри проникают в поток жидкости,
происходит эмульгирование жидкости паром, и массообмен между фазами резко
возрастает. В случае эмульгирования жидкость распределяется не по насадке, а
заполняет весь ее свободный объем, не занятый паром; жидкость образует сплошную
фазу, а газ - дисперсную фазу, распределенную в жидкости, т. е. происходит
инверсия фаз.
Исследования показали, что переход от турбулентного режима к
режиму эмульгирования (точка инверсии или точка начала эмулыирования)
соответствует оптимальным условиям работы колонны и оптимальной скорости пара,
при которой на насадке задерживается максимальное количество жидкости, брызг и
пены, достигаются интенсивный массообмен и максимальная производительность при
минимальной высоте насадки. Насадочную колонну следует рассчитывать, исходя из
оптимальной скорости. При превышении оптимальной скорости начинается обращенное
движение жидкости снизу вверх, происходит так называемое «захлебывание» колонны
и нарушение режима ее работы.
Трубчатые пленочные ректификационные колонны (рис. 7) состоят
из пучка вертикальных труб, по внутренней поверхности которых тонкой пленкой
стекает жидкость, взаимодействуя с поднимающимся по трубам паром.
Пар поступает из куба в трубки. Флегма образуется в
дефлегматоре непосредственно на внутренней поверхности трубок, охлаждаемых
водой в верхней их части. Диаметр применяемых трубок 5 - 20 мм. Эффект работы
пленочного аппарата возрастает с уменьшением диаметра трубок.
Трубчатые колонны характеризуются простотой изготовления,
высокими коэффициентами массопередачи и весьма малыми гидравлическими
сопротивлениями движению пара. Многотрубные (и длиннотрубные) колонны с
искусственным орошением имеют значительно меньшие габаритные размеры и массу,
чем тарельчатые. [2, с.246]
Рис. 7 Схема пленочной ректификационной колонны: 1 - колонна;
2 - рубашка для обогрева; 3 - ротор; 4 - роторный испаритель; 5 -
конденсатор-дефлегматор; 6 - штуцер для ввода исходной смеси; 7 - штуцер для
ввода флегмы; 8 - штуцер для ввода пара; 9 - штуцер для вывода остатка
Все ректификационные установки, независимо от типа и
конструкции колонн, классифицируют на установки периодического и непрерывного
действия.
В ректификационных установках периодического действия (рис.
8) начальную смесь заливают в перегонный куб (испаритель), где поддерживается
непрерывное кипение с образованием паров. Пар поступает на укрепление в
колонну, орошаемую частью дистиллята. Другая часть дистиллята из дефлегматора или
концевого холодильника, охлажденная до определенной температуры, через
контрольный фонарь поступает в сборник готового продукта.
Рис. 8 Схема периодически действующей ректификационной
установки: 1 - куб (испаритель); 2 - колонна; 3 - дефлегматор; 4 -
холодильник-конденсатор; 5 - сборник дистиллята
В колоннах периодического действия ректификацию проводят до
тех пор, пока жидкость в кубе не достигает заданного состава. Затем обогрев
куба прекращают, остаток сливают в сборник, а в испаритель вновь загружают на
перегонку начальную смесь. Установки периодической ректификации успешно
применяют для разделения небольших количеств смесей. Большим недостатком
ректификационных установок периодического действия является ухудшение качества
готового продукта (дистиллята) по мере протекания процесса, а также потери
тепла при периодической разгрузке и загрузке куба. Эти недостатки устраняются
при непрерывной ректификации.
Колонны непрерывного действия (рис. 9) состоят из
нижней (исчерпывающей) части, в которой происходит удаление легколетучего
компонента из стекающей вниз жидкости, и верхней (укрепляющей) части,
назначение которой обогащение поднимающихся паров легколетучего компонента.
Схема установки непрерывной ректификации отличается от периодической тем, что
питание колонны начальной смесью определенного состава происходит непрерывно с
постоянной скоростью; готовый продукт постоянного качества также непрерывно
отводится.
При ректификации смесей, состоящих более чем из двух компонентов,
схема установки значительно усложняется. При этом для каждого добавочного
компонента требуется колонна с дефлегматором.
Рис. 9 Схема непрерывно действующей ректификационной
установки: 1 - исчерпывающая часть колонны; 2 - подогреватель исходной смеси
(испаритель); 3 - укрепляющая часть колонны; 4 - напорный резервуар; 5 -
дефлегматор; 6 - холодильник-конденсатор; 7 - сборник дистиллята; 8 - сборник
кубового остатка; 9 - контрольный смотровой фонарь
2.
Теоретические основы теплообмена
При тепловых процессах тепло передаётся от одного вещества к
другому. Для самопроизвольного переноса тепла одно из этих веществ должно быть
более нагрето, чем другое. Вещества, участвующие в процессе перехода тепла
(теплообмен), называются теплоносителями. Вещество с более высокой
температурой, которое в процессе теплообмена отдаёт тепло, называется горячим
теплоносителем, а вещество с более низкой температурой, воспринимающее тепло,
холодным теплоносителем.
Существуют два основных способа проведения тепловых
процессов: путём непосредственного соприкосновения теплоносителей и передачей
тепла через стенку, разделяющую теплоносители.
При передаче тепла непосредственным соприкосновением
теплоносители обычно смешиваются друг с другом, что не всегда допустимо;
поэтому данный способ применяется сравнительно редко, хотя он значительно проще
в аппаратурном оформлении.
При передаче тепла через стенку теплоносители не смешиваются,
и каждый из них движется по отдельному каналу; поверхность стенки, разделяющей
теплоносители, используется для передачи тепла и называется поверхностью
теплообмена.
Различают установившийся и неустановившийся
процессы теплопередачи. При установившемся (стационарном) процессе
температуры в каждой точке аппарата не изменяются во времени, тогда как при неустановившемся
(нестационарном) процессе температуры изменяются во времени. Установившиеся
процессы соответствуют непрерывной работе аппаратов с непрерывным режимом;
неустановившиеся процессы протекают в аппаратах периодического действия, а
также при пуске и остановке аппаратов непрерывного действия и изменении режима
их работы.
Передача тепла от одного тела к другому может происходить
посредством теплопроводности, конвекции и лучеиспускания.
Передача тепла теплопроводностью осуществляется путём
переноса тепла при непосредственном соприкосновении отдельных частиц тела. При
этом энергия передаётся от одной частицы к другой в результате колебательного
движения частиц, без их перемещения друг относительно друга.
Передача тепла конвекцией происходит только в жидкостях и
газах путём перемещения их частиц. Перемещение частиц обусловлено движением
всей массы жидкости или газа (вынужденная или принудительная конвекция), либо
разностью плотностей жидкости в разных точках объёма, вызываемой неравномерным
распределением температуры в массе жидкости или газа (свободная, или
естественная, конвекция).
Конвекция всегда сопровождается передачей тепла посредством
теплопроводности.
Передача тепла лучеиспусканием происходит путём переноса
энергии в виде электромагнитных волн. В этом случае тепловая энергия
превращается в лучистую энергию (излучение), которая проходит через
пространство и затем снова превращается в тепловую при поглощении энергии
другим телом (поглощение).
Рассмотренные виды передачи тепла редко встречаются в чистом
виде; обычно они сопутствуют друг другу (сложный теплообмен). Так при передаче
тепла через стенку перенос тепла от горячего теплоносителя к стенке и от стенки
к холодному теплоносителю осуществляется конвекцией, а через стенку - путём
теплопроводности.
Теплообменными аппаратами, или теплообменниками,
называются устройства для передачи тепла от одних сред (горячих теплоносителей)
к другим (холодным теплоносителям). В химической технологии теплообменные
аппараты применяются для нагревания и охлаждения веществ в различных агрегатных
состояниях, испарения жидкостей и конденсации паров, перегонки и сублимации,
абсорбции и адсорбции, расплавления твёрдых тел и кристаллизации, отвода и
подвода тепла при проведении экзо- и эндотермических реакций и т. д.
соответственно своему назначению теплообменные аппараты называют
подогревателями, холодильниками, испарителями, конденсаторами, дистилляторами,
сублиматорами, плавителями и т. п.
Количество тепла, передаваемого в единицу времени от одного
тела к другому, называется тепловым потоком, и выражается в Дж/сек или
Вт, т.е. в единицах мощности.
При теплообмене между теплоносителями происходит уменьшение
энтальпии (теплосодержания) горячего теплоносителя и увеличение энтальпии
холодного теплоносителя. Пусть количество горячего теплоносителя, его начальная
и конечная энтальпия равны соответственно Gг кг/сек, I1
и I2 Дж/кг, а количество холодного теплоносителя и его
начальная и конечная энтальпия Gх кг/сек, i1
и i2 Дж/кг.
Примем также, что количество тепла, передаваемое от горячего
теплоносителя к холодному, составляет Q Вт (эта величина называется тепловой
нагрузкой аппарата), а потери тепла в окружающую среду равны Qп
Вт. Тогда уравнение теплового баланса запишется в виде:

(1.2.1)
Произведя перегруппировку, получим:

(1.2.2)

(1.2.3)
Т.е. тепло, отданное горячим теплоносителем, частично передаётся
холодному теплоносителю и частично расходуется на компенсацию потерь в
окружающую среду.
В теплообменных аппаратах потери тепла обычно невелики (не более 2
- 3%) и ими можно пренебречь. Тогда уравнение теплового баланса примет
вид:

(1.2.4)
или

(1.2.5)
Расчет теплообменного аппарата включает определение необходимой
поверхности теплопередачи, выбор типа аппарата и нормализованного варианта
конструкции, удовлетворяющих заданным технологическим условиям оптимальным
образом. Необходимую поверхность теплопередачи определяют из основного
уравнения теплопередачи:

(1.2.6)
Тепловую нагрузку Q в соответствии с заданными
технологическими условиями находят из уравнения теплового баланса для одного из
теплоносителей:
если агрегатное состояние теплоносителя не меняется - из
уравнения:

, i =1,2 (1.2.7)
- при конденсации насыщенных паров без охлаждения конденсата или
при кипении - из уравнения:

, i =1,2 (1.2.8)
где ri - удельная массовая теплота конденсации,
Дж/кг.
при конденсации перегретых паров с охлаждением конденсата:

(1.2.9)
где I1н - энтальпия перегретого пара, Дж/кг.
Если агрегатное состояние теплоносителя не меняется, его среднюю
температуру можно определить как среднеарифметическую между начальной и
конечной температурами:

, i = 1,2 (1.2.10)
Более точное значение средней температуры одного из теплоносителей
можно получить, используя среднюю разность температур:

(1.2.11)
где tj - среднеарифметическая температура
теплоносителя с меньшим перепадом температуры вдоль поверхности теплообмена,
°С.
При изменении агрегатного состояния теплоносителя его температура
постоянна вдоль всей поверхности теплопередачи и равна температуре кипения (или
конденсации) зависящей от давления и состава теплоносителя.
Для протекания процесса передачи тепла необходимо наличие
некоторой разности температур между горячим и холодным теплоносителями. Эта
разность температур является движущей силой процесса теплопередачи и называется
температурным напором. Если Т - температура горячего
теплоносителя, а t - температура холодного теплоносителя в °С, то
температурный напор:

(1.2.12)
Чем больше температурный напор, тем выше скорость передачи тепла,
причём количество тепла, передаваемого от горячего теплоносителя к холодному,
пропорционально поверхности теплообмена F (м2),
температурному напору Δt и времени τ, с:

(1.2.13)
где K - коэффициент теплопередачи, Вт/м2∙К.
Если тепло переносится путём теплопроводности через стенку, то,
согласно закону Фурье, количество передаваемого тепла пропорционально
поверхности F, разности температур между обеими поверхностями стенки (Δtст. = tст.1 - tст.2), времени τ и обратно пропорционально толщине стенки δ:

(1.2.14)
где tст1 и tст2 -
температура поверхностей стенки; λ - коэффициент теплопроводности, Вт/(м∙К).
2.1
Обзор типовых теплообменных аппаратов
Теплообменными аппаратами, или теплообменниками,
называются устройства для передачи тепла от одних сред (горячих теплоносителей)
к другим (холодным теплоносителям).
При небольших тепловых нагрузках, когда требуемая поверхность
теплообмена не превышает 20 - 30 м2, целесообразно применение
теплообменников типа «труба в трубе». Такие теплообменники изготовляют
следующих типов: 1) неразборные однопоточные малогабаритные; 2) разборные одно-
и двухпоточные малогабаритные; 3) разборные однопоточные; 4) неразборные
однопоточные; 5) разборные многопоточные.
Неразборный теплообменник типа «труба в трубе» изображен на
рисунке 10. Эти теплообменники могут иметь один ход или несколько (обычно
четное число) ходов.
Рис. 10. Неразборный теплообменник типа «труба в трубе»: 1 -
теплообменная труба, 2 - кожуховая труба, 3 - калач
Конструкция разборного теплообменника показана на рисунке 11.
Однопоточный малогабаритный теплообменник (рис. 11) имеет распределительную
камеру для наружного теплоносителя 2, разделенную на две зоны продольной
перегородкой. В крышке 4 размещен калач, соединяющий теплообменные трубы 1.
Кожуховые трубы 3 крепятся в трубных решетках, теплообменные трубы
герметизируются с помощью сальниковых уплотнений. Однопоточные разборные
теплообменники из труб большого диаметра (более 57 мм) выполняются без
распределительной камеры, так как штуцер для подвода наружного теплоносителя
можно приварить непосредственно к кожуховым трубам. [2, с. 90]
Рис. 11. Разборный однопоточный малогабаритный теплообменник
типа «труба в трубе»: 1 - теплообменная труба; 2 - распределительная камера для
наружного теплоносителя; 3 - кожуховая труба; 4 - крышка
Достоинством рассматриваемых теплообменных аппаратов является
возможность создания высоких и даже одинаковых скоростей обоих теплоносителей
и, следовательно, больших коэффициентов теплоотдачи. К числу их недостатков
относятся большое гидравлическое сопротивление и значительная металлоемкость.
Наиболее широкое распространение получили кожухотрубчатые
теплообменные аппараты, используемые для теплообмена между потоками в различных
агрегатных состояниях (пар - жидкость, жидкость - жидкость, газ - газ, газ -
жидкость).
Кожухотрубчатые теплообменные аппараты могут использоваться в
качестве теплообменников, холодильников, конденсаторов и испарителей.
Теплообменники предназначены для нагрева и охлаждения, а
холодильники - для охлаждения (водой или другим нетоксичным, непожаро- и
невзрывоопасным хладоагентом) жидких и газообразных сред. Кожухотрубчатые
теплообменники и холодильники могут быть двух типов: Н - с неподвижными
трубными решетками и К - с линзовым компенсатором неодинаковых температурных
удлинений кожуха и труб. Наибольшая допускаемая разность температур кожуха и
труб для аппаратов типа Н может составлять 20 - 600С, в зависимости
от материала кожуха и труб, давления в кожухе и диаметра аппарата.
Теплообменники могут устанавливаться горизонтально или
вертикально, быть одно-, двух-, четырех- и шестиходовыми по трубному
пространству (рис. 12) [1, с. 336]. Трубы, кожух и другие элементы конструкции
могут быть изготовлены из углеродистой или нержавеющей стали. Распределительные
камеры и крышки холодильников выполняют из углеродистой стали.
Кожухотрубчатые конденсаторы предназначены для конденсации
паров в межтрубном пространстве, а также для подогрева жидкостей и газов за
счет теплоты конденсации пара. Они могут быть с неподвижной трубной решеткой
или с температурным компенсатором на кожухе, вертикальные или горизонтальные.
Конденсаторы могут быть двух-, четырех- и шестиходовыми по трубному
пространству.
Рис. 12. Многоходовые (по трубному пространству)
кожухотрубчатые теплообменники жесткой конструкции: а - двухходовой, б -
четырехходовой; 1 - крышки, 2 - перегородки в крышках; I и II - теплоносители
В кожухотрубчатых испарителях в трубном пространстве кипит
жидкость, а в межтрубном пространстве может быть жидкий, газообразный,
парообразный, парогазовый или парожидкостной теплоноситель. Эти теплообменники
могут быть только вертикальными одноходовыми, с трубками диаметром 25
2 мм. Они могут быть с неподвижной трубной решеткой или с
температурным компенсатором на кожухе. Применение кожухотрубчатых
теплообменников с температурным компенсатором на кожухе (линзовый компенсатор)
ограничено предельно допустимым давлением в кожухе, равным 1,6 МПа. При большем
давлении в кожухе (1,6 - 8,0 МПа) следует применять теплообменники с плавающей
головкой или с U-образными трубами.
Теплообменники с U-образными трубами применяют для нагрева и
охлаждения жидких или газообразных сред без изменения их агрегатного состояния.
Они рассчитаны на давление до 6,4 МПа, отличаются от теплообменников с
плавающей головкой менее сложной конструкцией (одна трубная решетка, нет
внутренней крышки), однако могут быть лишь двухходовыми, из труб только одного
сортамента: 20
2 мм. Кожухотрубчатые испарители с трубными пучками из U-образных
труб или с плавающей головкой имеют паровое пространство над кипящей в кожухе
жидкостью. В этих аппаратах, всегда расположенных горизонтально, горячий
теплоноситель (в качестве которого могут быть использованы газы, жидкости или
пар) движется по трубам. Кожухотрубчатые испарители могут быть с коническим
днищем диаметром 800 - 1600 мм и с эллиптическим днищем диаметром 2400 - 2800
мм. Последние могут иметь два или три трубных пучка. Допустимые давления в
трубах составляют 1,6 - 4,0 МПа, в кожухе - 1,0 - 2,5 МПа при рабочих
температурах от 30 до 450°С, т. е. выше, чем для испарителей с линзовым
компенсатором.
Наибольшей компактностью отличаются пластинчатые теплообменные
аппараты: их удельная рабочая поверхность достигает 1500 м2/м3.
В пластинчатых теплообменниках поверхность теплообмена образована
набором тонких штампованных гофрированных пластин. Эти аппараты могут быть
разборными, полуразборными и неразборными (сварными). В пластинах разборных
теплообменников (рис. 16) имеются угловые отверстия для прохода теплоносителей
и пазы, в которых закрепляются уплотнительные и компонующие прокладки 3 из
специальных термостойких резин. Пластины сжимаются между неподвижной и
подвижной плитами таким образом, что благодаря прокладкам между ними образуются
каналы для поочередного прохода горячего и холодного теплоносителей. Плиты
снабжены штуцерами для присоединения трубопроводов. Неподвижная плита 1
крепится к полу, пластины 2 и подвижная плита 5 закрепляются в специальной
раме. Группа пластин, образующих систему параллельных каналов, в которых данный
теплоноситель движется только в одном направлении (сверху вниз или наоборот),
составляет пакет. Пакет по существу аналогичен одному ходу по трубам в
многоходовых кожухотрубчатых теплообменниках.
Широкое применение получили пластинчато-ребристые теплообменные аппараты
компактность которых достигает 2000 м2/м3. Большими
достоинствами этих аппаратов являются: возможность осуществления теплообмена
между тремя, четырьмя и более теплоносителями; наименьший вес и объем
(следовательно, и стоимость) по сравнению с другими аппаратами. По своему
устройству пластинчато-ребристые теплообменники представляют собой набор тонких
пластин, между которыми располагаются тонкие гофрированные листы, припаянные к
каждой пластине. Аппарат может быть собран из любого числа пластин, а теплоносители
могут двигаться либо прямотоком, либо перекрестным током.
Заключение
В данной курсовой работе был произведён расчёт и подбор
кожухотрубчатого испарителя, а также приведен способ расчета материального и
теплового баланса ректификационной колонн.
Достоинством кожухотрубчатогоиспарителя является возможность
получения значительной поверхности теплообмена при сравнительно небольших
габаритах; недостатком - более высокий расход материала по сравнению с
некоторыми современными типами теплообменных аппаратов (спиральными,
пластинчатыми теплообменниками и т.д.).
На современныхпредприятиях, где осуществляются различные массо- и
теплообменные процессы, на изготовление аппаратов, предназначенных для нагрева
и охлаждения, затрачивается до 30% общего расхода металла на все
технологические установки. Высокая эффективность работы подобных аппаратов
позволяет сократить расход топлива и электроэнергии, затрачиваемой на тот или
иной технологический процесс, и оказывает существенное влияние на его
технико-экономические показатели. Поэтому изучению устройства и работы этих
аппаратов, а также освоению, методов их расчета необходимо уделять особое
внимание.
Список литературы
температура ректификационный теплообменный аппарат
1. Дытнерский
Ю.И. «Процессы и аппараты химических технологий: учебник для вузов» Изд. 2. В
2-х книгах. - С.: Химия, 1995. - 400 с; 496 с.
. Иоффе
И.А. «Проектирование процессов и аппаратов химической технологии» - С.: Химия,
2001.-352 с.
.
Касаткин А.Г. «Основные процессы и аппараты химической технологии» - М.:
Типография Госхимиздата., 1988. - 831 с.
. Павлов
К.Ф. «Примеры и задачи по курсу процессов и аппаратов химической технологии» -
С.: Химия, 2006. - 576 с.
. Плаксин
Ю.М. «Процессы и аппараты пищевых производств» - М.: Колос, 2008. - 760 с.