Кожухотрубчатый теплообменный аппарат
Задание на проектирование
Рассчитать кожухотрубчатый
теплообменный аппарат с компенсатором на корпусе, исходя из следующих условий:
Поверхность теплообмена F= 455 м2.
Диаметр и толщина стенки труб dн×SТ = 20×2мм.
Рабочая среда:
трубное пространство - газ,
межтрубное - жидкость.
Давление в трубном пространстве РТ
= 1.1 МПа.
Давление в межтрубном пространстве РМ=
1,1 МПа.
Температура в трубном пространстве:
вход tНТ = 185 ºС,
выход tКТ = 105 ºС.
Температура в межтрубном
пространстве:
вход tНМ = 25 ºС,
выход tКМ = 900 ºС.
Скорость коррозии V= 0,02 мм/год.
Срок службы τ= 25 лет.
Коэффициент прочности сварного шва φ= 0,9.
Материал аппарата сталь марки
03Х17Н14М3.
Расположение аппарата -
горизонтальное.
Крышка - торосферическая тип ТС-С.
Ключевые слова: КОМПЕНСАТОР, ТРУБНАЯ
РЕШЕТКА, ДНИЩЕ,
РАЗВАЛЬЦОВКА, ОБЕЧАЙКА
Объект расчета - кожухотрубчатый
горизонтальный теплообменный аппарат с компенсатором на кожухе.
Цель работы: расчет на прочность
элементов конструкции аппарата и конструирование аппарата.
Рассчитаны на прочность и определены
геометрические размеры цилиндрической обечайки, торосферических крышек, труб,
трубной решетки, компенсатора, фланцевых соединений, произведен расчет
укрепления отверстий в корпусе и днище аппарата, а также расчет развальцовочного
соединения труб.
Определен вес аппарата, выбраны
опоры, определена общая и удельная материалоемкость аппарата. Определена
ориентировочная цена изготовления аппарата.
СОДЕРЖАНИЕ
Введение
1. Расчет геометрических параметров аппарата
2. Прочностной расчет корпуса и крышки аппарата
2.1 Расчет толщины стенки корпуса аппарата
2.2 Расчет толщины стенки торосферического днища типа ТС-В
3. Расчет укрепления выреза отверстия
4.1 Расчет укрепления выреза отверстия в корпусе аппарата
4.2 Расчет укрепления отверстия в торосферическом днище
4. Расчет компенсатора
5. Расчет развальцовочного соединения
. Расчет толщины трубной решетки
7. Расчет фланцевых соединений:
7.1 Расчет фланцевого соединения корпуса
7.2 Расчет фланцевого соединения для патрубка межтрубного пространства
.3 Расчет фланцевого соединения для патрубка трубного
пространства
8. Определение массы и веса аппарата, конструирование опор
9. Определение материалоемкости аппарата
Литература
ВВЕДЕНИЕ
В промышленности широко применяют
аппараты для нагревания, охлаждения или выпаривания многих видов сырья,
полуфабрикатов и продуктов.
Современные теплообменные аппараты
должны обеспечивать передачу требуемого количества тепла от одной среды к
другой с получением необходимых конечных температур и при возможности большей
интенсивности теплообмена. Аппараты должны обладать достаточной прочностью и
иметь, возможно, меньшие габаритные размеры. При конструировании необходимо
находить оптимальные решения, которые учитывают возможность разборки рабочей
части аппарата и обеспечивают сохранение герметичности трубчатых каналов.
В пищевой и смежных с ней отраслях
промышленности нашли широкое применение кожухотрубчатые теплообменники. По
трубному пространству проходит один теплоноситель, например газ, а по
межтрубному другой теплоноситель - жидкость. В некоторых теплообменниках для
увеличения интенсивности теплопередачи в межтрубном пространстве устанавливают
сегментные перегородки для осуществления многократно-перекрестного движения
теплоносителя.
Кожухотрубчатые теплообменные
аппараты могут использоваться в качестве теплообменников, холодильников,
конденсаторов и испарителей. В соответствии с ГОСТ 15120-79 и ГОСТ 15122-79
кожухортубчатые теплообменники и холодильники могут быть двух типов: Н с
неподвижными трубными решетками и К - с линзовым компенсатором неодинаковых
температурных удлинений кожуха и труб. Наибольшая допускаемая разность
температур кожуха и труб для аппаратов типа Н может составлять 20 - 60 град, в
зависимости от материала труб и кожуха, давления в кожухе и диаметра аппарата.
Для аппаратов типа К наибольшая разность температур кожуха и труб может
достигать более 100 град.
Теплообменники могут быть
одноходовые или многоходовые, вертикальные или горизонтальные. Вертикальные
теплообменники более просты в изготовлении и эксплуатации, а также занимают
меньшую площадь. Горизонтальные теплообменники применяют в случаях, когда надо
свести к минимуму расслоение жидкостей вследствие разности их температур и
плотностей, а также устранить образование застойных зон.
Трубы, кожух и другие элементы
конструкции могут быть изготовлены из углеродистой или нержавеющей стали, а
трубы холодильников из латуни. Распределительные камеры и крышки холодильников
выполняют из углеродистой стали.
Трубы в трубных решетках обычно
равномерно распределяют по периметрам правильных шестиугольников, что
преследует одну цель обеспечить, возможно, более компактное размещение
необходимой поверхности теплообмена внутри аппарата. Трубы закрепляют в
решетках чаще всего развальцовкой. Кроме этого используют закрепление труб
сваркой, если материал трубы не поддается вытяжке. Изредка используют
соединение труб с решеткой посредством сальников, допускающих свободное
перемещение труб и возможность их быстрой замены. Такое соединение позволяет
значительно уменьшить температурную деформацию труб, но является сложным,
дорогим и недостаточно надежным.
Повышение интенсивности теплообмена
в многоходовых теплообменниках сопровождается возрастанием гидравлического
сопротивления и усложнением конструкции теплообменника. Это диктует выбор
экономически целесообразной скорости теплоносителя, определяемой числом ходов
теплообменника, которое обычно не превышает шести ходов.
Скорость теплоносителя в аппарате
должна обеспечивать благоприятное сочетание интенсивного переноса тепла и
умеренного расхода энергии на перемещение теплоносителя. Движение теплоносителя
в трубном пространстве может происходить в трех режимах:
1. Турбулентный режим, когда
критерий Рейнольдса Re > 10000;
2. Переходной режим (2300 <
Re < 10000);
. Ламинарный режим (Re <
2300).
Наиболее распространен теплообмен
при турбулентном или близком к нему переходном режиме движения жидкости или
газа. В этих режимах происходит наиболее интенсивная теплопередача. Ламинарный
режим движения применяется крайне редко т.к. коэффициент теплопередачи при этом
режиме незначительный.
.
РАСЧЕТ ГЕОМЕТРИЧЕСКИХ ПАРАМЕТРОВ АППАРАТА
Шаг разбивки трубок в трубной доске:
мм
Принимаем внутренний
диаметр аппарата D= 1000 мм, тогда число труб на трубной решетке определим из
соотношения:
шт.
где К= (0,7…0,85) -
коэффициент заполнения.
Длина трубки:
м.
Принимаем длину трубки
L= 6 м, тогда число трубок составит:
шт.
Проверим значение
коэффициента К:
Диаметр патрубков:
для жидкости в
межтрубном пространстве dЖ = 0,2×D
= 0,2×1=0,2 м.
для газа в трубном
пространстве dГ = 0,3×D
= 0,3×1=0,3 м.
Принимаем диаметр
компенсатора DК = 1,2 м.
Эскиз аппарата приведен
на рис. 1.
2.
ПРОЧНОСТНОЙ РАСЧЕТ КОРПУСА И КРЫШКИ
.1 Расчет толщины стенки корпуса
аппарата
Для стали 03Х17Н14М3
МПа.
МПа.
Расчетная товщина стенки (ф.9 ГОСТ
14249-89):
мм.
Прибавка на коррозию:
мм.
мм.
м.
Исполнительная толщина
стенки:
мм.
Принимаем по ГОСТ
19903-74 S=8 мм.
Допускаемое избыточное
внутреннее давление:
Мпа
Проверяем условие:
Условие соблюдается.
Расчет толщины стенки
торосферического днища типа ТС-С
Расчетная толщина стенки
в краевой части (ф.64 ГОСТ 14249-89):
мм.1 = D +2S
= 1000+2×6=1012 мм;
β1
= 1,1 - коэффициент при
(черт.
14 ГОСТ 14249-89).
Исполнительная толщина
стенки в краевой части:
мм.
Принимаем S1K=8
мм.
Расчетная толщина стенки
в центральной части (ф.66 ГОСТ 14249-89):
мм.
где R=0,9×D1=0,8×1012=810
мм.
Исполнительная толщина
стенки в центральной части:
мм.
Принимаем общую толщину
стенки крышки, одинаковую в центральной и краевой части S1 = 8 мм.
Допускаемое избыточное
внутреннее давление в краевой части:
МПа.
где β2
= 1,0 при
(черт.15
ГОСТ 14249-89).
Допускаемое избыточное
внутреннее давление в центральной части:
МПа.
Радиус отбортовки днища:
мм.
Длина цилиндрической
части днища:
мм.
Эскиз торосферической
крышки на рис.2.
Рис. 2 Расчетная схема загрузки
днища
3. РАСЧЕТ УКРЕПЛЕНИЯ ВЫРЕЗА
ОТВЕРСТИЙ
.1 Расчет укрепления выреза
отверстия в корпусе аппарата
Для патрубка Dy = 200 мм
расчетная схема приведена на рис.3
Расчетная толщина стенки патрубка:
мм.
Исполнительная толщина
стенки патрубка:
мм.
Принимаем по ГОСТ
19903-74 S1П= 8 мм.
Расчетная площадь
поперечного сечения металла стенки корпуса, удаленного вырезом:
Площадь поперечного сечения
избыточного металла патрубка:
Определим протяженность
зоны укрепления:
Принимаем: 84 мм
Площадь сечения
избыточного над расчетным металла стенки корпуса:
Находим:

т.е. установка
укрепляющего кольца не требуется.
3.2 Расчет укрепления
отверстия в торосферическом днище
Для патрубка Dy
= 300 м расчетная схема приведена на рис. 4
Расчетная толщина стенки
патрубка:
мм.
Исполнительная толщина
стенки патрубка:
мм.
Принимаем по ГОСТ
19903-74 S2П =8 мм.
Расчетная площадь
поперечного сечения металла стенки днища, удаленного вырезом:
где DДН= 2R=2×810=1620
мм.
Площадь поперечного
сечения избыточного металла патрубка:
кожухотрубчатый
теплообменный аппарат
Определим протяженность
зоны укрепления:
Принимаем: 107 мм
Площадь сечения
избыточного над расчетным металла стенки днища:
Находим:
Проверяем условие:
т.е. установка
укрепляющего кольца не требуется.
4. РАСЧЕТ КОМПЕНСАТОРА И ОПРЕДЕЛЕНИЕ
ТЕМПЕРАТУРНОГО УСИЛИЯ
Определяем параметр характеризующий
компенсатор:
, где
,
коэффициент,
определяемый в зависимости от β [4];
α1=0.25,
λ1=0.052число линз компенсатора, z=1 шт;
Сила, действующая на
трубы и корпус, МН:
, где α=16.8*10-6
1/К и Е=2*105 МПа
Где α
- температурный коэффициент α=16.8*10-6
1/К;
Е - модуль продольной
упругости материала стали 03Х17Н14М3 Е=2*105 МПа;и Fk-площади
поперечного сечения соответственно всех труб и корпуса, м²:
3,14*1,008*0,008=0,025м2
3,14*0,018*0,002*1208=0,14м2
Температура корпуса
аппарата:
Температура труб:
Разность температур:
145-51,5 =87,5 0С
Деформация (удлинения
труб):
Где α
- коэффициент температурного расширения материала труб стали
03Х17Н14М3, α=16.8*10-6
1/К;длина аппарата, мм
Проверка толщины стенки
линзы:
Где λ=0,052-
параметр, определяемый в зависимости от β
[4];
Рпр- пробное давление,
равное большему из давлений трубного и межтрубного пространства;
Напряжение в линзовом
компенсаторе при его растяжении(сжатии) под действием силы Qt:
=QT=Qk=0.94 MН
5. РАСЧЕТ
РАЗВАЛЬЦОВОЧНОГО СОЕДИНЕНИЯ
Усилие растягивающие
трубы и корпус:
где dвн = 20-2*1,0 = 18
мм = 0,018 м - внутренний диаметр трубки
Усилие на одну трубу при
условии равномерного распределения нагрузки на трубы:
Температурное усилие
приходящееся на одну трубу:
Суммарное усилие:
Условная нагрузка от
давления на единицу длины окружности развальцовки:
Если
-
развальцовка отверстия без канавок
Если
-
развальцовка отверстия с канавками
Принимаем развальцовку
отверстия без канавок
Удельная нагрузка на
развальцовку от действия суммарного усилия с учетом давления и температурных
напряжений:
Условие прочности
развальцовочного соединения выполняется
6. РАСЧЕТ ТОЛЩИНЫ ТРУБНОЙ РЕШЕТКИ
Площадь сечения минимального
значения пространства между трубными составами:
н=20мм; d’=20,4мм; t=26
мм
С учетом прибавок:
Определим расчетное усилие:
Расчетное давление на трубную решетку:
Толщина трубной решетки:
,
где
-
коэффициент прочности решетки
Где [σ]- напряжение при максимальных значениях температуры в трубном и
межтрубном пространстве;
Принимаем толщину трубной решетки Sp=66мм
7. РАСЧЕТ ФЛАНЦЕВЫХ СОЕДИНЕНИЙ
.1 Расчет фланцевого соединения
корпуса
По условию: D=1.0 м, Р=1.1 МПа, S=8
мм.
Эскиз фланца корпуса приведен на
рис. 7.1
Находим меньшую толщину конической
втулки:
Принимаем S=10мм
Находим отношение
большей толщины втулки фланца к меньшей
, β=2,5
Для этого отношение
коэффициента β для всех фланцев находим по таблице [4], β=2,5
Толщина у основания
втулки приварного встык фланца:
, S1=25мм
Длина втулки приварной
встык:
Принимаем болты: М20
Диаметр болтовой
окружности:
Принимаем DБ=1110мм
Наружный диаметр фланца:
, где В=40-
конструктивный размер
Принимаем DФ=1150мм
Наружный диаметр прокладки:
, где L=30 -
конструктивный размер
Средний диаметр
прокладки:
Где bп=20 мм-ширина
прокладки
Эффективная ширина
прокладки:
Принимаем bE=3мм
Выбираем прокладку: Паронит по ГОСТ
481-71, толщиной 1 мм, М=2,5 МПа, Q=20 МПа, Еп=2000 МПа, [Q]=130 МПа
Ориентировочное число болтов:
, где tБ=(3,0-3,8)*dБ=3*20=60мм
Принимаем ZБ=60
шт.
Коэффициент
:
Эквивалентная толщина
втулки фланца:
, SE=15мм
Ориентировочная толщина
фланца:
,
Где λ=0,34
- коэффициент из графика для приварных стык фланцев [4];
Принимаем h=42 мм
Безразмерный параметр:
, где
,
Безразмерный параметр, ψ3=2.0:

Где Еф=2-
МПа- модуль упругости материала фланца
Линейная податливость
прокладки:
=1мм
Расчетная длина болта:
-
длина болта между
опорными поверхностями головки болта и гайки;
Принимаем eБ=95мм
Линейная податливость
болтов:
,
Где ЕБ=2*105
МПа,Б=2,35*10-4 м2- площадь поперечного
сечения болта по внутреннему диаметру резьбы
Коэффициент жесткости
фланцевого соединения:
Где
Так как фланцы имеют
одинаковую толщину, то В1=В2=В и yФ1= yФ2=
yФ
Безразмерный коэффициент
ν:
Расчет фланцевого
соединения, работающего под действием внутреннего давления
Нагрузка, действующая на фланцевое
соединение:
Реакция прокладки в
рабочих условиях:
Усилие, возникающее от
температурных деформаций:
, где tф=0,96
и tБ=0,95
Болтовая нагрузка в
условиях монтажа:
Рабочая болтовая
нагрузка:
Произвольные изгибающие
моменты:
МПа
Принимаем М0=0,044
Условие прочности болтов:
,7≤153 - условие
выполняется;
,6≤123 - условие
выполняется;
Условие прочности
прокладки:
,99≤130 - условие
выполняется;
.2 Расчет фланцевого
соединения для патрубка межтрубного пространства
По условию: d=200 мм,
Р=1,1 МПа, S=8мм, рабочая среда-жидкость.
Эскиз фланца приведен на
рис. 7.2
Находим меньшую толщину конической
втулки:
Принимаем S0=10мм
Находим отношение
большей толщины втулки фланца к меньшей:
, β=1,5
Большая толщина втулки
фланца:
, S1=15мм
Длина втулки приварной
встык:
Принимаем болты: М20
Диаметр болтовой
окружности:

Наружный диаметр фланца:
, где В=40мм -
конструктивный размер
Принимаем DФ=322мм
Наружный диаметр прокладки:
, где L=30мм -
конструктивный размер
Средний диаметр
прокладки:

=20 - ширина прокладки
Эффективная ширина
прокладки:
Принимаем bE=3мм
Выбираем прокладку: Паронит по ГОСТ
481-71, толщиной 1 мм, М=2,5 МПа, Q=20 МПа, Еп=2000 МПа, [Q]=130 МПа
Ориентировочное число болтов:
, где tБ=(3,0-3,8)*dБ=3*20=60мм
Принимаем ZБ=16
шт.
Коэффициент
:
Эквивалентная толщина
втулки фланца:
, SE=11мм
Ориентировочная толщина
фланца:
, где λ=0,32
- коэффициент из графика для приварных стык фланцев [4];
Принимаем h=16 мм
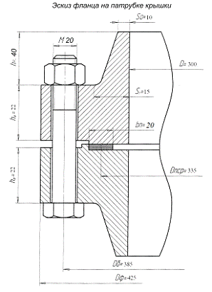
.3 Расчет фланцевого
соединения для патрубка трубного пространства
По условию: d=300 мм,
Р=1.1 МПа, S=8мм, рабочая среда-жидкость.
Эскиз фланца приведен на
рис. 7.3
Находим меньшую толщину конической
втулки:
Принимаем S=10мм
Находим отношение
большей толщины втулки фланца к меньшей:
, β=1,5
Большая толщина втулки
фланца:
, S1=15мм
Длина втулки приварной
встык:
Принимаем болты: М20
Диаметр болтовой
окружности:
Принимаем DБ=385м
Наружный диаметр фланца:
, где В=40мм -
конструктивный размер
Принимаем DФ=425мм
Наружный диаметр прокладки:
, где L=30мм -
конструктивный размер
Средний диаметр
прокладки:

=20 - ширина прокладки
Эффективная ширина
прокладки:
Принимаем bE=3мм
Выбираем прокладку: Паронит по ГОСТ
481-71, толщиной 1 мм, М=2,5 МПа, Q=20 МПа, Еп=2000 МПа, [Q]=130 МПа
Ориентировочное число болтов:
, где tБ=(3,0-3,8)*dБ=3*20=60мм
Принимаем ZБ=24
шт.
Коэффициент
:
Эквивалентная толщина
втулки фланца:
, SE=12мм
Ориентировочная толщина
фланца:
, где λ=0,34;
Принимаем h=22мм

Расчет массы и веса теплообменника
производим для выбора опор, которые смогут выдержать данную нагрузку от веса
аппарата. При расчете массы теплообменника определим его ориентировочную массу,
которая учитывает массу основных элементов аппарата. Массу таких мелких деталей
как болты, прокладки, патрубки и др. примем ориентировочно. Для выбора опор
учитываем массу воды для полного заполнения аппарата при его гидравлических
испытаниях. Точная масса аппарата определяется при выполнении его рабочего
проекта при наличии всех рабочих чертежей деталей.
Масса цилиндрической обечайки
корпуса:
Масса цилиндрической обечайки
корпуса:
Где ρ=7850
кг/м3 - плотность стали
Масса трубок:
Масса трубной решетки:
Масса фланца корпуса:
Где 1,2 - коэффициент,
учитывающий массу конического прилива фланца.
Массу торосферического
днища для диаметра 1000 мм и толщиной стенки 6 мм определим по табл. 16.1 [1]:5=
80 кг
Общая масса аппарата:
Примем массу аппарата m=
8700 кг, с учетом ориентировочной массы патрубков и фланцев патрубков.
Масса жидкости в
аппарате:
Где ρв=1000
кг/м3 - плотность воды
Примем массу воды в
аппарате mB= 5000 кг, с учетом заполнения полостей в крышках и
патрубках.
Общая масса аппарата с
водой составит:
Общий вес аппарата с
водой:
Примем 2 опоры, тогда
нагрузка на одну опору составит:
По максимальной нагрузке
G=67,2 кН принимаем стандартную опору для горизонтального расположения аппарата
на нагрузку 125 кН [1]. Обозначим опоры: «Опора 125-514-2-1 ОСТ 26-1265-75».
Основные размеры опоры:
S1= 8 мм; S2= 14 мм; R= 514 мм; L= 1020 мм; А= 650 мм.
Опорный лист 10-514-ОСТ 26-1267-75: R= 514 мм; S= 10 мм; В2= 360 мм;
В= 250 мм.
Запас прочности опоры:
Эскиз опоры приведен на
рис. 8.1.
. ОПРЕДЕЛЕНИЕ
МАТЕРИАЛОЕМКОСТИ АППАРАТА
Общая материалоемкость аппарата:
Удельная
материалоемкость:
Доля массы труб от массы
всего аппарата:
Цена единицы массы
теплообменника из нержавеющей стали при С=73,9% ориентировочно составляет 110
грн./кг[2]. Тогда ориентировочная цена аппарата составит:
Коэффициент расхода
материала К=1,3, тогда исходное количество металла для изготовления аппарата
составит:
Литература
1. Лащинский А.А., Толчинский А.Р. Основы конструирования и
расчета химической аппаратуры: Справочник. - М - Л.: Машиностроение, 1971.-748с
2. Дытнерский Ю.И. Основные процессы и аппараты химической
технологии: Пособие по проектированию. -М,.: Химия, 1991.- 496 с.
. ГОСТ 14249 - 89. Сосуды и аппараты. Нормы и методы
расчета на прочность:М.,1989.
4. Лащинский А. А. Конструирование сварных химических
аппаратов: Справочник. - Л.: Машиностроение, 1981.- 382 с.
5. Методические указания № 21.
6. Вихман Г.Л., Круглов С.А., Основы конструирования аппаратов
и машин нефтехимических заводов - М.: 1977.-327