Системы теплоснабжения зданий

  • Вид работы:
    Другое
  • Предмет:
    Физика
  • Язык:
    Русский
    ,
    Формат файла:
    MS Word
    912,69 Кб
  • Опубликовано:
    2014-04-22
Вы можете узнать стоимость помощи в написании студенческой работы.
Помощь в написании работы, которую точно примут!

Системы теплоснабжения зданий












Научно-исследовательская работа

Системы теплоснабжения зданий


Введение

Потеря тепла зданием зависит от ряда причин. Чем больше разница между температурами наружного воздуха и воздуха помещения и чем больше площадь ограждающих конструкций, тем больше тепла теряет здание. Потеря тепла зданием зависит также от материала, из которого выполнена ограждающая конструкция, и ее размеров. Системы отопления должны возмещать израсходованное тепло:

через ограждающие конструкции (стены, окна, двери, перекрытия верхних этажей, полы нижних этажей) зданий и сооружений;

на нагревание воздуха, поступающего через открываемые ворота, двери и другие проемы и неплотности в ограждающих конструкциях;

на нагревание поступающих извне материалов, оборудования и транспорта и на нагревание поступающего с ними воздуха, температура которого ниже расчетной температуры воздуха помещения.

Системы отопления зданий и сооружений должны обеспечивать: равномерный прогрев воздуха помещений, возможность регулирования самих систем отопления, увязку с системами вентиляции; удобство эксплуатации и ремонта. В системах отопления в качестве теплоносителя используют воду температурой не более 150°С, водяной пар температурой не более 130°С или воздух, нагретый до 60°С; соответствующие системы называют водяными, паровыми или воздушными.


1. Централизованные системы теплоснабжения

Централизованные системы теплоснабжения - системы теплоснабжения больших жилых массивов, городов, поселков и промышленных предприятий. Источниками теплоты у них служат теплоэнергоцентрали или крупные котельные, имеющие высокие КПД, транспортирующие и распределяющие теплоноситель по тепловым сетям протяженностью 10-15 км, с максимальным диаметром труб 1000-1400 мм, обеспечивающим подачу потребителям теплоносителя в требуемых количествах и с требуемыми параметрами. Мощность ТЭЦ составляет 1000-3000 МВт, котельных 100-500 МВт. Крупные централизованные системы теплоснабжения имеют несколько источников теплоты, связанных резервными тепломагистралями, обеспечивающими маневренность и надежность их функционирования. В централизованную систему теплоснабжения входят и системы теплоснабжения зданий, связанные с ней единым гидравлическим и тепловым режимами и общей системой управления. Однако ввиду многообразия технических решений теплоснабжения зданий их выделяют в самостоятельную техническую систему, называемую системой отопления. Поэтому центральная система теплоснабжения начинается источником теплоты и заканчивается абонентским вводом в здание.

Централизованные системы теплоснабжения бывают водяные и паровые. Основное преимущество воды как теплоносителя в значительно меньшем расходе энергии на транспортирование единицы теплоты в виде горячей воды, чем в виде пара, что обусловливается большей плотностью воды. Снижение расхода энергии дает возможность транспортировать воду на большие расстояния без существенной потери энергетического потенциала. В крупных системах температура воды понижается примерно на 1°С на пути в 1 км, тогда как давление пара (его энергетический потенциал) на том же расстоянии примерно на 0,1-0,15 МПа, что соответствует 5-10°С. Поэтому давление пара в отборах турбины у водяных систем ниже, чем у паровых, что приводит к сокращению расхода топлива на ТЭЦ. К другим достоинствам водяных систем относятся возможность центрального регулирования подачи теплоты потребителям путем изменения температуры теплоносителя и более простая эксплуатация системы (отсутствие конденсатоотводчиков, конденсатоп-роводов, конденсатных насосов).

К достоинствам пара следует отнести возможность удовлетворения и отопительных и технологических нагрузок, а также малое гидростатическое давление. Учитывая достоинства и недостатки теплоносителей, водяные системы используют для теплоснабжения жилых массивов, общественных и коммунальных зданий, предприятий, использующих горячую воду, а паровые - для промышленных потребителей, которым необходим водяной пар. Водяные централизованные системы теплоснабжения - основные системы, обеспечивающие теплоснабжение городов. Централизация теплоснабжения городов составляет 70-80%. В крупных городах с преимущественно современной застройкой уровень использования ТЭЦ в качестве источников теплоты для жилищно-коммунального сектора достигает 50-60%.

В теплофикационных системах пар высоких параметров (давление 13-24 МПа, температура 565°С), вырабатываемый в энергетических котлах, подается в турбины, где, проходя через лопатки, отдает часть своей энергии для получения электроэнергии. Основная часть пара проходит через отборы и поступает в теплофикационные теплообменники, в которых он нагревает теплоноситель системы теплоснабжения. Таким образом на ТЭЦ теплота высокого потенциала используется для выработки электроэнергии, а теплота низкого потенциала - для теплоснабжения. Комбинированная выработка теплоты и электроэнергии обеспечивает высокую эффективность использования топлива, позволяет сократить его расход.

В большинстве централизованных систем теплоснабжения максимальная температура горячей воды принимается 150°С. Температура пара в теплофикационных отборах турбины не превышает 127°С. Следовательно, при низких температурах наружного воздуха в теплофикационных теплообменных аппаратах подогреть воду до требуемого уровня нельзя. Для этого используют пиковые котлы, которые работают только при низких наружных температурах, т.е. снимают пиковую нагрузку. Так как отопительная нагрузка меняется с изменением наружной температуры, меняется и количество пара, отбираемого из турбины для теплоснабжения. Неотработанный пар проходит через цилиндры низкого давления турбины, отдает свою энергию и поступает в конденсатор, где поддерживается вакуум (давление 0,004-0,006 МПа), которому соответствуют низкие температуры конденсации 30-35°С, а охлаждающая вода имеет еще более низкую температуру, поэтому не используется для теплоснабжения. Таким образом, для теплоснабжения используется только часть пара, проходящая через отборы турбины, что снижает экономический эффект теплофикации. Однако расход топлива на выработку электроэнергии и теплоты для теплоснабжения в среднем за год сокращается примерно на 25-33%. Экономический эффект дает и использование в качестве источников теплоты крупных районных котельных установок (тепловых станций), имеющих высокий КПД.

Теплоноситель от источников теплоты транспортируется и распределяется между потребителями по развитым тепловым сетям. В результате тепловые сети охватывают все городские территории, а их сооружение вызывает наибольшие градостроительные и эксплуатационные трудности. В процессе эксплуатации они подвергаются коррозии и разрушениям. Аварийные повреждения приводят к отказам теплоснабжения, социальному и экономическим ущербам. В результате тепловые сети, являясь основным элементом крупных систем теплоснабжения, становятся и наиболее слабой составляющей их частью, что снижает экономический эффект от централизации теплоснабжения, ограничивает максимальную мощность систем. В зависимости от способа приготовления горячей воды централизованные системы теплоснабжения разделяют на закрытые и открытые. В закрытой системе циркулирующая в ней вода используется только как теплоноситель. Вода нагревается на источнике теплоты, несет свою энтальпию к потребителям и отдает ее на отопление, вентиляцию и горячее водоснабжение. Вода для горячего водоснабжения берегся из горячего водопровода и подогревается в поверхностных теплообменных аппаратах циркулирующим теплоносителем до требуемой температуры. Система закрыта по отношению к атмосферному воздуху. В открытых системах горячая вода, которую использует потребитель, отбирается из тепловой сети. Следовательно, горячая вода в системе используется не только как теплоноситель, но и непосредственно как вещество. Поэтому система теплоснабжения является частично циркуляционной, а частично прямоточной. Вода горячего водоснабжения приготовляется на источнике теплоты, прямоточно движется к потребителям и изливается через водоразборные краны в атмосферу.

Для крупных городов централизация теплоснабжения - перспективное направление. Централизованные системы, особенно теплофикационные, расходуют меньше топлива. Сокращение и укрупнение источников теплоты улучшают условия для градостроительства и экологию крупных городов. Меньшее количество источников теплоты позволяет резко сократить число дымовых труб, через которые в окружающую среду выбрасываются продукты сгорания. Исключается необходимость создания множества мелких топливных складов для хранения твердого топлива, откуда при децентрализованных системах теплоснабжения приходится развозить топливо, а из разбросанных по всему городу небольших котельных увозить золу и шлаки. Кроме того, при централизации источников теплоты легче очищать дымовые газы от токсичных компонентов.

2. Децентрализованная система теплоснабжения

бифилярный теплоснабжение централизованный теплосеть

Трубопроводы тепловых сетей прокладываются в подземных проходных и непроходных каналах - 84%, бесканальная подземная прокладка - 6% и надземная (на эстакадах) - 10%. В среднем по стране свыше 12% тепловых сетей периодически или постоянно затапливаются грунтовыми или поверхностными водами, в отдельных городах эта цифра может достигать 70% теплотрасс. Неудовлетворительное состояние тепловой и гидравлической изоляции трубопроводов, износ и низкое качество монтажа и эксплуатации оборудования тепловых сетей отражается статистическими данными по аварийности. Так, 90% аварийных отказов приходится на подающие и 10% - на обратные трубопроводы, из них 65% аварий происходит из-за наружной коррозии и 15% - из-за дефектов монтажа (преимущественно разрывов сварных швов).

На этом фоне всё увереннее позиции децентрализованного теплоснабжения, к которому следует отнести как поквартирные системы отопления и горячего водоснабжения, так и домовые, включая многоэтажные здания с крышной или пристроенной автономной котельной. Использование децентрализации позволяет лучше адаптировать систему теплоснабжения к условиям потребления теплоты конкретного, обслуживаемого ей объекта, а отсутствие внешних распределительных сетей практически исключает непроизводственные потери теплоты при транспорте теплоносителя. Повышенный интерес к автономным источникам теплоты (и системам) в последние годы в значительной степени обусловлен финансовым состоянием и инвестиционно-кредитной политикой в стране, так как строительство централизованной системы теплоснабжения требует от инвестора значительных единовременных капитальных вложений в источник, тепловые сети и внутренние системы здания, причем с неопределенными сроком окупаемости или практически на безвозвратной основе. При децентрализации возможно достичь не только снижения капитальных вложений за счет отсутствия тепловых сетей, но и переложить расходы на стоимость жилья (т.е. на потребителя). Именно этот фактор в последнее время и обусловил повышенный интерес к децентрализованным системам теплоснабжения для объектов нового строительства жилья. Организация автономного теплоснабжения позволяет осуществить реконструкцию объектов в городских районах старой и плотной застройки при отсутствии свободных мощностей в централизованных системах. Децентрализация на современном уровне, базирующаяся на высокоэффективных теплогенераторах последних поколений (включая конденсационные котлы), с использованием энергосберегающих систем автоматического управления позволяет в полной мере удовлетворить запросы самого требовательного потребителя.

Важным преимуществом децентрализованных систем является возможность местного регулирования в системах квартирного отопления и горячего водоснабжения. Однако, эксплуатация источника теплоты и всего комплекса вспомогательного оборудования квартирной системы теплоснабжения непрофессиональным персоналом (жильцами) не всегда дает возможность в полной мере использовать это преимущество. Также необходимо учитывать, что в любом случае требуется создание, или привлечение, ремонтно-эксплуатационной организации для обслуживания источников теплоснабжения.

Рациональной можно признать децентрализацию только на основе газообразного (природный газ) или легкого дистиллятного жидкого топлива (дизтопливо, топливо печное бытовое). Другие энергоносители:

 твердое топливо в многоэтажной застройке. По ряду очевидных причин нереализуемая задача. В малоэтажной застройке, как показывают многие исследования на низкосортном рядовом твердом топливе (а сейчас другого в стране практически нет) экономически целесообразно строить групповую котельную;

сжиженный газ (пропан-бутановые смеси) для районов с большим потреблением тепла на цели отопления, даже в комплексе с энергосберегающими мероприятиями потребует строительства газохранилищ большой ёмкости (с обязательной установкой не менее двух подземных ёмкостей), что в комплексе вопросов с централизованной поставкой сжиженного газа существенно усложняет проблему;

электроэнергия не может и не должна использоваться на цели отопления (независимо от себестоимости и тарифов) в силу эффективности её выработки по первичной энергии для конечного потребителя (КПД»30%) за исключением систем временного, аварийного, локального отопления (местного) и в районах её избытков, в ряде случаев использования альтернативных источников энергии (тепловые насосы). В этой же связи необходимо отмежеваться от безответственных заявлений в печати ряда разработчиков и производителей так называемых вихревых теплогенераторов, декларирующих тепловую эффективность устройств, работающих на вязкостной диссипации механической энергии (от электродвигателя) в 1,25 раза превосходящую установленную мощность электрооборудования.

Установочная мощность источников теплоты при поквартирном теплоснабжении в многоэтажном здании рассчитывается по максимуму (пику) теплопотребления, т.е. по нагрузке горячего водоснабжения. Нетрудно видеть, что в этом случае для двухсот квартирного жилого здания установленная мощность теплогенераторов составит 4,8 МВт, что более чем в два раза превышает необходимую суммарную мощность теплоснабжения при подключении к центральным тепловым сетям или к автономной, например, крышной котельной. Установка емкостных водонагревателей в системе горячего водоснабжения квартиры (емкость 100-150 литров) позволяет снизить установленную мощность поквартирных теплогенераторов, однако существенно усложняет квартирную систему теплоснабжения, значительно увеличивает её стоимость и практически не применяется в многоэтажных зданиях.

Автономные источники теплоснабжения (в том числе и поквартирные) имеют рассредоточенный в жилом районе выброс продуктов сгорания при относительно низкой высоте дымовых труб, что оказывает существенное влияние на экологическую обстановку, загрязняя воздух непосредственно в селитебной зоне.

Существенно меньше проблем возникает при разработке децентрализованных систем теплоснабжения от автономных (крышных), встроенных и пристроенных котельных отдельных объектов жилого, коммунально-бытового и промышленного назначения, в том числе и типовых сооружений. Достаточно чёткая нормативная документация позволяет технически обосновать эффективное решение вопросов размещения оборудования, топливоснабжения, дымоудаления, электроснабжения и автоматизации автономного источника теплоты. Не встречает особых трудностей и разработка инженерных систем здания, включая типовые, по своей конструкции

Таким образом, автономное теплоснабжение не должно рассматриваться как безусловная альтернатива централизованному теплоснабжению, или как отступление от завоёванных позиций. Технический уровень современного энергосберегающего оборудования по выработке, технологии транспорта и распределения теплоты позволяют создавать эффективные и рациональные инженерные системы, уровень централизации которых должен иметь соответствующее обоснование.


3. Способы циркуляции воды в теплосети

Системы теплоснабжения могут быть с естественной и насосной циркуляцией воды. Рассмотрим вначале систему с естественной циркуляцией.

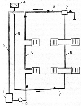
Схема системы отопления с естественной циркуляцией: вода, нагретая в отопительном котле, как более легкая, поднимается по главному стояку вверх, поступает в разводящие магистральные трубопроводы, а из них через подающие стояки - в радиаторы. Отдавая тепло, температура воды в радиаторе понижается, становится более тяжелой и через трубы обратной разводки, соединенной со стояком, опускается вниз, поступает в нагревательный котел и своей массой вытесняет нагретую воду из котла вверх - в главный подающий стояк системы отопления с естественной циркуляцией. Схемы устройства водяного отопления с естественной циркуляцией представлена на рисунках 1 и 2.

Рисунок 1 - Схема водяного отопления с естественной циркуляцией. Вариант с верхней разводкой: 1 - отопительный котел; 2 - главный стояк; 3 - расширительный бак; 4 - переливная труба; 5 - разводящий трубопровод; 6 - стояки горячей воды; 7 - радиаторы; 8 - вентиль ручной; 9 - обратные стояки; 10 - обратная линия

Рисунок 2 - Схема водяного отопления с естественной циркуляцией. Вариант с нижней разводкой: 1 - отопительный котел; 2 - разводящий трубопровод; 3 - стояки горячей воды; 4 - расширительный бак; 5 - переливная труба; 6 - труба отвода воздуха; 7 - радиаторы; 8 - вентиль ручной; 9 - обратные стояки; 10 - обратная линия

Во время работы нагревательного котла, этот процесс непрерывно повторяется и в системе происходит естественная циркуляция воды. Таким образом, в системе отопления с естественной циркуляцией, вода двигается под действием гидростатического напора, возникающего благодаря различной плотности охлажденной и нагретой жидкости.

Циркуляционное давление зависит:

от разности весов столба горячей и столба охлажденной (обратной) воды, следовательно, оно зависит от разности температур горячей и охлажденной воды;

от высоты расположения радиаторов над котлом.

Количество тепла, отдаваемого помещению радиаторами, зависит от количества поступающей в прибор воды и ее температуры. Количество воды, которое может быть пропущено через трубопровод к радиатору, зависит от циркуляционного давления. Чем больше циркуляционное давление в системе отопления с естественной циркуляцией, тем меньше может быть диаметр трубы для пропуска определенного количества воды, и наоборот, чем меньше циркуляционное давление, тем больше должен быть диаметр трубы. Чтобы система отопления с естественной циркуляцией действовала эффективно, требуется еще одно условие: циркуляционное давление должно быть достаточным для преодоления всех сопротивлений, которые встречает движущаяся в этой системе вода (сопротивления, вызываемые трением воды о стенки труб, местные сопротивления, к которым относятся отводы, тройники, крестовины, краны, нагревательные приборы, вентили и другие элементы системы отопления). Величина местного сопротивления зависит от скорости воды, а скорость воды от изменения сечений и направления движения воды в разводящих трубопроводах.

Сопротивление, вызываемое трением, зависит от диаметра, длины трубопровода, а также скорости воды. При большой длине труб сопротивление возрастает, с увеличением диаметра труб оно падает.

В системах с естественной циркуляцией теплоносителя в малоэтажных домах величина циркуляционного давления невелика, и поэтому в них нельзя допускать больших скоростей движения воды в трубах, следовательно, диаметры труб должны быть большими. Применение систем с естественной циркуляцией может оказаться экономически невыгодным, они оправданы лишь для небольших домов.

Достоинства системы отопления с естественной циркуляцией:

простота монтажа и ввода в эксплуатацию;

экономичность и простота эксплуатации;

отсутствие циркуляционного насоса, а соответственно, шума и вибрации;

долговечность (при правильной эксплуатации - более 40 лет без капитального ремонта);

способность системы к саморегулированию: при изменении температуры и плотности воды изменяется и расход вследствие возрастания или уменьшения естественного циркуляционного давления.

Недостатки системы отопления с естественной циркуляцией:

замедленное включение системы в действие;

сокращение радиуса действия системы по горизонтали до 30 м из-за небольшого циркуляционного давления;

повышение затрат в связи с применением труб большего диаметра;

повышение опасности замерзания воды в трубах, проложенных в неотапливаемых помещениях.

Системы отопления с насосной циркуляцией отличаются от систем с естественной циркуляцией в основном тем, что в сеть трубопровода включен насос, перемещающий воду. Циркуляционное давление, создаваемое насосом, достигает 1000-1500 мм вод. ст. Это давление приблизительно в 20-30 раз превышает естественное.

Большее располагаемое давление в системах водяного отопления с насосной циркуляцией позволяет значительно повысить скорость движения воды в трубопроводах по сравнению со скоростью движения воды в трубопроводах систем водяного отопления с естественной циркуляцией.

При больших скоростях движения воды трубопроводы могут быть меньших диаметров, что дает значительную экономию металла и снижает стоимость устройства систем отопления.

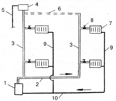
Рисунок 3 - Схема двухтрубной системы отопления с насосной циркуляцией и верхней разводкой: 1 - котел; 2 - верхняя разводящая магистраль; 3 - расширительный сосуд; 4 - воздухосборник; 5 - горячие подающие стояки; 6 - нагревательные приборы; 7 - обратные стояки; 8 - обратная сборная магистраль; 9 - центробежный насос


Для постоянной циркуляции воды необходима непрерывная работа центробежного насоса. Поэтому в системах отопления с насосной циркуляцией устанавливают два насоса, один из которых является резервным. Насосы работают попеременно. В насосных системах отопления вследствие охлаждения воды в приборах и трубах возникает также естественное давление.

Системы водяного отопления с насосной циркуляцией бывают двухтрубные с верхней и нижней разводками, однотрубные с верхней и нижней разводками и горизонтальные. В двухтрубных системах отопления горячая вода из стояков непосредственно поступает во все отопительные приборы, а охлажденная вода из каждого прибора возвращается в котел по обратным стоякам, не заходя в другие приборы. Таким образом, каждый прибор обслуживается подающим и обратным стояками. Если не учитывать охлаждение воды в трубах, можно считать, что во все нагревательные приборы вода поступает с одинаковой температурой.

Устройство двухтрубной насосной системы водяного отопления с верхней разводкой показано на рисунке 3. Эта система отличается от естественной тем, что на обратной линии перед котлом установлен насос, а расширительный сосуд присоединен к обратной линии перед всасывающим отверстием насоса.

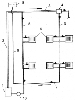
Кроме систем отопления с насосной циркуляцией и верхней разводкой, еще большее применение имеют системы отопления с насосной циркуляцией и нижней разводкой. Такая система представлена на рисунке 4. Устроены эти системы так же, как и системы отопления с естественной циркуляцией, но расширительный сосуд присоединен к обратной магистрали до насоса, как в системах отопления с насосной циркуляцией и верхней разводкой. В системах отопления применяют малонапорные, но большой производительности центробежные насосы.

Рисунок 4 - Схема двухтрубной системы отопления с насосной циркуляцией и нижней разводкой: 1 - котел; 2 - подающая магистраль; 3 - обратная магистраль; 4 - подающие стояки; 5 - обратные стояки; 6 - расширительная труба; 7 - расширительный сосуд; 8 - воздухосборник;, 9 - воздушные краны; 10 - центробежный насос

В настоящее время для создания циркуляции в системах отопления широко используют консольные центробежные насосы типа «К» производительностью от 6 до 360 м3/ч и напором от 14 до 100 м.

4. Однотрубные, двухтрубные и бифилярные системы теплоснабжения

В однотрубных системах водяного отопления отсутствуют обратные стояки. Температура горячей воды, проходя через верхние радиаторы, понижается, при этом вода возвращается в подающие стояки. В нижние радиаторы поступают горячая вода от стояка и охлажденная вода из верхних радиаторов. Температура этой смешанной воды ниже температуры воды в отопительных приборах, расположенных выше, следовательно, чтобы увеличить отдачу тепла, поверхность нагрева нижних радиаторов должна быть увеличена.

Однотрубные системы отопления подразделяются на 2 вида.

По одной схеме (рисунок 5) - с замыкающими участками, из стояка часть воды поступает в верхние радиаторы, при этом, остальная вода направляется по стояку к ниже расположенным радиаторам.

Количество поступающей в радиаторы воды регулируется кранами, которые устанавливаются у каждого радиатора.

При другой системе (рисунок 6 и 7) - проточной, вода из стояка следует последовательно через все радиаторы, начиная с верхнего. В отличие от схемы с замыкающими участками, здесь в радиаторы, находящиеся в нижней части отапливаемого дома, поступает охлажденная вода. В проточной системе не устанавливаются регулировочные краны, так как при уменьшении или перекрытии крана у того или иного радиатора, то уменьшится или перекроется подача воды во всех радиаторах, присоединенных к данному стояку.

Также в данной схеме невозможно регулировать температуру воздуха в помещениях. Кроме того, если дом двухэтажный, то невозможно осуществить пуск отопительной системы только на одном этаже. Однако по сравнению с двухтрубными системами, однотрубные системы проще в монтаже, на их устройство требуется меньше труб, и они выглядят более красиво.

Однотрубные системы отопления могут выполняться только в домах, где имеются чердаки, т.е. для их функционирования требуется верхняя разводка труб.

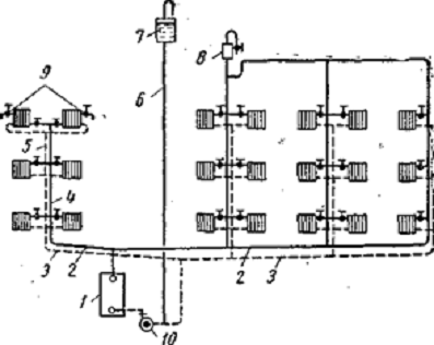
Рисунок 5 - Однотрубная система водяного отопления с принудительной циркуляцией. Схема с замыкающими участками: 1 - отопительный котел; 2 - главный стояк; 3 - разводящий магистральный трубопровод; 4 - воздухосборник; 5 - стояки горячей воды; 6 - радиаторы; 7 - обратная линия; 8 - расширительный бак; 9 - расширительная труба; 10 - циркуляционный насос

Двухтрубную систему водяного отопления с вертикальными стояками с верхней или нижней разводкой целесообразно использовать как в одноэтажных, так и в двухэтажных (и более) домах и коттеджах с крутой крышей. Возможны и другие варианты устройства двухтрубных систем отопления.

Рисунок 6 - Однотрубная система водяного отопления с принудительной циркуляцией. Схема проточной системы: 1 - отопительный котел; 2 - главный стояк; 3 - разводящий магистральный трубопровод; 4 - расширительный бак; 5 - воздухосборник; 6 - стояки; 7 - обратная линия; 8 - расширительная труба; 9 - циркуляционный насос

При горизонтальной системе отопления невозможно полностью обогреть все помещения дома. Система отопления выполняется с естественной циркуляцией, так как для этого вполне достаточен циркуляционный напор. При установке котла в подвале высота дымовой трубы должна составлять не менее 10 м, что позволяет отопительному котлу работать на любом топливе. В домах без подвала котлы устанавливают на первом этаже, а система должна быть только с верхней разводкой.

Рисунок 7 - Двухтрубная регулируемая система водяного отопления с естественной циркуляцией. Варианты подводок: 1 - магистральная труба горячей воды; 2 - задвижка; 3 - фильтр; 4 - стояки горячей воды; 5 - регулятор перепада давления и расхода; 6 - термоголовка; 7 - клапан термостатический; 8 - гарнитур подключения; 9 - вентиль балансовый; 10 - клапан четырехходовой; 11 - термоголовка с дистанционной регулировкой; 12 - вентиль ручной; 13 - узел подключения; 14 - обратные стояки; 15 - вентиль запорный; 16 - муфта радиаторная быстроразъемная; 17 - вентиль запорный; 18 - клапан для слива

Бифилярная (двухтопочная) система отопления - установка водяного отопления с отопительными приборами в стояках и ветвях, раздел на 2 равные части последовательно соединенных 1 трубой. Теплоноситель (вода) в частях каждого отопительного, прибора движется в противоположных направлениях с различной температурой, что создает равенство среднеарифметической температуры теплоносителя во всех отопительных приборах системы. Бифилярная система отопления по гидравлической связи частей отопительных приборов (последовательно соединение) относится к однотрубным системам водяного отопления, а по условиям теплопередачи приборов - к двухтрубным системам отопления.

Схемы бифилярной системы отопления с вертикальными стояками и горизонтальными ветвями аналогичны схемам однотрубной системы. В вертикальной бифилярной системе устраиваются, как в однотрубной системе с нижней разводкой, П-образные стояки. По такой схеме до конца 80-х гг. устраивалось папельно-лучистое отопление отдельных типов жилых зданий, где использовались трубчатые нагревательные элементы, встроенные вместе со стояками во внутренний бетонный слой наружных стеновых панелей. При этом нагревательные элементы каждого помещения делились на 2 змеевика, а каждый змеевик отдельно присоединялся к восходящей и нисходящей частям стояка. В горизонтальных двухтопочных системах отопления применяются трубчатые отопительные приборы - конвекторы, трубы отопительные (ребристые и гладкие), бетонные радиаторы приставного типа, стальные и чугунные радиаторы - только при двухрядной установке. В горизонтальной системе, как и в однотрубной системе, проточными приборными узлами отопления, невозможно индивидуальное количественное регулирование теплоотдачи отдельных отопительных приборов, поэтому проводится регулирование сразу всей цепочки приборов или каждого прибора «по воздуху», если устанавливаются конвекторы с воздушным клапаном. Бифилярные системы с горизонтальными пофасадными ветвями наиболее часто используется в производстве и сельско-хозяйственных зданиях.


Заключение

Как было показано в этой работе, существует множество систем теплоснабжения. Безусловно, решение по теплоснабжению должно приниматься застройщиками по результатам технико-экономического обоснования с учетом условий инвестирования строительства, климата и региональной специфики в вопросах градостроительства, топливоснабжения, социального уровня проживания населения. Разработка и внедрение децентрализованных систем теплоснабжения должны производится на основании соблюдения технологических особенностей всех процессов, сопровождающих выработку тепловой энергии, с обязательным учетом их в конструкции здания, специально проектируемого для конкретных схем автономного теплоснабжения.

Список использованных источников

1 Щёкин Р.В., Кореневский С.М., Бем Г.Е. Отопление и вентиляция. - Киев: Будiвельник, 1976.

Каменев П.Н., Сканави А.Н., Богословский В.Н. Учебник по отоплению и вентиляции. - М.: Стройиздат, 1975.

Николаев А.А. Справочник проектировщика. Проектирование тепловых сетей. - М.: Издательство литературы по строительству, 1989.

Похожие работы на - Системы теплоснабжения зданий

 

Не нашли материал для своей работы?
Поможем написать уникальную работу
Без плагиата!
Без нейросетей!