Процессы, происходящие в системе запуска двигателя
Введение
двигатель батарея химический аккумуляторный
История развития военного дела учит, что вооружение и военная
техника развиваются под воздействием трех факторов:
потребностей вооруженных сил;
научно-технического прогресса;
экономических возможностей страны.
Сокращение ассигнований на оборону сегодня серьезно обостряет
проблему финансирования разработок ВВТ. В этой связи заслуживает внимания опыт работы командования и
Генерального штаба Красной Армии в 20-е годы. Несмотря на существенное
сокращение ВС и расходов на их финансирование, эти органы шли в ногу с
передовыми достижениями военно-технической мысли и оперативного искусства,
готовя армию к тому времени, когда советская промышленность сможет оснастить ее
современным вооружением. Правильность подобной политики подтвердил опыт Великой
Отечественной войны, когда советская военно-техническая мысль обеспечила
превосходство отечественной военной техники на поле боя.
Сохранение уровня боевой готовности автомобильной и
специальной техники при любых условиях хранения является острым и злободневным
вопросом. Проблема запуска двигателя шасси в условиях низких температур в
значительной мере влияет на способность автомобильной и специальной техники
выйти из пунктов хранения в назначенное время.
Для системы электроснабжения шасси режим стартерного запуска
двигателя является наиболее сложным и энергоемким. При пуске двигателя шасси
необходимо сообщить коленчатому валу начальную частоту вращения, после чего
двигатель начнет работать самостоятельно. Опыт низкотемпературной эксплуатации
военной техники говорит о необходимости использования внешних устройств,
облегчающих стартерный запуск двигателя. Создание таких пусковых устройств
позволит решить немало проблем эксплуатации автомобильной техники - повысить
надежность заводки двигателей, срок службы аккумуляторных батарей.
Дипломная работа посвящена анализу процессов, происходящих в
системе запуска двигателя (стартер - аккумуляторная батарея), исследованию
путей повышения энергетических показателей системы пуска. На основе
проведенного анализа разработаны практические рекомендации по облегчению
запуска двигателя в условиях низких температур.
1.
Анализ технико-эксплуатационных характеристик стартеров штатной техники
1.1 Анализ основных характеристик двигателя
постоянного тока
двигатель батарея
химический аккумуляторный
Для пуска ходового двигателя штатной техники применяется
стартер, представляющий собой электрическую машину. Стартер работает, как
правило, в сложных условиях эксплуатации, имеет кратковременный или повторно-кратковременный
режим работы. Стартеры, как преобразователи электрической энергии в
механическую, должны обеспечивать высокую надежность электрического пуска
двигателя шасси.
На шасси преимущественно применяются двигатели постоянного
тока последовательного возбуждения малой мощности: от 0.6 КВт до 10 КВт,
частота вращения которых относится к быстроходной. Стартер, как и другие
электрические машины, рассчитывается на определенную нагрузку и условия
эксплуатации. Основными номинальными электрическими данными для двигателя
постоянного тока являются: номинальное напряжение Uном, В;
номинальная мощность Рном, Вт, номинальная частота вращения n,
об/мин; номинальный вращающий момент М, Н×м; номинальный ток Iном,
А; коэффициент полезного действия h.
При работе двигателей меняются условия эксплуатации, величина
нагрузки. Поэтому основные данные двигателя постоянного тока отличаются от
номинальных. Свойства данных двигателей определяются рабочими и механическими и
регулировочными характеристиками, представляющими зависимость одного основного
параметра от другого при постоянных значениях остальных основных параметров.
Рабочие характеристики стартера представляют собой
зависимость частоты вращения n, вращающего момента М, коэффициента полезного
действия h от полезной мощности на валу Р2 или от тока якоря Iа
при постоянных значениях напряжения на зажимах двигателя U=Uном
и сопротивлениях цепи якоря Rа и возбуждения Rв, то есть:
n, М, h = f(Ia) при U=Uном= const, Rа=Rв= const (1.1)
Зависимости n=f(Ia) и М=f(Ia) получили названия
соответственно скоростной и моментной рабочей характеристикой. Рабочие
характеристики оценивают свойства двигателя при изменении полезной мощности на
валу Р2.
Поскольку при исследовании двигателя напряжение на его
зажимах поддерживается постоянным, то обычно рабочие характеристики снимаются в
зависимости от тока якоря Iа.
Скоростная характеристика (рисунок 1.1) представляет собой
зависимость:
n = f(Ia) при U=Uном= const, Rв= const,
(1.2)
где n - частота вращения якоря стартера, об/мин;=Uном -
номинальное напряжение на зажимах стартера, об/мин;а - ток якоря, А;в
- сопротивление цепи возбуждения, Ом.
Скоростная характеристика мягкая и напоминает собой
гиперболу. При снижении нагрузки уменьшается ток якоря, что ведет к
значительному росту частоты вращения. Если нагрузка отсутствует, то стартер
«идет в разнос». Следовательно, работа этих двигателей, за исключением
маломощных, на холостом ходу не допускается, а использование ременной передачи
неприемлемо.
Моментная характеристика является зависимостью:
М = f(Ia) при Uном= const, Rв= const. (1.3)
Вращающий электромагнитный момент определяется по формуле
(1.4). Для стартера при ненасыщенной магнитной цепи магнитный поток
пропорционален току якоря (по формуле 1.5).
М = См × Iа × Ф, (1.4)
где М - вращающий электромагнитный момент, Н×м;
См - постоянная величина, зависящая от
конструктивных данных двигателя;
a - ток якоря, А;
Ф - магнитный поток, Вб.
М = См × Кф
× Iа
, (1.5)
где Кф - коэффициент пропорциональности.
Таким образом, вращающий момент пропорционален квадрату тока якоря
и моментная характеристика представляет собой параболу. Пусковой момент
двигателя последовательного возбуждения намного выше, чем у других типов
двигателей. Это одно из преимуществ его перед другими двигателями.
Основные параметры, характеризующие моментную характеристику:
М - вращающий электромагнитный момент, Н×м:
Мп - пусковой момент стартера, Н×м;а п - пусковой ток стартера,
А;а ном - номинальный ток стартера, А.
Механическая характеристика используется для подбора
электродвигателя в качестве привода исполнительного механизма, и в общем виде
представляет зависимость:
n = f(М) при U= Uном= const, Iа = Iв ном = сonst,
R= const, (1.6)
где n - частота вращения якоря, об/мин;
М - вращающий момент, Н×м;ном - номинальное напряжение на зажимах стартера, В,в
ном - номинальный ток возбуждения, А,- сопротивление цепей якоря и
возбуждения, Ом.
Механическая характеристика стартера имеет вид гиперболы.
В двигателях постоянного тока механическая характеристика является
мягкой по сравнению с другими типами двигателей.
К стартерам штатной техники, на основании всех вышеперечисленных
характеристик, представляются следующие требования: простота конструкции, малые
габариты и масса, малая стоимость, большая долговечность и надежность в
эксплуатации, большая мощность, большой момент в режиме полного торможения.
На примере стартера СТ 130-Б автомобиля ГАЗ-66 в таблице 1
представлены технико-эксплуатационные характеристики, регламентирующие его
работу.
Таблица 1 Технико-эксплуатационные характеристики стартера СТ
130-Б
|
№ п\п
|
Характеристики
|
Величины
|
|
1.
|
номинальное
напряжение, В
|
12
|
|
2.
|
число зубьев
шестерни привода стартера
|
9
|
|
3.
|
номинальная
мощность, л.с. (с батареей емкостью 68 А×ч)
|
1,4
|
|
4.
|
режим холостого
хода при напряжении 12В: потребляемый ток, А; Число оборотов вала в минуту.
|
не более 80 не
менее 3500
|
|
5.
|
режим полного
торможения при питании стартера от 12-вольтовой аккумуляторной батареи
емкостью 68 А×ч:
потребляемый ток, А; крутящий момент, кг×м.
|
не более 650
не менее 3
|
|
6.
|
щетки
|
4
медно-графитовые марки МГС-4 размером 8,8´19,2´14 мм
|
|
7.
|
тип тягового
реле
|
РС 130
|
Стартер СТ130-Б является четырехполюсным, четырехщеточным, с
сериесным (последовательным) возбуждением.
1.2 Анализ режимов работы стартера
Режимы работы стартерного электродвигателя отличаются от
режимов стационарных электродвигателей постоянного тока последовательного
возбуждения следующими особенностями:
ввиду ограниченной емкости Q аккумуляторной батареи
напряжение на зажимах стартера при увеличении нагрузки будет понижаться за счет
падения напряжения на аккумуляторной батарее и в соединительных проводах;
стартерный электродвигатель допускает полное торможение и
работу на холостом ходу, так как его детали рассчитаны на возникающие при этом
механические нагрузки;
поскольку стартер работает короткое время (1-5 секунд), в
течение которого нагрев обмоток не может достичь опасной величины, то мощность
электродвигателя стартера определяется максимальным значением мощности, которую
может развить стартер.
Величина мощности стартерного электродвигателя зависит от
емкости аккумуляторной батареи (чем она выше, тем меньше внутреннее
сопротивление батареи, и, следовательно, выше мощность), от степени
разряженности и температуры аккумуляторной батареи (при снижении температуры
возрастает ее внутреннее сопротивление и снижается мощность), а также от
сопротивления соединительных проводов.
На характеристики стартера влияют наиболее характерные
режимы:
. Режим полного торможения (короткого замыкания), когда частота
вращения n=0 и полезная мощность Р=0, но вращающий момент М достигает
максимального значения. Этот режим соответствует моменту включения стартера,
когда якорь стартера еще не начал вращаться. Момент вращения при этом режиме
является пусковым.
. Режим максимальной мощности при стартерном запуске
двигателя шасси.
. Режим холостого хода, когда частота вращения n максимальна.
Такой режим может быть при работе стартера вхолостую или после пуска двигателя,
когда стартер еще не выключен, а его шестерня вышла из зацепления с венцом
маховика.
Вследствие большого сечения и малой длины проводников обмотки
якоря и обмотки возбуждения электродвигатель стартера обладает очень низким
сопротивлением, поэтому в момент включения стартера, а также при полном
торможении якоря, пусковая сила тока в зависимости от конструкции стартера
достигает 200-800А. При холостом ходе якоря сила тока снижается до 35-100 А.
На практике полезная мощность стартера подсчитывается по
формуле:
Nст =
, (1.7)
где Nст - полезная мощность стартера, л.с.;я
- частота вращения якоря, об/мин;
МВр - вращающий момент, кгс×м.
1.3 Анализ запуска двигателя шасси в условиях низких температур
Для пуска двигателя внутреннего сгорания необходимо с помощью
стартера сообщить коленчатому валу двигателя определенную частоту вращения. У
большинства карбюраторных двигателей автомобильного типа пусковая частота
вращения равна 35-50 об/мин.
При включении стартера происходит скачкообразное изменении
прикладываемого к нему напряжения. В первоначальный момент времени частота
вращения n=0, а так достигает своего максимального значения. При этом
значительным получается и вращающий электромагнитный пусковой момент,
превышающий в несколько раз момент сопротивления приводимого механизма. По мере
разгона двигателя частота вращения якоря возрастает, а ток якоря Iа
и вращающий момент М уменьшается. Так продолжается некоторое время tп,
пока ток якоря не примет значения, при котором вращающий момент М не станет
равным статическому моменту Мст. За время пуска tп
заканчивается переходный процесс пуска и в двигателе устанавливается
номинальная частота вращения nном и номинальный ток (Iном на
рисунке 1.4). Нарастание тока якоря происходит не скачкообразно, а по некоторой
кривой из-за наличия индуктивности якоря. Якорь двигателя трогается в момент
времени tтp, когда вращающий момент, обусловленный током трогания Iтp,
преодолеет момент сопротивления приводного механизма двигателя.
Непосредственный (прямой) пуск имеет недостатки: большой пусковой
ток Iа п, который в 5-20 раз превышает номинальный ток Iа ном и
создает из-за большого пускового момента опасность поломки вала машины,
вызывает сильное искрение под щетками. Такой большой ток может создать большую
нагрузку на сеть, что при маломощных источниках питания вызовет снижение
питающего напряжения.
При эксплуатации автомобиля ГАЗ-66 в зимних условиях с понижением
температуры необходимое для пуска число оборотов коленчатого вала быстроходного
двигателя в среднем требует до двенадцати оборотов. Дальнейшее увеличение
количества оборотов при пуске не допускается, так как в этом случае значительно
разряжается аккумуляторная батарея 6СТ-68ЭМ.
Так как для большинства двигателей внутреннего сгорания частота
минимальная nmin - 35-50 об/мин, то в температурном диапазоне от -20° до 0°С пуск двигателя стартера в целом устойчив, если предварительно
двигатель и системы запуска подготовить к пуску в холодных условиях. Для
надежного пуска необходимо, чтобы минимальная частота вращения коленвала nmin
была не ниже определенной величины.
С понижением температуры минимальные пусковые частоты двигателя
увеличиваются. Это объясняется увеличением момента сопротивления за счет роста
вязкости масла, снижения температуры и давления сжатия. Предельная температура
холодного пуска двигателя может быть определена графически, путем совмещения
характеристики частоты вращения двигателя nвр при его прокручивании
стартером, при различных температурах, с характеристикой минимальных пусковых
частот вращения двигателя nп min. Точка пересечения характеристик и
определяет предельную температуру холодного пуска двигателя ГАЗ-66.
Мощность электропусковой системы зависит от двух основных
факторов: момента сопротивления двигателя и пусковых качеств двигателя.
2.
Анализ физико-химических процессов, протекающих в химических источниках тока
при стартерном режиме в условиях низких температур и возможных устройств для
облегчения запуска
2.1 Анализ основных характеристик химического
источника тока
На штатной технике основным источником энергии для стартерного
запуска двигателя шасси является аккумуляторная батарея - химический источник
тока.
Аккумуляторная батарея на автомобиле служит для питания
электрическим током стартера при пуске двигателя, для обеспечения током всех
других приборов электрооборудования, когда генератор не работает или не может
отдавать энергию в цепь. На автомобиле ГАЗ-66 устанавливается свинцовая батарея
типа 6СТ-68ЭМ. Номинальное напряжение данной аккумуляторной батареи составляет
12В, емкость при 10-часовом режиме разрядки - 68А×ч.
Аккумуляторная батарея состоит из шести аккумуляторных
элементов. Каждый аккумулятор представляет собой совокупность положительного и
отрицательного электродов и электролита, действие которого основано на
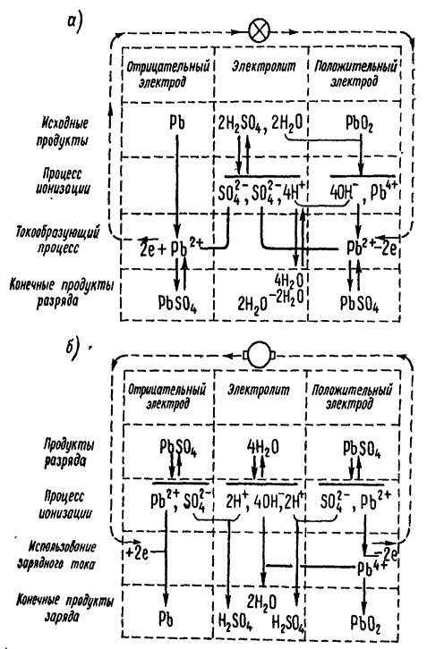
использовании обратимых электрохимических систем (рисунок 2.1).
Аккумулятор обладает способностью накапливать электрическую
энергию от постороннего источника тока в процессе заряда, сохранять ее в
течение некоторого времени и отдавать ее в процессе разряда. Электролит,
которым заполняются аккумуляторы, состоит из серной кислоты H2SO4
и дистиллированной воды Н2О.
Стартерные аккумуляторы отличаются незначительным внутренним
сопротивлением, что обеспечивает небольшое падение напряжения на выходных
зажимах аккумулятора при его разряде большим током, вследствие чего свинцовые
батареи получили наиболее широкое применение в качестве стартерных.
Рисунок 2.1 Схема электрохимических процессов при разряде (а)
и заряде (б) свинцового аккумулятора
На рисунке 2.1 используются следующие обозначения:-
отрицательный электрод из губчатого свинца;2 - положительной
электрод из двуокиси свинца;
Н2SO4 - электролит;н -
нагрузка, приложенная к аккумулятору;- ток аккумулятора.
Общие характеристики аккумуляторов определяют
работоспособность и техническое состояние. С течением времени в зависимости от
состояния и режимов использования аккумуляторов эти характеристики не
изменяются.
. Электродвижущая сила аккумулятора (Е), являющаяся разностью
потенциалов на выводах при разомкнутой внешней цепи. Величина этой силы зависит
от химических свойств и структуры активных веществ пластин, концентрации и
свойств электролита и не зависит от размеров электрода:
Е = 0,84 + r, (2.1)
где Е - электродвижущая сила, В;
r - плотность электролита, г/см3.
Из формулы (2.1) следует, что значение электродвижущей силы
зависит от плотности активного вещества аккумуляторной батареи.
. Напряжение аккумуляторной (U), которое является разностью
потенциалов на выводах батареи при замкнутой внешней цепи, то есть при
прохождении через аккумулятор электрического тока. В процессе заряда и разряда
напряжение изменяется, но всегда отличается от электродвижущей силы на величину
падения напряжения U0 на его внутреннем сопротивлении (Rа).
Величина напряжения аккумулятора при разряде равна:
р = Е - U0×Е - Iр×Rа, (2.2)
где Uр - напряжение разряда, В;
Е - электродвижущая сила, В;0 - падение
напряжения, В;а - внутреннее сопротивление аккумулятора, Ом;р
- разрядный ток, А.
. Внутреннее сопротивление аккумулятора (Rа)
представляет собой сумму сопротивлений электродов, электролита, сепараторов,
межэлементных соединений и полюсных выводов (Rэ), а также
сопротивления поляризации (Rп) обусловленное изменением электродных
потенциалов при прохождении тока:
a = Rэ + Rп, (2.3)
где Ra - полное сопротивление аккумулятора, Ом;э
- сумма сопротивлений электродов, Ом;п - сопротивление поляризации,
Ом.
Внутреннее сопротивление оказывает существенное влияние как
на величину отдаваемого тока, так и на напряжение аккумулятора. Величина
разрядного тока определяется по закону Ома для полной цепи:
Iр =
, (2.4)
где Iр - разрядный ток, А;
Е - электродвижущая сила, В;- сопротивление внешней цепи, Ом;а
- внутреннее сопротивление, Ом.
У свинцовых аккумуляторов во время разряда изменяется внутреннее
сопротивление и уменьшается напряжение.
. Емкость аккумулятора (Q) - это количество электричества,
отдаваемое им при разряде до определенного конечного напряжения. Емкость
измеряется в ампер-часах и определяется по формуле:
=
, (2.5)
где Q - емкость аккумулятора, А×ч;p - разрядный ток, А;p - время разряда, с.
При постоянстве разрядного тока выражение имеет вид:
= Ip × Ip.
(2.6)
Номинальная емкость по ГОСТ 959-71 определяется для автомобильных
аккумуляторов при 20-часовом режиме разряда до конечного напряжения. Разряд
аккумулятора до нулевого значения не допускается. Емкость зависит от многих
факторов, основными из которых являются: количество активных веществ
электродов, участвующих в реакции; плотность и температура электролита;
величина разрядного тока; характер нагрузки и величина саморазряда.
На автомобиле ГАЗ-66 при разряде в течение 20 часов ток разряда
определяется формулой:
р =
0,05×Q20, (2.7)
где Iр - разрядный ток, А;20 - емкость,
отдаваемая аккумулятором при 20-часовом разрядном режиме.
Таблица 2 Технико-эксплуатационные характеристики
аккумуляторной батареи 6СТ-68ЭМ
|
№ п/п
|
Тип
|
6СТ-68ЭМ
|
|
1.
|
номинальное
напряжение, В
|
12
|
|
2.
|
емкость при
10-часовом разряде, А×ч
|
68
|
|
3.
|
разрядный ток
при 10-часовом разряде, А
|
6,8
|
|
4.
|
разрядный
стартерный ток, А
|
204
|
|
5.
|
минимальная
продолжительность разрядки (в минутах) при стартерном режиме и температуре: +
30°С - 18°С
|
5,5 5,25
|
|
6.
|
количество
пластин в одном аккумуляторе: положительных отрицательных
|
5 6
|
|
7.
|
объем электролита,
заливаемого в шесть аккумуляторных батареи, А
|
5
|
Конечное напряжение при этом режиме не должно упасть ниже
1,8В. При 10-часовом режиме разряда напряжение должно быть не менее 1,7В.
При стартерном разряде величина тока определяется выражением:
p = 3Qн, (2.8)
где Ip - ток стартерного разряда, А;н -
номинальная емкость аккумулятора, А×ч.
В стартерном режиме конечное напряжение на аккумуляторе
должно быть не менее 1,5В. Для исправной и работоспособной аккумуляторной
батареи значение стартерного тока составляет 204 А. В таблице 2 приводятся
основные технико-эксплуатационные характеристики аккумуляторной батареи
6СТ-68ЭМ.
2.2
Анализ физико-химических процессов, протекающих в аккумуляторной батарее при
стартерном запуске
При стартерном запуске от аккумуляторной батареи потребляется
большой ток, который может достигать для стартеров малой мощности
(автомобильных) 200-600А.
В этом случае резко возрастает внутреннее сопротивление
аккумулятора вследствие понижения плотности электролита в порах активной массы,
и напряжение на выводах батареи падает.
После прекращения разряда большими токами (выключения
стартера) плотность электролита в порах активной массы постепенно повышается за
счет ее выравнивания, а электродвижущая сила и напряжение постепенно увеличиваются.
Длительно разряжать батарею токами стартерного режима нельзя,
так как это приведет к интенсивному износу пластин, быстрому разряду батареи,
уменьшению отдачи по емкости, сульфации электродов и сокращению срока службы.
Поэтому стартер при пуске двигателя шасси включается не более чем на 5-10
секунд с последующим включением не раннее чем через 50-60 секунд. Такой режим
пуска благоприятен не только для аккумуляторной батареи, но и для стартера,
который не рассчитан на длительную непрерывную работу. Длительный перерыв между
включениями стартера позволяет выравниться плотности электролита в порах
пластин и не перегреваться стартеру. Если двигатель не запускается после
двух-трех повторных включений стартера, то необходимо найти причину, устранить
ее и только после этого вновь проводить пуск двигателя.
Принцип действия свинцового кислотного аккумулятора
описывается наиболее распространенной теорией двойной сульфации:
(-) Pb ½H2SO4½ PbO2 (+)
(2.9)
В заряженном состоянии активной массой отрицательного электрода
является губчатый свинец Pb, электролитом - водный раствор серной кислоты (H2SO4
+ Н2О), активной массой положительного электрода является двуокись
свинца PbO2.
В исходном состоянии под действием воды происходит
электролитическая диссоциация - распад молекул кислоты:
H2SO4
2H+ + SO4 - (2.10)
В результате взаимодействия электролита с активными массами на
отличительном электроде нейтральный свинец отдает два электрода и становится
двухзарядным положительным ионом свинца Pb++. При этом ионы свинца
переходят в электролит, а на отрицательной пластине остаются два электрона.
На положительной пластине в результате взаимодействия PbO2
с электролитом образуются четырехзарядные положительные ионы свинца Pb++++.
Таким образом, в аккумуляторе существует поляризация электродов и между ними
имеется разность потенциалов. Под поляризацией понимается изменение потенциала
электрода под влиянием прохождения тока от исходного бестокового значения
потенциала до нового значения при прохождении тока.
При стартерном разряде на отрицательной пластине протекает процесс
окисления, а на положительной - восстановления, поддерживающие на отрицательном
электроде избыток, а на положительном - недостаток электронов.
При подключении нагрузки начинается перетекание электронов с
отрицательного на положительный электрод. В то же время на отрицательном
электроде атомы свинца, окисляясь, отдают два электрона (на рисунке 2.1),
образуя новые двухзарядные положительные ионы свинца Pb++.
Здесь этот ион соединяется с кислотным остатком SO4
- -, образуя молекулу сульфата свинца. Вследствие небольшой растворимости
в электролите сульфат выпадает из раствора и слагается в виде мелких кристаллов
на отрицательной пластине. Электрохимическая реакция у отрицательного электрода
описывается уравнением:
++
+ SO4- - - 2
® PbSO4
(2.11)
На положительном электроде четырехзарядные ионы свинца Pb++++,
принимая два электрона, пришедшие с отрицательного электрода, превращаются в
двух зарядный ион Pb++. Этот ион поступает в электролит, где соединяется
с кислотным остатком SO4 - -, образуя молекулу сульфата
свинца, отлагаемую на положительную пластину. Одновременно у положительной
пластины кислород соединяется с ионами водорода, образуя воду. Реакция у
положительного электрода имеет вид:
О2 + 4Н+ + SO4- - + 2
® PbSO4 + 2Н2О (2.12)
Разряд аккумулятора можно выразить уравнением:
®
(2.13)
Таким образом, при стартерном разряде из одной молекулу двуокиси
свинца, одного атома свинца и двух молекул серной кислоты образуется на каждой
пластине по одной молекуле сульфата свинца, а у положительной пластины - две
молекулы воды. Поступление воды в электролит при разряде снижает концентрацию
серной кислоты и плотность электролита падает. Вещества, образующиеся во время
разряда, имеют более прочную электронную структуру, чем вещества, вступившие в
реакцию, и поэтому обладают меньшим запасом энергии, вследствие чего выделяется
энергия. Таким образом, при стартерном разряде аккумулятора химическая энергия
преобразуется в электрическую, а та, в свою очередь, в механическую энергию.
Общий ресурс глубоких разрядов большинства аккумуляторных батарей
составляет 100-300 циклов. Автомобильный аккумулятор имеет срок службы 3-4
года, что соответствует пробегу в 40-70 тысяч километров.
2.3 Анализ влияний низких температур на
аккумуляторную батарею и ее стартерные характеристики
Основным требованием к стартерным аккумуляторным батареям
является способность обеспечить надежный пуск. Под надежным пуском двигателя
подразумевается пуск при питании электростартера от аккумулятора, имеющего
температуру окружающего воздуха и 75% степени заряженности, в течение не более
трех попыток пуска с интервалом между попытками в одну минуту.
С понижением температуры электролита электрохимические
реакции в аккумуляторной батарее замедляются, плотность электролита повышается
примерно на 0,01 кг/м3 на каждые 15°С понижения температуры.
Электролит сильно разряженной батареи может замерзнуть. На рисунке 2.2
показывается зависимость предела замерзания электролита от его плотности.
Вследствие увеличения вязкости электролита при понижении
температуры внутреннее сопротивление аккумуляторной батареи возрастает. Это
приводит к увеличению потерь энергии в самой батарее в стартерном режиме
разряда.
При снижении температуры емкость аккумулятора быстро
снижается, как и напряжение на выводах. Температура замерзания электролита в
зависимости от его плотности приводится в таблице 3. Несоблюдение условий поддержания
контроля за плотностью электролита приводит к осыпанию активной массы
электродов и резкому сокращению срока службы аккумуляторной батареи.
Емкость и напряжение на зажимах аккумуляторной батареи типа
6СТ-68ЭМ при ее непрерывном разряде постоянным током зависит от температуры
окружающей среды (на рисунке 2.3).Номинальная емкость батареи гарантируется при
температуре электролита +25°С. С увеличением вязкости электролита замедляется
его проникновение в поры глубоких слоев активной массы пластин.
Таблица 3 Температура замерзания электролита
|
Плотность
электролита при 25°С, г/см3
|
Температура
замерзания, °С
|
Плотность
электролита при 25°С, г/см3
|
Температура
замерзания, °С
|
|
1,09
|
-7
|
1,22
|
-40
|
|
1,10
|
-8
|
1,23
|
-42
|
|
1,11
|
-9
|
1,24
|
-50
|
|
1,12
|
-10
|
1,25
|
-54
|
|
1,13
|
-12
|
1,26
|
-58
|
|
1,14
|
-14
|
1,27
|
-68
|
|
1,15
|
-16
|
1,28
|
-74
|
|
1,16
|
-18
|
1,29
|
-68
|
|
1,17
|
-20
|
1,30
|
-66
|
|
1,18
|
-22
|
1,31
|
-64
|
|
1,19
|
-25
|
1,32
|
-57
|
|
1,20
|
-28
|
1,33
|
-54
|
|
1,21
|
-34
|
1,40
|
-37
|
Кристаллы сульфата свинца закрывают поры активной массы,
вследствие этого химическая энергия, запасенная в глубоких слоях, полностью не
используется, а разрядная емкость батареи понижается.
На рисунке 2.3 при температуре +30°С емкость, отданная
батареей, составляет 27,5% от номинальной емкости Qн, а при
температуре -18°С всего лишь 11,25%. Установлено, что при разряде
током 850А и понижении температуры электролита с +30°С до +10°С емкость аккумулятора
снижается на 50%. Следовательно, при этом разрядном токе и интервале температур
понижение на 1°С вызывает снижение емкости батареи на 4%. Влияние понижения
температуры электролита на емкость очень сказывается при пуске двигателя
стартером.
При разряде батареи 6СТ-68ЭМ силой тока 205А при температуре
+25°С
разрядная емкость ее равна 20 А×ч; при той же силе разрядного тока, но при
температуре электролита -18°С, разрядная емкость составляет 12 А×ч.
В стартерном режиме аккумуляторы работоспособны примерно до
температуры -30°С (в документации оговариваются показатели при
температуре -18°С). Степень снижения емкости зависит от
концентрации электролита: при более высокой концентрации показатели лучше.
Основная причина снижения емкости при низких температурах - пассивация
свинцового электрода. Разрядные кривые свинцового стартерного аккумулятора
представляются на рисунке 2.4.
Если аккумулятор работает при низкой температуре, изменение
концентрации серной кислоты должно быть в таких пределах, чтобы не происходило
замерзание раствора (особенно в конце стартерного разряда) и разрушение
пластин.
Напряжение, необходимое для прохождения зарядного тока, с
уменьшением температуры электролита возрастает, так как при низких температурах
заряженность аккумулятора резко ухудшается.
2.4 Анализ способов обеспечения работоспособности
стартерных батарей в условиях низких температур и возможных источников
дублированного запуска
Эксплуатация аккумуляторных батарей в зимних условиях требует
специальных мероприятий, направленных на обеспечение работоспособности и
надежности при низких температурах. Для повышения пусковой мощности батареи в
качестве основной меры рекомендуется обеспечение необходимого теплового
состояния содержанием в отапливаемых помещениях.
Степень разряженности батареи при эксплуатации зимой
допускается не более 25%, чтобы не снижать запаса энергии и предотвратить
возможное замерзание электролита.
Тепловое обеспечение может также осуществляться с помощью
специальных подогревающих устройств в стационарных условиях. При температуре
электролита ниже -20°С аккумуляторные батареи не обеспечивают
надежного пуска двигателя и не способны принимать заряд от генератора автомобильного
шасси.
Для повышения пусковой мощности аккумуляторных батарей, когда
отсутствует возможность их обогрева, рекомендуется:
использование при пуске двигателя внутреннего сгорания схемы
включения собственной батареи на машине с батареей аналогичной машины или со
специальной внешней буферной группой;
применение внешних пусковых источников, к которым можно
относить электромашинные агрегаты, мощные выпрямительные установки, специальные
аккумуляторные группы с периодическим или постоянным подзарядом;
подключение к стартеру емкостного или индуктивностного
накопителя энергии с использованием импульсного разряда тока;
ускоренный комбинированный заряд аккумуляторной батареи,
проводимый в два этапа. На первом этапе заряд осуществляется при постоянстве
зарядного напряжения, на втором - при постоянной величине зарядного тока.
Для проведения ускоренного заряда батареи используется
ремонтно-зарядная аккумуляторная станция СРЗ-А-М1 с автоматическим зарядным
устройством УЗА-200-60.
3.
Разработка рекомендаций по облегчению работы аккумуляторных батарей при
стартерном запуске двигателя шасси в условиях низких температур
.1 Разработка принципиальной электрической схемы
пускового устройства
Питание системы стартерного пуска двигателя осуществляется
постоянным током, вырабатываемым аккумулятором шасси. В условиях низких
температур разрядная емкость аккумулятора ухудшается, что уже не обеспечивает
надежного запуска двигателя с выдачей необходимой для стартера мощности.
С целью облегчения пуска двигателя шасси существует целый ряд
специальных устройств, являющихся внешними источниками питания. Но их
сравнительная сложность и большие габариты и масса создают неудобства при
необходимости быстрого стартерного запуска.
Разрабатываемое устройство для облегченного запуска основывается
на малогабаритном трансформаторно-выпрямительном устройстве, в котором
осуществляется выпрямление напряжения и получение постоянного тока силой 50А,
необходимого для улучшения разрядных характеристик аккумуляторной батареи.
На основе предлагаемой функциональной схемы выбирается
элементная база, позволяющая повысить разрядные характеристики аккумуляторной
батареи при стартерном запуске двигателя шасси, используя принцип построения
буферного соединения с выпрямительной установкой разряженной аккумуляторной
батареей шасси автомобиля с номинальным напряжением бортовой сети 12В
постоянного тока.
Принципиальная электрическая схема разрабатываемого пускового
устройства представляется на рисунке 3.2, в составе которой содержится:
Т - однофазный трансформатор, предназначенный для понижения
напряжения сети до необходимой величины;-VD4 - полупроводниковый выпрямитель,
собранный по мостовой схеме, преобразующий переменное напряжение в постоянное;
С1 - конденсатор, выполняющий функцию помехоподавляющего
сглаживающего фильтра;- диод, защищающийсхему при неправильной полярности
подключения аккумуляторной батареи к клеммам канала «Пуск»;- балластное токовое
сопротивление индикатора HL1;- выключатель, служащий для включения пускового
устройства в сеть переменного тока;
SF - выключатель, предназначенный для включения
аккумуляторной батареи на пуск стартера;- плавкий предохранитель, защищающий
пусковое устройство и сеть от коротких замыканий и перегрузок по току;-
вольтметр для контроля напряжения.
На схеме вводятся следующие обозначения физических величин:c
- действующее напряжение сети переменного тока, В;с - частота
напряжения сети, Гц;1 - действующее значение переменной напряжения
первичной обмотки трансформатора, равное напряжению сети, В;2 -
действующее значение переменной напряжения вторичной обмотки, В;1, I2
- действующие значения переменного тока первичной и вторичной обмоток, А;-
среднее значение постоянного (выпрямленного) напряжения, В;1, W2
- число витков первичной и вторичной обмоток.
Схема пускового устройства, изображенная на плакате, работает
следующим образом. Устройство подключается к сети переменного тока напряжением
Uс, частотой fс. При включении выключателя S1 по
первичной обмотке наводится ток I1, во вторичной обмотке
трансформатора Т образуется электродвижущая сила и начинает действовать
напряжение U2. Это напряжение выпрямляется с помощью
двухполупериодной мостовой схемы выпрямления. Конденсатор С1 C2 сглаживает переменное
напряжение, поступающее на выпрямитель.
При включении выключателя S2 протекает ток пуска. Напряжение
при подключении устройства к аккумуляторной батарее контролируется с помощью
стрелочного вольтметра PV1.
3.2
Выбор элементов принципиальной электрической схемы пускового устройства
Рисунок 3.1 Принципиальная электрическая схема
зарядно-пускового устройства
Выбор диодов выпрямительного устройства
В качестве выпрямительного устройства выбирается однофазная
мостовая схема, которая характеризуется хорошим использованием мощности
трансформатора и наиболее распространена в штатной технике.
В данной схеме диоды соединяются по мостовому варианту и
работают парами поочередно. В каждый полупериод входного напряжения два
последовательно соединенных диода (VD2 и VD4, например) пропускают ток
нагрузки, а к двум другим (VD1 и VD3) прилагается обратное напряжение.
Рисунок 3.2 Двухполупериодная мостовая схема
На рисунке вводятся следующие обозначения:2 -
напряжение, действующее на вторичной обмотке трансформатора, В;2 -
ток, действующий на вторичной обмотке трансформатора, А;d - среднее
значение тока, проходящего через диод, А;m обр - амплитудное
значение обратного напряжения, приложенного к диоду в запорном направлении, В;d
- среднее значение выпрямленного напряжения, В.
Расчет выпрямления и выбор диодов заключается в определении
допустимого среднего значения выпрямленного тока Iср доп и
допустимого обратного напряжения Uобр доп. По этим справочным данным
выбирается тип диодов мостовой схемы. Для однофазной схемы на рисунке 3.2 среднее
значение выпрямленного напряжения составляет:
d = 0,9 × U2, (3.1)
где U2 - действующее значение напряжения на
вторичной обмотке трансформатора, В;d - среднее значение
выпрямленного напряжения, В.
За напряжение, выходящее с выпрямительного устройства
выбирается номинальное значение напряжения бортового электрооборудования
автомобиля ГАЗ-66, равное 12В. Тогда напряжение на вторичной обмотке
трансформатора следующее:
U2 =
= 14В.
Принимая запас 50% по току и напряжению, условия для выбора диодов
записываются таким образом:
, (3.2)
где Iср.доп - среднее значение допустимого тока,
проходящего через диод, А;обр.доп - амплитудное значение допустимого
обратного напряжения, приложенного к диоду в обратном направлении.
Для облегчения стартерного запуска двигателя шасси необходимое
значение выходного тока пускового устройства составляет 50 А.
Амплитудное значение обратного напряжения диода Uобр
рассчитывается из формулы:
обр =
1,75×Ud, (3.3)
где 1,57 - коэффициент формы тока диода;d - среднее
значение выпрямленного напряжения, В.
Uобр = 1,75×12 = 18,8В. (3.4)
Среднее значение тока следующее:
a = 0,5×Id, (3.5)
где Ia - среднее значение тока диода, А;d -
среднее значение выпрямленного тока, А.a = 0,5×50 = 25А.
По соотношениям (3.2) из таблицы 2 [7] выбираются диоды
VD1-VD4 типа Д 131-63, основные параметры которых удовлетворяют соотношениям:оьр
доп = 200В > 1,5×Uобр =1,5×19 = 28,5В.ср доп
= 63А > 1,5×Iд - 1,5×25 - 37,5А.
Диод Д131-63 - кремниевый, диффузионного типа, штыревой.
Масса диода составляет 85 граммов, а диодного моста - 100 граммов. Длина диода
- 100 мм, ширина - 3 мм.
На основе выбранных диодов определяются значения напряжения и
тока вторичной обмотки трансформатора:
, (3.6)
где I2, U2 - действующие значения напряжения
и тока на вторичной обмотке трансформатора, А, В;d, Ud -
средние значения выпрямленных тока и напряжения, А, В.
На основе описанных соотношений (3.5) рассчитываются данные
вторичной обмотки трансформатора:2 = 1,11×Id = 1,11×50 = 56А,2 = 1,11×Ud = 1,11×12 = 14В.
3.3 Расчет трансформатора пускового устройства
Выбор исходных данных для расчета трансформатора
Трансформатор по параметрам своей работы характеризуется
следующими данными:
развиваемая мощность на выходе устройства должна быть не менее 600
Вт;
число фаз m=1;
частота питающей сети fс = 50Гц;
номинальные линейные напряжения обмоток высшего и низшего
напряжения U1 = U1¢ =220В, U2 = U2¢ =14В, U3= U3¢=27В;
действующее значение тока вторичной обмотки I2 = 56А.
Расчет трансформатора сводится к следующей последовательности:
определение основных электрических величин;
выбор магнитопровода;
определение параметров обмоток и выбор проводов;
расчет потерь мощности и коэффициента полезного действия.
Выбор магнитопровода трансформатора
На основе исходных данных для расчета трансформатора определяется
полная мощность вторичной обмотки:
2 =
I2×U2
= 56×14 = 784 Bт.
(3.7)
Для полученной величины по таблице 3 [8] выбирается значение
коэффициента полезного действия r = 0,95.
Тогда полная мощность первичной обмотки S1 находится по
формуле:
S1 =
, (3.8)
где S1, S2 - мощности первичной и вторичной
обмоток, Вт;
r - коэффициент полезного действия трансформатора.1 =
= 828,1 Вт.
На основании полученной мощности S1 рассчитывается
действующее значение тока в первичной обмотке I1:
1 =
=
= 3,76 А.
Выбор магнитопровода зависит от мощности трансформатора, частоты
питающей сети. Каждому типоразмеру магнитопровода соответствует определенная
габаритная мощность. Для выбора необходимо выполнить условие:
габ
³ S1, (3.9)
где Sгаб - габаритная мощность, Вт;1 -
действующее значение мощности в первичной обмотке трансформатора, Вт.
Из 6 [8] выбирается значение Sгаб = 900 Вт для
стержневого ленточного магнитопровода типа ПЛ 40
64-100. Он изготавливается из электротехнической стали марки 3411
с толщиной стальной ленты D=0,35
мм.
Размеры магнитопровода ПЛ 40
64-100 (рисунок 3.3) следующие:
общая высота Н=164 мм;
ширина L=110 мм;
толщина В=64 мм;
высота окна h0 =100 мм;
ширина окна l0 =50 мм.
Выбранный магнитопровод позволяет обеспечить высокие
эксплуатационные характеристики трансформатора.
Общий объем магнитопровода по таблице 6 [8] Vм = 280,9
см3, амплитудное значение магнитной индукции Вm = 1,65 Тл
(по таблице П1-6 [7]) для вторичной мощности S2 = 300 ¸ 1000 Вт.
Определение массы стали в магнитопроводе выражается формулой:
ст
= gст × Кст
× Vм, (3.10)
где Gст - масса стали в магнитопроводе, г;
gст -
плотность стали, г/см3;
Кст - коэффициент заполнения магнитопровода сталью;м
- объем магнитопровода, см3.
Для выбранной конструкции Кст = 0,93, Vм =
280,9 см3, а gст = 7,63 г./см3 для стали марки
3411.
По формуле (3.10) находится масса стали в магнитопроводе:ст
= 7,65 × 0,93 × 280,9 = 1998 г. = 1,998 кг
Определение параметров обмоток трансформатора и выбор
проводов
Для расчета параметров обмоток трансформатора должно
соблюдаться условие:
, (3.11)
где Ктр - коэффициент трансформации;1 -
число витков первичной обмотки;2 - число витков вторичной обмотки;1
- действующее напряжение на первичной обмотке, В;2 - действующее
напряжение на вторичной обмотке, В.
Для выбранного магнитопровода ПЛ 40
64-100 из таблицы 5 [7] определяется значение W1 при
напряжении на первичной обмотке U1=220В, W1=330, а число
витков вторичной обмотки на 1В W2=1,5. Коэффициент трансформации
находится из условия (3.11):

Из этого же условия число витков вторичной обмотки:

По таблице 5 [7] выбирается плотность тока в обмотках
трансформатора d1,2 =2,4 А/мм2.
Необходимое сечение для выбора типа провода определяется из
формулы:
, (3.12)
где Sп - сечение провода, мм2;- действующее
значение тока в проводе, А;
d - плотность тока в обмотке, А/мм2.
По формуле (3.12) находятся требуемые сечения для первичной (Sп1)
и вторичной (Sп2) обмоток:
На основе полученных сечений, полагая, что трансформатор будет
работать при естественной вентиляции с нагревом проводов, не превышающим 105°С, выбираются провода типа ПЭВ-1 из
таблицы П1 - 1 [7]. Характеристики проводов приводятся в таблице 5.
Таблица 4 Характеристики проводов типа ПЭВ-1
|
№ п/п
|
|
Sп1
= 1,5625мм2
|
Sп2
= 23мм2
|
|
1.
|
dп,
мм
|
1,45
|
5,2
|
|
2.
|
dн,
мм
|
1,53
|
5,28
|
|
3.
|
gп,
г/м
|
14,7
|
200
|
В таблице 5
используются следующие обозначения:п1,2 - сечение обмоток
трансформатора, мм2;п - диаметр по меди, мм;н
- наружный диаметр, мм;п - массовая плотность провода, г/м.
Среднее значение
длины витков первичной обмотки ленточного трансформатора равняется полусумме
длин витков во внутреннем и наружном слое первичной обмотке и определяется по
формуле:
, (3.13)
где l1ср - среднее значение длины витков первичной
обмотки, мм;1н - длина витков в наружном слое обмотки, мм;1в
- длина витков во внутреннем слое обмотки, мм.
Длина витков во внутреннем слое первичной обмотки рассчитывается
из выражения:
1в
= 2×(a+b)+8×D, (3.14)
где а - ширина стержня магнитопровода, мм;- толщина
магнитопровода, мм;
D - толщина стальной ленты магнитопровода, мм.
Для магнитопровода типа ПЛ 40
64-100 а=32 мм, b=64 мм, D=0,35 мм.
Длина витков во внутреннем слое обмотки составляет:1b =
2×(32+64)+8×0,35 = 192+2,8 = 194,8 мм.
В наружном слое первичной обмотки длины витков определяется
формулой:
1н
= l1в + 2pа1,
(3.15)
где l1в - длина витков во внутреннем слое обмотки, мм;
p=3,1415 - постоянная величина;
а1 - толщина первичной обмотки, мм.
На основе полученной величины l1в из таблицы П1-4 [2]
выбирается значение а1 = 10 мм. Тогда длина витков в наружном слое
составляет:1н = 194,8 + 2×p×10 = 256,8 мм.
По формуле (3.13) определяется среднее значение длины витков
первичной обмотки трансформатора:
Для вторичной обмотки трансформатора среднее значение длины витков
так же равняется полусумме длин витков во внутреннем и внешнем слое:
(3.16)
где l2ср - среднее значение длины витков вторичной
обмотки, мм;2н - длина витков в наружном слое, мм;2в -
длина витков во внутреннем слое, мм.
Длина витков во внутреннем слое вторичной обмотки определяется
формулой:
2в
= 2 (а+b) + 2p(а1+D1) + 8D, (3.17)
где l2в - длина витков во внутреннем слое, мм;
а - ширина стержня магнитопровода, мм;- толщина магнитопровода,
мм;
а1 - толщина обмотки, мм;
D1 -
толщина изоляционного слоя, мм;
Обмотки изолируются пропиточной бумагой ЭИП-63В. Толщина
изоляционного слоя, накладываемого на обмотку, рассчитывается следующим
образом:
D1 = 4×0,11 = 0,44 мм.
По формуле (3.17) рассчитывается значение длины витков во
внутреннем слое вторичной обмотки:2в =2 (32+64) + 2p(10+0,44) + 8×0,35 = 260,4 мм.
Расчет длины витков в наружном слое вторичной обмотки
осуществляется по формуле:
2н
= l2в + 2pа2,
(3.18)
где l2н - длина витков в наружном слое вторичной
обмотки, мм;2в - длина витков во внутреннем слое, мм;
а2 - толщина вторичной обмотки трансформатора, мм.
Толщина вторичной обмотки а2 находится из выражения:
, (3.19)
где Ку - коэффициент укладки провода;
Кв - коэффициент выпучивания провода;
w2 - число витков вторичной обмотки трансформатора;н2 -
наружный диаметр провода вторичной обмотки, мм;0 - высота окна
магнитопровода, мм;
D0 - суммарная толщина каркаса, мм.
Из таблицы П2-3
[7] выбираются значения:
Ку =
1,211;
Кв =
1,127;
w2 = 22;н2 = 2,54 мм;0 = 100 мм;
D0 = 2,5 мм.
По формуле (3.19)
определяется толщина вторичной обмотки:
При подставлении
полученного значения а2 в формулу (3.18) значение длины витков в
наружном слое вторичной обмотки следующее:2н = 260,4 + 2×p×2 = 272,96 мм.
Из формулы (3.16)
определяется среднее значение длины витков вторичной обмотки трансформатора:
.
Масса медного
провода обмотки трансформатора выражается формулой:
w = lср × W × gп, (3.20)
где Gw
- масса медного провода обмотки, г;ср - среднее значение длины витка
обмотки, м;п - масса одного метра провода, г/м.
Значения gп
для каждой обмотки приводятся в таблице 5:п1 = 14,7 г/м;п2
= 200 г./м.
Рассчитывается
масса медного провода первичной обмотки:w1 = 0,2258×330×14,7 = 1095 г. = 1,095 кг.
Аналогично из
формулы (3.20) производится расчет массы медного провода вторичной обмотки:w2
= 0,26668×22×200 = 1173 г. = 1,173 кг.
Общая масса
трансформатора определяется выражением:
тр = Gм + Gw1 + Gw2,
(3.21)
где Gтр
- общая масса трансформатора, кг;м - масса магнитопровода, кг;w1,
Gw2 - значения масс обмоток, кг.
Определяется
общая масса трансформатора:тр = 3.132 + 1,095 + 1,117 = 5.344 кг.
Расчет потерь мощности и определение коэффициента полезного
действия трансформатора
Активные сопротивления первичной и вторичной обмоток
трансформатора вычисляются по формулам:
, (3.22)
где r - активное сопротивление обмотки, Ом;
rм = 2,35×10-8 Ом×м - удельное сопротивление меди;ср
- среднее значение длины витков в обмотке, мм;- число витков обмотки;п
- сечение провода обмотки, м2.
Для первичной обмотки по известным величинам из формулы (3.22)
определяется активное сопротивление:
Аналогично рассчитывается активное сопротивление вторичной
обмотки:
Потеря мощности в трансформаторе равняется сумме потерь мощности в
стали и меди, то есть:
Ртр = Рст +Рм, (3.23)
где Ртр - потеря мощности трансформатора, Вт;
Рст - потеря мощности в стали, Вт;
Рм - потеря мощности в меди.
Мощность потерь в стали магнитопровода пропорциональна массе стали
в нем и может вычисляться так:
Рст = kст × Gм, (3.24)
где kст - коэффициент пропорциональности, числено
равный мощности потерь в единице массы стали, Вт/кг;м - масса стали
в магнитопроводе, кг.
Для стали марки 3411 (Э310) со значением магнитной индукции
Вт=1,65 Тл из таблицы П1-6 [7] выбирается значение коэффициента kст
= 2,7 Вт/кг.
По формуле (3.24) рассчитывается потеря мощности в стали:
Рст = 2,7×1,998 = 5,3946 Вт.
Потеря мощности в меди обмоток при температуре 105°С вычисляется таким образом:
(3.25)
где Рм - потеря мощности в меди, Вт;t -
коэффициент пропорциональности;п - масса одного метра провода
обмотки, г/м;- действующее значение тока в обмотке, А;п - сечение
провода обмотки, мм2;ср - среднее значение длины витка
обмотки, мм;- число витков обмотки.
Суммарная мощность потерь в меди определяется по выражению:
Рм = Рм1 + Рм2, (3.26)
где Рм1 - мощность потерь в первичной обмотке, Вт;
Рм2 - мощность потерь во вторичной обмотке, Вт.
Из таблицы П1-8 [7] выбирается коэффициент kt = 2,65
при температуре 105°С.
Для первичной обмотки по известным величинам из формулы (3.25)
определяется мощность потерь в меди:
.
Аналогично рассчитывается мощность потерь во вторичной обмотке:
.
По формуле (3.23) и (3.26) вычисляется общая потеря мощности в
трансформаторе:
Ртр = 5,3946 + 16,1 + 16,4 = 37,89 Вт.
Коэффициент полезного действия выражается формулой:
,
где h - коэффициент
полезного действия трансформатора, %;тр - мощность во вторичной
обмотке трансформатора, Вт;
Ртр - потеря мощности в трансформаторе, Вт.
Использованием формулы (3.25) определяется значение коэффициента
полезного действия:
%,
3.4 Выбор стабилитрона, защитной и коммутационной
аппаратуры, расчет и выбор резистора
Выбор стабилитрона
В качестве стабилизирующего нелинейного элемента
выбирается кремниевый стабилитрон VD5, предназначенный для стабилизации напряжения в цепи
постоянного тока. Стабилитрон должен удовлетворять следующим требованиям:
ток стабилизации Iс =10 мА;
напряжение стабилизации Uс = 6 В.
Исходя из условий по таблице 34 [6] выбирается стабилитрон
2С402Г сплавной, средней мощности, выпускается в металлостеклянном корпусе,
который в рабочем режиме служит отрицательным выводом. Данный стабилитрон имеет
следующие характеристики:
минимальный ток стабилизации Iс = 10 мА;
максимальный ток стабилизации Iс = 50 мА;
рассеиваемая мощность Р = 5 Вт;
температурный диапазон работы -60°С - +120°С.
Температурный коэффициент напряжения составляет не более
0,045% при Iс = 50 мА. Выбранный кремниево-диффузионный стабилизатор
имеет массу 0,6г.
Габариты стабилитрона:
длина l=9 мм;
ширина b=8 мм.
Выбор защитной аппаратуры
Наиболее простым и распространенным устройством защиты
является плавкий предохранитель, который устанавливается на входе пускового
устройства.
В случае перегрузки по току или коротком замыкании в любой
цепи устройства увеличивается ток первичной обмотки трансформатора I1,
что приводит к расплавлению плавкой вставки предохранителя и обесточиванию
схемы.
Предохранитель характеризуется номинальным током Iн.
Расплавление вставки происходит при критическом значении
протекающего по ней тока. Выбор предохранителя осуществляется по условию:
н ³ I1, (3.27)
где Iн - номинальный ток предохранителя, А;1
- первичный ток трансформатора, А.
Из таблицы 9 [3] выбирается плавкий предохранитель типа ПМ
длиной 20 мм, диаметром 5 мм, номинальный ток которого составляет 3 А. Масса предохранителя
0,1 г.
Выбор коммутационной аппаратуры
В схеме проектируемого пускового устройства устанавливаются
два выключателя (S1 и S2, рисунок 3.1), которые обеспечивают включение
устройства и подключение его к зажимам аккумуляторной батареи.
Выключатели подбираются по максимальному коммутируемому
напряжению и максимальному коммутируемому току. Из таблицы 8 [3] в качестве
выключателя S1 выбирается тумблер типа ТВ1-1, коммутирующий переменный ток I1
= 3,75 А напряжением 220 В, со следующими характеристиками:
максимальное рабочее напряжение - 220 В;
максимальный рабочий ток - 5 А.
Выключатели S2 выбираются таким образом, чтобы его допустимые
значения напряжения и тока были соответственно близки и не менее напряжения и
пускового тока, выходящих с данного моста:
max ³ Ud; Imax ³ I2. (3.28)
Из таблицы 8 [3] выбирается пакетный выключатель типа ПВ-2-60
со следующими характеристиками:
максимальное рабочее напряжение - 12 В;
максимальный рабочий ток - 60 А.
Масса тумблера ТВ1-1 составляет 15г, а выключателя ПВ-2-60 -
80 г.
3.5 Выбор измерительной аппаратуры
Контроль параметров пуска осуществляется на постоянном токе с
помощью стрелочных измерительных приборов магнитоэлектрической системы
вольтметр (PV1, рисунок 3.1) измеряет значение пускового напряжения.
Выбор вольтметра осуществляется по пределу измерения из
условия:
пр ³ (1,1¸1,2) Uн,
(3.29)
где Uпр - предельное измеряемое напряжение, В;н
- номинальное напряжение вольтметра, В.
Из таблицы 10 [8] выбирается вольтметр малогабаритный,
магнитоэлектрической системы, типа М4202, класса точности 1,5 с пределом
измерения 15 В, габаритами 60
60
49 мм, массой 0,15 кг.
3.6 Описание конструкции устройства
Предлагаемое пусковое устройство состоит из основания, к которому
крепятся трансформатор, радиатор с силовыми диодами, передняя панель, задняя
стенка и кожух. Кожух для жесткости дополнительно крепится к передней панели и
задней стенке. На передней панели располагаются элементы, указанные на рисунке
3.5:
вольтметр М4202, контролирующий пусковое напряжение;
держатель плавкой вставки F1 «3А»
выключатель S1 типа ТВ-1, подключающий устройство к сети;
выключатель S2 типа ПВ-2-60, подключающий аккумуляторную батарею к
пусковому устройству;
выходные клеммы с символами «+» и «-» канала «ПУСК»,
предназначенные для подключения нагрузки постоянного тока к устройству.
На задней стенке располагается ввод шнура питания с двухштыревой
вилкой для включения устройства в сеть «Uc~fц».
На основании находятся вентиляционные отверстия для обеспечения
нормального теплового режима устройства и электрический контакт изоляции. На
кожухе размещается ручка для перемещения устройства, а также вентиляционные
щели.
Разработанное пусковое устройство работает от потребительской сети
однофазного переменного тока с номинальным напряжением (220±22) В частотой 50 Гц и рассчитано для
эксплуатации в условиях:
интервал температур
составляет до 80% при температуре 25°С; окружающей среды от -40°С до +40°С;
относительная влажность воздуха
высота над уровнем моря не более 1000 м;
окружающая среда невзрывоопасная, не содержащая токопроводящей
пыли.
Подготовка рабочего места пускового устройства не требует от
военнослужащих затрат времени. К рабочему месту подводится сеть 220В~50Гц с
установкой розетки на 6а, 250В или используется удлинитель с сечением проводов
не менее 1,0 мм2. Длина удлинителя не должна быть более 10 м. Если
работа пускового устройства осуществляется в помещении, то необходима его
вентиляция. Устройство располагается от автомобильного шасси на расстоянии не
менее 1, 0 м. Устройство допускает эксплуатацию и на открытом воздухе, то
необходимо защитить его от прямых атмосферных осадков (накрыть чем-либо).
Перед подключением аккумуляторной батареи шасси необходимо
определить ее степень заряженности путем замера плотности электролита в каждой
банке аккумулятора в соответствии с таблицей 5 или в соответствии с инструкцией
по эксплуатации аккумуляторов.
Таблица 5 Степень заряженности аккумулятора
|
Степень
заряженности
|
Сильно
разряжена
|
Разряжена
|
Нормально
заряжена
|
|
Плотность
электролита, г/см3
|
1,17 - 1,21
|
1,21 - 1,25
|
1,27 - 1,31
|
Стартерный пуск двигателя шасси допускается только при
параллельной работе устройства по каналу «ПУСК» с аккумуляторной батареей. С
помощью соединительных проводов, прилагаемых к пусковому устройству,
соединяются клеммы «+» и «-» канала «ПУСК» соответственно с клеммами «+» и «-»
установленной на автомобиле аккумуляторной батареи, а затем другой провод - к
массе вдали от батареи и топливной системы (заземлить устройство).
С помощью вилки шнура питания устройство подключается к сети
220В~50Гц. При включении тумблера S1 «СЕТЬ» по вольтметру контролируется
напряжение 12В.
Пуск стартера шасси проводится коротким включениями
переключателя S2 «ПУСК», но не более 10 секунд с последующей паузой не менее
100 секунд. После пяти периодов «пуск-пауза» (один цикл) делается перерыв не
менее 5 минут для охлаждения трансформатора и диодов выпрямителя устройства,
после чего можно повторить еще один цикл. При нарушении режима «пуск-пауза»
возможен отказ пускового устройства (выход из строя).
После запуска двигателя автомобиля устройство отключается от
сети и снимаются соединительные провода.
4. Технико-эксплуатационное обоснование проекта
.1 Рекомендации по подготовке к работе и порядку
работы пускового устройства
Спроектированное пусковое устройство работает от
потребительской сети однофазного переменного тока с номинальным напряжением
(220±22)
В частотой 50 Гц и рассчитано для эксплуатации в условиях:
интервал температур окружающей среды от -40°С до +40°С;
относительная влажность воздуха составляет до 80% при
температуре 25°С;
высота над уровнем моря не более 1000 м;
окружающая среда невзрывоопасная, не содержащая
токопроводящей пыли.
Подготовка рабочего места пускового устройства не требует от
военнослужащих затрат времени. К рабочему месту подводится сеть 220В~50Гц с
установкой розетки на 6а, 250В или используется удлинитель с сечением проводов
не менее 1,0 мм2. Длина удлинителя не должна быть более 10 м.
Если работа пускового устройства осуществляется в помещении,
то необходима его вентиляция. Устройство располагается от автомобильного шасси
на расстоянии не менее 1,0 м. Устройство допускает эксплуатацию и на открытом
воздухе, то необходимо защитить его от прямых атмосферных осадков (накрыть
чем-либо).
Перед подключением аккумуляторной батареи шасси необходимо
определить ее степень заряженности путем замера плотности электролита в каждой
банке аккумулятора в соответствии с таблицей 6 или в соответствии с инструкцией
по эксплуатации аккумуляторов.
Таблица 6 Степень заряженности аккумулятора
|
Степень
заряженности
|
Сильно
разряжена
|
Разряжена
|
Нормально
заряжена
|
|
Плотность
электролита, г/см3
|
1,17 - 1,21
|
1,21 - 1,25
|
1,27 - 1,31
|
Стартерный пуск двигателя шасси допускается только при
параллельной работе устройства по каналу «ПУСК» с аккумуляторной батареей. С
помощью соединительных проводов, прилагаемых к пусковому устройству,
соединяются клеммы «+» и «-» канала «ПУСК» соответственно с клеммами «+» и «-»
установленной на автомобиле аккумуляторной батареи, а затем другой провод - к
массе вдали от батареи и топливной системы (заземлить устройство).
С помощью вилки шнура питания устройство подключается к сети
220В~50Гц. При включении тумблера S1 «СЕТЬ» загорается индикатор на рисунке 3.5
«СЕТЬ». По вольтметру контролируется напряжение 12В.
Пуск стартера шасси проводится коротким включениями
переключателя S2 «ПУСК», но не более 10 секунд с последующей паузой не менее
100 секунд. После пяти периодов «пуск-пауза» (один цикл) делается перерыв не
менее 5 минут для охлаждения трансформатора и диодов выпрямителя устройства,
после чего можно повторить еще один цикл. При нарушении режима «пуск-пауза»
возможен отказ пускового устройства.
После запуска двигателя автомобиля устройство отключается от
сети и снимаются соединительные провода.
4.2 Расчет показателей надежности пускового
устройства
Обеспечение надежности является одной из ключевых задач при
разработке, производстве и эксплуатации технических устройств самого различного
назначения.
Надежность устройства характеризуется несколькими
количественными параметрами. Количественные критерии надежности позволяют
научно обосновать периоды профилактических мероприятий, организацию
технического обслуживания.
Основными количественными характеристиками надежности
являются:
Р(t) - вероятность безотказной работы;
l(t) - интенсивность отказов;
Т - среднее время между отказами.
Вероятность безотказной работы без резервирования с учетом
постоянства интенсивности отказов определяется из выражения:
, (4.1)
где
,
где m - число групп одинаковых элементов, работающих в одном
режиме;j - число элементов в группе;j - коэффициент,
учитывающий влияние различных факторов (таких как влажность, давление,
температура окружающей среды);
lj -
интенсивность отказов j-го элемента в нормальных условиях.
При этом коэффициент kj = 1 (идеальные условия).
Интенсивность отказов элементов схемы пускового устройства
приводится в таблице 7.
Таблица 7 Интенсивности отказов элементов схемы пускового
устройства
|
№ п/п
|
Наименование
группы
|
nj
|
l×10-6
|
nj×l×10-6
|
|
1
|
Трансформатор
|
1
|
1,04
|
1,04
|
|
2
|
Диоды
|
8
|
0,20
|
1,6
|
|
3
|
Резистор
|
18
|
0,10
|
1,8
|
|
4
|
Конденсатор
|
2
|
0,10
|
0,2
|
|
5
|
Стабилитрон
|
4
|
0,20
|
0,8
|
|
6
|
Тумблеры
|
1
|
0,06
|
0,06
|
|
7
|
Индикаторы
|
1
|
8,00
|
8,0
|
|
8
|
Предохранители
|
2
|
0,01
|
0,02
|
|
9
|
Измерительные
приборы
|
1
|
0,21
|
0,21
|
В схеме пускового устройства избыточности по структуре нет и
с точки зрения надежности схемы пускового устройства будет представлять собой
цепочку последовательного соединения элементов, то есть отказ одного элемента
вызывает отказ всей системы. В этом случае интенсивность отказов пускового
устройства будет вычисляться по формуле (4.1):
час-1.
Учитывая условия низкотемпературной эксплуатации, принимается kj=16,
тогда:
час-1=0,25×10-3час-1.
Таким образом вероятность безотказной работы при различном времени
t будет равна:
График вероятности безотказной работы пускового устройства
представляется на рисунке 3.6.
Среднее время безотказной работы устройства вычисляется по
формуле:
, (4.2)
где Т - среднее время наработки устройства на отказ, час;
L¢ - интенсивность отказов устройства, час.
Использованием формулы (4.2) вычисляется значение среднего времени
безотказной работы:
часов,
Полученное время свидетельствует о достаточно высокой надежности
спроектированного пускового устройства.
Заключение
На основе анализа технико-эксплуатационных характеристик системы
запуска двигателя шасси и возможных конструктивных вариантов устройств были
разработаны рекомендации по облегчению работы аккумуляторов при стартерном
запуске в условиях низких температур.
В работе предложена принципиальная электрическая схема пускового
устройства, которое облегчает стартерный запуск двигателя шасси ГАЗ-66 с
бортовой сетью 12 В при неблагоприятных условиях в холодное время года или при
слабо заряженной аккумуляторной батарее 6СТ-68ЭМ.
Разработанное пусковое устройство выдает постоянный ток 50А,
соответствующий 16,7% разрядной емкости аккумуляторной батареи 6СТ-68ЭМ при
напряжении 12В. Мощность на выходе канала «ПУСК» равняется 600 Вт.
Указанные параметры обеспечивают гарантированный запуск двигателя
автомобиля ГАЗ-66 в любых климатических условиях и при любом состоянии
аккумуляторной батареи.
Расчет показателей надежности показал, что среднее время безотказной
работы прибора составляет 4000 часов. Масса спроектированного устройства при
габаритах 180
130
260 мм равна 6, 407 кг.
Техническое обслуживание проводится при подготовке к работе, при
этом легкий доступ к элементам очень удобен для проведения ремонта в случае
обнаружения неисправностей.
Список использованной литературы
1.
Положение
о научной работе в Вооруженных Силах РФ.
2.
Руководство
по организации работы высших военно-учебных заведений Министерства обороны РФ.
3.
ГОСТ
7.32-91. Отчет о научно-иследовательской работе. Структура и правила
оформления. - М.: Изд-во стандартов, 1991.
4.
ГОСТ
7.1-84. Библиографическое описание документа. Общие требования и правила
составления. - М.: Изд-во стандартов, 1984.
5.
ГОСТ
7.12-93. Библиографическая запись. Сокращение слов на русском языке. Общие
требования и правила. - М.: Изд-во стандартов, 1995.
6.
ГОСТ
29.115-88. Оригиналы авторские и текстовые издательские стандарты по
издательскому делу. Сост. А.А. Джиго, С.Ю. Калинин. - М.: Юрист.1998.
7.
Мощные
полупроводниковые приборы. Диоды. Под ред. Голомедова А.В. - М.: Радио и связь,
1985. - 400 с.
8.
Расчет
устройства для заряда кислотных аккумуляторных батарей. - Саратов: СВВКИУ РВ,
1983. - 46 с.
9.
Незнайко
А.П., Геликман Б.Ю. Конденсаторы и резисторы. - М.: Энергия, 1974. - 110 с.
10.Мухитдинов М.
Светоизлучающие диоды и их применение. - М.: Энергия, 1988. - 80 с.
11.Свинцовые стартерные
аккумуляторные батареи. Руководство. - М.: Воениздат, 1983. - 183 с.
12.Резисторы. Справочник.
Под ред. Четверткова И.И. - М.: Радио и связь, 1991. - 528 с.
13.Банников С.П.
Электрооборудование автомобилей. Учебник. - М.: Транспорт, 1977. -290 с.