Математичні задачі енергетики
Міністерство освіти і науки
України
Одеський національний
політехнічний університет
Кафедра електропостачання та
енергоменеджмента
Розрахункова графічна робота:
“МАТЕМЕТИЧНІ ЗАДАЧІ ЕНЕРГЕТИКИ”
Виконав
студент III курсу
групи
ЕС-113
Варіант
№8
Панін
В.О.
Керівник:
Біляєв
Одеса 2013р.
Вступ
Дисципліна "Математичні задачі енергетики" є
проміжною між курсами загальної і прикладної математики та теоретичних основ
електротехніки з однієї сторони й дисциплінами спеціалізації з іншої.
Мета вивчення дисципліни - зв'язати зазначені
загальнотеоретичні дисципліни із практичними їхніми застосуваннями у роботі
фахівця й одержати конкретний математичний апарат для досліджень систем
електропостачання. Зміст дисципліни орієнтований на найбільш характерні задачі
аналізу систем електропостачання: розрахунки усталених режимів, кількісну
оцінку надійності енергетичних об'єктів і систем, прогнозування попиту
потужності й енергії у системі й окремих споживачах, розрахунок електричних
навантажень. Розглядаються методи й алгоритми, велика частина з яких
реалізується у вигляді програм для комп'ютерів.
Вивчення даної дисципліни вимагає відповідної підготовки
студентів із математики і теоретичних основ електротехніки. З математики
особливо важливі розділи матричної алгебри, алгебри комплексних чисел, методів
рішення систем алгебраїчних рівнянь, основ теорії ймовірностей і математичної
статистики. З курсу теоретичних основ електротехніки в першу чергу необхідні
знання по основах теорії кіл.
У курсовій роботі розв’язуються задачі з основних розділів
дисципліни:
- математичні основи методів аналізу
усталених режимів електроенергетичних систем (завдання 1);
- кількісна оцінка надійності складних
структур (завдання 2);
- розрахунки характеристик режиму з
використанням моделі систем випадкових величин (завдання 3).
Зміст зазначених завдань орієнтовано на обчислення за
допомогою найпростіших розрахункових засобів і тільки в окремих випадках
потрібно застосування комп'ютера.
Завдання 1
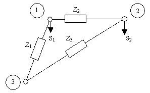
Від центра живлення А (вузол 4) по замкнутій мережі, схема
заміщення якої приведена на рисунку, одержують електроенергію підстанції, що
підключаються до вузлів 1, 2, 3. Напруга центра живлення U4, опори ділянок
мережі Zj, j = 1...5 і розрахункові навантаження підстанцій Si, i = 1, 2, 3.
Потрібно розрахувати усталений режим для заданої ділянки
мережі, тобто визначити напруги у вузлах приєднання навантажень, струми віток,
потужності на початку і наприкінці кожної вітки і сумарні втрати потужності в
мережі. Задачу варто розв’язати методом вузлових напруг.
Рис.1
Таблиця 1. Початкові данні
|
UA, кВ
|
Z1, Ом
|
Z2, Ом
|
Z3, Ом
|
Z4, Ом
|
Z5, Ом
|
S1, МВА
|
S2, МВА
|
S3, МВА
|
|
230
|
24
|
32
|
30
|
16
|
18
|
62
|
38
|
80
|
jZ1 = 60° jS1 = 45°
jZ2 = 58° jS2 = 52°
jZ3 = 32° jS3 = 60°
jZ4 = 44°
jZ5 = 52°
1. Формування системи нелінійних алгебраїчних рівнянь
вузлових напруг у формі балансу струмів.
Система нелінійних алгебраїчних рівнянь вузлових напруг у
формі балансу струмів у матричному виді:
(1)
напруга струм потужність трансформаторний
Yy- комплексна матриця вузлових провідностей порядку n=3
Uу - матриця-стовпець невідомих міжфазних напруг вузлів;(Uу)
- матриця-стовпець нелінійних джерел струмів, залежних від напруг;б -
матриця-стовпець взаємних провідностей між балансуючим і іншими вузлами;б -
міжфазна напруга базисного вузла, що співпадає з балансуючим.
б=Uб=U4 ; d б = 0.
Знаходимо матрицю вузлових провідностей Yу:
.
При збігу базисного і балансуючого вузлів матриця Yу симетрична щодо
головної діагоналі, кожен її діагональний елемент
дорівнює сумі провідностей віток, зв'язаних з к-м
вузлом, а кожен недіагональний елемент
дорівнює
узятій зі знаком мінус сумі провідностей віток, що з'єднують i-й і j-й вузли
схеми.
(2)
Підставимо в (1)
згідно (2),
а
також
і
,
де 
-
матриці стовпці дійсних і мнимих складових напруг вузлів і джерел струмів.
. (3)
Система рівнянь (3) у розгорнутому виді:

=
Одержуємо:
(4)
Підставляємо в (4) значення активних і реактивних складових
провідностей, активних і реактивних потужностей вузлів, що розраховуються по
вихідним даним завдання за формулами:
,
Складемо направлений граф:
Рис.2
Складаємо першу матрицю з’єднань:
Транспонована матриця з’єднань:
Складемо матрицю вузлових провідностей Yb:
Провідності віток:
Матриця провідностей віток:
Знаходимо матрицю вузлових провідностей Yy:
Матриця вузлових провідностей:
Розділяємо Yy на матрицы активних Gy і реактивних By
складових вузлових провідностей:
Складаємо матрицю-стовбець Ykb взаємних провідностей віток
між балансуючим і іншими вузлами:
Розділяємо Ykb на матрицы активних gkb і реактивних bkb складових:
і
Потужності в вузлах:
Розв’язок системи нелінійних рівнянь вузлових напруг у формі
балансу струмів з використанням методу Гаусса на кожному кроці ітераційного
процесу (зовнішньої ітерації).
Розв’язок системи рівнянь (4) здійснюється:
Задаємося початковим наближенням невідомих напруг вузлів
на нульовому кроці зовнішньої ітерації.
Підставляємо ці складові напруг у праві частини рівнянь (4) і
обчислюємо числові значення правих частин. Тоді рівняння вузлових напруг
перетворюються в систему лінійних алгебраїчних рівнянь.
Вирішуємо систему лінеаризованих рівнянь методом Гаусса зі зворотним
ходом. У результаті виконання кроків прямого ходу виключаємо послідовно
з другого і наступного рівнянь систйми (4)
із третього і наступного рівнянь і т.д. поки не
приведемо систему (4) до еквівалентної системи з верхньою трикутною матрицею
коефіцієнтів:
(5)
Із системи рівнянь (5) послідовно визначаємо значення невідомих
(зворотний хід).
Переходимо до другого кроку зовнішньої ітерації, тобто визначаємо праві
частини системи (4) при значеннях складових вузлових напруг, рівних їхнім
першим наближенням. Вирішуючи систему лінеаризованих рівнянь, з тією ж матрицею
, знаходимо друге наближення складових напруг
.
Перше наближення метода Гаусса:
Таблиця 5. Початкові значення напруг
|
U1'
|
|
U2'
|
|
U3'
|
|
U1''
|
|
U2''
|
|
U3''
|
|
115
|
|
115
|
|
115
|
|
0
|
|
0
|
|
0
|
Права частина линеариз. рівнянь
Прямий хід метода Гаусса
|
1,00000
|
-0,27289
|
-0,35205
|
0,73213
|
-0,24571
|
-0,17171
|
32,12017
|
|
0,00000
|
0,06909
|
-0,06038
|
-0,00391
|
0,03421
|
-0,02299
|
0,52483
|
|
0,00000
|
-0,06038
|
0,10287
|
0,00732
|
-0,02636
|
0,08260
|
6,88192
|
|
0,00000
|
-0,00391
|
0,00732
|
-0,13072
|
0,03853
|
0,04066
|
-5,25890
|
|
0,00000
|
0,03421
|
-0,02636
|
0,03853
|
-0,08057
|
0,04861
|
0,91720
|
|
0,00000
|
-0,02299
|
0,08260
|
0,04066
|
0,04861
|
-0,11592
|
-2,49915
|
|
1,00000
|
-0,27289
|
-0,35205
|
0,73213
|
-0,24571
|
-0,17171
|
32,12017
|
|
0,00000
|
1,00000
|
-0,87393
|
-0,05656
|
0,49508
|
-0,33273
|
7,59623
|
|
0,00000
|
0,00000
|
0,05010
|
0,00391
|
0,00353
|
0,06251
|
7,34058
|
|
0,00000
|
0,00000
|
0,00391
|
-0,13094
|
0,04047
|
0,03936
|
-5,22921
|
|
0,00000
|
0,00000
|
0,00353
|
0,04047
|
-0,09750
|
0,06000
|
0,65737
|
|
0,00000
|
0,00000
|
0,06251
|
0,03936
|
0,06000
|
-0,12357
|
-2,32452
|
|
1,00000
|
-0,27289
|
-0,35205
|
0,73213
|
-0,24571
|
-0,17171
|
32,12017
|
|
0,00000
|
1,00000
|
-0,87393
|
-0,05656
|
0,49508
|
-0,33273
|
7,59623
|
|
0,00000
|
0,00000
|
1,00000
|
0,07798
|
0,07047
|
1,24764
|
146,52170
|
|
0,00000
|
0,00000
|
0,00000
|
-0,13124
|
0,04019
|
0,03448
|
-5,80166
|
|
0,00000
|
0,00000
|
0,00000
|
0,04019
|
-0,09775
|
0,05559
|
0,14008
|
|
0,00000
|
0,00000
|
0,00000
|
0,03448
|
0,05559
|
-0,20156
|
-11,48291
|
|
1,00000
|
-0,27289
|
-0,35205
|
0,73213
|
-0,24571
|
-0,17171
|
32,12017
|
|
0,00000
|
1,00000
|
-0,87393
|
-0,05656
|
0,49508
|
-0,33273
|
7,59623
|
|
0,00000
|
0,00000
|
1,00000
|
0,07798
|
0,07047
|
1,24764
|
146,52170
|
|
0,00000
|
0,00000
|
0,00000
|
1,00000
|
-0,30624
|
-0,26274
|
44,20545
|
|
0,00000
|
0,00000
|
0,00000
|
0,00000
|
-0,08544
|
0,06615
|
-1,63662
|
|
0,00000
|
0,00000
|
0,00000
|
0,00000
|
0,06615
|
-0,19250
|
-13,00726
|
|
1,00000
|
-0,27289
|
-0,35205
|
0,73213
|
-0,24571
|
-0,17171
|
32,12017
|
|
0,00000
|
1,00000
|
-0,87393
|
-0,05656
|
0,49508
|
-0,33273
|
7,59623
|
|
0,00000
|
0,00000
|
1,00000
|
0,07798
|
0,07047
|
1,24764
|
146,52170
|
|
0,00000
|
0,00000
|
0,00000
|
1,00000
|
-0,30624
|
-0,26274
|
44,20545
|
|
0,00000
|
0,00000
|
0,00000
|
0,00000
|
1,00000
|
-0,77423
|
19,15492
|
|
0,00000
|
0,00000
|
0,00000
|
0,00000
|
0,00000
|
-0,14128
|
-14,27438
|
|
1,00000
|
-0,27289
|
-0,35205
|
0,73213
|
-0,24571
|
-0,17171
|
32,12017
|
|
0,00000
|
1,00000
|
-0,87393
|
0,49508
|
-0,33273
|
7,59623
|
|
0,00000
|
0,00000
|
1,00000
|
0,07798
|
0,07047
|
1,24764
|
146,52170
|
|
0,00000
|
0,00000
|
0,00000
|
1,00000
|
-0,30624
|
-0,26274
|
44,20545
|
|
0,00000
|
0,00000
|
0,00000
|
0,00000
|
1,00000
|
-0,77423
|
19,15492
|
|
0,00000
|
0,00000
|
0,00000
|
0,00000
|
0,00000
|
1,00000
|
101,03589
|
Таблиця 6. Результат розрахунку зворотнім
методом Гауса
|
U1'
|
U2'
|
U3'
|
U1''
|
U2''
|
U3''
|
|
Початкове
наближення
|
115
|
115
|
115
|
0
|
0
|
0
|
|
Результат
|
100,57357
|
97,38018
|
101,03589
|
2,80734
|
3,72580
|
5,76001
|
Розв’язок системи нелінійних алгебраїчних рівнянь вузлових
напруг у формі балансу струмів методом Гаусса-Зейделя.
Таблиця 7. Опори і провідності віток.
|
Z1,Ом,гр
|
24
|
50
|
Z1алг Ом
|
15,4269
|
18,38507
|
|
Y1алг
|
0,0267828
|
0,031919
|
|
Z2,Ом,гр
|
32
|
48
|
Z2алг Ом
|
21,41218
|
23,78063
|
|
Y2алг
|
0,0209103
|
0,023223
|
|
Z3,Ом,гр
|
30
|
64
|
Z3алг Ом
|
13,15113
|
26,96382
|
|
Y3алг
|
0,0146124
|
0,02996
|
|
Z4,Ом,гр
|
16
|
30
|
Z4алг Ом
|
13,85641
|
8
|
|
Y4алг
|
0,0541266
|
0,03125
|
|
Z5,Ом,гр
|
18
|
70
|
Z5алг Ом
|
6,156363
|
16,91447
|
|
Y5алг
|
0,0190011
|
0,052205
|
Таблиця 8. Вузлові провідності
|
0,0623
|
-0,0209
|
-0,0146
|
|
0,0851
|
-0,0232
|
-0,0300
|
0,0851
|
|
Gу
|
-0,0209
|
0,0399
|
-0,0190
|
Bу
|
-0,0232
|
0,0754
|
-0,0522
|
-0,0232
|
|
-0,0146
|
-0,0190
|
0,0877
|
|
-0,0300
|
-0,0522
|
0,1134
|
-0,0300
|
Таблиця 9.Провідності віток від базисного вузла до кожного
Таблиця 10. Початкові значення напруг
|
U1'
|
U2'
|
U3'
|
U1''
|
U2''
|
U3''
|
|
115
|
115
|
115
|
0
|
0
|
0
|
Таблиця 11. Потужності у вузлах
|
Py,МВт
|
-39,85283
|
|
|
-47,49476
|
|
-25,42696
|
Qy,Мвар
|
|
-28,2395
|
|
-35,06969
|
|
|
-71,90352
|

Таблиця 15. Рішення системи нелінійних рівнянь вузлових напруг методом
Гаусса - Зейделя
|
Номер шага итер. U1",
кВ U2", кВ U3", кВ U1', кВ U2' , кВ U3', кВ 0 0,00000
0,00000 0,00000 115,00000 115,00000 115,00000 1 -0,79391 -0,93578 -1,11617
114,20718 113,93572 112,79417 2 -1,96434 -2,47320 -0,20445 112,07732 110,62327
112,94548 3 -0,99053 0,24996 -0,96859 111,60643 112,43932
111,46222 4 -0,15876 -1,82081 0,43614 112,34600 109,69992
112,43003 5 -1,26653 0,97116 -0,37354 110,47356 111,97676
111,55843 6 1,19940 -0,83941 0,43029 113,21187 110,45865
112,07771 7 -1,70080 0,33065 0,24246 110,10741 111,03581
112,15875 8 1,55335 0,46358 -0,08393 113,33032 111,86874
111,54250 9 -1,45068 -1,01577 0,85619 110,66934 109,73250
112,77933 10 0,77678 1,77671 -0,62528 112,33853 113,11772
111,10051 11 -0,21410 -2,08765 1,21474 112,13286 108,91336
113,03999 12 -0,83821 2,33342 -0,75061 110,64006 113,37942
111,13579 13 1,51570 -2,01546 1,01751 113,83869 109,35914
112,68497 14 -2,44639 1,51330 -0,23831 109,21021 112,19569
111,79956 15 2,69867 -0,49305 0,21628 114,70844 111,18616
111,77254 16 -2,95111 -0,57163 0,75661 109,12302 109,92501
112,84115 17 2,33920 1,88903 -0,83665 113,87807 113,58303
110,75274 18 -1,65754 -2,89780 1,70186 110,86721 107,78053
113,66582 19 0,18881 3,76678 -1,49974 111,37410 115,08472
110,29157 20 1,11999 -3,94521 1,93150 113,82996 107,27452
113,63671 21 -2,84725 3,68818 -1,19270 108,38158 114,37063
110,88334 22 3,94852 -2,58510 1,05929 116,36468 109,27661
112,49982 23 -4,96540 1,08175 0,18413 106,79984 111,22204
112,45801 24 4,90095 1,01877 -0,66743 116,59225 113,21493
110,68320 25 -4,41695 -3,06826 2,02714 108,16740 107,02873
114,25033 26 2,72193 5,10851 -2,33562 113,62059 117,00819
109,22043 27 -0,72652 -6,40420 3,21873 112,49100 104,34059
115,09989 28 -2,09260 7,02945 -2,78026 108,47050 118,00300
109,22941 29 4,57714 -6,37472 2,73184 117,74760 105,48196
114,11924 30 -7,07608 4,76539 -1,30404 103,98329 114,61287
111,17215 31 8,36774 -1,92135 0,36538 120,62085 110,89206
111,39614 32 -8,85728 -1,46410 1,69433 103,45364 107,77147
114,33616 33 7,55396 5,31272 -2,85597 118,37558 118,23137
108,25127 34 -5,18983 -8,64298 4,64174 108,51685 101,09108
116,94586 35 1,21961 11,24983 -4,99253 110,92439 123,08827
106,71638 36 3,15216 -12,14811 5,49492 117,49679 99,21018
117,02958 37 -8,04806 11,39063 -4,22783 101,72193 121,31134
108,35463 38 11,94300 -8,39027 2,99980 125,47621 104,94738
113,71343 39 -14,81601 3,77412 -0,15670 96,52919 111,98474
113,05542 40 15,28396 2,38230 -2,19845 126,64210 116,81156
108,19570
|
Загалом весь ітераційний процес зійшовся за 40 ітерацій. Це
набагато більше ніж у методі Гаусса, але при рішенні методом Гаусса проводиться
більш складні розрахунки, котрі потребують більше часу, а в разі розрахунку на
ЕВМ ускладнюється алгоритм, як наслідок маємо більш високі вимоги до швидкості
процесора та об`єму оперативної пам`яті.
Формування системи нелінійних рівнянь вузлових напруг у формі
балансу потужностей.
Перед формуванням системи рівнянь вузлових напруг у формі балансу
потужностей варто перетворити схему заміщення, приведену в завданні, звівши її
до схеми із двома незалежними вузлами.
. Розносимо навантаження вузла 2 у вузли 1 і 3:
,
.
Перевірка:
.
. Розраховуємо значення потужностей навантажень у вузлах 1 і 3 з
урахуванням навантаження вузла 2:
;
.
. Складаємо послідовно вітки 2 і 5:
;
знаходимо провідність еквівалентної вітки 2-5
і
результуючу провідність між вузлами 1 і 3:
. Перейменовуємо: вузол 3 у вузол 2, вузол 4 у вузол 3, вітку 4 у вітку
3, а еквівалентну вітку між вузлами 1 і 3 у вітку 2. Тоді на рис. 2:
;
;
;
;
Рис.3
Система нелінійних алгебраїчних рівнянь вузлових напруг у
формі балансу потужностей, записана у виразах для небалансів потужностей у вузлах,
має вигляд:
;
; (6)
.
Якщо в якості невідомих при розв’язку рівнянь (6) використовуються
модулі й фази напруг у вузлах
,
то після вираження
через
і
, k=1…n, підстановки в (6) активних і реактивних
складових провідностей вузлів, активних і реактивних потужностей у вузлах,
напруги базисного вузла і при рівняння нулю окремо дійсних і мнимих частин
комплексів, одержуємо систему трансцендентних рівнянь вузлових напруг у формі
балансу потужностей.
(7)
Перетворення схеми заміщення:
Потужності в вузлах:
. Розносимо навантаження вузла 2 у вузли 1 і 3:
,
.
(кВт)
(кВт)
Перевірка:
Розраховуємо значення потужностей навантажень у вузлах 1 і 3
з урахуванням навантаження вузла 2:
(кВт)
(кВт)
Складаємо послідовно вітки 2 і 5:
;
знаходимо провідність еквівалентної вітки 2-5
і результуючу провідність між вузлами 1 і 3:
=0.09-0.072j
(См)
Перейменовуємо: вузол 3 у вузол 2, вузол 4 у вузол 3, вітку 4 у вітку
3, а еквівалентну вітку між вузлами 1 і 3 у вітку 2. Тоді на рис. 2:
;
;
;
;
|
0,052805462
|
0,026022645
|
0,026782817
|
|
0,272738523
|
0,176982967
|
0,095755555
|
|
Gу
|
0,026022645
|
0,080149233
|
0,054126588
|
Bу
|
0,176982967
|
0,260316301
|
0,083333333
|
|
0,026782817
|
0,054126588
|
0,080909405
|
|
0,095755555
|
0,083333333
|
0,179088889
|
Розраховуємо небаланси активних і реактивних потужностей на
нульовому шазі
Розв’язок системи нелінійних рівнянь вузлових напруг у формі балансу
потужностей методом Ньютона.
Розв’язок системи трансцендентних рівнянь (7) методом Ньютона
передбачає ітераційний процес, на кожному р-м кроці якого, р=1,2…вирішується
щодо поправок
до шуканих невідомих лінеаризована система рівнянь
(8). У системі (8) ліворуч знаходиться квадратна матриця перших похідних
функцій небалансів потужностей у вузлах по модулях і фазам невідомих напруг U1
, U2 (матриця Якобі). Розв’язок системи лінійних алгебраїчних рівнянь (8)
методом Гаусса дозволяє одержати нові (уточнені) значення шуканих невідомих по
формулах (9). Ітераційний процес продовжується доти, поки небаланси (нев’язки)
у (7) не стануть менше необхідної точності e , e = 0,001
МВт, Мвар. Для формування лінеаризованої системи рівнянь (8) необхідно одержати
вирази для перших похідних функцій небалансів активних і реактивних потужностей
у вузлах по модулях і фазам невідомих напруг. Ці вирази одержуються у такому
вигляді:
(7а)
У ці вирази слід підставляти знайдені чисельні значення активних і
реактивних складових вузлових провідностей зі знаком плюс.
(8)
(9)
Задаємося початковим (нульовим) наближенням невідомих. Рекомендується
прийняти
.
Розраховуємо небаланси активних і реактивних потужностей на нульовому
кроці
(праві частини в системі (8) згідно (7) і порівнюємо
їх із заданою точністю.
Підставляємо початкові наближення невідомих у вирази (7а) для похідних
і розраховуємо нульове наближення елементів матриці Якобі. На цьому
закінчується формування лінеаризованої системи рівнянь. Її варто записати в
матричній формі (8).
Підставляємо початкові наближення невідомих у вирази для похідних і
розраховуємо нульове наближення елементів матриці Якобі.
Таблиця 16. Розрахунки методом Ньютона
|
U1
|
U2
|
δ1
|
δ2
|
|
112,9503886
|
112,8911862
|
0,003972274
|
0,005616553
|
|
-13,0007582
|
-12,39334788
|
0,024947622
|
0,043381601
|
|
99,94963039
|
100,4978383
|
0,028919896
|
0,048998154
|
Процес зійшовся на 3 кроці ітерацій.
ЗАВДАННЯ 2
Для структурної схеми надійності, приведеної на рис.5, визначити
показники надійності системи на виході: частоту відмов, середній час
відновлення, середній час безвідмовної роботи, імовірність відмов за рік,
коефіцієнти готовності
і змушеного простою
(середні
імовірності працездатного й відмовного станів системи). Показники надійності
елементів системи - частоти відмов
і
середні часи відновлення
приведені в таблиці 3.1. Відмови елементів
розглядаються як незалежні події. Випадкова величина - наробіток на відмову
підкоряється експоненціальному закону розподілу ймовірностей.
Рисунок 5 - Структурна схема надійності
Таблиця 3.1 -
Показники надійності елементів схеми надійності
|
1345789101112
|
|
|
|
|
|
|
|
|
|
|
|
0,340,280,250,250,180,120,10,020,0140,014
|
|
|
|
|
|
|
|
|
|
|
|
14108811108407070
|
|
|
|
|
|
|
|
|
|
|
Виконується поетапне еквівалентування структури об'єднанням послідовно і
паралельно з'єднаних елементів.
З’єднуємо послідовно 1 і 4 вітки:
Частота відмов системи:
Середній час відновлення системи:
Коефіцієнт змушеного простою:
Коефіцієнт готовності
Розглянемо двополюсний зв’язний нероздільний граф. Перевіряємо, чи
можливо надійність системи визначити по надійності її мінімальних перетинів.
Рисунок 6 - Двополюсний зв’язний нероздільний граф
годин
годин
Визначимо сукупність мінімальних перетинів, утворених цим графом.
Складаємо матрицю безпосередніх зв’язків вершин і ребер графу.
Таблиця 3.2 - Визначення перетинів
|
Підграфи
|
N=1
|
N=2
|
N=3
|
|
|
Вершини підграфів
|
A
|
AC
|
AD
|
ACE
|
ACF
|
ACD
|
ADF
|
|
|
Ребра
|
14,3
|
3, 7,8,5
|
14,3 3,5,9
|
14,3 14,7,8,5
7,10,11
|
14,3 14,7,8,5
9,8,10,12
|
14,3 14,7,8,5 3,5,9
|
14,3 3,5,9
9,8,10,12
|
|
|
Перетини
|
14,3
|
3,7,8,5
|
14,5,9
|
3,8,5,10,11
|
3,7,5,9,10,12
|
7,8,9
|
14,5,8,10,12
|
|
|
Підграфи
|
N=4
|
N=5
|
|
Вершини підграфів
|
ACEF
|
ACDF
|
ADCE
|
ACDEF
|
|
Ребра
|
14,3 14,7,8,5
7,10,11 9,8,10,12
|
14,3 14,7,8,5 3,5,9
9,8,10,12
|
14,3 3,5,9 14,7,8,5
7,10,11
|
14,3 14,7,8,5 3,5,9
7,10,11 9,8,10,12
|
|
Перетини
|
3,5,9,11,12
|
7,10,12
|
9,8,10,11
|
11,12
|
|
|
|
|
|
|
|
|
|
|
|
|
|
Вибираємо мінімальні перетини з множини отриманих перетинів.
Для цього всі перетини представляємо в порядку зростання числа елементів.
Таблиця 3.3 - Вибір мінімальних перетинів
1
|
2
|
3
|
4
|
5
|
6
|
7
|
|
Перетини
|
14,3
|
3,7,8,9,5, 7,10,12
|
14,5,9
|
3,8,5,10,11
|
3,7,5,9,10,12
|
7,8,9
|
14,5,8,10,12
|
Продовження таблиці 3.3
|
8
|
9
|
10
|
11
|
|
3,5,9,11,12
|
7,10,12
|
9,8,10,11
|
11,12
|
Уточнюємо, чи не містяться в перетинах з великим числом
елементів перетини з меншим числом елементів. Якщо містяться, то перетини з
великим числом елементів виключаються, тобто виключаємо перетини 5 та 8 ( в
ньому містяться перетини 9 та 11 відповідно ).
Таблиця 3.4 - Мінімальні перетини
|
№ мінімального
перетину
|
1
|
2
|
3
|
4
|
5
|
6
|
7
|
8
|
|
Мінімальні перетини
|
14,3
|
3,7,8,5
|
14,5,9
|
3,8,5,10,11
|
7,8,9
|
14,5,8,10,12
|
7,10,12
|
9,8,10,11
|
Продовження таблиці 3.4
Перетини, які містять більше 3-х елементів вважаємо абсолютно
надійними.
Рисунок 7 - Схема заміщення структури надійності
Знайдемо показники надійності перетинів, для паралельно
з’єднаних елементів і показники надійності для всієї системи по послідовно
з’єднаних мінімальних перетинах.
Розглянемо перетин №1:
Розглянемо перетин №2:
Розглянемо перетин №3:
Розглянемо перетин №4:
Розглянемо перетин №5:
Частота відмов системи
Середній час відновлення системи
Коефіцієнт змушеного простою
Коефіцієнт готовності
Середній час безвідмовної роботи
Імовірність відмови системи за рік
Висновок: В цьому завданні розраховуємо показники надійності
системи, очевидно що надійність системи електропостачання досить велика,
значною часткою це обумовлено тим, що у розгалуженій системі при виходу з ладу
одного чи декількох елементів їх навантаження беруть на себе інші і система
загалом залишається роботоспособною.[5]
. ЗАВДАННЯ 3
Від трансформаторної підстанції на промисловому підприємстві одержують
електроенергію чотири ділянки цеху. Закони розподілу випадкових величин -
навантажень ділянок з параметрами
.
Кореляційний зв’язок між випадковими величинами ( навантаженнями
ділянок ) характеризується матрицею коефіцієнтів кореляції
.
Визначити максимальні активні потужності ділянок, імовірність
перевищення яких
.
Визначити максимальну активну потужність трансформаторної підстанції,
імовірність перевищення якої
,
врахувавши, що закон розподілу потужності підстанції також нормальний.
Порівняти максимальну потужність підстанції із сумою максимальних
потужностей ділянок. Як зміниться співвідношення між цими потужностями, якщо
вважати, що кореляційний зв’язок між навантаженнями ділянок відсутній?
Визначити ймовірність перебування значень активної потужності в
заданому інтервалі потужностей.
Таблиця 4.1 - Вихідні дані
|
№ варіанта
|
т1 , кВт
|
m2 , кВт
|
m3 , кВт
|
m4 , кВт
|
s1 , кВт
|
s2 , кВт
|
s3 , кВт
|
s4 , кВт
|
g
|
Інтервал Р, кВт
|
|
32
|
2200
|
2800
|
2450
|
2600
|
210
|
180
|
190
|
200
|
0,05
|
9800-11800
|
Матриця коефіцієнтів кореляції
Рисунок 8 - Трансформаторна підстанція
Імовірність події перевищення активної потужності максимальної
потужності
Випадкова величина
підчиняється
нормальному закону розподілення імовірності.
-
це число знаходимо по стандартним нормальним таблицям.
По таблицям стандартного нормального закону розподілу імовірностей.
,
де
- кратність розсіювання:
Тоді
Знайдемо максимальну активну потужність навантаження кожної ділянки
трансформаторної підстанції.
Знайдемо дійсну максимальну потужність трансформаторної підстанції.
Математичне очікування:
Коефіцієнт кореляції
де
- кореляційний момент
Дисперсія із врахуванням кореляційних моментів:
Знайдемо максимальну активну потужність трансформаторної підстанції,
імовірність перевищення якої g ,
враховуючи, що закон розподілу потужності підстанції нормальний.
Коефіцієнт одночасності:
Проведемо розрахунок без врахування кореляційних зв’язків.
Коефіцієнт одночасності:
Імовірність попадання випадкової величини
в заданий інтервал:
Висновок: в третьому завданні ми розраховуємо потужність
трансформаторної підстанції і її окремих ділянок, максимальна активна
потужність трансформаторної підстанції складається з суми максимальних активних
потужностей навантажень ділянок, також залежить від імовірністі того, скільки
електроприймачів увімкнено у даний момент, або який закон розподілу потужності
підстанції. Закон розподілу навантаження між електроприймачами залежить від
багатьох факторів: технологічного процесу, доби року, часу суток. Залежність
розподілу потужності між електроприймачами проявляється через кореляційний зв'язок
між навантаженнями ділянок та визначається матрицею коефіцієнтів кореляції.
Список використаних джерел
1. Идельчик
В.И. Электрические системы и сети. - М.: Энергоатомиздат, 1989. - 542 с.
2. Надежность
систем электроснабжения /В.В.Зорин и др. - К.:
Вища шк., 1984.-192 с.
3. Невольніченко
В.М., Бесараб А.Н. Методичні вказівки та завдання до курсової роботи з
дисципліни «Математичні задачі енергетики» . - Одеса., ОНПУ., 2004. - 31 с.
4. Перхач
В.С. Математичні задачі електроенергетики. - Л.: Вища шк., 1989. - 464 с.
. Расчеты
и анализ режимов работы сетей /Под ред.
В.А.Веникова. - М.: Энергия, 1974. - 336 с.
6. Электроэнергетические
системы в примерах и иллюстрациях
/Под ред. В.А.Веникова. - М.: Энергоиздат, 1983. - 504 с.