Котельні установки промислових підприємств
ЗМІСТ
Вступ
Опис конструкції парового котла Е-72-4,2-440 КТ( БКЗ -
75- 39ФБ) 6
. Тепловий розрахунок парового котла
.1 Газовий розрахунок котла
.1.1 Елементарний склад палива
.2 Визначення теоретичних об’ємів повітря та димових
газів
.2.1 Присмоки повітря в котлах та пилосистемі
.2.2 Ентальпії димових газів
.3 Розрахунок теплового балансу котла та визначення
витрати палива
.4 Розрахунок топки (повірковий)
.4.1 Конструктивні характеристики
.4.2 Розрахунок теплообміну в топці
.5 Теплосприйняття фестону
.6 Розрахунок пароперегрівника (ПП)
.6.1 Розрахунок 1 ступеню пароперегрівника по ходу
димових газів
.6.2 Температурний напір пароперегрівника
(паралельно-змішанний потік)
.6.3 Конструктивні характеристики 2 ступеню
пароперегрівача
.6.4 Коефіцієнт теплопередачі пароперегрівача
.7 Розрахунок повітропідігрівника
.7.1 Конструктивні характеристики повітропідігрівника
.7.2 Коефіцієнт теплопередачі повітропідігрівника
.8 Розрахунок водяного економайзера
.8.1 Конструктивні характеристики ВЕ
.8.2 Коефіцієнт теплопередачі водяного економайзера
.9 Неузгодження теплового балансу парового котла
. Аеродинамічний розрахунок газового тракту в межах
парового котла
.1 Вихідні дані для аеродинамічного розрахунку
.2 Аеродинамічний опір газоходів конвективних
поверхонь нагріву.
.3 Cамотяга котла в межах газового тракту
. Розрахунок на міцність
.1 Розрахунок товщини стінки барабану
.1.2 Коефіцієнт міцності барабану.
.1.3 Розрахункова товщина стінки без прибавки С
.2 Розрахунок товщини стінки екранної трубки
Висновок
Список використаної літератури
Вступ
Енергетика всієї країни - це величезне господарство, яке
включає підприємства з видобутку та транспорту енергетичних ресурсів, з
перетворення одних видів енергії в інші, по транспортуванню енергії, ремонтні
підприємства, наукові та проектні інститути та багато іншого. Усі разом вони
утворюють велику енергетичну систему, яка включає п’ять систем енергетики:
електроенергетичну, ядерно-енергетичну, нафто постачальну, газопостачальну,
вуглепостачальну.
На даний момент енергетична промисловість України знаходиться
у скрутному становищі. На даний момент більша частина енергетичного
устаткування електростанцій України технічно застаріло і потребує модернізації
або заміни. Але введення нових енергетичних потужностей ведеться повільними темпами,
так як великих коштів, потрібних для цього, енергетичні компанії не мають, а
державні дотації невеликі.
В цих умовах актуальною являється задача підтримання у робото
спроможному стані та модернізації вже існуючого енергетичного устаткування, у
тому числі і тих котлів, що є на електростанціях України.
Курсовий проект включає два основні розділи: розрахунковий та
графічний. Розрахунковий складається з наступних частин: визначення об’ємів та
ентальпій повітря і продуктів згорання палива; зведення теплового балансу і
визначення коефіцієнта корисної дії та витрати палива; теплового розрахунку
топки та конвективних поверхонь нагріву (фестона, пароперегрівника, водяного
економайзера, повітропідігрівника), а також визначення аеродинамічних опорів
газового тракту; визначення характеристик на міцність поверхонь нагріву та
елементів парового котла.
Графічний розділ включає два аркуші креслень, на яких
накреслено поздовжній та поперечний розрізи котла.
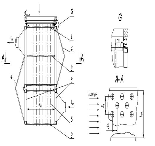
ОПИС КОНСТРУКЦІЇ ПАРОВОГО КОТЛА Е-72-4,2-440 КТ (БКЗ-75-39
ФБ)
Паровий котел Барнаульського котлобудівельного заводу барабанного типу
з природною циркуляцією, призначений для виробництва 72 т/год пари при тиску
4,2 МПа, температурі 440
.
Компоновка парового котла - П-подібна. Горизонтальний газохід з’єднує
вертикально розташовану топку та конвективну шахту.
Топка - камерна, призначена для факельного спалювання пиловидного
палива. На внутрішніх сторонах стін топки розташовані екрани, виконані з труб Ø60
3 мм. У вихідному вікні розташований 4-х рядний
фестон, утворений шляхом просторового розводу труб заднього екрану. Нижня
частина топки утворює „холодну воронку”, по нахиленим стінкам якої шлак у
вигляді твердих кусків скачується в шлакову шахту, потім у систему
гідро-золовидалення.
На фронтовій стіні топки розташовані два двохулиточні вихрові пальники.
У конвективній шахті розташовані повітропідігрівник та водяний
економайзер.
Повітропідігрівник - рекуперативного типу, одноступеневий,
трьохходовий, виконаний з труб Ø40
1,5
мм. Верхній пакет виконаний двоходовим, нижній пакет - одноходовим. Таке
розподілення спрощує демонтаж нижньої частини, яка у більш значній мірі
піддається дії низькотемпературної сірчаної корозії. Секції повітропідігрівника
встановлені на поперечних балках каркаса та жорстко закріплені. Розширення
секцій відбувається вверх. Свобода розширення та герметичність забезпечується
компенсаторами теплових розширень, які змонтовані у верхній частині секцій та на
перепускних повітроводах.
Водяний економайзер - сталевий, гладкотрубний, змійовики з шаховим
розташуванням труб Ø32
3
мм. Кінці труб водяного економайзера вварені в колектор: верхній та нижній.
Змійовики водяного економайзера кріпляться до стійок, які спираються на
поперечні балки каркаса. Для зниження температури балок зовнішня їх сторона
вкрита теплоізоляцією, а з середини балки охолоджуються повітрям.
У горизонтальному газоході розташований 2-х ступеневий пароперегрівник,
виконаний з труб Ø38
3 мм. Перша (по ходу газів) ступінь розташована
безпосередньо за фестоном. Для запобігання шлакування перший ряд цієї ступені
розведений з більшим кроком. Друга (по ходу газів) складається з 4-х пакетів,
з’єднаних між собою системою колекторів та перепускних труб. Між першою та
другою ступенями встановлений поверхневий пароохолоджувач, який призначений для
регулювання температури перегрітої пари.
Циркуляційна система парового котла складається з барабана, колекторів,
під’ємних обігрівних екранних труб, опускних не обігрівних труб та
вертикального виносного циклона. Барабан спирається на поперечні балки каркаса
у двох точках. Передня опора - рухлива, забезпечує розширення барабана при
зміні температури, задня - нерухлива. У середині барабана встановлені
сепараційні пристрої, призначені для видалення з пари краплин котлової води.
Покращення якості пари досягається також застосуванням виносних циклонів,
розташованих на бічних стінках топочної камери.
Нижні колектори топочних екранів закріплені рухливо, що забезпечує
термічне розширення екранної системи труб зверху вниз. Для запобігання
випинання екранних труб в топку при їх нагріванні передбачена система кріплення
труб до каркасу.
Конструкція кріплення передбачає безперешкодне переміщення екранних
труб по довжині.
Обмуровка топки - трьохшарова. Перший (зі сторони топки) шар виконаний
з вогнестійкої цегли, другий - з діатоміта, третій - совелітовий шар. Поверх
обмазки обмуровка закрита сталевими листами. Обмуровка горизонтального та
поворотного газоходів також трьохшарова з подальшою обшивкою сталевими листами.
Газохід повітропідігрівника та газоходи гарячого повітря - теплоізольовані
асбозуритом.
Для обслуговування парового котла в стінах топки та газоходів
встановлені віконця, люки та лази. У верхній частині топки та горизонтального
газоходу встановлені вибухові клапани, що захищають обмуровку від руйнування
при вибухоподібному горінні палива у топці. Паровий котел забезпечений
запобіжною, контрольною, регулюючою та запірною арматурою. На барабані парового
котла встановлені два запобіжні клапани: один робочий, другий - резервний.
Паровий котел має контрольно-вимірювальні прилади та систему автоматичного
регулювання.
В паровому котлі застосована урівноважена схема тяги та дуття.
Повітряний та газовий тракт з’єднані між собою послідовно. Перехід від одного
до другого здійснюється в об’ємі топочної камери. Повітря транспортують
дуттєвим вентилятором, і повітряний тракт на ділянці „вентилятор-топка”
знаходиться під тиском вище атмосферного. Продукти згорання транспортуються
димососом, що розташований після котла, в зв’язку з чим топка та всі газоходи
знаходяться під розрідженням.
Каркас парового котла виконаний з сталевих колон, балок, з’єднань.
Каркас утворює просторову конструкцію, до якої кріпляться усі елементи парового
котла.
Рисунок 1 - Паровий котел БКЗ-75-39 ФБ
1. ТЕПЛОВИЙ РОЗРАХУНОК ПАРОВОГО КОТЛА
.1 Газовий розрахунок котла
.1.1 Елементарний склад палива
Таблиця 1.1 Розрахункові характеристики палива (табл. № 1
стор.129 [1])
|
Вид, родовище,
марка палива
|
Робоча маса палива
|
|
Донецький басейн,
марка А
|
Wp
|
Ap
|
Sp
|
Cp
|
Hp
|
Np
|
Op
|
S
|
|
8,5
|
34,8
|
1,5
|
52,2
|
1,0
|
0,5
|
1,5
|
100
|
|
Температура початку
плавлення золи t1,°С
|
1100
|
|
Нижча теплота
згоряння палива 18,23
|
|
|
Вихід летючих
речовин 4
|
|
1.2 Визначення теоретичних об’ємів повітря та димових
газів (a=1)
Теоретичний об’єм повітря

Теоретичний об’єм димових газів:
трьохатомних газів:

двохатомних газів:

водяної пари:
1.2.1 Присмоки повітря в котлах та пилосистемі
Таблиця 1.2 Розрахунок надлишків повітря та присмоків у газоходах котла
(табл. XVII стор.171-172 [1])
|
Найменування
газоходу
|
Присмок повітря в
газоході
|
Надлишок повітря за
поверхнею нагріву
|
|
Топка, фестон
|
Daт=0,1 Daф=0
|
aт=aг+Daт =1,2; aф=aг+Daф =1,2;
|
|
Пароперегрівник
(ПП)
|
Daпп=0,03
|
aпп=aф+Daпп=1,23;
|
|
Водяний економайзер
(ВЕ)
|
Daве=0,02
|
aве=aпп+Daве=1,25
|
|
Повітропідігрівник
(Пов. П)
|
Daпов.п=0,03
|
aпов.п=aве+Daпов.п=1,28
|
|
Пилосистема, млин
(ПС)
|
Daпс=0,04
|
|
Таблиця
1.3 Розрахунок дійсних об’ємів повітря та димових газів
Величина та розрахункова формула Розмірність
;
;
|
; ;
|
|
|
|
Газохід
|
|
|
Топка
|
ПП
|
ВЕ
|
Пов.П.
|
|
-
|
aт
|
aпп
|
aве
|
aпов.п
|
|
Коефіцієнт надлишку
повітря в кінці поверхні нагріву
aI-1,21,231,251,28
|
|
|
|
|
|
|
Середній коефіцієнт
надлишку повітря -1,21,2151,241,265
|
|
|
|
|
|
|
Дійсний об’єм
двохатомних газів (N2) м3/кг4,8624,9365,0585,181
|
|
|
|
|
|
|
Дійсний об’єм
водяної пари м3/кг0,31580,3170,3180,321
|
|
|
|
|
|
|
Дійсний об’єм газів
м3/кг6,15786,2336,3566,482
|
|
|
|
|
|
|
Об’ємна доля
трьохатомних газів -0,1590,1570,1540,151
|
|
|
|
|
|
|
Об’ємна доля
водяної пари -0,0510,05090,0500,0495
|
|
|
|
|
|
|
Сумарна об’ємна
доля RO2 та H2O -0,210,220790,2040,2005
|
|
|
|
|
|
|
Маса димових газів кг/кг8,3478,4438,6038,764
|
|
|
|
|
|
|
Доля уносу золи aун
(табл. XVIII с. 173 [1])
|
-
|
0,950
|
0,950
|
0,950
|
0,950
|
|
Концентрація золи у
димових газах кг/кг0,040,0390,0380,0377
|
|
|
|
|
|
1.2.2 Ентальпії димових газів та повiтря
Таблиця 1.4
таблиця (табл. XV, стор.154 [1])


Iзл
, де
,
|
при
|
|
|
|
|
|
°С
|
  aт, фaппaвеaпов.п
|
|
|
|
|
|
|
|
|
|
|
Iг
|
DIг
|
Iг
|
DIг
|
Iг
|
DIг
|
Iг
|
DIг
|
|
100
|
719
|
651
|
80,8
|
|
|
|
|
|
|
901
|
|
|
|
|
|
|
|
|
|
|
|
|
925
|
|
200
|
1458
|
1308
|
169,1
|
|
|
|
|
|
|
1824
|
|
|
|
|
|
|
|
|
|
|
|
|
961
|
|
300
|
2229,5
|
1984
|
264
|
|
|
|
|
2726
|
|
2785
|
|
|
|
|
|
|
|
|
|
|
940
|
|
|
|
400
|
3001
|
2660
|
360
|
|
|
|
|
3666
|
|
|
|
|
|
|
|
|
|
|
|
|
992
|
|
|
|
500
|
3816
|
3366,5
|
458
|
|
|
4590
|
|
4658
|
|
|
|
|
|
|
|
|
|
|
978
|
|
991
|
|
|
|
600
|
4631
|
4073
|
560
|
|
|
5568
|
|
5649
|
|
|
|
|
|
|
|
|
|
|
1021
|
|
|
|
|
|
700
|
5483,5
|
4809
|
662
|
|
|
6589
|
|
|
|
|
|
|
|
|
|
|
|
|
1023
|
|
|
|
|
|
800
|
6336
|
5546
|
767
|
|
|
7612
|
|
|
|
|
|
|
|
|
|
|
|
|
1062
|
|
|
|
|
|
900
|
7223,5
|
6305
|
875
|
8484
|
|
8674
|
|
|
|
|
|
|
|
|
|
|
1040
|
|
|
|
|
|
|
|
1000
|
8111
|
7065
|
984
|
9524
|
|
|
|
|
|
|
|
|
|
|
|
|
1056
|
|
|
|
|
|
|
|
1100
|
9013
|
7835
|
1097
|
10580
|
|
|
|
|
|
|
|
|
|
|
|
|
1056
|
|
|
|
|
|
|
|
1200
|
9915
|
8606
|
1206
|
11636
|
|
|
|
|
|
|
|
|
|
|
|
|
1072
|
|
|
|
|
|
|
|
1300
|
10829
|
9396
|
1361
|
12708
|
|
|
|
|
|
|
|
|
|
|
|
|
1072
|
|
|
|
|
|
|
|
1400
|
11743
|
10187
|
1583
|
13780
|
|
|
|
|
|
|
|
|
|
|
|
|
1094
|
|
|
|
|
|
|
|
1500
|
12677
|
10988
|
1759
|
14874
|
|
|
|
|
|
|
|
|
|
|
|
|
1095
|
|
|
|
|
|
|
|
1600
|
13611
|
11789
|
1876
|
15969
|
|
|
|
|
|
|
|
|
|
|
|
|
1109
|
|
|
|
|
|
|
|
1700
|
14559
|
12590
|
2064
|
17078
|
|
|
|
|
|
|
|
|
|
|
|
|
1108
|
|
|
|
|
|
|
|
1800
|
15508
|
13391
|
2186
|
18186
|
|
|
|
|
|
|
|
|
|
|
|
|
1124
|
|
|
|
|
|
|
|
1900
|
16468
|
14212
|
2387
|
19310
|
|
|
|
|
|
|
|
|
|
|
|
|
1126
|
|
|
|
|
|
|
|
2000
|
17429
|
15034
|
2512
|
20036
|
|
|
|
|
|
|
|
|
|
|
|
|
|
|
|
|
|
|
|
Приведена зольність
.
Так як приведена зольність більше шести теплоємкість золи враховуємо.
1.3 Розрахунок теплового балансу
котла та визначення витрати палива
Таблиця 1.5
|
Найменування
величини
|
Показ-ник
|
Розмір- ність
|
Формула, або
визначення
|
Результат
|
|
Повна кількість
тепла, що внесена у котел (розподільне тепло)
|
  16,23
|
|
|
|
|
Тепло, внесене в
котел повітрям, підігрітим зовнішнім джерелом тепла
|
  ;0
|
|
|
|
|
Коефіцієнт надлишку
повітря на вході у повітронагрівник
|
 ; 1,09
|
|
|
|
|
Ентальпія повітря
на вході в повітропідігрівник
|
 f(повітря, ), таблиця 1.4;
|
|
|
|
|
Ентальпія холодного
повітря
|
 f(повітря, ), таблиця 1.4;163
|
|
|
|
|
Фізичне тепло
палива
|
  ;0
|
|
|
|
|
Тепло форсункової
пари
|
 Враховується
при спалюванні мазуту;0
|
|
|
|
|
Тепло, витрачене на
розклад карбонатів
|
 Враховується
при спалюванні сланців;0
|
|
|
|
|
ККД котла брутто
|
%100-q2-q3-q4-q5-q6 ;
|
87,5
|
|
|
|
Витрати палива: з
хімічним недопалом
|
q3
|
%
|
f (паливо, Dпп), табл..
XVIII, с.173[1];
|
0
|
|
|
|
|
0
|
|
з механічним
недопалом
|
q4
|
%
|
f(паливо, Dпп),
табл.. XVIII, стор.173 [1];
|
5
|
|
від зовнішнього
охолодження
|
q5
|
%
|
f(Dпп), рис. 5.1
стор. 30 [1] ;
|
0,8
|
|
з фізичним теплом
шлаків
|
q6
|
%
|
, табл.XIV стор. 153 [1];0
|
|
|
з газами, що
відходять
|
q2
|
%
|
6,7
|
|
|
Ентальпія
відходячих газів
|
Iвід
|
 табл.1.4;1499,2
|
|
|
|
Витрата палива
|
B
|
кг/с
|
3,43
|
|
|
Кількість тепла,
корисно використана в котлі
|
Qка
|
кВт
|
Dпп(іпп-іжв)+Dнп(інп-іжв)+Dпр(ікип-іжв)
|
54686,2
|
|
Ентальпії:
перегрітої пари
|
f(рпп,tпп), табл. XXV стор. 184 [1];3301,9
|
|
|
живильної води іжв
f(ржв=1,2рпп;tжв),
|
табл. XXIV стор.181
[1];656,93
|
|
|
|
|
насиченої пари
|
інп
|
f(рб=1,1рпп), табл. XXIII стор.179 [1];2795,2
|
|
|
киплячої води ікип
f(рб),
табл.XXIII, стор. 179 [1];
|
1142
|
|
|
|
|
Розрахункова
витрата палива
|
Bр
|
кг/с
|
3,26
|
|
|
Коефіцієнт
збереження тепла
|
j
|
|
|
0,99
|
1.4 Розрахунок топки (повірковий)
.4.1 Конструктивні характеристики
Таблиця 1.6
|
Ширина топки по
фронту
|
b
|
м
|
Приймаємо 5,5 - 8м
(b>a);
|
6,65
|
|
Глибина топки
|
а
|
м
|
Приймаємо 4,5 - 6м;
|
5,6
|
Максимально допустима теплова напруга топкового об’єму qдV
f(паливо, тип топки, Dпп),
|
табл. XXVIII
стор.173 [1];175
|
|
|
|
|
Мінімальна висота
топки
|
hтmin
|
м
|
9,6
|
|
Площа поверхні бічної стіни топки Fб м2 F1+F2+F3+F4,
де
64,56
,3
,2
,85
|
2,21
|
|
|
|
Площа поверхні
фронтової стіни топки
|
Fфр
|
м2
|
(l1+l2+l3+l4)b
|
117,2
|
|
Площа поверхні
задньої стіни топки
|
FЗ
|
м2
|
(h2+l3+l4+l5)b
|
82,3
|
|
Площа поверхні
вікна фестону
|
Fвф
|
м2
|
cb=
|
26,6
|
|
Загальна площа
поверхні котла
|
Fст
|
м2
|
Fфр+FЗ+Fвф+2Fб=
|
355,2
|
|
Діаметр труб екрану
|
d
|
мм
|
Сортамент труб;
|
60
|
|
Товщина стінки
|
δ
|
мм
|
Сортамент труб;
|
3
|
|
Відстань від
протилежної стінки до осі крайньої труби
|
m
|
м
|
Приймаємо
|
0,2
|
|
Відстань від осі
екранних труб до стіни
|
e
|
м
|
0,048
|
|
|
Об’єм топки
|
Vт
|
м 3
|
Fбb=
|
429,3
|
|
Висота топки
|
hт
|
м
|
11,53
|
|
|
Крок труб: -
фронтової стіни; - задньої стіни; - бічної стіни
|
Sфр Sз Sб
|
мм мм мм
|
d σфр = 1,3d; d σз = 1,25d; d σб = 1,3d;
|
78 75 78
|
Кількість труб екранованої стіни: - фронтової стіни; - задньої стіни; -
бічної стіни Zфр Zз Zб
81
|
68
|
|
|
|
Ефективна товщина випромінюючого
шару
|
S
|
м
|
4,35
|
|
Заекранована площа поверхні : - фронтової стіни - задньої стіни -
бічної стіни - вікна фестону
з
м2
м2
м2
м2Fфр-2m(l1+ l2+ l3+ l4);з-2m (h2+ l3+ l4-l5)б-m(l2+ h2);вф
,2
,4
,2
|
26,6
|
|
|
|
|
|
Променесприймаюча
поверхня нагріву екранів Таблиця 1.7
|
|
Кутовий коефіцієнт
екрану: (номограма 1а, стор.214 [1]) фронтовий заднього бічного вікна фестону
Променесприймаюча поверхня екранів
|
χфр χз χб χвф
|
|
(пп.6.06, стор. 37
[1]); f(l/d
= 0,8; σфр); f(l/d
= 0,8; σз); f(l/d
= 0,8; σвф);
|
0,96 0,98 0,96 1
|
|
м2 105,8
|
|
|
|
|
м2
|
75,8
|
|
|
|
м2
|
;58,8
|
|
|
|
м2
|
 ;26,6
|
|
|
|
Загальна
променесприймаюча поверхня топки
|
м2
|
325,8
|
|
|
|
Ступінь екранування
топки
|
χ
|
|
Hп / Fст=
|
0,92
|
|
Коефіцієнт зниження
тепловосприйняття при забрудненні труб стінок
|
|
табл. 6.3 , стор.
42[1];
|
0,45
|
|
|
|
|
|
|
|
|
Середнє значення теплової ефективності екранів Ψср
.
1.4.2 Розрахунок теплообміну в топці
Таблиця 1.8
Приймаємо температуру на виході з топки
°СВугілля Донецького басейну
|
все інше1000
|
|
|
|
|
|
Ентальпія димових
газів на виході з топки
|
  ;9849,3
|
|
|
|
|
Корисне
тепловиділення в топці
|
  20141
|
|
|
|
|
Теплота, що
надходить до топки з повітрям
|
пов 1910,9
|
|
|
|
|
Ентальпія на виході
з повітропідігрівника
|
   ;1781,2
|
|
|
|
|
Теплота, яке
надходить з повітрям, підігрітим стороннім джерелом
|
п.зовн див.
п.1.3;0
|
|
|
|
|
Теплота
рециркуляції
|
рец 0
|
|
|
|
Адіабатична температура
а°Кυа +273 ; υа = f (Qт, αт), табл.№1.4;
|
2177
|
|
|
|
|
|
Середня сумарна
теплоємкість димових газів
|
(VC)ср
|
 8,7
|
|
|
|
Сумарний коефіцієнт
послаблення промінів
|
k
|
kгrп + kзлμзл + kкоксμкокс2,13
|
|
|
Коефіцієнт поглинання променів газовою фазою продуктів згорання kгrп 
ном. 2; стор. 215 [1]; або
|
де ;1,2
|
|
|
Коефіцієнт поглинання променів золовими частками kзлμзл 
де
Aзл по табл.6-1 стор. 38 [1], де: кам’яне вугілля
,78
Коефіцієнт поглинання променів коксовими частками kкоксμкокс
кам’яне
вугілля
|
по табл.6-2 стор.
38 [1];0,2
|
|
|
Параметр, що визначає розміщення максимального тепловиділення в топці М -
де М0 = 0,42 п.6.18 стор. 40 [1];
|
0,4
|
|
Параметр забаластованості димових газів rv -
,
|
де r- коефіцієнт
рециркуляції;1,085
|
|
|
|
Критерій Бугера
|
- 0,93
|
|
|
|
Ефективне значення критерія Бугера
-
|
або ном.3, стор.
216 [1];0,97
|
|
|
|
|
|
Дійсна температура
на виході з топки
|
°С 1028
|
|
|
|
Перевірка. Розрахована температура на виході з топки знаходиться в
проміжку
100°С
|
=±100°С
|
|
|
|
|
|
Ентальпія димових
газів на виході з топки
|
  ;9872
|
|
|
|
|
Теплосприйняття
топки
|
  =10166,3
|
|
|
|
1.5 Теплосприйняття фестону
Таблиця 1.9
Крок труб у фестоні: - поперечний -поздовжній
м
м
|
приймаємо = 200
мм0,2
|
|
|
|
|
|
Перепад температур
на фестоні
|
°С80 - 100°С;80
|
|
|
|
|
Температура газів
на виході з фестону
|
°С ; 948
|
|
|
|
|
Ентальпія газів за
фестоном
|
  ;8930
|
|
|
|
|
Теплосприйняття
фестону
|
ф . 831
|
|
|
|
1.6 Розрахунок пароперегрівника (ПП)
- пароохолоджувач; 2 - змішуючий колектор; 3 - вихідний
колектор пароперегрівника; 4 - вхідні колектори правого та лівого пакетів; 5 -
фестон; 6 - барабан
Рисунок 3 - Схема двоступеневого трубного пароперегрівника
Таблиця 1.10 - Розрахунок пароперегрівника (ПП)
|
Теплосприйняття
пароперегрівника в цілому
|
  2772,7
|
|
|
|
|
Теплосприйняття
пароохолоджувача
|
 50
- 8050
|
|
|
|
|
Теплосприйняття ПП з
топки крізь фестон (променева теплота)
|
  198
|
|
|
|
|
Коефіцієнт
нерівномірності по висоті топки
|
hв
|
|
f(h/hт=1) h-висота
розташування фестону, табл.. 8.3, стор. 81 [1];
|
1
|
|
Кутовий коефіцієнт
фестону
|
ном. 1г, шаховий трубний пучок, стор. 214 [1];0.72
|
|
|
|
|
Ентальпія димових
газів на виході ПП
|
  6074
|
|
|
|
|
Температура димових
газів на виході з ПП
|
˚С ,
табл. 2.5;660
|
|
|
|
- пароохолоджувач; 2 - змішуючий колектор; 3 - вихідний
колектор пароперегрівника; 4 - вхідні колектори правого та лівого пакетів;
Рисунок 4 - Схема руху пари в пароперегрівнику
1.6.1 Розрахунок І ступені
пароперегрівника по ходу димових газів (перевірочний, скорочений)
Таблиця 1.11 - Розрахунок I ступені пароперегрівника по ходу
димових газів
|
Теплосприйняття 1
ступеня ПП
|
  1386,4
|
|
|
|
|
Ентальпія продуктів
згорання між 1 та 2 ступінню ПП
|
Іпр
|
 7511
|
|
|
|
Температура
проміжкова
|
проСf(Іпр; aпп),
табл. 2.5;801
|
|
|
|
|
Ентальпія пари на
виході з 1 ступені ПП
|
  3069
|
|
|
|
|
Ентальпія пари на
вході в 2 ступень ПП
|
  3019,1
|
|
|
|
|
Температура пари на
вході в 2 ступень ПП
|
оСf( ;
Р =0.5(Pбар+Pnn)), табл. XXV стор.184[1].329
|
|
|
|
1.6.2 Температурний напір
пароперегрівника (паралельно - змішаний ток)
Таблиця 1.12 - Температурний напір пароперегрівника
|
Різниця температур
у випадку протитоку:
|
|
|
|
|
|
найбільша
|
Dtб
|
оС
|
361
|
|
|
найменша
|
Dtм
|
оС
|
331
|
|
|
Температурний напір
у випадку протитоку
|
Dtпрот
|
оС
|
396,8
|
|
|
Різниця температур
у випадку прямотоку:
|
|
|
|
|
|
найбільша
|
Dtб
|
оС
|
472
|
|
|
найменша
|
Dtм
|
оС
|
219
|
|
|
Температурний напір
у випадку прямотоку
|
Dtпрм
|
оС
|
330
|
|
|
Температурний напір
у ПП
|
Δt
|
оС
|
0.5(Δtпрот+Δtпрям)=
|
338
|
|
Середні температури
теплоносіїв в ПП:
|
|
|
|
|
|
димових газів
|
оС 730
|
|
|
|
|
пари
|
t оС0.5×(t + )383
|
|
|
|
Рисунок 5 - Схема до визначення середнього температурного
напору теплоносіїв ІІ ступені пароперегрівника
1.6.3 Конструктивні характеристики 2
ступеню пароперегрівника
Таблиця 1.13 - Конструктивні характеристики 2 ступеню пароперегрівача
|
Діаметр труб ПП
|
d
|
мм
|
|
38
|
|
товщина стінки
труби
|
мм3
|
|
|
|
|
крок труб ПП :
|
|
|
|
|
|
поперечних
|
S1
|
мм
|
|
98.8
|
|
повздовжніх
|
S2
|
мм
|
|
76
|
Кількість труб у ряді поперек ходу продуктів згоряння Z1
;69
|
|
|
|
Приймаємо висоту
горизонтального газоходу
|
м2.05
|
|
|
|
|
Висота газоходу
зайнятого трубами ПП
|
м 1.9
|
|
|
|
|
Площа живого зрізу
для проходження продуктів згорання
|
Fжз
|
м2
|
10.2
|
|
|
Швидкість продуктів
згорання в газоході
|
  8,4
|
|
|
|
|
Перевірка
|
|
|
W2 > 6 м/с, по
умовам для протoчної частини;
|
8,4>6
|
Площа живого зрізу для проходження пари
м2
де dвн=d-2×
=0.038-0.055
Середній питомий об’єм пари Vср
|
табл. XXV стор.184
- 195[1];0.06577
|
|
|
|
Швидкість пари
|
  23,9
|
|
|
|
1.6.4 Коефіцієнт теплопередачі
пароперегрівника
Таблиця 1.14 - Коефіцієнт теплопередачі пароперегрівача
|
Коефіцієнт
теплопередачі
|
К
|
 ;56,8
|
|
|
|
Коефіцієнт теплової
ефективності
|
табл. 7-4 стор.70 [1];0.65
|
|
|
|
|
Коефіцієнт
тепловіддачі від продуктів згорання до стінки труби
|
  ;93,1
|
|
|
|
Коефіцієнт використання поверхні нагріву
Рахуємо випадок повного
|
омивання п. 7-41
стор.68 [1];1
|
|
|
|
Коефіцієнт тепловіддачі конвекцією 

;
|
ном.7 стор.220-221
[1];66
|
|
|
|
|
|
Поправка на
кількість рядів по ходу продуктів згорання
|
 ;1
|
|
|
|
|
Задамось
коефіцієнтом теплопередачі
|
 Приймаємо50
|
|
|
|
|
Тоді площа поверхні
ПП буде
|
м2 ;367,4
|
|
|
|
|
Кількість труб 2
ступені по ходу продуктів згорання
|
 ;23
|
|
|
|
Коефіцієнт тепловіддачі випромінюванням між трубного простору 

a
де
=120
,
|
ном. 18 стор
238[1];19,75
|
|
|
|
|
|
Температура
забруднень на стінці труби
|
оК
де ;655,5
|
|
|
|
|
Термічний опір
забруднення
|
 ,
рис. 7.15, стор. 70[1];0.001
|
|
|
|
Коефіцієнт тепловіддачі від Труби до пари 

,
Де
по ном. 12 стор. 230[1],
|
;1425
|
|
|
|
|
|
Ефективна товщина
випромінювального шару між трубного об’єму газів
|
м 0.105
|
|
;10,5
|
|
|
|
Коефіцієнт
послаблення променів трьохатомними газами
|
   K;9,11
|
|
|
|
Коефіцієнт послаблення променів частинками золи 

|
Азл = 0.8 - кам’яне
вугілля;1,52
|
|
|
|
|
|
Ступінь чорноти
випромінюваного середовища
|
a
|
|
;0,104
|
|
|
Довжина прилеглого
об’єму
|
мПриймаємо0.7
|
|
|
|
|
Довжина пучка ПП
|
м ;1.037
|
|
|
|
Коефіцієнт тепловіддачі з урахуванням прилеглого газового об’єму 

де
А=0.5 - буре вугілля;
|
А=0.4 -кам’яне
вугілля;27,44
|
|
|
|
Порівнюємо
та
і
знаходимо похибкуσ%
% < 15%,
|
розраховано
вірно;13,5
|
|
|
|
|
|
Реальний коефіцієнт
теплопередачі
|
  ;56,8
|
|
|
|
|
Реальна поверхня
нагріву
|
м2 ;250
|
|
|
|
Реальна кількість труб Z2
.16
паливо пароперегрівник аеродинамічний
температурний
1.7 Розрахунок повітропідігрівника
1,2- верхня та нижня трубні дошки; 3- проміжкова трубна
дошка; 4- повітроперепускні короба; 5- труби повітропідігрівника ; 6- стойки
повітропідігрівника.
Рисунок 6 - Повітропідігрівник
Теплосприйняття повітропідігрівника з боку робочого тіла (повітря) 

βрец=0,
|
1530
|
|
|
|
|
|
Ентальпія присмоків
повітря
|
  862
|
|
|
|
|
Ентальпія димових
газів на вході в Пов.П.
|
  2860
|
|
|
|
|
Температура
продуктів згорання на вході в пов.п
|
оС ,
табл.. 2.5;319
|
|
|
|
|
Середні
температури:
|
|
- продуктів
згорання
|
оС ;234
|
|
|
|
|
- чистого повітря
|
оС 142,5
|
|
|
|
1.7.1 Конструктивні характеристики
повітропідігрівника
Таблиця 1.16 - Конструктивні характеристики
повітропідігрівника
|
Діаметр труб та
товщина стінки
|
мм ;
|
|
|
|
|
Крок труб Пов.П.:
|
|
|
|
|
- поперечних
мм
;
|
;60
|
|
|
|
- повздовжніх
мм
;
|
;44
|
|
|
|
|
|
Швидкість продуктів
згорання в повітропідігрівнику
|
 Приймаємо
9÷139
|
|
|
|
|
Швидкість повітря,
що нагрівається
|
  ;4.5
|
|
|
|
|
Площа живого зрізу
для проходження газів
|
м2 5
|
|
|
|
Загальна кількість труб у повітропідігрівнику Z
|
де dвн=d-2δ4652
|
|
|
|
Кількість труб в
одному ряду поперек ходу повітря
|
Z1
|
|
112
|
|
|
Кількість рядів
труб за ходом повітря
|
Z2
|
|
;40
|
|
|
Глибина
повітропідігрівника
|
aпов.п
|
м
|
S2∙(Z2-1)
|
1,76
|
|
Тепловий напір у
повітропідігрівнику
|
Dt
|
оС
|
;74,67
|
|
|
- найбільша різниця
|
Dtб
|
оС
|
;125
|
|
|
- найменша різниця
|
Dtм
|
оС
|
;53
|
|
|
Температурний напір
протитоку
|
Dtпрот
|
оС
|
83,9
|
|
Коефіцієнт переобліку
ном.
21, крива 3, стор.241 [1];
|
 0,89
|
|
|
|
|
|
Кількість ходів
повітря у повітропідігрівнику
|
n
|
|
Приймаємо 3.
|
3
|
1.7.2 Коефіцієнт теплопередачі
повітропідігрівника
Таблиця 1.17 - Коефіцієнт теплопередачі повітропідігрівника
|
Коефіцієнт
теплопередачі повітропідігрівника
|
  ;18,04
|
|
|
|
Коефіцієнт використання поверхні повітропідігрівника 
;
|
( );0.75
|
|
|
|
|
|
Коефіцієнт
тепловіддачі від продуктів згорання до стінки труби
|
  32,49
|
|
|
|
Коефіцієнт тепловіддачі конвекцією 

;
Ном. 11, стор. 229 [1],
де
;
;
|
;32,49
|
|
|
|
Коефіцієнт тепловіддачі від стінки повітрю 

|
ном. 8, стор. 223
[1];93
|
|
|
|
|
|
Площа поверхні
повітропідігрівника
|
м2 ;3920
|
|
|
|
Висота повітропідігрівника
м
,
|
де ;6.96
|
|
|
|
|
|
Висота одного ходу
|
xм ;2.32
|
|
|
|
|
Площа живого зрізу
для проходу повітря
|
м2 ;5.2
|
|
|
|
|
Дійсна швидкість
повітря
|
  4.9
|
|
|
|
|
Похибка розрахунку
|
% 8,02
|
|
|
|
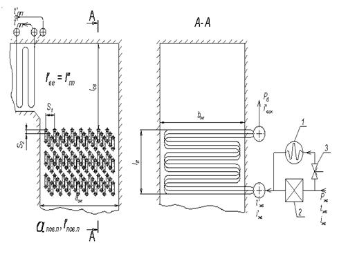
1.8 Розрахунок водяного економайзера
аве - глибина економайзера; bве - ширина економайзера; 1-
пароохолоджувач; 2- дросельний клапан; 3- регулюючий клапан; lп - довжина пучка
по ходу газів lп - довжина прилеглого об’єму
Рисунок 7 - Водяний економайзер
Таблиця 1.18 - Розрахунок водяного економайзера
(конструкторський)
|
Теплосприйняття
водяного економайзера
|
Qве
|
 3184,5
|
|
|
|
Витрати води у
водяному економайзері
|
Dве
|
кг/с
|
Dве=Dпп ;
|
20
|
|
Ентальпія живильної
води на вході у водяний економайзер
|
  ;542,2
|
|
|
|
Температура живильної води на вході в водяний економайзер
оС
,
|
табл. XXIV, стор.
181 [1];129
|
|
|
|
|
|
Ентальпія живильної
води на виході з водяного економайзера
|
 ;1061,3
|
|
|
|
Визначимо тип ВЕ 1)
- економайзер не киплячого типу, розрахунок проводимо
по табл. XXIII стор. 179 [1],
|
де .Економайзер не киплячого типу
|
|
1.8.1 Конструктивні характеристики
ВЕ
Таблиця 1.19 - Конструктивні характеристики ВЕ
|
Діаметр труб
|
d
|
мм
|
Приймаємо
|
32
|
|
Товщина стінки
|
δ
|
мм
|
Приймаємо
|
3
|
|
Крок труб водяного
економайзера :
|
|
|
|
|
|
- поперечних
|
S1
|
мм
|
S1=σ1∙d=3∙32, де σ1 =3;
|
96
|
|
- поздовжніх
|
S2
|
мм
|
S2=σ2∙d=1.9∙32, де σ2 =1.9;
|
60,8
|
|
Масова швидкість
середовища в водяному економайзері
|
600÷800;738
|
|
|
|
|
Площа живого зрізу
для проходження живильної води
|
м2 ;0.0271
|
|
|
|
Загальна кількість труб водяного економайзера, які виходять паралельно
економайзеру Zn
,
|
де dвн=d-2δ=40-2∙3=26 мм;51
|
|
|
|
Кількість труб в
одному ряді поперек ходу димових газів
|
Z1
|
|
Zп/n=51/3, де n =
3;
|
17
|
|
Глибина водяного
економайзера
|
aве
|
|
;1.824
|
|
|
Різниця між аве та
авн
|
|
|
аве - апов.п
|
0.064
|
|
Температурний напір
у випадку протитоку
|
Dtпрот
|
оС
|
286
|
|
|
Різниця температур:
- найбільша
|
Dtб
|
оС
|
407,9
|
|
|
- найменша
|
Dtм
|
оС
|
;190,68
|
|
|
Середні температури
теплоносіїв
|
|
|
|
|
|
- димових газів
|
оС ;489
|
|
|
|
|
- води
|
tср
|
оС
|
.190
|
|
1.8.2 Коефіцієнт теплопередачі
водяного економайзера
Таблиця 1.20 - Коефіцієнт теплопередачі водяного економайзера
Коефіцієнт теплопередачі K 
,
|
формула (7-15в),
стор.50 [1];51,4
|
|
|
|
|
Коефіцієнт теплової
ефективності
|
рис. 7.16 , стор.71 [1];0.65
|
|
|
|
|
Коефіцієнт
тепловіддачі від продуктів згорання до стінки труби
|
  ;79,1
|
|
|
|
|
Коефіцієнт
використання поверхні
|
п. 7.08, стор.50 [1];1
|
|
|
|
|
Коефіцієнт
тепловіддачі випромінюванням між трубного простору
|
  де
аз=0.8-ступінь чорноти забруднень стінок (стор. 67 [1]);6.4
|
|
|
|
|
Температура
забрудненої стіни труби
|
К 522,7
|
|
|
|
Ступінь чорноти a
;
|
ном. 17, стор. 237
[1];0.117
|
|
|
|
Ефективна товщина
випромінювального шару між трубного об’єму газів
|
S
|
м
|
;0.1
|
|
|
Коефіцієнт
поглинання променів
|
k
|
kг rпве + kзл mзл12
|
|
|
|
Коефіцієнт
поглинання променів трьохатомними газами
|
kгrп
|
  ;10,4
|
|
|
Коефіцієнт поглинання променів частинками золи kзлμзл 
де
=0,8 для кам’яного вугілля;
|
=0.75 для бурого вугілля;1,7
|
|
|
Коефіцієнт тепловіддачі з урахуванням прилеглого об’єму по ходу газів 

де
- кам`яне вугілля - 0.4;
|
- буре вугілля - 0.5 ;8,9
|
|
|
|
|
|
Прилеглий об’єм
проходу газів
|
lпр
|
м
|
|
2.5
|
|
Довжина пучка ВЕ
|
l'n
|
м
|
;4.3
|
|
|
Задамось
коефіцієнтом теплопередачі
|
  ;48,5
|
|
|
|
|
Тоді площа поверхні
водяного економайзера
|
м2 ;748
|
|
|
|
Число рядів труб за ходом продуктів згорання 
,
|
66
|
|
|
|
|
|
Швидкість газів
|
Wг
|
 ;8
|
|
|
|
Площа живого зрізу
для проходження продуктів згорання
|
м2авеbве-d(bве-0.1)Z1=8.4
|
|
|
|
Коефіцієнт тепловіддачі конвекцією 

,
|
або ном. 7,
стор.220-221 [1], де ;70,4
|
|
|
|
|
|
Коефіцієнти
теплопередачі розрахунковий та заданий (похибка розрахунку)
|
σве
|
%
|
;6
|
|
|
Дійсна площа
поверхні водяного економайзера
|
Hве
|
м2
|
;685
|
|
Кількість рядів труб по ходу газів Z2
;60
|
|
|
|
Довжина
економайзера
|
мS2(Z2-1)3,587
|
|
|
|
|
Довжина водяного
економайзера повинна бути 1.2 -1.5м, в разі перевищення розділення
економайзера на n-пакетів
|
Приймаю n=3
|
1.9 Неузгодження теплового балансу
парового котла
Неузгодженість теплового балансу:
Похибка:
.
Це свідчить, що розподілення теплових навантажень поверхонь
нагріву виконано вірно.
2. Аеродинамічний розрахунок
газового тракту в межах парового котла
Даний розрахунок виконано в системі СI.
В курсовому проекті аеродинамічний розрахунок виконується
тільки в межах парогенератора по газовій стороні на ділянці розташування
конвективних поверхонь нагріву від виходу з топки до кінця конвективної шахти.
В даному проекті проектуємо парогенератори мають урівноважену тягу, за
якою розрядження на виході з топки
Димосос при транспортуванні димових газів в межах котла утворює тягу
рівну перепаду повних тисків
де
- сумарний опір газового тракту;
-
сумарна самотяга газового тракту.
2.1 Вихідні дані для аеродинамічного
розрахунку
Аеродинамічний розрахунок виконується на основі даних, взятих з
теплового розрахунку.
Таблиця 2.1 - Вихідні дані для аеродинамічного розрахунку
|
Ділянка газового
тракту
|
Діаметр труб, мм
|
Розташування труб
(шахове, коридорне)
|
Число рядів по ходу
газів, Z2
|
Відношення
поперечного шагу до діаметра, S1/d
|
Відношення
повздовжнього шагу до діаметра, S2/d
|
Ψ=(S1-d)/(S2-d)
|
Довжина поздовжньо
омиваємих труб l, м
|
Середня температура
димових газів υ,
˚С
|
Середня швидкість
димових газів WГ, м/с
|
Динамічний тиск hд,
Па
|
Поправочний
коефіцієнт K
|
|
Фестон
|
60
|
Ш
|
4
|
−
|
−
|
−
|
−
|
974
|
−
|
−
|
−
|
|
Пароперегрівник 1-а
ступінь по ходу газів
|
38
|
К
|
8
|
2.6
|
2
|
1.6
|
−
|
801
|
8,4
|
11
|
1.2
|
|
Пароперегрівник 2-а
ступінь по ходу газів
|
38
|
К
|
12
|
2.6
|
2
|
1.6
|
−
|
730
|
8,4
|
14
|
1.2
|
|
Економайзер
|
32
|
Ш
|
61
|
3
|
1.9
|
2.2
|
−
|
489
|
8
|
15,1
|
1.2
|
|
Повітропідігрівник
|
40
|
Ш
|
40
|
1.5
|
1.1
|
5
|
6,96
|
234,5
|
9
|
29
|
2.2 Аеродинамічний опір газоходів
конвективних поверхонь нагріву
Аеродинамічний опір конвективних частин котла складається з
опору в межах поверхонь нагріву та місцевих опорів конвективних газоходів при
поворотах та при зміні перерізу перед і за трубчастим підігрівачем.
З метою спрощення аеродинамічний опір ділянок газового тракту
розраховується по густині повітря, а потім після знаходження сумарного опору
всього газового тракту, враховується поправка на різницю густини димових газів
та повітря, а також на забрудненість димових газів.
2.2.1 Опір фестона
Фестон складається з розрядженого пучка труб з числом рядів -
4 та зі швидкістю не менш ніж 10 м/с. Такий пучок має незначний аеродинамічний
опір, і тому він не враховується в розрахунку тяги.
2.2.2 Опір конвективного
пароперегрівника
Таблиця 2.2 - Опір конвективного пароперегрівника
|
Найменування
величини
|
Показ-чик
|
Розмір- ність
|
Формула, або
визначення
|
Резуль-тат
|
|
Перша ступінь
пароперегрівника за ходом газів
|
Коефіцієнт опору пучка
графік
4, стор.106[2]
|
;0.54
|
|
|
|
|
|
Поправка на число
Рейнольдса
|
СRe
|
|
графік 4,
стор.106[2] f(ψ=1.6;
ξГР=0.645);
|
1,02
|
|
Поправка на
відносні кроки
|
графік 4, стор.106[2] ;0.5
|
|
|
|
|
Коефіцієнт опору
першої ступені пароперегріника за ходом газів
|
 2,2
|
|
|
|
|
Опір першої ступені
пароперегрівника
|
Па 29
|
|
|
|
|
Друга ступінь
пароперегрівника за ходом газів
|
Коефіцієнт опору пучка
графік
4, стор.106[2]
|
0.52
|
|
|
|
|
|
Поправка на число
Рейнольдса
|
СRe
|
|
графік 4,
стор.106[2] f(ψ=1.6;
ξГР=0.54);
|
1.06
|
Поправка на відносні кроки
графік
4, стор.106[2]
|
;0.5
|
|
|
|
|
|
Коефіцієнт опору
другої ступені пароперегрівника за ходом газів
|
 3.3
|
|
|
|
|
Опір другої ступені
пароперегрівника
|
Па .55,6
|
|
|
|
2.2.3 Опір водяного економайзера
Таблиця 2.3 - Опір водяного економайзера
Опір першого ряду труб шахового пучка
Паграфік
5, стор.108[2]
|
;5,5
|
|
|
|
Поправка на відносні кроки
графік
5, стор.108[2]
|
;1
|
|
|
|
Поправка на діаметр
графік
5, стор.108[2]
|
;1
|
|
|
|
|
|
Опір водяного
економайзера
|
Па 492,8
|
|
|
|
2.2.4 Опір повітропідігрівника
Вданому курсовому проекті приймають трубчаті
повітропідігрівники. Розрахунок заключається в тому, щоб розрахувати
аеродинамічний опір тертя в трубах, місцевий опір входу і виходу, який виникає
із-за різкої зміни прохідного перерізу для продуктів згорання.
Таблиця 2.4 - Опір повітропідігрівника
Втрата тиску в трубах
Па/мграфік
3, стор. 105[2]
|
31
|
|
|
|
Поправочний коефіцієнт на шероховатість труб
графік 3, стор. 105[2]
|
;1
|
|
|
|
|
|
Опір тертя
|
Па ;215,8
|
|
|
|
|
Місцеві втрати
тиску
|
|
Відношення меншого
перерізу до більшого
|
 0.407
|
|
|
|
|
Коефіцієнт опору
входу
|
 0.3
|
|
|
|
Коефіцієнт опору виходу
|
0.4
|
|
|
|
|
|
Опір входу-виходу
|
Па 40,6
|
|
|
|
|
Опір
повітропідігрівника
|
Па 282
|
|
|
|
2.2.5 Опір поворотів конвективного
газоходу
В межах котла знаходиться один поворот на
між пароперегрівачем, розташованим в горизонтальній
шахті і водяним економайзером, розміщений на вході в опускну шахту. З метою
спрощення розрахунок динамічного напору на повороті газоходу умовно визначають
як середнє значення динамічних напорів в конвективних поверхнях нагріву, що
знаходяться на межах цього повороту , тобто в паро підігрівачі і економайзері.
Таблиця 2.5 - Опір поворотів конвективного газоходу
Коефіцієнт опору повороту
по
пункту 1-30 стр.11 [2],
|
1
|
|
|
|
|
|
Розрахунковий
динамічний тиск у повороті
|
Па 12,5
|
|
|
|
|
Опір повороту
|
Па 15
|
|
|
|
2.2.6 Сумарний опір газового тракту
котла
Таблиця 2.6 - Сумарний опір газового тракту котла
|
Сумарний опір
газового тракту котла
|
Па
|
|
|
|
Поправка на різницю густин димових газів та повітря 
де
|
1.085
|
|
|
|
|
|
Поправка на
запиленість димових газів
|
 ;
|
|
|
|
Поправка на тиск в газовому тракті
,
|
при значенні висоти
місцевості над рівнем моря ,
поправку приймають рівною одиниці;1
|
|
|
|
Аеродинамічний опір
газового тракту з урахуванням поправок
|
Па 643.4
|
|
|
|
2.3 Самотяга котла в межах газового тракту
Самотяга викликана різницею густин повітря навколишнього
середовища та димових газів в межах газоходів котла висотою HШ.
Самотяга фестон-пароперегрівник: значення самотяги враховується при
різниці між висотою середини вікна газоходу і серединою пароперегрівника
. Значення самотяги фестон - пароперегрівник можна не
враховувати.
Таблиця 2.7 - Самотяга котла в межах газового тракту
|
Середня температура
в шахті
|
˚С 404,5
|
|
|
|
Самотяга на 1 м висоти шахти
Па/мграфік
22 ,стр.122[2]
|
6.6
|
|
|
|
|
|
Самотяга опускної
конвективної шахти
|
Па .-19.25
|
|
|
|
Перепад повного тиску в газовому тракті
Па.
3. Розрахунок на міцність
3.1 Розрахунок товщини стінки
барабану
Товщина стінки барабана визначається за формулами
,
або
в залежності від того, який діаметр приймають в розрахунку.
Розрахунок
в мм зводиться до визначення коефіцієнта міцності
, допустимої напруги
і
прибавки
в мм. Інші величини - тиск
і діаметр барабану
або
відомі із теплового розрахунку і конструктивних
характеристик котла.
Для визначення значення
необхідно
будувати розгортку циліндричної частини барабану.
3.1.1 Розгортка циліндричної частини
барабану
Розгортку для барабана з отворами для основних труб можна
побудувати, користуючись розмірами і кресленням повздовжнього і поперечного
розрізів.
На рис. 8 показана частина розгортки барабана парогенератора
БКЗ-75-39ФБ , на якому розміщені групи отворів 1-5 відповідно для труб
пароперегрівника 1, фестона 2, фронтового екрану 3, бокового екрану 3 і для
опускних труб 5.
Розгортка виконана випрямленням на площині циліндричної
стінки барабану, розрізаної по перерізу А-А.
А
t
d1 1
О О О О О
b О О О О 1
d
b
2
повздовжня вісь барабану A-A
600 t d 4*a 4б
t Dн
b
d1
b
О О О О О
О 3
О t1 О О О О О 2
5
О b О О О О
О 6*b О О О О
О b О О О
О
О О О О О О 3
4a
О d1 О О О О О d1
О t d
3*a
4a
б
t
М 1:50
d1
О О О О
t1
О t1
5
О О О О
О t1
О О О О d1
О 4б S
О
О
О
d1
550
Виконання отворів
а
А в стінці барабана .
М 1:25
а - розгортка циліндричної частини барабану;
б - поперечний розріз барабана .
Рисунок 8 - Розгортка барабану котла БКЗ
3.1.2 Коефіцієнт міцності барабану
Визначаючий коефіцієнт міцності відноситься до циліндричної
частини барабану.
В розрахунку стінки барабану на міцність приймається найменше
значення коефіцієнта міцності із всіх розрахованих для кожної групи отворів,
які представляють собою окрему групу послаблень барабана.
Для цього необхідно розглянути кожну групу послаблень і
визначити в ній розрахунковий коефіцієнт міцності.
3.1.2.1 Перша група послаблень - отвори
для труб пароперегрівника
Розміщення отворів
Рисунок 9 - Для розрахунку першої групи послаблень
Таблиця 3.1 - Перша група послаблень
|
Найменування
величини
|
Показчик
|
Розмірність
|
Формула або
визначення
|
Результат
|
|
Зовнішній діаметр
отворів
|
мм38
|
|
|
|
|
Діаметр отворів
|
мм ;38.5
|
|
|
|
|
Коефіцієнт міцності
в повздовжньому напрямку
|
 ;0.805
|
|
|
|
|
Крок між осями труб
вздовж повздовжньої осі барабану
|
мм ;197.6
|
|
|
|
|
Коефіцієнт міцності
в поперечному напрямку
|
 ;0.115
|
|
|
|
|
Параметр
|
 ;2.024
|
|
|
|
Коефіцієнт міцності першої групи послаблення 
=
;
)=
|
= (0.805; 1.15).0.805
|
|
|
|
3.1.2.2 Друга група послаблень -
отвори для труб фестону
Розміщення отворів
Рисунок 10 - Для розрахунку другої групи послаблень
Таблиця 3.2 - Друга група послаблень
|
Зовнішній діаметр
отворів
|
мм60
|
|
|
|
|
Діаметр отворів
|
мм ;60.5
|
|
|
|
|
Коефіцієнт міцності
в повздовжньому напрямку
|
 0.798
|
|
|
|
|
Крок між осями труб
вздовж повздовжньої осі барабану
|
мм ;300
|
|
|
|
|
Коефіцієнт міцності
в косому напрямку
|
 0.6
|
|
|
|
|
Параметр
|
 ;1.65
|
|
|
|
Коефіцієнт міцності другої групи послаблень 
=
;
)=
3.1.2.3 Третя група послаблень -
отвори для труб фронтового екрана
Розміщення отворів
Рисунок 11 - Для розрахунку третьої групи послаблень
Таблиця 3.3 - Третя група послаблень
|
Зовнішній діаметр
отворів
|
мм60
|
|
|
|
|
Діаметротворів
|
мм ;60.5
|
|
|
|
|
Коефіцієнт міцності
в повздовжньому напрямку
|
 ;0.741
|
|
|
|
|
Крок між осями труб
вздовж повздовжньої осі барабану
|
мм =4 234
|
|
|
|
|
Коефіцієнт міцності
в косому напрямку
|
 0.749
|
|
|
|
|
Параметр
|
 ;1.59
|
|
|
|
Коефіцієнт міцності третьої групи послаблень 
=
;
)=
3.1.2.4 Четверта група отворів -
отвори для труб бокового екрану
Розміщення труб
Рисунок 12 - Для розрахунку четвертої групи послаблень
Таблиця 3.4 - Четверта група послаблень
|
Зовнішній діаметр
отворів
|
мм60
|
|
|
|
|
Діаметр отворів
|
мм /60.5
|
|
|
|
|
Коефіцієнт міцності
в поперечному напрямку
|
 ;1,024
|
|
|
|
|
Крок поперечного
ряду отворів по колу в площині, перпендикулярній, повздовжній осі барабану
|
мм ;124
|
|
|
|
|
Коефіцієнт міцності
четвертої групи послаблень
|
 = 1.024
|
|
|
|
3.1.2.5 П’ята група послаблень -
отвори для опускних труб і труб бокового екрану
Розміщення труб
Рисунок 13 - Для розрахунку п’ятої групи послаблень
Таблиця 3.5 - П’ята група послаблень
|
Зовнішній діаметр
отворів
|
мм90
|
|
|
|
|
Діаметр отворів
|
мм ;90.5
|
|
|
|
|
Коефіцієнт міцності
в повздовжньому напрямку
|
 ;0.819
|
|
|
|
|
Крок поперечного
ряду отворів по колу в площині, перпендикулярній, повздовжній осі барабану
|
мм500
|
|
|
|
|
Коефіцієнт міцності
в поперечному напрямку
|
 ;1,027
|
|
|
|
|
Крок між осями труб
в поперечному перерізі
|
мм186
|
|
|
|
Коефіцієнт п’ятої групи послаблень 
=
;
)=
3.1.3 Розрахункова товщина стінки
без прибавки С
Таблиця 3.6 - Розрахункова товщина стінки без прибавки С
|
Розрахунковий тиск
в барабані
|
МПа 4.62
|
|
|
|
|
Розрахункова
температура стінки барабану
|
  = ( =4.84)259
|
|
|
|
|
Матеріал стінки
|
|
|
Вибирають по Сталь 20К
|
|
|
Значення допустимої
напруги
|
МПа ;129.84
|
|
|
|
|
Коефіцієнт, що
враховує умови роботи матеріалу
|
Для барабанів, що не обігріваються 1
|
|
|
|
Номінальна допустима напруга
МПа
=
|
табл.1.5.1.
ст..19(3)129.84
|
|
|
|
|
|
Розрахункова
товщина стінки барабану без прибавки  м ;0.052
|
|
|
|
|
|
Внутрішній діаметр
барабана
|
м1.4
|
|
|
|
|
Товщина стінки
барабана
|
м( )+ 0.052
|
|
|
|
|
Прибавка на товщину
стінки барабана
|
мТак як товщина листа більше 20мм, то =00
|
|
|
|
|
Дійсна товщина
стінки барабана
|
мЗначення беремо з прототипу0.055
|
|
|
|
|
Перевірка умови
міцності
|
|
|
  ,
барабан задовольняє умовам міцності0.052<0.055
|
|
3.2 Розрахунок товщини стінки
екранної труби
Таблиця 3.7 - Розрахунок товщини стінки екранної труби
|
Зовнішній діаметр
труби
|
мм60
|
|
|
|
|
Максимальний тиск в
трубі у першому наближенні
|
МПа 4.978
|
|
|
|
|
Розрахунковий тиск
в барабані
|
МПа =1.1 =1.1∙4.4;4.84
|
|
|
|
|
Прибавка тиску за
рахунок гідростатичного тиску стовпа рідини в першому наближенні
|
МПа 0.138
|
|
|
|
|
Висота труби
|
мЗначення беремо з креслення17
|
|
|
|
|
Уточнене значення  МПа 0.135
|
|
|
|
|
|
Середня густина
робочого тіла в трубі
|
  779.5
|
|
|
|
Питомий опір робочого тіла в трубі 

=
|
табл.23 ст.179 
|
|
|
|
Середній тиск
МПа0.5
+
)=
|
=0.5∙(4.84+4.978);4.909
|
|
|
|
|
|
Уточнене значення   МПа 4.975
|
|
|
|
|
|
Коефіцієнт міцності
|
Для безшовних труб =11
|
|
|
|
|
Значення допустимої
напруги
|
МПа ;113.5
|
|
|
|
|
Коефіцієнт запасу
міцності
|
Для екранної труби =11
|
|
|
|
|
Номінальна
допустима напруга
|
МПа 113.5
|
|
|
|
|
Температура металу
стінки
|
  +60=262+60;322
|
|
|
|
|
Матеріал стінки
|
|
|
Для виготовлення
екранних труб
|
Сталь 20к
|
|
Товщина стінки
труби без врахування прибавки  м 0.00104
|
|
|
|
|
|
Товщина стінки
труби
|
м 0.0013
|
|
|
|
|
Прибавка  м  =0.20.00026
|
|
|
|
|
|
Розрахункова
товщина стінки труби
|
м 0.00156
|
|
|
|
|
Дійсна товщина
стінки
|
мЗначення беремо з прототипу0.003
|
|
|
|
|
Перевірка умови
міцності
|
|
|
  ,
труби задовольняють умові міцності
|
|
Висновок
В курсовому проекті продемонстрована здатність створення
котлоагрегату на базі серійного котла Е-72-4.2-440 КТ Барнаульського котельного
заводу. По заданим вихідним даним були проведені тепловий, аеродинамічний
розрахунок та розрахунок на міцність.
В тепловому розрахунку визначенні:
- робоча витрата палива
3,26
кг/с;
економічність котла
87,5%;
При розрахунку топки були дотримані основні вимоги:
допустиме теплове навантаження топки по умовам горіння
175 кВт /м
;
температура продуктів згорання на виході із топки
задовольняють умовам 


1100
та її значення в межах 100
розходиться з попередньо заданою величиною.
В даній конструкції використана трьохступенева схема випару з
двома виносними циклонами. Продувка виконується з виносних циклонів.
Для заданої температури перегрітої пари
440
виконаний розрахунок пароперегрівника.
Пароперегрівник встановлений в горизонтальному газоході за фестоном і
призначений для підвищення температури пари. Пароперегрівник виконаний із
паралельно включених по парі вигнутих в одній площині труб (змійовиків).
Розташування труб - коридорне. Пароперегрівник розділений на дві ступені. Для
першої ступені число рядів труб по газам
8,
для другого
16. Між ступенями в „розсічку” встановлений паро
охолоджувач поверхневого типу, призначений для регулювання температури
перегрітої пари. Для першої ступені здійснений перевірочний, а для другого -
повний конструкторський розрахунок.
Повітропідігрівник та водяний економайзер встановлені у вертикальній
конвективній шахті і призначені для зниження температури газів, що відходять,
тобто для підвищення ефективності використання виділеної в топці теплоти.
Гаряче повітря, яке подається в топку, покращує процес займання та горіння
палива, підвищує температуру продуктів згорання, що сприяє зниженню втрат від
хімічного та механічного недопалу. На відміну від типової схеми - економайзер
та повітропідігрівник розташовані послідовно, а не в „ розсічку ”.
Економайзер складається із трьох пакетів , розташованих на відстані
один від одного. За економайзером розташований триходовий повітропідігрівник з
розривом між першим і другим по ходу повітря хода. Необхідність розриву
викликана тим, що у хвостовій частині повітропідігрівник через конденсацію
парів вологи відбувається інтенсивна корозія. Виконаний розрив дає можливість
заміни його хвостової частини на нову.
Була визначена розрахункова нев’язка теплового балансу, яка складає
82
кДж/кг.
При цьому нев’язка у відносних величинах склала 0.45 %. Це говорить про
те, що розподіл теплових навантажень по поверхням нагріву виконано вірно.
В аеродинамічному розрахунку був визначений перепад повних тисків
конвективного газоходу, необхідний для підбора допоміжного обладнання, 
Па.
В розрахунку на міцність перевірені барабан і екранні труби з заданими
внутрішніми діаметрами, визначена товщина стінок, обґрунтовано використання
матеріалів для виготовлення труб і барабану.
Розрахована товщина стінок барабану склала
52 мм, а розрахована товщина стінки труби середнього
контуру бокового екрана
1.56 мм.
Список використаної літератури
1. Тепловой
расчет котлов (нормативный метод).Издание 3-е, переработанное и дополненное.
Издательство НПО ЦКТИ, СПб,1998 -256с.с ил.
2. Аэродинамический
расчет котельных установок (нормативный метод). Под ред. Мочана С.И. -М.:
Энергия , 1964 -144 с., ил.
3. Подобед
О. П. Методические указания к курсовому проекту парогенератора для студентов
специальностей 0520, 0308, 0305 (Расчет конвективных поверхностей). Киев: КПИ,
1981 -60 с.
. Роддатис
К. Ф. Котельные установки. Учеб. Пособие для студентов неэнергетических
специальностей вузов. -М.: Энергия, 1977 -432 с., ил.
. Стырикович
М. А., Катковская К. Я., Серов Е.П. Парогенераторы электростанций. -М.-Л.:
Энергия , 1966 -384 с., черт.
. Сидельковский
Л. Н., Юренев В.Н. Парогенераторы промышленных предприятий. Учебник для
студентов вузов, обучающихся по специальности. “Промышленная теплоэнергетика”.
2-е изд., перераб. и доп. -М.: Энергия, 1978 -336 с., ил.
. Резников
М. И., Липов Ю. М. Паровые котлы тепловых электростанций. Учебник для вузов.
-М.: Энергоиздат, 1981 -240 с.,ил.
. Антикайн
П.А., Зыков А.К. Изготовление объектов котлонадзора. Справочник. -М:
Металлургия, 1980 345 с.