Разработка конструкции устройства для исследования скважин
ВВЕДЕНИЕ
Фонтанный способ эксплуатации нефтяной скважины возможен лишь при высоком
пластовом давлении. Оборудование фонтанной скважины обычно состоит из арматуры
устья и колонны насосно-компрессорных труб (НКТ). Колонна НКТ в некоторых
случаях оснащается приемной воронкой, иногда клапанами-отсекателями или седлами
для установки вставных клапанов-отсекателей.
Исследование фонтанных скважин - очень важная часть промыслового
исследования скважин. Исследование фонтанных скважин - весьма ответственный,
многоплановый, непростой процесс, требующий применения современного
оборудования и наличия у специалистов глубинных знаний в соответствующих
областях науки и техники и большого опыта работы.
Промысловые исследования скважин проводятся на добывающих и нагнетательных
скважинах эксплуатационного фонда. В процессе таких исследований решаются
следующие задачи:
технологический контроль работы скважины;
контроль над выработкой пластов при вытеснении нефти или газа;
оценка состояния продукции скважины в стволе работающей скважины;
технический контроль состояния скважины.
Задачей исследования фонтанной скважины является установление
оптимального режима ее работы, т.е. режима, позволяющего получать большее
количество нефти при минимальных затратах на добычу. При этом получают
зависимости дебитов нефти, от депрессии, определяют коэффициент продуктивности.
Существует много методов исследования скважин н технических средств для
их осуществления. Все они предназначены для получения информации об объекте
разработки, об условиях и интенсивности притока нефти, воды и газа в скважину,
об изменениях, происходящих в пласте в процессе его разработки. Такая
информация необходима для организации правильных, экономически оправданных
процессов добычи нефти, для осуществления рациональных способов разработки
месторождения, для обоснования способа добычи нефти, выбора оборудования для
подъема жидкости из скважины, для установления наиболее экономичного режима
работы этого оборудования при наиболее высоком коэффициенте полезного действия.
В процессе выработки запасов нефти условия в нефтяной залежи и в
скважинах изменяются. Скважины обводняются, пластовое давление снижается,
газовые факторы могут изменяться.
Это заставляет постоянно получать непрерывно обновляющуюся информацию о
скважинах и о пласте или нескольких пластах, являющихся объектом разработки.
От наличия такой достоверной информации зависит правильность принимаемых
решений по осуществлению на скважинах или на объекте разработки или на
отдельных частях такого объекта тех или иных геолого-технических мероприятий.
Для добычи нефти и разработки нефтяного месторождения необходимо знать:
отдающие продукцию интервалы, поглощающие интервалы в нагнетательных скважинах;
состав продукции, поступающей в скважину из того или иного интервала; степень выработанности
запасов нефти из отдельных пропластков, вскрытых общим фильтром, степень
компенсации закачкой отобранной нефти и др.
Ответы на перечисленные вопросы могут быть получены с помощью
дебитометрических исследований скважины опускаемым на кабеле скважинным
прибором - дебитомером для добывающих и расходомером для нагнетательных
скважин. При перемещении такого прибора вдоль вскрытого интервала скважины
получается информация о распределении интенсивностей притока или поглощения
вдоль перфорированного участка пласта.
Дебитометрические исследования достаточно просто производить в фонтанных
и газлифтных скважинах, в которых внутреннее сечение НКТ открыто и глубинный
прибор беспрепятственно может быть спущен в фильтровую часть обсадной колонны.
1. Техническая часть
.1 Цели и виды исследования скважин
Основная цель исследования залежей и скважин - получение информации о них
для подсчета запасов нефти и газа, проектирования, анализа, регулирования
разработки залежей и эксплуатации скважин. Исследование начинается сразу же
после открытия залежей и продолжается в течение всей «жизни» месторождения, т.
е. осуществляется в процессе бурения и эксплуатации скважин, обеспечивающих
непосредственный доступ в залежь.
Исследования можно подразделить на первичные, текущие и специальные.
Первичные исследования проводят на стадии разведки и опытной эксплуатации
месторождения.
Задача их заключается в получении исходных данных, необходимых для
подсчета запасов и проектирования разработки. Текущие исследования осуществляют
в процессе разработки. Их задача состоит в получении сведений для уточнения
параметров пласта, принятия решений о регулировании процесса разработки,
проектирования и оптимизации технологических режимов работы скважин и др.
Специальные исследования вызваны специфическими условиями разработки залежи и
эксплуатации скважин (внедрение внутрипластового горения и т. д.).
Выделяют прямые и косвенные методы исследования. К прямым относят
непосредственные измерения давления, температуры, лабораторные методы определения
параметров пласта и флюидов по керну и пробам жидкости, взятым из скважины.
Большинство параметров залежей и скважин не поддается непосредственному
измерению. Эти параметры определяют косвенно путем пересчета по соотношениям,
связывающим их с другими, непосредственно измеренными побочными параметрами.
Косвенные методы исследования по физическому явлению, которое лежит в их
основе, подразделяют на:- промыслово-геофизические, - дебито- и
расходометрические,- термодинамические- гидродинамические.
При измерениях в скважинах глубиной свыше 1500 м применяют только
механизированные глубинные лебедки. Установка с лебедкой располагается примерно
в 25-40 м от устья. Установку ставят таким образом, чтобы вал барабана лебедей
был перпендикулярен направлению движения проволоки от скважины до середины
барабана.
Для подготовки глубинного прибора к спуску конец проволоки от лебедки
пропускают через сальник лубрикатора, вывинтив его предварительно из корпуса.
Закрепив конец проволоки в подвесной части прибора, его помещают в корпус
лубрикатора и завинчивают сальник. Сальник затягивают так, чтобы надежно
уплотнить проволоку, но при этом обеспечить возможность движения ее через
сальник.
.2 Анализ конструкций оборудования для исследования скважин
На основании проведенных теоретических исследований,
опытно-конструкторских и промысловых работ по исследованию скважин, выполнено
обобщение опыта по исследованию скважин другими предприятиями, изучены
зарубежные технические средства и определены требования к техническим
средствам, необходимым для реализации данного способа применительно к условиям
нефтяных месторождений с учетом области применения (освоение скважин после
бурения и ремонта, удаления продуктов после обработок призабойной зоны хим.
реагентами, гидроразрыва пласта, очистки забоя, обработки призабойной зоны
импульсами давления, другими способами стимуляции скважин и т. д.).
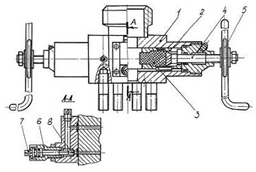
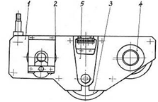
А - буферный фланец под лубрикатор; Б - нерегулируемый дроссель; В -
подвеска НКТ в трубной головке (на муфте) 1 - кондуктор; 2 - техническая
колонна; 3 - эксплуатационная колонна; 4 - колонна НКТ (лифтовая)
Рисунок
<#"720028.files/image002.gif">
1-самоходный
каротажный подъемник; 2-барабан лебедки; 3-гефизический кабель; 4-силовой
трансформатор; 5-силовой кабель; 6,7-нижний и верхний ролики; 8-лубрикатор;
9-сливной кран; 10-сальниковоеустройство; 11-штанга; 12-серьга; 13-прибор для
исследования; 14-заземляющий провод; 15-станция управления и защиты;16-блок
управления внутренних потребителей; 17-НКТ; 18-дренажный шланг; 19-емкость;
20-отложения; 21-перегородка;22-прожектор; 23-опора штанги; 24-опора верхнего
ролика;25-крепление опоры штанги
Рисунок 1.2. Схема расположения оборудования при исследовании скважины
канатной техникой
В состав данного оборудования( в соответствии с рисунком 1.2.) входят:
самоходный подъемник 1, на барабан 2 лебедки которого намотано 1000-1100 м
семижильного или трехжильного геофизического кабеля 3; силовой трехфазный
трансформатор 4, соединенный с трансформаторной подстанцией четырехжильным
кабелем 5; нижний 6 и верхний 7 ролики; лубрикатор 8 с переводником 9; узел
герметизации кабеля 10 (сальниковое устройство); штанга 11 с удерживающей
серьгой 12; нагреватель 13; заземляющий провод 14; блок управления и защиты 15
электрической цепи кабель-нагреватель; блок управления и защиты 16
электрических цепей бытовых приборов; дренажный шланг 18; емкость для сбора
жидкости 19.
Спуск и подъем кабеля с нагревателя в скважину для растепления отложений
производится с помощью специального спускоподъемного оборудования с приводом от
двигателя автомобиля, на шасси которого это оборудование смонтировано. Обычно
для этих целей используются самоходные каротажные подъемники, применяемые для
геофизических исследований скважин. Среди этих подъемников наибольшее
применение нашел подъемник типа ПКС-5, смонтированный на шасси автомобиля
«УРАЛ» с дизельным двигателем, обладающего высокой проходимостью по бездорожью.
Кузов подъемника фургонного типа разделен перегородкой на две части: лебедочное
отделение и кабина машиниста. Кинематическая схема самоходного каротажного
подъемника ПКС-5 приведена ( в соответствии с рисунком 1.3).[8]
Лебедка с барабаном 7, укладчиком кабеля 9 и маслонаполненным коллектором
8 приводится в действие двигателем 1 автомашины через коробку перемены передач
2, раздаточную коробку 3, коробку отбора мощности (КОМ) 4, вспомогательный
карданный вал 5 и двухскоростной редуктор 6, с которым барабан лебедки соединен
четырехрядной цепью 11.Автоматический укладчик кабеля 9 имеет ручную
корректировку.
Механизм управления лебедкой находится в кабине машиниста. Здесь же
установлены рукоятка укладчика кабеля, ручной тормоз лебедки, ручка для
пневматического торможения лебедки, рычаг для переключения скорости редуктора,
рычаг дублера переключения скоростей коробки
перемены передач, дублер сцепления, дублер газа, блок управления и защиты
электрической цепи кабель- нагреватель, блок управления и защиты электрических
цепей бытовых приборов, пульт управления и контроля за работой подъемника,
электрообогреватели кабины машиниста, отопитель. Кроме этого, в кабине
машиниста имеются огнетушители, кошма и два дивана, в ящики которых
укладываются запасные части и инструмент.
-двигатель; 2-коробка передач; 3-раздаточная коробка; 4-коробка отбора
мощности (КОМ); 5-вспомогательный карданный вал; 6-двухскоростной редуктор;
7-лебедка; 8-коллектор; 9-укладчик кабеля; 10-цепь привода укладчика; 11-цепь
привода барабана лебедки
Рисунок 1.3. Кинематическая схема самоходного каротажного подъемника
ПКС-5
Рычаг (или тумблер) включения коробки отбора мощности находится в кабине
водителя автомобиля.
В лебедочном отделении в задней части у стенки кузова со стороны
коллектора установлен силовой трансформатор, а на противоположной стенке кузова
на кронштейнах вывешивается силовой кабель. В лебедочном отделении
располагаются два противооткатных упора, заземляющие провода, нижний и верхний
ролики, штанга с серьгой, инструмент и приспособления, необходимые для монтажа
оборудования и работы на скважине. На верхней части одной из створок дверей
лебедочного отделения установлен прожектор.
Основными узлами лебедки является сварная рама, установленная в кузове
подъемника и закрепленная стремянками, и барабан лебедки. Последний изготовлен
из немагнитного металла и закреплен на раме в подшипниках, состоит из двух
ступиц стального литья, сваренных с бочкой, двух полуосей, на одной из которых
закреплено цепное колесо привода. По периферии тормозных шайб проточена выемка,
в которую уложены стальные ленты с тормозными колодками. Тормоз управляется с
помощью рычага со стопорной гребенкой и дублируется пневмоприводом.
Одновременная работа тормозных лент обеспечивается регулировкой тормозных
стяжек и наличием тормозного балансира. Это достигается только тогда, когда ось
коромысла балансира будет строго параллельна оси барабана лебедки. Между
упорными винтами рамы и балансиром должны быть зазоры 5-7 мм.
Вращение барабана осуществляется цепной передачей от двухскоростного
редуктора. Перед торможением барабана необходимо включить сцепление автомобиля
(желательно с некоторым интервалом времени для того, чтобы погасить инерцию
привода) и только после этого пользоваться тормозом. Это не относится к случаю
свободного спуска кабеля, когда привод вообще выключен.
Автоматический кабелеукладчик устанавливается на раме лебедки. Основными
частями кабелеукладчика являются направляющие, ходовой винт и каретка.
Передвижение каретки осуществляется от барабана лебедки через цепную передачу,
редуктор и ходовой винт.
Двухскоростной редуктор состоит из конической пары, трех пар
цилиндрических шестерен, муфты переключения, звездочки цепной передачи, двух
валов и механизма переключения. Шестерни редуктора работают в масляной ванне.
Уровень масла контролируется через контрольную пробку. Смена масла производится
одновременно со сменой масла в раздаточной коробке автомобиля. Переключение
скоростей двухскоростного редуктора производится при остановленной и
заторможенной лебедке и выключенном сцеплении автомобиля.
Рычаг переключения скоростей двухскоростного редуктора включается только
во время работы лебедки. Во всех остальных случаях он должен находиться в
положении «Выключено» так же, как и рычаг (тумблер) включения коробки отбора
мощности. В противном случае при включенной коробке отбора мощности барабан
лебедки будет вращаться во время движения автомобиля, что является
недопустимым. Для передачи электрической энергии на токопроводящие жилы
каротажного геофизического кабеля, намотанного на барабан лебедки, служит
коллектор (в соответствии с рисунком 1.4.). [8]
1-муфта
зацепления; 2- соединительные подвижные клеммы жил кабеля; 3-корпус;
4-соединительные неподвижные выходные клеммы жил силового кабеля
Рисунок 1.4.
Коллектор лебедки
Предназначен для проведения геофизических исследований действующих
скважин и для выполнения взрывных работ.
Спускоподъемный агрегат предназначен для проведения спуско-подъемных
операций на геофизическом кабеле.
Подъем и удержание лубрикатора в вертикальном положении осуществляется
при помощи мачты. Мачта служит также для изменения направления перемещения
кабеля.
Гидравлическая система комплекса обеспечивает привод спуско-подъемного
агрегата, вспомогательных лебедок, гидроцилиндров, гидродомкратов.
Особая роль принадлежит системе управления, размещающейся в кабине
оператора.
Система обеспечивает оперативное изменение и поддержание скорости
движения кабеля, автоматическое отключение привода и тормозной системы при
стопорении прибора или кабеля в стволе скважины.
На пульт управления выводится индикация показателей величин натяжения,
скорости движения кабеля и глубины, на которой находятся приборы.
Насосная установка предназначена для дистанционного управления
уплотнителем лубрикатора.
Лубрикатор обеспечивает герметизацию устья скважины, свободный спуск в
нее приборов и гарантирует отсутствие выбросов скважинного флюида.
Для подачи напряжения 220В используется автономный источник энергопитания
мощностью 8 кВт.
Комплекс монтируется на автомобиле высокой проходимости.
Таблица 1.1 - Технические характеристики
|
Максимальная глубина
исследования, м
|
5000
|
|
Максимальное рабочее
давление в лубрикаторном устройстве, МПа
|
10
|
|
Диаметр геофизического
кабеля, мм
|
6,3; 9,4; 10,2
|
|
Максимальный диаметр
перфоратора, мм
|
43
|
|
Максимальное тяговое усилие
на первых двух рядах намотки кабеля на барабан, кН
|
20
|
|
Диапазон скоростей движения
кабеля, м/ч
|
100-3000
|
|
Напряжение питания, В
|
24; 220
|
|
Грузоподъемность мачты, кН
|
40
|
|
Высота мачты, м
|
10
|
|
Диаметр проходного
отверстия лубрикатора, мм
|
50
|
|
Типы уплотняемых кабелей
|
КГ 1-30-180-1, КГ
1-55-90-1, КГ 3-60-90-1, КГ 3-40-90-1.
|
.4 Составные части комплекса оборудования и их назначение
Рассмотрим состав и назначение составных частей комплекса оборудования,
как в наибольшей степени отвечающего требованиям, предъявляемым к оборудованию
для исследования скважин, согласованному и рекомендованному к серийному
производству.
Комплекс оборудования (в соответствии с рисунком 1.5). состоит из
следующих составных частей:
передвижного подъёмного агрегата;
устьевого оборудования;
скважинного оборудования;
средств контроля;
системы управления сальником.
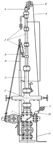
- первичный блок контроля технологических параметров; 2 - система
управления сальником; 3 - вторичный блок контроля технологических параметров; 4
- комплект устьевого и скважинного оборудования; 5 - указатель глубины; 6 -
превентор
Рисунок 1.5. Комплекс оборудования для исследования скважин в транспортном
положении
- сальник; 2 - переводник; 3 - ниппель-гайка; 4 - переводник; 5 - корпус
датчика; 6 - превентор; 7 - лубрикатор.
Рисунок 1.6.Устьевое оборудование комплекса
В качестве передвижного подъёмного агрегата используется агрегат для
подземного и капитального ремонта скважин типа АзИНМАШ-37 без полиспастной
системы.
В состав устьевого оборудования входит (в соответствии с рисунком 1.6.):
устьевой сальник;
- лубрикатор;
- корпус датчика сигнализации входа сваба в лубрикатор;
быстроразъемное соединение ниппель-гайка;
превентор плашечный.
Устьевой сальник (в соответствии с рисунком 1.7) герметизирует подвижный
тяговый элемент (стальной канат) при выполнении рабочих операций. Управление
уплотнительным элементом сальника осуществляется подачей давления в полость А
или Б. При наличии между уплотнителем и канатом или корпусом утечек они
собираются в полости В и отводятся через штуцер 14.
, 2 - корпус; 3 - тяговый орган; 4 - уплотнитель;5 - поршень; 6 -
толкатель; 7 - направляющие; 8 - втулка; 9 - кольца стопорные; 10, 11, 14, -
штуцер; 12 - манжета; 13 - прокладка.
Рисунок 1.7. Сальник
Лубрикатор с датчиком сигнализации подхода сваба в соответствии с
рисунком 1.8. обеспечивают возможность извлечения (спуска) скважинного
оборудования из подъемного лифта без разгерметизации скважины. При подходе
скважинного оборудования к лубрикатору, в процессе его извлечения из подъемного
лифта, срабатывает концевой выключатель 6 и привод лебедки отключается. [13]
- лубрикатор; 2 - муфта; 3 - ниппель; 4 - гайка 5 - корпус; 6 -
выключатель; 7 - кулачок; 8 - ось; 9 - флажок; 10, 11 - трубопроводы; 12 -
кольцо 063-073-58; 13 - кольцо 009-013-025.
Рисунок 1.8. Лубрикатор
- корпус; 2 - плашка; 3 - уплотнительный элемент; 4 - винт управляющий; 5
- рукоятка; 6 - перепускной клапан; 7 - хвостовик; 8 - шарик
Рисунок 1.9. Плашечный превентор
Превентор (в соответствии с рисунком 1.9) необходим для герметизации
устья при возникновении аварийных ситуаций: обрыве каната, неисправности
устьевого оборудования комплекса при наличии избыточного давления на устье
скважины.
1 - тяговый канат; 2 - корпус; 3 - сухарики; 4 - втулка; 5 - стопорное
кольцо.
Рисунок 1.10.Узел крепления каната
Сваб( в соответствии с рисунком 1.11) обеспечивает перекрытие сечения
подъемного лифта при ходе вверх и подъем жидкости (над свабом) из скважины.
Узел крепления каната (в соответствии с рисунком 1.10). обеспечивает
крепление скважинного оборудования к канату.
В состав скважинного оборудования входят:
сваб;
узел крепления каната;
грузы;
клапан всасывающий;
ловитель (совмещенный с яссом);
шаблон.
1 - мандрель; 2 - корзинка
Рисунок 1.11. Сваб корзинчатый
Грузы предназначены для обеспечения хода вниз в подъемном лифте сваба и
ловителя.
Всасывающий клапан выполнен съемным. Для обеспечения спуска по подъемному
лифту глубинных приборов на забой скважины, закачки технологических агентов и
т. д. клапан снимается с седла и извлекается из скважины.
Ловитель (в соответствии с рисунком 1.12.) предназначен для съема с седла
и извлечения из скважины всасывающего клапана.
Ясс облегчает съем клапана с седла.
Датчик сигнализации, кроме отключения привода лебедки, визуально
указывает о входе скважинного оборудования при его подъеме в лубрикатор.
1 - захват; 2 - корпус; 3 - бобышка; 4 - шток; 5 - упор; 6 - втулка; 8 -
гайка.
Рисунок 1.12..Ловитель с ясом
Шаблон служит для контроля проходного сечения насосно-компрессорных труб
и устьевого оборудования перед спуском труб в скважину и обвязки устья
скважины. [13]
Контроль проходного сечения позволяет предотвратить застревание в
процессе спуско-подъемных операций оборудования, спускаемого в подъемный лифт.
1 - щека; 2 - ролик мерный; 3 - ролик оттяжной;4 - ролик направляющий; 5
- опора подвижная.
Рисунок 1.13. Первичный блок контроля технологических параметров
1 - ролик; 2 - ось; 3 - стойка; 4 - крышка; 5 - мембрана; 6 - корпус; 7 -
толкатель; 8 - винт; 9 - диск.
Рисунок 1.14. Датчик натяжения каната
1, 3 - корпус; 2 - крышка; 4, 14 - рычаг; 5 - шток; 6 - уплотнительный
элемент; 7 - грундбукса; 8 - шарик; 9 - штуцер; 10 - гайка; 11 - тройник; 12 -
манометр; 13 - винт
Рисунок 1.15. Система управления сальником
Указатель глубины, установленный в кабине оператора в соответствии с рисунком
1.5 и механически связанный с одним из роликов первичного блока контроля
технологических параметров (в соответствии с рисунком 1.13), через который
пропущен тяговый элемент, указывает положение скважинного оборудования в
подъемном лифте при выполнении технологических операций. [13]
Датчик натяжения каната (в соответствии с рисунком 1.14), связанный с
подвижной опорой первичного блока контроля технологических параметров,
указывает о нагрузке на тяговый элемент.
Система управления сальником (в соответствии с рисунком 1.15),
обеспечивает поджим уплотнительных элементов сальника из кабины оператора.
Оборудование, входящее в комплекс, при соблюдении требований, изложенных в
инструкции по его эксплуатации, и соблюдении требований к технологии,
изложенных в настоящем руководстве, позволит безопасно проводить исследование
скважин различных категорий.
1.5 ЛКИ - ГИС лебедка консольная для гидродинамических исследований
скважин
Лебедка ЛКИ ГИС каротажная с консольным барабаном предназначена для
подъема и спуска исследовательских приборов в стволы скважин при
гидродинамических, геофизических исследованиях нефтяных и газовых скважин, а
также для скребкования (депарафинизации) удаление АСПО. [23]
Лебедка работает в условиях умеренного и холодного микроклиматических
районов по ГОСТ 16350-80 при температуре окружающего воздуха от -40 до +50 °С
по ГОСТ 15150-69 (исполнение УХЛ-3).
Комплектация и особенности:
Наличие комплекта съемных барабанов на одной лебедке позволяет вести
замер давления глубинными манометрами одновременно в нескольких скважинах.
Плавная регулировка сцепления, передающего крутящий момент к барабану
лебедки, устраняет аварийные ситуации, связанные с обрывом проволоки, на
которой опускается прибор.
Наличие фрикционного тормоза позволяет производить спуск приборов при
отключенном механическом и ручном приводах.
Счетчик глубины позволяет точно отслеживать метраж глубины скважины.
Электромеханический датчик аварийного натяжения - обеспечивает
своевременное оповещение о перегрузе и последующий останов привода, тем самым
предотвращает разрыв.
Храповой (стояночный) тормоз.
Механический тормоз барабана (колодочный).
Количество сменных барабанов - по желанию заказчика.
Органы управления.
Лебедка имеет несколько видов привода (везде дополнительный ручной
привод):
Лебедка с механическим приводом - передача крутящего момент к барабану
лебедки осуществляется от двигателя автомобиля через коробку отбора мощности.
Лебедка с гидравлическим приводом - передача крутящего момент к барабану
лебедки осуществляется от двигателя автомобиля через коробку отбора мощности,
посредством гидростатической трансмиссии.
Лебедка с приводом от автономного ДВС - более экономичный расход топлива
по сравнению с приводом от ДВС автомобиля, менее шумная работа, а также
продляет ресурс автомобиля.
Лебедка с регулируемым электроприводом - передача крутящего момента к
барабану лебедки осуществляется от электродвигателя мощностью от 2,2 до 5 кВт
(в зависимости от тягового усилия, глубины скважины и веса приборов), наличие
частотного регулятора позволяет плавно регулировать диапазон частоты вращения
барабана, скорость спуск-подъема прибора от 0 до 5 м/с.
Питание электропривода:
От стационарного источника питания
От автономной дизель (бензин) электростанции
От генератора, установленного на выходной вал КОМ
Технические характеристики:
Максимальная грузоподъемность, кг, не более (без учета веса проволоки) -
300
Скорость подъема прибора наибольшая, м/сек - 2-6
Время подъема прибора вручную с глубины 1200м, мин. - 18-20
Укладка проволоки - автоматическая, механическая
Габаритные размеры, мм, не более: длина - 840, ширина - 650, высота - 700
Вес лебедки, кг, не более (без учета веса проволоки и барабанов) - 180
Диаметр проволоки, мм - 1.8-2.5
Материал проволоки - Проволока канатная (скребковая) ГОСТ 7372-79
Вес проволоки длиной 3500 м, кг, не более - 105
Емкость барабана, м, не менее - 5000.[23]
.6 Устьевой лубрикатор для исследования скважин
.6.1 Назначение и область применения
Лубрикаторы предназначены для обеспечения спуска и подъема скважинных
приборов на кабеле или проволоке без разгерметизации устья скважины, а также
для герметизации устья при проведении геофизических исследований в
прострелочно-взрывных работ в действующих нефтяных и газовых скважинах. Их
устанавливают на буферной задвижке фонтанной арматуры действующих скважин.
Лубрикатор должен содержать снизу-вверх следующие основные функциональные
элементы:
переходник для соединения с буферной задвижкой;
превентор для аварийного перекрытия скважины с кабелем;
сигнализирующее устройство (ловушку) для индикации входа прибора в
лубрикатор при подъеме и предотвращения падения прибора в скважину в случае его
аварийного отрыва от кабеля в лубрикаторе;
камеру для размещения прибора с грузами;
уплотнительное устройство для герметизации кабеля (проволоки).
Переходник должен быть оборудован фланцем, параметры и размеры которого
соответствуют размерам фланца буферной задвижки фонтанной арматуры скважины.
[27]
Превентор представляет собой цилиндр с размещенной в нем парой
цилиндрических плашек с торцевыми уплотнениями для герметизации скважины.
Перемещение плашек при закрытии или открытии превентора осуществляется вручную
при помощи резьбовой пары винт-гайка или дистанционно при помощи гидроцилиндра
с гидравлическим приводом. В зависимости от условий применяют одинарные
превенторы с одной парой плашек и многорядные - с двумя и более рядами плашек,
размещенных в разных корпусах или в одном корпусе.
Сигнализирующее устройство (ловушка) снабжено поворотной заслонкой с
ручным или гидравлическим приводом для обеспечения пропуска прибора в скважину
при выходе его из лубрикатора. Заслонка автоматически пропускает прибор в
лубрикатор при подъеме и затем перекрывает входное отверстие.
Камера для размещения прибора с грузами состоит из секционных труб,
свинчиваемых между собой с помощью накидных гаек с трапецеидальной резьбой.
Длина набора секционных труб должна быть на 1 м больше длины спускаемого
прибора и набора грузов, которые устанавливают над кабельным наконечником для
преодоления выталкивающей силы, пропорциональной давлению в скважине и площади
поперечного сечения кабеля.
Уплотнительное устройство при работе с геофизическим кабелем представляет
собой комбинацию уплотнителей нескольких типов.
По принципу действия различают уплотнители: контактные - действующие за
счет обжатия кабеля резиновой втулкой при помощи гидравлического цилиндра с
гидроприводом; гидродинамические (газодинамические), в которых герметизация
кабеля создается за счет гидродинамических (газодинамических) потерь и снижения
давления на выходе из уплотнителя при протекании отводимого в дренажную систему
флюида, заполняющего скважину, через зазоры между кабелем и калиброванным
отверстием; гидростатические, в которых герметизация осуществляется подачей в
зазор между кабелем и калиброванным отверстием уплотняющей смазки под
давлением, превышающим устьевое, специальной станцией подачи смазки. [27]
При работе с проволокой применяют только контактный уплотнитель.
Таблица 1.2 - Технические характеристики
|
Максимальное рабочее
давление, МПа
|
35
|
|
Диаметр проходного
отверстия, мм
|
65-80
|
|
Максимальная высота
приемной камеры, м
|
12,5
|
|
Давление на выходе станции
подачи густой смазки, МПа
|
45
|
|
Диаметр геофизического
кабеля, мм
|
6,3; 9,4; 10,2
|
|
Диапазон рабочих
температур, град. С
|
-40-+40
|
Для эксплуатации в различных условиях предлагаются три различных
модификации. Виды исполнений:
базируется на автомобиле-фургоне высокой проходимости. Фургон разделен на
лабораторно-бытовой и производственный отсеки. В первом смонтирована система
управления станцией подачи густой смазки и обеспечен минимум бытовых удобств
для обслуживающего персонала. В производственном отсеке размещаются
транспортируемые узлы лубрикатора, станция подачи густой смазки, грузоподъемное
устройство и слесарный верстак.
в утепленном контейнере, оснащенном аналогично самоходному варианту и
дооборудованному, в зависимости от условий работы, дизельной установкой питания
гидравлической станции, 8-киловаттным генератором или электроприводом.
узлы лубрикатора размещаются на специальной платформе, обеспечивающей их
надежное крепление при перевозке любым транспортным средством.
Привод станции подачи густой смазки в зависимости от эксплуатационных
возможностей осуществляется дизелем или электродвигателем.
Конструкция лубрикатора обеспечивает быстрый и надежный монтаж узлов на
устье скважины.
Типоразмеры лубрикаторов определяются набором основных параметров,
главными из которых являются давление на устье скважины и условное проходное
сечение камеры для размещения приборов.
Оптимальный параметрический ряд главных значений устьевого давления - 2,
10, 14, 35, 70, 105 МПа; а параметрический ряд числовых значений условного
проходного сечения - 50, 65, 80, 100 мм.
Лубрикаторы эксплуатируют в комплекте с верхним и нижним направляющими
роликами для пропуска кабеля (проволоки).
Верхний ролик устанавливают на уплотнительном устройстве лубрикатора при
помощи поворотного кронштейна или закрепляют на автономном грузоподъемном
устройстве. [27]
Нижний ролик закрепляют на фонтанной арматуре скважины либо на автономном
грузоподъемном устройстве.
Монтаж и демонтаж лубрикатора на устье скважины осуществляют, пользуясь
грузоподъемной лебедкой, которую устанавливают на фонтанной арматуре или на
мачте (стойке) лубрикатора, либо с помощью специального грузоподъемного
устройства (например, геофизической вышки).
После установки лубрикатора на фланец буферной задвижки фонтанной
арматуры проверяют его на герметичность путем постепенного повышения давления
скважинного флюида.
Эксплуатацию лубрикаторов, в том числе их гидравлические испытания и
опрессовку, осуществляют в соответствии с требованиями действующих нормативных
документов и эксплуатационной документации.
Лубрикаторное оборудование предназначено для проведения
канатно-проволочных работ при спуске и подъеме внутрискважинных приборов в
колонну НКТ диаметром 89 мм и 114 мм.
Лубрикаторное оборудование, материалы и комплектующие должны быть
поставлены с учетом эксплуатационной безопасности, требований технологического
процесса, условий окружающей среды, опасных зон, нормативных требований,
унифицированности оборудования, его работоспособности и ремонтопригодности.
Условия эксплуатации оборудования скважин:
добываемая продукция - нефть, газ попутный нефтяной и газ газовой шапки,
пластовая вода;
содержание H2S в продукции скважин - отсутствует;
содержание С02 в продукции скважин (попутном газе), массовое, % - 0,64;
содержание парафина, массовое, % - 9,0;
начальное пластовое давление, МПа -17,0;
максимальное давление на устьевой арматуре эксплуатационных скважин при
закрытой задвижке, МПа -17,5;
максимальное давление на устьевой арматуре газонагнетательной скважины
для обратной закачки газа в пласт, МПа -18,0;
начальная пластовая температура, °С - +80;
максимальная температура на устьевой арматуре скважин, °С - +65;
нагрузка на колонную обвязку от противовыбросового оборудования (ПВО), кН
- 700;
температура окружающей среды, °С - от минус 28 до плюс 35;
относительная влажность воздуха, % - 80.
Устьевое лубрикаторное оборудование располагается на открытом
пространстве категории взрывоопасное - 2 по «Правилам безопасности при разведке
и разработке нефтяных и газовых месторождений на континентальном шельфе» ПБ
08-623-03.
1.6.2 Требования к маркировке, упаковке и транспортировке
После заводских испытаний, для обеспечения транспортировки любым видом
транспорта, лубрикаторное оборудование должно быть демонтировано на отдельные
узлы минимального объема. На лубрикаторном оборудовании должны быть установлены
заводские таблички из коррозионностойкого материала, на которых должны быть
указаны:
товарный знак завода-изготовителя;
заводской номер и дата изготовления;
обозначение типа оборудования;
основные характеристики;
масса.
Перед упаковкой в тару лубрикаторное оборудование, материалы, инструмент
для монтажа, а также запасные изделия должны быть законсервированы для транспортировки
и хранения в течение 12 месяцев. В тару должен быть вложен упаковочный лист,
заверенный Поставщиком. [27]
Упаковка и транспортное крепление узлов должны обеспечивать их
сохранность в процессе транспортировки любыми видами транспорта. Упаковка должна
обеспечивать хранение лубрикаторного оборудования в сухих неотапливаемых
помещениях при температуре воздуха от минус 30°С до плюс 40°С и относительной
влажности воздуха 75% при температуре плюс 15°С.
Лубрикатор является элементом устьевого оборудования скважины и
предназначен для ввода и извлечения из скважины, находящейся под давлением,
различных приборов и устройств в процессе ее эксплуатации.
Лубрикатор (в соответствии с рисунком 1.16) включает в себя трубу
лубрикатора 1, которая посредством резьбы соединена с фланцем 2. К трубе
лубрикатора приварен патрубок 3 для присоединения к нему крана для стравливания
давления.
а)-обычной конструкции; б)-для скважины, эксплуатирующейся
плунжер-лифтным способом; 1-труба лубрикатора; 2-фланец; 3-патрубок для
присоединения крана
Рисунок 1.16. Лубрикатор
Лубрикатор крепится своим фланцем 2 к верхнему фланцу буферной задвижки
фонтанной арматуры шпильками. Герметичность соединения обеспечивается
металлическим уплотнительным кольцом. При этом, в зависимости от типа фонтанной
арматуры, лубрикатор должен иметь соответствующий типоразмер своего фланца.
Выпускается нормальный ряд лубрикаторов, рассчитанных на давление 7, 14,
21, 35 и 70 МПа.
Труба лубрикатора изготавливается обычно из НКТ диаметром 73 мм
соответствующей группы прочности и длиной 1,2-1,4 м.
При растеплении скважин, эксплуатирующихся плунжер-лифтным способом, на
арматуру скважины устанавливается лубрикатор без фланца (в соответствии с
рисунком 1.16.-б0. Для этого откручивается плунжерная камера и на ее место
ввертывается данный лубрикатор
Размер присоединительной резьбы трубы лубрикатора к своему фланцу меньше,
чем присоединительная резьба лубрикатора для плунжер-лифтной скважины. Поэтому
они не являются взаимозаменяемыми.
.6.3 Сальниковое устройство
Сальниковое устройство предназначено для герметизации места ввода кабеля
на лубрикаторе в процессе его спуска в скважину.
В конструктивном отношении сальниковые устройства выполняются двух типов:
двухкамерные и трехкамерные. Трехкамерные обладают большей герметизирующей
способностью в сравнении с двухкамерными. (в соответствии с рисунком 1.17)
конструкция трехкамерного сальникового устройства.
Оно включает в себя нижнюю 1, среднюю 2 и верхнюю 3 герметизирующие
камеры, в гнезда которых установлены уплотнительные элементы 4. Средняя камера
снабжена дренажным патрубком 5.
На наружной поверхности камер выполнена резьба для их взаимного
свинчивания и подсоединения к муфте лубрикатора.
Уплотнительные элементы камер поджимаются через шайбы 6,7 и 8.Поджатие
уплотнительных элементов нижней и средней камер производится при взаимном
свинчивании их камер, а верхней - путем закручивания втулки 9.
Сальниковое устройство устанавливается на кабель до заделки его в
кабельном наконечнике.
Для облегчения его установки на кабель он сначала разбирается на
составные части, которые затем надеваются на кабель по порядку, начиная со
втулки 9 и заканчивая нижней камерой 1, и свинчиваются вновь.
Кольцевая проточка 10 с дренажным отверстием, выполненная в средней
камере у верхнего торца шайбы 7, предназначена для разгрузки от давления
уплотнительных элементов верхней камеры путем отвода наружу просочившейся через
уплотнения нижней и средней камер жидкости. Наружу жидкость выводится через
дренажный патрубок 5, к которому подсоединяется дренажный шланг.
,2,3 - соответственно нижняя, средняя и верхняя герметизирующие камеры; 4
- уплотнительные элементы; 5 - дренажный патрубок; 6,7,8 - шайбы; 9 - втулка;
10 - кольцевая проточка с отверстием
Рисунок 1.17. Сальниковое устройство трехкамерное
Уплотнительные элементы 4 изготавливаются из резиновых или резинотканевых
пластин толщиной 6 - 10 мм.
Наружный и внутренний диаметр уплотнительных элементов выполняется так,
чтобы обеспечить их предварительный натяг при установке в гнезда камер и кабель
в пределах 0,3 - 0,5 мм.
Двухкамерное сальниковое устройство отличается от трехкамерного лишь
отсутствием нижней камеры.
В процессе работы по мере износа уплотнительных элементов и появления повышенной
течи через дренажный шланг производится подкручивание камер по резьбе.
При этом уплотнительные элементы, деформируясь, устраняют появившиеся
зазоры между ними и кабелем, и течь уменьшается.
Если в процессе работы скважинная жидкость начинает выбрасываться наружу
через уплотнительные элементы верхней камеры, то это свидетельствует о том, что
либо чрезмерно изношены уплотнительные элементы, либо закупорены дренажные
каналы или шланг.
Сальниковое устройство предназначено для герметизации места ввода кабеля
на лубрикаторе в процессе его спуска в скважину. На наружной поверхности камер
выполнена резьба для их взаимного свинчивания и подсоединения к муфте
лубрикатора.
Для облегчения ввода кабеля в скважину через сальниковое устройство и
уменьшения износа уплотнительных элементов броня кабеля тщательно очищается от
песка, грязи, снега и смазывается (например, соляровым маслом).
При нормальной работе сальникового устройства течь через верхние
уплотнительные элементы отсутствует, а сила трения кабеля диаметром 12,3 мм при
его вводе в скважину с давлением на буфере не более 2 МПа не превышает 0,25 -
0,35 кН. Сальниковое устройство присоединяется к лубрикатору посредством
соединительной муфты.
.6.4 Устьевое оборудование
К устьевому оборудованию, применяемому при растеплении скважин,
относятся: верхний ролик, нижний ролик, штанга с серьгой и креплением опоры. В
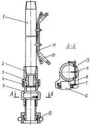
соответствии с рисунком 1.18 конструкция верхнего ролика, включающего в себя
ступицу 5, к которой приварен диск ролика 6 с желобом для кабеля.
Ступица 5 установлена на оси 4 на двух шарикоподшипниках 7. С торцов к
ступице прикреплены болтами 9 крышки 8.
Диаметр диска обычно составляет 320 мм. При работе ролик выточками,
имеющимися на оси 4, устанавливается в пазы опоры 2.
-ролик; 2-опора;3-штанга; 4-ось; 5-ступица ролика; 6-диск
ролика;7-подшипник; 8-крышка; 9-болт
Рисунок 1.18. Верхний ролик с опорой
Конструкция нижнего ролика, (в соответствии с рисунком 1.19)., включает в
себя ролик 1, смонтированный на оси 2, которая закреплена на щеках 3.
Щеки ролика осью 4 шарнирно соединены с пятой 5 и упираются в
ограничитель 6, который препятствует падению щек с роликом в нижнее положение.
В качестве ролика обычно используется мерный ролик блок-баланса,
применяемого при геофизических исследованиях скважин.
Стандартные мерные ролики изготавливаются так, что за один оборот по его
желобу проходит два метра бронированного кабеля.
Для облегчения веса нижнего ролика при растеплении скважин взамен мерного
ролика иногда устанавливают ролик меньшего диаметра, равного диаметру верхнего.
На скважине нижний ролик крепится, в зависимости от типа фонтанной
арматуры, к одному из ее фланцев: либо на нижний фланец планшайбы, либо на
нижний фланец крестовины.
Для этого одна из крепежных шпилек фланцевого соединения удаляется. После
чего пята 5 нижнего ролика своим отверстием совмещается с отверстием фланца и
крепится удлиненной шпилькой.
-ролик; 2-ось ролика;3-щека; 4-ось щеки; 5-пята; 6-ограничитель
Рисунок 1.19. Нижний ролик
Штанга предназначена для полного освобождения лубрикатора от воздействия
на него сжимающей нагрузки, а также освобождения от большей части изгибающего
момента, возникающих при выполнении спуска и подъема кабеля с нагревателем в
скважине.
Величина этих нагрузок в случае прихвата кабеля может достигать
значительных величин.
Штанга изготавливается из НКТ диаметром 73 мм такой длины, чтобы после ее
монтажа на скважину верхний ролик находился на 250-300 мм выше сальникового
устройства. Это обеспечивает более удобный ввод кабеля в скважину.
Опора штанги и опора верхнего ролика имеют сварную конструкцию. Штанга
соединена с опорой резьбовым соединением.
Опора же верхнего ролика свободно садится своим глухим отверстием в
нижней части на штангу.
Кольца удерживающей серьги 12 соединены друг с другом стяжной муфтой,
имеющей правую и левую резьбы. Этим обеспечивается возможность регулирования
межосевого расстояния между лубрикатором и штангой для центрирования кабеля
относительно сальникового устройства.
1.7 Канатный
инструмент и оборудование для проведения работ
В процессе эксплуатации фонтанных скважин периодически возникает
необходимость проводить исследования эксплуатирующихся пластов с целью
определения пластовых давлений, температур и других характеристик пласта.
Исследования проводят глубинными манометрами, термометрами и другими
приборами. Лубрикатором герметизируют устье скважины при спуске в нее
глубинного прибора.
При исследовании скважин часто необходимо устанавливать над фонтанной
елкой лубрикатор для спуска того или иного прибора. Для этой цели в тройниковой
и крестовой арматуре предусмотрено верхнее стволовое запорное устройство.
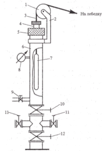
Лубрикатор( в соответствии с рисунком 1.20). представляет собой отрезок
насосно-компрессорной трубы 6 соответствующей длины, устанавливаемый на фланце
буферной задвижки 10, и включающий в себя ролик 1, закрепленный на кронштейне
2. Кронштейн крепится на трубе 6. В верхней части имеется сальниковый узел 4 и
сальниковая крышка 5, наворачиваемая на трубу 6. Внутрь лубрикатора вводится
глубинный прибор 7, спускаемый в скважину на проволоке 3. В нижней части
лубрикатора имеется отвод со сливным краном 9. Давление внутри лубрикатора
(устьевое давление Р) фиксируется манометром 8. Перед установкой лубрикатора
закрывается буферная задвижка 10, а продукция скважины эвакуируется в выкидные
манифольды с задвижками 11. Центральная задвижка 12 открыта. После установки
лубрикатора на фланце буферной задвижки и введения в него глубинного прибора
заворачивается сальниковая крышка 5 с сальниковым узлом 4. Проволока 3
уплотняется в узле 4. Закрывается кран 9 и открывается задвижка 10. Манометр 8
регистрирует давление на устье скважины. После этого прибор спускают в колонну
НКТ. В скважинах, эксплуатируемых насосным способом, спуск прибора осуществляют
до выкида насоса, а в фонтанных и газлифтных - до забоя.
Лубрикатор состоит из корпуса, трубы , корпуса сальника , двух роликов ,
закрепленных на кронштейнах. Через сальник пропускают проволоку, к которой
подвешивается прибор. Грундбуксой и нажимной гайкой по мере появления пропусков
среды подтягивают сальник. Вентиль служит для установки на нем манометра,
регистрирующего давление в скважине, и при необходимости для снижения давления
через разрядную пробку .
Лубрикатор устанавливают на фонтанную арматуру в следующей
последовательности. Закрывают верхнюю стволовую задвижку. Через разрядную
пробку вентилем снижают давление. Отсоединяют верхний фланец с вентилем и
манометром и устанавливают лубрикатор, в который предварительно вводят
глубинный прибор.
- ролик; 2 - кронштейн; 3 - проволока; 4 - сальниковый узел; 5 -
сальниковая крышка; б - труба (собственно лубрикатор); 7 - глубинный прибор; 8
- манометр; 9 - сливной кран; 10 - буферная задвижка; 11 - задвижки выкидных
манометров; 12- центральная задвижка.
Рисунок 1.20. Схема лубрикатора
Проволоку, на которой подвешен прибор, пропускают через сальник.
Установленный на фонтанной арматуре лубрикатор опрессовывается, после
чего при помощи лебедки, смонтированной на специальной машине, спускают
глубинный прибор. Канатный инструмент - это набор инструментов и
принадлежностей для различных операций, проводимых непосредственно в скважине и
спускаемых в нее на проволоке или канате.
Все эти инструменты можно разделить на следующие категории:
стандартный канатный набор для создания ударов вверх и вниз (механический
и гидравлический яссы, грузоштанги, шарниры, замки);
инструмент для установки и извлечения клапанов всех видов, оснащенных
замком (отклонитель для работ в скважинных камерах, спускной и подъемный
инструмент и др.);
инструменты специального назначения (оправка, скребок, печать, ловильный
инструмент, инструмент для открытия - закрытия циркуляционного клапана, желонка
для песка и др.).
Колонный инструмент и колонные скребки предназначены для очистки
внутренней поверхности обсадных и эксплуатационных колонн от слоя бурового
раствора, цементных корок, заусенцев, задиров, отложений солей, парафина и
шлама перед спуксом пакеров или скважинного оборудования, а также для
проведения ремонтных работ. Очистка производится с одновременной промывкой
ствола скважины.
Фрезер предназначен для разбуривания стационарных пакеров, пробок и
скважинного оборудования при капитальных ремонтах. Фрезеры и рейберы используют
для удаления солей, парафина и шлама из колонн НКТ.
Яссы представляют собой раздвижные устройства, которые приводятся в
действие натяжением проволоки (каната). Их применяют вместе с грузовыми
штангами, которые всегда устанавливают непосредственно над яссами. Яссы
предназначены для создания динамических ударов. [5] [1]
Рисунок 1.21. Гидравлический ясс
Гидравлический ясс ЯСГ( в соответствии с рисунком 1.21) для создания
ударного импульса вверх срабатывает автоматически. Он состоит из корпуса 5,
выполненного в виде цилиндра с различными внутренними диаметрами.
Нижняя часть цилиндра имеет меньший диаметр, в ней помещен плунжер 10 с
обратным клапаном 4. Шток плунжера проходит через верхний упор 8 и гайку 9.
Соединение корпуса с верхним упором уплотнено кольцом 6. Место выхода
штока из верхнего упора герметизируется уплотнительным элементом 7. Шток через
головку 11 соединяется с проволокой. Полость б над плунжером заполнена
жидкостью. Нижний конец корпуса 5 заканчивается переводником 1, к которому
присоединяется шток механического ясса. Между плунжером 10 и переводником 1 в
цилиндре помещен плавающий поршень 3 с уплотнением 2. Полость а под плавающим
поршнем через окна сообщается с колонной насосно-компрессорных труб.
Ударный импульс вверх создается яссом следующим образом. При натяжении
проволоки плунжер начинает медленно перемещаться вверх. Жидкость из полости б
через зазор между цилиндром и плунжером начинает перетекать в полость под
плунжером. Когда плунжер достигает участка цилиндра диаметром большим, чем
диаметр плунжера, скорость его резко возрастает.
Плунжер верхней торцовой поверхностью ударяет в верхний упор. Действие
удара плунжера через корпус 5 и переводник 1 передается на устройства,
присоединенные к гидравлическому яссу.
По мере перетекания жидкости объемы полости б над плунжером и полости в
под плунжером меняются. Плавающий поршень 3 служит для выравнивания их.
Вниз плунжер движется под действием веса грузовых штанг, при этом
обратный клапан в плунжере открывается и жидкость из нижней полости цилиндра
перетекает в верхнюю. Затем цикл работы ясса повторяется.
Рисунок 1.22. Механический ясс
Механический ясс ЯСМ (в соответствии с рисунком 1.22) предназначен для
создания ударного импульса вверх и вниз. Он состоит из кожуха 3 с разгрузочными
отверстиями для перетекания жидкости с целью снижения гидравлического
сопротивления при работе ясса, поршня 2, верхнего 1 и нижнего 6 упоров, головки
4 и штифта 5 для предотвращения самоотвинчивания резьбового соединения поршня с
головкой. При полном растягивании ясса заплечик на нижнем конце внутренней
стороны корпуса упирается в верхний упор.
При полном закрытом положении нижний конец корпуса упирается в нижний
упор. Чтобы нанести удар вверх, колонну инструментов спускают на расстояние,
немного меньшее полного хода ясса, который равен 500 мм, затем быстро поднимают
проволоку или канат с помощью лебедки. Для удара вниз медленно поднимают
проволоку или канат на расстояние, немного меньшее полной длины хода ясса, и
затем спускают с максимальной скоростью.
При малых глубинах скважин операции по встряхиванию часто проводят без
использования подъемника, т. е. ручным способом.
Ясс 1ЯСМ состоит из двух вилок, вставленных крестообразно одна в другую.
Вилки могут скользить одна вдоль другой до упора друг в друга. Принцип
работы ясса 1ЯСМ такой же, как и ясса ЯСМ. [5]
Рисунок 1.23.Отклонитель рычажный
Отклонитель рычажный ОР (в соответствии с рисунком 1.23) предназначен для
смещения газлифтного (циркуляционного или глухого) клапана в направлении
кармана эксцентричной скважинной камеры и его установки. Он состоит из стержня
1, подвижных гильз верхней 3 и нижней 5, к которым шарнирно присоединены
подпружиненные двухплечие рычаги 4.В сложенном положении рычаги 4 расположены
вдоль стержня и не препятствуют движению набора инструментов в свободном
проходе скважинной камеры. При этом положении гильзы 3 и 5 и рычаги 4 находятся
в верхнем положении на стержне, где они стопорятся приливом 2. После спуска
инструмента до глубины расположения скважинной камеры производят его
“встряхивание”. При этом верхняя гильза 3 соскальзывает с прилива 2 и вместе с
рычагами 4 и нижней гильзой 5 перемещается вниз до упора. Рычаги 4 раскрываются
под действием пружины 6 и отклонитель разворачивается в плоскости большой оси
эллипсообразного поперечного сечения скважинной камеры и направляет клапан и
инструмент для съема или посадки клапана в карман.
Консольный отклонитель ОК имеет то же назначение, что и отклонитель
рычажный, но применяется в сильно искривленных скважинах.
Спускной инструмент ИСК предназначен для спуска в скважину газлифтных
клапанов.
В кожухе просверлено по касательной два отверстия, в которые вставляются
срезные латунные штифты. С их помощью спускаемое устройство фиксируется в
кожухе спускного инструмента.
После посадки их в скважинной камере или ниппеле латунные штифты
срезаются за счет удара, производимого яссом вверх, и спускной инструмент
извлекается на поверхность.
Инструмент ИС предназначен для спуска и установки в месте посадки
скважинного оборудования (клапанов-отсекателей, глухих пробок и т.п.) с замками
типов 1ЗК и ЗНЦВ.
Инструмент входит в комплект инструмента ИКПГ.
Инструмент подъема ИПЗ служит для подъема зафиксированного в ниппеле
клапана-отсекателя с замками типов 13К, ЗНЦВ и ЗНЦВ1.
Толкатель в соответствии с рисунком 1.24 предназначен для управления
циркуляционным механическим клапаном КЦМ, разъединителем колонн РК и
телескопическим соединением СТ2 и СТ2Г , в которых для толкателя предусмотрены
канавки с буртами.
1 - плашки; 2 - башмак; 3 - пружина; 4- шток; 5- штифт срезной; 6-
головка; 7- корпус; 8- опора; 9- ограничитель
Рисунок 1.24. Толкатель
В зависимости от положения бурта толкатель спускается переводником вниз
или вверх.
Толкатель спускается при помощи канатной техники.
В кожухе просверлено по касательной два отверстия, в которые вставляются
срезные латунные штифты. С их помощью спускаемое устройство фиксируется в
кожухе спускного инструмента.
После посадки их в скважинной камере или ниппеле латунные штифты срезаются
за счет удара, производимого яссом вверх, и спускной инструмент извлекается на
поверхность. [5]
При проходе сужений плашки толкателя сближаются к центру, заходя в
выточку, и раздвигаются в ней под действием пружины, после чего ударами ясса
управляемый элемент передвигается в нужном направлении.
Отсоединение толкателя происходит при упоре головки плашки 1 в
неподвижный элемент управляемого оборудования. Для извлечения толкателя при
прихватах, а также при необходимости возврата через вышерасположенные элементы,
управляемые тем же толкателем, ударом ясса срезается штифт 5 и при подъеме
штока 4 корпус 7 надвигается на плашки и сдвигает их к центру.
Для отсоединения разъединителя колонны РК толкатель спускается с
ограничителем 9 для предохранения от произвольного открытия уравнительного
клапана глухой пробки.
Предохранитель ПКА предназначен для защиты посадочного ниппеля
клапана-отсекателя и опрессовки трубки управления в комплексе КУСА.
Клапаны извлекаются также с помощью канатной техники.
Для этого в скважину спускается экстрактор, который, попадая в
эксцентричную камеру, после последующего небольшого подъема ориентируется там
направляющей втулкой в плоскости посадочной камеры клапана.
После ориентации экстрактора его звенья под действием пружин переламываются
в сочленениях так, что становятся в положение перед ловильной головкой клапана.
Захватное пружинное приспособление на конце экстрактора при посадке на
ловильную головку клапана захватывает ее и при подъеме вырывает сам клапан из
посадочной камеры.
Арматура, устанавливаемая на устье газлифтных скважин, аналогичная
фонтанной арматуре и имеет то же назначение - герметизацию устья, подвеску
подъемных труб и возможность осуществления различных операций по переключению
направления закачивания газа, операций по промывке скважины и пр.
На газлифтных скважинах часто используется фонтанная арматура, остающаяся
после фонтанного периода эксплуатации, но обычно применяется специальная
упрощенная и более легкая арматура, поскольку возможные неполадки в ней не
угрожают открытым фонтаном.
Часто арматуру приспосабливают для нагнетания газа либо только в
межтрубное пространство, либо в центральные трубы.
Когда эксплуатация газлифтных скважин сопровождается интенсивным
отложением парафина, арматура устья дополнительно оборудуется лубрикатором,
через который в НКТ вводится скребок, спускаемый на проволоке для механического
удаления парафина с внутренних стенок труб.
Для замены газлифтных клапанов в эксцентричных камерах или установки
вместо газлифтных клапанов просто заглушек, не прибегая при этом к глушению или
остановке скважины, на устье скважины устанавливается специальное оборудование
устья газлифта ОУГ-80Х350 с проходным диаметром 80 мм и рассчитанное на
давление 35 МПа, представляющее собой лубрикатор особой конструкции (в
соответствии с рисунком 1.25. )
На фланец верхней крестовины 1 газлифтной арматуры или на фланец буферной
задвижки устанавливается малогабаритный перекрывающий механизм - превентор 2 с
ручным приводом, имеющий эластичные (резиновые) уплотняющие элементы, с помощью
которых можно перекрыть скважину даже в том случае, когда в ней остается
проволока.
На превентор с помощью быстросъемных соединений крепятся секции
лубрикатора 3, на верхнем конце которого имеется сальник 4 для пропуска
проволоки 5 или тонкого каната и ролик 6.
Внизу арматуры укрепляется натяжной шкив 7, через который канатик
направляется на барабан лебедки с механическим приводом.
Параллельно лубрикатору крепится небольшая съемная мачта 8 с полиспастом
9 для облегчения поднятия и сборки лубрикатора и ввода в него необходимого
инструмента или извлечения поднятых клапанов.
Натяжной шкив связан механически с датчиком 10, преобразующим силу
натяжения канатика в электрические сигналы, передаваемые по кабелю 11 на
индикаторное устройство.
Датчик показывает натяжение канатика и дает информацию о захвате и
извлечении газлифтного клапана из посадочной камеры. Вообще при использовании
канатной техники по натяжению канатика можно судить о проводимых операциях на
глубине.
Рисунок 1.25. Устьевой лубрикатор для спуска и подъема газлифтныхклапанов
с помощью канатной техники
В связи с этим точности определения натяжения канатика, предотвращению
его обрыва придается особое значение при использовании канатной техники.
В качестве привода для барабана лебедки используется гидравлический
двигатель для более точного и плавного осуществления этих операций. [5]
Газлифтные клапаны устанавливаются и извлекаются с помощью гидравлической
лебедки, смонтированной в кузове микроавтобуса, либо на специальной раме,
переносимой вертолетом при использовании на заболоченных территориях.
Агрегат смонтирован на шасси автомобиля УАЗ-452 и состоит из масляного
насоса с приводом от двигателя автомобиля, двухскоростной лебедки с приводом от
гидродвигателя, системы гидрооборудования, включающей клапанные и золотниковые
устройства, а также гидросистему управления лебедкой. Перед оператором в кабине
установлены индикатор натяжения проволоки и указатель глубины.Гидродвигатель
лебедки может работать как насос в режиме торможения и может быть полностью
остановлен перекрытием соответствующих клапанов.
Агрегат применяется для работ по установке и извлечению газлифтных
клапанов в скважинах глубиной до 4600 м при диаметре проволоки до 2,5 мм, а
также для спуска измерительных приборов при исследовании скважин глубиной до
7000 м с проволокой 1,8 мм. Скорость подъема инструмента регулируется от 0,2 до
16 м/с. Номинальная мощность гидродвигателя лебедки ~ 27,2 кВт. Гидронасос
масляный шестеренчатого типа развивает давление до 13 МПа при подаче 0,0025
м3/с (150 л/мин). Секции лубрикатора изготавливаются из насосно-компрессорных
труб, рассчитанных на давление большее, чем на устье скважины.Трубы выбираются
такого диаметра, чтобы можно было обеспечить прием всех инструментов,
спускаемых или поднимаемых на проволоке.Длина каждой секции 2,5 м. Они
соединяются между собой быстросборными соединениями с резиновыми
уплотнительными кольцами. Для удобства и безопасности ведения работ стараются
уменьшить число секций до минимума, при этом общая длина их должна обеспечивать
прием самого длинного набора спускаемых в скважину инструментов. [1]
Для соединения превентора с лубрикатором и нижним патрубком предусмотрены
быстросборные соединения со стволовой задвижкой арматуры.
.8 Лубрикатор устьевой скважинный Л 65х14, ЛУ 65х21, ЛС 65х35, 70 МПа
Лубрикатор предназначен для герметизации устья скважины при спуске в нее
глубинных приборов или инструментов.
В лубрикаторе применено двухступенчатое сальниковое уплотнение с
возможностью замены рабочего сальника под давлением.
Имеется устройство для контроля давления и слива продукта. [23]
Технические характеристики
Рабочее давление, МПа
от 21 до 70
Диаметр
скребковой проволоки ,мм
под кабель
от 1,8 до 2,5
от ø6,3 мм
Сальниковое уплотнение
-х ступенчатое
Высота, мм
по заказу потребителя
а также возможно изготовление лубрикаторов из двух составных частей -
предназначенные для более удобной транспортировки.
Предельные значения температуры:
окружающего воздуха: от плюс 40 °С до минус 40 °С
скважинной жидкости: не более плюс 100 °С
Коррозионно-стойкое исполнение - К2.
Лубрикатор скважинный применяется для герметизации устья скважины при
спуске приборов для проведения гидродинамических геофизических исследований
нефтяных и газовых скважин.
Лубрикатор оборудован устройством для контроля давления и слива продукта.
В лубрикаторе применено как одноступенчатое, так и двухступенчатое
сальниковое уплотнение с возможностью замены рабочего сальника под давлением.
Дополнительная комплектация Площадка для обслуживания и установки
лубрикатора Электронный счетчик положения и скорости. [23]
2. Специальная часть
.1 Анализ авторских свидетельств
Авторское свидетельство № 2289674
Изобретение относится к нефтяной и газовой промышленности, а именно к
устройствам, обеспечивающим проведение геофизических исследований и работ в
нефтяных и газовых скважинах приборами и инструментами на кабеле и проволоке.
Известен лубрикатор, содержащий уплотнительное устройство для контактной
герметизации каротажного кабеля, включающее корпус с установленными в нем
контактным уплотнителем и нажимной втулкой, взаимодействующей с резьбовой
втулкой (Ю.В.Зайцев и др. «Освоение и ремонт нефтяных и газовых скважин под
давлением». М.: Недра, 1982, стр.167-168).
Такая конструкция уплотнительного устройства позволяет герметизировать
гибкий элемент (каротажный кабель или скребковую проволоку) в процессе
проведения спуско - подъемных операций глубинных приборов в нефтяных и газовых
скважинах при избыточном давлении на устье.
В известном устройстве герметизация создается предварительным поджимом
уплотнителя, подтяжкой резьбовой втулки и передачей усилия затяжки на
уплотнитель через нажимную втулку.
Недостатком такого устройства является то, что изменение степени
воздействия уплотнителя на гибкий элемент для снижения утечек скважинного
флюида можно выполнить только при непосредственном доступе оператора к
резьбовой втулке. Это весьма сложно выполнить, особенно при большой высоте
лубрикатора или при работе на скважинах, продукция которых содержит токсичные компоненты,
такие как сероводород.
Известен лубрикатор с устройством для контактной герметизации гибкого
элемента, содержащим корпус с размещенными в нем контактным уплотнителем и
нажимной втулкой, взаимодействующей с подпружиненным поршнем, установленным в гидроцилиндре,
закрепленном на корпусе (Ю.В.Зайцев и др. «Освоение и ремонт нефтяных и газовых
скважин под давлением». М.: Недра, 1982, стр.167-168). Такое устройство
позволяет обеспечить дистанционное регулирование нагружения уплотнителя подачей
давления в полость гидроцилиндра.
Недостатком описанного данного устройства является то, что для его работы
постоянно требуется наличие источника высокого давления жидкости, например
ручного плунжерного насоса, и линии для соединения источника высокого давления
с гидроцилиндром.
Известен также лубрикатор, содержащий устройство для контактной
герметизации гибкого элемента, включающее корпус с размещенными в нем
контактным уплотнителем и нажимной втулкой, взаимодействующей с подпружиненным
поршнем, установленным в гидроцилиндре, который закреплен на корпусе;
гидроцилиндр дополнительно снабжен резьбовой втулкой, установленной с
возможностью взаимодействия с подпружиненным поршнем («General products catalog
Hydrolex Inc. Easter Oil Tools Ptc. Ltd», стр.7). Данное устройство
обеспечивает нагружение уплотнителя либо за счет предварительной подтяжки
резьбовой втулки, либо путем подачи давления в гидроцилиндр, т.е. реализуется
возможность универсального применения одного устройства вместо двух ранее
упомянутых.
Недостатком данного устройства является то, что при предварительном
нагружении уплотнителя с помощью резьбовой втулки происходит одновременное
перемещение подпружиненного поршня устройства, что уменьшает рабочий ход
подпружиненного поршня и резко снижает эффективность уплотнителя при
дистанционном нагружении.
Таким образом, в известных конструкциях лубрикаторных установок не
представляется возможным при проведении спуско-подъемных операций
компенсировать износ уплотнительного элемента за счет его предварительного
сжатия. Это приводит к ухудшению экологической обстановки за счет повышенной
утечки скважинного флюида в атмосферу, создает необходимость превентивной
замены уплотнителя, имеющего небольшой износ, до начала скважинных работ.
Сущностью изобретения является повышение надежности уплотнения гибкого
элемента в лубрикаторе, снижение утечек скважинного флюида, уменьшение расхода
уплотнительных элементов.
Это достигается тем, что уплотнительное устройство для контактной
герметизации гибкого элемента лубрикатора выполняется в виде конструкционного
узла, содержащего контактный уплотнитель, нажимную втулку, подпружиненный
поршень, установленный в гидроцилиндре, и резьбовую втулку, причем
подпружиненный поршень выполнен в виде перевернутого стакана с резьбовой
втулкой в качестве дна, который одет на закрепленный в нижней части
гидроцилиндра упор уплотнителя, размещенного в полости стакана, в результате
чего обеспечивается возможность осуществления поджима уплотнителя резьбовой
втулкой или нагружение его при помощи подпружиненного поршня независимо друг от
друга, что в конечном счете позволяет осуществлять предварительную компенсацию
износа уплотнителя в широких пределах без ограничения хода подпружиненного
поршня.
При таком выполнении устройства поджим уплотнителя резьбовой втулкой или
нагружение его при помощи подпружиненного поршня осуществляется независимо друг
от друга, в связи с чем можно осуществлять предварительную компенсацию износа
уплотнителя в широких пределах без ограничения хода подпружиненного поршня.
Кроме того, такая конструкция существенно облегчает замену уплотнителя, для
чего необходимо лишь вывернуть из верхней части подпружиненного поршня
резьбовую втулку, извлечь нажимную втулку и уплотнитель.
При работе уплотнительного устройства в процессе обеспечения герметизации
гибкого элемента за счет нагружения уплотнителя при помощи подпружиненного
поршня нагрузка на уплотнитель создается при минимальном трении о стенки
корпуса, поскольку уплотнитель, размещенный в самом подпружиненном поршне, не
имеет сколь нибудь существенного перемещения по отношению к внутренней стенке
подпружиненного поршня. Зона максимального сжатия уплотнителя, которая
обеспечивает герметизацию гибкого элемента, создается в нижней его части на
контакте с упором гидроцилиндра, т.е. со стороны действия скважинного флюида.
При этом силы трения перемещения уплотнителя относительно стенки
подпружиненного поршня и относительно герметизируемого элемента направлены в
противоположные стороны, что снижает неравномерность контактных давлений между
уплотнителем и гибким элементом. Это увеличивает износостойкость и
герметичность уплотнителя, а также снижает сопротивление при движении гибкого
элемента. При снятии нагрузки с подпружиненного поршня снижением управляющего
давления обеспечивается более надежная разгерметизация уплотнителя, который
перемещается под действием скважинного флюида. Одновременно обеспечивается
образование зазора между гибким элементом и уплотнителем за счет
расклинивающего действия скважинного флюида. Это исключает эффект самозапирания
(схлопывания) уплотнителя под действием высокого давления скважинного флюида.
Такое явление имеет место при работе с известными уплотнительными устройствами
на скважинах с высоким избыточным давлением на устье.
Таким образом, использование предлагаемого технического решения позволяет
значительно повысить эффективность работы в устройствах для контактной
герметизации гибкого элемента.
Изобретение было реализовано при изготовлении и испытании лубрикатора в
полевых условиях для исследования нефтяных и газовых скважин.
На чертеже представлена схема устройства в разрезе.
Устройство состоит из гидроцилиндра 1 с радиальным отверстием 2. В
гидроцилиндре 1 установлен упор 3, на который одет подпружиненный поршень 4,
выполненный в виде стакана, подпираемого снизу пружиной 5. В полости 6
подпружиненного поршня 4 установлен уплотнитель 7 гибкого элемента 8, нажимная
втулка 9 и резьбовая втулка 10. Резьбовая втулка 10 является дном стакана,
запирающим полость 6. Между гидроцилиндром 1 и поршнем 4 имеется кольцевая щель
11, которая сообщена со штуцером 12, закрепленным в стенке гидроцилиндра 1. На
гидроцилиндре 1 установлен поворотный кронштейн 13, снабженный подшипниками 14
и 15. Поворотный кронштейн 13 зафиксирован от осевого перемещения вверх с
помощью кольца 16. На кронштейне 13 установлена стойка 17 с поворотным блоком
18 и ограничителем 19. В нижней части гидроцилиндра 1 имеется накидная гайка 20
для закрепления устройства на трубах камеры лубрикатора (не показана).
Работа устройства заключается в следующем.
Устройство монтируется на верхней трубе камеры лубрикатора при помощи
накидной гайки 20. Уплотнитель 7 с пропущенным через устройство гибким
элементом 8 предварительно нагружается резьбовой втулкой 20. При этом создается
нагрузка на уплотнитель 7 через нажимную втулку 9, обеспечивающую поджатие
уплотнителя 7 и выборку зазора между уплотнителем 7 и гибким элементом 8. После
установки устройства на трубах камеры лубрикатора при помощи накидной гайки 20
и пропуска уплотняемого элемента 8 через поворотный блок с ограничителем 19
производят выравнивание давления в камере лубрикатора и в скважине, после чего
выполняют спуск прибора, подвешенного на кабеле или проволоке 8, в скважину. В
процессе спуска прибора в случае повышенного пропуска скважинной среды через
зазор между уплотнителем 7 и уплотняемым элементом производится поджим поршня 4
рабочей жидкостью через штуцер 12 и кольцевую щель 10. Поршень 4, двигаясь
вниз, перемещает вместе с собой резьбовую втулку и нажимную втулку 9, которая
обеспечивает деформирование уплотнителя 7 на контакте с упором 3. Деформация
уплотнителя 7 обеспечивает перекрытие зазора между уплотнителем 7 и уплотняемым
элементом 8 в нижней части уплотнителя 7, что приводит к сокращению пропусков
скважинной среды.
Поворотный блок 18, установленный на поворотном кронштейне 13 с
подшипниками 14 и 15, является самоустанавливающейся опорой уплотняемого
элемента 8 и предотвращает последний от износа при проведении спуско-подъемных
операций. После спуска прибора на заданную глубину давление рабочей жидкости в
кольцевой щели 11 увеличивают. Это вызывает дальнейшее опускание поршня 4 вниз
и обеспечивает полную деформацию уплотнителя 7, который перекрывает зазор между
уплотняемым элементом 8 и уплотнителем 7 и обеспечивает полное перекрытие
утечек скважинной среды в атмосферу.
Перед началом движения уплотняемого элемента 8 давление в кольцевой щели
11 снижают стравливанием рабочей жидкости через штуцер 12. При этом поршень 4
под действием пружины 5 поднимается вверх, что прекращает силовое воздействие
поршня 4 на уплотнитель 7, который расклинивается скважинной средой, освобождая
уплотняемый элемент 8. Радиальное отверстие 2 обеспечивает свободный выход или
вход воздуха при перемещении поршня 4 в корпусе 1.
При отсутствии необходимости полной ликвидации утечек скважинной среды в
процессе проведения работ можно ограничиться предварительным поджатием
уплотнителя 7, резьбовой втулкой 10 без применения в дальнейшем гидравлического
управления.
Технический результат выражается в повышении надежности уплотнения
гибкого элемента в лубрикаторе, снижении утечек скважинного флюида, уменьшении
расхода уплотнительных элементов.
Рисунок 2.3.Начальное положение премной камеры
Формула изобретения
Лубрикатор для исследования нефтяных и газовых скважин, состоящий из
превентора, приемной камеры и устройства для контактной герметизации гибкого
элемента (каротажного кабеля или скребковой проволоки), содержащий уплотнитель,
нажимную втулку, подпружиненный поршень, установленный в гидроцилиндре, и
резьбовую втулку, отличающийся тем, что подпружиненный поршень выполнен в виде
перевернутого стакана с резьбовой втулкой в качестве дна, надетого на
закрепленный в нижней части гидроцилиндра упор уплотнителя, размещенного в
полости стакана, в результате чего обеспечивается возможность осуществления
поджима уплотнителя резьбовой втулкой или нагружение его при помощи
подпружиненного поршня независимо друг от друга, что в конечном счете позволяет
осуществлять предварительную компенсацию износа уплотнителя в широких пределах
без ограничения хода подпружиненного поршня.
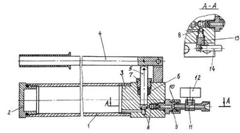
Авторское свидетельство № 37148
Геофизическое оборудование для герметизации устья эксплуатационных
скважин при проведении геофизических исследований и работ под давлением,
состоящее из секционной камеры, уплотнительного устройства, кабельного
превентора и сигнализирующего устройства, отличающееся тем, что обладает
высокой надежностью, малой металлоемкостью и наличием не менее двух типов
уплотнительных устройств: контактного и газодинамического, имеет в своем
составе грузозахватное приспособление для монтажа - демонтажа лубрикатора на
фонтанную арматуру с помощью геофизической вышки.
Установка лубрикаторная геофизическая УЛГ 65х14.
Полезная модель относится к геофизическому оборудованию для геофизических
исследований и работ в эксплуатационных скважинах с избыточным давлением на
устье. Оборудование позволяет выполнить спуск и подъем различных скважинных
приборов и устройств при геофизических исследованиях в скважинах под давлением.
Известны конструкции отечественных и зарубежных лубрикаторных установок,
описанных в книге « Освоение и ремонт нефтяных и газовых скважин под
давлением», авторы Ю.В. Зайцев и др. М. Недра, 1982. В качестве прототипа
выбрана лубрикаторная установка, разработанная трестом «Союзгазгеофизика» и
демонтированная на ВДНХ СССР в 1983г.
Недостатками оборудования прототипа являются:
отсутствие устройства, предотвращающего падение прибора в скважину;
отсутствие контактного уплотнительного устройства.
Отличительной особенностью предлагаемой полезной модели является высокая
надежность, наличие многофункциональных уплотнительных устройств,
обеспечивающих герметизацию устья скважин при проведении геофизических
исследований и работ в скважине, малая металлоемкость конструкции при
достаточной механической прочности, простота обслуживания, наличие
сигнализирующего устройства, предотвращающего падение прибора в скважину в
случае аварийной ситуации - отрыва прибора от кабеля в камере лубрикатора.
Рисунок 2.4. Установка лубрикаторная геофизическая УЛГ 65х14.
В состав лубрикаторной установки входят : секционная камера 3,
уплотнительное устройство 7, кабельный превентор 8 и сигнализирующее устройство
6 с манометрическим краном 9. Уплотнительное устройство 7 крепится к верхней
части секционной камеры быстросоединяющей гайкой. К нижней части секционной
камеры быстросоединяющей гайкой крепится сигнализирующее устройство 6.
Кабельный превентор 8 быстросоединяющей гайкой соединен с сигнализирующим
устройством 6. Секционная камера является связующим звеном между
сигнализирующим устройством 6 и уплотнителем устройством 7, предназначается для
размещений в ней геофизических приборов (перфораторов) с грузами. Секционная
камера состоит из заменяемых труб разной длины, с помощью которых можно
изменять размер секционные камеры в зависимости от давления на устье скважины и
высоты фонтанной арматуры. Превентор кабельный предназначен для гирметизации
устья скважины с находящимся в ней геофизическим кабелем с прибором
(перфоратором) и грузами, с целью предотвращения утечки газа и проведения
ремонтных работ в лубрикаторной установки.
3. Расчетный раздел
.1 Расчет корпуса лубрикатора, находящийся под действием внутреннего
давления газа
Для спуска или подъема на проволоке или канате инструментов, применяемых
при посадке и извлечении газлифтных клапанов, применяют специальную установку
для проведения скважинных работ, смонтированную на шасси автомобиля.
Лубрикатор скважинный применяется для герметизации устья скважины при
спуске приборов для проведения гидродинамических геофизических исследований
нефтяных и газовых скважин. Лубрикатор оборудован устройством для контроля
давления и слива продукта. В лубрикаторе применено как одноступенчатое, так и
двухступенчатое сальниковое уплотнение с возможностью замены рабочего сальника
под давлением. Технические характеристики
Рабочее давление, МПа от 21 до 70 МПа Диаметр скребковой проволоки ,мм от
1,8 до 2,5, а также под кабель от ø6,3 мм Сальниковое уплотнение 2-х
ступенчатое Высота, мм по заказу потребителя Возможно изготовление лубрикаторов
из двух составных частей - предназначенные для более удобной транспортировки.
Корпус, состоящий из проушины - 1, бобышки - 2 , втулки - 3,
цилиндрического стакана - 4 и фланца - 5, находится под действием избыточного внутреннего
газа р равно 21 МПа.
Таблица 3.1 - Технические характеристики
|
Наименование параметра
|
Значение
|
|
Рабочая среда
|
Нефть и вода
|
|
Рабочее давление, МПа
|
21
|
|
Способ управления
|
Ручной
|
|
Класс герметичности по ГОСТ
9544 -2005
|
А
|
|
Рабочий диапазон температур
окружающей среды
|
От -40 °С до +40 °С
|
|
Предельное значение
температуры скважинной жидкости
|
Не более +100°С
|
|
Масса, кг
|
34
|
Коэффициент
запаса прочности выбираем равным 3,8. Тогда допускаемое напряжение для стали 35
при расчете данного корпуса будет равно Диаметр цилиндрического стакана Dв
равен 72мм, длина равна 2000мм. Рабочая температура в корпусе превышает 100
.
Определить
толщину стенки корпуса. Предел прочности при растяжении 
в для
стали 35 по данным таблицы 3.2 принимаем равным 500 МПа.
Таблица 3.2 - Пределы прочности
при растяжении тонколистовой и горячекатаной толстолистовой сталей
|
Марка стали
|
 в, МПа
|
|
0.8
|
275-370
|
|
10
|
275-410
|
|
15
|
315-440
|
|
20
|
340-490
|
|
25
|
390-540
|
|
30
|
440-590
|
|
35
|
490-635
|
|
45
|
540-685
|
|
50
|
540-735
|
Таблица 3.3 - Коэффициенты запаса прочности для труб
|
Виды труб
|
Коэффициенты запаса
прочности
|
|
 в т
|
|
|
Бесшовные трубы
|
3,8
|
1,7
|
|
Трубопроводы
|
4,0
|
1,8
|
Толщину стенок корпуса лубрикатора находят по формуле

= 
+ 
с , ( 3.1
)

= 
= 0,0047
м.
где

-
внутреннее давление газа в корпусе;

-
внутренний диаметр цилиндрического стакана;
[
] -
допускаемое напряжение при растяжении для материала стенки корпуса;

-
коэффициент прочности;

с -
прибавка на коррозию к толщине стенки корпуса.
Толщина
стенки корпуса по формуле (3.1) будет равна (без учета прибавки на коррозию)
Принимаем
ее равной 5мм.
Таблица 3.4 - Значения модуля
продольной упругости и коэффициента Пуассона для некоторых материалов (при
температуре ±40
)
|
Наименование материала
|
Модуль продольной
упругости, МПа
|
Коэффициент Пуассона
|
|
Сталь: углеродистая
легированная
|
(2-2,1) 0,24-0,28
|
|
|
2,1 0,25-0,30
|
|
|
Чугун серый, белый, ковкий
|
(0,8-1,6) 0,23-0,27
|
|
|
Латунь
|
(0,9-1,1) 0,32-0,42
|
|
|
Алюминиевые сплавы
|
(0,7-0,72) 0,32
|
|
|
Дюралюминий катаный
|
0,71 0,32-0,34
|
|
Для
стали по таблице 1.8 принимаем модуль продольной упругости Е=2
Па,
коэффициент Пуассона 
= 0,3.
Наружное
давление, при котором теряется устойчивость корпуса лубрикатора, называют
критическим. Оно зависит от геометрической формы, размеров и от физических
свойств материала корпуса .
Стакан
корпуса подразделяется на длинные и короткие. В качестве критерия для сравнения
служит критическая длина стакана корпуса, рассчитываемая по формуле
кр
= 4,644
, (3.2
)кр = 4,644
= 12,7 м.
где

- радиус
стакана корпуса;

-
толщина стенки оболочки;

-
коэффициент Пуассона материала стакана корпуса.
Критическая
длина сосуда по формуле (2) равна
В
упругой стадии критическое давление зависит не от прочности материала, а от
модуля упругости и коэффициента Пуассона, критическое давление находим по
формуле
=
1 + 
, ( 3.3
)= 1 + 
= 21МПа;

кр = 
+ 
, ( 3.4 )

кр = 
+ 
= 49603
+
+
457876,43 = 19738271 Па = 19,74 МПа;
Рабочее
давление принимают в несколько раз меньше критического

= 
, ( 3.5)

= 
=
20,88МПа
21 МПа;
где

-
коэффициент, называемый запасом устойчивости.
При
запасе устойчивости 
= 
= 0,91
находим
Отсюда заключаем, что выбранная толщина стенки корпуса удовлетворяет
условиям работы.
.2 Расчет и конструирование фланцевых соединений
Рассчитать
фланцевое соединение крышки с корпусом лубрикатора. Внутренний диаметр корпуса
равен 72мм. Давление в корпусе не превышает р равно 21 МПа, а температура не
более 200
.Толщина
стенки фланца 26 мм. Исходя из справочных данных ГОСТ12820 - 80, ориентировочно
принимаем: внутренний диаметр фланца 80мм; наружный диаметр привалочной
поверхности 124мм; диаметр болтовой окружности
б равен
190мм; толщину фланца 
принимаем
50мм; размер выступа привалочной поверхности 20мм; толщину прокладки 
п 10 мм;
диаметр болта 
равным
30мм.
Таблица 3.5 - Параметры и
характеристики прокладок
|
Характеристики прокладок
|
Коэффициент давления
|
Посадочное напряжение, МПа
|
|
Резина без ткани -мягкая
-твердая
|
0,5 1,0
|
0 13,5
|
|
Металлическая -алюминий
-медь -сталь Ст1
|
4,0 4,75 5,5
|
60 90 120
|
Фланцевые соединения при рабочих параметрах давления и температуры должны
позволять быструю и многократную разборку и сборку. Поверхность фланца,
предназначенная для соприкосновения с прокладкой, называется привалочной. Она
обычно выступает над плоскостью фланца.
Значение прокладки заключается в том, чтобы уплотнить зазор между
привалочными поверхностями и воспрепятствовать утечке жидкости или газа через
этот зазор.Прокладка должна быть достаточно эластичной, чтобы при минимальном
сжатии надежно уплотнять соединение и сохранять герметичность при деформации
привалочных поверхностей, вызываемой затягом болтов; не изменять своей
эластичности во время эксплуатации; не портить привалочные поверхности.
В результате сжатия в прокладках возникает напряжение, минимально
необходимая величина, которого называется посадочным напряжением (принимается
по таблице 3.5)
Расчет фланцевого соединения включает расчет количества болтов с учетом
их прочности и расчет толщины фланцев, которые проводят на условное давление
(принимается в зависимости от заданного рабочего давления). Для проведения
расчета количества болтов требуется конструктивный выбор формы и материала
прокладки.
Из этих данных находим геометрическую ширину прокладки
b = 0,5 
Принимаем
привалочные поверхности плоскими с двумя рисками. Приведенная и эффективная
ширина прокладки соответственно будут равны
bʹ = 0,5 
b0=
2,48
Расчетный
диаметр прокладки , таким образом , будет равен

= 124
2
8,225 
.
В
качестве прокладочного материала выбираем мягкую резину (выше 75 по Шору) из
таблицы 1.9,находим коэффициент удельного давления (
= 1) и
посадочное напряжение (1,35МПа).
Нагрузка
на болты от давления определяем по формуле (3.6)
Нагрузка
на болты от затяжки определяем по формуле (3.7)
Болты
будем изготовлять из стали 30. При значении предела прочности
болтов,
равного примерно 450МПа, допускаемое напряжение будет равно
[
] = 

69 МПа.
Допускаемая
нагрузка на один болт определяем по формуле (3.8)
Количество
болтов определяем по формуле (3.9)

= 
= 8
Количество
болтов из условия надежного сжатия прокладки, т.е. расположения их по болтовой
окружности на расстоянии четырех диаметров

= 
= 8,282
Принимаем
количество болтов, равное 8.
Фланцы
изготовляем из стали Ст3, для которой можно принять [
] =
80МПа. Тогда толщина фланца по формуле (3.10)

= 
=
47,876мм.
Толщину
фланца окончательно принимаем равной 50 мм.
4.
Безопасность и охрана труда
4.1 Причины и
характер возникновения осложнений при канатных работах
Основное требование, предъявляемое к комплекту канатной техники,- это
безотказность выполнения любой канатной операции по требуемой технологии в
течение заданного времени.
Операции, не выполненные в заданное время, должны расцениваться как
неудачные.
Высокая надёжность выполнения внутрискважинных операций обеспечивает
длительную работу скважин без подземного ремонта и является необходимым
условием эффективной эксплуатации месторождения .
К субъективным причинам относятся нарушение технологического режима
эксплуатации скважины, нарушение технологии канатных работ, наличие в скважине
инородных предметов, неправильный выбор или неподготовленность оборудования к
условиям проводимых работ, низкая квалификация обслуживающего персонала,
конструктивные недостатки оборудования и инструментов, несоблюдение правил
техники безопасности и т.д. Следует отметить, что зачастую причины осложнений
взаимосвязаны.
В процессе работ канатным инструментом возможны случаи пропуска газа
через сальниковое уплотнение лубрикатора. Это может привести к
гидратообразованию в сальнике и прихвату проволоки, осложняет спуск инструмента
и проведение ударов. Кроме того сильный пропуск газа при высоком давлении в
скважине может привести к разъеданию сальникового уплотнения, подбросу
инструмента, образованию загазованной зоны на устье скважины со всеми
вытекающими отсюда последствиями. Поэтому необходимо при выявлении пропуска
принять все меры для его устранения. [24]
При проведении канатных работ чаще всего происходят аварии, связанные с
обрывом проволоки.
Установка оборудования, спускаемого на проволоке в скважину, и съём его
происходят за счёт среза штифтов при ударах яссами вверх или вниз. Поэтому даже
небольшое несоответствие диаметра и материала срезных штифтов техническим
условиям приводит к серьёзным осложнениям. Так, например, применение штифтов из
более мягкого материала обусловливает затекание металла при срезе штифтов в
зазор между частями инструмента, соединёнными с помощью штифтов, и, как
следствие, к невозможности его извлечения и обрыву проволоки.
Если при осуществлении таких операций, как открытие механического
циркуляционного клапана (открываемого ударами вверх), съём глухих, газлифтных,
обратных клапанов, глухих пробок, клапанов -отсекателей, давление в затрубном
пространстве больше, чем в трубах, или же давление под клапаном больше, чем над
ним, то в момент открытия или съёма может произойти или подброс инструмента,
или образование "жучков" проволоки и обрыв её, а иногда и более
сложная авария: выброс клапана к устью и поломка фонтанной арматуры. [27]
Если же давление в трубах больше, чем в затрубном пространстве, или же
давление над клапаном больше, чем под ним, то осуществление указанных операций
сильно затруднено, т.к. в этом случае перепад давления противодействует усилию,
развиваемому яссами при ударах вверх. В связи с этим приходится проводить
большее число ударов, что может также привести к обрыву проволоки.
При спуско-подъёмных операциях (СПО), осуществляемых инструментами,
спускаемыми на проволоке (тросе), возможны аварии из-за отвинчивания резьбовых
соединений, соединяющих инструменты, и их "полёта".
При осуществлении ударов яссами нередки случаи выскакивания проволоки из
канавки натяжного ролика, а это может привести к защемлению и деформации
проволоки и, как следствие, к её обрыву.
При спуске и особенно подъёме канатного инструмента возможны случаи
выпадения спускаемого или поднимаемого оборудования из спускного или подъёмного
инструмента. Подобная авария - это следствие ослабления цанговых захватов на
инструменте или преждевременного среза срезных штифтов, удерживающих спускаемое
оборудование.
4.2
Мероприятия по предупреждению осложнений и аварий при работе инструментом,
спускаемым на проволоке (тросе)
Скважина, законченная с целью проведения в ней канатных работ, более
ремонтопригодна, чем скважина, оборудованная традиционной техникой. Это значит,
что на обнаружение, устранение и предупреждение осложнений (неполадок, отказов)
с учётом необходимой квалификации обслуживающего персонала в скважине со
стационарным или полустационарным оборудованием затрачивается меньше времени и
средств, чем в скважине, подземный ремонт в которой связан с подъёмом НКТ. Но
даже при относительной эффективности применение канатной техники намного
ускорит подземный ремонт скважин, если она будет работать с высокой степенью
надёжности.Особенности применения канатной техники следует учитывать уже на
стадии заканчивания скважины.
Для успешного проведения канатных работ необходима прежде всего гарантия
прочности и герметичности обсадной колонны. При глушении скважины с высоким
пластовым давлением нужно открыть механический циркуляционный клапан с помощью
инструмента, спускаемого на проволоке. В этом случае необходимое условие -
закрытие скважины, т.к. в работающей высокодебитной скважине спуску инструмента
на тросе препятствует восходящий поток продукции. За это время устьевое
давление резко повышается, что (при наличии НКТ с обычными резьбовыми
соединениями) может привести к пропуску газа в затрубное пространство и тем
самым передаче высокого давления на обсадную колонну. [23], [24]
Важное условие, обеспечивающее высокое качество подземных работ, - это
отсутствие в скважине, выходящей из бурения, инородных предметов, осадка
глинистого раствора.
Перемещения НКТ за счёт изменения температуры и давления по длине колонны
должны быть точно оценены ещё до её спуска.
Осложнения из-за неудобного расположения устьевого оборудования при
кустовом бурении скважин можно предупредить, если при проектировании строительства
скважин учитывать возможность проведения канатных работ и, следовательно,
соответствующее расположение устьевого оборудования.
Повышение надёжности выполнения операций можно достигнуть улучшением
конструктивных и технологических параметров деталей и узлов инструмента и
оборудования, а также повышением уровня технической эксплуатации его.
Для предупреждения осложнений, вызванных конструктивными недостатками
оборудования, необходимо при разработке конструкций и изготовлении канатного
оборудования и инструмента тщательно проанализировать условия их работы,
возможные осложнения, а также выявить недостатки и наиболее слабые узлы в уже
существующих конструкциях.
Промышленные испытания нового оборудования и инструментов следует
проводить в возможно более тяжёлых условиях.
Предупредить обрыв проволоки можно при соблюдении правил её технической
эксплуатации, т.е. при своевременном осмотре, смазке, удалении потёртых
участков проволоки, а также при соблюдении правил спуска инструмента в
скважину.
Для предупреждения обрыва проволоки у соединения её с замком необходимо
после окончания каждого цикла операций, выполняемых в скважине, обрезать
начальный кусок проволоки, а при повторном обрыве у замка, что является
сигналом "старения" проволоки, заменить её. При тщательном уходе
(обильная смазка во время подъёма из скважины, аккуратное обращение при монтаже
лубрикатора с целью предотвращения изгибов проволоки и т.д.) проволока изменяет
свои свойства только после 40-50 скважино-операций. В скважинах с коррозионными
условиями требуется применять проволоку из нержавеющей стали.
При длительных канатных операциях в скважине, связанных с яссированием на
одной и той же глубине, проволока интенсивно изнашивается у барабана лебёдки, а
также в местах её движения при прохождении через натяжной и сальниковый ролики.
.3 Техника
безопасности при проведении канатных работ
Внедрение в нефтегазовое производство новых технических и технологических
средств, обеспечивших выполнение подземного ремонта скважин с помощью
инструмента, спускаемого на проволоке или тросе, оказало серьёзное влияние на
технику безопасности, существовавшую при традиционном подземном ремонте
скважин. С внедрением нового метода ремонта без подъёма НКТ из скважин
значительно уменьшились число операций при выполнении отдельных технологических
процессов и масса используемого оборудования и инструмента, мощности машин и
механизмов, сократилось время на проведение подготовительно - заключительных
операций. Всё это положительно, прямо или косвенно, повлияло на степень безопасности
труда .
В то же время, и этим нельзя пренебрегать, возросли скорости проведения
технологических процессов и операций, что повысило степень риска при проведении
канатных работ. Следует к тому же учесть, что новый вид подземного ремонта
скважин находит широкое применение преимущественно на новых нефтяных и газовых
месторождениях, характеризующихся эксплуатацией фонтанных скважин с
относительно высоким давлением на устье, повышенной опасностью открытого
фонтанирования при повреждении или разрушении устьевой арматуры. В этих
условиях увеличение объёма канатных работ в процессе эксплуатации фонтанных
скважин, связанное со сменой клапана - отсекателя, работы по освоению и
исследованию скважин, требующие также применения проволоки или троса, могут
создать весьма сложные ситуации с повышенной опасностью для обслуживающего
персонала.
Следовательно, хотя новый метод ремонта менее трудоёмок и прост по
сравнению с подземным ремонтом скважин, проводимым по старой технологии, тем не
менее, отличаясь многообразием выполняемых работ, он содержит ряд опасных
моментов, незнание, игнорирование или пренебрежение которыми могут привести к
несчастным случаям или аварии в скважине. [23]
При СПО запрещается подходить к проволоке и браться за неё
руками.Крепление индикатора натяжения проволоки с натяжным роликом специальным
хомутом к фонтанной арматуре проводят в месте, удобном для проведения СПО. Как
показывает опыт, ненадёжное крепление индикатора натяжения проволоки приводит к
авариям, связанным с обрывом проволоки. Установление профилактического времени
замены изношенной проволоки, своевременный и тщательный уход за ней путём
смазки при каждом подъёме инструмента также влияют на качество канатных работ и
соблюдение ТБ.
Лебёдка с приводом от гидросистемы для проведения канатных работ должна
быть всегда оснащена необходимыми механизмами и приспособлениями,
обеспечивающими безопасность работ. Спускать канатный инструмент при
неисправности счётчика длины проволоки или индикатора натяжения проволоки
запрещается. Перед началом канатных работ лебёдку необходимо проверить на
работоспособность привода, гидросистемы и реверсивного переключателя. Особое
внимание при этом необходимо обратить на исправность тормозной системы лебёдки,
а также на правильную укладку проволоки на барабан лебёдки. Важно также, чтобы
шланги гидросистемы лебёдки обладали высокой надёжностью. Разрыв или прорыв
шланга во время работы гидролебёдки является причиной прекращения канатных
операций и приводит к невозможности подъёма канатного инструмента из скважины и
к вытекающим отсюда нежелательным последствиям.
Канатные работы не столь сложны, однако требуют надёжной техники, чтобы
сделать труд при скважинных операциях высокопроизводительными и безопасным.
Инструменты и приспособления всегда должны быть в полном комплекте, исправными
и чистыми. Вокруг устья скважины не должно быть никаких посторонних предметов.
Использование канатных инструментов в совокупности со специальными
приспособлениями, обеспечивающими безопасность канатных операций, позволяет
свести к минимуму травмы рабочих и технические неполадки при канатных работах.
В общем комплексе канатных работ значительное время занимают ловильные
работы с проволокой. Однако при осложнениях, когда не удаётся извлечь аварийный
инструмент с помощью проволоки или троса, возникает необходимость спуска в
скважину под давлением вместе с ловильным инструментом НКТ или штанг. Эти
работы опасны и трудоёмки и могут привести к открытому фонтану, если не принять
соответствующих мер безопасности. С этой целью при высоком буферном давлении в
скважине необходимо использовать на устье специальную установку по спуску труб
под давлением.
4.4 Общие
требования безопасности и охраны труда
Требование инструкций по охране труда о технике безопасности являются
обязательными для всего персонала занятого в процессе обслуживания канатной
техники.
К работе в качестве персонала работающего с канатной техникой в качестве
оператора установки допускаются лица не моложе 18-ти лет, прошедшие
обязательное медицинское освидетельствование при приеме на работу и
периодическому осмотру согласно закона РК «Об охране труда», ст. 19.
К самостоятельной работе допускаются операторы, прошедшие:
вводный инструктаж по технике безопасности, пожарной безопасности и
газовой безопасности;
обучение по специальности и целевое обучение по охране труда по
программе, утвержденной Менеджером месторождения (не менее 10 часов).
стажировку (не менее 10 смен) под руководством опытного старшего
оператора;
инструктаж на рабочем месте и проверку знаний по охране труда.
.5 Электробезопастность
Электротравма - повреждения, возникающие в результате воздействия
электрического тока большой силы или разряда атмосферного электричества
(молнии).
Основной причиной несчастных случаев, обусловленных действием
электрического тока, являются нарушения правил техники безопасности при работе
с бытовыми электроприборами и промышленными электроустановками. Большая часть
поражений вызывается переменным током промышленной частоты (50 Гц).
Электротравма возникает не только при непосредственном соприкосновении тела
человека с источником тока, но и при дуговом контакте, когда человек находится
вблизи от установки с напряжением более 1000
В, особенно в помещениях с высокой влажностью воздуха.
Электрический ток вызывает местные и общие нарушения в организме. Местные
изменения проявляются ожогами ткани в местах выхода и входа электрического
тока. В зависимости от состояния пораженного (влажная кожа, утомление,
истощение и др.), силы и напряжения тока возможны различные местные проявления
- от потери чувствительности до глубоких ожогов. При воздействии переменного
тока силой 15 мА у пострадавшего возникают судороги (так называемый
неотпускающий ток).
При повреждениях, сопровождающихся легкими общими явлениями (обморок,
кратковременная потеря сознания, головокружение, головная боль, боли в области
сердца), первая помощь заключается в создании покоя и доставке больного в
лечебное учреждение. Необходимо помнить, что общее состояние пострадавшего
может резко и внезапно ухудшиться в ближайшие часы после травмы: возникают
нарушения кровоснабжения мышцы сердца, явления вторичного шока и т.д. Подобные
состояния иногда наблюдаются даже у пораженного с самыми легкими общими
проявлениями (головная боль, общая слабость); поэтому все лица, получившие
электротравму, подлежат госпитализации. В качестве первой помощи могут быть
даны болеутоляющие (0,25 г амидопирина, 0,25 г анальгина), успокаивающие
(микстура Бехтерева, настойка валерианы), сердечные средства (капли Зеленина и
др.)
После того как к пострадавшему вернется сознание, его необходимо напоить
(вода, чай, компот, но не алкогольные напитки и кофе), тепло укрыть.
В случаях, когда неосторожный контакт с электропроводом произошел в
труднодоступном месте - на вышке электропередачи, на столбе - необходимо начать
оказание помощи с искусственного дыхания, а при остановке сердца - нанести 1-2
удара по грудине в область сердца и принять меры для скорейшего опускания
пострадавшего на землю, где можно проводить эффективную реанимацию.
Первая помощь при остановке сердца должна быть начата как можно раньше,
т. е. в первые 5 мин, когда еще продолжают жить клетки головного и спинного
мозга. Помощь заключается в одновременном проведении искусственного дыхания и
наружного массажа сердца. Массаж сердца и искусственное дыхание рекомендуется продолжать
до полного восстановления их функций или появления явных признаков смерти. По
возможности массаж сердца следует сочетать с введением сердечных средств.
Профилактика поражения молнией: при сильной грозе отключить телевизор,
радио, прекратить телефонные разговоры, закрыть окна. Нельзя находиться на
открытой местности или укрываться под одиноко стоящими деревьями, стоять вблизи
мачт, столбов. [24]
.6 Противопожарная безопасность
- Во всех производственных, административных, складских и вспомогательных
помещениях на видных местах должны быть вывешены таблички с указанием номера
телефона вызова пожарной охраны.
Правила применения на территории предприятий открытого огня, проезда
транспорта, допустимость курения и проведения временных пожароопасных работ
устанавливаются общими объектовыми инструкциями о мерах пожарной безопасности.
Для тушения пожаров на производственных объектах применяются огнетушащие
вещества разного состава, структуры и свойств во всех агрегатных состояниях. В
число их входят: вода, воздушно-механическая пена, водяной пар.
Для ликвидации пожаров на стадии их возникновения широко используют
ручные порошковые огнетушители типа ОП-2, ОП-5, ОП-10, углекислотные ОУ-2,
ОУ-5, ОУ-8, а также передвижные порошковые огнетушители ОП-50, ОП-100.
Принцип действия огнетушителя основан на использовании энергии газа для
аэрирования и выброса огнетушащего порошка. Для приведения огнетушителя в
действие необходимо выдернуть опломбированную чеку и резко ударить по кнопке
пуска. При этом боек приводит в действие ХИГ. В результате чего, рабочий газ
поступает в корпус огнетушителя, аэрирует порошок и создает в корпусе
огнетушителя в течении 5 сек. рабочее давление, после чего огнетушитель готов к
работе. Дальнейшее управление работой огнетушителя осуществляется путем нажатия
кисти на ручку пистолета-распылителя, при этом огнетушащий порошок через рукав
и сопло пистолета-распылителя подается на очаг пожара.
.7 Микроклимат
Метеорологические условия или микроклимат в производственных условиях
определяются следующими параметрами:
температурой воздуха;
температурой поверхности;
относительной влажностью;
скоростью движения воздуха на рабочем месте.
В соответствии с СниП2.04.05-91 устанавливаются оптимальные и допустимые
метеорологические условия для рабочей зоны в помещении, при выборе которых
учитываются, период времени года и категория работ.
Для категории работ следует соблюдать следующие параметры
микроклимата:Теплый период: температура 20 - 22 ºС, скорость движения воздуха 0,3 м/с,
влажность 40-60, Холодный период: температура17-19 ºС, скорость движения воздуха 0,2м/с,
влажность 40-60. Для соблюдения необходимых параметров микроклимата необходимо
оснащение производственного помещения системой вентиляции и отопления. Это
оснащение регламентируются СНиПом2.04.05-96.
.8 Мероприятия по борьбе с шумом, вибрацией
Шум и вибрации возникают в результате обработки инструментом заготовки,
работы электродвигателя, зубчатых и ременных передачи передвижения подвижных
частей оборудования. Шум и вибрации, даже когда они невелики, создают
значительную нагрузку на нервную систему человека, что приводит к утомлению и
снижению работоспособности, а также к ухудшению слуха.
В результате переутомления человек теряет внимательность, что может
привести к травматизму или к браку в работе.Для уменьшения влияний этих
факторов на человека предусмотрено следующее:
придлительной работе на станке применяются индивидуальные средства защиты
(по ГОСТ 12.4.051 - 09), наиболее удобными являются наушники или вкладыши;
при работе рабочий находится на деревянных настилах;
станки установлены на фундаментах;
при работе зубчатых передач применяется смазка;
электродвигатели и муфты закрыты шумозащитными кожухами.
.9 План ликвидации чрезвычайных ситуаций
Компаниядоносит до сведения всех работников подразделений важность
экологических проблем. Эти простые, но важные инструкции помогут сохранить
окружающую среду.
Утечки рабочей жидкости для гидравлических систем и смазочных масел
представляют собой опасность для окружающей среды. 2.2.Замена смазочных масел и
рабочей жидкости для гидравлических систем, гидравлических шлангов и элементов
фильтров гидросистемы также является потенциальной угрозой для окружающей
среды.
Собирайте все разлитые рабочие жидкости и отработанные материалы
(например, элементы масляных фильтров), загрязненные рабочими жидкостями.
Утилизируйте их в соответствии с требованиями государственных нормативов.
Используйте биологически разлагаемые рабочие жидкости для гидравлических
систем и смазочные масла везде, где это возможно.
Консистентная смазка может нанести вред окружающей среде. Собирайте все
отходы и остатки и утилизируйте их в соответствии с требованиями
государственных нормативов.
Батареи содержат кислоты и тяжелые металлы. Использованные батареи,
следовательно, могут представлять угрозу для окружающей среды и Вашего
здоровья. Избегайте любых контактов с кислотами и утилизируйте использованные
батареи в соответствии с требованиями государственных нормативов. Для
дополнительной информации см. также раздел 2.2.
Утилизируйте химические вещества, такие как добавки в буровой раствор,
другие добавки, гликоль и т.д. в соответствии с инструкциями производителя и
местными нормативами. Избегайте использования очищающих средств, содержащих
хлорированные растворители. Сегодня на рынке имеются более безопасные для
окружающей среды альтернативные продукты. Выполняйте требования государственных
стандартов в отношении обращения с отходами и их утилизации.
Использованные компоненты должны утилизироваться в соответствии с
государственными нормативами и перерабатываться там, где для этого
предусмотрены местные программы. [23]
5. Охрана окружающей среды
5.1 Анализ
воздействия нефтегазопромысла на компоненты биосферы
В результате предыдущей производственной деятельности на территории
месторождения и вокруг него образовалась искусственная биогеохимическая
провинция с комплексным типом загрязнения компонентов окружающей среды радиусом
до 15 км от границы месторождения, сопоставимая по площади с ареалом возможного
распространения загрязнения при чрезвычайной ситуации (разрыв системы сбора,
транспорта, аварийного фонтанирование скважины и т.п). Фактическую
интенсивность влияния на организм человека совокупности химических веществ при
разработке месторождения определяет реальная химическая нагрузка (РХН), так как
в реальных условиях человек подвергается одновременному воздействию комплекса
опасных агентов, поступающих одновременно из различных сред (воздуха, воды,
почвы, растений).
Существует ряд методов суммарной количественной оценки степени влияния
загрязнения компонентов окружающей среды на персонал и население. Ряд авторов
оценивает окружающую среду по сумме произведений показателей загрязнения на
длительность воздействия их на человека. Другие - суммируют отношения отдельных
показателей загрязнения компонентов окружающей среды к ПДК воды, почвы,
воздуха.
В настоящем проекте использован нашедший одобрение и утвержденный в
уполномоченных органах эколого-гигиенический подход, позволяющий оценить
степень опасности загрязнения компонентов окружающей среды по комплексному
показателю *Р* с учетом аддитивности по классам опасности, как наиболее
объективный. [15]
Для оценки загрязнения атмосферного воздуха используются две
ПДК-среднесуточную и максимально разовую. В случае оценки аварийного
загрязнения следует использовать только максимально разовую концентрацию
(фонтанирование, разрыв системы сбора и транспорта) считая ее мгновенной,
действительно максимально-разовой, не интерполируя на отрезок времени. Это
особенно важно для оценки возможных последствий физиологического действия
вредных веществ (хлор, сероводород, оксиды азота и др.). Для оценки загрязнения
воды и почвы используют как максимально - разовые, так и средние по сезонам
года концентрации. При оценке тяжести отдаленных последствий, причиняемых
здоровью населения и окружающей среде, на первом месте стоят тяжелые металлы,
количество которых в объектах окружающей среды региона месторождения превышает
предельно-допустимые значения. Помимо высокой токсичности (1,2 классы
опасности), металлы, присутствующие в объектах окружающей среды, обладают
мутагенным, кацерогенным, эмбриогонадотоксическим и кумулятивным действием. На
участках геохимических аномалий, определенных на территории месторождения и в
зоне его влияния, их концентрации значительно превышают предельно-допустимые.
Нейротоксическим действием на человека обладают: таллий, ртуть, серебро, барий,
кадмий, никель, цинк и др.
В условиях постоянного наличия в атмосфере месторождения, как минимум,
пороговых концентраций сероводорода, также нейротоксического яда, проблема
защиты персонала и населения приобретает особый смысл и значение. Поэтому
состояние загрязнения компонентов окружающей среды излагается во взаимосвязи
для создания объективной картины, позволяющей планировать соответствующие
затраты и мероприятия.
5.1.1
Воздействие на атмосферу
Основными компонентами загрязнителей природы, выделяемых
нефтегазодобывающими и перерабатывающими предприятиями, являются сероводород,
сернистый ангидрид, окись углерода, углеводороды, окислы азота и другие,
представляющие собой токсиканты III-IV классов опасности.
Атмосфера в районах добычи нефти загрязняется сернистыми соединениями в
результате сжигания минерального топлива в стационарных условиях.
Сера может содержаться в виде соединения в угле, природном и нефтяном
газе некоторых месторождений. При сжигании газа в факелах сернистые
улетучиваются в атмосферу. Наибольший уровень загрязнения техногенной природы отмечается в
населенных пунктах, расположенных с подветренной стороны месторождения и
классифицируется как «сильный ».
5.1.2
Воздействие на гидросферу
Для оценки степени загрязнения вод рассчитывается средняя кратность
превышения ПДК (К воды) делением фактической концентрации (С) на ПДК и на
количество проб (П) по каждому классу опасности.
К воды =С/ПДК/П (5.1)
Среднюю кратность превышения ПДК (К воды) следует умножить на
коэффициенты аддитивности для четырех классов опасности:
для 1 класса - на 1,0;
для 2 класса - на 0,5;
для 3 класса - на 0,3;
для 4 класса - на 0,25.
Среднее содержание веществ 4 класса опасности (хлориды, кадмий)составляет
2 ПДК, 3 класса (магний, железо)-6,67 ПДК.
Критерии уровня загрязнения воды представлены в таблице 5.1.
Таблица 5.1 - Критерии уровня загрязнения воды
|
Уровень загрязнения воды
|
Суммарный показатель
загрязнения (Ксумм.)
|
|
Допустимый
|
до 1
|
|
Слабый
|
1-3
|
|
Умеренный
|
3-10
|
10-25
|
|
Очень высокий
|
25-100
|
|
Чрезвычайно высокий
|
Более 100
|
Некоторые наиболее характерные результаты исследований объективно
освещают состояние загрязнения поверхностных вод в пределах контрактной
территории и в зоне ее влияния и свидетельствуют как о локальном загрязнении
водных объектов, так и о возможных путях миграции загрязнения.
Загрязнение поверхностных водоемов в зоне влияния КНГКМ достигло
значений, когда техническое, технологическое или иное решение, сопряженное с
нарушением сложившегося неустойчивого равновесия в окружающей среде, может
привести к последствиям, ликвидация которых будет сопряжена со значительными
непроизводственными затратами .
.1.3 Воздействие на литосферу
Для оценки загрязнения почвы, как и в предыдущих случаях (воздух, вода),
рассчитывают среднюю кратность превышения ПДК (Кпочвы) путем деления
фактических концентраций (С) на ПДК и на количество проб (П) по каждому классу
опасности.
К почвы =С/ПДК/П (5.2)
После этого, среднюю кратность превышения ПДК следует умножить на
коэффициент аддитивности для четырех классов опасности (1,0; 0.5; 0.3; 0,25).
Суммарный уровень загрязнения почвы (Ксумм.п.) определяется суммированием всех
значений по классам опасности, а полученные результаты оцениваются по следующим
критериям.
Критерии уровня загрязнения почвы представлены в таблице 5.2.
Таблица 5.2 - Критерии уровня загрязнения почвы
|
Уровень загрязнения почвы
|
Суммарный показатель
загрязнения
|
|
Допустимый
|
до 1
|
|
Слабый
|
1-3
|
|
Умеренный
|
3-10
|
|
Высокий
|
10-25
|
|
Очень высокий
|
25-50
|
|
Чрезвычайно высокий
|
Более 50
|
Почва в зоне влияния КНГКМ интенсивно загрязнена. Расчет суммарного
показателя загрязнения подтверждает прямую зависимость техногенного загрязнения
территории от розы ветров.
Земельные ресурсы контрактной территории используются населением для
сельскохозяйственных нужд, в связи с чем, транслокационный перенос техногенного
загрязнения представляет важную проблему.
.2
Организационные мероприятия
Всесторонний анализ окружающей среды предусматривает оценку ее
экологического состояния и влияния на нее естественных и антропогенных
воздействий. Характер этих воздействий весьма специфичен. Лимитирующим
показателем уровня естественных и антропогенных воздействий является
предельно-допустимая экологическая нагрузка (ПДЭН), которая во многих странах
установлена в связи с тем, что нормальное функционирование и устойчивость
экосистем и биосферы возможны при не превышении определенных предельных
нагрузок на них.
Состояние биосферы, непрерывно меняющееся под влиянием естественных
факторов, обычно возвращается в первоначальное. Например, изменения температуры
и давления, влажности воздуха и почвы происходят в пределах некоторых
постоянных средних значений. Изменение состояния биосферы под влиянием
антропогенных факторов происходит в более короткие временные сроки. [15]
Результаты ранее проведенных работ - «Экологического аудита» и
«Экологического паспорта», позволили оценить существующее экологическое
состояние предприятия, воздействие в период его эксплуатации на окружающую
среду и послужили основой для разработки данной программы. Объектами
мониторинга являлись атмосфера (мониторинг приземного слоя атмосферы),
поверхностные воды суши и моря, подземные воды (мониторинг гидросферы),
криосфера (мониторинг составляющих климатической системы).
Целью «Программы производственного мониторинга» является создание
комплексной системы наблюдений за компонентами окружающей среды, основанной на
принципах экологически безопасной деятельности месторождения, гарантирующей
минимизацию экологического риска и предотвращения неблагоприятных или
необратимых экологических последствий в соответствии с требованиями действующих
законодательных и природоохранных документов РК.
При ведении экологического мониторинга решаются следующие задачи:
своевременное выявление изменений состояния природной среды на основе
наблюдений;
оценка выявленных изменений окружающей среды, прогноз ее возможных
изменений, сравнение фактических и прогнозируемых воздействий на природные
объекты;
изучение последствий аварий и происшествий, приведших к загрязнению
природной среды, уничтожению флоры и фауны;
проверка эффективности экологически обоснованных конструктивных решений и
природоохранных мероприятий на основе получаемых результатов мониторинга;
проверка выполнения требований законодательных актов, нормативных и
других подобных документов, предъявляемых к состоянию природных объектов;
выработка рекомендаций по предупреждению и устранению последствий
негативных процессов.
Система комплексного мониторинга на предприятии предусматривает
организацию наблюдений за состоянием следующих компонентов окружающей природной
среды.
Мониторинг атмосферы должен быть направлен на контроль текущего состояния
загрязнения атмосферного воздуха, оценку загрязнения и выработку мероприятий по
его снижению. Прямыми инструментальными методами должны контролироваться
основные источники организованных выбросов в атмосферу.
Мониторинг поверхностных и подземных вод заключается в изучении состояния
водных объектов (включая временные), расположенных в непосредственной близости
от технологических площадок. Он должен включать определение основных
гидрохимических параметров - температура, цветность, прозрачность, химическое
потребление кислорода (ХПК), биологическое потребление кислорода (БПК),
содержание нефти и нефтепродуктов, минерализацию. При наличии риска загрязнения
Каспийского моря должно, так же, вестись наблюдение за качеством подземных вод.
Литомониторинг заключается в контроле показателей состояния грунтов на
участках, подвергнувшихся техногенному нарушению, на предмет определения их
загрязнения нефтью, химреагентами, солями, тяжелыми металлами и т.д. В случае
аварийных ситуаций, особое внимание необходимо обратить на места разливов
нефти, пластовых вод и нефтепродуктов. Почвенные пробы анализируются на общие
нефтяные и полиароматические углеводороды и тяжелые металлы.
Мониторинг состояния растительного и животного мира.
Мониторинг состояния растительного покрова основан на общем визуальном
наблюдении участков месторождения с сохранившейся растительностью и
рекультивированных площадях. Организация мониторинга за состоянием животного
мира сводится, во-первых, к визуальному наблюдению за птицами в весенний и
осенний период их перелетов с целью предотвращения попадания отдельных особей в
«нефтяные ловушки» на месторождении; во-вторых, рекомендуется организовать
визуальные наблюдения за появлением на территории месторождения млекопитающих
животных для разработки специальных мероприятий по отпугиванию, недопущению их
попадания в опасные зоны - разливы нефти, поля фильтрации и т.д.
Мониторинг обращения с отходами складывается из двух компонентов -
мониторинг управления отходами, определяющий соответствие действующей системы
утвержденным нормативно-методическим документам и мониторинг воздействия
накопителей отходов на состояние компонентов природной среды.
.3 Инженерные
и природоохранные мероприятия по защите окружающей среды
.3.1 Защита атмосферы
Для безаварийного проведения разработки месторождения в соответствии с
«Едиными правилами разработки нефтяных и газовых месторождений РК» должны быть
предусмотрены следующие оперативные решения:
использование современного нефтяного оборудования и строительной техники
с минимальными выбросами в атмосферу;
автоматизация технологических процессов подготовки нефти и газа,
обеспечивающая стабильность работы всего оборудования с контролем и аварийной
сигнализацией при нарушении заданного режима, что позволит обслуживающему
персоналу предотвратить возникновение аварийных ситуаций;
применение на всех резервуарах с нефтепродуктами устройств, сокращающих
испарение углеводородов в атмосферу;
применение прогрессивных технологий и материалов;
при нарастании неблагоприятных метеорологических условий, необходимо
снизить производительность от 15 до 50 %, вплоть до полной остановки добычи;
обучение обслуживающего персонала реагированию на аварийные ситуации;
проверка готовности систем извещения об аварийной ситуации;
усиление мер контроля работы основного технологического оборудования,
целостностью трубопроводной системы нефтесбора и транспорта нефти, а также
факельной системы;
проведение мониторинговых наблюдений за состоянием атмосферного воздуха.
5.3.2 Защита
гидросферы
Подземная гидросфера представляет собой наиболее динамичную составляющую
геологической среды, которая в условиях интенсивного хозяйственного освоения
является индикатором экологического состояния. Подземные воды обладают особой
«чувствительностью» к любым техногенным воздействиям, а изменения в режиме и
качественном состоянии подземных вод приводят к изменениям различных
компонентов природной среды. С учетом этих факторов, решение вопросов
рациональной эксплуатации подземных вод и их охраны от истощения и загрязнения
является одной из важнейших проблем.
Мероприятия по защите подземных вод от загрязнения подразделяются на:
профилактические, направленные на сохранение естественного качества
подземных вод;
локализационные, препятствующие увеличению и продвижению создавшегося в
водоносном горизонте очага загрязнения;
восстановительные, проводимые для удаления загрязнителей из водоносного
горизонта и восстановления природного качества подземных вод.
Опыт показывает, что для осуществления мероприятий по ликвидации
загрязнения подземных вод требуются большие средства; кроме того, возникают
технические трудности, связанные с необходимостью очистки откачиваемых
загрязненных подземных вод из-за невозможности их использования или сброса в
водоем. Поэтому основным направлением в борьбе с загрязнением подземных вод
должно быть осуществление системы профилактических мер, учитывающих тесную
связь подземных вод с поверхностными.
Главную роль в предупреждении загрязнения подземных вод играют
мероприятия общего характера. К их числу, в первую очередь, следует отнести все
меры по совершенствованию методов очистки промышленных и хозяйственно-бытовых
сточных вод; создание производств с бессточной технологией и канализации;
изоляцию коммуникации, несущих сточные воды; ликвидацию или очистку газодымовых
выбросов на предприятиях; глубокое подземное захоронение особо вредных стоков,
очистка которых экономически не оправдана. Профилактике загрязнения подземных
вод способствует мониторинг качества подземных вод, т.е. научно обоснованная
система длительных натурных наблюдений за основными динамическими
характеристиками водоносного горизонта: уровнями, напорами, химическим и
бактериологическим составом, температурой воды и т.п. Анализ этих данных
позволит получить пространственно-временную картину загрязнения, объяснить
произошедшие изменения, дать прогноз ожидаемых изменений качества подземных
вод.
5.3.3 Защита
литосферы
Учитывая, что участок месторождения находится на пустынной территории,
где многие виды представлены сукуплентными формами, засухоустойчивыми
(ксерофитами), многие имеют густое опущение, можно сказать, что большая часть
представителей пустынной флоры газоустойчивы. К ним относятся все доминирующие
виды пустынных ландшафтов: биюргун, сарсазан, поташники, гребенщики, жузгуны,
полыни, итсигек, однолетние солянки.
Согласно статье 104 Указа Президента Республики Казахстан “О земле”
собственники земельных участков и землепользователи обязаны проводить следующие
мероприятия по охране земель и меры для облагораживания территории
нефтепромысла:
провести фитомелиоративные мероприятия по периметру буровых, вахтового
поселка, полигонов хранения твердых отходов и т.д.;
для дальнейшего прекращения уничтожения почвенно-растительного покрова
упорядочить использование только необходимых дорог, по возможности обустроив их
щебнем или твердым покрытием. На остальных неиспользуемых дорогах провести
фитомелиорацию;
в районе действующих и законсервированных скважин необходимо закрепить
пески твердым или полимерным, в крайнем случае, битуминозным покрытием;
строго регламентировать проведение работ, связанных с загрязнением
почвенно-растительного покрова при эксплуатационном и ремонтном режиме работ;
произвести посев многолетних и однолетних видов растений на
рекультивированных землях, используя ассортимент видов местной флоры с учетом
их эколого-биоморфологических особенностей;
осуществить мероприятия по озеленению вокруг жилых и
нефтеперерабатывающих объектов.
В случае аварийных ситуаций, в местах разлива нефти произвести снятие и
вывоз верхнего слоя почвы, осуществить биологическую рекультивацию с
последующей фитомелиорацией. [15]
6. Экономический раздел
.1 Структура
нефтегазодобывающих предприятий
В нефтегазодобывающей промышленности главным направлением технического
прогресса является совершенствование технологии добычи, способствующее
ускоренному росту объемов производства и улучшению качественных показателей
разработки нефтяных месторождений.
Для определения стоимости проведения гидродинамических исследований таких
как: замер пластовых давлений, замер забойных давлений, снятие индикаторных
кривых с отбивкой Нд, и Нст - эхолотом, снятие кривых восстановления давления,
отбор глубинных проб нефти (жидкости) и многих других, необходимо знать норму
времени на исследование нефтяных и нагнетательных скважин.
В данном расчете нормы времени на спуск и подъем прибора на 3000 метров.
Средняя глубина скважин и на подготовительно - заключительные работы
взяты из регламента и методики планирования объектов промысловых
гидродинамических исследований.
Протяженность переездов операторов по исследованию скважин от базы до
объектов в среднем принимаем равным 100 км в один конец.
В затратах труда не учтено участие оператора по исследованию скважин,
водителей передвижных лабораторий.
Затраты времени на переезды исследований от базы к объектам приняты в
размере 20% от нормативной численности на исследование скважин согласно
сходного баланса рабочего времени НГДУ.
Протяженность переездов операторов по исследованию скважин от базы до
объектов в среднем принимаем равным 100 км в один конец.
Расчет сводится к определению времени, затраченного на проведение
гидродинамических исследований.
Тобщ. =Т пр. + Т иссл. (6.1)
где Т иссл. - норма времени на 1 работу по спуску и подъему прибора;
Тпр. - время затраченное на переезд от базы до скважины;
Т - норма времени на 1 км.
Т пр =T∙2∙S (6.2)
Тпр=0,027∙2∙100=5,4
где: S - путь в 1 конец (км);
Т ст1 - часовая тарифная ставка оператора 6 разряда;
Т - норма времени на 1 км.
Теперь определяем стоимость проведения гидродинамических исследований:
С общ. = С пр. + С иссл. (6.3)
Собщ=315∙1,68+11000,134
С иссл. =Т ст1 ·Т общ. + Тст2 · Тобщ. (6.4)
Сисл=21,672∙282+17,585∙278=11000,134
где Сиссл - сумма затраченная для оплаты операторов
Как правило исследование проводят 2 оператора 4 и 6 разряда.
Т ст1 - часовая тарифная ставка оператора 6 разряда;
Т ст2 - часовая тарифная ставка оператора 4 разряда.
Определяем время затраченное на замер забойного давления при фонтанной
эксплуатации
Тобщ=Тпр+Тиссл. =5,4∙6,8=36,72
Собщ = Спр + С иссл. =209+71,7=281
Т ст1 - часовая тарифная ставка оператора 6 разряда;
Т ст. - часовая тарифная ставка для оплаты за аренду машины.
Определяем стоимость этого замера на авто Газ - 66
6.2
Определение эксплуатационных затрат до внедрения мероприятия
При расчетах экономической эффективности в качестве исходной информации
используют величину текущих и капитальных затрат.
Текущие затраты - производимые постоянно в течение года, затраты живого и
овеществленного труда при изготовлении продукции.
Капитальные затраты (инвестиции) - средства в форме капитальных вложений
на создание производственных фондов и их расширенное воспроизводство, на
техническое перевооружение производства.
Фонд оплаты труда определим по средней заработной плате работников:
Зпп = Nч·Sз/п·Фскв (6.5)
Зпп = 3·892 526·26 = 69 617 028 тг
где Nч - норматив численности на 1
скважину действующего фонда, чел/скв;
Sз/п -
среднегодовая заработная плата работника, тг/чел;
Фскв - среднедействующий фонд скважин.
Отчисления работодателя на социальные страхование, пенсионный фонд и фонд
занятости берутся по установленным нормам на соответствующий период времени и
составляет 31 % от ФОТ, т.е.
Зор = Зпп· 0,3 (6.6)
Зор = 69 617 028·0,31 = 21 581 278 тг
где Nч - норматив численности на 1
скважину действующего фонда, чел/скв;
Sз/п -
среднегодовая заработная плата работника, тг/чел;
Фскв - среднедействующий фонд скважин.
Таблица 6.2 - Нормативы для подсчета эксплуатационных затрат
|
Наименование
|
Величина
|
|
Удельный расход
электроэнергии на 1000 м3 добываемого газа, кВт·ч/м3
|
11,55
|
|
Удельный расход
электроэнергии на закачку 1 м3 воды, кВт·ч/м3
|
10,5
|
|
Стоимость электроэнергии,
тг/кВт·ч
|
3,56
|
|
Численность рабочих на 1
скважину действующего фонда, раб/скв
|
3
|
|
Оплата труда, тг/раб в год
|
892 526
|
|
Социальные страхования,
пенсионный фонд, фонд занятости, % от ФОТ
|
31
|
|
Удельные затраты на сбор,
транспортировку, подготовку 1000 м3 газа, тг/1000 м3 газа
|
493
|
|
Норма амортизации ОПФ, % от
стоимости ОПФ
|
6,7
|
|
Текущий ремонт, % от
стоимости ОПФ
|
1,2
|
|
Общие производственные
затраты, % от суммы прямых и косвенных затрат
|
21
|
|
Внепроизводственные
затраты, % от полной себестоимости
|
0,5
|
Амортизационные отчисления на основные средства, пришедшие на смену
базовой технике, рассчитываются в зависимости от дополнительных капитальных
вложений на приобретение новой техники и норм амортизации. Амортизационные
отчисления по скважине начисляют по установленной норме 6,7 % от первоначальной
стоимости скважины:
Аr = (Сп·Nа)/100 % (6.7)
где Сп - первоначальная стоимость скважины, тг;
Na -
годовая норма амортизации скважины, %.
Расходы на содержание и эксплуатацию оборудования, в том числе расходы по
подземному текущему ремонту скважин, включает в себя затраты связанные с
содержанием и эксплуатацией наземного и подземного оборудования всех типов
скважин, включая амортизационные отчисления от стоимости наземного и подземного
оборудования, а также с текущим подземным ремонтом скважин. Расходы по текущему
ремонту наземного и подземного оборудования включают ряд затрат (заработная
плата, прокат транспортных средств и др.). Для укрупненного расчета затрат на
данную статью примем затраты на текущий ремонт 1,2% от первоначальной стоимости
скважин, т.е.:
Зтр=1,2%·С/100% (6.9)
Зтр = 1,2·417 036 010/100 = 5 004 432 тг
Общепроизводственные расходы включают затраты связанные с управлением
предприятия и организации производства в целом.
Они относятся к накладным расходам и составляют 21% от суммы прямых и
косвенных затрат, т.е.:
Зопр=21%•(Зэ+Ззв+Зпп+Зор+Аг+Зстп+Зтр)/100% (6.10)
Зопр=21·(592 728 716 + 781 324 217 + 69 617 028 + 21 581 278 + 27 941 412
+7106 747 830 + 5 004 432) / 100 = 1 807 038 432 тг.
Внепроизводственные затраты - это затраты связанные с коммерческой
реализацией продукции. Удельный вес этих затрат составляет 0,5% от полной
себестоимости. По результатам вычислений строим таблицу 6.2 куда сведены все
затраты по статьям калькуляции, приходящиеся на одну скважину до внедрения мероприятия.
Звп = 0,5% • ∑З/100% (6.11)
Звп = 0,5·8 604 944 914/100 = 43 024 724 тг
Таблица 6.3 - Годовые эксплуатационные затраты до внедрения исследования
|
Наименование статей
калькуляции
|
Сумма, тг
|
|
Электроэнергия
|
592 728 716
|
|
ФОТ
|
69 617 028
|
|
Социальные отчисления (31
%)
|
21 581 278
|
|
Амортизация скважины
|
27 941 412
|
|
Сбор, транспортировка и
подготовка газа
|
7 106 747 830
|
|
Текущий ремонт
|
5 004 432
|
|
Общепроизводственные
расходы
|
1 807 038 432
|
|
Внепроизводственные расходы
|
43 024 724
|
|
Итого, млн. тг.
|
10 455,008
|
Исходя из результатов таблицы и вычислений, определим себестоимость 1000
м3 газа по скважине до внедрения мероприятия по повышению производительности
скважины;
C1 =
Зг/Q1, (6.12)
С1= 1,0488·1010/14415 = 725 271 тг
где Зг - сумма годовых эксплуатационных затрат по статьям калькуляции,
тг.
Таким образом, себестоимость 1000 м3 газа без обработки скважины составит
на конец года 725 271 тг.
По результатам сведены все затраты по статьям калькуляции, приходящиеся
на одну скважину до внедрения мероприятия. Внепроизводственные затраты - это
затраты связанные с коммерческой реализацией продукции.
6.3
Определение годового экономического эффекта от внедрения мероприятия
По результатам проведенных расчетов по определению затрат по статьям
калькуляции до и после исследования скважин строим таблицу 6.9 для сравнения
полученных результатов.
Эгод = (С1 - С2) ΔQ = (725 271 - 641 567) • 9837·103 =
823 396 248 000 тг
Годовой экономический эффект от проведения мероприятия составит 823 396
248 тенге.
Таблица 6.10 - Технико-экономические показатели до и после внедрения
мероприятия по исследованию скважин
|
Статьи затрат
|
До внедрения мероприятия
|
После внедрения мероприятия
|
Изменение затрат
|
|
Расходы на электроэнергию
по извлечению газа, тг
|
592 728 716
|
997 196 203
|
+404467487
|
|
Расходы по искусственному
воздействию на пласт, тг
|
781 324 217
|
1 314 485 904
|
+533161687
|
|
ФОТ, тг
|
69 617 028
|
69 617 028
|
-
|
|
Социальные отчисления (31
%), тг
|
21 581 278
|
21 581 278
|
-
|
|
Амортизация скважины, тг
|
27 941 412
|
27 941 412
|
-
|
|
Сбор, транспортировка и
подготовка газа , тг
|
7 106 747 830
|
11 956 236 000
|
+4849488170
|
|
Текущий ремонт скважины, тг
|
5 004 432
|
5 004 432
|
-
|
|
Общепроизводственные
расходы, тг
|
1 807 038 432
|
2 862 965 148
|
+1055926716
|
|
Внепроизводственные
расходы, тг
|
43 024 724
|
63 165 836
|
+20141112
|
|
Затраты по проведению
обработки, тг
|
-
|
1 717 515
|
+1 717 515
|
|
Итого затрат, млн. тг
|
10 455,008
|
15 559,298
|
+5 104,29
|
|
Добыча газа, 1000м3
|
40,3
|
67,8
|
+27,5
|
|
Себестоимость 1000 м3 газа,
тг/м3
|
725 271
|
641 567
|
- 83 704
|
|
Экономический эффект, млн.
тг
|
823,396 248
|
скважина исследование
лубрикатор
ЗАКЛЮЧЕНИЕ
Особенностью исследований и ремонтов скважин с помощью канатной техники,
как известно, является то, что ремонтные работы проводятся без глушения
скважины. В результате исключения операций по глушению скважин из цикла ремонтных
работ не происходит ухудшения фильтрационных характеристик пласта, которое
наблюдается при работе с помощью подъемных агрегатов.
Исследование и ремонт скважин относится к опасным производственным
объектам из-за высокой вероятности возникновения газопроявлений, фонтанов и
пожаров на устье скважин.
Недостатком использования канатной техники в настоящее время является то,
что не все виды ремонтных работ можно проводить с их помощью. Основная причина
- отсутствие необходимого инструмента и оборудования, спускаемого на проволоке,
апробированных технологий ремонта скважин. Из всего вышеперечисленного следует,
что для дальнейшего продвижения канатной техники в практику ремонтных работ
необходимо разрабатывать и внедрять в производство новое оборудование, инструмент
и технологии работ с помощью канатной техники.
Актуальным является и уменьшение металлоемкости оборудования, с
сохранением ее прочностных характеристик, что приведет к уменьшению затрат. Все
эти решения направлены на создание высококачественного, надежного,
долговечного, безопасного и недорогого оборудования.
Кроме этого сокращается продолжительность ремонтных работ за счет
уменьшения времени на монтаж установки и противовыбросового оборудования и
отсутствия работ по глушению скважин. За счет этого сокращается и время
нахождения скважины в бездействии.
СПИСОК ИСПОЛЬЗОВАННОЙ ЛИТЕРАТУРЫ
. Ю.В.
Зайцев " Освоение и ремонт нефтяных и газовых скважин под давлением",
М.,"Недра", 2002 г.
2. Молчанов
А. Г., Чичеров В. Л., Нефтепромысловые машины и механизмы, М., «Недра», 1983.
3. Молчанов
Г.В., Молчанов А.Г., Машины и оборудование для добычи нефти и газа М., «Недра»,
1984.
4. В.С.
Кроль, А.К. Карапетов "Подземный ремонт скважин с помощью канатной техники
", М., "Недра", 1995 г.
5. «Нефтегазопромысловое
оборудование». Под общей редакцией В. Н. Ивановского, 2006.
6. Акулышин
А.Н. и др. Эксплуатация нефтяных и газовых скважин.- М.: Недра, 1889 г. 480 с.
7. Бухаленко
Е.И. и др. Техника и технология промывки скважин.- М.: Недра, 1982.- 197 с.
. Бухаленко
Е.И. "Нефтепромысловые оборудования": "Справочник" - 2-е
издание, - М., Недра, 1990 г.
. Носырев
А.М.; « Растепление нефтяных скважин с помощью каротажного кабеля в западной
сибири »;ТГНУ; Тюмень 2005
. Крец
В.Г., Шмурыгин В.А. и др. Оборудование и инструменты для ремонта нефтяных
скважин.- Томск: Изд. ТПУ, 1996 с.
. Крец
В.Г., Кольцов В.А., Лукьянов В.Г., Саруев Л.А. и др. Нефтепромысловое
оборудование. Комплект Каталогов.- Томск: Изд. ТПУ, 1997.-822 С.
. Справочник
мастера по добыче нефти. Баку.- Азнефтеиздат, 1952.- 424 с.
13. Справочник
на основании проведенных теоретических исследований, опытно-конструкторских и
промысловых работ по исследованию скважин, в частности, с применением
созданного во ВНИИ в 1986 году комплекса КСС-1 РНТЦ ВНИИнефть А.Б. Сулейманов
" Практические расчёты при текущем и капитальном ремонте", М.,
"Недра", 1997 г.
14. Г.Е.
Панов " Охрана окружающей среды на предприятиях нефтяной и газовой
промышленности ", М., "Недра", 1999 г.
. Домин
П.А. "Справочник по технике безопасности", 1985г.
. Оркин
К.Г. и др. "Расчеты в технологии и технике добычи нефти", М., Недра,
1967 г.
. Карнаухов
М.Л. Гидродинамические исследования скважин испытателями пластов Москва
"Недра" 1991
18. В. С.
Бойко Разработка и эксплуатация нефтяных месторождений. - М.: Недра, 1990г. -
619 с.
19. Каталог
«Недракам» №43, 2012г. Стр.12
. «Правило
безопасности при геолого-разведочных работах» (М.1999 год),
. «Правило
безопасности в нефтяной и газовой промышленности» (РД 08-200-98),
. «Правило
геофизических исследований и работ в нефтяных и газовых скважинах». (М.1999 г),
. «Инструкция
№ 31 по технике безопасности при проведении промыслово-геофизических работ в
эксплуатационных скважинах»,
. «Техническая
инструкция по проведению геофизических исследований и работ приборами на кабеле
в нефтяных и газовых скважинах» (РД 153-39.0-072-01), ОСП ОРБ-99.
. .«Технологический
регламент на производство промыслово-геофизических исследований при
строительстве, капитальном и текущем ремонте скважин и при промысловых
исследованиях» г. Иркутск; 2009 г