Проходческие комбайны

  • Вид работы:
    Реферат
  • Предмет:
    Геология
  • Язык:
    Русский
    ,
    Формат файла:
    MS Word
    1,78 Мб
  • Опубликовано:
    2013-12-18
Вы можете узнать стоимость помощи в написании студенческой работы.
Помощь в написании работы, которую точно примут!

Проходческие комбайны

Реферат

Проходческие комбайны

Общие сведения и классификация

Проходческие комбайны предназначены для механизированного проведения подготовительных выработок угольных шахт, рудников, а также тоннелей при строительстве подземных сооружений. Использование комбайнов позволяет совместить во времени основные, наиболее тяжелые и трудоемкие операции (разрушение забоя и последующую уборку горной массы), что дает возможность повысить в 2…2,5 раза темпы проведения выработок и производительность труда, снизить стоимость проходческих работ и значительно облегчить и обезопасить труд проходчиков. Вместе с тем при комбайновом способе проведения существенно повышается устойчивость горных выработок, так как связанность пород в массиве нарушается в меньшей степени, чем при буровзрывных работах, что снижает расходы на поддержание выработок.

Комбайновый способ проведения выработок наиболее прогрессивен, так как совмещает во времени основные операции и проведение выработки протекает как непрерывный процесс. Существующие проходческие комбайны механизируют процессы разрушения забоя и погрузки отбитой горной массы на перегружатели, устанавливаемые за комбайном, и, далее, в общешахтные транспортные средства. Все проходческие комбайны оснащены средствами пылеподавления.

Проходческие комбайны классифицируют по следующим основным признакам (рис. 1):

способу обработки забоя исполнительным органом - избирательного (цикличного) действия с последовательной обработкой забоя и бурового (непрерывного) действия с одновременной обработкой всей поверхности забоя;

крепости разрушаемого горного массива - для работы по углю и слабой руде с прослойками и присечками слабых пород с f £ 4, по породам средней крепости с f = 4…8 и по крепким породам с f > 8;

области применения - для проведения основных и вспомогательных подготовительных выработок по полезному ископаемому

и по смешанному забою, основных и капитальных подготовительных выработок и тоннелей по породе и нарезных работ по полезному ископаемому;

по площади сечения проводимой выработки (в проходке) - от 5 до 16 м3, от 9 до 30 м2 и более 30 м2.

Рис. 1. Классификация проходческих комбайнов

Кроме основных признаков проходческие комбайны классифицируют еще по следующим дополнительным признакам: установленной мощности, габаритам, способу погрузки отбитой горной массы, способу передвижения, роду применяемой энергии.

Эти признаки не являются определяющими, так как существуют комбайны с различными конструктивными особенностями, в том числе взаимозаменяемыми способами погрузки, типами ходовых частей, привода и т. д.

Многообразие горно-геологических условий и опыт применения различных типов проходческих комбайнов показывают, что нужно развивать и совершенствовать проходческие комбайны как избирательного, так и бурового действия.

Проходческие комбайны с избирательными исполнительными органами находят преимущественное применение при проведении выработок по породам с f £ 8, при необходимости изменения в широком диапазоне размеров и формы сечений выработок и при раздельной выемке горного массива.

Буровые проходческие комбайны непрерывного действия по сравнению с комбайнами избирательного действия применяют при проведении круглых или арочных выработок одного сечения в породах различной крепости.

Основным показателем работы проходческого комбайна является техническая производительность, обычно выражаемая в т/с (т/мин) или м3/с (м3/мин) и учитывающая специфику работы того или иного типа комбайна. Важный показатель-коэффициент использования проходческих комбайнов избирательного действия обычно составляет около 0,25-0,3.

Эксплуатационная производительность комбайна (т/смену) сдерживается остановками комбайна, связанными с выполнением большого и сложного комплекса работ по креплению, зачистке забоя, обмену вагонеток и т. д., а также в связи с изменениями скорости подачи, вызванных неравномерностью отбойки горной массы или породы и их доставки, изменениями геологического характера забоя и организационными неполадками.

Конструкции основных узлов проходческих комбайнов

Исполнительное оборудование

Исполнительным оборудованием называются исполнительные органы проходческих комбайнов, предназначенные для разрушения горного массива. По конструктивным особенностям исполнительные органы подразделяют на две основные группы: избирательные (с перемещением в одной или двух плоскостях) и буровые - роторные и планетарные. Классификация исполнительных органов по их принципиальным конструктивным признакам показана на рис. 2.

Основным отличительным признаком этих двух групп является различный способ разрушения забоя. Избирательные органы одновременно обрабатывают только часть забоя, в то время как буровые - сразу весь забой.

Рис. 2. Классификация исполнительных органов проходческих комбайнов

Исполнительные органы избирательного действия подразделяют на органы, перемещающиеся при обработке забоя в одной плоскости и перемещающиеся в двух плоскостях. Первые, с перемещением в одной плоскости, при работе перемещаются либо в горизонтальной, либо в вертикальной плоскости.

Некоторые комбайны для придания выработке необходимой формы оснащены дополнительными органами, разрушающими уступы кровли и почвы и выравнивающими боковые стенки выработки.

Исполнительные органы, перемещающиеся в одной плоскости, бывают баровыми, корончатыми, комбинированными и шнековыми. (рис. 3).

Рис. 3. Схема избирательных исполнительных органов, перемещающихся в одной плоскости.

Баровые исполнительные органы применяют для проведения подготовительных выработок по углю и весьма слабым породам. Основным элементом в них являются режущие цепи, заимствованные у баров врубовых машин и добычных комбайнов. Несмотря на относительно высокую энергоемкость процесса разрушения, баровые исполнительные органы могут конкурировать по производительности с исполнительными органами других типов в соответствующих горно-геологических условиях.

Корончатые исполнительные органы перемещаются в одной плоскости. Они применяются для проведения подготовительных и нарезных выработок по углю и руде, а также для очистных работ в камерах.

Комбинированные исполнительные органы, перемещающиеся в одной плоскости, сочетают в себе элементы баровых и корончатых органов.

Кроме рассмотренных типов избирательных исполнительных органов, перемещающихся в одной плоскости, известны шнековые исполнительные органы. Комбайны с такими исполнительными органами предназначены для работы в камерах, но частично могут быть использованы и при проходческих работах.

Исполнительные органы, перемещающиеся в двух плоскостях, по конструктивному признаку подразделяют на однобарабанные, двухбарабанные, лучевые, кольцевые, дисковые и комбинированные (рис. 4).

Рис. 4. Схемы избирательных исполнительных органов, перемещающихся в двух плоскостях

Однобарабанные исполнительные органы (рис. 4, а) состоят из отбойной коронки на подвижной рукояти. Отбойная коронка, имеющая вид усеченного конуса, консольно закреплена на рукояти, которая может перемещатся в горизонтальном и вертикальном направлениях.

Двухбарабанные исполнительные органы в отличие от однобарабанных имеют на рукояти две коронки с вертикальными осями вращения (рис. 4, б) или одну коронку, состоящую из двух полусфер, с горизонтальными осями вращения (рис. 4, в). Исполнительный орган может иметь две рукояти, которые синхронно качаются в противоположных направлениях в горизонтальной плоскости.

Лучевые исполнительные органы (рис. 4, г), перемещающиеся в двух плоскостях, состоят из двух - четырех пятилучевых коронок, имеющих общую горизонтальную ось вращения и расположенных по обеим сторонам подвижной рукояти.

Кольцевые исполнительные органы (рис. 4. д) состоят из конической пустотелой трубы со шнеком внутри. Широкий конец трубы, на торцевой поверхности которого расположены резцы, создающие кольцевую щель, является рабочим.

Дисковые исполнительные органы (рис. 4, е) предназначены для подрезания горного массива и образования уступов, которые разрушаются отрывом от забоя. Первоначально в забой внедряется диск на сложенной рукояти. По мере образования вруба на рукояти гидродомкратом выдвигается диск, скалывающий образовавшийся уступ.

Комбинированные исполнительные органы, (рис. 4, ж) состоят из консольной рукояти, на конце которой располагается кольцевая коронка с трехлучевой турелью внутри. Коронка и турель вращаются в противоположных направлениях с различной скоростью. Рукоять при обработке забоя перемещается в горизонтальном и вертикальном направлениях.

Буровые исполнительные органы непрерывного действия состоят из одной или нескольких планшайб, вращающихся в плоскостях, параллельных забою, и одновременно разрушающих забой режущим и скалывающим инструментом. При этом ось вращения планшайбы не изменяет своего положения относительно корпуса комбайна.

Траектории движения инструмента в исполнительных органах бурового типа являются либо плоскостными и лежат в плоскостях, перпендикулярных к оси вращения планшайб, либо представляют сложные пространственные кривые.

Буровые исполнительные органы по принципу разрушения и основному конструктивному отличию подразделяют на роторные и планетарные. В зависимости от формы и сечения исполнительные органы этого типа могут состоять из одной или нескольких планшайб, каждая из которых вращается вокруг своей оси и разрушает часть забоя, равную площади планшайбы. При органе, состоящем из одной планшайбы, проводимая выработка имеет круглое сечение, а при наличии дополнительных разрушающихся механизмов - арочное. При комбинации двух или нескольких планшайб с дополнительными механизмами получают овальную или прямоугольную со скругленными углами форму выработки.

Рис.5. Схемы роторных буровых исполнительных органов

Роторные буровые исполнительные органы (рис. 5) применяют для разрушения угля, руды и пород различной крепости. Разрушение пород средней и выше средней крепости производят роторными исполнительными органами со свободно вращающимися на своих осях дисковыми, зубчатыми или штыревыми шарошками. Центральная часть забоя разрушается сплошным резанием специальным забурником.

Планшайбы могут быть плоскими, коническими или сферическими со сплошным диском или состоять из отдельных лучей. Применение четного числа планшайб позволяет при их встречном направлении вращения уравновесить реактивный крутящий момент, что повышает в некоторой степени устойчивость машины. Буровые исполнительные органы с двумя и более планшайбами широко используют на комбайнах для камерной системы разработки.

Энерговооруженность комбайнов с роторным исполнительным органом значительно выше, чем комбайнов избирательного действия, так как исполнительный орган последних вследствие определенных конструктивных сложностей нельзя использовать для большой энерговооруженности.

Роторные исполнительные органы разделяют на одноосевые, состоящие из одной планшайбы, соосно-планшайбовые - из двух встречно вращающихся планшайб, сидящих на одной оси, и параллельно-осевые (две и более рядом расположенные планшайбы с параллельными осями).

К одноосевым (рис. 5, а) относят исполнительные органы, обычно имеющие одну планшайбу с частотой вращения до 0,1 с-1. Исполнительный орган подается на забой шагающим оборудованием. Нижнюю часть выработки оформляют бермовые фрезы с горизонтальной осью вращения.

Исполнительный орган (рис. 5, б) состоит из сплошной плоской, конусной или сферической планшайбы с дисковыми или штыревыми шарошками, установленными по винтовой линии или радиально. Шарошки могут быть установлены на планшайбе для лобового или подрезного резания. Исполнительный орган в этом случае предназначен для разрушения весьма крепких пород (f = 8…16).

Соосно-планшайбовые исполнительные органы (рис. 5, е) предназначены обычно для работы по слабым породам и калийным рудам.

Параллельно-осевые исполнительные органы (рис. 5. г-з) предназначены для работы по углю и мягким породам и состоят из двух планшайб, смонтированных на отдельных встречно вращающихся приводных валах. Такое расположение позволяет уравновесить планшайбы и обеспечить подгребание отбитой горной массы к центру выработки для погрузки на скребковый конвейер.

Планетарные буровые исполнительные органы (рис. 6) применяют в основном для разрушения калийных руд, угля и пород.

Рис.6. Схемы планетарных буровых исполнительных органов

На исполнительных органах, предназначенных для слабых пород, применяют резцы, а для пород средней крепости и крепких - шарошечный инструмент.

Планетарные буровые исполнительные органы могут быть пространственными (рис. 6, а-в), в которых режущий инструмент перемещается по сложной кривой в двух плоскостях и не имеет постоянного контакта с забоем, и плоскими (рис. 6, г, д), в которых инструмент перемещается в одной плоскости параллельно забою по кривой, зависящей от двух движений.

Таким образом, комбайны с избирательными исполнительными органами имеют возможность без каких-либо монтажных и демонтажных работ изменять величину и форму (любую) сечения проводимой выработки, эффективно разрушать неоднородные и различные породы крепостью f £ 8. Смена инструмента значительно облегчена. Вследствие равного расстояния от центра вращения режущий инструмент используется более рационально.

Разрушение забоя по всему сечению буровыми исполнительными органами позволяет достигнуть непрерывного движения исполнительного органа комбайна и, следовательно, высокой производительности. Комбайном можно разрушать породы с f £ 14…16. Энерговооруженность комбайнов с такого типа органами достигает 1000 кВт и более. Кроме того, конструкция погрузочного механизма комбайна благодаря применению ковшей проще по сравнению, например, с нагребающими лапами. Управление комбайном с буровым исполнительным органом проще, чем с избирательным.

Погрузочное оборудование

Для уборки из забоя горной массы, разрушенной исполнительным органом, в проходческих комбайнах применяют погрузочное оборудование. Его конструкция зависит в основном от типа применяемого исполнительного органа. Погрузочное оборудование может быть либо специальным механизмом, либо приспособлением, встроенным в исполнительный орган или конвейер комбайна.

В зависимости от конструктивных особенностей и характера работы погрузочное оборудование подразделяют на следующее: нагребающие лапы, ковшовые, шнековые, скребково-кольцевые и баровые механизмы.

Погрузочное оборудование в виде нагребающих лап, ковшовых и шнековых механизмов служит для уборки разрушенной горной массы из забоя и перегрузки ее на встроенный в комбайн конвейер. Скребковое кольцевое и баровое погрузочное оборудование предназначено для погрузки ее на транспортные средства, расположенные вслед за комбайном.

Производительность погрузочного оборудования должна превышать производительность исполнительного органа по разрушению забоя.

Нагребающими лапами (рис. 7) оснащено большинство проходческих комбайнов. Лап может быть две (рис. 7, а) или четыре (рис. 7. 6).

Рис.7. Схема погрузочного оборудования в виде нагребающих лап

Погрузочное оборудование в виде нагребающих лап устанавливается по горизонтальной оси корпуса комбайна и с помощью гидродомкратов может поворачиваться в вертикальной плоскости. При этом носок грузчика опускается или поднимается относительно уровня гусениц, что необходимо при проведении выработок с изменяющимся профилем почвы.

Погрузочными органами другого типа являются нагребающие лапы-скребки (рис. 7, в), правая и левая лапы которых свободно насажены на горизонтальную ось поворотной части стрелы рабочего органа. С помощью гидродомкратов лапы-скребки автоматически поднимаются или опускаются в момент реверса стрелы. При движении стрелы справа налево правая лапа опущена и подгребает отбитую горную массу на центральный скребковый конвейер, а левая в это время поднята. При движении стрелы слева направо погрузку производит левая лапа.

Скребково-кольцевое погрузочное оборудование обычно имеет производительность 0,025-0,030 т/с, фронт погрузки 2-3 м, скорость движения скребковой цепи 0,5-1 м/с, мощность привода 15 кВт. Горная масса, отбитая исполнительным органом комбайна, зачерпывается из забоя движущимися консольными скребками, укрепленными на кулаках двухшарнирной цепи, и по желобам транспортируется до разгрузочной течки, откуда подается на перегружатель. Отличительная особенность скребково-кольцевых погрузочных органов заключается в сочетании погрузочных и транспортирующих функций, поскольку цепь с консольными скребками производит зачерпывание и транспортировку горной массы. Кольцевые погрузчики при хорошей работоспособности по погрузке угля плохо работают по погрузке породы из-за значительного износа деталей транспортирующих устройств и заштыбовки направляющих желобов, по которым движется цепь.

Баровое погрузочное оборудование (рис. 9) разделяют на две группы: погрузочные органы, осуществляющие погрузку режущими цепями исполнительного органа, и погрузочные органы, выполненные в виде специальных скребковых баров.

проходческий комбайн погрузочный буровой

Рис. 9. Схемы барового погрузочного оборудования

Погрузочным оборудованием (рис. 9, а) является нижний бар двухбарабанного исполнительного органа, постоянно находящегося у почвы пласта. Режущая двухшарнирная цепь, проходя в ручье нижнего бара, производит навалку угля, разрушенного качающимся верхним и неподвижным нижним барами, через наклонный лоток на скребковый конвейер, расположенный сбоку, со стороны стенки выработки.

Погрузку угля можно производить режущими цепями исполнительного органа (рис. 9, б). Два вертикальных поворотных бара отбивают уголь. Нижние ветви режущих цепей этих баров, двигаясь от забоя к комбайну, транспортируют уголь сначала своей горизонтальной частью по почве выработки, а затем наклонной частью - по наклонному лотку. С последнего уголь поступает на центральный скребковый конвейер.

Погрузочным оборудованием (рис. 9, в) являются два цепных бара исполнительного органа и скребковый конвейер с нижней несущей ветвью.

Погрузочным оборудованием (рис. 9, г) является плоский скребковый бар, подвешенный на шарнирных цапфах к поворотной раме и совершающий движение вдоль наклонного лотка вокруг вертикальной оси одновременно с движением рабочего органа.

Погрузочным оборудованием (рис. 9, д) служат два поворотных скребковых бара.

Придание исполнительному органу погрузочных функций существенно упрощает конструкцию комбайна в целом. Но наличие специальных погрузочных баров исключает применение погрузочных органов этого типа в смешанных забоях. Кроме того, привод баров сложен по конструкции и подвержен заштыбовке.

Ковшовое погрузочное оборудование (рис. 10) в основном нашло применение на комбайнах бурового типа. Ковши, расположенные по окружности на максимальном радиусе планшайбы роторного исполнительного органа (рис. 10, а) обеспечивают фронт погрузки, равный диаметру проводимой выработки. Горная масса, разрушенная инструментом исполнительного органа, зачерпывается вращающимися ковшами у почвы выработки. В верхнем положении ковши разгружаются в разгрузочное окно и течку.

Рис.10 Схемы ковшового погрузочного оборудования

Производительность ковшового погрузочного оборудования пропорциональна частоте вращения исполнительного органа. Возникающая при вращении центробежная сила не должна превышать собственного веса материала, в противном случае материал из ковшей высыпаться будет не полностью.

Другим типом ковшового погрузочного оборудования, (рис. 10,6) является грузчик, выполненный в виде ковша, нагребающего уголь на центральный конвейер. Привод ковша осуществляется гидродомкратом.

Достоинства ковшового погрузочного оборудования: простота и отсутствие специального привода, что упрощает конструкцию комбайна в целом. Однако на разгрузку горной массы из ковшей влияют ее физические свойства: влажность, склонность к налипанию и т. д.

Шнековое погрузочное оборудование погружает отбитую горную массу шнеками к нижней несущей ветви скребкового конвейера. Производительность шнекового погрузочного оборудования порядка 0,03-0,07 т/с, привод электрический или гидравлический мощностью 35-55 кВт, диаметр шнеков 400-600 мм.

Рис.11 Схемы шнекового погрузочного оборудования.

Ходовое оборудование

Ходовое оборудование проходческих комбайнов предназначено для:

создания напорного усилия на забой при разрушении горного массива и при погрузке отбитого материала;

маневрирования комбайном в забое во время работы;

транспортирования комбайна при перегонах по горным выработкам.

В зависимости от горнотехнических условий применяют гусеничное или шагающее ходовое оборудование. Причем наибольшее распространение получило гусеничное ходовое оборудование из-за высокой маневренности и удобства в эксплуатации.

В зависимости от типа привода различают гусеничное ходовое оборудование с электрическим и с гидравлическим приводом.

Приводы гусеничных ходов бывают двух типов: общий на две гусеницы и раздельные на каждую гусеницу. Один привод на две гусеницы в проходческих комбайнах применяют редко, обычно применяются раздельные как электрические, так и гидравлические приводы. При раздельном электрическом приводе редукторы приводов двух гусениц выполняются в одном корпусе или в самостоятельных корпусах.

Центральная рама, к которой крепятся две гусеничные тележки, обычно служит базой машины, и на ней же монтируются все исполнительные механизмы и узлы. Каждая гусеничная тележка состоит из рамы, гусеничной цепи, опорных катков, ленивца и натяжного устройства.

Мощность привода ходовой части должна обеспечивать движение комбайна при заданных углах наклона выработки со скоростью 0,08-0,11 м/с.

Шагающее ходовое оборудование предназначено в основном для создания напорного усилия на забой и не приспособлено для маневрирования комбайном. Шагающее ходовое оборудование (рис. 14) создает цикличное движение с помощью четырех гидродомкратов. Два распорных гидродомкрата 1 встроены в балку 2 и производят распор балки в боковые стенки выработки. Два подающих гидродомкрата 3, цилиндры которых прикреплены к корпусу 4 главного двигателя, я штоки к балке 2, подают комбайн на забой при распертой балке. После этого давление в гидродомкрате 1 снимается, и балка с помощью гидродомкратов 3 подается вперед. Шаг подачи обычно составляет 0,7 м.

Рис.14 Схема шагающего ходового оборудования

Вышеизложенное позволяет сделать следующие выводы об особенностях ходового оборудования проходческих комбайнов:

гусеничное ходовое оборудование по сравнению с шагающим обладает высокой маневренностью, допускает повороты, развороты комбайна и позволяет перегонять комбайны на большие расстояния из одной выработки в другую собственным ходом, тогда как для перегона комбайна с шагающим ходовым оборудованием требуются дополнительные транспортные средства;

существенным недостатком гусеничного хода является невозможность получения больших напорных усилий на забой, поскольку они зависят от веса комбайна и коэффициента сцепления гусениц с почвой и не превышают по величине собственного веса комбайна, тогда как комбайны с шагающим ходовым оборудованием с помощью гидродомкратов могут создавать напорные усилия на забой, в несколько раз превышающие собственный вес комбайна. Это особенно важно для комбайнов, предназначенных для проведения выработок по породе;

шагающее ходовое оборудование конструктивно проще гусеничного и имеет меньшую массу;

шагающее ходовое оборудование при распоре в стенке выработки создает большие концентрированные нагрузки, что ограничивает применение проходческих комбайнов, оснащенных такими механизмами, при проведении выработок в трещиноватых и склонных к вывалам породах;

гидравлический привод гусеничного хода позволяет плавно регулировать скорость передвижения комбайнов, в то время как электрический привод допускает лишь ступенчатое регулирование скорости.

Распорное оборудование

С расширением области применения комбайнов по крепости разрушаемых пород значительно (в 2-2,5 раза и более) возрастают внешние нагрузки на коронку исполнительного органа. В связи с этим особую важность приобретает проблема обеспечения устойчивости комбайна.

Применяют различные способы увеличения устойчивости комбайнов: раздвижку гусеничных тележек; аутриггеры или распорные устройства; опирание комбайна на носок стола питателя и домкраты, расположенные за гусеничными тележками.

Из всех конструктивных решений наибольшего внимания заслуживает распорное устройство с расположением домкратов сзади комбайна, поскольку в этом случае распорное устройство не загромождает прохода. Аутриггеры, или распорные устройства, расположенные сбоку комбайна, загромождают проходы по бокам комбайна и непригодны в условиях относительно узких выработок.

В дальнейшем следует ориентироваться на увеличение устойчивости как за счет опирания комбайна на носок погрузочного стола и домкраты, максимально отнесенные к хвостовой части, так и за счет применения аутригеров, расположенных сбоку комбайна, при работе в широких выработках.

Проходческие комбайны избирательного действия и нарезные

Отличительной особенностью этой группы комбайнов является цикличность и избирательность действия. Комбайн обрабатывает забой последовательно. Исполнительные органы, выполненные в виде режущих головок на консольной подвижной стреле - рукояти или в виде набора резцовых коронок, совершают при обработке забоя качательные движения.

Таблица. Проходческие комбайны избирательного действия (с резцовой коронкой на стреле и нагребными лапами)

Тип

Размеры выработки ВхН, м

Площадь сечения выработки, м2

Крепость пород, f

Техническая производительность, м3/мин

ПК-ЗР

2.8-4.0x2.1-3.2

5.3-12

<4

0.35

4ПУ

2.6-3.3x1.5-2.85

4-8.2

<4

0.3

ГПКС

2.6-4.7x1.8-3.6

4.7-15

<4

0.5

3.6-6.2 х 2.6-4.5

9-25

<6

0.35

ГПК-2

3.7-7.5 х 3-5.5

10-30

<6-8

0.5

4ПП-5

3.8-6.5x2.8-5

10-30

<7-8

0.7


Комбайны с исполнительным органом избирательного действия имеют следующие особенности по сравнению с комбайнами бурового действия:

ими одновременно обрабатывается только часть площади забоя и приходится перемещать исполнительный орган по сечению выработки, поэтому производительность избирательных исполнительных органов ниже, чем буровых;

неуравновешенность в продольном и поперечном направлениях (частичная уравновешенность может быть достигнута при движении двух исполнительных органов в разные стороны или при применении исполнительного органа аксиального действия, т. е. с двумя коронками, расположенными на одной оси, перпендикулярной к стреле комбайна);

более сложную конструкцию погрузочных устройств; избирательные исполнительные органы не отделены щитом от призабойного пространства выработки, поэтому конструкция их устройства для пылеподавления более сложная и громоздкая;

управление усложнено и затруднена автоматизация процессов избирательных исполнительных органов, особенно комбайнов с исполнительными органами, перемещающимися в двух плоскостях.

Однако, несмотря на перечисленные особенности, проходческие комбайны с избирательными исполнительными органами по конструкции в целом значительно проще буровых комбайнов, отличаются высокими эксплуатационными качествами и широко применяются в угольной и горнорудной промышленностях.

Соотношения площадей сечения выработок и поперечного сечения комбайнов составляют обычно от 3,6 до 4,3. Высота проводимых комбайнами выработок превышает более чем в 2 раза высоту комбайна в транспортном положении.

Применяемые комбайны со стреловидным исполнительным органом хорошо зарекомендовали себя при разрушении малоабразивных пород с коэффициентом крепости f £ 6.

Проходческие комбайны должны изготавливаться четырех типоразмеров:

1-й типоразмер - для проведения горных выраооток по углю и углю с присечкой (до 50% площади сечения породы с f = 4 и показателем абразивности 5 мг);

2-й типоразмер - для проведения горных выработок по углю, углю с присечкой (до 50% площади сечения породы с f = 5 и показателем абразивности 10 мг) и сплошным забоем (по породе с f = 4 и показателем абразивности 10 мг);

3-й типоразмер - для проведения горных выработок по углю с присечкой, (до 75% площади сечения породы с f = 6 и показателем абразивности 15 мг) и по углю с присечкой (до 30/о площади сечения пород с f = 8 и показателем абразивности 15 мг);

4-й типоразмер-для проведения горных выработок по углю с присечкой (до 75% площади сечения породы с f = б и показателем абразивности 15 мг); по углю с присечкой (до 30% площади сечения породы с f = 7 и показателем абразивности 15 мг) и по углю с присечкой (до 30% площади сечения породы с f = 8 и показателем абразивности 15 мг)

Рис.19. Основные параметры комбайнов избирательного действия.


Проходческие комбайны бурового действия с непрерывным рабочим процессом

Проходческие комбайны бурового действия предназначены для проведения подготовительных выработок круглой формы сразу на полное сечение. Их часто называют роторными комбайнами. При наличии дополнительного оборудования (бермовых фрез) ими можно проводить выработки арочного сечения.

Особенности буровых комбайнов следующие:

перестройка их исполнительных органов даже для незначительного изменения сечения возможна лишь при телескопическом выдвижении лучей, изменении положения оконтуривающих цепей и отбойных штанг;

исполнительный орган загораживает все сечение выработки, затрудняет доступ к забою для замены инструмента, снижает маневренность комбайна;

невозможна раздельная выемка полезного ископаемого и породы;

требуется большой радиус поворота.

Проходческие комбайны бурового действия разделяют на две группы: для работы по калийным солям, углю и слабым породам с f £4 м и для работы по сильноабразивным породам с f=8…16.

Буровые комбайны могут иметь исполнительный орган различной конструкции, но наиболее распространен лобовой - одноосевой, реже планетарный.

Погрузочное оборудование комбайна - ковшового типа; ходовое - гусеничного или шагающего типа.

Различают одно- и двухраспорную схемы механизма подачи в комбайнах. Однораспорную схему применяют при малой энерговооруженности и сравнительно малых напорных усилиях. Однораспорная схема имеет следующие преимущества по сравнению с двухраспорной; при ней упрощается конструктивная схема комбайна, уменьшаются число узлов и масса, снижаются стоимость и трудоемкость монтажно-демонтажных работ, освобождается рабочее пространство для доставки и возведения крепи. Двухраспорную схему используют при повышенной энерговооруженности исполнительного органа и больших напорных усилиях, требующихся для разрушения более крепких пород.

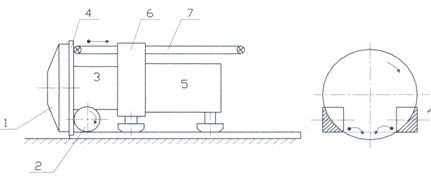
Рис. 2. Проходческий комбайн ПК-8

Таблица Проходческие роторные комбайны

Тип

Размеры выработки ВхН, м

Площадь сечения выработки, м2

Крепость пород, f

Техническая производитель- ность, м3/мин

ПК-8М

3x3 - 3.2x3.2

8-9

<4

0.25

Урал-10КС

2.1-2.6x3.9-4.3

7.8 -10.2

<4

0.25

Урал-20КС

2.9-3.7x5.3-6.1

13.4-20.2

<4

0.33


Существуют также две принципиальные компоновочные схемы комбайна: первая - с подтягиванием корпуса машины к распорным плитам, расположенным в передней части, вторая - с отталкиванием корпуса от распорных плит. Первая схема дает возможность стабилизировать положение комбайна в горизонтальной плоскости и улучшить управляемость им.

У комбайнов непрерывного действия применяют две компоновочные схемы оборудования: первая - системы пылеподавления, электроснабжения, гидравлическая и управления монтируются на комбайне и составляют с ним единое целое, вторая - указанные выше системы выносят за пределы комбайна и располагают за ним, что позволяет несколько освободить призабойное пространство и облегчить монтаж и демонтаж комбайна.

Рис. 20. Роторный проходческий комбайн:

1 - роторный исполнительный орган, состоящий из одной или двух соосно расположенных планшайб; на их забойной стороне расположен рабочий инструмент (резцы, шарошки), а с внутренней, как правило, размещаются ковши погрузочного устройства;

2 - бермовые фрезы, осуществляющие оформление забоя до арочной формы;

4 - щит ограждения, препятствующий проникновению пыли из зоны работы исполнительного органа в выработанное пространство;

5 - несущая рама комбайна с расположенным на нем электро- и гидрооборудованием;

6 - ходовая часть гусеничного или распорно-шагающего типа;

7 - конвейер ленточного типа.

Литература

1 Ржевский В.В. Открытые горные работы. Часть 1 и 2. М., Недра.2005.

2 Анистратов Ю.И. Технология открытой добычи руд редких и радиоактивных металлов.М.,Недра,2008.

3. Брюховецкий О.С., Бунин Ж.В., Ковалев И.А. Технология и комплексная механизация разработки месторождений полезных ископаемых. М.,Недра,2009.

4 Фомин С.И. Основы технологии горного производства.СПб.,2004.

5. Справочник открытые горные работы. М., Недра, 2005.

. Кулешов А.А. Проектирование и эксплуатация карьерного автотранспорта. Справочник. Часть 1 и 2. СПб., изд. СПГГИ, 2005.

. Единые правила безопасности при разработке месторождений полезных ископаемых открытым способом. М., Недра, 2004.

проходческий комбайн погрузочный буровой

Похожие работы на - Проходческие комбайны

 

Не нашли материал для своей работы?
Поможем написать уникальную работу
Без плагиата!
Без нейросетей!