Электрическое и электромеханическое оборудование
Содержание
1. Классификация и электрооборудование лифтовых установок
1.1 Определение лифта
1.2 Классификация лифтов
1.3 Электрооборудование лифтов
2. Схемы управления механизмов передвижения мостовых кранов
2.1 Общие сведения о мостовых кранах
2.2 Механизмы передвижения кранов
2.3 Электрические схемы механизмов передвижения мостовых кранов
Список использованных источников
1.
Классификация и электрооборудование лифтовых установок
1.1
Определение лифта
Лифт представляет собой разновидность подъемников.
Лифт - это стационарная грузоподъемная машина периодического
действия, предназначенная для подъема и спуска людей и /или/ грузов в кабине,
движущейся по жестким прямолинейным направляющим, у которых угол наклона к
вертикали не более 15 град.;
Согласно "Правил устройства и безопасной эксплуатации
лифтов" (ПУБЭЛ) лифт - это транспортное устройство прерывного действия,
предназначенное для подъема и спуска людей (грузов) с одного уровня на другой,
кабина (платформа) которого перемещается по жестким вертикальным направляющим,
установленным в шахте, снабженной на посадочных (загрузочных) площадках
запираемыми дверями.
.2
Классификация лифтов
Существует множество признаков, по которым классифицируют
лифты. Единой классификации лифтов не существует. Ниже приведены основные
признаки, по которым можно классифицировать лифты.
1.2.1 Тип привода.
Электрический лифт - лифт, лебедка которого приводится в
действие электродвигателем.
Гидравлический лифт - "выталкивается" выжимным
штоком за счет давления масла.
Пневматические лифты - приводятся в движение при помощи
воздушного давления, без использования кабелей, блоков и поршней.
Пневматические лифты легче в установке и подходят для существующих домов,
благодаря их компактной конструкции.
1.2.2 Вид транспортируемого груза.
Пассажирские лифты: для жилых зданий, общественных зданий,
зданий промышленных предприятий, для малоэтажных жилых зданий (коттеджей)
электрические или гидравлические с этажностью до 5 этажей и со скоростью до
0,63 м/с, больничные, инвалидные лифты.
Грузовые лифты: обычные грузовые лифты (грузоподъемность 250
- 5000 кг); грузовые малые лифты, предназначенные для подъема и спуска
небольших грузов; тротуарные лифты; грузопассажирские лифты; грузовые лифты с
проводником - для транспортировки грузов и сопровождающих их лиц.
1.2.3 Способ обслуживания.
Лифты самостоятельного пользования, которыми управляет сам
пассажир;
Лифты, управляемые проводником и всегда сопровождающие груз.
1.2.4 Скорость движения кабины.
Лифты тихоходные (до 1,0 м/с). Лифты быстроходные (от 1,0 до
2,0 м/с). Лифты скоростные (от 2,0 до 4,0 м/с). Лифты высокоскоростные (свыше
4,0 м/с).
1.2.5 Тип привода подъемного механизма.
Лифты электрические (с приводом от электродвигателя
переменного или постоянного тока). Лифты гидравлические (с приводом в виде
подъемного гидроцилиндра или лебедки с гидродвигателем вращательного типа).
1.2.6 Дизайн.
Видовые лифты: в панорамной или в остекленной шахте.
Невидовые лифты - в глухой шахте (блочная, железобетонная,
кирпичная и др.).
1.2.7 Машинное помещение лифта.
Машинное отделение с верхним машинным помещением (над
шахтой);
Машинное отделение с нижним машинным помещением (под шахтой
или сбоку от нее);
Без машинного помещения (машинное помещение расположено в
габаритах шахты, обычно наверху).
1.2.8 Конструкция привода.
Лифты с лебедкой барабанного типа (канаты, на которых
подвешена кабина лифта, жестко закреплены на барабане и при подъеме кабины
лифта ее канаты наматываются на барабан)
Лебедки с канатоведущим шкивом (характеризуются отсутствием
жесткого крепления канатов на ведущем органе лебедки (канатоведущем шкиве).
Тяговое усилие в канатах необходимое для поднятия кабины лифта создается за
счет трения канатов об рабочую поверхность канатоведущего шкива)
1.2.9 Двери шахты и кабины лифта.
С распашными дверями;
Вертикально - или горизонтально-раздвижными дверями (обычно
для малых грузовых лифтов).
1.2.10 Вид привода дверей.
Лифты с ручным приводом (двери шахты и кабины открывает сам
пассажир);
Лифты с полуавтоматическим приводом шахтных дверей (двери
открываются вручную, а закрываются автоматически с помощью доводчика);
Лифты автоматическим приводом;
Лифты с комбинированным приводом (двери кабины -
автоматический привод, двери шахты - ручные).
1.2.11 Лебедка лифта.
Лебедка электрического лифта с редуктором;
Лебедка электрического лифта без редуктора (безредукторная
лебедка).
1.2.12 Типы управления.
Внутреннее управление, при котором лифтом управляют из купе
кабины;
Наружное управление с остановочных площадок;
Смешанное управление из купе кабины лифта и с остановочных площадок.
1.2.13 Системы управления лифтом.
Простое раздельное управление, при котором регистрируется и
реализуется только одна команда (вызов или приказ);
Собирательное управление, при котором регистрируются все
команды, а их выполнение осуществляется в соответствии с программой работы
лифта.
Одиночное управление (управление одним лифтом);
Групповое - управление группой лифтов, расположенных в одной
шахте, обслуживающих одни и те же этажи и имеющих одинаковую скорость.
.2.14 Лифты с гидроцилиндром
Лифты с одноступенчатым гидроцилиндром;
Лифты с телескопическим гидроцилиндром.
Все лифты, без каких-либо исключений, должны быть оборудованы
ловителями, которые по принципу действия могут быть мгновенного и плавного
(скользящего) действия.
1.3
Электрооборудование лифтов
Под электрооборудованием лифтов понимают совокупность
электрических машин, электрической аппаратуры, электроизмерительных приборов и
электропроводки, используемых в лифтовых установках.
В состав электрооборудования лифтов входят электродвигатели,
тормозные электромагниты, шкафы управления, вводное устройство, аппараты
управления, этажные выключатели, электромагнитная отводка, конечные выключатели
и блокировочные контакты, предохранительные устройства, электропроводка,
используемые в лифтовых установках.
2. Схемы
управления механизмов передвижения мостовых кранов
2.1 Общие
сведения о мостовых кранах
Внутрицеховое и внутрискладское транспортирование грузов на
промышленных предприятиях обслуживается обычно мостовыми кранами. Мостовые
краны могут быть использованы для вспомогательных работ при монтаже
конструкций, например для окраски смонтированных покрытий, на ремонтных работах
и т.д.
Мостовой кран (рис.1) состоит из подвижного балочного или
решетчатого моста, имеющего по концам поперечные балки, снабженные колесами. По
мосту крана передвигается тележка, оборудованная механизмами для подъема груза
и для собственного перемещения. Весь мост на колесах поперечных балок
перемещается по подкрановым путям, уложенным на подкрановые балки, закрепленные
на консолях колонн здания или эстакады. Механизм передвижения крана
устанавливается на горизонтальной ферме крана.
Мостовой кран может переносить груз в любую точку
обслуживаемой им площади, продольно передвигать по путям; поперечное
перемещение, подъём и опускание груза производят тележками крана.
Кран управляется из кабины, подвешенной к мосту так, что
крановщик может видеть все операции, производимые краном, и обслуживаемую им
площадь.
Мостовые краны подразделяют по типу привода на краны: с
ручным приводом; с машинным приводом, находящимся вне крана (сейчас такие краны
применяются очень редко); с электроприводом, расположенным на кране.
Рис. 1. Однобалочный мостовой кран опорного типа 1 - трансмиссия;
- электрическая таль;
- ферма;
- концевая балка;
- главная балка;
- привод механизма передвижения;
- колесо; 8 - кабина
Наибольшее распространение получили мостовые краны с электрическим
приводом, у которых в качестве механизма подъема и перемещения груза используют
электрические тали, а также механизмы типа электрических лебедок, установленные
на специальных самоходных крановых тележках, перемещающихся вдоль моста крана с
помощью механизма, состоящего из электродвигателя, редуктора и ходовых колес
тележки. Мост крана передвигается также с помощью электродвигателей, передающих
вращение ходовым колесам либо непосредственно через редукторы, либо через
редуктор и трансмиссию.
мостовой кран лифтовая установка
На рис. 1 показан однобалочный мостовой кран опорного типа с
электрическим приводом механизма подъема и перемещения груза, а также механизма
передвижения самого крана.
2.2 Механизмы
передвижения кранов
Для передвижения кранов используют механизмы с центральным и
раздельным приводом (рис. 2).
На рис. 2 а) показана схема механизма передвижения крана с
центральным приводом и тихоходным валом. Этот механизм состоит из привода
(включающего электродвигатель, редуктор и тормоз), установленного в середине
моста, трансмиссионного вала (состоящего из отдельных секций, соединенных между
собой муфтами), вращающегося в подшипниковых опорах и ходовой части (колес или
балансиров с колесами).
В отличие от описанного, в механизме с центральным приводом и
быстроходным валом электродвигатель, установленный также в середине моста,
приводит во вращение трансмиссионный вал не через редуктор, а непосредственно
(отсюда название вала - быстроходный). Каждый из концов этого вала соединен с
редуктором, установленным вблизи ходового колеса и передающим ему крутящий
момент.
Механизм с раздельным приводом (рис. 2 б) не имеет
трансмиссионного вала, так как устанавливается рядом с ходовым колесом или
балансиром. Поэтому по сравнению с центральным приводом раздельный имеет
удвоенное число двигателей, редукторов и тормозов. Вместе с тем такой привод
легок, удобен в изготовлении, при монтаже и при неравномерных нагрузках на
концевые балки моста обеспечивает перераспределение нагрузок между двигателями,
находящимися на противоположных сторонах моста, так как соответствующие приводы
связаны между собой металлоконструкцией крана.
Рис 2. Схемы механизмов передвижения мостовых кранов а) - с
центральным приводом и тихоходным валом; б - с раздельным приводом; 1 - ходовое
колесо; 2 - трансмиссионный вал; 3 - редуктор; 4 - тормоз; 5 - электродвигатель
Механизм с раздельным приводом (рис. 2 б) не имеет
трансмиссионного вала, так как устанавливается рядом с ходовым колесом или
балансиром. Поэтому по сравнению с центральным приводом раздельный имеет
удвоенное число двигателей, редукторов и тормозов. Вместе с тем такой привод
легок, удобен в изготовлении, при монтаже и при неравномерных нагрузках на
концевые балки моста обеспечивает перераспределение нагрузок между двигателями,
находящимися на противоположных сторонах моста, так как соответствующие приводы
связаны между собой металлоконструкцией крана.
2.3
Электрические схемы механизмов передвижения мостовых кранов
На рис. 3 представлена схема
электропривода передвижения при управлении короткозамкнутым односкоростным
двигателем.
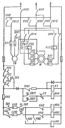
Рис. 3. Схема электропривода (с односкоростным короткозамкнутым
двигателем) механизма передвижения крана при управлении с пола: M1, М2 -
электродвигатели, YB1, YB2 - электромагниты тормозов или электрогидравлические
толкатели, КМ1, КМ2 - контакторы направления движения, КМ4, КМ5 - контакторы
резисторов в цепи статоров, КМЗ - контактор тормозов, КТ - реле контроля
времени пуска, FR1, FR2 - тепловые реле, SQ1, SQ2 - конечные выключатели, SB1,
SB2 - кнопки направления движения (двухходовые), SB11, SB21 - кнопки пуска, SB3
- кнопка прекращения свободного выбега, SB4 - кнопка шунтирования тепловой
защиты, ХА1-ХА9-контакты токопереходных троллеев
Эта схема предназначается для приводов тележек кранов
грузоподъемностью 3-20 т и приводов мостов кранов грузоподъемностью 2-5 т.
Обмотки статора короткозамкнутого двигателя получают питание от сети через две
ступени резисторов.
Управление электроприводом - от подвесных кнопочных постов. В
управлении участвуют две основные двухходовые кнопки SB1 и SB2 дающие команду
на движение в двух направлениях. Переход на положение без регулирующих
резисторов осуществляется при подаче команд кнопками SB11, SB21.
При включении двигателя через контакты контакторов КМ1, КМ2
подается питание на привод тормоза YB через контакты КМЗ. После отключения
электродвигателя привод тормоза продолжает получать питание и механизм имеет
свободный выбег. Для отключения тормоза используется кнопка SB3, общая для
механизма тележки и моста. При срабатывании конечных выключателей
<#"706320.files/image004.gif">,
,
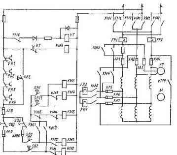
Кнопкой SB1 или SB2 включаются контакторы направления KM1, КМ2, а
также контактор малой скорости КМ4. После подачи питания к тихоходной обмотке
двигателя через контактор КМЗ получает питание привод тормоза YB1, YB2. Для
перехода на большую скорость двухходовыми кнопками SB замыкаются контакты SB11,
SB21 (второе положение) и включается контактор КМ6.
Обмотка большой скорости подключается к сети через резистор
одновременно с тихоходной обмоткой. Затем тихоходная обмотка отключается. По
истечении выдержки времени реле КТ (2-5 с) включается контактор КМ5 и двигатель
выходит на свою естественную характеристику быстроходного режима.
Рис. 4. Схема электропривода (с двухскоростным коротко-замкнутым
двигателем) механизма передвижения крана при управлении с пола: M1. М2 -
электродвигатели, YB1, YВ2 - приводы тормозов, KM1, KM 12 - контакторы
направления движения, КМЗ - контактор тормозов, КМ4 - контактор малой скорости,
КМ5 - контактор большой скорости, КМ6 - контактор резисторов в цепи статора,
FRI, FR2, FR3 - тепловые реле, КТ - реле времени контроля пуска, SQ1, SQ2 -
конечные выключатели, SB1, SB2 - кнопки направления движения (двухходовые):
SB11, SB21 - кнопки большой скорости (второе положение кнопок SB1, SB2), SВЗ -
кнопка прекращения свободного выбега, SB4 - кнопка шунтировании тепловой
защиты, ХА1-~ХЛ11 - контакты токопереходных троллеев.
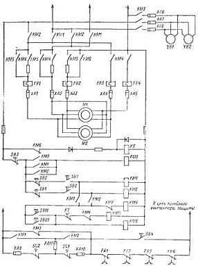
На рис. 5 представлена схема механизма передвижения мостового крана
с использованием двухскоростного двигателя без свободного выбега. Схема
отличается от рассмотренной последовательным включением тихоходной и
быстроходной обмоток и некоторым ограничением тормозного момента при
последовательном включении обмоток. Схема рекомендуется для мостовых кранов,
эксплуатирующихся на открытом воздухе.
Рис. 5. Схема электропривода (с двухскоростным короткозамкнутым
двигателем) механизма передвижения крана: М - электродвигатель, YB - привод
тормоза, KM1, КМ2 - контакторы направления движения, КМЗ - контактор малой
скорости, КМ4-контактор большой скорости, КМ5 - контактор резистора большой
скорости, КТ - реле контроля времени пуска, FR4 - тепловые реле, SQ1,
SQ2-конечные выключатели, SB1, SB2 - кнопки направления движения, SB11, SB21 -
кнопки большой скорости, SB3 - кнопка шунтирования тепловых реле, ХА1-ХА10 -
контакты токопереходных троллеев.
При нажатии кнопки SB11 (SB21). получает питание катушка
контактора КМ4, происходит переключение с малой скорости на большую при
минимальном перерыве питания. При этом не может быть положения, когда
быстроходная и тихоходная обмотки отключены. Переход с тихоходной обмотки на
быстроходную происходит под контролем реле времени КТ. При срабатывании
конечной защиты происходит двойное отключение обмоток двигателя и тормоза. На
рис. 6 представлена схема электропривода механизма подъема с двумя
короткозамкнутыми электродвигателями, соединенными между собой и с редуктором
через планетарную передачу с передаточным числом 6-8. Электродвигатель малой
скорости М2 включается на все время работы механизма. Электродвигатель большой
скорости включается на время работы большой скорости. Электродвигатель малой
скорости имеет встроенный тормоз.

Рис. 6. Схема электропривода (с двухскоростным короткозамкнутым
двигателем) механизма подъема при управлении с пола: М - электродвигатель, YB -
обмотка тормоза, KM1 - лилейный контактор, КМ2 - КМЗ-контакторы направления
движения, КМ4 - контактор переключения скоростей, FR1-FR3 - тепловые реле, КТ -
реле контроля разгона, SQ1, SQ2 - конечные выключатели, SB1, SB2 - кнопки
направления (двухходовые). SB3 - кнопка шунтирования тепловых реле, SB11, SB21
- кнопки большой скорости (второе положение кнопок SB1, SB2), ХА1 - ХА10 -
контакты токопереходных троллеев.
Рис. 7. Схема микропривода механизма подъема при управлении с
пола: M1 - электродвигатель большой скорости, М2 - электродвигатель малой
скорости, YB1 - обмотка тормоза большой скорости, YB2 - обмотка тормоза
двигателя малой скорости, KM1 - линейный контактор, КМ2-КМЗ - контакторы
направления большой скорости, КМ4, КМ5 - контакторы направления малой скорости,
КМ6-контактор тормоза большой скорости, КТ - реле контроля времени пуска, SQ1,
SQ2 - конечные выключатели, FR1-FR4 - тепловые реле, SB1, SB2-двухходовые
кнопки направления, SB11, SB21 - кнопки большой скорости (второе положение
кнопок SB1, SB2), XA1 - ХА10 - контакты токопереходных троллеев
Электродвигатель большой скорости имеет отдельный тормоз с
приводом от электрогидравлического толкателя
<#"706320.files/image011.gif">
, кВт,
где n = 
- частота вращения
n = 

= 2,67 кВт
По ГОСТ 19523-81 "Двигатели трехфазные асинхронные с
короткозамкнутым ротором" выбираем двигатель с большей мощностью и близким
по значению числом оборотов - 4А90L4УЗ. Параметры двигателя представлены в таблице
1.
Таблица 1-Технические характеристики асинхронного двигателя
типа 4А90L4УЗ
|
Мощность при
ПВ=40%
|
РН
|
3 кВт
|
|
Частота
вращения
|
n
|
1500 об/мин
|
|
КПД
|
ƞ
|
89%
|
|
Ток статора при
U=380 В
|
IСТ
|
6,7 А
|
|
Масса
|
|
23,0-23,2 кг
|
.
. Найдём значения угловой скорости двигателя,
необходимые для регулирования производительности в пределах 4-4,3 м3/с.
Так как 
, то 
,
где Q-необходимое значение производительности,
а угловую скорость находим по формуле

, 








По результатам вычислений заполним таблицу 2.
Таблица 2. Значения угловой скорости двигателя, необходимые
для регулирования производительности в пределах 4-4,3 м3/с
|
Qном,
м3/с
|
n, об/мин
|
Ω, рад/с
|
|
4,0
|
118,86
|
|
4,1
|
1163
|
121,79
|
|
4,2
|
1191
|
124,72
|
|
4,3
|
1220
|
127,76
|
Список
использованных источников
1. Зимин
Е.Н., Преображенский В.И., Чувашов И.И. "Электрооборудование промышленных
предприятий и установок" - М.: Энергоиздат, 1981.
2. Е.М.
Соколова "Электрическое и электромеханическое оборудование:
общепромышленные механизмы и бытовая техника" - учебное пособие для
студентов, М.: Академия, 2011.
. Справочник
ЖКХ "Студия Компас", 2013.