Дослідження електричних властивостей напівпровідникових твердих розчинів
Міністерство освіти і науки України
Ніжинський державний університет
імені Миколи Гоголя
Кафедра фізики
Дослідження електричних властивостей
напівпровідникових твердих розчинів
План
Вступ
1. Електричні властивості кристалів TP (InSb) 1-x (CdTe)
x
1.1 Підготовка зразків
1.2 Електропровідність і ефект Холла
1.3 Аналіз механізмів розсіяння
1.4 Висновки до розділу III
Список використаних джерел
Вступ
Робота присвячена
дослідженню електричних властивостей ТР (TnSb) 1-x (CdTe) x, які проводились
для одержання додаткової інформації про характер взаємодії компонентів і вплив
цієї взаємодії на зонні параметри та кристалічну структуру сплавів.
Досліджувались магнітна сприйнятливість (МС) кристалів ТР в залежності від
складу, температури і напруженості магнітного поля.
Розвиток сучасної
напівпровідникової електроніки потребує як створення нових матеріалів з наперед
заданими властивостями і параметрами, так і постійного пошуку принципово нових
ефектів в твердих тілах.
Великий інтерес в теоретичному і практичному планах являють
властивості неупорядкованих систем. Модельними системам цього типу є
кристалічні бінарні напівпровідникові сполуки, наприклад, типу А3В5,
при високому рівні їх легування. Дослідження твердих розчинів (ТР) на основі
сполук А3В5 дозволяє не тільки прослідкувати за
трансформацією фізичних властивостей вказаних сполук, пов'язаних з порушеннями
кристалічної гратки при поступовому заміщенні в ній катіонів або аніонів, а
також істотно розширює можливості створення на їх основі напівпровідникових
приладів. Відомо, що при легуванні напівпровідникових матеріалів при наявності
різниці атомних або іонних радіусів легуючих домішок і основної речовини в
місцях заміни одних атомів іншими, виникає значна локальна деформація. Така
деформація при високій концентрації домішок може привести до помітної зміни
постійної кристалічної ґратки легованого матеріалу, що, в свою чергу, викличе
перебудову енергетичного спектру електронів. Відносні зміни ефективної маси
носіїв і ширини забороненої зони при цьому можуть бути на порядок вищі, ніж
відносні зміни об'єму при деформації. Великі відносні зміни ефективної маси і
ширини забороненої зони особливо характерні дня напівпровідників з малою
забороненою зоною. Дійсно, величина зсуву рівня енергії електрона в кристалі
Е при деформації пропорційна ЕА
(
а/а), де а - міжатомна відстань, ЕА
- атомна енергія, що приблизно рівна 10 еВ. На основі цього зміна ширини
забороненої зони
Еg
/Еg буде пропорційна ЕА/Еg х
а/а і при малих Еg, тобто
у випадку вузькозонних напівпровідників (до яких можна віднести також і
антимонід індію), буде значно перевищувати
а/а. Таким чином, можна стверджувати, що крім своєї основної
функції-постачальника вільних електронів або дірок в напівпровідниках - легуючі
атоми через деформацію кристалічної гратки впливають на енергетичний спектр
носіїв заряду і на всі інші пов'язані з цим властивості матеріалів. Тому, крім
прикладного аспекту, у вивченні вузькозонних напівпровідників з проміжним і
високим рівнем легування спеціально підібраними домішками значну роль
відіграють теоретичні і експериментальні дослідження впливу на властивості
вихідного матеріалу деформації кристалічної гратки, міждомішкової взаємодії,
електрон-деформаційної взаємодії, вивчення складних комплексів за участю
домішкових атомів і атомів основної гратки, структурних дефектів, тощо.
Вищезазначене дає підстави вважати, що обрана тема курсової
роботи є важливою і актуальною, як в практичному, так і в теоретичному плані.
твердий напівпровідниковий розчин сплав
1.
Електричні властивості кристалів TP (InSb) 1-x (CdTe) x
Вивчення нових
напівпровідників звичайно починають з дослідження деяких характеристик, які
дозволяють скласти загальну уяву про властивості досліджуваного кристала. До
таких характеристик належать оптична і термічна ширина забороненої зони, власна
концентрація носіїв заряду, ефективна маса густини станів, рухливість носіїв
заряду різного типу, що залежать від параметрів зонного спектру і механізму
розсіяння. Багато з названих характеристик одержані за допомогою досліджень
кінетичних коефіцієнтів, які є найбільш поширеними в експериментальній практиці.
До них належать, зокрема, електропровідність і коефіцієнт Холла. Ці методики
дають досить надійну інформацію про властивості напівпровідника.
1.1
Підготовка зразків
Зразки для
експериментальних вимірювань вирізались з монокристалічних злитків за допомогою
алмазного диску. Вони мали форму паралелепіпеда з розмірами 1 х (2.3) х (8.12)
мм3, довга вісь якого співпадала з напрямом (110) або (100), а
більші грані знаходились у площині (001). Для видалення шару товщиною до 150
мкм, порушеного при вирізуванні, проводилось шліфування порошком М10. Потім при
кімнатній температурі здійснювалось травлення в поліруючому травнику СР-4А.
Омічні контакти виготовлялись вплавленням індію.
Однорідність зразків контролювалась кількома
методами. Спочатку за допомогою термозонду підтверджувалась відсутність в
кристалі р - п переходів. Потім проводилось вимірювання
електропровідності на протилежних гранях кристалу і холлівської напруги на двох
парах зондів. Зразок вважався однорідним, якщо різниця між цими величинами не
перевищувала 10%.
Вимірювання електричних
властивостей ТР проводилось як стацінарним компенсаційним, так і
нестаціонарними методами. Експериментальні установки мали слідуючі
конструктивні особливості. В області азотних і підвищених температур (77 ч 500
К) вимірювання електропровідності і ефекту Холла виконувались в азотному
металевому криостаті. Температура вимірювалась термопарами мідь-константан.
Вимірювання ефекту Холла виконувались в магнітних полях до 0,47 Тл.
Електромагніт живився від батареї акумуляторів великої ємності. Живлення зразка
здійснювалось від гальванічних елементів. Для живлення нагрівачів
використовувався змінний струм низької напруги від випрямляча ВС-24.
При стаціонарному методі вимірювань розрахунок
кінетичних коефіцієнтів здійснювався слідуючим чином. Питомий опір визначався
із співвідношення:
, (1)
де U1-2 - падіння
напруги між зондами 1-2,S - переріз зразка,
/I - струм через зразок,
L1-2 - відстань між
зондами.
Похибка вимірювань питомого опору складалась з
похибок у визначенні величин, які входили у формулу (1):
Тут δU1-2 - похибка вимірювання падіння напруги між зондами потенціометром
Р348.
Для зразків з ρ > 10-4
Ом
см, δU1-2 ≈ 0,4%. Для зразків з 10-4 < ρ < 10-5, δU1-2 ≈ 4%.
Похибка вимірювання струму через зразок δI складається
з похибки потенціометра Р348 і еталонного опору МСР-60:
δI = 0,015 + 0,02 =
0,035%.
Похибка вимірювання перерізу зразка δS складається з похибок визначення його ширини b і товщини h. Скільки похибка
окуляра мікрометра мікроскопу МБС-2 складає 0,008 мм, то b ≈ (1 ч 2)
мм, а h ≈ (0,7 ч 1,2) мм, то δS ≈ (1,1 ч 1,9) %. Похибка вимірювання
між зондами δl1-2 складає близько 0,25% при
l1-2 = 3 мм. Таким чином, похибка
вимірювання ρ в залежності від його
величини знаходиться в межах від 1,8 до 6,2%.
Коефіцієнт Холла обчислюється із співвідношення:
, (2)
Де Ux - холівська напруга,
I - Напруженість
магнітного поля,
h - товщина
зразка.
При вимірюванні ефекту холлівської напруги ком пенсійним
методом чутливість установки досягла 2
10-8В. Похибка вимірювання Rx при цьому складається з похибок
визначення холлівської напруги δUx, струму через зразок δI,
магнітного поля δH, і товщини зразка δh.
Для концентрації носіїв заряду 1016см-3 < n < 1018 см-3
середня похибка вимірювання за допомогою потенціометра Р348 складає 0,4% для 1019см-3
< n < 1020см-3
- δUx
≈ 4%. Як у
випадку вимірювання ρ δI ≈ 0,035%; δH складається з похибок вимірювання струму
через електромагніт за допомогою амперметра М502 з класом точності 0,1% та
похибки при визначенні напруженості магнітного поля. Остання визначалася
датчиком Холла ДХГ-2 чутливістю 6 мкВ/мА
Гс, що призводить до помилки вимірювання δH в діапазоні магнітних полів (1ч4,7) кГс в
0,02%. Слід врахувати, що похибка градуювання датчика не вказана. Ми вважаємо,
що δH ≈ 0,01%. Таким чином помилка при
визначенні Rx мала величину (8 ч 10) %.
.
1.2
Електропровідність і ефект Холла
Перш ніж розглядати
результати досліджень електричних властивостей ТР в залежності від складу,
розглянемо, якими факторами зумовлена концентраційна і температурна залежність
ефекту Холла в слабкому магнітному полі. З виразу для постійної Холла в області
домішкової провідності Rх = ^ слідує, що коли
відомий фактор Л, то за приведеною вище формулою можна знайти концентрацію
носіїв заряду. Фактор А дорівнює одиниці, якщо одночасно виконуються
слідуючі умови [1]:
. Присутній один тип
носіїв заряду;
. Енергетичні поверхні
сферичні;
. Залежність енергії від
квазіімпульсу квадратична;
. Час релаксації не
залежить від енергії.
Розглянемо випадок, коли умови 2 і 4 не виконуються. Для
визначеності будемо вважати, що зонна структура в кубічному кристалі описується
багатоеліпсоїдальною моделлю, розсіяння ізотропне, тобто час релаксації
залежить тільки від енергії. В цьому випадку фактор А є добутком двох
величин: фактора анізотропії Аk і статичного фактору аτ, отже А ~ АkАτ. Практично ефекти анізотропії і
енергетичної залежності часу релаксації компенсують один одного і фактор А ≈
1. При розсіянні на кулонівських центрах А ≈ 1,9, але в
некомпенсованих зразках А сильно зменшується, наприклад, в атомних
напівпровідниках А ≈ 1,2, а полярних - ще менший. Таким чином,
фактор А в розглянутих вище випадках мало відрізняється від одиниці і
його можна не враховувати при визначенні концентрації з холлівських вимірів
[2]. Як видно з рис.3.1 залежність постійної Холла від температури в інтервалі
100.700 К для зразків різного складу визначається як вмістом С (і і Те
в сплавах, так і концентрацією вільних електронів. Так, для кристалів з
мінімальним (х = 0,01) і максимальним (х =
0,05) вмістом
легуючих домішок (при
Т=300 К п = 2
1018см-3 і п = 6 х 1018см-3 відповідно) температурна залежність Rx була дуже слабою. Тоді як для ТР з х =
0,02 і х = 0,03 на кривих Rx (Т)
в області
температур 400.450 К спостерігався максимум.
Рис. 1. Температурна залежність постійної Холла Rx. Склад x ТР: 1 - 0,01; 2 - 0,02; 3 - 0,03; 4 - 0,05
Слабку зміну коефіцієнта Холла на кривих 1 і 4, рис. 1,
можна пояснити зміною фактора А.
З холлівських даних можна
зробити висновок про енергетичні рівні електронів, що створюються домішками у
напівпровідниках.
Розглянемо спочатку, як повинна змінюватись концентрація
носіїв з температурою, якщо в забороненій зоні є донорні рівні, глибина
залягання яких мала [3]. При температурі абсолютного нуля рівні повністю
заповнені носіями, зона провідності пуста, а рівень Фермі знаходиться
посередині між енергією домішкових рівнів і краєм зони. З підвищення температури
носії переходять з домішкових рівнів в с-зону, рівень Фермі зміщується до дна
зони провідності, і якщо домішкових рівнів достатньо, - входить в неї, тобто
зразок стає виродженим. При подальшому зростанні температури починає
проявлятись виснаження домішкових рівнів, виродження знімається, рівень Фермі
зміщується в заборонену зону. Коли він опуститься на відстань
нижче донорних рівнів, всі домішкові
рівні будуть іонізовані, концентрація носіїв не змінюється з температурою і
дорівнює концентрації домішок. Суттєво, що при наявності навіть дуже мілких
домішкових рівнів в забороненій зоні концентрація постійна лише в області
температур при яких виродження відсутнє. В ТР на основі ІпSb постійна Холла зберігає постійне значення
при температурах, коли виродження дуже сильне. Звідси можна зробити висновок,
що у цьому випадку нижче рівня Фермі в ТР немає донорних рівнів, переходами з
яких була б зумовлена висока концентрація носіїв заряду, яка має місце в цих
сполуках.
Для оцінки енергії іонізації донорних центрів в
ТР складів х = 0,02.0,03, де за даними, наведеними в розділі IV т*/m0 = 0,005,
використаємо відоме з теорії воднеподібних домішок співвідношення [4]:
(eB). (3)
Підставляючи в (3.3) величини т*/m0 і ε, одержані з оптичних досліджень,
описаних в розділі IV (для х = 0,02.0,03 т*/т0 = 0,005; ε = 16,5), одержимо
E= 2,6
10-4 еВ.
Добре відомо, що в легованих напівпровідниках
спостерігаються області концентрацій домішок, коли провідність при низьких
температурах характеризується енергією активації
Е [5-7].
Значення
Е звичайно пов'язано з наявністю
енергетичного зазору між с-зоною і зоною, що виникає внаслідок суттєвого
перекриття хвильових функцій електронів на донорах. Діапазон концентрацій
домішок при яких локалізовані домішкові рівні зливаються в домішкову зону
оцінюються з порівняння середньої відстані між домішками
(4)
з ефективним борівським радіусом аB [4]. У даному випадку, при зміні
концентрації домішок в межах 1018 - 1019см-3, rd змінюється від З
10-6 до 3
10-7см.
Радіус борівської орбіти аB в твердому тілі в (т*/т0) ε раз більший ніж у атомі водню і складає:
, (5)
де а0 - радіус першої борівської орбіти
для атома водню (a0 = 0,53
10-8)
см. З (4) для вказаних вище значень (m*/m0) і ε,
маємо аB = 1,9
10-5 см.
Таким чином нерівність аB >> rd завжди виконується із значним запасом. У
випадку, якщо (
) 1/3 >> 1, де п - концентрація вільних електронів, домішкова
зона зливається з дозволеною зоною.
У нашому випадку 
=7
1015см-3, тому при звичайних концентраціях n, які є в ТР, приведена вище нерівність
завжди виконується.
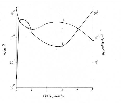
На рис.2 наведені залежності при концентрації електронів п
(крива 1) і їх рухливості µп = σRх (крива 2) від складу ТР (Т = 300К). Як бачимо, криві 1 і 2 мають
складний немонотонний характер. В області концентрацій х = 0,02.0,03
спостерігається мінімум на кривій п (х) і максимум на залежності µ (х). Такий хід n (х)
можна пов'язати з утворенням в ТР нейтральних комплексів. Як уже згадувалось у
розділі II, при вирощуванні ТР атоми Сd і Те вводились у розплав в
еквіатомному співвідношенні, але низька температура кипіння і високий тиск
парів кадмію (порівняно з іншими взаємодіючими елементами) приводили до його
втрат. Внаслідок цього у розплаві завжди містився деякий надлишок атомів
телуру, що і зумовлювало електронний тип провідності кристалів. Сумарна
концентрація Ni іонізованих
домішок Те+ і Сd - в ТР для кожного складу розраховувалась по
формулі Брукса-Херрінга [8]. З того факту, що на залежності Ni від складу спостерігається
мінімум (рис.3, крива 1), можна зробити висновок, що при збільшенні вмісту
атомів кадмію і телуру в розчині посилюється процес утворення нейтральних
іонних пар, що супроводжується зменшенням загального числа заряджених центрів
розсіяння. Ми вважаємо, що цими центрами є іони легуючих елементів Сd - і Те+, які об'єднуються
в нейтральні комплекси [ (Сd) - (Те)
+] 0.
Знаючи вихідну концентрацію введених атомів Сd, і Те, N0 і Ni можна оцінити (N0
- Ni) /N0 - долю іонів, що утворюють
нейтральні комплекси, від загальної їх кількості. Результати таких розрахунків
наведені на рис.3 (крива 2). Видно, що максимальне число нейтральних комплексів
(до 98-99%) спостерігається в області складів х = 0,02.0,03, де N0 = (3,0.4,5)
1020см-3. При
меншому (х < 0,01) і більшому (х > 0,04) вмісті СdТе в розчині число іонних пар зменшується. У
першому випадку це можна пов'язати з відносно слабкою взаємодією легуючих
домішок при порівняно низькій їх концентрації, у другому - з обмеженою
розчинністю СdТе
в ІпSb, яка складає, як вказувалось вище, близько
5 мол. %. В обох випадках, у зв'язку з наявністю в ТР значних концентрацій
незв'язаних атомів легуючих домішок Сd і Те, концентрація вільних електронів
буде більшою, а рухливість - меншою, ніж для зразків з х = 0,02 - 0,03,
в яких доля нейтральних комплексів максимальна.
Рис. 2. Залежність концентрації вільних електронів n (1) та їх рухливості µn (2) від складу ТР (InSb) 1-x, (CdTe) x
Рис.3. Залежність від складу ТР (ІпSb) 1-x (СdТе) x концентрації іонізованих домішок Ni,:, Ni =
(1), де
і
- концентрації іонізованих донорів і акцепторів та долі
нейтральних комплексів (N0 - Ni) / N0
При підвищенні концентрації домішкових атомів, внаслідок
утворення ковалентних зв'язків у комплексах (СdТ е) 0, (крива 2 - х = 0,02, крива 3 - х =
0,03) і часткового
зняття виродження, спостерігається відщеплення домішкової зони від зони
провідності. Внаслідок чого криві 2 і 3 на рис.3.1 можна пояснити
перерозподілом електронів між зоною провідності (з більшою рухливістю) і
домішковою зоною (з малою рухливістю). Криві 2 і 3, побудовані в координатах ІпRх = f (1/Т), дають можливість визначити
енергетичний зазор між домішковою зоною і зоною провідності. Так, при х = 0,02
Е0 = 0,013 еВ, при х = 0,03 е0 - 0,034 еВ. Як бачимо, при зростанні х енергетичний зазор
між вказаними зонами збільшується. Таким чином, поряд з дуже мілкими донорними
центрами з енергією активації ~ 10-4еВ, провідність ТР визначається
також глибокими рівнями з
E ~ 10-2еВ, що утворюють домішкову зону при
сильному виродженні.
Як уже відмічалось, для всіх досліджуваних зразків ТР застосовний
критерій сильного легування напівпровідників. У таких матеріалах внаслідок
флуктуацій концентрації заряджених домішок густина електронних станів не
перетворюється в нуль на межі дозволених зон, а експоненціальне зменшується
вглиб забороненої зони [9]. Глибина найбільш імовірних потенціальних ям
~ 40-50 меВ
. Відомо, що такі ями мають зв'язані електронні стани, так що
[
2/ (2тпr2)] - 1 ≈ 2 і тунелювання
електронів під бар'єром мало імовірно. Можна передбачити, що такий
потенціальний рельєф не повинен приводити до зменшення оптичної ширини
забороненої зони. Разом з тим, як буде показано розділі IV, ми спостерігали поглинання фотонів з дефіцитом енергії:
= Еg - hω > 0. В роботі [56] це пов'язується з
наявністю флуктуацій концентрації заряджених домішок меншого масштабу, які
дають більш мілке спотворення потенціального рельєфу на фоні глибоких
потенціальних ям. Велика відмінність ефективних мас електронів І дірок у ТР (
≈ 50, якщо вважати,
що тр рівне ефективній масі дірок чистого ІпSb) приводить до того, що цей більш мілкий
потенціальний рельєф не буде впливати на електрони, в той час як дірки з
більшою ефективною масою можуть мати зв'язані стани в мілких потенціальних
ямах. В цьому випадку розподіл в просторі енергетичних рівнів валентної зони
повторює рельєф дрібномасштабного потенціалу, структура зони провідності при
цьому залишається незмінною. Інакше кажучи, така ситуація приводить до того, що
хвіст густини станів, що відповідає за поглинання квантів, менших за ширину
забороненої зони, утворюється лише біля валентної зони, а біля зони провідності
його не буде.
Одержані в цьому розділі результати і зроблені на їх основі
висновки будуть використані при інтерпретації результатів дослідження оптичного
поглинання в зразках ТР.
1.3
Аналіз механізмів розсіяння
Електропровідність
твердого тіла з концентрацією носіїв заряду п виражається відомою
формулою
σ = еµn,
де µ - рухливість носіїв
заряду. Вона визначається розсіянням носіїв на порушеннях періодичності
кристалічної ґратки і при пружному розсіянні в напівпровіднику з простою
параболічною зоною рівна [1]:
τ ~ ЕrТSт*t
де (τ) - середній час релаксації, а m* - ефективна
маса.
В більшості випадків час
релаксації є степеневою функцією енергії носіїв, температури і ефективної маси:
Якщо в процесі зіткнень
випромінюється або поглинається один фонон при розсіянні на акустичних
коливаннях ґратки: r = - 1/2; s = - 1 t = - 3/2.
Розгляд розсіяння на іонізованих домішках звичайно
приводить до результату, який приблизно описується параметрами r = 3/2, s - 0, t
- 1/2.
Однофононне розсіяння на полярних оптичних коливаннях характеризується
степеневою залежністю часу релаксації і температури лише при температурах,
значно більших від характеристичної температури Θl= (
ωl) /k0, де ωl - частота повздовжніх оптичних коливань.
Величину Θ звичайно називають температурою
Дебая. При Т >> Θl r = 1/2, s = - 1, t = - 1/2. При Т << Θl час релаксації не залежить від
енергії, а його температурна залежність виражається формулою:
τ ~ е Θl /T - 1.
У випадку непружних
зіткнень поняття часу релаксації ввести неможливо. Рухливість у цьому випадку
описується більш складними формулами, ніж (6).
Усереднення часу
релаксації по енергіям проводиться слідуючим чином:
де f
(Е, Еf} - функція розподілу Фермі, а k - квазіімпульс носіїв заряду.
У випадку класичної статистики, усереднення приводить до
степеневої залежності (τ) від температури:
µкл ~ Т2+s
Наприклад, при розсіянні на акустичних фононах /лкл
~ Т~3/2. У випадку виродженої статистики похідна (-дf/де) близька до дельта-функції δ
(Е - Еg}, де Еg енергія Фермі, отже (τ)
= τ
(Еg). Якщо енергія Фермі від
температури не залежить,
µвир. ~ Тs.
При довільному ступені виродження у випадку
параболічної зони рухливість виражається через інтеграл Фермі. Наприклад, при r = - 1/2
(акустичне розсіяння):
де інтеграл Фермі
дорівнює
,
і приведений рівень Фермі
,
Але слід відмітити, що жоден о описаних вище простих
випадків не має місця для більшості напівпровідників. Часто різні механізми
розсіяння суттєві при одних і тих же концентраціях і температурах. При цьому
обернений час релаксації, що визначається г-м механізмом розсіяння, дорівнює
сумі
1
і залежність τ (Е) не має степеневого характеру. Звичайно вважають, що час
релаксації
τ ~
де ρ - густина
станів, М - матричний елемент взаємодії електрона з розсіюючим об'єктом.
Передбачається, що матричний елемент залежить від величини
квазіімпульсу так, як і у випадку параболічної зони. Зокрема, при розсіянні на
акустичних коливаннях він не залежить від квазіімпульсу і величина тр не
змінюється з енергією. Таким чином, вплив непараболічності на залежність часу
релаксації від квазіімпульсу проявляється тільки через густину станів.
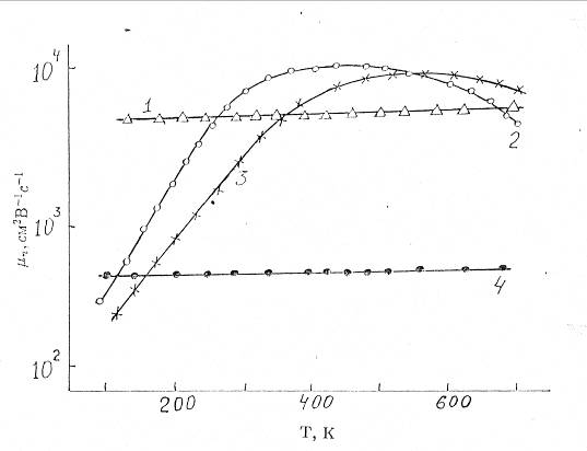
В кристалах ТР рухливість електронів, визначена з вимірів
ефекту Холла і електропровідність при достатньо високих температурах змінюються
з температурою і концентрацією носіїв заряду досить складним чином. Для зразків
з концентрацією електронів п - 2 х 1018см~3 (х
= 0,01) і п = 6
1018см-3 (х = 0,05) рухливість в
температурному інтервалі 77-700 К залишається постійною (криві 1 і 4). Така температурна залежність
рухливості характерна для металів, де спостерігається явище залишкового опору.
Для обчислень µ (Т,n)
використовувалась формула з [10], одержана для розсіяння електронів на
екранованому кулонівському центрі у виродженому напівпровіднику:
де пd - концентрація
заряджених центрів у електронному напівпровіднику з повністю іонізованими
донорами рівна концентрації електронів п.
Формула (17) виведена на
основі припущення, що потенціальна енергія електрона на відстані т від
однозарядного розсіюючого центра рівна
Рис. 4. Температурна
залежність рухливості електронів ТР (InSb) 1-x (CdTe) x.
С'клад ТР x:
0.01: 2 0.02: 3 0.03: 4 0.05.
де rе - радіус
екранування, рівний у випадку сильного виродження
При п ~ 1018см-3 результати розрахунків по формулі (17) з
точністю до 20-25% співпадають з експериментальними. Крім того, рухливість
згідно (17) і (17а) зменшується із зростанням концентрації по закону, близькому
до µ ~ 1/n1,4. Величина ε у нашому випадку приймалась рівною значенню
діелектричної проникності для ІпSb (ε = 16,5). При п = 6
1018см-3 радіус екранування, згідно (19), складав
~ 10-6 см.
Таким чином, можна зробити висновок, що розсіяння
носіїв заряду для складів х = 0,01 і х = 0,05 в широкому температурному
інтервалі відбувається головним чином на екранованому кулонівському центрі,
тобто подібне розсіянню на нейтральних домішках.
При зменшенні
концентрації розсіюючих центрів в результаті їх взаємної компенсації при
утворенні нейтральних комплексів типу (СdTe) 0,
величина і характер температурної залежності рухливості змінюються. Аналіз
кривих 2 і 3 на рис.4 показав, що в температурному інтервалі 100-400 К
рухливість електронів спочатку збільшується як µ ~ Тα, де при х = 0,02 α = 2,5, при х = 0,03 α = 2,2, а потім в температурній області Т > 400К,
спадає за законом, близьким до µ ~ Т-1 (х = 0, 002) і µ
~ Т-0,6 (х = 0, 03). Криві типу 2 і 3 спостерігались для
зразків з концентрацією вільних електронів менших, ніж для кристалів складу (х
= 0,01 і х = 0,05). Можна чекати, що при порівняно малих
концентраціях вільних електронів ступінь екранування кулонівського потенціалу
домішкових центрів зменшиться і механізм розсіяння носіїв заряду зміниться.
Згідно [4] рухливість в
невироджених напівпровідниках при розсіянні на іонах домішок визначається
формулою µ ~ Т3/2. Але, як видно з рисунка,
рухливість збільшується при зростанні температури в інтервалі 100 - 400К
швидше, ніж за законом µ ~ Т3/2.
Носії заряду можуть розсіюватись
також на неоднорідностях кристалічної ґратки, викликаних її деформацією
домішковими іонами. Але оцінки ефективності таких процесів по теорії [9,12]
показали, що переріз розсіяння на неоднорідностях, зумовлений деформацією
розтягу, на порядок, а деформацією зсуву - на три порядки менший від
розрахованого за експериментальними даними.
Такі дефекти ґратки, як дислокації, можуть
розсіювати носії і сильно впливати на рухливість, особливо при низьких
температурах. Дислокації можуть захоплювати електрони, дірки і іони і поводити
себе подібно до заряджених ліній. Ці лінії оточені циліндричною областю заряду
протилежного знаку. Велика розбіжність рухливостей, виміряних на різних зразках
може бути результатом впливу дислокацій, але температурна залежність рухливості
при розсіянні на дислокаціях набагато слабша від одержаної нами експериментальне
[11]. Виходячи із сказаного, можна передбачити, що хід µ (Т) для
складів (х = 0,02.0,03) пов'язаний з тим, що при зростанні температури
частина електронів переходить з домішкової зони з низькою рухливістю в зону
провідності. Як уже відмічалось, відокремлення домішкової зони від зони
провідності спостерігається при зниженні концентрації електронів у вказаних
зразках. Енергетичний зазор між зонами залежить від концентрації і для нашого
випадку знаходиться в межах 0,013-0,034 еВ.
Таким чином, швидке
зростання рухливості при нагріванні (100-400К), очевидно, зумовлено двома
основними механізмами - температурним переведенням частини електронів з
домішкової зони (з малою рухливістю) в зону провідності (з великою рухливістю)
і розсіянням носіїв заряду на заряджених центрах. Зменшення рухливості при Т
> 400К за законом, близькому до µn ~ Т-1
і µn ~ T-0,6, можна пов'язати
з поєднанням кількох механізмів: розсіянням електронів на акустичних коливаннях
(µп ~ Т-3/2), розсіянням на
іонах домішок (µn~ Т3/2) і
переведенням частини електронів з домішкової зони е зону провідності.
Слід також відмітити, що,
як було показано в [13], закон зменшення рухливості в області високих
температур можна пояснити температурною залежністю ефективної маси. Величина
температурної залежності в більшості випадків узгоджується, хоч і досить грубо,
с температурним ходом ширини забороненої зони [13]. Проте, у нашому випадку
вказаний закон спадання рухливості, очевидно, не має місця.
Зроблені вище висновки про переважні механізми
розсіяння е ТР підтверджуються і проведеними нами незалежно комплексними
вимірюваннями температурних залежностей термоЕРС α (Т) та холлівської концентрації п (Т) в
інтервалі температур 160-400 К [14-15].
За даними цих вимірювань розраховувались величини
приведеного рівня Фермі
(Т). З другого боку, залежність п (Т] розраховувалась
за формулою Колодзейчака [16]:
(20)
де
- інтеграл Колодзейчака;
β = (kT) /Еg;
- приведений
інтеграл Фермі.
Величини Еg та m* брались з оптичних вимірювань (розділ IV).
З порівняння експериментальної залежності п (Т) з теоретичними за формулою (20) можна оцінити m* для ТР різних складів. Дані, наведені в
[14-15] добре узгоджуються з описаними у розділі IV, отриманими
з вимірювань оптичного відбивання в області плазменного резонансу. Так, m* залежала від хімічного складу кристалів
ТР та концентрації носіїв заряду і при 150.170 К змінювала свою величину в
межах (0,009.0,022) m0 при 0,001 < х < 0,03,
при х
0,01 вона набувала мінімального значення
0,009? тго При Т=290.300 К мінімальне значення т* рівне 0,017m0, діапазон зміни m* для вказаної області складів ТР - (0,
017. О, 037) m0.
Зменшення ефективної маси електронів в області 0, 01 < х
< 0,02 може бути пов'язане з опусканням дна зони провідності, яке
досягає максимуму у вказаній області складів ТР. Причиною цього може бути
деформація кристалічної ґратки та зміна її параметра (розділ II).
1.4
Висновки до розділу III
1. На залежності концентрації вільних носіїв
зарядів від складу в області х = 0,02 - 0,03 виявлено мінімум, який
пов'язується з утворенням в ТР нейтральних комплексів типу (СdTe) 0 та інших.
Показано, що доля іонів об'єднаних в такі пари, складає не менш 98%. Зменшення числа
розсіюючих центрів в сплаві супроводжувалось збільшенням рухливості електронів,
яка досягає максимуму при х = 0,02.0,03.
2. Для сильно вироджених
сплавів х = 0,01 і х = 0,05 рухливість не залежить від
температури, тоді як при частковому знятті виродження (х = 0,02.0,03) в
температурному інтервалі 100 - 400К спостерігається різкий ріст рухливості µп
~ T2,5ч1,9, а в області 400
- 700 К рухливість зменшується як µn ~ Т-1.
Е = 0,013 ч0, 034 еВ.
Список
використаних джерел
1. Ансельм
А.И. Введение в теорию полупроводников. - М.: Наука, 1978. - 574 с.
. Маделунг
О. Физика полупроводникових соединений элементов III и V
групп. - М.: Мир, 1967. - 467 с.
. Бонч-Бруевич
В.Л., Калашников С.Г. Физика полупроводников. - М.: Наука, 1977. - 670 с.
4. Смит Р. Полупроводники. - М.: Мир, 1982. - 549 с.
. Мотт Н., Туз У. Теорія проводи мости по примесям // УФН.
- 1963. - V.79 - P.691 - 697.
6. Davis T., Comton W.compensation Dependens of
Impurity Conductiony - Doped Germanium // Phys. Rev. - 1965. - V.140. - A2188.
. Мирзабаев
М., Наумов Ю.П., Прокофьева С.П., Саидов А.С., ТуркевичВ.М., Шмарцев Ю.В.
Влияние магнитного поля на энергию активации Е2 в германии n
- типа // ФТП. - 1968. - 2. - №6. - С.1097 - 1100.
. Хилсум
К., Роуз-Инс А. Полупроводники типа А3В5. - М.:
ИЛ, 1963. - 305 с.
. Шкловский
Б.И., Эфрос А.Л. Электронные свойства легированных полупроводников. - М.:
Наука, 1979. - 396с.
10. Xu Jainer, Gong Yagin, Zheng Gouzhen, Guo
Sholing. Effect of impurity compensations on nonlinear conductivity in n-type
InSb material // J. Semicond. - 1991. - 12. - № 6.
- P.338 - 345.
11. Анищенко
В.А., Бродовой В.А., Вялый Н.Г., Викулов В.А., Кнорозок Л.М. Влияние
комплексообразования на электрические свойства кристалов твердых растворов (InSb}i-x (CdTe) x
// Российская
. академия
наук. Неорганич. материалы. - 1993.
- Т.29. - N2. - С. 197-199.
13. Tsukioka Kunio. Electron mobility in InSb at
intrinsic condaction range // Men. Fac. Eng. Tamagawa Univ. - 1990. - № 25. - P.47 - 62.
14. Аніщенко В.А., Вялый Н. Г, Кнорозок Л.М., Пердій В.О. Про механізми розсіяння електронів в ТР (InSb) x (CdTe) 1-x // Тез. Доп. II
української конференції "Матеріалознавства і фізика напівпровідникових фаз
змінного складу." - Ніжин. - 1993. - Ч.3. - С.322.
. Аніщенко В.А., Вялый Н. Г, Кнорозок Л.М. Про механізм
розсіяння електронів в ТР (InSb) x (CdTe) 1-x
n-типу. // Наукові записки Ніжинського державного педагогічного інституту,
серія фізмат наук. - Ніжин. - Т. XV. 1995. - С.87 - 91.
. Аскеров Б.М. Электронные
явления переноса в
полупроводниках. М.: Наука, 1985. - 320с.