Скважинные насосы
Федеральное
агентство по образованию Российской Федерации
Филиал
СЕВМАШВТУЗ государственного образовательного
учреждения
высшего профессионального образования
«Санкт-Петербургский
государственный морской технический
университет»
в г. Северодвинске
Факультет
заочного и дистанционного обучения
Кафедра
№ 7
Реферат
Скважинные
насосы
Северодвинск
Содержание
1.
Область использования скважинных насосов
.
Устройство скважинных насосов различных типов
.
Особенности эксплуатации скважинных насосных установок
.
Характеристики насосов
1.Область использования
Скважинные насосы предназначены для откачивания
воды из буровых, нефтяных скважин, трубчатых колодцев, котлованов, приямников
для различных целей. Например, глубинные мелиоративные скважинные насосные
установки применяются для орошения подземными водами или для откачки грунтовых
вод с целью мелиоративного улучшения земель.
.Устройство скважинных насосов различных типов
По принципу перекачивания жидкости скважинные
насосы относятся к группе многоступенчатых вертикальных насосов.
Установка скважинных насосов в трубчатых
колодцах и буровых скважинах предопределяет особенности их конструкции. Эти
насосы должны иметь минимальные поперечные размеры, а их внешняя форма должна
соответствовать форме круглых обсадных труб, внутри которых их устанавливают.
Скважинные насосы изготовляют двух типов: насосы с трансмиссионным валом и
погружные насосы.
У насосов с трансмиссионным валом приводящий
электродвигатель устанавливается над устьем скважины и соединяется с насосом
промежуточным трансмиссионным валом. Первый в мире насос с трансмиссионным
валом, изобретенный и изготовленный под руководством русского инженера В. А.
Пушечникова, был установлен в 1899 г. на Мытищинском водопроводе.
В настоящее время насосостроительные заводы
изготовляют скважинные насосные установки (УЦТВ) для скважин с трансмиссионным
валом типов НА, А, АТН и ВП, предназначенные для подъема воды из трубчатых
колодцев (глубиной не более 125 м) с подачей 30- 1200 м3/ч и напором 30-125 м. Насосы
с трансмиссионным валом состоят из трех основных узлов (рис. 5.6): насосного
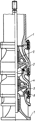
узла, напорного трубопровода с трансмиссионным валом и приводной головки.
Насосный узел (рис. 5.7, а) представляет собой
группу соединенных шпильками секций корпусов, внутри которых находится вал с
насаженными на нем центробежными рабочими колесами.
Вода поступает в нижний направляющий корпус
насосного узла через защитную сетку и всасывающую трубу. Потери в защитной
сетке обычно не превышают 0,25-0,5% потребляемой мощности. Снижение потерь
зависит главным образом от правильного выбора размера и конструкции защитной
сетки. Корпус рабочей секции насоса чугунный; во внутренней полости его отлит
за одно целое с корпусом направляющий аппарат, имеющий проточку для размещения
рабочего колеса. На 10 рабочих секций устанавливается корпус насоса без
рабочего колеса, так как во внутренней полости его отлит направляющий аппарат,
который служит промежуточной опорой подшипника вала.
Секционная конструкция насосного узла позволяет
сравнительно просто изменять число ступеней в насосе и, следовательно, напор
насоса.
В трансмиссионных насосах чаще всего применяют
закрытые центробежные рабочие колеса с полуосевыми лопаточными отводами либо
чисто диагональные. В диагональных рабочих колесах движение воды направлено под
углом 45 ° к оси, что позволяет уменьшить наружный диаметр насоса и,
следовательно, использовать насос в скважине малого диаметра, обеспечивая
достаточно высокую подачу.
Опорами вала служат подшипники, состоящие из
резиновых втулок, укрепленных в гнездах направляющих аппаратов корпусов
насосного узла. Втулки имеют на внутренней поверхности осевые продольные
канавки для прохода воды, которая смазывает и охлаждает трущиеся поверхности
втулки и вала. По этим канавкам выносятся водой попавшие в подшипник частицы
песка. Шейки вала в местах их соприкасания с резиновыми втулками хромированы,
благодаря чему значительно удлиняется срок службы втулок и устраняется
опасность коррозии вала.
Фланец верхнего корпуса насосного узла
прикрепляется к нижнему концу колонны напорных труб. Напорный трубопровод
служит каналом, по которому вода подается от насосного узла к потребителю и в
котором находится трансмиссионный вал, соединяющий насосный узел с
электродвигателем. Напорный трубопровод и трансмиссионный вал собирают из
отдельных секций.
Напорные трубы соединяют между собой с помощью
фланцев и болтов. Между фланцами труб находятся промежуточные подшипники
трансмиссионного вала (рис. 5.7, б). Для смазки подшипников в насос перед его
пуском заливают воду через трубку в колене станины. В процессе работы
подшипники смазываются перекачиваемой жидкостью. Насосы типа НА не требуют
заливки воды перед пуском, так как их трансмиссионный вал заключен в трубу,
наполненную маслом.
Приводная головка насоса состоит из станины
(рис. 5.7, в) и электродвигателя. Чугунная отливка станины служит опорой для
водоподъемного трубопровода, который подвешивается в нижней части колена; к
верхней его части присоединяется напорный трубопровод. В верхней образующей
колена имеется прилив, где установлен сальник. В нижнюю часть сальникового
устройства запрессована втулка, над которой находится направляющая бронзовая
трубка с уложенной в нее в несколько витков сальниковой набивкой. Между витками
набивки помещена смазочная втулка.
Электродвигатели, применяемые для
трансмиссионных насосов, имеют следующие особенности:
для восприятия гидравлического усилия и веса
вращающихся деталей насосной установки в электродвигателе установлен
радиально-упорный подшипник;
вал электродвигателя выполнен полым, в его
полости проходит трансмиссионный вал, закрепляемый регулировочной гайкой; с
помощью гайки, опирающейся на муфту стопорного устройства, регулируются зазоры
между рабочими колесами и направляющими аппаратами в насосном узле;
в верхнюю часть электродвигателя вмонтировано
стопорное устройство (храпового типа), не допускающее вращения ротора двигателя
в направлении, противоположном заданному.
Насосы типа ВП (скважинные пропеллерного типа)
применяют для подачи воды с большим содержанием песка (до 1000 мг/л.). Эти
насосы широко распространены в ирригационных сооружениях и предназначены для
подачи воды 240-280 м3/ч с напором 4-24 м.
Долголетняя
практика эксплуатации скважинных трансмиссионных насосов показала их
надежность, но одновременно были установлены и их недостатки. Насосный узел
обладает высоким КПД (80%), однако длинная трансмиссионная передача, отклонения
в центрировании вала и другие недостатки приводят к снижению КПД насосного
агрегата на 20-25%. Монтаж трансмиссионного вала и установка промежуточных
опорных подшипников значительно усложняют монтаж насосного агрегата.
Расположение насосного узла в скважине не позволяет точно отрегулировать зазоры
между рабочими колесами и направляющими аппаратами, что приводит к большим
объемным потерям, снижению подачи, напора и КПД насоса. Наблюдения за работой
насоса АТН-12-1-10 показали, что при изменении зазора от 0,4 до 2,33 мм КПД
насосного узла уменьшается на 18%.
Погружной насос представляет собой агрегат,
состоящий из центробежного многоступенчатого насоса (рис. 5.8) и погружного
электродвигателя с жестким соединением их валов. Таким образом, отпадает
необходимость в длинном трансмиссионном вале.
Насосный агрегат подвешивают в скважине на
колонне водоподъемных труб и опускают в воду на такую глубину, чтобы верхний
фланец клапанной коробки находился ниже динамического уровня в скважине не
менее чем на 1,5 м. Днище электродвигателя должно находиться выше фильтра
скважины не менее чем на 1 м.
Для забора воды из артезианских скважин в
Советском Союзе применяют погружные насосы восьми типов: ЭЦВ, АПТ, АП, АПВ,
АПВМ, АЭНП, ЭНП, ГНОМ. В настоящее время насосы АТП, АП, АПВ, АПВМ, ЭНП
снимаются с производства и заменяются насосами ЭЦВ.
Погружные электронасосы для воды ЭЦВ выпускаются
в соответствии с ГОСТ 10428-79, который предусматривает их изготовление свыше
100 типоразмеров для скважин


Рис. 5.8. Насос ЭЦВ 8-25-300
- кабель; 2 - перфорированный лист; 3 - муфта; 4
- обойма; 5 - отвод; 6 - втулка; 7 - промежуточный подшипник; 8 - средний
корпус; 9 - рабочее колесо; 10 - вал; 11 - водоподъемная труба; 12 - клапанная
коробка; 13, 14 - верхний и нижний опорные подшипникидиаметром 100-500 мм, с
подачей воды 0,63-1200 м3/ч, напором 12-680 м, с общей минерализацией не более
1500 мг/л (сухой остаток), pH = 6,5-f-9,5 > с температурой до 25° Сие
содержанием хлоридов не более 350 мг/л, сульфидов не более 500 мг/л,
сероводорода не более 1,5 мг/л.
На рис. 5.8 показан многоколесный насос ЭЦВ
8-25-300. Каждая ступень насоса состоит из рабочего колеса, лопаточного отвода
и обоймы. Вода поступает в насос через корпус основания, защищенный
перфорированным листом из нержавеющей стали. Рабочее колесо (радиальное,
закрытого типа, с гидравлической разгрузкой) фиксируют на валу относительно
лопаточных отводов с помощью распорных втулок и закрепляют шпонкой. Материал
рабочих колес - ударопрочный полистирол. Лопаточные отводы имеют радиальные
лопатки на всасывающей и нагнетательной стороне, которые образуют межлопастные
каналы для отвода воды от рабочего колеса предыдущей ступени и подвода воды к
колесу последующей ступени. Их выполняют из полипропилена и армируют чугунными
кольцами в местах уплотнительных узлов. Стальные обоймы, составляющие корпус
насоса, устанавливают между корпусами основания и шарового клапана и стягивают
четырьмя стяжками.
Опорами вала служат два резинометаллических
подшипника (нижний и верхний). При числе ступеней больше 10 устанавливают
дополнительный средний корпус, в котором размещают дополнительный промежуточный
подшипник. Подшипники насоса смазываются откачиваемой водой, а
электродвигатель-водой, залитой в полость статора перед его установкой в
скважину. Электронасос никогда не должен работать “всухую” - даже
кратковременное включение насоса в работу без воды приводит к повреждению
подшипников и обмотки двигателя.
В верхней части насоса расположен шаровой
клапан, состоящий из пластмассового обрезиненного шара и корпуса с расточкой
под шар. Клапан служит для разгрузки агрегата от давления столба воды в
напорном трубопроводе и для предохранения от обратного вращения колес насоса и
ротора двигателя при внезапном отключении электродвигателя.Для привода насоса
применяется электродвигатель типа ПЭДВ (П - погружной, ЭД-электродвигатель, В -
заполненный водой). Электродвигатель относится к типу мокрых двигателей, т. е.
перед опусканием в скважину он должен быть заполнен чистой профильтрованной
водой. Кабель для питания электродвигателя опускают в скважину одновременно с
монтажом колонны водоподъемных труб и крепят к ним с помощью поясов. Длина
токопроводящего кабеля, входящего в комплект агрегата, должна быть численно
равна номинальному напору. Кроме того, к этому значению добавляют 3,5 м
(расстояние от скважины до станции автоматического управления) и 1 м на каждые
50 м спуска для компенсации возможного скручивания и прогиба кабеля во время
монтажа.
Насосы ЭЦВ других типоразмеров по своей
конструкции значительно отличаются от описанного насоса. Так, например, секция
насоса ЭЦВ 8-40-65 имеет корпус, отлитый за одно целое с направляющим
аппаратом, т. е. она подобна секции артезианского насоса с трансмиссионным
валом типов А и АТН.
Поскольку содержание механических примесей более
0,01% приводит к повреждению резинометаллических подшипников, насосы типа ЭЦВ
запрещается применять для промывки скважин. Для этой цели рекомендуется
применять насосы типа ЭНП, так как ими можно перекачивать воду с содержанием
механических примесей до 0,05% по массе. В этих насосах для смазки
резинометаллических подшипников и полости электродвигателя используется
перекачиваемая жидкость, часть которой очищается центробежным очистителем,
расположенным над верхней ступенью насоса. Очищенная вода по полым валам насоса
и электродвигателя поступает в камеру подпятника и оттуда через лабиринтный
замок направляется в полость электродвигателя.
Погружные насосы по сравнению с артезианскими с
трансмиссионными валами имеют ряд преимуществ:
исключается необходимость применения длинного
вертикального вала с промежуточными подшипниками, уменьшается металлоемкость
насоса;
отсутствие трансмиссионного вала позволяет
применять погружные насосы в искривленных скважинах;
упрощается конструкция водоподъемного
трубопровода, монтаж и демонтаж насосной установки;
уменьшается площадь павильона над скважиной.
Вследствие этих преимуществ погружные насосы
находят широкое применение для подъема воды из трубчатых колодцев и постепенно
вытесняют трансмиссионные насосы.
На рисунке 5.9 изображен насос марки ЦТВ с
основными его частями и деталями. Насос подвешивается на трубопроводе, который
собирается секциями длиной 8...10 м вместе с валом, проходящим внутри секции, и
подшипниками, находящимися в опорных крестовинах.
Подшипники устраивают с резиновыми вкладышами и
водяной смазкой от перекачиваемой воды или с лигнофелевыми вкладышами, для
которых чистая вода для смазки подается но специальному трубопроводу малого
диаметра, проходящему вдоль напорного трубопровода.
Насосная установка с насосом марки ЦТВ имеет
вертикальный электродвигатель особой конструкции с опорным подшипником (пята)
над электродвигателем. Подшипник вращается в масляной ванне и воспринимает вес
вала и роторов двигателя и насоса, а также осевое усилие рабочих колес насоса.
Рис. 5.9. Насос скважинный марки ЦТВ:
/ - напорная труба; 2 - резинометаллические
подшипники; 3-вал; 4-секция насоса;
5 - клиновые шпонки для фиксации колес;
6 - рабочее колесо;
- входная часть насоса
В электродвигателях имеется приспособление для
предотвращения обратного вращения вала, чтобы не было раскручивания
соединительных муфт при внезапной остановке или неправильном вращении.
Насосы УЦТВ имеют ту же конструкцию, что и ЦТВ
только вместо вертикального электродвигателя устанавливают универсальную
приводную головку. Она позволяет использовать не только вертикальные, но и
горизонтальные электродвигатели, а также двигатели внутреннего сгорания. Это
расширяет область применения насосов, так как их можно использовать даже там,
где нет электроэнергии (например, отгонные пастбища).
Достоинство скважинных насосов с двигателем над
скважиной - возможность ремонта и осмотра двигателя без демонтажа всей насосной
установки.
К недостаткам относятся: большая металлоемкость
и невозможность применения на искривленных скважинах, так как длинный составной
вал должен быть строго прямолинеен; трудность и длительность демонтажа секций
вала и труб с подшипниками; наличие дополнительных гидравлических потерь напора
в трубе с опорными крестовинами и вращающимся валом.
Маркировка насоса такова: например, ЦТВ
10-100-80 означает: Ю - минимальный внутренний диаметр обсадной трубы скважины
в мм, уменьшенный в 25 раз, то есть диаметр скважины 250 мм; 100-подача в м3/ч
80 - напор в м.
Скважинные насосы с погружным электродвигателем
марки ЭЦВ (буквы обозначают: электронасос, центробежный, водяной) являются
также многосекционными насосами, но секции обыкновенно заключены в общий
трубчатый кожух. Рабочие колеса могут быть радиальные и диагональные
(полуосевые).
Подшипники вала насоса имеют водяную смазку и
выполняются из текстолита, лигнофоля или резины. Рабочие колеса выполняют не
только из стали и бронзы, но и из упрочненного полистирола.
В приводе насосов применяют так называемые
мокростаторные двигатели, у которых обмотка статора находится в прочной
полиэтиленовой водонепроницаемой изоляции. Ротор электродвигателя -
короткозамкнутый, набран из листов электротехнической стали и залит алюминием.
Между ротором и статором заливается чистая вода.
.Особенности эксплуатации скважинных насосных
установок
Перед началом монтажа насоса, а также во время
эксплуатации измеряется положение статического и динамического уровня воды в
скважине. Измерение производят с помощью электробатометра или хлопушки (шнура с
привязанным к нему на конце “колоколом” или диском). Проверяется
прямолинейность скважины.
Работа по наладке установки заключается в
основном в регулировке систем смазки и охлаждения подшипников.
Перед каждым пуском необходима предварительная
смазка подшипников трансмиссии. При водяной смазке под давлением, на 3-5 минут,
пустить воду в подшипники, при смазке подшипников откачиваемой водой -
предварительно смочить водой верхние подшипники трансмиссии, заливая ее сверху
через специальную трубку из бака или водопровода.
Не следует допускать работы насоса, когда
уровень воды в скважине снижается до предела всасывания. В этом случае
уменьшается подача и насос начинает работать с перерывами; перерывы в работе
сопровождаются гидравлическими ударами, вызывающими вибрацию и повреждение установки.
Наиболее благоприятные условия работы насоса -
когда одно или два нижних рабочих колеса погружены в воду. Для этого следует
периодически по приборам контролировать динамический уровень воды в скважине.
При кратковременных остановках следует выждать
до окончания обратного тока воды в скважину и лишь после этого производить
повторный пуск насоса.
Нельзя приостанавливать работу насоса,
откачивающего из скважин воду с большим содержанием ила и песка. При подобных
остановках может произойти занос скважины и насоса песком, заедание и стирание
частей насоса. Осаждение большого количества песка на дне скважины частично
убавит приток воды в скважину, что уменьшит ее дебит. Чтобы прекратить работу
насоса, нужно, по возможности, снизить число оборотов и выждать момент, когда
насос начнет подавать чистую воду.
Как правило, насос устанавливают в скважину
после строительных откачек эрлифтом или специальным насосом с
производительностью, превышающей на 10-15% нормальную производительность
эксплутационного насоса.
.Характеристики насосов
Для подъема воды из скважин и глубоких колодцев
применяют скважинные лопастные насосы при напоре от 30 до 110 м марок ЦТВ и
УЦТВ с электродвигателем над скважиной и при напоре более 110 м марки ЭЦВ с
погружным электродвигателем.
Скважинные насосы с электродвигателем над
скважиной выпускают с подачами от 30 до 700 м3/ч для скважин диаметром от 200
до 600 мм, а электронасосы с погружным электродвигателем - с подачами от 1 до 1
000 м3/ч для скважин диаметром от 100 до 500 мм.
Сводный график напорных характеристик насосов
ЭЦВ, выпускаемых промышленностью, изображен на рисунке 5.10.
Первые конструкции погружных электродвигателей
были очень чувствительны к агрессивности воды и абразивным примесям и часто
выходили из строя. В настоящее время агрегаты выпускают для подъема химически
активной воды (исполнение Х - эта буква пишется в марке насоса после напора), и
с повышенной температурой (исполнение Тр), и с повышенным содержанием твердых
примесей (исполнение Г), и для работы в условиях повышенных требований к
ударостойкости сейсмостойкости (исполнение А). Таким образом, расширилась
область применения скважинных насосов с погружным электродвигателем для
различных условий водоподъема. Этому способствуют также их достоинства:
простота монтажа и демонтажа установки; возможность установки в искривленных
скважинах; отсутствие длинного трансмиссионного вала и меньшие гидравлические
потери напора в трубах по сравнению с насосом марки ЦТВ.
Рис. 5.10. Сводный график напорных характеристик
скважинных электронасосов с погружными электродвигателями марки ЭЦВ.
При расчете действительных расхода и напора
насоса по напорной характеристике надо учитывать, что геометрическая высота
подъема Нг+∆Н, показанная на рисунке 5.11, меняется в зависимости от
расхода насоса. На рисунке величина Нг постоянна. Это разность между уровнем
воды в резервуаре, куда подается вода, и статическим уровнем грунтовых вод,
когда никакого водозабора нет. Если насос начинает забирать воду из скважины,
то уровень в ней понижается на ∆Н в результате того, что в затрубном
пространстве образуется кривая спада (воронка депрессии) и вода движется к
скважине. Зависимость ∆Н=f(Q) определяется пробными откачками при сдаче
скважины в эксплуатацию и вносится в ее паспорт.
Обыкновенно функция ∆Н=f(Q) соответствует
эмпирической формуле вида
Рис. 5.11. Схема к расчету подачи и напора
насоса скважинной насосной установки:
и 2 - статический и динамический уровни
грунтовых вод; 3 - насос; 4 - электродвигатель.
∆Н =άQβ
где а и β находят
из действительных замеров расхода и уровня воды в скважине.
Кривая ∆Н-Q построена путем суммирования
ординат ∆Н и Нг = соnst. Далее от кривой (∆Н+Нг) - Q отложены
гидравлические потери напора от насоса до резервуара (кривая hтр - Q). Таким
образом получена рабочая точка А в пересечении кривой (∆Н+Нг+ hтр) - Q с
напорной характеристикой насоса. Эта точка определяет действительные подачу QA
напор HA, которые может дать насос.
При расчете гидравлических потерь напора в
насосной установке с длинным трансмиссионным валом в трубе надо пользоваться
коэффициентами гидравлических сопротивлений, приводимыми в каталогах, так как
эти коэффициенты зависят не только от диаметра трубы, но и от скорости в трубе
(от числа Рейнольдса).
Минимальное заглубление насоса hВ отсчитывается
от динамического уровня грунтовых вод.
Список литературы
скважинный насос электродвигатель
напорный
1.
В.Я.Карелин, А.В.Минаев «Насосы и насосные станции» Москва «Стройиздат» 1986 г.
320 с.
.
А.М.Тюленев «Справочник гидротехника-ирригатора» часть 2 Ташкент 1974 г. 328 с.
.
А.К.Михайлов, В.В.Малюшенко «Лопастные насосы» Москва 1985 г. 250 с.