Пояснения к принятой схеме разборки насосного оборудования

  • Вид работы:
    Курсовая работа (т)
  • Предмет:
    Другое
  • Язык:
    Русский
    ,
    Формат файла:
    MS Word
    1,68 Мб
  • Опубликовано:
    2014-02-19
Вы можете узнать стоимость помощи в написании студенческой работы.
Помощь в написании работы, которую точно примут!

Пояснения к принятой схеме разборки насосного оборудования

Содержание

Введение

1. Назначение, устройство и описание работы заданного оборудования

1.1 Устройство вставного насоса и замковой опоры

2. Описание возможных дефектов

3. Виды и периодичность технического обслуживания и ремонта оборудования

3.1 Требования к ремонту насосов

3.2 Виды ремонта ШГН

3.3 Виды технического обслуживания ШГН

4. Пояснения к принятой схеме разборки насосного оборудования

4.1 Порядок подъема насоса

4.2 Демонтаж насосов

5. Выбор рациональной технологии восстановления детали

5.1 Технология притирки клапанов

5.2 Технология ремонта цилиндра вставного насоса

5.3 Технология ремонта плунжерного вставного насоса

6. Технология ремонта плунжера

7. Расчет количества смазочных материалов на год

Заключение

Список использованной литературы

Введение


Современными особенностями развития нефтяной промышленности в нашей стране за последнее десятилетие являются увеличение обводненности добываемой нефти и снижение дебита нефтедобывающих скважин.

В этой связи все большее число скважин переводится с фонтанного, газлифтного способов добычи нефти, а также с добычи нефти при помощи электроцентробежных насосов на добычу нефти при помощи штанговых насосов.

Широкое распространение штанговых скважинных насосных установок (ШСНУ) обусловлено прежде всего применением скважинного насоса объёмного типа, что обеспечивает:

-       отбор пластовой жидкости в объёме от долей до сотен кубических метров в сутки при приемлемых энергетических затратах;

-       простоту обслуживания и ремонта в промысловых условиях;

-       малое влияние (по сравнению с другими способами) на работу установки физико-химических свойств жидкости.

Целью работы является обзор устройства и назначение скважинных штанговых насосов, описание возможных дефектов в процессе их эксплуатации, виды и периодичность технического обслуживания и ремонта СШН. Также необходимо произвести выбор рациональной технологии ремонта насоса и выполнить графическую часть, включающую, чертеж насоса, ремонтный чертеж и карту смазки.

насосное оборудование скважинный штанговый

1. Назначение, устройство и описание работы заданного оборудования


Скважинные штанговые насосы (СШН) предназначены для откачивания жидкости из нефтяных скважин.

СШН конструктивно делятся на вставные и невставные (трубные) и классифицируются по типам в соответствии с ГОСТ Р 51896-2002. Схемы основных типов вставных насосов, установленных в замковой опоре, и трубного насоса, а также перечень составляющих их узлов и деталей приведены на рисунке 1.

НВ1           НВ2           НН                      НН2

Рисунок 1. Основные типы насосов

. Насосно-компрессорная труба;

. Насосная штанга;

. Цилиндр с удлинителями;

. Плунжер;

. Всасывающий клапан;

. Нагнетательный клапан;

. Сбивной штифт;

. Седло конуса;

. Замок;

. Замковая опора;

. Ловитель.

НВ1 - насос вставной с верхним расположением замка; НВ2 - насос вставной с нижним расположением замка; НН - насос трубный; НН2 - трубный со сбивным штифтом;

Основные параметры вставных насосов приведены в таблице 1, трубных - в таблице 2.

Таблица 1

Параметры вставных насосов

Характеристика насоса

Шифр

Условный размер

Ход плунжера, м

Напор, м

Присоединительные резьбы

Шифр замковой опоры

Наружный диаметр, мм






к штангам ГОСТ 13877-96

к фильтрам ГОСТ 6111-52



Вставной с верхним расположением замка

НВ1Б 27-Х-Х

27

до 3,5

до 2500

Ш-19

К 1"

0М-60 или НМ-60

48,2


НВ1Б 32-Х-Х

32


до 2200






НВ1Б 38-Х-Х

38




К 1 %"

ОМ-73 или НМ-73

59,7


НВ1Б 44-Х-Х

44








НВ1Б 57-Х-Х

57



Ш-22

К 1 Уз"

ОМ-89 или НМ-89

72,9

Вставной с нижним расположением замка

НВ2Б 27-Х-Х

27


до 3500

Ш-19

К 1"

0М-60

48,2


НВ2Б 32-Х-Х

32








НВ2Б 38-Х-Х

38




К 1 %"

ОМ-73

59,7


НВ2Б 44-Х-Х

44


до 3000






НВ2Б 57-Х-Х

57


до 2500

Ш-22

К 1 У"

ОМ-89

72,9



Таблица 2

Параметры трубных насосов

Характеристика насоса

Шифр

Условный размер

Ход плунжера, м

Напор, М

Присоединительные резьбы

Наружный диаметр, мм






к штангам ГОСТ 13877-96

к НКТ ГОСТР 52203-04 (гладкие трубы)

к фильтрам ГОСТ 6111-52


Трубный

НН2Б 32-Х-Х

32

до 3,5

до 1500

Ш-19

60

К 1 %"

73


НН2Б 44-Х-Х

44








НН2Б 57-Х-Х

57




73

К 1 Уз"

89


НН2Б 70-Х-Х

70


до1200

Ш-22

89

K 2"

108


НН2Б 95-Х-Х

95


до 1000

Ш-25

114

K 2 У"

130

Трубный со сбивным штифтом

ННБ 32-Х-Х

32


до 1500

Ш-19

60

К 1 %"

73


ННБ 44-Х-Х

44








ННБ 57-Х-Х

57




73

К 1 У"

89


ННБ 70-Х-Х

70


до1200

Ш-22

89

K 2"

108


ННБ 95-Х-Х

95


до 1000

Ш-25

114

K 2 У"

130


СШН являются составной частью скважинной насосной установки и предназначены для подъема жидкости из нефтяных скважин. СШН по принципу работы относятся к плунжерным насосам прямого действия. Работает насос по схеме, приведенной на рисунке 2.

Рисунок 2. Схема работы насосов

. НКТ;

. Плунжер;

. Нагнетательный клапан;

. Цилиндр;

. Всасывающий клапан.

В исходной позиции насос и НКТ заполнены жидкостью, плунжер 2 находится в верхней мертвой точке (ВМТ), нагнетательный клапан 3 закрыт.

При опускании плунжера 2 [ (а), (б)] всасывающий клапан 5 под действием силы тяжести закрывается, открывается нагнетательный клапан 2, и происходит вытеснение в приемный трубопровод объема жидкости, равного объему насосной штанги, погружающейся при этом в жидкость.

При ходе плунжера 2 вверх [ (в), (г)] нагнетающий клапан 2 закрывается, и если давление пластовой жидкости превышает давление в цилиндре, открывается всасывающий клапан 5. Происходит заполнение цилиндра 4 жидкостью с одновременным подъемом столба жидкости в приемный трубопровод [7].

1.1 Устройство вставного насоса и замковой опоры


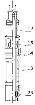
Насос с верхним расположением замка, изображенный на рисунке 3, состоит из цилиндра 1 с навернутыми на него удлинителями: верхним 2 и нижним 3. В нижний удлинитель ввернут всасывающий клапан, состоящий из пары "седло-шарик" 4, корпуса клапана 5 и наконечника 6. В верхний удлинитель ввернут замок, адаптированный к замковой опоре НМ (по стандарту API с якорем на насосе) - приведен на рисунке 3 а - или к опоре ОМ, оснащенной якорем, (для насосов по ГОСТ Р 51896-2002) - приведен на рисунке 3 б. Соответственно первый замок состоит из клетки направляющей 7, ниппеля упорного 8, якоря 9, контргайки 10 и переводника 11. Второй замок включает в себя клетку направляющую 12, ниппель упорный 13, конус 14 и защитную втулку 15.

Внутри цилиндра 1 с зазором, соответствующим посадке, установлен плунжер 16, в резьбовые концы которого ввернуты нагнетательный клапан и клетка плунжера17. Нагнетательный клапан состоит из пары "седло-шарик" 18, корпуса клапана 19 и наконечника 20. Клетка плунжера посредством конической резьбы соединена со штоком 21. С противоположного конца на шток навернут переводник штока 22. В расточке верхнего удлинителя насоса со вторым типом замка (под замковую опору ОМ) установлен упор 23, ограничивающий ход плунжера вверх. (Ограничителем хода для насосов с первым типом замка является нижний торец упорного ниппеля).

            

а)                                                     б)

1 - цилиндр, 2 - верхний удлинитель, 3 - нижний удлинитель, 4, 18 - седло-шарик, 5 - всасывающий клапан, 6,20 - наконечник, 7, 12 - клетка-направляющая, 8, 13 - упорный ниппель, 9 - якорь, 10 - конргайка, 11 - переводник, 14 - конус, 15 - защитная втулка, 16 - плунжер, 17 - клетка плунжера,19 - нагнетательный клапан, 21 - шток, 22 - переводник штока.23 - упор.

Рисунок 3. Насос с верхним расположением замка

Насос с нижним расположением замка, адаптированный к замковой опоре типа ОМ (рисунок 4), имеет аналогичный предыдущему насосу цилиндр с удлинителями и всасывающий клапан, в котором наконечник заменен переводником 1, навернутым на упорный ниппель 2. Между переводником 1 и упорным ниппелем 2 установлен конус 3. В верхний удлинитель 4 ввернут переводник 5, соединяющий его с клеткой направляющей 6. В расточке удлинителя 4 установлен упор 7, а в расточке клетки направляющей 6 - защитная втулка 8.

 

Рисунок 5. Насос с нижним расположением замка, адаптированный к якорному башмаку

- переводник, 2 - якорь, 3 - конус,

- седло.

Рисунок 4. Насос с нижним

расположением замка

, 5 - переводник, 2 - упорный ниппель,

- конус, 4 - верхний удлинитель,

- клетка-направляющая, 7 - упор,

- защитная втулка.

Насос с нижним расположением замка, адаптированный к якорному башмаку по стандарту API (рисунок 5) имеет цилиндр с удлинителями и всасывающий клапан, в котором наконечник заменен переводником 1. В переводник 1 ввернут якорь 2. Между переводником 1 и якорем 2 установлен конус 3. Насос герметично устанавливается в седле конуса (якорном башмаке) 4 и фиксируется в нем якорем 2.

Замковые опоры предназначены для герметичного закрепления вставных насосов в колонне НКТ.

Замковая опора типа НМ (рисунок 6) предназначена для фиксации в ней насосов, выполненных по стандарту API, т.е. имеющих пружинный якорь непосредственно на насосе, и состоит из верхнего 1 и нижнего 2 переводников и кольца 3.

Замковая опора типа ОМ (рисунок 7) предназначена для фиксации в ней насосов, выполненных по ГОСТ Р 51896-2002, а также других вставных насосов, адаптированных к этим опорам. Замковая опора ОМ включает в себя переводник 1, кольцо 2, якорь 3 и муфту 4 [1].

 

Рисунок 6. Замковая опора типа НМ

- верхний переводник, 2 - нижний переводник, 3 - кольцо.

Рисунок 7. Замковая опора типа ОМ

- переводник, 2 - кольцо, 3 - якорь, 4 - муфта.

2. Описание возможных дефектов


В процессе эксплуатации, вследствие износа, накопления усталостных повреждений, деформаций, регулирования работоспособность машин, то есть способность выполнять заданные функции с рабочими характеристиками, установленными нормативно-технической документацией, теряется и нуждается в восстановлении.

Нагрузки, действующие на детали ШСН носят случайный характер. Случайными являются также характеристики материалов, конкретное значение которых зависит от множества факторов. Примерами случайной величины являются наработки на отказ, интенсивность отказов, технический ресурс, срок службы машин и так далее.

Основанием для подъема насоса является снижение или полное прекращение подачи жидкости из скважины.

Основными неисправностями насоса являются:

-       износ пары плунжер-цилиндр;

-       эрозионное или гидроабразивное изнашивание клапанных узлов, цилиндра, замковой опоры, седла конуса цилиндра;

-       заполнение клапана песком;

-       заклинивание плунжера в цилиндре;

-       пробкообразование.

Все эти ремонты требуют подъема штанг. Как видно, самым слабым узлом является всасывающая линия - всасывающий клапан. Всасывающий клапан при ремонте меняется на новый и только в редких случаях оставляют в эксплуатации. Плунжер можно использовать повторно, так как посадки у насосов разные.

Таблица 3

Причины отказов ШГН

Причина

Отказ

Типоразмер



32

44

57

1. Влияние песка

выработка вс. кл.

3

10

1


Выработка нагн. кл.

-

2

7


обрыв плунжера

-

-

1


истирание пл.

-

1

1


заклинивание пл.

1

5

2

2. Влияние АСПО+ мех. пр.

АСПО на обрывы

1

14

12


грязь в кл.

-

3

5


АСПО в кл.

-

-

-

3. Обрыв штанг


-

6

2

4. Отбраковка НКТ

износ резьбы

-

5

2


коррозия

-

2

2


смятие

-

3

2


протерты

-

-

1

5. Отбраковка Штанг

гнутые

-

3

2


истирание штанг

-

1

1


истирание скребков

-

1

1

6. Коррозия

клапанов

-

1

1


штанг и плунжера

-

3

3


сепаратора

-

1

-


Одной из главных причин снижения срока службы скважинного насоса являются некачественное изготовление деталей и небрежная сборка его узлов, а именно: эллипсоидность, конусность и не прямолинейность осей цилиндра и плунжера. Вследствие этого между трущимися поверхностями плунжера и цилиндра в отдельных сопрягающихся точках или площадках возникают значительные удельные давления, которые приводят к увеличению силы трения при движении плунжера в цилиндре.

Анализируя выше приведённую таблицу отметим что причиной, из - за которой происходи наиболее частый отказ ШГН является отрицательное действие АСПО и механических примесей. Выработка клапанов от общего количества отказов составляет - 16,8% в том числе по всасывающим - 12%, по нагнетательным - 4,8%. А выработка клапанов от общего количества отказов влияния песка составляет - 47,6%, по всасывающим - 34%, по нагнетательным - 13,6% [5].

3. Виды и периодичность технического обслуживания и ремонта оборудования


3.1 Требования к ремонту насосов


1.       Техническое обслуживание изделий, находящихся на базах или в мастерских, заключается в соблюдении условий их хранения и своевременной переконсервации.

2.       В процессе эксплуатации техническое обслуживание заключается в систематическом наблюдении за работой насоса и своевременном принятии мер по обеспечению его безотказной работы.

.        Ремонт насосов и опор, вышедших из строя, производится в специализированных мастерских специально обученным персоналом.

.        Инструмент, используемый при ремонте изделий, должен исключать возможную деформацию деталей в процессе разборки и последующей сборки.

.        Разборку резьбовых соединений, собранных с использованием Анатерма 505 ТУ 2257-331-00208947-2002, необходимо производить с предварительным нагревом деталей до температуры 200.250°С.

.        Все детали, у которых резьбы и уплотняющие поверхности подверглись поражению коррозией или гидроабразивному износу, должны быть заменены.

.        При обнаружении на внутренней поверхности цилиндра следов коррозии, заедания плунжера, рисок от песка, продольных царапин, а также при износе внутреннего диаметра более чем на 0,13 мм сверх номинального цилиндр необходимо заменить.

.        При обнаружении на наружной поверхности плунжера сколов, отслоения хромового покрытия, продольных царапин, питтинга, следов трения с цилиндром - плунжер необходимо заменить.

.        Пара "седло-шарик", не выдержавшая испытаний на вакуум-приборе, описанном в ТУ 3665-004-26602587-2008, подвергается замене.

.        Если на корпусе клапана выбиты или изношены направляющие шарика и если данный износ превышает 15% толщины направляющих, необходимо заменить корпус.

.        Если на уплотняющих поверхностях деталей замка вставного насоса и замковой опоры имеются механические повреждения, износ или размыв, их необходимо заменить.

.        Если на лепестках якоря замка вставного насоса и замковой опоры имеются трещины, следы износа или остаточной деформации, их необходимо заменить.

Сборку отремонтированных насосов необходимо производить строго соблюдая требования конструкторской документации и ТУ 3665-004-26602587-2008 [6].

3.2 Виды ремонта ШГН


Технологический процесс капитального ремонта - это комплекс мероприятий по восстановлению работоспособности оборудования, выполняемый в определенной последовательности и включающий:

.        приемку оборудования в ремонт;

2.       моечно-очистные операции;

.        разборка оборудования на агрегаты, сборочные единицы и детали;

.        контроль, сортировка и ремонт деталей;

.        комплектация деталей;

.        сборка сборочных единиц, агрегатов и оборудования в целом;

.        обкатка и испытание после сборки;

.        окраска и сдача оборудования из ремонта.

Основной причиной выхода из строя деталей нефтепромысловых машин является механический и абразивный износ.

Под восстановлением изношенной детали понимают ремонт с доведением ее размеров, геометрической формы, чистоты поверхности и поверхностной твердости до первоначальных.

В настоящее время известны многие способы восстановления изношенных деталей, каждый из которых имеет свою рациональную область применения. Наиболее распространенными являются следующие:

а.       восстановление деталей механической обработкой путем получения новых ремонтных размеров, заменой части детали или добавлением целой детали;

б.      восстановление давлением, когда деталь подвергается осадке, раздаче, обжатию, накатке, вытяжке или правке;

в.       наращивание изношенной детали слоем металла наплавкой, газотермическим напылением или гальваническими покрытиями.

Текущий ремонт, проводимый в мастерских, заключается в смене основных быстроизнашивающихся деталей: штоков, шариков, седел, клапанов, клеток и плунжеров [5].

3.3 Виды технического обслуживания ШГН


Нормальная эксплуатация штанговой скважинной насосной установки требует постоянного контроля за работой основных узлов для своевременного принятия необходимых мер для ее обеспечения.

Информацию о работе подземного оборудование при этом способе добычи нефти получают при помощи динамометрирования. Динамометрирование заключается в определении по динамограммам нагрузок на штанги, а так же состояние и нарушение в работе подземного и наземного оборудования.

По ним определяются:

2.       влияние газа на работу насоса;

.        превышение производительности насоса над притоком жидкости в скважину;

.        прихват плунжера;

.        обрыв штанг;

.        негерметичность труб и многие другие явление.

По нагрузкам можно подсчитать значения фактических приведенных напряжений. По динамограммам можно определить коэффициент подачи насоса, коэффициент наполнения, динамический уровень жидкости, удельный вес газожидкостной смеси, давление на приеме насоса коэффициент продуктивности скважины, фактический дебит откачиваемой жидкости.

Динамометрирование скважины оборудованной, УШГН проводится в первый же день после спуска насоса в скважину и при изменениях режима откачки и подачи насоса, а так же процессе его работы для своевременного выявления различных неполадок [1].

4. Пояснения к принятой схеме разборки насосного оборудования


4.1 Порядок подъема насоса


1.       Основанием для подъема насоса является полное прекращение подачи жидкости или снижение ее до минимально допустимой величины, установленной отдельно для каждой скважины исходя из технико-экономических соображений и геолого-технических характеристик скважины. Причина неисправности должна быть определена предварительно по данным динамограммы, снятой перед подъемом насоса.

2.       Для подъема вставного насоса необходимо:

2.1.    поднять колонну штанг с насосом. Если при подъеме не удалось сорвать насос с опоры цангового типа, необходимо опустить штанги до конца и повернуть их по часовой стрелке на пол-оборота, при этом переводник штока войдет в паз клетки направляющей. Повернуть колонну штанг вместе с насосом не более чем на два-три полных оборота и повторно произвести подъем. Обычно после поворота насос легко освобождается от опоры;

2.2.    уложить насос на подставки.

.3.      Колонну НКТ при подъеме вставного насоса извлекают только по каким-либо техническим причинам (чистка или промывка забоя, устранение утечек в НКТ, дефекта замковой опоры и т.п.).

3.       Для подъема невставного насоса с ловителем необходимо:

)        заловить всасывающий клапан, для чего плавно опустить плунжер до упора и повернуть колонну насосных штанг по часовой стрелке не более чем на два-три оборота;

2)      поднять штанги с плунжером и всасывающим клапаном;

)        отсоединить всасывающий клапан от плунжера и плунжер от штанг;

)        протереть наружную поверхность плунжера от загрязнений и установить его на доску;

)        поднять колонну НКТ с цилиндром насоса;

)        уложить цилиндр насоса на подставки;

)        ввести всасывающий клапан с плунжером в цилиндр насоса.

4. Для подъема невставного насоса со сбивным клапаном необходимо:

)        поднять штанги с плунжером;

2)      отсоединить плунжер от штанг;

)        протереть наружную поверхность плунжера от загрязнений и установить его на доску;

)        спустить в колонну НКТ фрагмент полированного штока длиной около 1,5 м, который при свободном спуске ломает полый срезной штифт, установленный в насосе. Через образовавшееся отверстие происходит слив нефти из НКТ;

)        поднять колонну НКТ с цилиндром насоса;

)        уложить цилиндр насоса на подставки [4].

 

.2 Демонтаж насосов


Поднятые из скважин насосы доставляются автотранспортом в сервисный центр, где разгружаются с использованием мостового крана и складируются на стеллажах елочного типа.

Очистка насосов в сборе производится в установке для мойки насосов. Прошедшие очистку насосы устанавливаются на монтажную станину, по позициям которой они в дальнейшем перемещаются простым перекатываем по стапелям. Разборка насоса производится отделением деталей и узлов от базовой детали (цилиндра).

Демонтаж насоса производится в следующем порядке:

.        открутить переводник штока;

2.       высвободить клетку плунжера;

.        выкрутить упорный ниппель;

.        освободить якорь;

.        открутить контргайку;

.        освободить переводник;

.        достать шток плунжера;

.        отсоединить клапан от штока;

.        открутить всасывающий клапан;

.        открутить нижний удлинитель от цилиндра;

.        достать шарики из клапанов;

.        снять клапанные наконечники.

5. Выбор рациональной технологии восстановления детали


Насос, бывший в употреблении, перед разборкой пропаривают в специальном устройстве, которое состоит из трубы большого диаметра. К одному торцу трубы приварена крышка с соплом, к которому подводится пар. Другой конец трубы после помещения в нее насоса закрывается крышкой. Снизу в трубе сделано отверстие, в которое вварена трубка для слива конденсата и грязи в канализацию. После такой очистки насос укладывают на сборочно-разборочный стенд. Порядок разборки зависит от конструкции насоса. Плунжер из цилиндра извлекают при помощи рыма. Детали и узлы насоса проверяют в соответствии с техническими условиями. Не допускаются задиры на внутренней поверхности цилиндра. Если цилиндр насоса имеет равномерный износ, он может быть использован с одним из плунжеров ремонтных размеров. Завод изготавливает сменные плунжеры, диаметры которых больше начальных. Подобранный плунжер должен без заеданий свободно проталкиваться по всей длине цилиндра усилием одного рабочего. Искривленные и неравномерно изношенные цилиндры отправляют для ремонта на завод-изготовитель, так как мастерские не имеют специального дорогостоящего оборудования [3].

5.1 Технология притирки клапанов


Ответственными деталями насосов являются клапаны. При сильном износе и коррозии шарик и седло заменяют новыми. При отсутствии следов износа шарик и седло подвергают гидравлическому испытанию на вакуум-стенде. Седло зажимают и герметизируют в специальном патроне. Положив шарик на седло, в системе патрон - емкость с вакуумметром - вакуумнасос, соединенный трубками, создают разрежение.

По показанию вакуумметра определяют качество притирки пары, которую в случае негерметичности притирают в течение 10 мин в приспособлении, показанном на рисунке 8. Для притирки на лист мягкой резины 2 наносят слой пасты. Пять седел зажимают между дисками 6. Посадив в седла шарики 4, приспособление приводят во вращение от шпинделя сверлильного станка 13 через водило 12.

Рисунок 8. Приспособление для притирки клапанных пар насосов

-поддон; 2-резина с абразивом; 3-седло клапана; 4-шар; 5-щайба; 6-диск; 7-корпус; 8-подшипник радиальный; 9-подшипник упорный; 10-крышка; 11-валик; 12-водило; 13-шпиндель сверлильного станка.

Притирка происходит за счет вращения шарика, обмазанного пастой, в седле. Притерев шарики в их седлам, пары не разукомплектовывают. При отсутствии рисок и царапин пару вновь испытывают на герметичность на специальном стенде. Аналогично поступают и с новыми парами шарик-седло, предназначенными для замены изношенных. Перед сборкой насоса цилиндр с установленным всасывающим клапаном подвеграют гидравлическому испытанию на соответствующее давление, после чего производят окончательную сборку [4].

 


5.2 Технология ремонта цилиндра вставного насоса


Цилиндры применяются в машинах поршневого типа - компрессорах, штанговых глубинных насосах. Характерными дефектами этих деталей является износ рабочей поверхности.

В зависимости от размера цилиндра выбирают станочное оборудование. Крупногабаритные цилиндры обычно растачивают на горизонтальных расточных станках многорезцовыми головками, закрепленными на бортштанге. После расточки поверхность подвергают шлифованию.

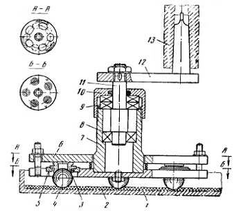
Универсальный горизонтально-расточный станок с ручным управлением. Станок предназначен для обработки заготовок больших размеров и массы. Станок (рисунок 10.2) имеет неподвижную переднюю стойку 3, установленную на основании 11. На направляющих стойки может перемещаться вверх-вниз шпиндельная бабка 7 с расточным шпинделем 6 и планшайбой 5. На направляющих основания расположены салазки 10, а на них стол 9, который может перемещаться в продольном и поперечном направлениях относительно оси шпинделя и совершать круговое движение.

На основании установлена задняя стойка 1 с люнетом 2, предназначенным для дополнительной опоры конца борштанги при растачивании длинных отверстий. На планшайбе в радиальных направляющих смонтирован суппорт 4, обеспечивающий обработку резцом плоских поверхностей и выточек. Управление станком осуществляется с пульта 8. Координаты перемещения шпиндельной бабки, люнета, задней стойки и стола отсчитываются по лимбам или с помощью навесных оптических устройств.

Рисунок 9. Универсальный горизонтально-расточный станок

,3 - стойки; 2 - люнет; 4 - суппорт; 5 - планшайба; 6 - шпиндель; 7 - шпиндельная бабка; 8 - пульт; 9 - стол; 10 - салазки; 11 - основание.

Цилиндр обычно ремонтируют способом ремонтных размеров. Стандарт ОСТ 26-16-06-86 предусматривает выпуск насосов условным диаметром 28, 32, 38, 44, 57, 70, 95 мм. Внутренние диаметры цилиндров после ремонта могут отличаться от этих значений, но они должны быть кратны 0,05: 28,6-29,0 мм; 32,0-32,4 мм; 38,0-38,4 мм; 43,6-44,0 мм; 56,6-57,0 мм; 69,6-70,0 мм; 94,6-95,0 мм. Предельное отклонение внутреннего диаметра цилиндра - верхнее +0,03 мм, нижнее - 0,01 мм.

Внутренняя поверхность цилиндра подвергается азотированию на глубину 0,3…0,5 мм или хромированию с толщиной слоя не менее 0,07 мм для увеличения твердости и износостойкости. Твердость упрочненного слоя должна быть не менее HRС 80. Допуск прямолинейности оси цилиндра не более 0,01 мм на 1 м длины. Шероховатость внутренней поверхности цилиндра Ra=0,32 мкм.

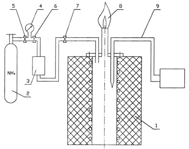
Азотирование - это технологический процесс химико-термической обработки, при которой поверхность различных металлов или сплавов насыщают азотом в специальной азотирующей среде. Поверхностный слой изделия, насыщенный азотом, имеет в своём составе растворённые нитриды и приобретает повышенную коррозионную стойкость и высокую твердость (до HRC 100).

Насыщение поверхности металла производится при температурах от 400-600°С. Средой для насыщения является диссоциированный аммиак. Для проведения газового азотирования используются преимущественно шахтные, ретортные и камерные печи.

Рисунок 10. Схема установки для азотирования

- шахтная печь; 2 - баллон с аммиаком; 3 - осушитель; 4 - манометр; 5, 6, 7 - вентили; 8 - свеча, 9 - термопара.

Хромирование - процесс осаждения на поверхность детали слоя хрома из электролита под действием электрического тока. Хромирование используется для повышения износостойкости, повышения коррозионной стойкости. Этот процесс обеспечивает повышенную устойчивость стали к газовой коррозии (окалиностойкость) при температуре до 800°C, высокую коррозионную стойкость в таких средах, как вода, морская вода и азотная кислота. Хромирование сталей содержащих свыше 0,3-0,4 %С, повышает также твёрдость и износостойкость. Твердость хрома составляет HRC 66…90. Толщина хромового покрытия обычно составляет от 0,075 до 0,25 мм [5].

Рисунок 11. Установка для анодно-струйного хромирования

- ванна; 2 - опора; 3 - хромируемая деталь; 4 - хромируемая поверхность; 5 - насадка-анод; 6 - насосная установка

Содержание ванны с шестивалентным хромом:

хромовая кислота 225-300 г/л;

серная кислота 2,25-3,0 г/л;

температура 45 - 60°C;

сила тока 1,55-3,10 кА/м2;

анод - свинец, содержащий до 7 % олова или сурьмы.

 

5.3 Технология ремонта плунжерного вставного насоса


Изношенные плунжеры после соответствующей обработки могут быть использованы в малоразмерных цилиндрах. Незначительный износ может быть восстановлен хромированием.

Рассмотрим ремонт плунжера способом ремонтных размеров. Наружные диаметры плунжеров после ремонта должны быть кратны 0,025: 28,1-28,6 мм; 31,0-31,5 мм; 37,5-38,0 мм; 43,1-43,6 мм; 56,1-56,6 мм; 69,1-69,6 мм; 94,1-94,6 мм. Нижнее предельное отклонение наружного диаметра плунжера - 0,013 мм.

Наружная поверхность плунжера имеет твердое износостойкое покрытие. Обычно это хромирование с толщиной слоя не менее 0,07 мм и твердостью не менее HRC 64…65 или покрытие из износостойкого порошка сплава ПН 70Х17С4Р4 методом газопламенного напыления с толщиной напыления не менее 0,35 мм и твердостью не менее HRC 79. Шероховатость наружной поверхности плунжера Ra=0,32 мкм.

При газопламенном порошковом напылении напыляемый порошок поступает в горелку сверху из бункера через отверстие, разгоняется потоком транспортирующего газа (смесь кислород − горючий газ) и на выходе из сопла попадает в пламя, где происходит его нагревание. Увлекаемые струей горячего газа частицы порошка попадают на предварительно подготовленную напыляемую поверхность. В порошковых горелках МРК-10 подача напыляемого материала в пламя и разгон образующихся расплавленных частиц может производиться при помощи струи сжатого воздуха [7].

Рисунок 12. Установка МРК-10

Рисунок 13. Пистолет-распылитель ПР-10

Вывод: Подводя итог данной главы, можно сделать вывод, что цилиндр и плунжер ремонтируются способом ремонтных размеров, то есть производится механическая обработка шлифованием изношенной поверхности плунжера и цилиндра до ближайшего меньшего категорийного размера детали, с последующей обработкой поверхностей трения азотированием или хромированием цилиндра и хромированием или газопламенным порошковым напылением плунжера.

6. Технология ремонта плунжера


Проблема: износ поверхности плунжера в результате воздействия абразивных примесей.

Метод ремонта: механическая обработка с последующим хромированием поверхности плунжера.

Технология ремонта:

Ремонтируемые плунжеры после промывки в бензине разбраковывают по размерам через 0,001 мм и шлифуют на бесцентрово-шлифовальном станке до выведения следов износа.

Равномерность хромового покрытия оказывает существенное влияние на геометрические размеры плунжера в процессе его дальнейшей механической обработки (овальность, конусность, огранку). Поэтому уже на стадии подготовки к хромированию вводят операцию прокатки, которая проводится на доводочных станках. Овальность и конусность плунжера после прокатки должны быть не более 1 мкм, а шероховатость поверхности должна соответствовать 8-му классу. Так как в процессе хромирования на острой кромке торца плунжера могут образовываться дендриты, то ее притупляют. После подготовительных операций плунжеры поступают в гальваническое отделение, где их хромируют. Обезжиривание производят электрохимическим способом в электролите состава: едкий натр - 30 г/л, жидкое стекло-10 г/л, углекислый натрий - 40 г/л. Режим обезжиривания: плотность тока 1,0 кА/м2, температура электролита 60-70°С, продолжительность обработки 4-5 мин. Затем детали промывают в проточной воде, после чего монтируют на подвеске и завешивают, в хромировочную ванну. Состав электролита хромирования: хромовый ангидрид - 250 г/л, серная кислота - 2,5 г/л. В течение 1-2 мин проводят декапирование при плотности тока 3,5 кА/м2 и температуре 55 - 58°С. Затем переключают ванну на прямую полярность и наносят слой хрома. Плотность тока должна быть в пределах 4,0-4,5 кА/м2. Время хромирования выбирают так, чтобы получить требуемую толщину покрытия. После хромирования плунжеры промывают в проточной воде, демонтируют подвеску и контролируют толщину и качество нанесенного слоя. Отхромированные плунжеры термообрабатывают при 180-200°С в течение 1,5-2 ч (с целью обезводоро-живания поверхностного слоя). Твердость - покрытия должна быть не ниже ИКС 60-65. Сколы, трещины и отслаивание в хромовом покрытии не допускаются. Затем плунжеры сортируют на размерные группы через 1 мкм и направляют на механическую обработку, где их шлифуют [1].

7. Расчет количества смазочных материалов на год


Осуществляется в соответствии с химологическими картами, которые являются основными документами по выбору ГСМ и периодичности смазки отдельных узлов машины.

Химологические карты выпускаются заводом-изготовителем и поставляются вместе с машиной.

Рсм=Vнач (1+nзам+nдол*Hдол)

Pсм - годовой расход СМ в кг;

Vнач - первоначальный объем заливки;

nзам - количество замен смазки (округляется до целого меньшего);

nдол - количество доливок;

Hдол - объем доливок.

nзам=Dраб / Pзам; nдол=Dраб / Рдол;

Pзам - периодичность полной заливки;

Dраб - фонд рабочего времени;

Рдол - периодичность доливки.

Dраб=NГ*С*nсм*m’ / 12=365*8*3=8760;

NГ - количество рабочих дней в году;

С - продолжительность рабочей смены;

nсм - число рабочих смен в сутки;

m’ - количество месяцев с момента ввода в эксплуатацию

(примем равным 12).

Hдол=0,02* Vнач; Hдол1=0,04; Hдол2=0,04; Hдол3=0,06; Hдол4=0,016; Hдол5=0,016; Hдол6=0,016; Hдол7=0,03; nзам1=1; nзам2=1; nзам3=1; nзам4=1; nзам5=1; nзам6=1; nзам7=1; nдол1=2; nдол2=2; nдол3=2; nдол4=2; nдол5=2; nдол6=2; nдол7=2;

Рсм1=2 (1+1+0,04*2) =4.16 кг;

Рсм2=2 (1+1+0,04*2) =4.16 кг;

Рсм3=3 (1+1+0,06*2) =6.36 кг;

Рсм4=0,8 (1+1+0,016*2) =1.63 кг;

Рсм5=0,8 (1+1+0,016*2) =1.63 кг;

Рсм6=0,8 (1+1+0,016*2) =1.63 кг;

Рсм7=1,5 (1+1+0,03*2) =3.09 кг;

Таблица 6. Карта смазки насоса НВ1Б-32

№ Точки смазки

Наименование оборудования

Тип и ГОСТ СМ

Vнач

Периодичность

Годовой расход СМ, кг





Pзам

Рдол


1

Всасывающий клапан

Масло ВМГЗ ТУ38-101479-74

2

1 раз в год

1 раз в 6 месяцев

4.16

2

Нагнетательный клапан

Масло ВМГЗ ТУ38-101479-74

2

1 раз в год

1 раз в 6 месяцев

4.16

3

Поверхность насоса

Грунтовка АК-070М

3

1 раз в год

1 раз в 6 месяцев

6.36

4

Поверхность плунжера

Масло АУ веретенное ТУ38.1011232-89

0,8

1 раз в год

1 раз в 6 месяцев

1.63

5

Внутренняя поверхность цилиндра

Масло АУ веретенное ТУ38.1011232-89

0,8

1 раз в год

1 раз в 6 месяцев

1.63

6

Коническая резьба

Сурик железный МА-15

0,8

1 раз в год

1 раз в 6 месяцев

1.63

7

Шток

Смазка 1-13 ГОСТ 1631-61

1,5

1 раз в год

1 раз в 6 месяцев

3.09


Таблица 7. Суммарное количество СМ.

Наименование и ГОСТ СМ

Суммарное количество СМ в кг за год

Масло ВМГЗ ТУ38-101479-74

8.32

Грунтовка АК-070М

6.36

Масло АУ веретенное ТУ38.1011232-89

3.26

Сурик железный МА-15

1.63

Смазка 1-13 ГОСТ 1631-61

3.09



Заключение


В курсовом проекте рассмотрен вставной штанговый скважинный насос НВ1Б - 32, который предназначен для добычи нефти механизированным способом.

В работе был произведен обзор устройства и принцип действия штанговых глубинных насосов. Описаны дефекты, наиболее часто встречающиеся в процессе эксплуатации. Также рассмотрены виды ремонта и технического обслуживания насосов.

Основной акцент моей работы сделан на выборе рациональной технологии восстановления пары цилиндр-плунжер вставного скважинного насоса. Цилиндры и плунжеры чаще всего ремонтируют способом ремонтных размеров. Ремонтный размер определяется исходя из степени износа плунжерной пары и группы посадки и выбирается по категориям ремонтных размеров. После механической обработки деталей поверхности трения подвергаются упрочнению поверхностного слоя: азотированием или хромированием (HRC 80) для цилиндра и хромирование или покрытие из износостойкого порошка методом напыления (HRC 79).

В графической части курсовой работы представлены чертежи:

-       чертеж насоса НВ1Б-32,ремонтный чертеж плунжера,

-       схема смазки насоса.

На основании всего выше изложенного следует отметить, что при правильной эксплуатации и проведении мероприятий по повышению надежности насоса можно значительно снизить эксплуатационные затраты на добычу нефти. Детали, отработавшие в скважине в составе насоса, можно применять повторно, предварительно проверив их техническое состояние и, если это требуется, производить их ремонт.

Список использованной литературы


1.       Адонин А.Н. Добыча нефти штанговыми насосами. М., Недра, 1979. - 213 с.

2.       Анурьев В.И. Справочник конструктора-машиностроителя: В 3 т. - 5-е изд. перераб. и доп. - М.: Машиностроение, 1980. - Т.1. - 728 с.

.        Бухаленко Е.И., Абдулаев Ю.Г. Монтаж, обслуживание и ремонт нефтепромысловогооборудования.М., Недра, 1974. - 391 с.

.        Вирновский А.С. Теория и практика глубиннонасосной добычи нефти. Избранные труды.М., Недрф, 1974. - 184 с.

.        Махмудов С.А. Монтаж, эксплуатация и ремонт скважинных штанговых насосных установок: Справочник мастера. - М.: Недра, 1987. - 208 с.

.        Молчанов Г.В., Молчанов А.Г. Машины и оборудование для добычи нефти и газа. Учебник для вузов. - М.: Недра, 1984, 464с.

.        Обработка информации о надежности буровых и нефтепромысловых машин: Учебно-методическое пособие/И.Е. Ишемгужин, В.В. Шайдаков, Е.И. Ишемгужин. - Уфа: Изд-во УГНТУ, 2007. - 39 с.

.        Расчет и конструирование нефтепромыслового оборудования: Учеб. пособие для вузов/Л.Г. Чичеров, Г.В. Молчанов, А.М. Рабинович и др. - М.: Недра, 1987.422 с.

.        Ришмюллер Г., Майера Х. Добыча нефти глубинными штанговыми насосами. - Терниц: Шёллер-Блекманн ГмбХ, 1988. - 150 с.

.        Скважинные насосные установки для добычи нефти: Учеб. пособие/С.Ю. Вагапов и др.; Под ред. Ю.Г. Матвеева. - Уфа: Изд-во УГНТУ, 2003. - 167 с.

.        Технология и техника добычи нефти: Учебник для вузов/А.Х. Мирзаджанзаде, И.М. Аметов, А.М. Хасаев, В.И. Гусев. Под ред. Проф.А.Х. Мирзаджанзаде - М.: Недра, 1986, 382 с.

Похожие работы на - Пояснения к принятой схеме разборки насосного оборудования

 

Не нашли материал для своей работы?
Поможем написать уникальную работу
Без плагиата!
Без нейросетей!