Насосы, применяемые в нефтедобыче
1. ШТАНГОВЫЕ
НАСОСНЫЕ УСТАНОВКИ (ШСНУ)
Прекращение или отсутствие фонтанирования обусловило использование других
способов подъема нефти на поверхность, например, посредством штанговых
скважинных насосов. Этими насосами в настоящее время оборудовано большинство
скважин. Дебит скважин - от десятков кг в сутки до нескольких тонн. Насосы
опускают на глубину от нескольких десятков метров до 3000 м иногда до 3200-3400
м). ШСНУ включает:
а) наземное оборудование - станок-качалка (СК), оборудование устья, блок
управления;
б) подземное оборудование - насосно-компрессорные трубы (НКТ), штанги
насосные (ШН), штанговый скважинный насос (ШСН) и различные защитные
устройства, улучшающие работу установки в осложненных условиях.
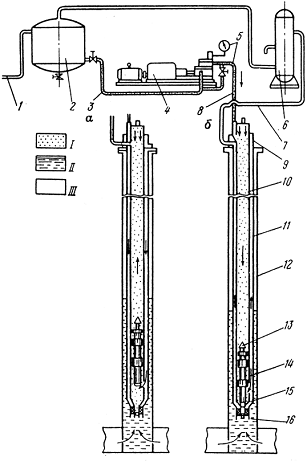
Рис. 1. Схема штанговой насосной установки
Штанговая глубинная насосная установка (рис. 1) состоит из скважинного
насоса 2 вставного или невставного типов, насосных штанг 4,
насосно-компрессорных труб 3, подвешенных на планшайбе или в трубной подвеске 8
устьевой арматуры, сальникового уплотнения 6, сальникового штока 7, станка
качалки 9, фундамента 10 и тройника 5. На приеме скважинного насоса
устанавливается защитное приспособление в виде газового или песочного фильтра
1.
1.1
Станки-качалки
Станок-качалка (рис.2), является индивидуальным приводом скважинного
насоса. Основные узлы станка-качалки - рама, стойка в виде усеченной
четырехгранной пирамиды, балансир с поворотной головкой, траверса с шатунами,
шарнирно-подвешенная к балансиру, редуктор с кривошипами и противовесами. СК
комплектуется набором сменных шкивов для изменения числа качаний, т. е.
регулирование дискретное. Для быстрой смены и натяжения ремней электродвигатель
устанавливается на поворотной салазке. Монтируется станок-качалка на раме, устанавливаемой
на железобетонное основание (фундамент). Фиксация балансира в необходимом
(крайнем верхнем) положении головки осуществляется с помощью тормозного
барабана (шкива). Головка балансира откидная или поворотная для
беспрепятственного прохода спускоподъемного и глубинного оборудования при
подземном ремонте скважины. Поскольку головка балансира совершает движение по
дуге, то для сочленения ее с устьевым штоком и штангами имеется гибкая канатная
подвеска 17 (рис. 2). Она позволяет регулировать посадку плунжера в цилиндр
насоса для предупреждения ударов плунжера о всасывающий клапан или выхода
плунжера из цилиндра, а также устанавливать динамограф для исследования работы
оборудования.
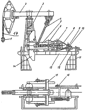
Рис. 2. Станок-качалка типа СКД:
- подвеска устьевого штока; 2 - балансир с опорой; 3 - стойка; 4 - шатун;
5 - кривошип; 6 - редуктор; 7 - ведомый шкив; 8 - ремень; 9 - электродвигатель;
10 - ведущий шкив; 11 - ограждение; 12 - поворотная плита; 13 - рама; 14 -
противовес; 15 - траверса; 16 - тормоз; 17 - канатная подвеска
Амплитуду движения головки балансира (длина хода устьевого штока-7 на
рис. 1) регулируют путем изменения места сочленения кривошипа шатуном
относительно оси вращения (перестановка пальца кривошипа в другое отверстие).
За один двойной ход балансира нагрузка на СК неравномерная. Для уравновешивания
работы станка-качалки помещают грузы (противовесы) на балансир, кривошип или на
балансир и кривошип. Тогда уравновешивание называют соответственно балансирным,
кривошипным (роторным) или комбинированным.
Блок управления обеспечивает управление электродвигателем СК в аварийных
ситуациях (обрыв штанг, поломки редуктора, насоса, порыв трубопровода и т. д.),
а также самозапуск СК после перерыва в подаче электроэнергии.
Станки-качалки для временной добычи могут быть передвижными на
пневматическом (или гусеничном) ходу. Пример - передвижной станок-качалка
"РОУДРАНЕР" фирмы "ЛАФКИН".
1.2
Производительность насоса
Теоретическая производительность ШСН равна
, м3/сут.,
Где
1440 - число минут в сутках;- диаметр плунжера наружный;- длина хода плунжера;-
число двойных качаний в минуту.
Фактическая
подача Q всегда < Qt.
Отношение
, называется коэффициентом подачи, тогда Q = Qt an, где an
изменяется от 0 до 1.
В
скважинах, в которых проявляется так называемый фонтанный эффект, т.е. в
частично фонтанирующих через насос скважинах может быть an >1.
Работа насоса считается нормальной, если an =0,6¸0,8.
Коэффициент
подачи зависит от ряда факторов, которые учитываются коэффициентами
an=ag×aус×aн×aуm,
где
коэффициенты:
ag - деформации штанг и труб;
aус - усадки жидкости;
aн - степени наполнения насоса жидкостью;
aуm - утечки жидкости.
где
ag =Sпл/S
, Sпл - длина хода плунжера (определяется из условий учета упругих
деформаций штанг и труб); S - длина хода устьевого штока (задается при
проектировании).
Sпл=S - DS,
DS=DSш+DSт,
Где
DS - деформация общая; S - деформация штанг; DSт - деформация труб.
aус =1/b
где
b - объемный коэффициент жидкости, равный отношению объемов (расходов) жидкости
при условиях всасывания и поверхностных условиях.
Насос
наполняется жидкостью и свободным газом. Влияние газа на наполнение и подачу
насоса учитывают коэффициентом наполнения цилиндра насоса
где
- газовое число (отношение расхода свободного газа к
расходу жидкости при условиях всасывания).
Коэффициент, характеризующий долго пространства, т.е. объема цилиндра под
плунжером при его крайнем нижнем положении от объема цилиндра, описываемого
плунжером. Увеличив длину хода плунжера, можно увеличить aн. Коэффициент утечек
где
gyт - расход утечек жидкости (в плунжерной паре, клапанах, муфтах
НКТ); ayт -
величина переменная (в отличие других факторов), возрастающая с течением
времени, что приводит к изменению коэффициента подачи.
Оптимальный
коэффициент подачи определяется из условия минимальной себестоимости добычи и
ремонта скважин.
Уменьшение
текущего коэффициента подачи насоса во времени можно описать уравнением
параболы
, (1.1.)
-
полный период работы насоса до прекращения подачи (если причина - износ
плунжерной пары, то Т означает полный, возможный срок службы насоса); m -
показатель степени параболы, обычно равный двум; t - фактическое время работы
насоса после очередного ремонта насоса.
Исходя
из критерия минимальной себестоимости добываемой нефти с учетом затрат на
скважино-сутки эксплуатации скважины и стоимости ремонта, А. Н. Адонин
определил оптимальную продолжительность межремонтного периода
, (1.2.)
где
tp - продолжительность ремонта скважины; Bp - стоимость
предупредительного ремонта; Bэ - затраты на скважино-сутки
эксплуатации скважины, исключая Bp.
Подставив
tмопт вместо t в формулу (1.1.), определим оптимальный конечный
коэффициент подачи перед предупредительным подземным ремонтом anопт.
Если
текущий коэффициент подачи anопт станет равным оптимальному anопт (с
точки зрения ремонта и снижения себестоимости добычи), то необходимо остановить
скважину и приступить к ремонту (замене) насоса.
Средний
коэффициент подачи за межремонтный период составит
.
Анализ
показывает, что при Bp/(Bэ×T)<0,12
допустимая степень уменьшения подачи за межремонтный период составляет 15¸20%, а при очень больших значениях Bp/(Bэ×T) она приближается к 50%.
Увеличение
экономической эффективности эксплуатации ШСН можно достичь повышением качества
ремонта насосов, сокращением затрат на текущую эксплуатацию скважины и ремонт,
а также своевременным установлением момента ремонта скважины.
1.3 Правила
безопасности при эксплуатации скважин штанговыми насосами
Устье скважины должно быть оборудовано арматурой и устройством для
герметизации штока. Обвязка устья периодически фонтанирующей скважины должна
позволять выпуск газа из затрубного пространства в выкидную линию через
обратный клапан и смену набивки сальника штока при наличии давления в скважине.
До начала ремонтных работ или перед осмотром оборудования периодически
работающей скважины с автоматическим, дистанционным или ручным пуском
электродвигатель должен отключаться, а на пусковом устройстве вывешивается
плакат: "Не включать, работают люди". На скважинах с автоматическим и
дистанционным управлением станков-качалок вблизи пускового устройства на видном
месте должны быть укреплены плакаты с надписью "Внимание! Пуск
автоматический". Такая надпись должна быть и на пусковом устройстве.
Система замера дебита скважин, пуска, остановки и нагрузок на полированный шток
(головку балансира) должны иметь выход на диспетчерский пункт. Управление
скважиной, оборудованной ШСН, осуществляется станцией управления скважиной типа
СУС - 01 (и их модификации), имеющий ручной, автоматический, дистанционный и
программный режим управления. Виды защитных отключений ШСН: перегрузка
электродвигателя (>70% потребляемой мощности); короткое замыкание; снижение
напряжения в сети (<70% номинального); обрыв фазы; обрыв текстропных ремней;
обрыв штанг; неисправность насоса; повышение (понижение) давления на устье. Для
облегчения обслуживания и ремонта станков-качалок используются специальные технические
средства такие, как агрегат 2АРОК, маслозаправщик МЗ - 4310СК.
2.
БЕСШТАНГОВЫЕ СКВАЖИННЫЕ НАСОСНЫЕ УСТАНОВКИ
В УШСН наиболее ответственное и слабое звено-колонна насосных штанг -
проводник энергии от привода, расположенного на поверхности.
В связи с этим разработаны насосные установки с переносом привода
(первичного двигателя) в скважину к насосу. К ним относятся установки погружных
центробежных, винтовых и диафрагменных электронасосов. Электроэнергия в этом
случае подается по кабелю, закрепленному на НКТ. Имеются глубинные насосы,
например, гидропоршневые, струйные, которые используют энергию потока рабочей
жидкости, подготовленной на поверхности и подаваемой в скважину по трубопроводу
(НКТ).
2.1 Установки
погружных электроцентробежных насосов (УЭЦН)
Область применения УЭЦН - это высокодебитные обводненные, глубокие и
наклонные скважины с дебитом 10 ¸ 1300 м3/сут и высотой подъема 500¸2000м. Межремонтный период УЭЦН
составляет до 320 суток и более.
Установки погружных центробежных насосов в модульном исполнении типов
УЭЦНМ и УЭЦНМК предназначены для откачки продукции нефтяных скважин, содержащих
нефть, воду, газ и механические примеси. Установки типа УЭЦНМ имеют обычное
исполнение, а типа УЭЦНМК - коррозионностойкое.
Установка (рис. 3) состоит из погружного насосного агрегата, кабельной
линии, спускаемых в скважину на насосно-компрессорных трубах, и наземного
электрооборудования (трансформаторной подстанции).
Погружной насосный агрегат включает в себя двигатель (электродвигатель с
гидрозащитой) и насос, над которым устанавливают обратный и сливной клапаны.
В зависимости от максимального поперечного габарита погружного агрегата
установки разделяют на три условные группы - 5; 5А и 6:
установки группы 5 поперечным габаритом 112 мм применяют в скважинах с
колонной обсадных труб внутренним диаметром не менее 121,7 мм;
установки группы 5А поперечным габаритом 124 мм - в скважинах внутренним
диаметром не менее 130 мм;
установки группы 6 поперечным габаритом 140,5 мм - в скважинах внутренним
диаметром не менее 148,3 мм.
Рис. 3. Установка погружного центробежного насоса:
- оборудование устья скважин; 2 - пункт подключательный выносной; 3 -
трансформаторная комплексная подстанция; 4 - клапан спускной; 5 - клапан обратный;
6 - модуль-головка; 7 - кабель; 8 - модуль-секция; 9 - модуль насосный
газосепараторный; 10 - модуль исходный; 11 - протектор; 12 - электродвигатель;
13 - система термоманометрическая.
Условия применимости УЭЦН по перекачиваемым средам: жидкость с содержанием
механических примесей не более 0,5 г/л, свободного газа на приеме насоса не
более 25%; сероводорода не более 1,25 г/л; воды не более 99%; водородный
показатель (рН) пластовой воды в пределах 6¸8,5. Температура в зоне размещения электродвигателя не более
+90оС (специального теплостойкого исполнения до +140°С). Пример шифра установок -
УЭЦНМК5-125-1300 означает: УЭЦНМК - установка электроцентробежного насоса
модульного и коррозионно-стойкого исполнения; 5 - группа насоса; 125 - подача,
м3/сут; 1300 - развиваемый напор, м вод. ст. На рис. 9 представлена
схема установки погружных центробежных насосов в модульном исполнении,
представляющая новое поколение оборудования этого типа, что позволяет
индивидуально подбирать оптимальную компоновку установки к скважинам в
соответствии с их параметрами из небольшого числа взаимозаменяемых модулей.
Насосы также подразделяют на три условные группы - 5; 5А и 6. Диаметры
корпусов группы 5¸92 мм, группы 5А - 103 мм, группы 6 - 114 мм.
Модуль-секция насоса (рис. 4) состоит из корпуса 1, вала 2, пакетов
ступеней (рабочих колес - 3 и направляющих аппаратов - 4), верхнего подшипника
5, нижнего подшипника 6, верхней осевой опоры 7, головки 8, основания 9, двух
ребер 10 (служат для защиты кабеля от механических повреждений) и резиновых
колец 11, 12, 13. Рабочие колеса свободно передвигаются по валу в осевом
направлении и ограничены в перемещении нижних, и верхним направляющими
аппаратами. Осевое усилие от рабочего колеса передается на нижнее текстолитовое
кольцо и затем на бурт направляющего аппарата. Частично осевое усилие
передается валу вследствие трения колеса о вал или прихвата колеса к валу при
отложении солей в зазоре или коррозии металлов. Крутящий момент передается от
вала к колесам латунной (Л62) шпонкой, входящей в паз рабочего колеса. Шпонка
расположена по всей длине сборки колес и состоит из отрезков длиною 400-1000
мм. Направляющие аппараты сочленяются между собой по периферийным частям, в
нижней части корпуса они все опираются на нижний подшипник 6 и основание 9, а
сверху через корпус верхнего подшипника зажаты в корпусе. Рабочие колеса и
направляющие аппараты насосов обычного исполнения изготавливаются из
модифицированного серого чугуна и радиационно модифицированного полиамида,
насосов коррозионно-стойкого исполнения - из модифицированного чугуна ЦН16Д71ХШ
типа "нирезист". Валы модулей секций и входных модулей для насосов
обычного исполнения изготавливаются из комбинированной коррозионно-стойкой
высокопрочной стали ОЗХ14Н7В и имеют на торце маркировку "НЖ" для насосов
повышенной коррозионной стойкости - из калиброванных прутков из сплава
Н65Д29ЮТ-ИШ-К-монель и имеют на торцах маркировку "М".

Валы модулей-секций всех групп насосов, имеющих одинаковые длины корпусов
3, 4 и 5 м, унифицированы.
Соединение валов модулей-секций между собой, модуля секции с валом
входного модуля (или вала газосепаратора), вала входного модуля свалом
гидрозащиты двигателя осуществляется при помощи шлицевых муфт.
Соединение модулей между собой и входного модуля с двигателем -
фланцевое. Уплотнение соединений (кроме соединения входного модуля с двигателем
и входного модуля с газосепаратором) осуществляется резиновыми кольцами.
Для откачивания пластовой жидкости, содержащей у сетки входного модуля
насоса свыше 25 % (до 55 %) по объему свободного газа, к насосу подсоединяется
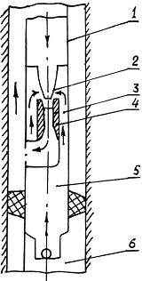
модуль насосный - газосепаратор (рис. 5).
Рис. 5. Газосепаратор: 1 - головка; 2 - переводник; 3 - сепаратор; 4 -
корпус; 5 - вал; 6 - решетка; 7 - направляющий аппарат; 8 - рабочее колесо; 9 -
шнек; 10 - подшипник; 11 - основание
Газосепаратор устанавливается между входным модулем и модулем-секцией.
Наиболее эффективны газосепараторы центробежного типа, в которых фазы
разделяются в поле центробежных сил. При этом жидкость концентрируется в
периферийной части, а газ - в центральной части газосепаратора и выбрасывается
в затрубное пространство. Газосепараторы серии МНГ имеют предельную подачу 250¸500 м3/сут, коэффициент
сепарации 90%, массу от 26 до 42 кг.
Двигатель погружного насосного агрегата состоит из электродвигателя и
гидрозащиты. Электродвигатели (рис. 6) погружные трехфазные коротко замкнутые
двухполюсные маслонаполненные обычного и коррозионно-стойкого исполнения
унифицированной серии ПЭДУ и в обычном исполнении серии ПЭД модернизации Л.
Гидростатическое давление в зоне работы не более 20 МПа. Номинальная мощность
от 16 до 360 кВт, номинальное напряжение 530¸2300 В, номинальный ток 26¸122,5 А.
Рис. 6. Электродвигатель серии ПЭДУ: 1 - соединительная муфта; 2 -
крышка; 3 - головка; 4 - пятка; 5 - подпятник; 6 - крышка кабельного ввода; 7 -
пробка; 8 - колодка кабельного ввода; 9 - ротор; 10 - статор; 11 - фильтр; 12 -
основание
Гидрозащита (рис. 7) двигателей ПЭД предназначена для предотвращения
проникновения пластовой жидкости во внутреннюю полость электродвигателя,
компенсации изменения объема масла во внутренней полости от температуры
электродвигателя и передачи крутящего момента от вала электродвигателя к валу
насоса.
Рис. 7. Гидрозащита: а - открытого типа; б - закрытого типа; А - верхняя камера; Б - нижняя камера; 1 - головка; 2 - торцевое уплотнение; 3 - верхний ниппель; 4
- корпус; 5 - средний ниппель; 6 - вал; 7 - нижний ниппель; 8 - основание; 9 -
соединительная трубка; 10 - диафрагма
Гидрозащита состоит либо из одного протектора, либо из протектора и
компенсатора. Могут быть три варианта исполнения гидрозащиты.
Первый состоит из протекторов П92, ПК92 и П114 (открытого типа) из двух
камер. Верхняя камера заполнена тяжелой барьерной жидкостью (плотность до 2
г/см3, не смешиваемая с пластовой жидкостью и маслом), нижняя -
маслом МА-ПЭД, что и полость электродвигателя. Камеры сообщены трубкой.
Изменения объемов жидкого диэлектрика в двигателе компенсируются за счет
переноса барьерной жидкости в гидрозащите из одной камеры в другую.
Второй состоит из протекторов П92Д, ПК92Д и П114Д (закрытого типа), в
которых применяются резиновые диафрагмы, их эластичность компенсирует изменение
объема жидкого диэлектрика в двигателе.
Третий - гидрозащита 1Г51М и 1Г62 состоит из протектора, размещенного над
электродвигателем и компенсатора, присоединяемого к нижней части
электродвигателя. Система торцевых уплотнений обеспечивает защиту от попадания
пластовой жидкости по валу внутрь электродвигателя. Передаваемая мощность
гидрозащит 125¸250 кВт,
масса 53¸59 кг.
Система термоманометрическая ТМС - 3 предназначена для автоматического
контроля за работой погружного центробежного насоса и его защиты от аномальных
режимов работы (при пониженном давлении на приеме насоса и повышенной
температуре погружного электродвигателя) в процессе эксплуатации скважин.
Имеется подземная и наземная части. Диапазон контролируемого давления от 0 до
20 МПа. Диапазон рабочих температур от 25 до 105оС.
Масса общая 10,2 кг (см. рис. 3).
В комплект поставки установки входят: насос, кабель в сборе, двигатель,
трансформатор, комплектная трансформаторная подстанция, комплектное устройство,
газосепаратор и комплект инструмента.
2.2 Установки
погружных винтовых электронасосов
Установки погружных винтовых сдвоенных электронасосов типа УЭВН5
предназначены для откачки из нефтяных скважин пластовой жидкости повышенной
вязкости (до 1×103
м2/с) температурой 70оС, с содержанием механических
примесей не более 0,4 г/л, свободного газа на приеме насоса - не более 50% по
объему.
Установка погружного винтового сдвоенного электронасоса состоит из
насоса, электродвигателя с гидрозащитой, комплектного устройства,
токоподводящего кабеля с муфтой кабельного ввода. В состав установок с подачами
63, 100 и 200 м3/сут входит еще и трансформатор, так как двигатели
этих установок выполнены соответственно на напряжение 700 и 1000 В.
Установки выпускаются для скважин с условным диаметром колонны обсадных
труб 146 мм.
С учетом температуры в скважине установки изготавливают в трех
модификациях:
для температуры 30оС (А);
для температуры 30¸50оС (Б);
для температуры 50¸70оС (В, Г).
Рис. 8. Установки погружного винтового сдвоенного электронасоса: 1 - трансформатор; 2 - комплектное устройство; 3 - пояс
крепления кабелей; 4 - насосно-компрессорная труба; 5 - винтовой насос; 6 - кабельный
ввод; 7 - электродвигатель с гидрозащитой
В обозначении установок в зависимости от температуры добываемой жидкости
введены буквы А, Б и В (Г). Например, УЭВН5-16-1200А или УЭВН5-200-900В.
Все установки комплектуют погружными двигателями типа ПЭД с гидрозащитой
1Г51.
Приводом винтовых насосов служит электродвигатель трехфазный,
асинхронный, короткозамкнутый, четырехполюсный, погружной, маслонаполненный.
Исполнение двигателя вертикальное, со свободным концом вала, направленным
вверх.
Гидрозащита предохраняет его внутреннюю полость от попадания пластовой
жидкости, а также компенсирует температурные изменения объема и расхода масла
при работе двигателя. С помощью гидрозащиты осуществляется выравнивание
двигателя с давлением в скважине на уровне его подвески.
Внутренняя полость двигателей заполнена специальным маслом высокой
диэлектрической прочности.
Установки обеспечивают подачу от 16 до 200 м3/сут, давление 9¸12МПа; КПД погружного агрегата
составляет 38¸50%;
мощность электродвигателя 5,5, 22 и 32 кВт; масса погружного агрегата 341¸713 кг; частота вращения - 1500 мин-1.
2.3 Установки
погружных диафрагменных электронасосов
Установки погружных диафрагменных электронасосов УЭДН5 предназначены для
эксплуатации малодебитных нефтяных скважин преимущественно с пескопроявлениями,
высокой обводненностью продукции, кривыми и наклонными стволами с внутренним
диаметром обсадной колонны не менее 121,7 мм.
Содержание попутной воды в перекачиваемой среде не ограничивается.
Максимальная массовая концентрация твердых частиц 0,2% (2 г/л); максимальное
объемное содержание попутного газа на приеме насоса 10%; водородный показатель
попутной воды рН=6,0¸8,5; максимальная концентрация сероводорода 0,001% (0,01 г/л).
Примечания:
1. Значения показателей указаны при
перекачивании воды плотностью 1000 кг/м3 температурой 45°С при напряжении сети 380 В и частоте
тока в сети 50 Гц.
2. Эксплуатация при давлении на выходе
насоса, превышающем номинальное значение, не допускается.
Изготовитель: Машиностроительный завод им. Сардарова, г. Баку.
Электронасос (рис. 9 насос и электродвигатель в одном корпусе) содержит
асинхронный четырехполюсный электродвигатель, конический редуктор и плунжерный
насос с эксцентриковым приводом и пружиной для возврата плунжера. Муфта кабеля
соединяется с токовводом.
Рис. 9. Погружной диафрагменный электронасос: 1 - токоввод; 2 - нагнетательный клапан; 3 - всасывающий
клапан; 4 - диафрагма; 5 - пружина; 6 - плунжерный насос; 7 - эксцентриковый
привод; 8 - конический редуктор; 9 - электродвигатель; 10 - компенсатор
Установки обеспечивают подачу от 4 до 16 м3, давление 6,5¸17 МПа, КПД 35-40%, мощность
электродвигателя 2,2¸2,85 кВт; частота вращения электродвигателя - 1500 мин-1,
масса от 1377 до 2715 кг.
2.4 Арматура
устьевая
скважинный насос нефть газолифтный
Для герметизации устья нефтяных скважин, эксплуатируемых погружными
центробежными, винтовыми и диафрагменными электронасосами, применяют устьевую
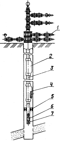
арматуру типа АУЭ-65/50-14 или устьевое оборудование типа ОУЭ-65/50-14. Арматура
типа АУЭ-65/ 50-14 состоит из корпуса, трубной подвески, отборника давления с
пробоотборником, угловых вентилей, перепускного клапана и быстросборного
соединения (рис. 10).
Рис. 10. Устьевая арматура типа АУЭ: 1 -
перепускной клапан; 2 - манжета; 3 - уплотнение кабеля; 4 - пробковый кран; 5 -
патрубок; 6 - зажимная гайка; 7 - трубная подвеска; 8 - корпус; 9,12,13 -
угловые вентили; 10 - отборник проб, 11 - быстросъемное соединение
2.5 Установки
гидропоршневых насосов для добычи нефти (УГН)
Современные УГН позволяют эксплуатировать скважины с высотой подъема до
4500 м, с максимальным дебитом до 1200 м3/сут. при высоком
содержании в скважинной продукции воды.
Установки гидропоршневых насосов - блочные автоматизированные,
предназначены для добычи нефти из двух - восьми глубоких кустовых наклонно
направленных скважин в заболоченных и труднодоступных районах Западной Сибири и
других районах. Откачиваемая жидкость кинематической вязкостью не более 15×10-6 м2/с (15×10-2 Ст) с содержанием
механических примесей не более 0,1 г/л, сероводорода не более 0,01 г/л и
попутной воды не более 99%. Наличие свободного газа на приеме гидропоршневого
насосного агрегата не допускается. Температура откачиваемой жидкости в месте
подвески агрегата не выше 120оС.
Установки выпускаются для скважин с условным диаметром обсадных колонн
140, 146 и 168 мм.
Климатическое исполнение - У и ХЛ, категория размещения наземного
оборудования - 1, погружного - 5 (ГОСТ 15150-69).
Гидропоршневая насосная установка (рис. 11) состоит из поршневого
гидравлического двигателя и насоса 13, устанавливаемого в нижней части труб 10,
силового насоса 4, расположенного на поверхности, емкости 2 для отстоя жидкости
и сепаратора 6 для её очистки. Насос 13, сбрасываемый в трубы 10, садится в
седло 14, где уплотняется в посадочном конусе 15 под воздействием струй рабочей
жидкости, нагнетаемой в скважину по центральному ряду труб 10. Золотниковое
устройство направляет жидкость в пространство над или под поршнем двигателя, и
поэтому он совершает вертикальные возвратно-поступательные движения.
Нефть из скважин всасывается через обратный клапан 16, направляется в
кольцевое пространство между внутренним 10 и наружным 11 рядами труб. В это же
пространство из двигателя поступает отработанная жидкость (нефть), т.е. по
кольцевому пространству на поверхность поднимается одновременно добываемая
рабочая жидкость.
При необходимости подъема насоса изменяется направление нагнетания
рабочей жидкости - её подают в кольцевое пространство. Различают гидропоршневые
насосы одинарного и двойного действия, с раздельным и совместным движением
добываемой жидкости с рабочей и т.д.
Рис. 11. Схема компоновки оборудования гидропоршневой насосной установки: а - подъем насоса; б - работа насоса; 1 - трубопровод; 2 -
емкость для рабочей жидкости; 3 - всасывающий трубопровод; 4 - силовой насос; 5
- манометр; 6 - сепаратор; 7 - выкидная линия; 8 - напорный трубоопровод; 9 -
оборудование устья скважины; 10 - 63 мм трубы; 11 - 102 мм трубы; 12 - обсадная
колонна; 13 - гидропоршневой насос (сбрасываемый); 14 - седло гидропоршневого
насоса; 15 - конус посадочный; 16 - обратный клапан; I - рабочая жидкость; II - добываемая жидкость; III - смесь отработанной и добытой
жидкости
2.6 Струйные
насосы
Струйно-насосная установка представляет собой насосную систему
механизированной добычи нефти, состоящую из устьевого наземного и погружного
оборудования. Наземное оборудование включает сепаратор, силовой насос, устьевую
арматуру, КИП; погружное оборудование - струйный насос с посадочным узлом (рис.
12).
Струйные насосы отличаются отсутствием подвижных частей, компактностью,
высокой прочностью, устойчивостью к коррозии и абразивному износу, дешевизной.
КПД струйной установки приближается к КПД других гидравлических насосных
систем. Рабочие характеристики струйного насоса близки к характеристикам
электропогружного насоса.
Струйный насос (рис. 13) приводится в действие под влиянием напора
рабочей жидкости (лучше нефти или воды), нагнетаемой в НКТ 1, соединенные с
соплом 2. При прохождении узкого сечения сопла струя перед диффузором 4
приобретает большую скорость и поэтому в каналах 3 снижается давление. Эти
каналы соединены через полость насоса 5 с подпакерным пространством 6 и
пластом, откуда пластовая жидкость всасывается в насос и смешивается в камере
смешения с рабочей. Смесь жидкостей далее движется по кольцевому пространству
насоса и поднимается на поверхность по межтрубному пространству (насос спускают
на двух концентрических рядах труб) под давлением нагнетаемой в НКТ рабочей
жидкости. Насос может откачивать высоковязкие жидкости и эксплуатироваться в
сложнейших условиях (высокие температуры пластовой жидкости, содержание
значительного количества свободного газа и песка в продукции и т.д.). По данным НИПИ Гипроморнефтегаз срок службы струйного насоса
в абразивной среде не менее 8 мес., теоретический отбор жидкости до 4000 м3/сут.
максимальная глубина спуска - 5000 м, масса погружного насоса 10 кг. В 1971 г. Крецом В.Г. были обоснованы и предложены схемы
струйных установок для целей испытания, освоения и эксплуатации нефтяных
скважин (НИИ ВН при ТПУ). Тогда внедрены были струйные установки для откачки
питьевой воды из скважин (разработанные под руководством В.С. Арбит и С.Я.
Рябчикова).
Рис. 12. Струйно-насосная установка: 1 -
струйный насос; 2 - ловитель; 3 - силовой насос; 4 - сепаратор; 5 -
продуктивный пласт
Рис. 13. Схема струйного насоса: 1 -
насосно-компрессорные трубы; 2 - сопло; 3 - каналы; 4 - диффузор; 5 - входная
часть насоса; 6 - подпакерное пространство
2.7 Винтовые
погружные насосы с приводом на устье скважины
На рис. 14 показана схема винтового насоса "фирмы "Гриффин".
На устье скважины находится двигатель (газовый, электрический, гидравлический),
который через редуктор вращает штанговую колонну и ротор винтового насоса по
часовой стрелке. Винтовые насосы перспективны для применения при работе на
нефтяных месторождениях.
Рис. 14. Схема винтового насоса фирмы "Гриффин"
а) используется отделенный от скважинной продукции газ (необходимы
подготовка газа и его сжатие);
б) при наличии внешнего источника, таких как газовый пласт, газопровод,
газоперерабатывающий завод следует использовать бескомпрессорную газлифтную
систему (отличается простотой);
в) применение системы эрлифта с использованием воздуха в качестве
рабочего агента.
Газлифтный способ добычи нефти, при котором жидкость поднимается из забоя
за счет энергии газа, нагнетаемого с устья, позволяет эксплуатировать скважины,
продукция которых содержит большое количество газа и песка, а также скважины с
высокой обводненностью продукции, значительно искривленным стволом, низким
динамическим уровнем и плохими коллекторскими свойствами пласта.
Существует две основные разновидности газлифта - периодический и
непрерывный. При этом газ может подаваться в скважину по кольцевому
пространству (кольцевая система) или по НКТ (центральная система).
Ниже приводится описание оборудования схемы закрытой установки типа ЛН
(непрерывного газлифта кольцевой системы).
3.1
Газлифтная установка ЛН
Газлифтная установка ЛН (рис. 15) предназначена для добычи газлифтным
способом из условно-вертикальных и наклонно-направленных скважин. Рабочая среда
- нефть, газ, пластовая вода с содержанием СО2 до 1% и механических
примесей до 0,1 г/л.
Оборудование предусматривает возможность перевода скважин с фонтанного
способа эксплуатации на газлифтный без подъема скважинного оборудования.
Установка включает в себя скважинные камеры КТ1, газлифтные клапаны 2Г
или 5Г, пакер 2ПД-ЯГ с гидравлическим управлением, ниппель, глухую и
циркуляционную пробки.
Рис. 15. Газлифтная установка ЛН:
- фонтанная арматура; 2 - скважинная камера; 3 - колонна
насосно-компрессорных труб; 4 - газлифтный клапан; 5 - пакер; 6 - приемный
клапан; 7 - ниппель приемного клапана
В период фонтанирования скважины в карман скважинных камер
устанавливаются пробки. При переводе скважины на газлифтный способ эксплуатации
пробки заменяются газлифтными клапанами.
После спуска скважинного оборудования, монтажа фонтанной арматуры и
посадки пакера, а также замены глухих пробок на газлифтные клапаны в затрубное
пространство скважины через отвод трубной головки нагнетается газ. Под
давлением нагнетаемого газа и гидростатического столба жидкости в скважине все
газлифтные клапаны открываются и жидкость перетекает из затрубного пространства
в подъемные трубы.
Уровень жидкости в затрубном пространстве понижается. При обнажении
первого клапана нагнетаемый газ поступает в подъемные трубы и выбрасывает столб
жидкости выше клапана. Давление в подъемных трубах на глубине установки первого
клапана уменьшается, и жидкость из затрубного пространства продолжает
перетекать через нижние клапаны в подъемные трубы. Уровень жидкости в затрубном
пространстве понижается и обнажается второй клапан.
Так как давление закрытия первого верхнего клапана меньше давления
открытия второго клапана, первый клапан закрывается. Нагнетаемый газ начинает
поступать в подъемные трубы через второй клапан. Столб жидкости выше второго
клапана аэрируется и выносится на поверхность. Давление в подъемных трубах на
глубине расположения второго клапана уменьшается, что приводит к дальнейшему
перетоку жидкости из затрубного пространства в подъемные трубы через
последующие клапаны. Уровень жидкости в затрубном пространстве понижается и
достигает третьего клапана. Нагнетаемый газ начинает поступать в подъемные
трубы через третий клапан. Уровень жидкости в затрубном пространстве продолжает
понижаться и в момент обнажения третьего клапана закрывает второй.
Процесс продолжается до вступления в работу низшего рабочего клапана,
когда газ поступает в подъемные трубы через рабочий клапан, а все
вышерасположенные (пусковые) клапаны закрыты.
Работа скважины на заданном технологическом режиме осуществляется через
нижний клапан.
Наиболее широко применяются газлифтные установки ЛН рассчитаны на рабочее
давление 21 и 35 МПа, максимальную глубину спуска скважинного оборудования -
5000 м, температуру скважинной среды до 120°С и имеют массу от 185 до 585 кг.
Периодический газлифт осуществляется путем прерывной подачи агента в
скважину, т.е. циклами.
Для повышения эффективности периодического газлифта может применяться
плунжер - своеобразный поршень, движущийся в трубах одноразмерной колонны с
минимальным зазором 1,5¸2,0 мм, чтобы уменьшить величину отекания жидкости по стенкам труб и
отделяющий поднимаемый столб жидкости от газа. При ударе о верхний амортизатор,
расположенный в плунжере, клапан автоматически открывается, плунжер падает
вниз, а при ударе о нижний амортизатор происходит закрытие клапана и плунжер
готов к следующему циклу. Плунжерный лифт может работать также с периодической
подкачкой газа в затрубное пространство.
Плунжерный лифт можно использовать также при непрерывном газлифте и
фонтанной эксплуатации скважины.
В других установках, например, при эксплуатации скважин гидропакерным
автоматическим поршнем, последний не имеет проходного отверстия и после
перемещения к устью скважины нагнетательным газом падает вниз после прекращения
подачи газа. Зазор между поршнем и колонной НКТ - 2,5¸4 мм. Дебит скважин - 1¸20 т/сут.
В настоящее время распространение установок периодического газлифта
невелико.